DE102020116552B4 - Hydrofoil zur Befestigung an einem Wassersportbrett - Google Patents

Hydrofoil zur Befestigung an einem Wassersportbrett Download PDF

Info

Publication number
DE102020116552B4
DE102020116552B4 DE102020116552.8A DE102020116552A DE102020116552B4 DE 102020116552 B4 DE102020116552 B4 DE 102020116552B4 DE 102020116552 A DE102020116552 A DE 102020116552A DE 102020116552 B4 DE102020116552 B4 DE 102020116552B4
Authority
DE
Germany
Prior art keywords
mast
fuselage
hydrofoil
adapter
connection
Prior art date
Legal status (The legal status is an assumption and is not a legal conclusion. Google has not performed a legal analysis and makes no representation as to the accuracy of the status listed.)
Active
Application number
DE102020116552.8A
Other languages
English (en)
Other versions
DE102020116552A1 (de
Inventor
Jörn-Ulrich Sommerlatt
Current Assignee (The listed assignees may be inaccurate. Google has not performed a legal analysis and makes no representation or warranty as to the accuracy of the list.)
North Kiteboarding Australasia
Original Assignee
North Kiteboarding Australasia
Priority date (The priority date is an assumption and is not a legal conclusion. Google has not performed a legal analysis and makes no representation as to the accuracy of the date listed.)
Filing date
Publication date
Application filed by North Kiteboarding Australasia filed Critical North Kiteboarding Australasia
Publication of DE102020116552A1 publication Critical patent/DE102020116552A1/de
Application granted granted Critical
Publication of DE102020116552B4 publication Critical patent/DE102020116552B4/de
Active legal-status Critical Current
Anticipated expiration legal-status Critical

Links

Images

Classifications

    • BPERFORMING OPERATIONS; TRANSPORTING
    • B63SHIPS OR OTHER WATERBORNE VESSELS; RELATED EQUIPMENT
    • B63BSHIPS OR OTHER WATERBORNE VESSELS; EQUIPMENT FOR SHIPPING 
    • B63B32/00Water sports boards; Accessories therefor
    • B63B32/60Board appendages, e.g. fins, hydrofoils or centre boards
    • B63B32/66Arrangements for fixation to the board, e.g. fin boxes or foil boxes
    • BPERFORMING OPERATIONS; TRANSPORTING
    • B63SHIPS OR OTHER WATERBORNE VESSELS; RELATED EQUIPMENT
    • B63BSHIPS OR OTHER WATERBORNE VESSELS; EQUIPMENT FOR SHIPPING 
    • B63B32/00Water sports boards; Accessories therefor
    • B63B32/60Board appendages, e.g. fins, hydrofoils or centre boards
    • BPERFORMING OPERATIONS; TRANSPORTING
    • B63SHIPS OR OTHER WATERBORNE VESSELS; RELATED EQUIPMENT
    • B63BSHIPS OR OTHER WATERBORNE VESSELS; EQUIPMENT FOR SHIPPING 
    • B63B1/00Hydrodynamic or hydrostatic features of hulls or of hydrofoils
    • B63B1/16Hydrodynamic or hydrostatic features of hulls or of hydrofoils deriving additional lift from hydrodynamic forces
    • B63B1/24Hydrodynamic or hydrostatic features of hulls or of hydrofoils deriving additional lift from hydrodynamic forces of hydrofoil type
    • B63B1/242Mounting, suspension of the foils
    • BPERFORMING OPERATIONS; TRANSPORTING
    • B63SHIPS OR OTHER WATERBORNE VESSELS; RELATED EQUIPMENT
    • B63BSHIPS OR OTHER WATERBORNE VESSELS; EQUIPMENT FOR SHIPPING 
    • B63B32/00Water sports boards; Accessories therefor
    • B63B32/40Twintip boards; Wakeboards; Surfboards; Windsurfing boards; Paddle boards, e.g. SUP boards; Accessories specially adapted therefor
    • BPERFORMING OPERATIONS; TRANSPORTING
    • B63SHIPS OR OTHER WATERBORNE VESSELS; RELATED EQUIPMENT
    • B63BSHIPS OR OTHER WATERBORNE VESSELS; EQUIPMENT FOR SHIPPING 
    • B63B34/00Vessels specially adapted for water sports or leisure; Body-supporting devices specially adapted for water sports or leisure
    • B63B34/40Body-supporting structures dynamically supported by foils under water

Landscapes

  • Chemical & Material Sciences (AREA)
  • Engineering & Computer Science (AREA)
  • Combustion & Propulsion (AREA)
  • Mechanical Engineering (AREA)
  • Ocean & Marine Engineering (AREA)
  • Physics & Mathematics (AREA)
  • Fluid Mechanics (AREA)
  • Other Liquid Machine Or Engine Such As Wave Power Use (AREA)
  • Connection Of Plates (AREA)
  • Body Structure For Vehicles (AREA)

Abstract

Hydrofoil (1) zur Befestigung an einem Wassersportbrett, mit einem Mast (2), der eine Anström- (3) und eine Abströmkante (4) sowie diese verbindende Seitenflächen (5) aufweist und an dessen oberem Mastende (6) ein zumindest mittelbar am Wassersportbrett befestigbarer Halter (7) angeordnet ist, mit einer Fuselage (8), die am unteren Mastende (9) befestigt ist und dessen Längsmittenachse zumindest nahezu in einer von der Anström- (3) und der Abströmkante (4) des Masts (2) aufgespannten Ebene liegt, und mit jeweils auf gegenüberliegenden Seiten des Masts an der Fuselage (8) angeordneten Front- (10) und Heckflügeln (11), wobei der Mast (2) und die Fuselage (8) als separate Bauteile ausgeführt und über eine Schraubverbindung (12) miteinander verbunden sind, wobei der Mast als Strangpressprofil ausgeführt ist und das untere Mastende (9) in einer Ausnehmung (14) der Fuselage (8) angeordnet ist, dadurch gekennzeichnet, dass ein mit dem Mast (2) und der Fuselage (8) verbundener Adapter (13) vorgesehen ist, der in der Ausnehmung (14) der Fuselage (8) unter Ausbildung eines Formschlusses zwischen einer Adapteraußenfläche (15) und der Ausnehmung (14) der Fuselage (8) angeordnet ist und der eine Adapteraufnahme (16) aufweist, in die das untere Mastende (9) unter Ausbildung eines Formschlusses zwischen dem Mast (2) und dem Adapter (13) derart eingesteckt ist, dass das untere Mastende (9) innerhalb der Fuselage (8) angeordnet ist.

Description

  • Die Erfindung betrifft ein Hydrofoil zur Befestigung an einem Wassersportbrett mit den weiteren Merkmalen nach Oberbegriff des Anspruchs 1.
  • Im Allgemeinen handelt es sich bei einem Hydrofoil um einen Tragflügel, der unterhalb eines Bootsrumpfes montiert ist, um das Boot während der Fahrt bei steigender Geschwindigkeit aufgrund des dynamischen Auftriebs am unter Wasser befindlichen Tragflügel anzuheben. Da sich nach dem Anheben des Bootsrumpfes nur noch ein kleiner Teil unterhalb der Wasseroberfläche befindet, werden die Verdrängung und der Reibungswiderstand deutlich reduziert, sodass höhere Geschwindigkeiten erzielt werden können.
  • Auch beim Kitesurfen kommen derartige Hydrofoils zum Einsatz, die unterhalb des Boards, des sogenannten Foilboards, montiert werden. Bei ausreichend hoher Geschwindigkeit wird auch in diesem Fall das Board aufgrund der am Hydrofoil angreifenden dynamischen Auftriebskräfte nach oben bewegt, sodass bei ausreichend hoher Geschwindigkeit nur noch das Hydrofoil Kontakt zum Wasser hat und entsprechend hohe Fahrgeschwindigkeiten erzielt werden. Ebenso ist es von Vorteil, dass mit Hilfe der beschriebenen Hydrofoils auch bei geringen Windstärken und/oder unter Einsatz vergleichsweise kleiner Segel oder Lenkdrachen teilweise beträchtliche Fahrgeschwindigkeiten zu erzielen sind.
  • Die bekannten Hydrofoils verfügen über einen in vertikaler Richtung in das Wasser eintauchenden Mast, an dessen unterem Ende ein den Rumpf des Hydrofoils bildendes Fusellage, befestigt ist, an dem jeweils quer zur Fahrtrichtung angeordnete Heck- und Frontflügel angeordnet sind. Derartige Hydrofoils werden als einteilige Bauteile oder als Baugruppe, in der zumindest einige der zuvor genannten Komponenten zusammengefasst sind, ausgeführt.
  • In diesem Zusammenhang ist aus der EP 3 461 734 A1 ein gattungsgemäßes Hydrofoil bekannt, das an der Unterseite eines zum Kitesurfen verwendeten Foilboards befestigbar ist. Das beschriebene Hydrofoil verfügt wiederum über einen Mast, der über eine Befestigungsplatte an der Unterseite eines Boards befestigbar ist und der an seinem der Befestigungsplatte abgewandten Ende eine Fuselage aufweist, die einen Front- und einen Heckflügel aufweist. Wesentlich an der beschriebenen technischen Lösung ist, dass die Befestigungsplatte über eine Klebeverbindung mit dem Mast verbunden ist. Die mit dem Mast verklebte Befestigungsplatte kann entweder mithilfe von Schrauben oder durch Einsetzen in eine hierfür vorgesehene Aufnahme an der Unterseite eines Foilboards befestigt werden.
  • Ein weiteres speziell ausgeführtes Hydrofoil ist aus der EP 2 939 917 B1 bekannt. Das in dieser Schrift beschriebene Hydrofoil zeichnet sich insbesondere dadurch aus, dass dieses aus unterschiedlichen Bauteilkomponenten zusammengesetzt wird. Hierbei ist der Mast an seiner dem Foilboard abgewandten Ende fest mit einem Mittelstück der Fuselage verbunden bzw. der Mast und das Mittelteil der Fuselage sind einteilig ausgeführt. Zu beiden Seiten des Mittelteils des Fusellage können ein Frontteil mit einem Frontflügel als auch ein Heckteil mit einem Heckflügel befestigt werden. Zur Befestigung des Front- und des Heckbauteils des Fusellage an dessen Mittelteil sind Verbindungselemente vorgesehen, sodass das Front- und das Heckteil des Fusellage in das Mittelteil eingesteckt und mit Hilfe von geeigneten Verbindern in der Gebrauchsstellung verriegelt werden können.
  • Aus der US 2017 / 0 355 429 A1 ist ferner ein Hydrofoil zur Befestigung an der Unterseite eines Wassersportbretts bekannt. Wesentlich für die beschriebene Lösung ist, dass der zwischen Wassersportbrett und Fuselage angeordnete Mast zumindest abschnittsweise aus Verbundwerkstoffen gebildet wird, die eine hohle Maststruktur bereitstellen. Ebenso ist vorgesehen, dass Vorlauf- und Nachlaufelemente aus einem Material, das weicher ist als die Verbundwerkstoffe, an die Maststruktur geklebt werden, um das hydrodynamische Profil des Mastes zu vervollständigen. Ergänzend ist aus der US 2005 / 0 266 746 A1 ein Hydrofoil bekannt, dessen einzelne Komponenten aus stranggepresstem Aluminium oder einer Aluminiumlegierung bestehen.
  • Ferner beschreibt die US 2015 / 0 017 850 A1 ein Hydrofoil, das die bekannten Komponenten aufweist, darüber hinaus allerdings über ein spezielles Anbindungselement verfügt, über das das Hydrofoil an der Unterseite eines Wassersportbretts befestigbar ist. Dieses Anbindungselement verfügt über ein sich in Längsrichtung erstreckendes zentrales Element, an dem seitlich abstehend eine Mehrzahl von Seitenstreben vorgesehen sind. Die Seitenstreben sind verstellbar in dem zentralen Element gelagert und können in geeigneten Aufnahmen an der Unterseite eines Wassersortbretts befestigt werden.
  • Da an den Hydrofoils teilweise vergleichsweise hohe dynamische Kräfte angreifen, ist die sichere Übertragung entsprechender Kräfte und Drehmomente zwischen den einzelnen Bauteilen eines Hydrofoils und deren ordnungsgemäße Einleitung in das Board von erheblicher Bedeutung. Zu berücksichtigen ist hierbei, dass an den Verbindungsstellen der einzelnen Bauteile, also beispielsweise am Übergang von den Front- und Heckflügeln zur Fusellage und insbesondere von der Fusellage zum Mast eine Umlenkung der eingeleiteten Kräfte um zumindest nahezu 90° erfolgt. Hieraus folgt, dass an den entsprechenden Verbindungsstellen teilweise erhebliche Drehmomente auftreten, wobei dies insbesondere im Verbindungsbereich zwischen Fuselage und Mast zu Problemen hinsichtlich der erforderlichen Festigkeit führen kann. Aus diesem Grund stellen die Auslegung und konstruktive Gestaltung des Verbindungsbereichs zwischen Fuselage und Mast regelmäßig eine erhebliche Herausforderung dar. Ferner ergibt sich in manchen Fällen ein Problem, wenn unterschiedliche Masten und Fuselages miteinander kombiniert werden sollen, sodass der Mast und die Fuselage jeweils lösbar miteinander verbunden sind. Üblicherweise werden Schrauben oder Schraubbolzen zur Verbindung von Mast und Fusellage verwendet, die dann in Abhängigkeit der konstruktiven Ausgestaltung teilweise erheblichen Kräften und Drehmomenten standhalten müssen. Auch wenn es nicht zum Abreißen der Schrauben kommt, kann selbst eine vergleichsweise kleine Streckung oder Biegung der Schrauben bei der Demontage oder Montage des Fusellage am Mast ein nicht unerhebliches Problem darstellen. Im Übrigen können sich in den Verbindungsbereichen Korrosionsprobleme ergeben, insbesondere sobald unterschiedliche Metalle bei gleichzeitigem Kontakt mit salzhaltigem Seewasser aneinanderstoßen.
  • Ausgehend von den aus dem Stand der Technik bekannten Hydrofoils sowie den zuvor geschilderten Problemen liegt der Erfindung die Aufgabe zu Grunde, ein Hydrofoil zu schaffen, das über ein lösbar am Mast zu befestigendes Fusellage verfügt, wobei der Verbindungsbereich zwischen Mast und Fuselage derart ausgeführt sein soll, dass auftretende Kräfte und Drehmomente zuverlässig übertragen werden, ohne dass eine erhebliche Beanspruchung der Schrauben in diesem Bereich zu befürchten ist. Dabei sollte eine Verbindung zwischen Mast und Fuselage geschaffen werden, bei der eine Kraft- und Drehmomentübertragung über vergleichsweise große Flächen erfolgt, sodass das Auftreten von Spitzenbelastungen in dem Verbindungsbereich zwischen Mast und Fusellage weitgehend ausgeschlossen wird. Trotzdem sollte ein Austausch bzw. die Demontage sowie die Montage des Fusellage am Mast vergleichsweise einfach möglich sein. Im Übrigen sollten die für die Herstellung der Verbindung zwischen Mast und Fuselage benötigten Komponenten auf einfache Weise und gleichfalls möglichst kostengünstig herzustellen sein. Ein weiterer Aspekt der Erfindung betrifft die Dauerfestigkeit einer Verbindung zwischen Mast und Fusellage. Insbesondere sollte die anzugebende technische Lösung nicht nur beständig gegenüber vielfach auftretenden Belastungen sein, sondern darüber hinaus den Verschleiß der beteiligten Komponenten, insbesondere Korrosionserscheinungen aufgrund des Kontakts mit Seewasser, zumindest minimieren.
  • Die anzugebende technische Lösung wird mit einem Hydrofoil gemäß Anspruch 1 gelöst. Vorteilhafte Ausführungsformen der Erfindung sind Gegenstand der abhängigen Ansprüche und werden in der folgenden Beschreibung unter teilweiser Bezugnahme auf die Figuren näher erläutert.
  • Die Erfindung betrifft ein Hydrofoil zur Befestigung an einem Wassersportbrett mit einem Mast, der eine Anström- und eine Abströmkante sowie diese verbindende Seitenflächen aufweist und an dessen oberem Mastende ein zumindest mittelbar am Wassersportbrett befestigbarer Halter angeordnet ist, mit einer Fuselage, die zerstörungsfrei mit Hilfe einer Schraubverbindung lösbar am unteren Mastende befestigt ist und dessen Längsmittenachse zumindest nahezu in einer Ebene, in der die Anström- und die Abströmkante des Masts liegen, angeordnet ist und mit jeweils auf gegenüberliegenden Seiten des Masts an der Fuselage angeordneten Front- und Heckflügeln. Der Mast ist als Strangpressprofil ausgeführt und der Mastfuß in einer Ausnehmung der Fuselage angeordnet. Die Erfindung zeichnet sich dadurch aus, dass ein Adapter vorgesehen ist, über den die separaten Bauteile Mast und Fuselage miteinander verbunden sind, indem der Adapter in der Ausnehmung der Fuselage unter Ausbildung eines Formschlusses zwischen einer Adapteraußenfläche und der Ausnehmung der Fuselage angeordnet ist und eine Aufnahme aufweist, in die das untere Mastende unter Ausbildung eines Formschlusses zwischen dem Mast und dem Adapter derart eingesteckt ist, dass das der Fuselage zugewandte Ende des Mastes innerhalb der Fuselage angeordnet ist. Wesentlich für die erfindungsgemäße technische Lösung ist somit, dass zwischen dem Mast und der Fuselage ein diese beiden Komponenten verbindender, als separates Bauteil ausgeführter Adapter vorgesehen ist, über den Kräfte und Drehmomente zwischen der Fuselage und dem Mast übertragen werden. Der Adapter befindet sich in einer Ausnehmung der Fuselage, wobei eine formschlüssige Verbindung zwischen dem Adapter und der Fuselage hergestellt wird, sodass Kräfte und/oder Drehmomente zwischen der Fuselage und dem Adapter über eine vergleichsweise große Außenfläche des Adapters, die an einer entsprechenden Gegenkontur der Ausnehmung in der Fuselage anliegt, übertragen werden. Im Weiteren ist der Mast mit seinem unteren Mastende in eine entsprechende Adapteraufnahme eingesteckt, sodass ebenfalls eine formschlüssige Verbindung zwischen dem Mast und dem Adapter realisiert wird. Von großem Vorteil hierbei ist, dass der Mast derart in den Adapter eingesteckt ist, dass das der Fuselage zugewandte Ende des Mastes innerhalb der Fuselage angeordnet ist. Es wird somit zwischen einer Außenfläche des unteren Mastendes und der Adapteraufnahme wiederum eine Kontaktfläche erzeugt, über die Kräfte und/oder Drehmomente zwischen dem Adapter und dem Mast übertragen werden. Durch ein entsprechendes Adapterbauteil, das formschlüssig sowohl an der Fuselage und als auch an der Außenwand des unteren Mastendes anliegt, wird auf vorteilhafte Weise sichergestellt, dass eine Kraftübertragung im Verbindungsbereich von Mast und Fuselage über eine vergleichsweise große Fläche erfolgt, sodass Spannungen, insbesondere in den die Fuselage mit dem Mast verbindenden Schrauben, minimiert werden.
  • Auf vorteilhafte Weise ist der Adapter derart ausgebildet, dass der Adapter zumindest bereichsweise auch in den Mast hineinragt und hier wiederum eine zumindest teilweise formschlüssige Verbindung zwischen dem Adapter und einer Innenfläche des zumindest teilweise hohlen Masts hergestellt wird.
  • Auf vorteilhafte Weise befindet sich zwischen dem Adapter und dem Mast wenigstens bereichsweise eine Klebeverbindung. In diesem Zusammenhang ist es insbesondere denkbar, dass zwischen zumindest einem in den Mast hineinragenden Teilbereich des Adapters, insbesondere einer geeigneten Anschlussstruktur des Adapters, und einer Innenfläche des Masts eine Klebeverbindung vorgesehen ist. Der Adapter kann so auf vergleichsweise einfache, zuverlässige und positionsgetreue Weise mit dem Mast dauerhaft verbunden werden. Auf diese Weise wird eine zuverlässige Verbindung des Adapters mit dem Mast innerhalb des Mastes hergestellt und gleichzeitig sichergestellt, dass sich der Adapter stets in der für eine Kraftübertragung vorteilhaften Position innerhalb des Mastes befindet.
  • In einer weiteren besonderen Ausführungsform ist vorgesehen, dass der Adapter einen Kunststoff aufweist. In diesem Zusammenhang ist es denkbar, dass es sich bei dem verwendeten Kunststoff um einen mit Glasfasern oder Kohlenstofffasern verstärkten Kunststoff handelt. Die Verwendung eines Adapters, der zumindest teilweise Kunststoff aufweist, bietet den Vorteil, dass es im Verbindungsbereich zwischen Mast und Fuselage außerhalb des für die Schraubverbindung genutzten Bereichs nicht zu einem Kontakt zweier Metalle, insbesondere zweier verschiedener Metalle, kommt. Ein Adapter, der Kunststoff aufweist stellt hierbei sicher, dass weder zwischen dem Mast und dem Adapter noch zwischen der Fuselage und dem Adapter oder sogar zwischen der Fuselage und dem Mast unterschiedliche Metalle in Berührung kommen. Auf diese Weise wird Bimetallkorrosion oder Kontaktkorrosion zwischen entsprechenden Metallen im Verbindungsbereich zwischen Mast und Fuselage zuverlässig verhindert. Insbesondere bei Anwesenheit von Salzwasser bestehet generell das Risiko, dass eine nicht unerhebliche Kontaktkorrosion zwischen unterschiedlichen Metallen auftritt. Sofern der Adapter ein Kunststoffmaterial aufweist, besteht eine metallische Verbindung zwischen dem Mast und der Fuselage lediglich im Bereich der Schrauben. Um zusätzlich einen Kontakt der Schraubverbindung und damit des Bereichs zwischen Schrauben und Fuselage und/oder zwischen Schrauben Mast mit Salzwasser zu verhindern, ist die Schraubverbindung vorzugweise mithilfe von Anti-Seize-Paste gegenüber der Umgebung und damit während der Nutzung des Hydrofoils gegenüber Seewasser abgedichtet.
  • Bevorzugt wird der Adapter im Wege eines Kunststoffspritzgießens hergestellt. Auf diese Weise lassen sich die benötigte Form des Adapters, insbesondere die Adapteraufnahme sowie eine nach erfolgter Montage in das Innere des Masts eintauchende Anschlussstruktur besonders effektiv herstellen.
  • Im Übrigen ist es generell denkbar, dass der Mast, die Fuselage und/oder der Adapter Aluminium, Mangan oder einen faserhaltigen Kunststoff aufweisen.
  • Gemäß einer speziellen Weiterbildung der Erfindung ist somit vorgesehen, dass der Mast als Aluminiumstrangpressprofil, ausgeführt ist. Im Übrigen ist es denkbar, dass der Mast, die Fuselage und/oder der Adapter wenigstens bereichsweise eine Schutzschicht aufweisen, die einen Kontakt des jeweils für die Bauteile verwendeten Materials an der Oberfläche mit der Umgebung, vor allem mit Salzwasser, zuverlässig verhindern. Vorzugsweise ist eine derartige Schutzschicht als eine durch anodische Oxidation erzeugte Oxidschicht ausgeführt.
  • In einer besonderen Ausführungsform der Erfindung verfügt der Adapter über eine Anschlussstruktur, die in den Mast hineinragt und wenigstens abschnittsweise an einer Innenwand des Mastes anliegt. In Bezug auf die Anschlussstruktur des Adapter, die in das Innere des Masts hineinragt und eine formschlüssige Verbindung im Inneren des Masts zwischen dem Adapter und einer Innenfläche des Masts herstellt, ist es von Vorteil, wenn diese wenigstens ein quader- und/oder würfelförmiges Strukturelement aufweist, das zumindest bereichsweise innerhalb des Masts an der Innenwand des Masts anliegt. Alternativ oder in Ergänzung ist es denkbar, dass wenigstens ein kreiszylinder- und/oder ovalzylinderförmiges Strukturelement vorgesehen ist, das zumindest bereichsweise innerhalb des Masts an der Innenwand des Masts anliegt. Wesentlich ist jeweils, dass die Anschlussstruktur des Adapters eine formschlüssige Verbindung im Inneren des Masts zwischen dem Adapter und dem Mast herstellt.
  • Im Weiteren ist es generell denkbar, dass die Anschlussstruktur des Adapters wenigstens zwei in Reihe angeordnete Strukturelemente aufweist, durch die zumindest bereichsweise innerhalb des Masts eine formschlüssige Verbindung zwischen dem Adapter und dem Mast realisiert wird. Die Strukturelemente greifen gemäß dieser Ausführungsform zahnförmig in eine entsprechende Gegenkontur im Inneren des Masts ein.
  • Bei einem gattungsgemäßen Hydrofoil sind der Mast und die Fuselage über eine Schraubverbindung, die eine oder eine Mehrzahl von Schrauben aufweist, miteinander verbunden. Die Schrauben werden in geeignete, im Inneren des Masts vorgesehene Innengwinde eingeschraubt. Vorzugsweise sind im Inneren des Masts sich in Längsrichtung des Masts erstreckende Hohlprofile, insbesondere rohrförmige Hohlprofile vorgesehen, in denen sich das Innengewinde befindet. Teilweise dienen de Profile gleichzeitig der Aussteifung des Masts.
  • In einer besonderen Weiterbildung verfügt die Schraubverbindung über wenigstens eine Senkschraube mit Innensechskant und ein im Inneren des Masts angeordnetes komplementäres Innengewinde, in das die Senkschraube einschraubbar ist. Um die Schraubverbindung während des Betriebs eines Hydrofoils zuverlässig vor eindringendem Salzwasser und der damit verbundenen Kontaktkorrosion mit anderen Metallen zu schützen, ist auf vorteilhafte Weise in den Bereich der Schraubverbindung eine Anti-Seize-Paste eingebracht. Alternativ oder in Ergänzung ist es in diesem Zusammenhang denkbar, dass zwischen einer Schraube der Schraubverbindung und der Fuselage ein elektrisch nicht leitfähiges Element und oder eine elektrisch nicht leitfähige Schicht angeordnet ist, um die Kontaktkorrosion, beispielsweise zwischen einer Schraube aus Edelstahl und einem Mast aus Aluminium, zu verhindern.
  • Gemäß einer weiteren speziellen Ausführungsform der Erfindung ist der Heckflügel an seinen beiden Enden wenigstens bereichsweise nach oben um die dem Maß zugewandte Fläche gebogen. Im Weiteren ist es denkbar, dass im Heckbereich der Fuselage ferner eine Finne angeordnet ist, die ebenfalls an der Fuselage befestigt oder einteilig mit dieser ausgebildet ist. Besonders bevorzugt ist es, wenn die Finne in den Heckflügel integriert ist. Im Übrigen ist es von Vorteil, wenn die Finne nach oben gerichtet ist und über die dem Mast zugewandte Oberfläche der Fuselage hinausragt.
  • Ein erfindungsgemäß ausgeführtes Hydrofoil lässt sich grundsätzlich für jedes Brett, das zur Bewegung im Wasser oder auf der Wasseroberfläche gedacht ist, verwenden. Bevorzugt wird ein Hydrofoil, das gemäß wenigstens einer der zuvor beschriebenen Ausführungsformen ausgebildet ist, zum Wakeboarden, Surfen und/oder Kitesurfer verwendet, wobei das Hydrofoil an der Unterseite des zur Ausübung der jeweiligen Wassersportart benötigten Wassersportbretts, auch Board genannt, befestigt wird. Die Befestigung erfolgt hierbei jeweils über ein am oberen Ende des Masts, dem Mastkopf, vorgesehenes Halteelement, das ein Verschrauben des Hydrofoils mit dem Wassersportbrett und/oder eine Befestigung des Hydrofoils in einer geeignet ausgeführten Aufnahme des Wassersportbretts ermöglicht.
  • Im Folgenden wird die Erfindung ohne Beschränkung des allgemeinen Erfindungsgedankens anhand spezieller Ausführungsformen und unter Bezugnahme auf die Figuren näher erläutert. Dabei zeigen:
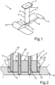
    • 1: Perspektivische Ansicht eines erfindungsgemäßen Hydrofoils zur Befestigung an einem Foilboard für das Kitesurfen;
    • 2: Ansicht des Ausschnitts eines Längsschnitts durch den Verbindungsbereich zwischen Fuselage und Mast sowie
    • 3: Ansicht des Ausschnitts eines Querschnitts durch den Verbindungsbereich zwischen Fuselage und Mast.
  • 1 zeigt ein erfindungsgemäß ausgeführtes Hydrofoil 1 in einer perspektivischen Ansicht. Das Hydrofoil 1 verfügt über ein Halteelement 7, das am oberen Ende 6 eines Masts 2 angeordnet ist und zur Befestigung des Hydrofoils an der Unterseite eines Kite- oder Foilboards dient. Das Halteelement 5 verfügt im Außenbereich über vier Bohrungen, durch die Schrauben gesteckt und in geeigneten Gewinden im Board eingeschraubt werden können.
  • In Gebrauchslage des Hydrofoils 1 erstreckt sich der Mast 2 ausgehend vom Halteelement 7 in vertikaler Richtung im Wasser. An dem dem oberen Ende 6 gegenüberliegenden Ende 9 des Mastes 2, dem Mastfuß, ist eine Fuselage 8 angeordnet und mithilfe von zwei in dieser Ansicht nicht dargestellten Schrauben am Mast 2 befestigt. Während des Gebrauchs ist die Längsrichtung der Fuselage 8 in Fahrt- bzw. Fortbewegungsrichtung ausgerichtet. Am vorderen Ende der Fuselage 8 ist ein Frontflügel 10, auch Frontwing genannt, an dem Fuselage 8 befestigt. Am hinteren Ende der Fuselage 8 ist ein Heckflügel 11 angeordnet.
  • Ein derartiges Hydrofoil sorgt dafür, dass aufgrund von hydrodynamischen Kräften ein an dem Hydrofoil befestigtes Wassersportbrett bei Fahrt auf oder durch das Wasser nach oben bewegt und somit von der Wasseroberfläche abgehoben wird. Aufgrund dieser Bewegung wird die mit dem Wasser in Berührung befindliche Fläche erheblich verkleinert, sodass auch bei geringen Windstärken und/oder vergleichsweise kleinen Segel- oder Lenkdrachenflächen zum Teil beträchtliche Fahrgeschwindigkeiten mit dem Wassersportbrett erreicht werden können.
  • Das erfindungswesentliche technische Merkmal des erfindungsgemäß ausgeführten, in 1 gezeigten Hydrofoil 1 ist darin zu sehen, dass der Mast 2 und der Fuselage 8 als separate Bauteile ausgeführt sind und über einen Adapter 13, der ebenfalls ein separates Bauteil darstellt, miteinander verbunden sind. Der Adapter 13 ist hierbei innerhalb einer Ausnehmung 14 in der Fuselage 8 angeordnet, wobei eine formschlüssige Verbindung zwischen der Ausnehmung 14 und der Außenfläche 15 des Adapters 13 hergestellt wird. Im Weiteren ist der Mast 2 derart in eine Adapteraufnahme 16 des Adapters 13 eingesteckt, dass sich das unteren Mastende 9 innerhalb der Fuselage 8 befindet. Kräfte, die zwischen der Fuselage 8 und dem Mast 2 über den Adapter 13 übertragen werden, werden so über die formschlüssigen Verbindungen zwischen Fuselage 8 und Adapter 13 einerseits und Adapter 13 und unterem Mastende 9 andererseits übertragen. Auf diese Weise werden vergleichsweise große Flächen zur Übertragung der während des Betriebs des Hydrofoils 1 auftretenden Kräfte und Drehmomente realisiert, und punktuelle Spitzenlasten bzw. Spannungen im Verbindungsbereich zwischen Fuselage 8 und Mast 2 zumindest weitgehend ausgeschlossen. Auch wenn dies in dieser Ansicht nicht zu erkennen ist, verfügt der Adapter 13 über eine Anschlussstruktur 17, die in das Innere des hohlen, als Aluminiumstrangpressprofil ausgeführten Masts 2 hineinragt, wobei wiederum eine formschlüssige Verbindung zwischen der Anschlussstruktur 17 des Adapters 13 und der Innenwand 18 des Masts 2 geschaffen wird. Der Mast 2 wird so sicher innerhalb des Adapters 13 gehalten und es sind Kontaktflächen sowohl zwischen der Außenfläche 21 des Masts 2 und dem Adapter 13 als auch der Innenwand 18 des Masts 2 und dem Adapter 13 vorhanden.
  • Bei dem in 1 gezeigten Ausführungsbeispiel sind der Mast 2 und der Fuselage 8 aus Aluminium gefertigt, während es sich bei dem Adapter 13 um ein Kunststoffspritzgussteil handelt. Der als Kunststoffspritzgussteil ausgeführte Adapter 13, der über eine in den Mast 2 hineinragende Anschlussstruktur 17 verfügt, ist über die in das Innere des Masts 2 hineinragende Anschlussstruktur 17 mit der Innenwand 18 des Masts 2 verklebt. Auf diese Weise wird eine dauerhafte und zuverlässige Verbindung zwischen dem Adapter 13 und dem Mast 2 hergestellt, sodass sich der Mast 2 gemeinsam mit dem Adapter 13 von der Fuselage trennen lässt. Das Vorsehen eines Adapters 13, der aus Kunststoff gefertigt ist, hat im Übrigen den Vorteil, dass es nicht zu einem direkten Kontakt zwischen dem Mast 2 und der Fuselage 8 kommt. Etwaige Beschädigungen der Oberflächen bei der Montage oder Demontage können so vermieden werden. Ebenso wird sichergestellt, dass es zwischen dem Mast 2 und der Fuselage 8, insbesondere sofern diese aus unterschiedlichen Metallen bestehen, nicht zu einer Kontaktkorrosion kommt. Dies ist vor allem von Bedeutung, da das gezeigte Hydrofoil 1 üblicherweise im Salzwasser eingesetzt wird, was das Risiko einer Kontaktkorrosion zwischen unterschiedlichen Metallen deutlich erhöht.
  • 2 zeigt den Ausschnitt einer Schnittansicht in Längsrichtung des Verbindungsbereich zwischen Fuselage 8 und Mast 2 eines erfindungsgemäß ausgeführten Hydrofoils 1.
  • Hierbei ist der Mast 2 als Aluminiumstrangpressprofil ausgeführt und im Inneren teilweise hohl, wobei der Mast 2 in seinem Inneren zur Herstellung einer Schaubverbindung 12 über zwei sich in Längsrichtung des Masts 2 erstreckende rohrförmige Streben 22 verfügt, die jeweils ein Innengewinde aufweisen.
  • In diese Innengewinde sind zur Befestigung der Fuselage 8 am Mast 2 jeweils Senkschrauben mit Innensechskant eingeschraubt.
  • Erfindungswesentlich ist, dass der Mast 2 in eine Adapteraufnahme 16 eingesteckt ist, wobei sich das untere Ende 9 des Masts 2 innerhalb einer Ausnehmung der Fuselage 8 und somit innerhalb der Fuselage 8 befindet. Eine Kraftübertragung zwischen Fuselage 8 und Mast 2 findet somit aufgrund der formschlüssigen Verbindung in diesem Bereich über eine vergleichsweise große Kontaktfläche zwischen Adapter 13 und Fuselage 8 statt.
  • Im Übrigen verfügt der Adapter 13 über eine Anschlussstruktur 16, die in das Innere des Masts 2 hineinragt und hier eine formschlüssige Verbindung mit den Innenwand 18 des Masts 2 herstellt, wobei ein Formschluss sowohl zwischen der Anschlussstruktur 16 und der Innenwand 18 des Masts 2 als auch zwischen der Anschlussstruktur 16 des Masts und den vertikal im Inneren des Masts 2 verlaufenden Streben 22 gebildet wird.
  • Der Adapter 13 ist in einer Ausnehmung 14 der Fuselage 8 angeordnet, wobei sich ein Formschluss zwischen der Ausnehmung 14 und den Außenflächen des Adapters 13 ergibt. Die Außenflächen des Adapters 13 sind derart angeschrägt, dass der Adapter 13 an dem der Fuselage 8 zugewandten, unteren Ende über seinen kleinsten Durchmesser verfügt, während der Durchmesser in Richtung auf das der Oberseite der Fuselage 8 zugewandten Ende des Adapters 13 stetig ansteigt. Der Adapter 13 ist aus Kunststoff gefertigt, sodass kein direkter Kontakt zwischen dem Mast 2 und der Fuselage 8 besteht.
  • Im Übrigen ist sowohl das untere Ende 9 des Masts 2 als auch die Ausnehmung 14 der Fuselage 8 durch den Adapter 13 sicher gegenüber der Umgebung, vor allem gegenüber dem Seewasser abgedichtet. Auf diese Weise wird sichergestellt, dass kein Wasser in einen Bereich, in dem die Schrauben der Schraubverbindung 12 im Inneren der Fuselage 8 aus der Fuselage 8 austreten, gelangen kann. Ferner sind die Schrauben mithilfe einer Anti-Seize-Paste gegenüber der Umgebung abgedichtet, sodass auch über den Bereich der Schraubenköpfe kein Seewasser in den Gewindebereich und damit einen Kontaktbereich unterschiedlicher Metalle eindringen kann. Dies ist insbesondere von Bedeutung, da für die Schraubverbindung üblicherweise Schrauben aus Edelstahl verwendet werden, während für die Fuselage 8 und/oder den Mast 2 bevorzugt ein aluminiumhaltiges Material verwendet wird.
  • Ergänzend zeigt 3 eine Schnittansicht des Verbindungsbereichs zwischen Fuselage 8 und Mast 2, wobei der Schnitt in diesem Fall in Querrichtung der Fuselage 8 verläuft.
  • Deutlich zu erkennen ist wiederum, dass mit Hilfe des Adapters 13 sowohl ein Formschluss zwischen der Fuselage 8 und dem Adapter 13 als auch zwischen dem Adapter 13 und dem Mast 2 hergestellt wird. Das untere Ende 9 des Masts 2, das sich innerhalb des Adapteraufnahme 16 des Adapters 13 befindet, wird so sicher innerhalb der Ausnehmung 14 der Fuselage 8 gehalten, sodass Kräfte und/oder Drehmomente direkt innerhalb der Fuselage 8 zwischen dem Mast 2 und der Fuselage 8 über den Adapter 13 übertragen werden. Erfindungswesentliche ist hierbei, dass vergleichsweise große Flächen geschaffen werden, über die eine Übertragung auftretender Kräfte und Drehmomente erfolgt, so das erhöhte Flächenlasten und Spannungen in einzelnen Bereichen ausgeschlossen werden.
  • Bezugszeichenliste
  • 1
    Hydrofoil
    2
    Mast
    3
    Anströmkante
    4
    Abströmkante
    5
    Seitenfläche
    6
    oberes Mastende
    7
    Halter
    8
    Fuselage
    9
    unteres Mastende
    10
    Frontflügel
    11
    Heckflügel
    12
    Schraubverbindung
    13
    Adapter
    14
    Ausnehmung
    15
    Adapteraußenfläche
    16
    Adapteraufnahme
    17
    Anschlussstruktur
    18
    Innenwand des Masts
    19
    Strukturelement
    20
    Klebeverbindung
    21
    Mastaußenfläche
    22
    Strebe

Claims (21)

  1. Hydrofoil (1) zur Befestigung an einem Wassersportbrett, mit einem Mast (2), der eine Anström- (3) und eine Abströmkante (4) sowie diese verbindende Seitenflächen (5) aufweist und an dessen oberem Mastende (6) ein zumindest mittelbar am Wassersportbrett befestigbarer Halter (7) angeordnet ist, mit einer Fuselage (8), die am unteren Mastende (9) befestigt ist und dessen Längsmittenachse zumindest nahezu in einer von der Anström- (3) und der Abströmkante (4) des Masts (2) aufgespannten Ebene liegt, und mit jeweils auf gegenüberliegenden Seiten des Masts an der Fuselage (8) angeordneten Front- (10) und Heckflügeln (11), wobei der Mast (2) und die Fuselage (8) als separate Bauteile ausgeführt und über eine Schraubverbindung (12) miteinander verbunden sind, wobei der Mast als Strangpressprofil ausgeführt ist und das untere Mastende (9) in einer Ausnehmung (14) der Fuselage (8) angeordnet ist, dadurch gekennzeichnet, dass ein mit dem Mast (2) und der Fuselage (8) verbundener Adapter (13) vorgesehen ist, der in der Ausnehmung (14) der Fuselage (8) unter Ausbildung eines Formschlusses zwischen einer Adapteraußenfläche (15) und der Ausnehmung (14) der Fuselage (8) angeordnet ist und der eine Adapteraufnahme (16) aufweist, in die das untere Mastende (9) unter Ausbildung eines Formschlusses zwischen dem Mast (2) und dem Adapter (13) derart eingesteckt ist, dass das untere Mastende (9) innerhalb der Fuselage (8) angeordnet ist.
  2. Hydrofoil (1) nach Anspruch 1, dadurch gekennzeichnet, dass zwischen dem Adapter (13) und dem Mast (2) wenigstens bereichsweise eine Klebeverbindung (20) vorgesehen ist.
  3. Hydrofoil (1) nach Anspruch 1 oder 2, dadurch gekennzeichnet, dass der Adapter (13) eine Anschlussstruktur (17) aufweist, die in den Mast (2) hineinragt und wenigstens abschnittsweise an einer Innenwand (18) des Masts (2) anliegt.
  4. Hydrofoil (1) nach Anspruch 3, dadurch gekennzeichnet, dass wenigstens bereichsweise zwischen der Anschlussstruktur (17) und der Innenwand (18) des Masts (2) eine Klebeverbindung (20) vorgesehen ist.
  5. Hydrofoil (1) nach einem der vorangehenden Ansprüche, dadurch gekennzeichnet, dass der Adapter (13) einen Kunststoff aufweist.
  6. Hydrofoil (1) nach Anspruch 5, dadurch gekennzeichnet, dass der Kunststoff mit Glas- und/oder Kohlenstofffasern verstärkt ist.
  7. Hydrofoil (1) nach Anspruch 5 oder 6, dadurch gekennzeichnet, dass der Adapter (13) durch Kunststoff-Spritzgießen hergestellt ist.
  8. Hydrofoil (1) nach einem der vorangehenden Ansprüche, dadurch gekennzeichnet, dass der Mast (2), die Fuselage (8) und/oder der Adapter (13) Aluminium, Mangan oder Kohlenstofffasern aufweist.
  9. Hydrofoil (1) nach einem der vorangehenden Ansprüche, dadurch gekennzeichnet, dass der Mast (2), die Fuselage (8) und/oder der Adapter (13) wenigstens bereichsweise eine Schutzschicht aufweisen.
  10. Hydrofoil (1) nach einem der vorangehenden Ansprüche, dadurch gekennzeichnet, dass die Schutzschicht als eine durch anodische Oxidation erzeugte Oxidschicht ausgeführt ist.
  11. Hydrofoil (1) nach einem der Ansprüche 3 bis 10, dadurch gekennzeichnet, dass die Anschlussstruktur (17) wenigstens ein quader- und/oder würfelförmiges Strukturelement (19) aufweist, das zumindest bereichsweise innerhalb des Masts (2) an der Innenwand (18) des Masts (2) anliegt.
  12. Hydrofoil (1) nach einem der Ansprüche 3 bis 11, dadurch gekennzeichnet, dass die Anschlussstruktur (17) wenigstens ein kreiszylinder- und/oder ovalzylinderförmiges Strukturelement (19) aufweist, das zumindest bereichsweise innerhalb des Masts (2) an der Innenwand (18) des Masts (2) anliegt.
  13. Hydrofoil (1) nach einem der Ansprüche 3 bis 12, dadurch gekennzeichnet, dass die Anschlussstruktur (17) wenigstens zwei in Reihe angeordnete Strukturelemente (19) aufweist, die jeweils zumindest bereichsweise innerhalb des Masts (2) an der Innenwand (18) des Masts (2) anliegen.
  14. Hydrofoil (1) nach einem der vorangehenden Ansprüche, dadurch gekennzeichnet, dass die Schraubverbindung (12) wenigstens eine Senkschraube mit Innensechskant und ein im Mast (2) angeordnetes komplementäres Innengwinde aufweist.
  15. Hydrofoil (1) nach einem der vorangehenden Ansprüche, dadurch gekennzeichnet, dass im Bereich der Schraubverbindung (12) Anti-Seize-Paste vorgesehen ist.
  16. Hydrofoil (1) nach einem der vorangehenden Ansprüche, dadurch gekennzeichnet, dass zwischen einer Schraube der Schraubverbindung (12) und der Fuselage (8) ein elektrisch nicht leitfähiges Element und/oder eine elektrisch nicht leitfähige Schicht angeordnet ist.
  17. Hydrofoil (1) nach einem der vorangehenden Ansprüche, dadurch gekennzeichnet, dass der Heckflügel (11) an seinen beiden Enden wenigstens bereichsweise nach oben um die dem Mast (2) zugewandte Fläche gebogen ist.
  18. Hydrofoil (1) nach einem der vorangehenden Ansprüche, dadurch gekennzeichnet, dass im Heckbereich der Fuselage (8) eine Finne angeordnet ist.
  19. Hydrofoil (1) nach einem der vorangehenden Ansprüche, dadurch gekennzeichnet, dass im Heckbereich des Fuselage (8) eine in den Heckflügel (11) integrierte Finne angeordnet ist.
  20. Hydrofoil (1) nach einem der vorangehenden Ansprüche, dadurch gekennzeichnet, dass die Finne nach oben gerichtet ist und über die dem Mast (2) zugewandte Oberfläche der Fuselage (8) hinausragt.
  21. Wassersportbrett zum Wakeboarden, Surfen und/oder Kitesurfen mit einem Hydrofoil (1) nach zumindest einem der vorangehenden Ansprüche, das an einer Unterseite des Wassersportbretts befestigt ist.
DE102020116552.8A 2019-06-25 2020-06-23 Hydrofoil zur Befestigung an einem Wassersportbrett Active DE102020116552B4 (de)

Applications Claiming Priority (2)

Application Number Priority Date Filing Date Title
DE202019103496.3U DE202019103496U1 (de) 2019-06-25 2019-06-25 Hydrofoil zur Befestigung an einem Wassersportbrett
DE202019103496.3 2019-06-25

Publications (2)

Publication Number Publication Date
DE102020116552A1 DE102020116552A1 (de) 2020-12-31
DE102020116552B4 true DE102020116552B4 (de) 2023-08-31

Family

ID=68105158

Family Applications (2)

Application Number Title Priority Date Filing Date
DE202019103496.3U Active DE202019103496U1 (de) 2019-06-25 2019-06-25 Hydrofoil zur Befestigung an einem Wassersportbrett
DE102020116552.8A Active DE102020116552B4 (de) 2019-06-25 2020-06-23 Hydrofoil zur Befestigung an einem Wassersportbrett

Family Applications Before (1)

Application Number Title Priority Date Filing Date
DE202019103496.3U Active DE202019103496U1 (de) 2019-06-25 2019-06-25 Hydrofoil zur Befestigung an einem Wassersportbrett

Country Status (2)

Country Link
US (1) US11345449B2 (de)
DE (2) DE202019103496U1 (de)

Families Citing this family (11)

* Cited by examiner, † Cited by third party
Publication number Priority date Publication date Assignee Title
US10597118B2 (en) 2016-09-12 2020-03-24 Kai Concepts, LLC Watercraft device with hydrofoil and electric propeller system
DE102019126843A1 (de) * 2019-10-07 2021-04-08 Boards & More Gmbh Foilanordnung
US11613331B2 (en) * 2020-03-06 2023-03-28 Bi-Thermal Aspen Earth, L.L.C. Composite masts and mast-fuselage connection assemblies for hydrofoil sports boards
US12246811B2 (en) 2020-04-22 2025-03-11 Kai Concepts, LLC Watercraft device with a handheld controller
WO2022136566A1 (de) 2020-12-22 2022-06-30 Boards & More Gmbh Foilanordnung und wassersportgerät
DE102021102124A1 (de) 2020-12-22 2022-06-23 Boards & More Gmbh Foilanordnung und Wassersportgerät
US12263912B2 (en) 2021-03-05 2025-04-01 Bi-Thermal Aspen Earth, L.L.C. Composite hydrofoil components and systems
US20230356804A1 (en) * 2022-05-09 2023-11-09 Robert Martin Johnston Modular hydrofoil system for watercraft
AT527112B1 (de) * 2023-04-13 2025-06-15 Creaglobe Gmbh Hydrofoil für ein wasserfahrzeug
WO2025024628A1 (en) * 2023-07-25 2025-01-30 Naiad Maritime Group, Inc. Active bow foil for ship motion control
WO2025026237A1 (zh) * 2023-07-28 2025-02-06 深圳市苇渡智能科技有限公司 用于水翼板的动力系统及电动水翼板

Citations (5)

* Cited by examiner, † Cited by third party
Publication number Priority date Publication date Assignee Title
US20050266746A1 (en) 2003-11-25 2005-12-01 Murphy Michael J Extruded strut, fuselage and front wing assembly for towable hydrofoil
US20150017850A1 (en) 2013-03-14 2015-01-15 Hydrofoiled, Inc. Universal Hydrofoil Connector System and Method of Attachment
EP2939917B1 (de) 2014-04-30 2017-03-01 F One Modulare foil-vorrichtung
US20170355429A1 (en) 2016-06-09 2017-12-14 Adherend Innovations, LLC Hydrofoil assembly for watersports and associated methods of manufacture
EP3461734A1 (de) 2017-09-27 2019-04-03 Boards & More GmbH Foilanordnung

Patent Citations (5)

* Cited by examiner, † Cited by third party
Publication number Priority date Publication date Assignee Title
US20050266746A1 (en) 2003-11-25 2005-12-01 Murphy Michael J Extruded strut, fuselage and front wing assembly for towable hydrofoil
US20150017850A1 (en) 2013-03-14 2015-01-15 Hydrofoiled, Inc. Universal Hydrofoil Connector System and Method of Attachment
EP2939917B1 (de) 2014-04-30 2017-03-01 F One Modulare foil-vorrichtung
US20170355429A1 (en) 2016-06-09 2017-12-14 Adherend Innovations, LLC Hydrofoil assembly for watersports and associated methods of manufacture
EP3461734A1 (de) 2017-09-27 2019-04-03 Boards & More GmbH Foilanordnung

Also Published As

Publication number Publication date
US11345449B2 (en) 2022-05-31
DE202019103496U1 (de) 2019-09-12
DE102020116552A1 (de) 2020-12-31
US20200407026A1 (en) 2020-12-31

Similar Documents

Publication Publication Date Title
DE102020116552B4 (de) Hydrofoil zur Befestigung an einem Wassersportbrett
DE102007019692B4 (de) Flügel-Rumpf-Sektion eines Flugzeugs
EP2154064B1 (de) Ruderanordnung für Schiffe mit höheren Geschwindigkeiten mit einem kavitationsreduzierenden, twistierten, insbesondere Vollschweberuder
DE202007016164U1 (de) Hochleistungsruder für Schiffe
DE102018124323A1 (de) Hydrofoil
EP2060486A1 (de) Ruder für Schiffe mit höheren Geschwindigkeiten mit einem kavitationsreduzierenden, twistierten, insbesondere Vollschweberuder
EP3461734B1 (de) Foilanordnung
DE102009024845A1 (de) Propeller
DE102018106212A1 (de) Foilanordnung
DE102021119503A1 (de) Befestigungssystem zur Befestigung eines Hydrofoils an einem Wassersportbrett
DE102013204033A1 (de) Wasserfahrzeug, insbesondere Container- oder Schleppschiff
DE102011012938A1 (de) Befestigungsanordnung eines Kunststoffteils an einem Rohbauteil eines Kraftwagens
EP4034456B1 (de) Foilanordnung
DE4304158A1 (de) Auftriebsfinne
DE3043734A1 (de) Surfbrett
AT527112B1 (de) Hydrofoil für ein wasserfahrzeug
DE102019126843A1 (de) Foilanordnung
DE102024102216B3 (de) Verfahren zur Montage eines Spoilermoduls an einem Rohbau eines Kraftfahrzeugs, Rohbau und Kraftfahrzeug
DE3321219A1 (de) Windgetriebenes fahrzeug mit einem segelbrett
DE683298C (de) Schiffskoerper mit Auftriebsflaechen
DE202007017450U1 (de) Hochleistungsruder für Schiffe
DE102005015338B4 (de) Seitenleitwerkanschluss
DE202015007384U1 (de) Wassersportgerät
CH681974A5 (de)
DE102021001355A1 (de) Anordnung zum verschiebbaren Positionieren einer Finne in einem Finnenkasten

Legal Events

Date Code Title Description
R012 Request for examination validly filed
R123 Application deemed withdrawn due to non-payment of filing fee
R073 Re-establishment requested
R074 Re-establishment allowed
R016 Response to examination communication
R018 Grant decision by examination section/examining division
R020 Patent grant now final