CN219230578U - A kind of pelvic floor muscle repair instrument - Google Patents
A kind of pelvic floor muscle repair instrument Download PDFInfo
- Publication number
- CN219230578U CN219230578U CN202223522380.4U CN202223522380U CN219230578U CN 219230578 U CN219230578 U CN 219230578U CN 202223522380 U CN202223522380 U CN 202223522380U CN 219230578 U CN219230578 U CN 219230578U
- Authority
- CN
- China
- Prior art keywords
- pelvic floor
- floor muscle
- fixed
- deck
- movable
- Prior art date
- Legal status (The legal status is an assumption and is not a legal conclusion. Google has not performed a legal analysis and makes no representation as to the accuracy of the status listed.)
- Expired - Fee Related
Links
Images
Classifications
-
- Y—GENERAL TAGGING OF NEW TECHNOLOGICAL DEVELOPMENTS; GENERAL TAGGING OF CROSS-SECTIONAL TECHNOLOGIES SPANNING OVER SEVERAL SECTIONS OF THE IPC; TECHNICAL SUBJECTS COVERED BY FORMER USPC CROSS-REFERENCE ART COLLECTIONS [XRACs] AND DIGESTS
- Y02—TECHNOLOGIES OR APPLICATIONS FOR MITIGATION OR ADAPTATION AGAINST CLIMATE CHANGE
- Y02B—CLIMATE CHANGE MITIGATION TECHNOLOGIES RELATED TO BUILDINGS, e.g. HOUSING, HOUSE APPLIANCES OR RELATED END-USER APPLICATIONS
- Y02B30/00—Energy efficient heating, ventilation or air conditioning [HVAC]
Landscapes
- Rehabilitation Tools (AREA)
Abstract
本实用新型涉及盆底肌修复技术领域,且公开了一种盆底肌修复仪,包括固定躺板,所述固定躺板尾端铰接有活动躺板,所述活动躺板尾端设置有盆底肌U形托板,该盆底肌修复仪,使用者可以平躺在固定躺板和活动躺板上,通过第二电机、第二驱动轴、齿轮、转动环和卡齿之间的配合,驱动活动躺板进行转动,从而配合盆底肌U形托板来将使用者臀部进行抬起放下,来拉动封闭骨盆底的肌肉群进行运动,且可以通过第一电机、第一驱动轴和按摩辊的配合,通过按摩辊来对使用者的盆底肌进行按摩锻炼,同时可以通过电暖灯来使盆底肌感到温暖,加快盆底肌部位的血液循环,进一步提高了修复锻炼效果,无需通过腿部和腰部用力,便于盆底肌修复锻炼工作的进行。
The utility model relates to the technical field of pelvic floor muscle repair, and discloses a pelvic floor muscle repair instrument, which comprises a fixed recliner, the rear end of which is hinged with a movable recliner, and the tail end of the movable recliner is provided with a pelvic floor muscle The U-shaped supporting board, the pelvic floor muscle repair instrument, the user can lie flat on the fixed couch and the movable couch, and drive The movable deck is rotated, so as to cooperate with the U-shaped supporting plate of the pelvic floor muscles to lift and lower the user's buttocks to pull the muscles that close the pelvic floor to exercise, and can use the first motor, the first drive shaft and the massage roller With the cooperation of the massage roller, the user's pelvic floor muscles can be massaged and exercised. At the same time, the electric heater can be used to warm the pelvic floor muscles, speed up the blood circulation of the pelvic floor muscles, and further improve the effect of repairing exercises. The legs and waist are strengthened, which is convenient for the pelvic floor muscle repairing exercise.
Description
技术领域technical field
本实用新型涉及盆底肌修复技术领域,具体为一种盆底肌修复仪。The utility model relates to the technical field of pelvic floor muscle repair, in particular to a pelvic floor muscle repair instrument.
背景技术Background technique
盆底肌是指封闭骨盆底的肌肉群。这一肌肉群犹如一张“吊网”,尿道、膀胱、阴道、子宫、直肠等脏器被这张“网”紧紧吊住,从而维持正常位置以便行使其功能。一旦这张“网”弹性变差,“吊力”不足,便会导致“网”内的器官无法维持在正常位置,从而出现相应功能障碍,如大小便失禁、盆底脏器脱垂等,可是女性在妊娠、肥胖、咳嗽、便秘、泌尿生殖感染、分娩的过程中,不可避免地会破坏盆底肌,造成盆底肌功能障碍,影响到女性的正常生活。The pelvic floor muscles are the group of muscles that enclose the pelvic floor. This muscle group is like a "hanging net", and the urethra, bladder, vagina, uterus, rectum and other organs are tightly suspended by this "net", so as to maintain their normal positions in order to perform their functions. Once the elasticity of this "net" becomes poor and the "hanging force" is insufficient, the organs in the "net" will not be able to maintain their normal positions, resulting in corresponding dysfunction, such as incontinence, pelvic floor organ prolapse, etc. However, during pregnancy, obesity, cough, constipation, genitourinary infection, and childbirth, women will inevitably damage the pelvic floor muscles, causing pelvic floor muscle dysfunction and affecting women's normal life.
目前针对盆底肌功能障碍这一问题,有完整的盆底肌修复锻炼方法来进行盆底肌训练,具体是身体平躺在地面上,曲膝并以脚掌支撑地面,然后将臀部进行上抬和放下,不断循环,来拉动封闭骨盆底的肌肉群进行运动,从而起到盆底肌修复锻炼的效果,但这种方法需要不断通过腿部和腰部用力,将臀部连续抬起放下,在长时间的训练过程中,难免会出现腿部和腰部酸痛而难以进行训练的情况,从而影响到盆底肌修复锻炼工作。At present, for the problem of pelvic floor muscle dysfunction, there is a complete pelvic floor muscle repair exercise method for pelvic floor muscle training. Specifically, the body lies flat on the ground, the knees are bent and the soles of the feet are supported on the ground, and the buttocks are lifted up. And put down, continuous circulation, to pull the closed pelvic floor muscles to exercise, so as to achieve the effect of pelvic floor muscle repair exercise, but this method needs to continue to use force through the legs and waist to continuously lift and lower the hips, in the long run During the long-term training process, it is inevitable that the legs and waist will be sore and difficult to train, which will affect the pelvic floor muscle repair exercise.
所以我们提出了一种盆底肌修复仪,以便于解决上述中提出的问题。So we propose a pelvic floor muscle repair instrument to solve the problems mentioned above.
实用新型内容Utility model content
本实用新型的目的在于解决目前的盆底肌修复锻炼方法需要不断通过腿部和腰部用力,将臀部连续抬起放下,在长时间的训练过程中,难免会出现腿部和腰部酸痛而难以进行训练的情况,从而影响到盆底肌修复锻炼工作的问题。The purpose of this utility model is to solve the problem that the current pelvic floor muscle repairing exercise method requires continuous force through the legs and waist to continuously lift and lower the buttocks. During the long-term training process, it is difficult to avoid leg and waist pain The training situation, thus affecting the pelvic floor muscle repair and exercise work.
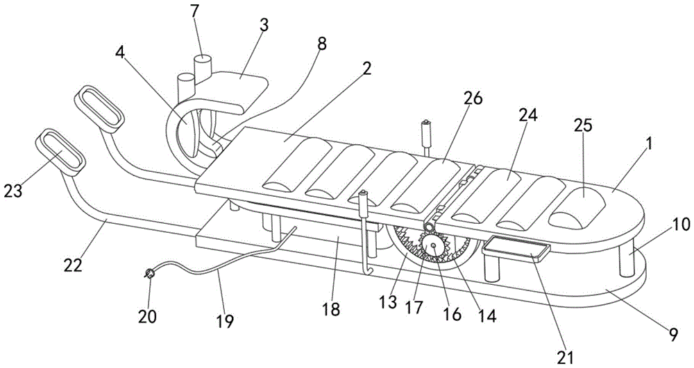
为实现上述目的,本实用新型采用如下技术方案:一种盆底肌修复仪,包括固定躺板,所述固定躺板尾端铰接有活动躺板,所述活动躺板尾端设置有盆底肌U形托板,所述盆底肌U形托板的内弧面上对称设置有两个硅胶罩,且所述盆底肌U形托板内弧面上对称开设有隐藏腔,所述隐藏腔内壁与硅胶罩内表面之间设置有按摩辊,所述按摩辊的顶端连接有第一驱动轴,所述盆底肌U形托板外表面上对称设置有两个第一电机箱,所述第一电机箱内固定有与第一驱动轴相连接的第一电机,所述盆底肌U形托板内弧面的中心位置设置有电暖灯;In order to achieve the above object, the utility model adopts the following technical scheme: a pelvic floor muscle restoration instrument, comprising a fixed couch, the tail end of the fixed couch is hinged with a movable couch, and the tail end of the movable couch is provided with a pelvic floor muscle U shaped supporting plate, two silica gel covers are symmetrically arranged on the inner arc surface of the U-shaped supporting plate of the pelvic floor muscle, and a hidden cavity is symmetrically opened on the inner arc surface of the U-shaped supporting plate of the pelvic floor muscle, and the hidden cavity A massage roller is arranged between the inner wall and the inner surface of the silica gel cover, the top of the massage roller is connected with a first drive shaft, and two first motor boxes are symmetrically arranged on the outer surface of the U-shaped supporting plate of the pelvic floor muscles. A first motor connected to the first drive shaft is fixed in the first motor box, and an electric heating lamp is arranged at the center of the inner arc surface of the U-shaped supporting plate of the pelvic floor muscle;
所述固定躺板和活动躺板的下方设置有下底板,且所述固定躺板与下底板之间连接有多个第一支撑柱,所述下底板上表面与活动躺板相对应的位置连接有多个第二支撑柱,多个所述第二支撑柱顶端连接有弧形支撑板,所述活动躺板下表面靠近固定躺板的位置对称连接有两个转动环,两个所述转动环的内弧面上均设置有卡齿,所述下底板上表面设置有两个第二电机箱,所述第二电机箱内固定有第二电机,且所述第二电机箱外侧设置有与第二电机相连接的第二驱动轴,所述第二驱动轴表面靠近一端的位置固定有与卡齿相啮合的齿轮。A lower base plate is provided below the fixed deck and the movable deck, and a plurality of first support columns are connected between the fixed deck and the lower base, and the upper surface of the lower base plate corresponds to the position of the movable deck A plurality of second support columns are connected, the tops of the plurality of second support columns are connected with arc-shaped support plates, and the lower surface of the movable couch is symmetrically connected with two rotating rings near the position of the fixed couch. The inner arc surface of the rotating ring is provided with locking teeth, and the upper surface of the lower bottom plate is provided with two second motor boxes, and the second motor box is fixed inside the second motor box, and the outside of the second motor box is provided with There is a second drive shaft connected with the second motor, and a gear meshed with the bayonet is fixed on the surface of the second drive shaft near one end.
进一步地,所述下底板上表面设置有设备箱,所述设备箱内设置有控制主机设备,且所述设备箱外侧设置有电连接线,所述电连接箱的一端连接有电插头,所述固定躺板侧面设置有控制面板,所述下底板靠近盆底肌U形托板的一端设置有两个L形支撑杆,所述L形支撑杆的顶端设置有脚踏板。Further, an equipment box is arranged on the upper surface of the lower base plate, and a control host device is arranged inside the equipment box, and an electric connection line is arranged on the outside of the equipment box, and an electric plug is connected to one end of the electric connection box, so that A control panel is provided on the side of the fixed reclining board, two L-shaped support rods are provided on one end of the lower base plate close to the U-shaped supporting plate of the pelvic floor muscle, and a foot pedal is provided on the top of the L-shaped support rod.
进一步地,所述固定躺板上表面设置有橡胶背垫和橡胶枕垫。Further, a rubber back pad and a rubber pillow are provided on the upper surface of the fixed deck.
进一步地,所述活动躺板上表面设置有多个均匀分布的橡胶腰垫。Further, a plurality of evenly distributed rubber waist pads are arranged on the upper surface of the movable deck.
进一步地,所述下底板两侧面对称连接有两个把手杆。Further, two handle bars are symmetrically connected to both sides of the lower bottom plate.
进一步地,两个所述把手杆表面靠近顶端的位置均设置有护手套。Further, protective gloves are provided at positions close to the top ends of the two handle rod surfaces.
进一步地,所述按摩辊包括辊体,所述辊体表面设置有多个均匀分布的按摩球,且所述辊体整体设置为椭圆结构。Further, the massage roller includes a roller body, the surface of the roller body is provided with a plurality of evenly distributed massage balls, and the entire roller body is arranged in an elliptical structure.
进一步地,所述弧形支撑板上表面设置有橡胶缓冲垫。Further, a rubber cushion is provided on the upper surface of the arc-shaped support plate.
本实用新型的有益效果:使用者可以平躺在固定躺板和活动躺板上,通过第二电机、第二驱动轴、齿轮、转动环和卡齿之间的配合,驱动活动躺板进行转动,从而配合盆底肌U形托板来将使用者臀部进行抬起放下,来拉动封闭骨盆底的肌肉群进行运动,且可以通过第一电机、第一驱动轴和按摩辊的配合,通过按摩辊来对使用者的盆底肌进行按摩锻炼,同时可以通过电暖灯来使盆底肌感到温暖,加快盆底肌部位的血液循环,进一步提高了修复锻炼效果,无需通过腿部和腰部用力,很好的避免了出现腿部和腰部酸痛而难以进行训练的情况,便于盆底肌修复锻炼工作的进行。The beneficial effects of the utility model: the user can lie flat on the fixed couch and the movable couch, and drive the movable couch to rotate through the cooperation between the second motor, the second drive shaft, the gear, the rotating ring and the locking teeth , so as to cooperate with the U-shaped support plate of the pelvic floor muscles to lift and lower the user's buttocks to pull the muscle groups that close the pelvic floor to exercise, and through the cooperation of the first motor, the first drive shaft and the massage roller, massage The roller is used to massage and exercise the user's pelvic floor muscles. At the same time, the electric heating lamp can be used to make the pelvic floor muscles feel warm, speed up the blood circulation of the pelvic floor muscles, and further improve the effect of repairing exercises without using force on the legs and waist. , It avoids the situation that the legs and waist are sore and difficult to train, and it is convenient for the pelvic floor muscle repair exercise.
附图说明Description of drawings
图1是本实用新型盆底肌修复仪的第一结构示意图;Fig. 1 is the first structural representation of the utility model pelvic floor muscle restoration instrument;
图2是本实用新型盆底肌修复仪的主视结构示意图;Fig. 2 is a schematic diagram of the main view structure of the utility model pelvic floor muscle repairing instrument;
图3是本实用新型盆底肌修复仪的侧视结构示意图;Fig. 3 is a side view structural schematic diagram of the utility model pelvic floor muscle repairing instrument;
图4是本实用新型盆底肌修复仪的第二结构示意图;Fig. 4 is the second structural schematic diagram of the pelvic floor muscle repair instrument of the present invention;
图5是本实用新型盆底肌修复仪的局部剖视结构示意图;Fig. 5 is a partial cross-sectional structural schematic diagram of the utility model pelvic floor muscle repairing instrument;
图6是本实用新型盆底肌修复仪的按摩辊结构示意图。Fig. 6 is a structural schematic diagram of the massage roller of the pelvic floor muscle repairing instrument of the present invention.
图中各标记对应的名称:The names corresponding to the marks in the figure:
1、固定躺板;2、活动躺板;3、盆底肌U形托板;301、隐藏腔;4、硅胶罩;5、按摩辊;501、辊体;502、按摩球;6、第一驱动轴;7、第一电机箱;8、电暖灯;9、下底板;10、第一支撑柱;11、第二支撑柱;12、弧形支撑板;13、转动环;14、卡齿;15、第二电机箱;16、第二驱动轴;17、齿轮;18、设备箱;19、电连接线;20、电插头;21、控制面板;22、L形支撑杆;23、脚踏板;24、橡胶背垫;25、橡胶枕垫;26、橡胶腰垫;27、把手杆;28、护手套;29、橡胶缓冲垫。1. Fixed deck; 2. Movable deck; 3. U-shaped supporting plate for pelvic floor muscles; 301. Hidden chamber; 4. Silicone cover; 5. Massage roller; 501. Roller body; 502. Massage ball; 6. 1. drive shaft; 7. first motor box; 8. electric heating lamp; 9. bottom plate; 10. first support column; 11. second support column; 12. arc support plate; 13. rotating ring; 14. 15, the second motor box; 16, the second drive shaft; 17, the gear; 18, the equipment box; 19, the electrical connection line; 20, the electric plug; 21, the control panel; 22, the L-shaped support rod; 23 , pedals; 24, rubber back pads; 25, rubber pillow pads; 26, rubber waist pads; 27, handle bars; 28, protective gloves; 29, rubber buffer pads.
具体实施方式Detailed ways
下面将结合本实用新型实施例中的附图,对本实用新型实施例中的技术方案进行清楚、完整地描述,显然,所描述的实施例仅仅是本实用新型一部分实施例,而不是全部的实施例。基于本实用新型中的实施例,本领域普通技术人员所获得的所有其他实施例,都属于本实用新型保护的范围。The technical solutions in the embodiments of the present invention will be clearly and completely described below in conjunction with the accompanying drawings in the embodiments of the present invention. Obviously, the described embodiments are only part of the embodiments of the present invention, not all of them. example. All other embodiments obtained by persons of ordinary skill in the art based on the embodiments of the present invention belong to the protection scope of the present invention.
本实用新型的实施例:Embodiment of the present utility model:
实施例一Embodiment one
如图1-图6所示,本实用新型提供一种盆底肌修复仪,包括固定躺板1,固定躺板1尾端铰接有活动躺板2,活动躺板2尾端设置有盆底肌U形托板3,盆底肌U形托板3的内弧面上对称设置有两个硅胶罩4,且盆底肌U形托板3内弧面上设置有硅胶罩4的位置开设有隐藏腔301,隐藏腔301内壁与硅胶罩4内表面之间设置有按摩辊5,按摩辊5的顶端连接有第一驱动轴6,盆底肌U形托板3外表面上对称设置有两个第一电机箱7,第一电机箱7内固定有与第一驱动轴6相连接的第一电机,盆底肌U形托板3内弧面的中心位置设置有电暖灯8,按摩辊5包括辊体501,辊体501表面设置有多个均匀分布的按摩球502,且辊体501整体设置为椭圆结构,在使用该盆底肌修复仪时,可以平躺在固定躺板1和活动躺板2上,将臀部贴合在盆底肌U形托板3上,使盆底肌与硅胶罩4相接触,然后启动第一电机,通过第一电机驱动第一驱动轴6,来使按摩辊5进行转动,然后按摩辊5的按摩球502便会不断对硅胶罩4进行挤压,并将挤压传递给盆底肌,从而对肌肉群进行按摩,可以启动电暖灯8对盆底肌进行加热,来提高盆底肌部位的血液循环,固定躺板1和活动躺板2的下方设置有下底板9,且固定躺板1与下底板9之间连接有多个第一支撑柱10,下底板9上表面与活动躺板2相对应的位置连接有多个第二支撑柱11,多个第二支撑柱11顶端连接有弧形支撑板12,活动躺板2下表面靠近固定躺板1的位置对称连接有两个转动环13,两个转动环13的内弧面上均设置有多个均匀分布的卡齿14,下底板9上表面设置有两个第二电机箱15,第二电机箱15内固定有第二电机,且第二电机箱15外侧设置有与第二电机相连接的第二驱动轴16,第二驱动轴16表面靠近一端的位置固定有与卡齿14相啮合的齿轮17,下底板9上表面设置有设备箱18,设备箱18内设置有控制主机设备,且设备箱18外侧设置有电连接线19,电连接箱19的一端连接有电插头20,固定躺板1侧面设置有控制面板21,下底板9靠近盆底肌U形托板3的一端设置有两个L形支撑杆22,L形支撑杆22的顶端设置有脚踏板23,可以将脚掌踩在脚踏板23上,然后启动第二电机,通过第二电机驱动第二驱动轴16进行转动,带动齿轮17进行转动,通过齿轮17与卡齿14的啮合带动转动环13进行转动,来使活动躺板2进行转动,从而将使用者臀部进行抬起放下,来拉动肌肉群进行运动,起到盆底肌修复锻炼的效果。As shown in Figures 1 to 6, the utility model provides a pelvic floor muscle repair instrument, which includes a
实施例二Embodiment two
如图1-图4所示,在本实用新型实施例一的基础上:固定躺板1上表面设置有橡胶背垫24和橡胶枕垫25,活动躺板2上表面设置有多个均匀分布的橡胶腰垫26,提高了使用者的舒适度,下底板9两侧面对称连接有两个把手杆27,两个把手杆27表面靠近顶端的位置均设置有护手套28,在使用该盆底肌修复仪的时候,可以握住把手杆27防止身体发生滑动,弧形支撑板12上表面设置有橡胶缓冲垫29,能够防止活动躺板2发生损坏。As shown in Figures 1-4, on the basis of
Claims (8)
Priority Applications (1)
| Application Number | Priority Date | Filing Date | Title |
|---|---|---|---|
| CN202223522380.4U CN219230578U (en) | 2022-12-27 | 2022-12-27 | A kind of pelvic floor muscle repair instrument |
Applications Claiming Priority (1)
| Application Number | Priority Date | Filing Date | Title |
|---|---|---|---|
| CN202223522380.4U CN219230578U (en) | 2022-12-27 | 2022-12-27 | A kind of pelvic floor muscle repair instrument |
Publications (1)
| Publication Number | Publication Date |
|---|---|
| CN219230578U true CN219230578U (en) | 2023-06-23 |
Family
ID=86806642
Family Applications (1)
| Application Number | Title | Priority Date | Filing Date |
|---|---|---|---|
| CN202223522380.4U Expired - Fee Related CN219230578U (en) | 2022-12-27 | 2022-12-27 | A kind of pelvic floor muscle repair instrument |
Country Status (1)
| Country | Link |
|---|---|
| CN (1) | CN219230578U (en) |
Cited By (1)
| Publication number | Priority date | Publication date | Assignee | Title |
|---|---|---|---|---|
| CN116549863A (en) * | 2023-06-25 | 2023-08-08 | 泰安市康宇医疗器械有限公司 | Composite superimposed high-efficiency vibration magnetic technology |
-
2022
- 2022-12-27 CN CN202223522380.4U patent/CN219230578U/en not_active Expired - Fee Related
Cited By (1)
| Publication number | Priority date | Publication date | Assignee | Title |
|---|---|---|---|---|
| CN116549863A (en) * | 2023-06-25 | 2023-08-08 | 泰安市康宇医疗器械有限公司 | Composite superimposed high-efficiency vibration magnetic technology |
Similar Documents
| Publication | Publication Date | Title |
|---|---|---|
| CN108703860B (en) | Postpartum pelvic floor muscle rehabilitation equipment | |
| CN219230578U (en) | A kind of pelvic floor muscle repair instrument | |
| CN108938326B (en) | Rehabilitation equipment is tempered to postpartum pelvic floor muscle | |
| CN209075955U (en) | A kind of multifunction nursing convalescence device | |
| CN103170101B (en) | Assistant exercise device for waist and abdomen muscles | |
| CN112870655A (en) | Structure and pelvic floor functional disorder trainer are tempered in posture bowing | |
| CN110876846A (en) | A kind of burn Kola strength exercise rehabilitation device | |
| CN216136299U (en) | Be used for obstetrical department's back pelvic floor rehabilitation and nursing device | |
| CN112932921B (en) | A rehabilitation training device for gynaecology and obstetrics's nursing | |
| CN211962500U (en) | A limb rehabilitation exercise bed for stroke patients | |
| CN219023169U (en) | A kind of pelvic floor muscle recovery training device | |
| CN218979615U (en) | Leg lifting stretching stool for lower limbs | |
| CN215504172U (en) | Neurosurgery is with limbs motion nursing device | |
| CN207640585U (en) | A kind of adjustable backrest multifunctional wheelchair | |
| CN210019574U (en) | Shank and ankle rehabilitation training device | |
| CN221673366U (en) | Postpartum rehabilitation exercise equipment | |
| CN220632519U (en) | A height-adjustable pelvic floor rehabilitation training frame | |
| CN221788056U (en) | Limb rehabilitation training device after cerebral apoplexy | |
| CN204582429U (en) | device for promoting health | |
| CN222075819U (en) | Limb exercise device for diabetics | |
| CN221673351U (en) | Stretching auxiliary device | |
| CN221866548U (en) | Backbone nursing rehabilitation exercise ware | |
| CN219307853U (en) | Rehabilitation apparatus for limb postoperative exercise | |
| CN219879052U (en) | Pelvic floor muscle rehabilitation training device | |
| CN217745596U (en) | A kind of limbs muscle strength exercise stretching device |
Legal Events
| Date | Code | Title | Description |
|---|---|---|---|
| GR01 | Patent grant | ||
| GR01 | Patent grant | ||
| CF01 | Termination of patent right due to non-payment of annual fee | ||
| CF01 | Termination of patent right due to non-payment of annual fee |
Granted publication date: 20230623 |
