CN218579851U - Fertile device of preparing of carbon of organic waste - Google Patents
Fertile device of preparing of carbon of organic waste Download PDFInfo
- Publication number
- CN218579851U CN218579851U CN202222904590.3U CN202222904590U CN218579851U CN 218579851 U CN218579851 U CN 218579851U CN 202222904590 U CN202222904590 U CN 202222904590U CN 218579851 U CN218579851 U CN 218579851U
- Authority
- CN
- China
- Prior art keywords
- fermentation chamber
- organic waste
- fermentation
- plate
- carbon fertilizer
- Prior art date
- Legal status (The legal status is an assumption and is not a legal conclusion. Google has not performed a legal analysis and makes no representation as to the accuracy of the status listed.)
- Expired - Fee Related
Links
Images
Classifications
-
- Y—GENERAL TAGGING OF NEW TECHNOLOGICAL DEVELOPMENTS; GENERAL TAGGING OF CROSS-SECTIONAL TECHNOLOGIES SPANNING OVER SEVERAL SECTIONS OF THE IPC; TECHNICAL SUBJECTS COVERED BY FORMER USPC CROSS-REFERENCE ART COLLECTIONS [XRACs] AND DIGESTS
- Y02—TECHNOLOGIES OR APPLICATIONS FOR MITIGATION OR ADAPTATION AGAINST CLIMATE CHANGE
- Y02W—CLIMATE CHANGE MITIGATION TECHNOLOGIES RELATED TO WASTEWATER TREATMENT OR WASTE MANAGEMENT
- Y02W30/00—Technologies for solid waste management
- Y02W30/40—Bio-organic fraction processing; Production of fertilisers from the organic fraction of waste or refuse
Landscapes
- Processing Of Solid Wastes (AREA)
- Fertilizers (AREA)
Abstract
本实用新型公开了一种有机废物的碳肥制取装置,包括底座,底座的表面左、右对称固定装配有支撑板,两个支撑板之间转动连接有发酵仓,右侧支撑板的侧壁固定安装有电机,电机的输出端与发酵仓的侧端固定连接。在使用的过程中首先通过发酵仓内所装配的固液分离组件对进入到发酵腔内的有机废物进行固液分离处理,减少有机废物内的水分,提高后续生成碳肥的质量,在有机废物填充完成后,通过电机带动发酵仓的转动,通过搅拌机构对发酵腔内的有机废物进行充分混合,从而提高有机废物后续发酵生产碳肥的发酵速率。
The utility model discloses a carbon fertilizer production device for organic waste, which comprises a base, the surface of the base is symmetrically fixed on the left and right with a support plate, a fermentation chamber is rotatably connected between the two support plates, and the side of the right support plate A motor is fixedly installed on the wall, and the output end of the motor is fixedly connected with the side end of the fermentation bin. In the process of use, the organic waste entering the fermentation chamber is firstly separated from the solid and liquid through the solid-liquid separation component assembled in the fermentation chamber, reducing the moisture in the organic waste and improving the quality of the subsequent carbon fertilizer. After the filling is completed, the motor drives the rotation of the fermentation chamber, and the stirring mechanism fully mixes the organic waste in the fermentation chamber, thereby increasing the fermentation rate of the subsequent fermentation of organic waste to produce carbon fertilizer.
Description
技术领域technical field
本实用新型涉及碳肥制取技术领域,具体涉及一种有机废物的碳肥制取装置。The utility model relates to the technical field of carbon fertilizer production, in particular to a carbon fertilizer production device for organic waste.
背景技术Background technique
有机废物是制作碳肥的主要原材料,有机废物是指含植物纤维素的粪便、废弃物、垃圾、秸秆等。通过对有机废物进行发酵处理,将有机废物制备为碳肥。现有的碳肥制取装置在使用的过程中多是将原料直接加入至发酵罐内,后续通过发酵使有机废物形成碳肥,通过此种方式制作碳肥会存在以下缺点:直接对有机废物进行发酵,不对有机废物进行预处理,会导致有机废物在发酵前的混合不充分,从而影响后续的碳肥制备的效率与质量。为此,我们提出一种有机废物的碳肥制取装置。Organic waste is the main raw material for making carbon fertilizer. Organic waste refers to manure, waste, garbage, straw, etc. containing plant cellulose. The organic waste is prepared as carbon fertilizer by fermenting the organic waste. In the process of using the existing carbon fertilizer production equipment, the raw materials are mostly directly added to the fermenter, and the organic waste is subsequently fermented to form carbon fertilizer. The production of carbon fertilizer in this way will have the following disadvantages: directly to the organic waste Fermentation without pretreatment of organic waste will lead to insufficient mixing of organic waste before fermentation, thus affecting the efficiency and quality of subsequent carbon fertilizer preparation. For this reason, we propose a kind of carbon fertilizer preparation device of organic waste.
实用新型内容Utility model content
本实用新型的目的在于提供一种有机废物的碳肥制取装置,以解决上述背景技术中提出的问题。The purpose of this utility model is to provide a kind of organic waste carbon fertilizer preparation device, to solve the problems raised in the above-mentioned background technology.
为实现上述目的,本实用新型提供如下技术方案:一种有机废物的碳肥制取装置,包括底座,所述底座的表面左、右对称固定装配有支撑板,两个所述支撑板之间转动连接有发酵仓,右侧所述支撑板的侧壁固定安装有电机,所述电机的输出端与发酵仓的侧端固定连接;In order to achieve the above object, the utility model provides the following technical solutions: a carbon fertilizer production device for organic waste, including a base, the surface of the base is symmetrically fixed on the left and right with a support plate, between the two support plates A fermentation bin is connected in rotation, and a motor is fixedly installed on the side wall of the support plate on the right side, and the output end of the motor is fixedly connected with the side end of the fermentation bin;
所述发酵仓内开设有发酵腔,所述发酵仓的底部固定连接有与发酵腔相连通的出液管,所述出液管的底部螺接有封盖,所述发酵腔内固定装配有固液分离组件,所述发酵仓的顶部通过固定螺栓固定装配有盖板,所述盖板的下表面装配有搅拌机构。A fermentation chamber is provided in the fermentation chamber, the bottom of the fermentation chamber is fixedly connected with a liquid outlet pipe communicating with the fermentation chamber, the bottom of the liquid outlet pipe is screwed with a cover, and the fermentation chamber is fixedly equipped with a A solid-liquid separation assembly, the top of the fermentation bin is fixed with a cover plate by fixing bolts, and the lower surface of the cover plate is equipped with a stirring mechanism.
优选的,所述固液分离组件包括过滤板,所述过滤板固定安装在发酵腔内,所述过滤板的表面均匀开设有过滤孔,所述发酵腔的底部开设有与出液管相连通的排液槽,所述排液槽呈相出液管方向倾斜。Preferably, the solid-liquid separation assembly includes a filter plate, the filter plate is fixedly installed in the fermentation chamber, the surface of the filter plate is uniformly provided with filter holes, and the bottom of the fermentation chamber is provided with a liquid outlet pipe. The liquid drainage groove is inclined in the direction of the liquid outlet pipe.
优选的,所述过滤板与发酵腔底部之间的距离为10cm。Preferably, the distance between the filter plate and the bottom of the fermentation chamber is 10 cm.
优选的,所述搅拌机构包括限位轴,所述限位轴固定安装在盖板的下表面,所述限位轴的外侧壁套接有安装板,所述安装板的下表面均匀固定安装有安装轴,所述安装轴的外侧壁均匀固定有搅拌轴,所述安装板的表面固定安装有贯穿盖板的受力块,所述底座的表面固定安装有触发块。Preferably, the stirring mechanism includes a limit shaft, the limit shaft is fixedly installed on the lower surface of the cover plate, the outer wall of the limit shaft is sleeved with a mounting plate, and the lower surface of the mounting plate is evenly and fixedly installed There is an installation shaft, the outer wall of the installation shaft is evenly fixed with a stirring shaft, the surface of the installation plate is fixedly installed with a force block passing through the cover plate, and the surface of the base is fixedly installed with a trigger block.
优选的,所述限位轴的数量至少为四个,四个所述限位轴分别位于盖板的底部四角处。Preferably, the number of the limiting shafts is at least four, and the four limiting shafts are respectively located at four corners of the bottom of the cover plate.
与现有技术相比,本实用新型的有益效果是:一种有机废物的碳肥制取装置,结构简单,操作容易,在使用的过程中首先通过发酵仓内所装配的固液分离组件对进入到发酵腔内的有机废物进行固液分离处理,减少有机废物内的水分,提高后续生成碳肥的质量,在有机废物填充完成后,通过电机带动发酵仓的转动,通过搅拌机构对发酵腔内的有机废物进行充分混合,从而提高有机废物后续发酵生产碳肥的发酵速率。Compared with the prior art, the beneficial effect of the utility model is: a device for producing carbon fertilizer from organic waste, which is simple in structure and easy to operate. The organic waste entering the fermentation chamber is subjected to solid-liquid separation treatment to reduce the moisture in the organic waste and improve the quality of the subsequent carbon fertilizer. After the organic waste is filled, the motor drives the rotation of the fermentation chamber, and the fermentation chamber is stirred by the stirring mechanism. The organic waste in the tank is fully mixed, thereby increasing the fermentation rate of the subsequent fermentation of organic waste to produce carbon fertilizer.
附图说明Description of drawings
图1为本实用新型的结构示意图。Fig. 1 is the structural representation of the utility model.
图2为本实用新型的主视剖面图。Fig. 2 is a front sectional view of the utility model.
图3为本实用新型搅拌机构的结构示意图。Fig. 3 is a structural schematic diagram of the stirring mechanism of the present invention.
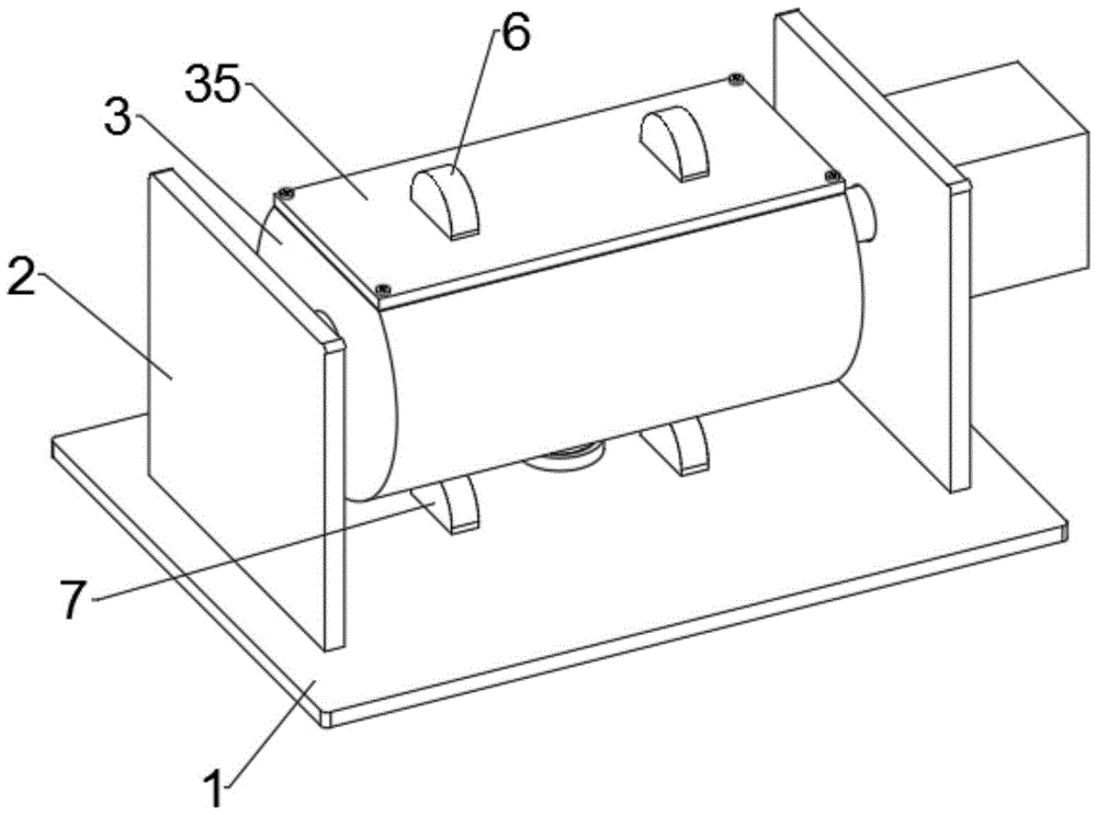
图中:1、底座,2、支撑板,3、发酵仓,31、发酵腔,32、出液管,33、封盖,34、固定螺栓,35、盖板,4、电机,5、固液分离组件,51、过滤板, 52、过滤孔,53、出液槽,6、搅拌机构,61、限位轴,62、安装板,63、安装轴,64、搅拌轴,65、受力块,7、触发块。In the figure: 1. Base, 2. Support plate, 3. Fermentation bin, 31. Fermentation chamber, 32. Outlet pipe, 33. Cover, 34. Fixing bolt, 35. Cover plate, 4. Motor, 5. Solid Liquid separation assembly, 51, filter plate, 52, filter hole, 53, liquid outlet tank, 6, stirring mechanism, 61, limit shaft, 62, mounting plate, 63, mounting shaft, 64, stirring shaft, 65, force block, 7, trigger block.
具体实施方式Detailed ways
下面将结合本实用新型实施例中的附图,对本实用新型实施例中的技术方案进行清楚、完整地描述。The following will clearly and completely describe the technical solutions in the embodiments of the present invention with reference to the drawings in the embodiments of the present invention.
请参阅图1、图2和图3,本实用新型提供一种技术方案:一种有机废物的碳肥制取装置,包括底座1,底座1的表面左、右对称焊接固定有支撑板2,在两个支撑板2之间转动连接有发酵仓3,右侧支撑板2的侧壁固定连接有电机4,电机4电连接外部电源,电机4的输出端通过联轴器与发酵仓3的侧端固定连接,通过电机4可以带动发酵仓3进行转动。Please refer to Fig. 1, Fig. 2 and Fig. 3, the utility model provides a kind of technical scheme: a kind of carbon fertilizer production device of organic waste, comprises
在发酵仓3的内腔开设有用于对有机废物进行堆料的发酵腔31,发酵腔 31内装配有对有机废物固液分离的固液分离组件5,发酵仓31的底部一体成型有与发酵腔31联通的出液管32,出液管32的底部螺接有封盖33,封盖33 用于对发酵腔31进行密封,发酵仓3的顶部通过固定螺栓34可拆卸装配有盖板35,盖板35的底部固定装配有搅拌机构6,在电机4带动发酵仓31进行转动的同时,可以通过位于底座1表面的触发块7触发搅拌机构6,使搅拌机构6对发酵仓31内的有机废物进行搅拌混合,便于后续有机废物制成碳肥的发酵。In the inner cavity of the
固液分离组件5用于对进入到发酵仓3内的有机废物进行固液分离,固液分离组件5包括固定安装在发酵腔31内的过滤板51,过滤板51的表面均匀开设有过滤孔52,过滤板51与发酵腔31底部之间的距离为10cm,通过设置一定的间距,方便对废液的过滤排放,进入到发酵腔31内的有机废物通过过滤51进行固液分离,发酵腔31的底部开设有用于废液排出的出液槽53,出液槽53呈向出液管32的倾斜状,废液通过出液槽53收集进入到出液管32 内后集中排放。The solid-
如图3中所示,搅拌机构6包括限位轴61,限位轴61固定安装在盖板 35的底部四角处,四个限位轴61的外侧壁套接有与其滑动连接的安装板62,安装板62的底部焊接固定有安装轴63,安装轴63的数量至少为6个,均匀分布在安装板62的底部,安装板63的侧壁不均匀焊接固定有搅拌轴64,安装板62的表面焊接固定有贯穿盖板35的受力块65,受力块65和触发块7的顶部均呈弧形,且受力块65与触发块7的位置相对应,受力块65与盖板35 的连接处设置有起到密封效果的密封垫,在安装板62沿着限位轴61进行移动的过程中,密封垫对受力块65与盖板33之间进行密封。当盖板33封闭后,发酵仓3转动的过程中,使受力块65底座1表面的触发块7相接触,受力块 65受力后带动安装板62沿着限位轴61移动,通过搅拌轴64对发酵腔31内的有机废物进行搅拌混合,加快后续发酵腔31内有机废物的发酵速度。As shown in FIG. 3 , the
工作原理:在使用的过程中,首先将发酵仓3调节成盖板35向上,出液管32向下的状态,取下盖板35后,将需要制成碳肥的有机废物加入到发酵腔31内,进入到发酵腔31内的有机废物通过发酵腔31内的固液分离组件5 进行固液分离,将废物中的废液从出液管32后排出,完成有机废物的装填以及不再排出废液后,对封盖33进行封闭,然后再将盖板35装配固定,开启电机4,通过电机4带动发酵仓3进行转动,在发酵仓3转动的过程中可以使触发块7对受力块65施加压力,使安装板62沿着限位轴61进行移动,通过搅拌轴64对发酵腔31内的有机废物进行搅拌混合,使后续有机废物制成碳肥的过程中发酵更加充分。Working principle: In the process of use, first adjust the
Claims (5)
Priority Applications (1)
| Application Number | Priority Date | Filing Date | Title |
|---|---|---|---|
| CN202222904590.3U CN218579851U (en) | 2022-11-02 | 2022-11-02 | Fertile device of preparing of carbon of organic waste |
Applications Claiming Priority (1)
| Application Number | Priority Date | Filing Date | Title |
|---|---|---|---|
| CN202222904590.3U CN218579851U (en) | 2022-11-02 | 2022-11-02 | Fertile device of preparing of carbon of organic waste |
Publications (1)
| Publication Number | Publication Date |
|---|---|
| CN218579851U true CN218579851U (en) | 2023-03-07 |
Family
ID=85377481
Family Applications (1)
| Application Number | Title | Priority Date | Filing Date |
|---|---|---|---|
| CN202222904590.3U Expired - Fee Related CN218579851U (en) | 2022-11-02 | 2022-11-02 | Fertile device of preparing of carbon of organic waste |
Country Status (1)
| Country | Link |
|---|---|
| CN (1) | CN218579851U (en) |
-
2022
- 2022-11-02 CN CN202222904590.3U patent/CN218579851U/en not_active Expired - Fee Related
Similar Documents
| Publication | Publication Date | Title |
|---|---|---|
| CN103667015B (en) | A kind of fermentor tank | |
| CN103131631B (en) | Dry fermentation device and dry fermentation method to prepare biogas through high-concentration solid raw materials | |
| CN205361172U (en) | Vertical solid state fermentation jar in two spiral shell areas | |
| CN218579851U (en) | Fertile device of preparing of carbon of organic waste | |
| CN221777869U (en) | A microbial deodorant fermentation and cultivation device | |
| CN220335181U (en) | Fermenting installation of fodder | |
| CN218539556U (en) | Fermentation device of biological liquid organic fertilizer | |
| CN213680700U (en) | Device for enhancing straw and livestock excrement synergistic anaerobic digestion performance | |
| CN211035740U (en) | Decomposing inoculant fermenting installation | |
| CN221965083U (en) | Stirring device for production of composite carbon source | |
| CN211462786U (en) | Quick humidification mixing arrangement of biological bacterial manure | |
| CN216808533U (en) | Intermittent feeding tank type aerobic fermentation machine | |
| CN221854477U (en) | Fermenting installation for organic fertilizer | |
| CN221440745U (en) | Fermentation mixing tank for biogas recycling | |
| CN222665737U (en) | Fermenting installation is used in bio-organic fertilizer production | |
| CN214553175U (en) | A kind of nutrient soil stirring and mixing device | |
| CN117720367B (en) | Anti-pollution excrement fermentation compost pool for poultry raising | |
| CN219709464U (en) | Microorganism anaerobic fermentation methane tank | |
| CN221894897U (en) | A kind of organic fertilizer production device capable of efficient fermentation | |
| CN220878562U (en) | Fertilizer raw materials mixing arrangement | |
| CN219482537U (en) | A raw material mixing device for discharging and preventing clogging | |
| CN220413345U (en) | Equipment for producing biological bacteria | |
| CN217297700U (en) | Fermentation equipment of microbial fertilizer | |
| CN220812247U (en) | Fermentation tank for organic fertilizer | |
| CN220846083U (en) | Microbial fertilizer fermentation tank |
Legal Events
| Date | Code | Title | Description |
|---|---|---|---|
| GR01 | Patent grant | ||
| GR01 | Patent grant | ||
| CF01 | Termination of patent right due to non-payment of annual fee | ||
| CF01 | Termination of patent right due to non-payment of annual fee |
Granted publication date: 20230307 |
