CN216348499U - 一种基于轴承生产用游隙检测装置 - Google Patents
一种基于轴承生产用游隙检测装置 Download PDFInfo
- Publication number
- CN216348499U CN216348499U CN202123079032.XU CN202123079032U CN216348499U CN 216348499 U CN216348499 U CN 216348499U CN 202123079032 U CN202123079032 U CN 202123079032U CN 216348499 U CN216348499 U CN 216348499U
- Authority
- CN
- China
- Prior art keywords
- fixedly connected
- bearing
- base
- detection device
- sliding
- Prior art date
- Legal status (The legal status is an assumption and is not a legal conclusion. Google has not performed a legal analysis and makes no representation as to the accuracy of the status listed.)
- Expired - Fee Related
Links
- 238000001514 detection method Methods 0.000 title claims abstract description 30
- 238000004519 manufacturing process Methods 0.000 title claims abstract description 17
- 230000005540 biological transmission Effects 0.000 claims description 11
- 238000000034 method Methods 0.000 abstract description 6
- 238000012360 testing method Methods 0.000 abstract description 6
- 244000309464 bull Species 0.000 abstract description 4
- 230000000694 effects Effects 0.000 description 5
- 230000033001 locomotion Effects 0.000 description 3
- 238000005096 rolling process Methods 0.000 description 2
- 230000001360 synchronised effect Effects 0.000 description 2
- 230000009286 beneficial effect Effects 0.000 description 1
- 230000007547 defect Effects 0.000 description 1
- 239000011435 rock Substances 0.000 description 1
- 230000000087 stabilizing effect Effects 0.000 description 1
Images
Landscapes
- Toys (AREA)
Abstract
本实用新型公开了一种基于轴承生产用游隙检测装置,属于轴承检测技术领域,其包括底座,所述底座的上表面固定连接有平台板,所述平台板的上表面固定连接有支撑板,所述支撑板的下表面固定连接有电动推杆,所述电动推杆的底端固定连接有检测器。该基于轴承生产用游隙检测装置,通过设置驱动电机、转杆、载板、齿板、连接短块、连接长块、弧形夹板和驱动齿轮,这些结构的设置,使本装置能够通过驱动电机的驱动,通过四个弧形夹板对待检测轴承进行有效固定限位和辅助定位,从而避免轴承在检测过程中出现晃动的情况,从而避免对检测结果造成影响,保障检测数据的准确性,从而便于后续判断轴承是否合格,提升检测效率。
Description
技术领域
本实用新型属于轴承检测技术领域,具体为一种基于轴承生产用游隙检测装置。
背景技术
轴承游隙是轴承滚动体与轴承内外圈壳体之间的间隙。所谓轴承游隙,即指轴承在未安装于轴或轴承箱时,将其内圈或外圈的一方固定,然后使轴承游隙未被固定的一方做径向或轴向移动时的移动量。根据移动方向,可分为径向游隙和轴向游隙。运转时的游隙的大小对轴承的滚动疲劳寿命、温升、噪声、振动等性能有影响。传统的轴承游隙检测装置在进行使用时,不能够有效的对轴承进行夹持限位,导致轴承在检测过程中容易出现晃动的情况,从而导致检测数据存在较大误差,不利于后续判断轴承是否合格,从而极大的降低了检测效率。
实用新型内容
(一)解决的技术问题
为了克服现有技术的上述缺陷,本实用新型提供了一种基于轴承生产用游隙检测装置,解决了传统的轴承游隙检测装置在进行使用时,不能够有效的对轴承进行夹持限位,导致轴承在检测过程中容易出现晃动的情况,从而导致检测数据存在较大误差,不利于后续判断轴承是否合格,从而极大的降低了检测效率的问题。
(二)技术方案
为实现上述目的,本实用新型提供如下技术方案:一种基于轴承生产用游隙检测装置,包括底座,所述底座的上表面固定连接有平台板,所述平台板的上表面固定连接有支撑板,所述支撑板的下表面固定连接有电动推杆,所述电动推杆的底端固定连接有检测器,所述底座内开设有传动槽,所述传动槽内通过轴承铰接有驱动齿轮,所述底座内固定连接有驱动电机,所述驱动电机的输出轴固定连接有转杆,所述转杆的顶端与驱动齿轮的下表面固定连接,所述底座内开设有四个第一滑槽,所述第一滑槽内滑动连接有载板,所述第一滑槽内壁的下表面开设有第二滑槽,所述第二滑槽内滑动连接有齿板。
所述传动槽内壁的四周均开设有延伸槽,所述齿板远离对应载板的一端滑动连接在对应延伸槽内,位于上方的两个齿板的上表面均固定连接有连接短块,位于下方的两个齿板的上表面均固定连接有连接长块,所述连接短块与连接长块的上表面分别与对应载板的下表面固定连接,所述齿板的光滑面通过若干个凹槽铰接有若干个滚珠,所述滚珠的外表面与对应第二滑槽内壁的一侧搭接,所述载板的上表面固定连接有滑块,所述滑块的上表面固定连接有弧形夹板,所述平台板的上表面开设有四个通孔,所述滑块滑动连接在对应通孔内。
作为本实用新型的进一步方案:所述底座的下表面设置有防滑橡胶垫,四个弧形夹板相互靠近的一面均固定连接有第一护垫,四个弧形夹板相互远离的一面均固定连接有第二护垫。
作为本实用新型的进一步方案:所述平台板上表面的后方固定连接有显示器,所述底座的正面固定连接有控制器。
作为本实用新型的进一步方案:所述底座的正面通过螺钉固定连接有挡板,所述挡板的正面设置有百叶窗。
作为本实用新型的进一步方案:所述支撑板设置为L形,所述平台板的边缘处均设置为圆弧状。
作为本实用新型的进一步方案:所述驱动电机设置为伺服电机,所述第一护垫和第二护垫均设置为橡胶护垫。
(三)有益效果
与现有技术相比,本实用新型的有益效果在于:
1、该基于轴承生产用游隙检测装置,通过设置驱动电机、转杆、载板、齿板、连接短块、连接长块、弧形夹板和驱动齿轮,弧形夹板的设置,当需要对轴承进行检测时,能够通过四个弧形夹板的同步靠近或远离对轴承进行有效限位夹持,不仅能够对轴承进行有效限位固定,同时能够对轴承起到定位效果,使轴承中心位置能够自动调整至四个弧形夹板的中心位置,而驱动电机和驱动齿轮的设置,驱动电机工作后即可通过转杆带动驱动齿轮转动,驱动齿轮转动后即可同时带动四个齿板进行移动,此时四个载板在对应连接短杆和连接长杆的带动下相互靠近,从而通过对应滑块带动四个弧形夹板同步移动并相互靠近,从而达到稳定夹持的效果,这些结构的设置,使本装置能够通过驱动电机的驱动,通过四个弧形夹板对待检测轴承进行有效固定限位和辅助定位,从而避免轴承在检测过程中出现晃动的情况,从而避免对检测结果造成影响,保障检测数据的准确性,从而便于后续判断轴承是否合格,提升检测效率。
2、该基于轴承生产用游隙检测装置,通过设置弧形夹板、第一护垫和第二护垫,弧形夹板和第一护垫的设置,使本装置在通过轴承外圈对轴承进行夹持时,弧形夹板能够通过第一护垫与轴承进行接触,不仅能够增强弧形夹板的夹持稳定性,同时能够避免弧形夹板对轴承造成损伤,而第二护垫的设置,使弧形夹板能够配合第二护垫通过轴承内圈由内之外对轴承进行限位夹持,使本装置不仅具备单一的夹持方式,从而提升本装置适用范围,提升本装置实用性。
3、该基于轴承生产用游隙检测装置,通过设置滚珠、延伸槽和第二滑槽,第二滑槽和延伸槽的设置,能够对齿板进行有效限位导向,避免齿板在移动过程中出现偏移,同时滚珠的设置,使齿板的光滑面能够通过滚珠与第二滑槽和延伸槽内壁进行紧密接触,进一步保障齿板的稳定性,从而保障齿板传动效果。
附图说明
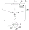
图1为本实用新型正视的结构示意图;
图2为本实用新型俯视的剖面结构示意图;
图3为本实用新型驱动齿轮俯视的剖面结构示意图;
图4为本实用新型驱动电机立体的结构示意图;
图中:1底座、2平台板、3支撑板、4电动推杆、5检测器、6传动槽、7驱动齿轮、8驱动电机、9转杆、10第一滑槽、11载板、12第二滑槽、13齿板、14延伸槽、15连接短块、16连接长块、17滚珠、18滑块、19弧形夹板、20通孔、21第一护垫、22第二护垫、23显示器、24控制器、25挡板。
具体实施方式
下面结合具体实施方式对本专利的技术方案作进一步详细地说明。
如图1-4所示,本实用新型提供一种技术方案:一种基于轴承生产用游隙检测装置,包括底座1,底座1的上表面固定连接有平台板2,平台板2的上表面固定连接有支撑板3,支撑板3的下表面固定连接有电动推杆4,电动推杆4的底端固定连接有检测器5,底座1内开设有传动槽6,传动槽6内通过轴承铰接有驱动齿轮7,驱动电机8和驱动齿轮7的设置,驱动电机8工作后即可通过转杆9带动驱动齿轮7转动,驱动齿轮7转动后即可同时带动四个齿板13进行移动,此时四个载板11在对应连接短杆和连接长杆的带动下相互靠近,从而通过对应滑块18带动四个弧形夹板19同步移动并相互靠近,从而达到稳定夹持的效果,底座1内固定连接有驱动电机8,驱动电机8的输出轴固定连接有转杆9,转杆9的顶端与驱动齿轮7的下表面固定连接,底座1内开设有四个第一滑槽10,第一滑槽10内滑动连接有载板11,第一滑槽10内壁的下表面开设有第二滑槽12,第二滑槽12内滑动连接有齿板13。
传动槽6内壁的四周均开设有延伸槽14,第二滑槽12和延伸槽14的设置,能够对齿板13进行有效限位导向,避免齿板13在移动过程中出现偏移,齿板13远离对应载板11的一端滑动连接在对应延伸槽14内,位于上方的两个齿板13的上表面均固定连接有连接短块15,位于下方的两个齿板13的上表面均固定连接有连接长块16,连接短块15与连接长块16的上表面分别与对应载板11的下表面固定连接,齿板13的光滑面通过若干个凹槽铰接有若干个滚珠17,滚珠17的外表面与对应第二滑槽12内壁的一侧搭接,载板11的上表面固定连接有滑块18,滑块18的上表面固定连接有弧形夹板19,弧形夹板19的设置,当需要对轴承进行检测时,能够通过四个弧形夹板19的同步靠近或远离对轴承进行有效限位夹持,不仅能够对轴承进行有效限位固定,同时能够对轴承起到定位效果,使轴承中心位置能够自动调整至四个弧形夹板19的中心位置,平台板2的上表面开设有四个通孔20,滑块18滑动连接在对应通孔20内。
具体的,如图1所示,底座1的下表面设置有防滑橡胶垫,四个弧形夹板19相互靠近的一面均固定连接有第一护垫21,第一护垫21的设置,使本装置在通过轴承外圈对轴承进行夹持时,弧形夹板19能够通过第一护垫21与轴承进行接触,不仅能够增强弧形夹板19的夹持稳定性,同时能够避免弧形夹板19对轴承造成损伤,四个弧形夹板19相互远离的一面均固定连接有第二护垫22,平台板2上表面的后方固定连接有显示器23,底座1的正面固定连接有控制器24。
具体的,如图2和图4所示,底座1的正面通过螺钉固定连接有挡板25,底座1正面挡板25的设置,将挡板25通过螺钉拆除后即可直接对底座1内各机构进行操作,便于对底座1内部各传动结构的检修维护,挡板25的正面设置有百叶窗,支撑板3设置为L形,平台板2的边缘处均设置为圆弧状,驱动电机8设置为伺服电机,第一护垫21和第二护垫22均设置为橡胶护垫。
本实用新型的工作原理为:
在需要使用本装置时,首先将待检测轴承放置于平台板2的上表面,在进行检测时,将待检测轴承直接放置在四个弧形夹板19的中心位置,此时即可通过控制器24操控驱动电机8工作,驱动电机8工作后即可通过转杆9带动驱动齿轮7转动,驱动齿轮7转动后即可同时带动四个齿板13进行移动,此时四个载板11在对应连接短杆和连接长杆的带动下相互靠近,从而通过对应滑块18带动四个弧形夹板19同步移动并相互靠近,此时即可通过弧形夹板19对待检测轴承进行有效限位夹持,此时通过控制器24操控电动推杆4伸长,即可使检测器5靠近待检测轴承进行检测工作,检测完成后控制驱动电机8带动四个弧形夹板19相互远离后即可将检测完成的轴承取下。
在本实用新型的描述中,需要说明的是,除非另有明确的规定和限定,术语“安装”、“相连”、“连接”应做广义理解,例如,可以是固定连接,也可以是可拆卸连接,或一体地连接;可以是机械连接,也可以是电连接;可以是直接相连,也可以通过中间媒介间接相连,可以是两个元件内部的连通。对于本领域的普通技术人员而言,可以通过具体情况理解上述术语在本实用新型中的具体含义。
上面对本专利的较佳实施方式作了详细说明,但是本专利并不限于上述实施方式,在本领域的普通技术人员所具备的知识范围内,还可以在不脱离本专利宗旨的前提下作出各种变化。
Claims (6)
1.一种基于轴承生产用游隙检测装置,包括底座(1),其特征在于:所述底座(1)的上表面固定连接有平台板(2),所述平台板(2)的上表面固定连接有支撑板(3),所述支撑板(3)的下表面固定连接有电动推杆(4),所述电动推杆(4)的底端固定连接有检测器(5),所述底座(1)内开设有传动槽(6),所述传动槽(6)内通过轴承铰接有驱动齿轮(7),所述底座(1)内固定连接有驱动电机(8),所述驱动电机(8)的输出轴固定连接有转杆(9),所述转杆(9)的顶端与驱动齿轮(7)的下表面固定连接,所述底座(1)内开设有四个第一滑槽(10),所述第一滑槽(10)内滑动连接有载板(11),所述第一滑槽(10)内壁的下表面开设有第二滑槽(12),所述第二滑槽(12)内滑动连接有齿板(13);
所述传动槽(6)内壁的四周均开设有延伸槽(14),所述齿板(13)远离对应载板(11)的一端滑动连接在对应延伸槽(14)内,位于上方的两个齿板(13)的上表面均固定连接有连接短块(15),位于下方的两个齿板(13)的上表面均固定连接有连接长块(16),所述连接短块(15)与连接长块(16)的上表面分别与对应载板(11)的下表面固定连接,所述齿板(13)的光滑面通过若干个凹槽铰接有若干个滚珠(17),所述滚珠(17)的外表面与对应第二滑槽(12)内壁的一侧搭接,所述载板(11)的上表面固定连接有滑块(18),所述滑块(18)的上表面固定连接有弧形夹板(19),所述平台板(2)的上表面开设有四个通孔(20),所述滑块(18)滑动连接在对应通孔(20)内。
2.根据权利要求1所述的一种基于轴承生产用游隙检测装置,其特征在于:所述底座(1)的下表面设置有防滑橡胶垫,四个弧形夹板(19)相互靠近的一面均固定连接有第一护垫(21),四个弧形夹板(19)相互远离的一面均固定连接有第二护垫(22)。
3.根据权利要求1所述的一种基于轴承生产用游隙检测装置,其特征在于:所述平台板(2)上表面的后方固定连接有显示器(23),所述底座(1)的正面固定连接有控制器(24)。
4.根据权利要求1所述的一种基于轴承生产用游隙检测装置,其特征在于:所述底座(1)的正面通过螺钉固定连接有挡板(25),所述挡板(25)的正面设置有百叶窗。
5.根据权利要求1所述的一种基于轴承生产用游隙检测装置,其特征在于:所述支撑板(3)设置为L形,所述平台板(2)的边缘处均设置为圆弧状。
6.根据权利要求2所述的一种基于轴承生产用游隙检测装置,其特征在于:所述驱动电机(8)设置为伺服电机,所述第一护垫(21)和第二护垫(22)均设置为橡胶护垫。
Priority Applications (1)
| Application Number | Priority Date | Filing Date | Title |
|---|---|---|---|
| CN202123079032.XU CN216348499U (zh) | 2021-12-09 | 2021-12-09 | 一种基于轴承生产用游隙检测装置 |
Applications Claiming Priority (1)
| Application Number | Priority Date | Filing Date | Title |
|---|---|---|---|
| CN202123079032.XU CN216348499U (zh) | 2021-12-09 | 2021-12-09 | 一种基于轴承生产用游隙检测装置 |
Publications (1)
| Publication Number | Publication Date |
|---|---|
| CN216348499U true CN216348499U (zh) | 2022-04-19 |
Family
ID=81162259
Family Applications (1)
| Application Number | Title | Priority Date | Filing Date |
|---|---|---|---|
| CN202123079032.XU Expired - Fee Related CN216348499U (zh) | 2021-12-09 | 2021-12-09 | 一种基于轴承生产用游隙检测装置 |
Country Status (1)
| Country | Link |
|---|---|
| CN (1) | CN216348499U (zh) |
Cited By (3)
| Publication number | Priority date | Publication date | Assignee | Title |
|---|---|---|---|---|
| CN114877788A (zh) * | 2022-06-10 | 2022-08-09 | 中国航天标准化研究所 | 一种航天轴承径向间隙的检测装置及方法 |
| CN116678284A (zh) * | 2023-06-05 | 2023-09-01 | 人本股份有限公司 | 轴承壁厚差检测工装 |
| CN116718347A (zh) * | 2023-06-21 | 2023-09-08 | 江苏瑞恒中显光电科技有限公司 | 一种可调的lcm显示模组定位测试治具及其使用方法 |
-
2021
- 2021-12-09 CN CN202123079032.XU patent/CN216348499U/zh not_active Expired - Fee Related
Cited By (4)
| Publication number | Priority date | Publication date | Assignee | Title |
|---|---|---|---|---|
| CN114877788A (zh) * | 2022-06-10 | 2022-08-09 | 中国航天标准化研究所 | 一种航天轴承径向间隙的检测装置及方法 |
| CN114877788B (zh) * | 2022-06-10 | 2023-08-29 | 中国航天标准化研究所 | 一种航天轴承径向间隙的检测装置及方法 |
| CN116678284A (zh) * | 2023-06-05 | 2023-09-01 | 人本股份有限公司 | 轴承壁厚差检测工装 |
| CN116718347A (zh) * | 2023-06-21 | 2023-09-08 | 江苏瑞恒中显光电科技有限公司 | 一种可调的lcm显示模组定位测试治具及其使用方法 |
Similar Documents
| Publication | Publication Date | Title |
|---|---|---|
| CN216348499U (zh) | 一种基于轴承生产用游隙检测装置 | |
| CN113466131B (zh) | 一种金属切削刀具连续检测装置 | |
| CN210268571U (zh) | 一种轴类零件圆跳动的检测设备 | |
| CN208409461U (zh) | 一种高精度灯饰玻璃磨边机 | |
| CN110369810B (zh) | 一种基于三辊定心原理的齿轮定位加工装置 | |
| CN218947129U (zh) | 一种圆锥滚子球基面磨床上的研磨装置 | |
| CN209945303U (zh) | 一种车轮螺栓孔位置度自动检测装置 | |
| CN214892940U (zh) | 一种涡轴泵类零件全自动检测系统 | |
| CN221891546U (zh) | 轴承加工制造轴承圈内表面打磨装置 | |
| CN218496839U (zh) | 一种多角度超声检测扫查架 | |
| CN222733575U (zh) | 一种铸件加工用检测平台 | |
| CN214333709U (zh) | 一种轴孔检测装置 | |
| CN212885693U (zh) | 一种新型低接触晶圆对中翻转机构 | |
| CN223449938U (zh) | 一种轮毂表面缺陷检测平台 | |
| CN222069637U (zh) | 一种用于法兰轴承的检测装置 | |
| CN216504567U (zh) | 一种轴承保持架表面缺陷检测装置 | |
| CN220372825U (zh) | 一种球基面磨床 | |
| CN222599541U (zh) | 流动式ccd检测设备 | |
| CN220339287U (zh) | 一种直线度检测装置 | |
| CN223362060U (zh) | 石英坩埚表面气泡检测装置 | |
| CN219996489U (zh) | 一种分离活塞选垫自动测量机 | |
| CN218433642U (zh) | 一种圆棒料摆放装置 | |
| CN223470642U (zh) | 一种钢化玻璃表面平整度检测装置 | |
| CN218994727U (zh) | 一种深沟球轴承灵活性检测装置 | |
| CN218018070U (zh) | 一种轴部件检测用夹持装置 |
Legal Events
| Date | Code | Title | Description |
|---|---|---|---|
| GR01 | Patent grant | ||
| GR01 | Patent grant | ||
| CF01 | Termination of patent right due to non-payment of annual fee | ||
| CF01 | Termination of patent right due to non-payment of annual fee |
Granted publication date: 20220419 |