CN211816397U - Assembled retaining wall that civil engineering used - Google Patents
Assembled retaining wall that civil engineering used Download PDFInfo
- Publication number
- CN211816397U CN211816397U CN202020301265.6U CN202020301265U CN211816397U CN 211816397 U CN211816397 U CN 211816397U CN 202020301265 U CN202020301265 U CN 202020301265U CN 211816397 U CN211816397 U CN 211816397U
- Authority
- CN
- China
- Prior art keywords
- plate
- fixed
- hole
- unit
- retaining wall
- Prior art date
- Legal status (The legal status is an assumption and is not a legal conclusion. Google has not performed a legal analysis and makes no representation as to the accuracy of the status listed.)
- Expired - Fee Related
Links
- 238000009434 installation Methods 0.000 abstract description 3
- 238000010586 diagram Methods 0.000 description 3
- 108010001267 Protein Subunits Proteins 0.000 description 2
- 230000005540 biological transmission Effects 0.000 description 2
- 238000010276 construction Methods 0.000 description 2
- 230000009286 beneficial effect Effects 0.000 description 1
- 238000000034 method Methods 0.000 description 1
- 230000004048 modification Effects 0.000 description 1
- 238000012986 modification Methods 0.000 description 1
Images
Landscapes
- Retaining Walls (AREA)
Abstract
本实用新型公开了一种土木工程用的组装式挡土墙,包括底板、固定板、单元板,所述底板的顶部开设有矩形的第二通孔,所述底板的顶部安装有移动装置,所述移动装置包括固定座,所述固定座为n形,所述固定座固定在底板的顶部,所述固定座的顶部贯穿有丝杆,且固定座与丝杆通过螺纹连接,所述丝杆的底端转动套接有升降板,所述升降板滑动套接在第二通孔的内部,所述升降板的底部四角均安装有滚轮,所述底板的顶部开设有第三通孔,所述单元板的顶端开设有第一通孔,所述单元板的一侧开设有截面为扇形的转动槽。本实用新型使用灵活,方便搬运,安装稳定,拆卸后可重复使用,经济性好,可根据实际的需要围成指定的轮廓,使用场合广泛。
The utility model discloses an assembled retaining wall for civil engineering. The mobile device includes a fixed seat, the fixed seat is n-shaped, the fixed seat is fixed on the top of the bottom plate, a screw rod penetrates through the top of the fixed seat, and the fixed seat and the screw rod are threadedly connected, and the wire rod is threaded. The bottom end of the rod is rotatably sleeved with a lift plate, the lift plate is slidably sleeved inside the second through hole, the bottom four corners of the lift plate are equipped with rollers, and the top of the bottom plate is provided with a third through hole, The top end of the unit plate is provided with a first through hole, and one side of the unit plate is provided with a fan-shaped rotating slot. The utility model is flexible in use, convenient in handling, stable in installation, reusable after dismantling, and has good economical efficiency.
Description
技术领域technical field
本实用新型涉及土木工程技术领域,尤其涉及一种土木工程用的组装式挡土墙。The utility model relates to the technical field of civil engineering, in particular to an assembled retaining wall for civil engineering.
背景技术Background technique
挡土墙是在土木工程中常用的结构形式,在建造挡土墙时施工量大,工程造价高,建好的挡土墙不能移走使用,若高度不够,还需要后续的工程进行二次施工,造成成本的增高,同时,现有的一些可移动式的挡土墙一般都是通过墙板直接拼接,只能拼接成平面,限制了使用的场合,对于需要围成弧面则很难操作,针对这样的问题我们提出一种土木工程用的组装式挡土墙。Retaining wall is a common structural form in civil engineering. When building a retaining wall, the construction volume is large and the project cost is high. The built retaining wall cannot be removed and used. Construction, resulting in an increase in cost, at the same time, some existing movable retaining walls are generally directly spliced through wall panels, which can only be spliced into a plane, which limits the use of occasions, and it is difficult to form an arc surface. Operation, in response to such a problem, we propose an assembled retaining wall for civil engineering.
实用新型内容Utility model content
本实用新型的目的是为了解决现有技术中存在的缺点,而提出的一种土木工程用的组装式挡土墙。The purpose of the utility model is to propose an assembled retaining wall for civil engineering in order to solve the shortcomings existing in the prior art.
为了实现上述目的,本实用新型采用了如下技术方案:In order to achieve the above-mentioned purpose, the utility model adopts the following technical solutions:
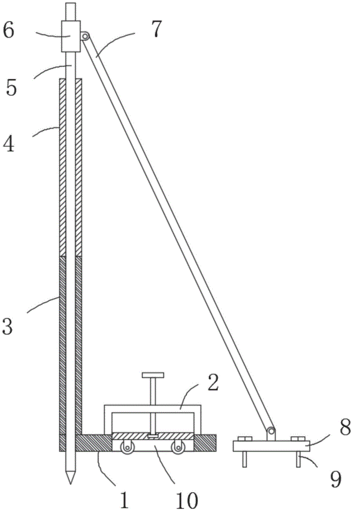
一种土木工程用的组装式挡土墙,包括底板、固定板、单元板,所述底板的顶部开设有矩形的第二通孔,所述底板的顶部安装有移动装置,所述移动装置包括固定座,所述固定座为n形,所述固定座固定在底板的顶部,所述固定座的顶部贯穿有丝杆,且固定座与丝杆通过螺纹连接,所述丝杆的底端转动套接有升降板,所述升降板滑动套接在第二通孔的内部,所述升降板的底部四角均安装有滚轮,所述底板的顶部开设有第三通孔,所述单元板的顶端开设有第一通孔,所述单元板的一侧开设有截面为扇形的转动槽,所述单元板的另一侧固定有凸台,所述凸台的侧边固定有截面为扇形的转动柱,所述单元板上的第一通孔内滑动套接有第一支撑杆,所述固定板和单元板的结构完全相同,所述固定板固定在底板的顶部,所述单元板位于固定板的上方,所述第一支撑杆滑动贯穿固定板上的第一通孔,所述第一支撑杆滑动贯穿底板上的第三通孔,所述第一支撑杆上滑动套接有套筒,所述套筒的侧边铰接有第二支撑杆,所述第二支撑杆的底端铰接有安装板。An assembled retaining wall for civil engineering, comprising a bottom plate, a fixed plate and a unit plate, wherein a rectangular second through hole is opened on the top of the bottom plate, a mobile device is installed on the top of the bottom plate, and the mobile device includes A fixed seat, the fixed seat is n-shaped, the fixed seat is fixed on the top of the bottom plate, the top of the fixed seat has a screw rod, and the fixed seat and the screw rod are connected by threads, and the bottom end of the screw rod rotates A lift plate is sleeved, the lift plate is slidably sleeved inside the second through hole, the bottom four corners of the lift plate are installed with rollers, the top of the bottom plate is provided with a third through hole, and the unit plate is provided with a third through hole. The top end is provided with a first through hole, one side of the unit plate is provided with a rotating groove with a fan-shaped cross-section, the other side of the unit plate is fixed with a boss, and the side of the boss is fixed with a fan-shaped cross-section. A rotating column, a first support rod is slidably sleeved in the first through hole on the unit plate, the structure of the fixing plate and the unit plate are exactly the same, the fixing plate is fixed on the top of the bottom plate, and the unit plate is located at the top of the bottom plate. Above the fixed plate, the first support rod slides through the first through hole on the fixed plate, the first support rod slides through the third through hole on the bottom plate, and a sleeve is slidably sleeved on the first support rod The side of the sleeve is hinged with a second support rod, and the bottom end of the second support rod is hinged with a mounting plate.
优选的,所述丝杆的顶端固定有手轮。Preferably, the top end of the screw rod is fixed with a hand wheel.
优选的,所述丝杆的底端固定有圆柱状的转动块,升降板的顶部开设有T形槽,转动块转动套接在T形槽内。Preferably, a cylindrical rotating block is fixed at the bottom end of the screw rod, a T-shaped groove is opened on the top of the lifting plate, and the rotating block is rotatably sleeved in the T-shaped groove.
优选的,所述转动柱与转动槽相匹配,单元板之间通过转动柱与转动槽转动连接。Preferably, the rotating column is matched with the rotating groove, and the unit plates are rotatably connected to the rotating groove through the rotating column.
优选的,所述安装板通过地脚螺栓固定在地面上,第一支撑杆插入地面内。Preferably, the mounting plate is fixed on the ground through anchor bolts, and the first support rod is inserted into the ground.
优选的,所述固定板与底板垂直,丝杆与底板垂直。Preferably, the fixing plate is perpendicular to the bottom plate, and the screw rod is perpendicular to the bottom plate.
与现有技术相比,本实用新型的有益效果是:Compared with the prior art, the beneficial effects of the present utility model are:
1、本实用新型是一个子单元,土墙由多个子单元依次拼接而成,每一个子单元上的单元板的数量是由实际墙面高度需要决定的,每一个子单元上的单元板与另一个子单元上相对应的单元板之间通过如说明书附图所示结构依次连接,子单元上的固定板与另一个子单元上的固定板之间通过如说明书附图所示结构依次连接,由于转动柱可在转动槽内转动,这样相邻的子单元之间可实现转动,这样可根据需要包围的轮廓调整到合适的位置,提高了使用的灵活性;1. The utility model is a sub-unit, and the earth wall is formed by splicing multiple sub-units in turn. The number of unit boards on each sub-unit is determined by the actual wall height. The corresponding unit plates on the other subunit are connected in sequence through the structure shown in the drawings of the specification, and the fixed plate on the subunit and the fixed plate on the other subunit are connected in sequence through the structure shown in the drawings of the specification. , because the rotating column can rotate in the rotating groove, so that the adjacent sub-units can rotate, so that the contour can be adjusted to an appropriate position according to the need, and the flexibility of use is improved;
2、本实用新型中,转动手轮,手轮带动丝杆转动,丝杆通过与固定座之间的螺纹传动可推动升降板下移,从而将滚轮推送至与地面接触,从而可通过滚轮方便的移动底板,从而便于调整到指定的位置;2. In this utility model, when the hand wheel is rotated, the hand wheel drives the screw rod to rotate, and the screw rod can push the lifting plate down through the thread transmission between the screw rod and the fixed seat, so as to push the roller wheel to contact with the ground, so that the roller wheel can be easily moved. The movable base plate is easy to adjust to the designated position;
3、本实用新型中,设置的第一支撑杆可插入到地面内,将安装板平放在地面上,然后通过地脚螺栓固定,从而增加由固定板和单元板组成的墙面的稳定性;3. In the present utility model, the first support rod provided can be inserted into the ground, the mounting plate is placed on the ground, and then fixed by anchor bolts, thereby increasing the stability of the wall composed of the fixed plate and the unit plate. ;
4、本实用新型可根据需要选择合适数量的单元板并组装,使用灵活,同时方便搬运,安装稳定,拆卸后可重复使用,经济性好,同时,由于多个本实用新型之间可相互转动,这样可根据实际的需要围成指定的轮廓,使用场合广泛。4. The utility model can select an appropriate number of unit boards and assemble according to the needs, which is flexible in use, convenient for handling, stable in installation, reusable after disassembly, and economical. , so that the specified outline can be formed according to the actual needs, and the application is widely used.
附图说明Description of drawings
图1为本实用新型提出的一种土木工程用的组装式挡土墙的结构示意图;Fig. 1 is the structural representation of a kind of assembled retaining wall for civil engineering proposed by the utility model;
图2为本实用新型提出的一种土木工程用的组装式挡土墙的移动装置的结构示意图;2 is a schematic structural diagram of a moving device for an assembled retaining wall for civil engineering proposed by the utility model;
图3为本实用新型提出的一种土木工程用的组装式挡土墙的单元板的结构示意图;3 is a schematic structural diagram of a unit plate of an assembled retaining wall for civil engineering proposed by the utility model;
图4为本实用新型提出的一种土木工程用的组装式挡土墙的单元板之间的连接结构示意图。4 is a schematic diagram of the connection structure between the unit plates of an assembled retaining wall for civil engineering proposed by the present invention.
图中:1底板、2移动装置、21升降板、22丝杆、23手轮、24固定座、25滚轮、26转动块、3固定板、4单元板、41转动槽、42第一通孔、43凸台、44转动柱、5第一支撑杆、6套筒、7第二支撑杆、8安装板、9地脚螺栓、10第二通孔、11第三通孔。In the figure: 1 base plate, 2 moving device, 21 lifting plate, 22 screw rod, 23 hand wheel, 24 fixing seat, 25 roller, 26 rotating block, 3 fixing plate, 4 unit plate, 41 rotating slot, 42 first through hole , 43 bosses, 44 rotating columns, 5 first support rods, 6 sleeves, 7 second support rods, 8 mounting plates, 9 anchor bolts, 10 second through holes, 11 third through holes.
具体实施方式Detailed ways
下面将结合本实用新型实施例中的附图,对本实用新型实施例中的技术方案进行清楚、完整地描述,显然,所描述的实施例仅仅是本实用新型一部分实施例,而不是全部的实施例。The technical solutions in the embodiments of the present utility model will be clearly and completely described below with reference to the accompanying drawings in the embodiments of the present utility model. Obviously, the described embodiments are only a part of the embodiments of the present utility model, rather than all the implementations. example.
参照图1-4,一种土木工程用的组装式挡土墙,包括底板1、固定板3、单元板4,底板1的顶部开设有矩形的第二通孔10,底板1的顶部安装有移动装置2,移动装置2包括固定座24,固定座24为n形,固定座24固定在底板1的顶部,固定座24的顶部贯穿有丝杆22,且固定座24与丝杆22通过螺纹连接,丝杆22的底端转动套接有升降板21,升降板21滑动套接在第二通孔10的内部,升降板21的底部四角均安装有滚轮25,底板1的顶部开设有第三通孔11,单元板4的顶端开设有第一通孔42,单元板4的一侧开设有截面为扇形的转动槽41,单元板4的另一侧固定有凸台43,凸台43的侧边固定有截面为扇形的转动柱44,单元板4上的第一通孔42内滑动套接有第一支撑杆5,固定板3和单元板4的结构完全相同,固定板3固定在底板1的顶部,单元板4位于固定板3的上方,第一支撑杆5滑动贯穿固定板3上的第一通孔42,第一支撑杆5滑动贯穿底板1上的第三通孔11,第一支撑杆5上滑动套接有套筒6,套筒6的侧边铰接有第二支撑杆7,第二支撑杆7的底端铰接有安装板8。1-4, an assembled retaining wall for civil engineering includes a
其中,丝杆22的顶端固定有手轮23。The top end of the
其中,丝杆22的底端固定有圆柱状的转动块26,升降板21的顶部开设有T形槽,转动块26转动套接在T形槽内。The bottom end of the
其中,转动柱44与转动槽41相匹配,单元板4之间通过转动柱44与转动槽41转动连接。The rotating
其中,安装板8通过地脚螺栓9固定在地面上,第一支撑杆5插入地面内。Wherein, the
其中,固定板3与底板1垂直,丝杆22与底板1垂直。The
工作原理:working principle:
本实用新型是一个子单元,土墙由多个子单元依次拼接而成,每一个子单元上的单元板4的数量是由实际墙面高度需要决定的,每一个子单元上的单元板4与另一个子单元上相对应的单元板4之间通过如说明书附图4所示结构依次连接,子单元上的固定板3与另一个子单元上的固定板3之间通过如说明书附图4所示结构依次连接,由于转动柱44可在转动槽41内转动,这样相邻的子单元之间可实现转动,这样可根据需要包围的轮廓调整到合适的位置,提高了使用的灵活性;The utility model is a sub-unit, the earth wall is formed by splicing a plurality of sub-units in sequence, the number of the
本实用新型中,转动手轮23,手轮23带动丝杆22转动,丝杆22通过与固定座24之间的螺纹传动可推动升降板21下移,从而将滚轮25推送至与地面接触,从而可通过滚轮方便的移动底板1,从而便于调整到指定的位置;In the utility model, the
本实用新型中,设置的第一支撑杆5可插入到地面内,将安装板8平放在地面上,然后通过地脚螺栓9固定,从而增加由固定板3和单元板4组成的墙面的稳定性;In the present invention, the
本实用新型可根据需要选择合适数量的单元板4并组装,使用灵活,同时方便搬运,安装稳定,拆卸后可重复使用,经济性好,同时,由于多个本实用新型之间可相互转动,这样可根据实际的需要围成指定的轮廓,使用场合广泛。The utility model can select and assemble an appropriate number of
以上所述,仅为本实用新型较佳的具体实施方式,但本实用新型的保护范围并不局限于此,任何熟悉本技术领域的技术人员在本实用新型揭露的技术范围内,根据本实用新型的技术方案及其实用新型构思加以等同替换或改变,都应涵盖在本实用新型的保护范围之内。The above description is only a preferred embodiment of the present invention, but the protection scope of the present invention is not limited to this. Equivalent replacement or modification of the new technical solution and its utility model concept shall be included within the protection scope of the present utility model.
Claims (6)
Priority Applications (1)
| Application Number | Priority Date | Filing Date | Title |
|---|---|---|---|
| CN202020301265.6U CN211816397U (en) | 2020-03-12 | 2020-03-12 | Assembled retaining wall that civil engineering used |
Applications Claiming Priority (1)
| Application Number | Priority Date | Filing Date | Title |
|---|---|---|---|
| CN202020301265.6U CN211816397U (en) | 2020-03-12 | 2020-03-12 | Assembled retaining wall that civil engineering used |
Publications (1)
| Publication Number | Publication Date |
|---|---|
| CN211816397U true CN211816397U (en) | 2020-10-30 |
Family
ID=73008286
Family Applications (1)
| Application Number | Title | Priority Date | Filing Date |
|---|---|---|---|
| CN202020301265.6U Expired - Fee Related CN211816397U (en) | 2020-03-12 | 2020-03-12 | Assembled retaining wall that civil engineering used |
Country Status (1)
| Country | Link |
|---|---|
| CN (1) | CN211816397U (en) |
Cited By (3)
| Publication number | Priority date | Publication date | Assignee | Title |
|---|---|---|---|---|
| CN112627201A (en) * | 2020-12-07 | 2021-04-09 | 三峡大学 | Device and method for promoting landslide diversion |
| CN113266037A (en) * | 2021-05-10 | 2021-08-17 | 南京钜力智能制造技术研究院有限公司 | Assembled precast concrete retaining wall and construction method thereof |
| CN114645529A (en) * | 2022-05-05 | 2022-06-21 | 蒙城县水利局建筑工程队 | Temporary support device is built to ecological bank protection of water conservancy |
-
2020
- 2020-03-12 CN CN202020301265.6U patent/CN211816397U/en not_active Expired - Fee Related
Cited By (5)
| Publication number | Priority date | Publication date | Assignee | Title |
|---|---|---|---|---|
| CN112627201A (en) * | 2020-12-07 | 2021-04-09 | 三峡大学 | Device and method for promoting landslide diversion |
| CN113266037A (en) * | 2021-05-10 | 2021-08-17 | 南京钜力智能制造技术研究院有限公司 | Assembled precast concrete retaining wall and construction method thereof |
| CN113266037B (en) * | 2021-05-10 | 2022-08-30 | 南京钜力智能制造技术研究院有限公司 | Assembled precast concrete retaining wall and construction method thereof |
| CN114645529A (en) * | 2022-05-05 | 2022-06-21 | 蒙城县水利局建筑工程队 | Temporary support device is built to ecological bank protection of water conservancy |
| CN114645529B (en) * | 2022-05-05 | 2024-02-09 | 蒙城县水利局建筑工程队 | Temporary support device is built to ecological bank protection of water conservancy |
Similar Documents
| Publication | Publication Date | Title |
|---|---|---|
| CN211816397U (en) | Assembled retaining wall that civil engineering used | |
| CN218713925U (en) | Assembled building beam column steel construction connecting piece convenient to adjust | |
| CN211898386U (en) | Tubular pile perpendicularity adjusting device | |
| CN111335317A (en) | Tubular pile perpendicularity adjusting device | |
| CN216476364U (en) | Building construction structure renovation formwork support device | |
| CN220955654U (en) | Supporting construction for tunnel construction | |
| CN209179483U (en) | An adjustable prefabricated space node pouring formwork | |
| CN220848134U (en) | A new earthquake-resistant structure for construction projects | |
| CN218580859U (en) | Convenient assembled removal board house that removes | |
| CN211949498U (en) | A mobile construction scaffold | |
| CN211173018U (en) | A work platform for an attached lifting scaffold | |
| CN219753966U (en) | Building templates strutting arrangement | |
| CN221422622U (en) | Scaffold for building | |
| CN221972480U (en) | An early dismantling device for flood discharge box culvert formwork support | |
| CN220481704U (en) | Discharging frame for house building engineering | |
| CN217618695U (en) | Jig frame for assembling pipe truss | |
| CN220100576U (en) | Scaffold with adjustable working area | |
| CN215290142U (en) | Building engineering foundation ditch is with preventing auxiliary stay device who topples over function | |
| CN220184742U (en) | A portable support frame for civil engineering design | |
| CN104790647B (en) | Guarantee removable gusseted system and the installation and debugging method of horizontal support | |
| CN218061536U (en) | Calibration positioning device for mounting assembly type building component | |
| CN204418238U (en) | A kind of steel work room sinking resetting structure | |
| CN104790648B (en) | Soldering-free type multistage horizontal adjustment support meanss and its installation control method | |
| CN204258090U (en) | A kind of power distribution cabinet assembly based on square and arc splice plate | |
| CN218581118U (en) | Scaffold for building construction |
Legal Events
| Date | Code | Title | Description |
|---|---|---|---|
| GR01 | Patent grant | ||
| GR01 | Patent grant | ||
| CF01 | Termination of patent right due to non-payment of annual fee |
Granted publication date: 20201030 Termination date: 20210312 |
|
| CF01 | Termination of patent right due to non-payment of annual fee |
