CN211572789U - 一种树状升降旋转伸缩式立体车库 - Google Patents
一种树状升降旋转伸缩式立体车库 Download PDFInfo
- Publication number
- CN211572789U CN211572789U CN201922126775.4U CN201922126775U CN211572789U CN 211572789 U CN211572789 U CN 211572789U CN 201922126775 U CN201922126775 U CN 201922126775U CN 211572789 U CN211572789 U CN 211572789U
- Authority
- CN
- China
- Prior art keywords
- telescopic arm
- side frame
- frame
- lifting
- telescopic
- Prior art date
- Legal status (The legal status is an assumption and is not a legal conclusion. Google has not performed a legal analysis and makes no representation as to the accuracy of the status listed.)
- Expired - Fee Related
Links
- 229910000831 Steel Inorganic materials 0.000 claims description 16
- 239000010959 steel Substances 0.000 claims description 16
- 230000007704 transition Effects 0.000 claims description 16
- 230000003028 elevating effect Effects 0.000 claims description 8
- 230000003014 reinforcing effect Effects 0.000 claims description 6
- 238000000034 method Methods 0.000 abstract description 6
- 230000008569 process Effects 0.000 abstract description 5
- 230000008901 benefit Effects 0.000 description 3
- 238000012546 transfer Methods 0.000 description 3
- 230000000694 effects Effects 0.000 description 2
- 238000012986 modification Methods 0.000 description 2
- 230000004048 modification Effects 0.000 description 2
- 230000007306 turnover Effects 0.000 description 2
- 210000002421 cell wall Anatomy 0.000 description 1
- 238000011161 development Methods 0.000 description 1
- 230000002265 prevention Effects 0.000 description 1
- 238000013519 translation Methods 0.000 description 1
Images
Landscapes
- Tents Or Canopies (AREA)
Abstract
本实用新型属于立体车库技术领域,具体涉及一种树状升降旋转伸缩式立体车库,包括支撑框架、挂钩、第一驱动源、升降转台、第二驱动源、伸缩臂套和伸缩臂,支撑框架具有第一、第二、第三侧框,挂钩上挂靠有载车托架,升降转台可移动的设置在第三侧框上,第二驱动源设置在升降转台上并驱动伸缩臂套转动至与第一侧框或第二侧框所在面平行;伸缩臂插置在伸缩臂套内且在伸缩臂的两端设有U型插口,伸缩臂套上设有第三驱动源驱动伸缩臂相对伸缩臂套移动并带动载车托架移动至挂钩的上方;通过在设置挂钩的邻侧处设置升降转台来转运小车,无需设置单独的空位来实现出车;以及,在停车出库时无需对其余不出库的车辆进行移动操作,减少了车辆出库的工序。
Description
技术领域
本实用新型属于立体车库技术领域,具体涉及一种树状升降旋转伸缩式立体车库。
背景技术
随着社会经济的快速发展,城市的交通问题日益突出,逐渐成为我国各城市普遍面临的问题之一。尤其是市中心节假日期间,大多数驾车者因找不到停车位而抱怨,导致长时间地在密集车流中绕行,增加了道路负担。在这样的背景下,立体停车设备基于占地面积小,空间利用率高的优点而被广泛使用。
升降横移立体车库是现有技术中最为常见的一种立体停车方式,具体可建设成二层升降横移立体车库,三层升降横移立体车库,四层升降横移立体车库,五层升降横移立体车库,六层升降横移立体车库和基坑式升降横移立体车库等类型;然而,上述立体车库的类型均需要留有空位以方便不同位置停车的出库,并且,在出库时可能需要先对其余不出库的车辆进行移动,增加了车辆出库的工序。
实用新型内容
本实用新型的目的在于克服现有技术中的不足,提供一种树状升降旋转伸缩式立体车库。
为了实现上述目的,本实用新型采用以下技术方案予以实现:
一种树状升降旋转伸缩式立体车库,包括:
支撑框架,其具有相对布置的第一侧框和第二侧框,以及位于第一侧框和第二侧框邻侧的第三侧框;
挂钩,其布置在所述的第一侧框和第二侧框上,且沿所述支撑框架的高度方向间隔布置有多个,所述的挂钩上挂靠有载车托架;
第一驱动源,设置于所述支撑框架上,用于提供动力;
升降转台,可移动的设置在所述第三侧框上,所述第一驱动源可驱动所述的升降转台沿支撑框架上升或下降;
第二驱动源,设置在所述升降转台上;
伸缩臂套,可转动的设置在所述升降转台上,所述的第二驱动源可驱动所述伸缩臂套转动至与所述的第一侧框或第二侧框所在面平行;
伸缩臂,其插置在所述的伸缩臂套内且在所述伸缩臂的两端分别设有U型插口,所述的伸缩臂套上设有第三驱动源,且该第三驱动源可驱动伸缩臂相对伸缩臂套移动并带动载车托架移动至所述挂钩的上方。
优选的,所述的支撑框架包括两平行间隔布置的第一立柱和第二立柱,所述的第一立柱和第二立柱沿纵深方向间隔布置有两组,两组第一立柱和第二立柱的上端之间设有横梁,相邻的第一立柱之间、第二立柱之间,以及第一立柱和第二立柱之间均设有斜拉杆和/或水平拉杆。
优选的,所述的第三侧框上设有沿其高度方向延伸的框架卡槽,所述升降转台的两侧设有导向轮,所述的导向轮贴靠在所述框架卡槽的槽壁上并沿所述框架卡槽限定的方向移动。
优选的,位于第三侧框的外侧设有沿高度方向平行间隔布置的两根角型钢,两根角型钢分别与第三侧框围合形成开口指向相向的两个框架卡槽,所述升降转台的两侧均设有横向导向轮和纵向导向轮,位于升降转台两侧的横向导向轮分别贴靠在两根角型钢上,位于升降转台两侧的纵向导向轮分别贴靠在角型钢和第三侧框上。
优选的,所述的第一驱动源为升降驱动电机,其固定在所述支撑框架的上端,所述升降驱动电机的输出端上设有驱动链轮,位于驱动链轮的上方两侧分别设置第一过渡链轮和第二过渡链轮,链条的一端固定在升降转台上,且在依次啮合第一过渡链轮、驱动链轮和第二过渡链轮后,另一端固定有配重块。
优选的,所述的伸缩臂为方形杆件,其上侧杆身和下侧杆身上均设有导轨,且该导轨与设置在伸缩臂套内的滑套构成导向限位配合。
所述第三驱动源为驱动电机,其输出轴上设有一齿轮,且该齿轮与设置在伸缩臂上并沿其长度方向延伸布置的齿条相啮合。
优选的,所述的载车托架包括底板及其一侧向上延伸布置的挂载板,所述挂载板的上端设有限位板,所述的限位板与挂载板形成端面为T型结构供所述伸缩臂端部的U型插口镶嵌配合;
所述挂载板远离底板的一侧向外凸伸形成挂扣板,所述的挂扣板挂扣在所述的挂钩上用于承载所述载车托架。
优选的,所述底板临近支撑框架的一侧设有若干间隔布置的万向球轴承,且在伸缩臂插挑载车托架使其旋转、下降并挂靠至所述的挂钩时,所述的万向球轴承与设置在支撑框架上水平向布置的挡板抵靠配合。
优选的,所述挂载板的旁侧分别设有斜向布置的加强板,所述加强板的下端连接至底板的侧边。
优选的,所述的树状升降旋转伸缩式立体车库还包括:
卡齿轨道,设置在所述的第三侧框上并沿其高度方向延伸布置,所述的卡齿轨道上设有均匀间隔布置的齿块;
闭锁块,其通过连接销轴可转动的布置在所述升降转台上,所述闭锁块的上端与链条固定连接;
扭簧,设置在升降转台上,所述扭簧的一端抵靠在位于升降转台上的扭力弹簧固定凸块上,另一端抵靠在所述闭锁块远离卡齿轨道的一侧下端;
其中,所述的链条牵拉绷紧时,闭锁块与卡齿轨道临近间隔,且在链条断裂松弛后,所述扭簧提供弹力驱使所述的闭锁块转动并卡在相邻的齿块之间。
与现有技术相比,本实用新型具有以下技术效果:
本实用新型提供的树状升降旋转伸缩式立体车库,通过在设置挂钩的邻侧处设置升降转台来转运小车,无需设置单独的空位来实现出车;以及,在停车出库时无需对其余不出库的车辆进行移动操作,减少了车辆出库的工序。
通过设置在升降转台上的伸缩臂套及插置在伸缩臂套内可相对移动的伸缩臂对载车托架叉起以实现其在不同高度挂钩与地面之间的直接周转,提高了车辆出库和入库的效率;并且,本实用新型提供的上述结构具有结构紧凑,小巧,强度高的优点,确保了车辆周转过程中的稳定可靠。
本实用新型提供的树状升降旋转伸缩式立体车库,结构简单,使用方便;利用支撑框架作为整个树状升降旋转伸缩式立体车库的构成骨架,车辆悬空布置在所述支撑框架的两侧,整个支撑框架在地面上的占地面积可控制在3m2以内,极大的节省了空间。
本实用新型的其他特征和优点将在随后的具体实施方式中予以详细说明。
附图说明
图1为本实用新型提供的树状升降旋转伸缩式立体车库的结构示意图;
图2为本实用新型中升降转台与载车托架配合的示意图;
图3为图2中另一视角的示意图;
图4为本实用新型中支撑框架及其第三侧框上升降转台的结构示意图;
图5为本实用新型中载车托架的示意图;
图6为本实用新型中伸缩臂套及伸缩臂的示意图;
图7为本实用新型中升降转台的防坠落装置的侧视图;
图8为本实用新型中升降转台的防坠落装置的正视图;
图9为本实用新型提供的一种树状升降旋转伸缩式立体车库的示意图;
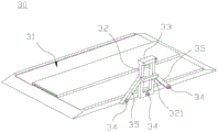
图中标号说明:10-支撑框架,101-第一侧框,102-第二侧框,103-第三侧框, 104-框架卡槽,105-导向角钢,11-第一立柱,12-第二立柱,13-横梁,14-斜拉杆,15-水平拉杆,16-角型钢,17-挡板,18-卡齿轨道,181-齿块,20-挂钩,30- 载车托架,31-底板,32-挂载板,321-挂扣板,33-限位板,34-万向球轴承,35- 加强板,40-第一驱动源,41-驱动链轮,42-第一过渡链轮,43-第二过渡链轮, 44-链条,45-配重块,50-升降转台,51-第二驱动源,52-伸缩臂套,521-滑套, 53-伸缩臂,531-U型插口,532-导轨,533-齿条,54-第三驱动源,541-齿轮, 55-导向轮,551-横向导向轮,552-纵向导向轮,56-扭力弹簧固定凸块,60-闭锁块,61-连接销轴,70-扭簧。
具体实施方式
为了使本实用新型实现的技术手段、创作特征、达成目的与功效易于明白了解,下面结合具体附图,进一步阐明本实用新型。
需要说明的是,在本实用新型中,当元件被称为“固定于”另一个元件,它可以直接在另一个元件上或者也可以存在居中的元件。当一个元件被认为是“连接”另一个元件,它可以是直接连接到另一个元件或者可能同时存在居中元件。本文中所使用的术语“垂直的”、“水平的”、“左”、“右”以及类似的表述只是为了说明的目的,并不表示是唯一的实施方式。
除非另有定义,本文所使用的所有的技术和科学术语与属于本实用新型的技术领域的技术人员通常理解的含义相同。本文在本实用新型的说明书中所使用的术语只是为了描述具体的实施例的目的,不是旨在限制本实用新型。本文所使用的术语“及/或”包括一个或多个相关的所列项目的任意的和所有的组合。
结合图1、2、3、6所示,本实用新型提供了一种树状升降旋转伸缩式立体车库,其包括支撑框架10、挂钩20、第一驱动源40、升降转台50、第二驱动源51、伸缩臂套52和伸缩臂53。
所述的支撑框架10主要起支撑作用,用于支撑挂钩20、第一驱动源40、升降转台50、第二驱动源51、伸缩臂套52和伸缩臂53等零部件,所述的支撑框架10具有相对布置的第一侧框101和第二侧框102,以及位于第一侧框101 和第二侧框102邻侧的第三侧框103;所述的挂钩20布置在所述的第一侧框101 和第二侧框102上,且沿所述支撑框架10的高度方向间隔布置有多个,所述的挂钩20上挂靠有载车托架30;所述的第一驱动源40设置于所述支撑框架10上,用于提供动力,所述的升降转台50可移动的设置在所述第三侧框103上,所述第一驱动源40可驱动所述的升降转台50沿支撑框架10上升或下降;所述的第二驱动源51设置在所述升降转台50上;所述的伸缩臂套52可转动的设置在所述升降转台50上,所述的第二驱动源51可驱动所述伸缩臂套52转动至与所述的第一侧框101或第二侧框102所在面平行;所述的伸缩臂53插置在所述的伸缩臂套52内且在所述伸缩臂53的两端分别设有U型插口531,所述的伸缩臂套52上设有第三驱动源54,且该第三驱动源54可驱动伸缩臂53相对伸缩臂套 52移动并带动载车托架30移动至所述挂钩20的上方。
本实用新型提供的该树状升降旋转伸缩式立体车库,所述的载车托架30与挂钩20是一一对应的,在具体的工作过程中,通过设置在升降转台50上的伸缩臂53将载车托架30叉起并配合第一驱动源40在竖直方向进行转运,配合第二驱动源51在水平方向进行旋转,配合第三驱动源54在第一侧框101或第二侧框102所在侧面进行平移,实现车辆的入库和出库作业。当需要停车时,第一驱动源40驱动升降转台50带动空的载车托架30移动至地面,待停车的小车开动至载车托架30上并驻车;第一驱动源40带动载有小车的载车托架30向上移动至空的挂钩20所在平面,接着第二驱动源51驱动伸缩臂套52进行转动,调整载车托架30的相对方向,待载车托架30的长度方向调整至与第一侧框101 或第二侧框102所在面相平行时,第三驱动源54驱动伸缩臂53相对伸缩臂套 52进行移动,进而带动载有小车的载车托架30移动至挂钩20的正上方,再然后,第一驱动源40驱动升降转台50稍下降,使载车托架30完全承载在挂钩20 上,完成入库。接着第一驱动源40继续驱动升降转台50下降,并配合第三驱动源54驱动伸缩臂53反向移动使其脱离该载车托架30,第二驱动源51再驱动伸缩臂套52进行转动,使其回到位于第三侧框103的转移位上并等待下一次的入库或出库作业。
当需要车辆出库时,所述的第一驱动源40先驱动升降转台50移动至待出库小车的载车托架30所在平面,接着第二驱动源51驱动伸缩臂套52转动,使伸缩臂53转动至与待出库小车的载车托架30所在侧框面相平行,然后第三驱动源54驱动伸缩臂53移动并配合第一驱动源40上移,将载车托架30叉起使其脱离挂钩20,然后第二驱动源51驱动伸缩臂套52转动,使载有待出库小车的载车托架30移动至第三侧框103所在面,接着第一驱动源40带动升降转台 50,将载有待出库小车的载车托架30输送至地面,完成出库。需要指出的是,在完成取车后,伸缩臂53及其所叉起的空的载车托架30可停留在地面供下一辆待入库的小车使用,而不是直接被送回空的挂钩20上,如此,避免了无用的转运。
根据本实用新型,本实用新型中,作为该支撑框架10的一种具体的布置方式,所述的支撑框架10包括两平行间隔布置的第一立柱11和第二立柱12,所述的第一立柱11和第二立柱12沿纵深方向间隔布置有两组,两组第一立柱11 和第二立柱12的上端之间设有横梁13,相邻的第一立柱11之间、第二立柱12 之间,以及第一立柱11和第二立柱12之间均设有斜拉杆14和/或水平拉杆15。
本实用新型中,所述的第三侧框103上设有沿其高度方向延伸的框架卡槽 104,所述升降转台50的两侧设有导向轮55,所述的导向轮55贴靠在所述框架卡槽104的槽壁上并沿所述框架卡槽104限定的方向移动。
进一步的,根据本实用新型,位于第三侧框103的外侧设有沿高度方向平行间隔布置的两根角型钢16,两根角型钢16分别与第三侧框103围合形成开口指向相向的两个框架卡槽104,所述升降转台50的两侧均设有横向导向轮551 和纵向导向轮552,位于升降转台50两侧的横向导向轮551分别贴靠在两根角型钢16上,位于升降转台50两侧的纵向导向轮552分别贴靠在角型钢16和第三侧框103上。通过该横向导向轮551和纵向导向轮552的布置,确保了升降转台50在高度方向往复移动过程中的稳定性。
本实用新型中,所述的第一驱动源40为升降驱动电机,其固定在所述支撑框架10的上端,所述升降驱动电机的输出端上设有驱动链轮41,位于驱动链轮 41的上方两侧分别设置第一过渡链轮42和第二过渡链轮43,链条44的一端固定在升降转台50上,且在依次啮合第一过渡链轮42、驱动链轮41和第二过渡链轮43后,另一端固定有配重块45。所述的第一过渡链轮42、驱动链轮41和第二过渡链轮43整体呈V字形排布,如此,各个链轮与链条44的有效啮合包角大于120°,确保了啮合的可靠性。
作为优选的,所述的配重块45整体为方形,其设置在所述支撑框架10的内部,确保了整体结构的紧凑性;以及,在所述支撑框架10的内侧四角处分别设有导向角钢105,四个导向角钢105的侧边均贴靠在支撑框架10四角的对应立柱上,进而围合成上下贯通且四周导向限位的移动空间供配重块45上下移动,确保了配重块45移动的稳定性。
本实用新型中,结合图4所示,所述伸缩臂53的作用在于叉起载车托架30,所述的伸缩臂53为方形杆件,其上侧杆身和下侧杆身上均设有导轨532,且该导轨532与设置在伸缩臂套52内的滑套521构成导向限位配合,如此,确保了伸缩臂53相对伸缩臂套52往复移动时的稳定可靠。作为第三驱动源54驱动伸缩臂53移动的一种具体的实施方式,所述第三驱动源54为驱动电机,其输出轴上设有一齿轮541,且该齿轮541与设置在伸缩臂53上并沿其长度方向延伸布置的齿条533相啮合。
本实用新型中,所述载车托架30的作用在于托撑小车,作为该载车托架30 的一种具体的布置方式,如图5所示,所述的载车托架30包括底板31及其一侧向上延伸布置的挂载板32,所述挂载板32的上端设有限位板33,所述的限位板33与挂载板32形成端面为T型结构供所述伸缩臂53端部的U型插口531 镶嵌配合;所述挂载板32远离底板31的一侧向外凸伸形成挂扣板321,所述的挂扣板321挂扣在所述的挂钩20上用于承载所述载车托架30。
进一步的,本实用新型中,所述底板31临近支撑框架10的一侧设有若干间隔布置的万向球轴承34,且在伸缩臂53插挑载车托架30使其旋转、下降并挂靠至所述的挂钩20时,所述的万向球轴承34与设置在支撑框架10上水平向布置的挡板17抵靠配合。如此,在具体的入库或出库过程中,当第二驱动源51 驱动伸缩臂套52进行转动,调整载车托架30的相对方向,待载车托架30的长度方向调整至与第一侧框101或第二侧框102所在面相平行时,该载车托架30 的侧部即可利用该万向球轴承34与挡板17配合,避免了载车托架30过重且存在的惯性对支撑框架10造成损伤,以及在第一驱动源40驱动升降转台50稍下降,使载车托架30完全承载在挂钩20的过程中,万向球轴承34与挡板17配合,确保了移动的稳定性。
本实用新型中,为了提高载车托架30挂载的强度,所述挂载板32的旁侧分别设有斜向布置的加强板35,所述加强板35的下端连接至底板31的侧边。
本实用新型提供的树状升降旋转伸缩式立体车库,所述的第一驱动源40利用链条44牵引升降转台50在高度方向进行往复移动,实现车辆的入库和出库作业,为了进一步防止链条44断裂时,该升降转台50发生坠落,本实用新型还提供了一种防坠落装置,具体的,结合图7、8所示,所述的树状升降旋转伸缩式立体车库还包括有卡齿轨道18、闭锁块60和扭簧70,所述的卡齿轨道18 设置在所述的第三侧框103上并沿其高度方向延伸布置,所述的卡齿轨道18上设有均匀间隔布置的齿块181;所述的闭锁块60通过连接销轴61可转动的布置在所述升降转台50上,所述闭锁块60的上端与链条44固定连接;所述的扭簧 70设置在升降转台50上,所述扭簧70的一端抵靠在位于升降转台50上的扭力弹簧固定凸块56上,另一端抵靠在所述闭锁块60远离卡齿轨道18的一侧下端;所述的链条44牵拉绷紧时,闭锁块60与卡齿轨道18临近间隔,且在链条44 断裂松弛后,所述扭簧70提供弹力驱使所述的闭锁块60转动并卡在相邻的齿块181之间。
在正常的牵拉提升和下降过程中,链条44拉紧闭锁块60使其下端压紧设置在升降转台50上的扭簧70,扭簧70受压,闭锁块60与卡齿轨道18处于相对平行且互不接触的位置。当链条44突然发生断裂时,闭锁块60的上方失去拉力,下端的扭簧70的弹力驱使闭锁块60发生转动并恰好卡在相邻的齿块181 之间,如此,升降转台50停止下落。本实用新型提供的该防坠落装置为纯机械结构,简单可靠,可确保链条44发生断裂时,升降转台50能及时卡住,避免发生坠落事故。
如图9所示为本实用新型提供的一种树状升降旋转伸缩式立体车库的示意图,该立体车库设置有11层左右对称布置的挂钩,利用设置在邻侧的升降转台实现不同高度车辆的入库与出库,车辆的转移效率高;此外,整个立体车库在地面上的占地面积可控制在3m2以内,极大的节省了空间。
以上显示和描述了本实用新型的基本原理、主要特征和本实用新型的特点。本行业的技术人员应该了解,本实用新型不受上述实施例的限制,上述实施例和说明书中描述的只是说明本实用新型的原理,在不脱离本实用新型精神和范围的前提下,本实用新型还会有各种变化和改进,这些变化和改进都落入要求保护的本实用新型的范围内。本实用新型要求保护的范围由所附的权利要求书及其等效物界定。
Claims (10)
1.一种树状升降旋转伸缩式立体车库,其特征在于,包括:
支撑框架(10),其具有相对布置的第一侧框(101)和第二侧框(102),以及位于第一侧框(101)和第二侧框(102)邻侧的第三侧框(103);
挂钩(20),其布置在所述的第一侧框(101)和第二侧框(102)上,且沿所述支撑框架(10)的高度方向间隔布置有多个,所述的挂钩(20)上挂靠有载车托架(30);
第一驱动源(40),设置于所述支撑框架(10)上,用于提供动力;
升降转台(50),可移动的设置在所述第三侧框(103)上,所述第一驱动源(40)可驱动所述的升降转台(50)沿支撑框架(10)上升或下降;
第二驱动源(51),设置在所述升降转台(50)上;
伸缩臂套(52),可转动的设置在所述升降转台(50)上,所述的第二驱动源(51)可驱动所述伸缩臂套(52)转动至与所述的第一侧框(101)或第二侧框(102)所在面平行;
伸缩臂(53),其插置在所述的伸缩臂套(52)内且在所述伸缩臂(53)的两端分别设有U型插口(531),所述的伸缩臂套(52)上设有第三驱动源(54),且该第三驱动源(54)可驱动伸缩臂(53)相对伸缩臂套(52)移动并带动载车托架(30)移动至所述挂钩(20)的上方。
2.根据权利要求1所述的树状升降旋转伸缩式立体车库,其特征在于,所述的支撑框架(10)包括两平行间隔布置的第一立柱(11)和第二立柱(12),所述的第一立柱(11)和第二立柱(12)沿纵深方向间隔布置有两组,两组第一立柱(11)和第二立柱(12)的上端之间设有横梁(13),相邻的第一立柱(11)之间、第二立柱(12)之间,以及第一立柱(11)和第二立柱(12)之间均设有斜拉杆(14)和/或水平拉杆(15)。
3.根据权利要求1所述的树状升降旋转伸缩式立体车库,其特征在于,所述的第三侧框(103)上设有沿其高度方向延伸的框架卡槽(104),所述升降转台(50)的两侧设有导向轮(55),所述的导向轮(55)贴靠在所述框架卡槽(104)的槽壁上并沿所述框架卡槽(104)限定的方向移动。
4.根据权利要求3所述的树状升降旋转伸缩式立体车库,其特征在于,位于第三侧框(103)的外侧设有沿高度方向平行间隔布置的两根角型钢(16),两根角型钢(16)分别与第三侧框(103)围合形成开口指向相向的两个框架卡槽(104),所述升降转台(50)的两侧均设有横向导向轮(551)和纵向导向轮(552),位于升降转台(50)两侧的横向导向轮(551)分别贴靠在两根角型钢(16)上,位于升降转台(50)两侧的纵向导向轮(552)分别贴靠在角型钢(16)和第三侧框(103)上。
5.根据权利要求1所述的树状升降旋转伸缩式立体车库,其特征在于,所述的第一驱动源(40)为升降驱动电机,其固定在所述支撑框架(10)的上端,所述升降驱动电机的输出端上设有驱动链轮(41),位于驱动链轮(41)的上方两侧分别设置第一过渡链轮(42)和第二过渡链轮(43),链条(44)的一端固定在升降转台(50)上,且在依次啮合第一过渡链轮(42)、驱动链轮(41)和第二过渡链轮(43)后,另一端固定有配重块(45)。
6.根据权利要求1所述的树状升降旋转伸缩式立体车库,其特征在于,所述的伸缩臂(53)为方形杆件,其上侧杆身和下侧杆身上均设有导轨(532),且该导轨(532)与设置在伸缩臂套(52)内的滑套(521)构成导向限位配合,
所述第三驱动源(54)为驱动电机,其输出轴上设有一齿轮(541),且该齿轮(541)与设置在伸缩臂(53)上并沿其长度方向延伸布置的齿条(533)相啮合。
7.根据权利要求1所述的树状升降旋转伸缩式立体车库,其特征在于,所述的载车托架(30)包括底板(31)及其一侧向上延伸布置的挂载板(32),所述挂载板(32)的上端设有限位板(33),所述的限位板(33)与挂载板(32)形成端面为T型结构供所述伸缩臂(53)端部的U型插口(531)镶嵌配合;
所述挂载板(32)远离底板(31)的一侧向外凸伸形成挂扣板(321),所述的挂扣板(321)挂扣在所述的挂钩(20)上用于承载所述载车托架(30)。
8.根据权利要求7所述的树状升降旋转伸缩式立体车库,其特征在于,所述底板(31)临近支撑框架(10)的一侧设有若干间隔布置的万向球轴承(34),且在伸缩臂(53)插挑载车托架(30)使其旋转、下降并挂靠至所述的挂钩(20)时,所述的万向球轴承(34)与设置在支撑框架(10)上水平向布置的挡板(17)抵靠配合。
9.根据权利要求7所述的树状升降旋转伸缩式立体车库,其特征在于,所述挂载板(32)的旁侧分别设有斜向布置的加强板(35),所述加强板(35)的下端连接至底板(31)的侧边。
10.根据权利要求1所述的树状升降旋转伸缩式立体车库,其特征在于,还包括:
卡齿轨道(18),设置在所述的第三侧框(103)上并沿其高度方向延伸布置,所述的卡齿轨道(18)上设有均匀间隔布置的齿块(181);
闭锁块(60),其通过连接销轴(61)可转动的布置在所述升降转台(50)上,所述闭锁块(60)的上端与链条(44)固定连接;
扭簧(70),设置在升降转台(50)上,所述扭簧(70)的一端抵靠在位于升降转台(50)上的扭力弹簧固定凸块(56)上,另一端抵靠在所述闭锁块(60)远离卡齿轨道(18)的一侧下端;
其中,所述的链条(44)牵拉绷紧时,闭锁块(60)与卡齿轨道(18)临近间隔,且在链条(44)断裂松弛后,所述扭簧(70)提供弹力驱使所述的闭锁块(60)转动并卡在相邻的齿块(181)之间。
Priority Applications (1)
| Application Number | Priority Date | Filing Date | Title |
|---|---|---|---|
| CN201922126775.4U CN211572789U (zh) | 2019-11-29 | 2019-11-29 | 一种树状升降旋转伸缩式立体车库 |
Applications Claiming Priority (1)
| Application Number | Priority Date | Filing Date | Title |
|---|---|---|---|
| CN201922126775.4U CN211572789U (zh) | 2019-11-29 | 2019-11-29 | 一种树状升降旋转伸缩式立体车库 |
Publications (1)
| Publication Number | Publication Date |
|---|---|
| CN211572789U true CN211572789U (zh) | 2020-09-25 |
Family
ID=72532466
Family Applications (1)
| Application Number | Title | Priority Date | Filing Date |
|---|---|---|---|
| CN201922126775.4U Expired - Fee Related CN211572789U (zh) | 2019-11-29 | 2019-11-29 | 一种树状升降旋转伸缩式立体车库 |
Country Status (1)
| Country | Link |
|---|---|
| CN (1) | CN211572789U (zh) |
-
2019
- 2019-11-29 CN CN201922126775.4U patent/CN211572789U/zh not_active Expired - Fee Related
Similar Documents
| Publication | Publication Date | Title |
|---|---|---|
| CN107386737B (zh) | 回转式梳齿升降搬运器、立体停车设备及存取车辆方法 | |
| CN103669943B (zh) | 一种立体车库及其存取车方法 | |
| CN201770447U (zh) | 双耳式升降机 | |
| CN107989425B (zh) | 一种侧向立体车库 | |
| CN111301359A (zh) | 用于车辆换电的前后轮举升装置、换电站 | |
| US2876913A (en) | Garaging structure | |
| CN211572796U (zh) | 树状升降旋转伸缩式立体车库的滑轨式停靠结构 | |
| CN206859785U (zh) | 一种用于立体车库的载车升降系统 | |
| CN211572789U (zh) | 一种树状升降旋转伸缩式立体车库 | |
| CN110847658A (zh) | 一种树状升降旋转伸缩式立体车库 | |
| CN105507632A (zh) | 双井道垂直升降车库 | |
| CN211572797U (zh) | 树状升降旋转伸缩式立体车库的挂座式停靠结构 | |
| CN108533028A (zh) | 转轮式立体停车库 | |
| CN211572790U (zh) | 一种树状升降旋转式立体车库 | |
| CN116216542B (zh) | 一种光伏板铺装台车 | |
| CN110847663A (zh) | 带有同步旋转托架的立体车库及其泊车方法 | |
| CN207194564U (zh) | 一种客车立体车库 | |
| CN110847653A (zh) | 一种树状升降旋转伸缩式自行车立体车库 | |
| CN211572791U (zh) | 一种树状升降旋转臂式立体车库 | |
| CN216921566U (zh) | 搬运系统及立体车库 | |
| CN211572778U (zh) | 一种树状升降旋转伸缩式自行车立体车库 | |
| CN110847659A (zh) | 一种树状升降旋转臂式立体车库 | |
| CN108979234A (zh) | 一种桥式无避让立体车库 | |
| CN209799487U (zh) | 电动自行车停车库 | |
| CN211572792U (zh) | 一种树状升降u型滑轨式立体车库 |
Legal Events
| Date | Code | Title | Description |
|---|---|---|---|
| GR01 | Patent grant | ||
| GR01 | Patent grant | ||
| CF01 | Termination of patent right due to non-payment of annual fee | ||
| CF01 | Termination of patent right due to non-payment of annual fee |
Granted publication date: 20200925 |