CN211444689U - 一种基于桥梁节段提升的通用吊具 - Google Patents

一种基于桥梁节段提升的通用吊具 Download PDF

Info

Publication number
CN211444689U
CN211444689U CN201921958213.XU CN201921958213U CN211444689U CN 211444689 U CN211444689 U CN 211444689U CN 201921958213 U CN201921958213 U CN 201921958213U CN 211444689 U CN211444689 U CN 211444689U
Authority
CN
China
Prior art keywords
lifting
balance beam
bridge
pole
hinge seat
Prior art date
Legal status (The legal status is an assumption and is not a legal conclusion. Google has not performed a legal analysis and makes no representation as to the accuracy of the status listed.)
Expired - Fee Related
Application number
CN201921958213.XU
Other languages
English (en)
Inventor
李耀成
Current Assignee (The listed assignees may be inaccurate. Google has not performed a legal analysis and makes no representation or warranty as to the accuracy of the list.)
HUBEI E-NAN HOISTING AND CONVEYING MACHINERY CO LTD
Original Assignee
HUBEI E-NAN HOISTING AND CONVEYING MACHINERY CO LTD
Priority date (The priority date is an assumption and is not a legal conclusion. Google has not performed a legal analysis and makes no representation as to the accuracy of the date listed.)
Filing date
Publication date
Application filed by HUBEI E-NAN HOISTING AND CONVEYING MACHINERY CO LTD filed Critical HUBEI E-NAN HOISTING AND CONVEYING MACHINERY CO LTD
Priority to CN201921958213.XU priority Critical patent/CN211444689U/zh
Application granted granted Critical
Publication of CN211444689U publication Critical patent/CN211444689U/zh
Expired - Fee Related legal-status Critical Current
Anticipated expiration legal-status Critical

Links

Images

Landscapes

  • Bridges Or Land Bridges (AREA)

Abstract

本实用新型提供了一种基于桥梁节段提升的通用吊具,包括吊具包括大扁担平衡梁、铰座、配重铁、十字吊带、小扁担平衡梁和双孔短吊耳板;吊具通过销轴一连接在架桥机的起升滑轮组上;其中销轴一置于大扁担平衡梁的重心处;铰座置于大扁担平衡梁的两端;小扁担平衡梁通过销轴二安装在所述铰座上,十字吊带采用用两块厚钢板十字相交焊接,分别与小扁担平衡梁和短双孔吊耳板用连接销轴三和销轴四连接;短双孔联接耳板与桥梁节段上的吊耳联接。本实用新型方案的特点起升滑轮组的吊点不动,通过调节铰座在大扁担平衡安装位置来改变两端吊点中心线的力臂长度,始终使滑轮组吊点处于梁段重心上,使起吊梁段总是处于水平状态,即按照桥梁设计吊点起吊。

Description

一种基于桥梁节段提升的通用吊具
技术领域
本实用新型属于桥梁建造施工设备设计制造领域,具体涉及一种桥梁节段全平衡低高度安全吊具。
背景技术
悬索桥桥面一般采用分段焊接或高强螺栓联接的方式连成整桥,节段梁的吊装一般采用桥面吊机提升的方式进行起吊,节段梁重量通常重量一般在200t~700t,节段梁吊具是桥面吊机的最直接最重要受力部件,节段梁的所有重量全部通过吊具起吊。桥梁节段长一般为8~15m, 桥面宽一般为16~34m,属大型重要构件吊装,桥梁节段的吊点有2组共8个吊耳。吊具原来采用钢丝绳缠挂式或螺杆吊杆式,铰耳销轴与桥梁节段联接,钢丝绳缠挂存在扎编长度不完全相同、受力不同时伸长量不同、不易保养、安全隐患多、重复使用寿命短、不能实现全平衡受力不直观等缺点;螺杆吊杆式要采用三角架的结构型式来实现调节,吊具空间尺寸大、螺杆螺母、不易保养、安全隐患多、不能实现全平衡受力不直观等缺点等缺点。特别是在提升起吊悬索桥跨中的梁段时,由于承重悬索的弧曲线处于最低弧段,要求吊具高度尺寸尽量小才能把节梁提升到位。
市场上急需一种通用吊具来满足大型重件吊装工程的要求。
发明内容
本实用新型一种全平衡、低高度、受力明确、安全可靠提升、操作简易、适应多种梁段的通用吊具。
一种基于桥梁节段提升的通用吊具,包括吊具包括大扁担平衡梁、铰座、十字吊带、小扁担平衡梁和双孔短吊耳板;吊具通过销轴一连接在架桥机的起升滑轮组上;其中销轴一置于大扁担平衡梁的重心处;铰座置于所述大扁担平衡梁的两端;小扁担平衡梁通过销轴二安装在铰座上,十字吊带采用用两块厚钢板十字相交焊接,分别与所述小扁担平衡梁和短双孔吊耳板用连接销轴三和销轴四连接;短双孔联接耳板与桥梁节段上的吊耳联接。
进一步地,上述大扁担平衡梁上配有配重铁。
本方案的特点起升滑轮组的吊点不动,通过调节铰座在大扁担平衡安装位置来改变两端吊点中心线的力臂长度,始终使滑轮组吊点处于梁段重心上,使起吊梁段总是处于水平状态,即按照桥梁设计吊点起吊;
通过小扁担平衡梁的摆动实现消除左右起升机构的不同步而形成的梁段倾斜造成左右侧各四个吊耳受力不相同的危险工况;
通过十字铰耳吊带的连接和双孔联接耳板联接实现了梁段纵向自由度的释放,消除了梁段前后各四个吊耳受力不相同的危险工况。
即通过水平铰和垂直铰释放了最终吊点的自由度,完全实现了每个吊点无过定位现象,整个起吊系统处于完自平衡状态,使吊点处于理想受力状态,消除了吊装过程中由于受力不均匀的隐蔽危险因素。
附图说明
图1是吊具抬吊桥梁节段吊装工况结构示意图;
图2是图1的A向结构示意图;
图3是吊具结构的结构示意图;
图4是图3的左面视图;
图5是图3中的小扁担平衡梁和大扁担平衡梁的俯面视图;
图6是十字吊带的结构示意图;
图7是图6的左面视图;
图8是铰座结构的结构示意图;
图9是图8的剖面视图;
图10是图8的俯视剖面视图;
图11是大扁担平衡梁和铰座的结构示意图;
图12是图11的大扁担平衡梁的视剖面视图;
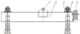
图中说明:1-销轴一;2-大扁担平衡梁;3-铰座;4-螺栓;5-配重铁;6-十字吊带;7-小扁担平衡梁;8-销轴二;9-销轴三;10-销轴四;11-双孔短吊耳板;12-长形孔;13-桥梁梁段;14-吊具;15-滑轮组。
具体实施方式
下面结合附图对本实用新型作进一步的说明。
参见图1,为2台吊具抬吊桥梁节段吊装工况
吊具总成通过销轴一1连接在架桥机的起升滑轮组15上,大扁担平衡梁2作为主要承载构件,铰座3通螺栓4固定在大扁担平衡梁2上,2个铰座3的底板上铣有长形孔12,长形孔12的长度大于大扁担平衡梁2上每2个螺栓孔之间的中心距,2个铰座3可以沿大扁担平衡梁2无级移动从而调整2个节铰座3到销轴1的中心距(即力臂),来实现销轴一1的位置处于梁段重心线上。(也可相对地这样说:2个铰座3不动,大扁担平衡梁2左右移动实现销轴一1处于梁段重心线上)。即起吊过程中,起吊物桥梁段始终处于水平状态。
结合参见图1-2的桥梁吊装工况和图3-5的吊具结构,桥梁吊装工况和最后一级铰连接为两个销轴四10和短双孔吊耳板11,短双孔吊耳板11可以作微小摆动来实现调节纵向坡度。(桥的纵向坡度一般为1.5~3.5%)
参见图3、4、5,吊具包括大扁担平衡梁2、铰座3、配重铁5、十字吊带6、小扁担平衡梁7和双孔短吊耳板11等。
2个吊具抬吊桥梁段时,存在两吊机不同步、梁段制造误差、吊具制造误差时,采用小扁担平衡梁7通过销轴8安装在铰座3上,用十字吊带6把小扁担平衡梁7和双孔短吊耳板11通过销轴10连接起来,双孔联接耳板11与梁段上的吊耳联接,小扁担平衡梁7的微小摆动自适应平衡,消除高差时对吊点受力不明确的影响,使吊耳受力明确,消除危险工况。
铰座3采用上置式安装方式不仅改善了铰座受力的模式,而且大大经缩短了吊具的总高,解决了提升起吊悬索桥跨中的梁段时受空间高度限制不能提升到位的问题。
参见图3吊具结构,配重铁5的数量增减,可以实现吊具在空载上长或下降时的本身平衡。
参见视图6、图7,十字吊带6采用用两块厚钢板十字相交焊接,分别与小扁担平衡梁7和短双孔吊耳板11用连接销轴三9和销轴四10连接,实现水平铰和垂直铰的转换,实破了一般联接只一个方向铰的固有模式。
参见图8、图9、图10、图11和图12,大扁担平衡梁2钻有螺栓孔13,铰座3上铣有长形孔12,长形孔12的长度大于大扁担平衡梁2螺栓孔13节距,铰座3可在大扁担平衡梁2上移动装配,用来适应吊装不同长度的桥梁梁段,吊具的通用性好。
本实用新型所设计的桥梁节段提升用自平衡低高度通用吊具完全不同以往吊具结构型式,选用了常见的综合性能好的材料,使吊具受力状态处于理想状态,消除了使用过程中安全危害因素,方便使用操作,通用性好、安全可靠。
以上所术本桥梁节段提升用自平衡低高度通用吊具为优先实施方式,应当指出,在不脱离本实用新型原理的前提下,还可以做出若干改进和润饰,这些改进和润饰也视为本实用新型的保护范围。

Claims (2)

1.一种基于桥梁节段提升的通用吊具,其特征在于,包括吊具包括大扁担平衡梁、铰座、十字吊带、小扁担平衡梁和双孔短吊耳板;
所述吊具通过销轴一连接在架桥机的起升滑轮组上;其中所述销轴一置于所述大扁担平衡梁的重心处;
所述铰座置于所述大扁担平衡梁的两端;所述小扁担平衡梁通过销轴二安装在所述铰座上,
所述十字吊带采用两块厚钢板十字相交焊接,分别与所述小扁担平衡梁和短双孔吊耳板用连接销轴三和销轴四连接;所述短双孔联接耳板与桥梁节段上的吊耳联接。
2.如权利要求1所述通用吊具,其特征在于,所述大扁担平衡梁上配有配重铁。
CN201921958213.XU 2019-11-14 2019-11-14 一种基于桥梁节段提升的通用吊具 Expired - Fee Related CN211444689U (zh)

Priority Applications (1)

Application Number Priority Date Filing Date Title
CN201921958213.XU CN211444689U (zh) 2019-11-14 2019-11-14 一种基于桥梁节段提升的通用吊具

Applications Claiming Priority (1)

Application Number Priority Date Filing Date Title
CN201921958213.XU CN211444689U (zh) 2019-11-14 2019-11-14 一种基于桥梁节段提升的通用吊具

Publications (1)

Publication Number Publication Date
CN211444689U true CN211444689U (zh) 2020-09-08

Family

ID=72304345

Family Applications (1)

Application Number Title Priority Date Filing Date
CN201921958213.XU Expired - Fee Related CN211444689U (zh) 2019-11-14 2019-11-14 一种基于桥梁节段提升的通用吊具

Country Status (1)

Country Link
CN (1) CN211444689U (zh)

Cited By (1)

* Cited by examiner, † Cited by third party
Publication number Priority date Publication date Assignee Title
CN110790121A (zh) * 2019-11-14 2020-02-14 湖北鄂南起重运输机械有限公司 一种基于桥梁节段提升的通用吊具

Cited By (1)

* Cited by examiner, † Cited by third party
Publication number Priority date Publication date Assignee Title
CN110790121A (zh) * 2019-11-14 2020-02-14 湖北鄂南起重运输机械有限公司 一种基于桥梁节段提升的通用吊具

Similar Documents

Publication Publication Date Title
CN101717035B (zh) 钢箱梁吊装专用吊具
CN110790121A (zh) 一种基于桥梁节段提升的通用吊具
CN211444689U (zh) 一种基于桥梁节段提升的通用吊具
CN116216541A (zh) 一种钢筋笼吊装装置
CN115783975A (zh) 一种燃气轮机水平吊具
CN214879790U (zh) 一种动臂塔式起重机
CN100567129C (zh) 一种吊机起升装置
CN218560944U (zh) 一种适用于动臂塔吊的可变配重结构
CN116145937A (zh) 一种大型储罐外壁全方位作业平台
CN213842870U (zh) 一种吊耳试验加载夹具
CN110846463A (zh) 一种特大型转炉炉壳整体吊装方法
CN211521406U (zh) 一种塔机用可调节配重
CN204778268U (zh) 一种用于大吨位预制箱梁吊装的专用吊具
CN105035977B (zh) 腰绳装置、臂架支承装置和起重机
CN115010010B (zh) 一种桥式卸船机的后大梁与机房组件整体吊装方法
CN219885532U (zh) 平衡重用分级解锁机构及分级脱落挂装装置
CN113716455B (zh) 一种起重机自动脱钩装置
CN207419427U (zh) 一种具有跨平台工作吊车的海洋平台
CN213202180U (zh) 转台、移动式配重机构及起重机
CN104386599B (zh) 一种用于塔式起重机的平衡重移动和卡位装置
CN213085209U (zh) 一种平衡梁式构件吊装装置
CN100354478C (zh) 自动平衡式强夯机
CN2880918Y (zh) 单立柱自动平衡式强夯机
CN217350371U (zh) 一种用于起吊大吨位梁的辅助装置
CN222630856U (zh) 一种可调节的吊具

Legal Events

Date Code Title Description
GR01 Patent grant
GR01 Patent grant
CF01 Termination of patent right due to non-payment of annual fee
CF01 Termination of patent right due to non-payment of annual fee

Granted publication date: 20200908