CN211174522U - 一种具备降噪功能的空压机 - Google Patents
一种具备降噪功能的空压机 Download PDFInfo
- Publication number
- CN211174522U CN211174522U CN201922445338.9U CN201922445338U CN211174522U CN 211174522 U CN211174522 U CN 211174522U CN 201922445338 U CN201922445338 U CN 201922445338U CN 211174522 U CN211174522 U CN 211174522U
- Authority
- CN
- China
- Prior art keywords
- sound insulation
- air compressor
- base
- box
- insulation box
- Prior art date
- Legal status (The legal status is an assumption and is not a legal conclusion. Google has not performed a legal analysis and makes no representation as to the accuracy of the status listed.)
- Expired - Fee Related
Links
- 238000009413 insulation Methods 0.000 claims abstract description 52
- 229920000742 Cotton Polymers 0.000 claims abstract description 12
- 238000010521 absorption reaction Methods 0.000 claims abstract description 11
- 230000035939 shock Effects 0.000 claims abstract description 11
- 238000013016 damping Methods 0.000 claims description 6
- 230000002238 attenuated effect Effects 0.000 description 1
- 230000009286 beneficial effect Effects 0.000 description 1
- 238000010276 construction Methods 0.000 description 1
- 238000005516 engineering process Methods 0.000 description 1
- 238000000034 method Methods 0.000 description 1
- 230000004048 modification Effects 0.000 description 1
- 238000012986 modification Methods 0.000 description 1
- XLYOFNOQVPJJNP-UHFFFAOYSA-N water Substances O XLYOFNOQVPJJNP-UHFFFAOYSA-N 0.000 description 1
Images
Landscapes
- Compressor (AREA)
- Structures Of Non-Positive Displacement Pumps (AREA)
Abstract
本实用新型涉及空压机技术领域,尤其是一种具备降噪功能的空压机,包括隔音机构和减震机构,所述减震机构底部安装在底座上表面,所述减震机构顶端安装在空压机底部,所述隔音机构安装在所述底座上表面,且所述隔音机构架设在所述空压机外界;所述隔音机构包括隔音箱、蜂窝板和隔音棉,所述隔音箱安装在所述底座上表面,所述空压机位于所述隔音箱内部,所述隔音棉衬在所述隔音箱内部,所述蜂窝板胶粘在所述隔音箱外部侧壁上,空压机设置在隔音箱内,在空压机工作时产生的噪音部分首先会被隔音箱内部的隔音棉吸收,剩余部分会被隔音箱削弱,传递到外界的噪音也会被蜂窝板再一次的处理,层层处理后,人们能感受的噪音会大大降低,减轻噪音污染。
Description
技术领域
本实用新型涉及空压机技术领域,尤其涉及一种具备降噪功能的空压机。
背景技术
空气压缩机是一种用以压缩气体的设备。空气压缩机与水泵构造类似。大多数空气压缩机是往复活塞式,旋转叶片或旋转螺杆。离心式压缩机是非常大的应用程序。而空气压缩机就是提供气源动力是气动系统的核心设备机电引气源装置中的主体,它是将机械能转换成气体压力能的装置,是压缩空气的气压发生装置。
但现有的空压机运行时,会产生巨大的噪音,现有的空压器的外壳无法有效的减弱噪音。
实用新型内容
本实用新型的目的是为了解决现有技术中存在空压机运行时噪音大的缺点,而提出的一种具备降噪功能的空压机。
为了实现上述目的,本实用新型采用了如下技术方案:
设计一种具备降噪功能的空压机,包括隔音机构和减震机构,所述减震机构底部安装在底座上表面,所述减震机构顶端安装在空压机底部,所述隔音机构安装在所述底座上表面,且所述隔音机构架设在所述空压机外界;
所述隔音机构包括隔音箱、蜂窝板和隔音棉,所述隔音箱安装在所述底座上表面,所述空压机位于所述隔音箱内部,所述隔音棉衬在所述隔音箱内部,所述蜂窝板胶粘在所述隔音箱外部侧壁上;
所述减震机构包括橡胶底座、滑杆、减震弹簧和橡胶块,所述橡胶底座顶部呈弧形,所述橡胶底座底部两侧竖直开设有滑槽,所述滑杆顶端竖直插装在所述滑槽内,所述橡胶块安装在所述滑杆底端,所述橡胶块底面胶粘在所述底座上表面,所述减震弹簧套设在所述滑槽和所述橡胶块之间的所述滑杆上,所述空压机放置在所述橡胶底座上。
优选的,所述减震弹簧始终处于压缩状态。
优选的,所述底座底面两侧均铰接在活动杆顶端,所述活动杆底端安装有移动轮,所述活动杆中部通过伸缩机构与底座底面连接。
优选的,所述伸缩机构包括第一螺纹杆、内螺纹管和第二螺纹杆,所述第一螺纹杆顶端铰接在所述底座底面上,所述第一螺纹杆底端螺接在所述内螺纹管顶端,所述第二螺纹杆底端铰接在所述活动杆中部,所述第二螺纹杆顶端螺接在所述内螺纹管底端。
本实用新型提出的一种具备降噪功能的空压机,有益效果在于:该具备降噪功能的空压机空压机设置在隔音箱内,在空压机工作时产生的噪音部分首先会被隔音箱内部的隔音棉吸收,剩余部分会被隔音箱削弱,传递到外界的噪音也会被蜂窝板再一次的处理,层层处理后,人们能感受的噪音会大大降低,减轻噪音污染。
附图说明
图1为本实用新型提出的一种具备降噪功能的空压机的主视图。
图2为本实用新型提出的一种具备降噪功能的空压机的侧视图。
图3为本实用新型提出的一种具备降噪功能的空压机的A处放大图。
图4为本实用新型提出的一种具备降噪功能的空压机的B处放大图。
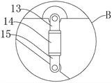
图中:底座1、隔音箱2、空压机3、蜂窝板4、隔音棉5、活动杆6、移动轮7、橡胶底座8、滑槽9、滑杆10、减震弹簧11、橡胶块12、第一螺纹杆13、内螺纹管14、第二螺纹杆15。
具体实施方式
下面将结合本实用新型实施例中的附图,对本实用新型实施例中的技术方案进行清楚、完整地描述,显然,所描述的实施例仅仅是本实用新型一部分实施例,而不是全部的实施例。
实施例1
参照图1-4,一种具备降噪功能的空压机,包括隔音机构和减震机构,减震机构底部安装在底座1上表面,减震机构顶端安装在空压机3底部,隔音机构安装在底座1上表面,且隔音机构架设在空压机3外界;
隔音机构包括隔音箱2、蜂窝板4和隔音棉5,隔音箱2安装在底座1上表面,空压机3位于隔音箱2内部,隔音棉5衬在隔音箱2内部,蜂窝板4胶粘在隔音箱2外部侧壁上;空压机3设置在隔音箱2内,在空压机3工作时产生的噪音部分首先会被隔音箱2内部的隔音棉5吸收,剩余部分会被隔音箱2削弱,传递到外界的噪音也会被蜂窝板4再一次的处理,层层处理后,人们能感受的噪音会大大降低,减轻噪音污染,
减震机构包括橡胶底座8、滑杆10、减震弹簧11和橡胶块12,橡胶底座8顶部呈弧形,橡胶底座8底部两侧竖直开设有滑槽9,滑杆10顶端竖直插装在滑槽9内,橡胶块12安装在滑杆10底端,橡胶块12底面胶粘在底座1上表面,减震弹簧11套设在滑槽9和橡胶块12之间的滑杆10上,空压机3放置在橡胶底座8上,减震弹簧11始终处于压缩状态。减震机构用于对空压机3进行减震保护,空压机3运行时产生的震动经橡胶底座8吸收、减震弹簧11缓冲和橡胶块的吸收后,震动被大大减轻,不仅可以降低噪音污染,也能够防止空压机3因磨损而导致损伤。
实施例2
在上述实施例1的基础上,本实施例如图1-2所示,在底座1底面两侧均铰接在活动杆6顶端,活动杆6底端安装有移动轮7,活动杆6中部通过伸缩机构与底座1底面连接。移动轮7便于对空压机3的移动和运输。
实施例3
在上述实施2的基础上,本实施例伸缩机构包括第一螺纹杆13、内螺纹管14和第二螺纹杆15,第一螺纹杆13顶端铰接在底座1底面上,第一螺纹杆13底端螺接在内螺纹管14顶端,第二螺纹杆15底端铰接在活动杆6中部,第二螺纹杆15顶端螺接在内螺纹管14底端,伸缩机构能够调节底座1的高度,从而使空压机3能够适应不同高度的需求。
以上所述,仅为本实用新型较佳的具体实施方式,但本实用新型的保护范围并不局限于此,任何熟悉本技术领域的技术人员在本实用新型揭露的技术范围内,根据本实用新型的技术方案及其实用新型构思加以等同替换或改变,都应涵盖在本实用新型的保护范围之内。
Claims (4)
1.一种具备降噪功能的空压机,其特征在于,包括隔音机构和减震机构,所述减震机构底部安装在底座(1)上表面,所述减震机构顶端安装在空压机(3)底部,所述隔音机构安装在所述底座(1)上表面,且所述隔音机构架设在所述空压机(3)外界;所述隔音机构包括隔音箱(2)、蜂窝板(4)和隔音棉(5),所述隔音箱(2)安装在所述底座(1)上表面,所述空压机(3)位于所述隔音箱(2)内部,所述隔音棉(5)衬在所述隔音箱(2)内部,所述蜂窝板(4)胶粘在所述隔音箱(2)外部侧壁上;所述减震机构包括橡胶底座(8)、滑杆(10)、减震弹簧(11)和橡胶块(12),所述橡胶底座(8)顶部呈弧形,所述橡胶底座(8)底部两侧竖直开设有滑槽(9),所述滑杆(10)顶端竖直插装在所述滑槽(9)内,所述橡胶块(12)安装在所述滑杆(10)底端,所述橡胶块(12)底面胶粘在所述底座(1)上表面,所述减震弹簧(11)套设在所述滑槽(9)和所述橡胶块(12)之间的所述滑杆(10)上,所述空压机(3)放置在所述橡胶底座(8)上。
2.根据权利要求1所述的一种具备降噪功能的空压机,其特征在于,所述减震弹簧(11)始终处于压缩状态。
3.根据权利要求1所述的一种具备降噪功能的空压机,其特征在于,所述底座(1)底面两侧均铰接在活动杆(6)顶端,所述活动杆(6)底端安装有移动轮(7),所述活动杆(6)中部通过伸缩机构与底座(1)底面连接。
4.根据权利要求3所述的一种具备降噪功能的空压机,其特征在于,所述伸缩机构包括第一螺纹杆(13)、内螺纹管(14)和第二螺纹杆(15),所述第一螺纹杆(13)顶端铰接在所述底座(1)底面上,所述第一螺纹杆(13)底端螺接在所述内螺纹管(14)顶端,所述第二螺纹杆(15)底端铰接在所述活动杆(6)中部,所述第二螺纹杆(15)顶端螺接在所述内螺纹管(14)底端。
Priority Applications (1)
| Application Number | Priority Date | Filing Date | Title |
|---|---|---|---|
| CN201922445338.9U CN211174522U (zh) | 2019-12-29 | 2019-12-29 | 一种具备降噪功能的空压机 |
Applications Claiming Priority (1)
| Application Number | Priority Date | Filing Date | Title |
|---|---|---|---|
| CN201922445338.9U CN211174522U (zh) | 2019-12-29 | 2019-12-29 | 一种具备降噪功能的空压机 |
Publications (1)
| Publication Number | Publication Date |
|---|---|
| CN211174522U true CN211174522U (zh) | 2020-08-04 |
Family
ID=71802785
Family Applications (1)
| Application Number | Title | Priority Date | Filing Date |
|---|---|---|---|
| CN201922445338.9U Expired - Fee Related CN211174522U (zh) | 2019-12-29 | 2019-12-29 | 一种具备降噪功能的空压机 |
Country Status (1)
| Country | Link |
|---|---|
| CN (1) | CN211174522U (zh) |
Cited By (3)
| Publication number | Priority date | Publication date | Assignee | Title |
|---|---|---|---|---|
| CN112459988A (zh) * | 2020-11-20 | 2021-03-09 | 浙江瑞昭科技股份有限公司 | 一种无油空压机 |
| CN113213570A (zh) * | 2021-06-07 | 2021-08-06 | 厦门嘉戎技术股份有限公司 | 一种具有减震降噪的集装箱式污水处理系统 |
| CN115565512A (zh) * | 2022-09-19 | 2023-01-03 | 珠海博杰电子股份有限公司 | 一种隔音箱 |
-
2019
- 2019-12-29 CN CN201922445338.9U patent/CN211174522U/zh not_active Expired - Fee Related
Cited By (3)
| Publication number | Priority date | Publication date | Assignee | Title |
|---|---|---|---|---|
| CN112459988A (zh) * | 2020-11-20 | 2021-03-09 | 浙江瑞昭科技股份有限公司 | 一种无油空压机 |
| CN113213570A (zh) * | 2021-06-07 | 2021-08-06 | 厦门嘉戎技术股份有限公司 | 一种具有减震降噪的集装箱式污水处理系统 |
| CN115565512A (zh) * | 2022-09-19 | 2023-01-03 | 珠海博杰电子股份有限公司 | 一种隔音箱 |
Similar Documents
| Publication | Publication Date | Title |
|---|---|---|
| CN211174522U (zh) | 一种具备降噪功能的空压机 | |
| CN212250460U (zh) | 一种具有防尘消音结构的罗茨真空泵 | |
| CN213838830U (zh) | 一种具有降噪功能的真空泵 | |
| CN215292845U (zh) | 一种具有降噪机构的水泵机组护板 | |
| CN206439164U (zh) | 一种静音节能全无油型医用空压机 | |
| CN215949774U (zh) | 一种空压机的喷塑排气降噪结构 | |
| CN206860743U (zh) | 一种建筑设施减震装置 | |
| CN211474375U (zh) | 一种空压机多层降噪装置 | |
| CN207729142U (zh) | 一种噪音处理用隔音减震装置 | |
| CN211874696U (zh) | 一种阀门生产用的空压机 | |
| CN115045867A (zh) | 一种用于节能鼓风机的减震降噪装置及其使用方法 | |
| CN211778731U (zh) | 一种减震降噪型空压机 | |
| CN211288023U (zh) | 一种带有降噪功能的新型压缩机 | |
| CN213451037U (zh) | 一种高效风机的过滤连接结构 | |
| CN218780550U (zh) | 一种隔音降噪防护装置 | |
| CN211737590U (zh) | 一种隧道风机用降噪辅助装置 | |
| CN207945061U (zh) | 一种机械式空气压缩机减振装置 | |
| CN217527587U (zh) | 一种锤式破碎机的减震降噪装置 | |
| CN219754760U (zh) | 一种环保耐用型空压机 | |
| CN112161150A (zh) | 一种用于空气压缩机的减震底座 | |
| CN220522750U (zh) | 一种无油空压机降噪减震装置 | |
| CN219570731U (zh) | 一种基于机械设备安装的可移动减震调节装置 | |
| CN221703924U (zh) | 一种便于降噪的空气压缩机 | |
| CN219242239U (zh) | 一种新型防爆风机 | |
| CN214036012U (zh) | 一种空气压缩机的防噪结构 |
Legal Events
| Date | Code | Title | Description |
|---|---|---|---|
| GR01 | Patent grant | ||
| GR01 | Patent grant | ||
| CF01 | Termination of patent right due to non-payment of annual fee | ||
| CF01 | Termination of patent right due to non-payment of annual fee |
Granted publication date: 20200804 |