CN210974983U - 一种棉纱初步定型用粗纱机 - Google Patents

一种棉纱初步定型用粗纱机 Download PDF

Info

Publication number
CN210974983U
CN210974983U CN201920846567.9U CN201920846567U CN210974983U CN 210974983 U CN210974983 U CN 210974983U CN 201920846567 U CN201920846567 U CN 201920846567U CN 210974983 U CN210974983 U CN 210974983U
Authority
CN
China
Prior art keywords
yarn
storage box
scraper
roving frame
preliminary setting
Prior art date
Legal status (The legal status is an assumption and is not a legal conclusion. Google has not performed a legal analysis and makes no representation as to the accuracy of the status listed.)
Expired - Fee Related
Application number
CN201920846567.9U
Other languages
English (en)
Inventor
刘金平
王金聚
Current Assignee (The listed assignees may be inaccurate. Google has not performed a legal analysis and makes no representation or warranty as to the accuracy of the list.)
Hebei Fuxin Textile Co ltd
Original Assignee
Hebei Fuxin Textile Co ltd
Priority date (The priority date is an assumption and is not a legal conclusion. Google has not performed a legal analysis and makes no representation as to the accuracy of the date listed.)
Filing date
Publication date
Application filed by Hebei Fuxin Textile Co ltd filed Critical Hebei Fuxin Textile Co ltd
Priority to CN201920846567.9U priority Critical patent/CN210974983U/zh
Application granted granted Critical
Publication of CN210974983U publication Critical patent/CN210974983U/zh
Expired - Fee Related legal-status Critical Current
Anticipated expiration legal-status Critical

Links

Images

Landscapes

  • Spinning Or Twisting Of Yarns (AREA)

Abstract

本实用新型公开了一种棉纱初步定型用粗纱机,包括纱辊、喂纱口、位于纱辊上侧的清理机构以及位于机体内中部的张紧力调节机构,所述清理机构包括刮刀,所述刮刀安装在承载盒下端面一侧,所述承载盒固定连接在纱辊上侧的机体内顶部,所述刮刀一侧的承载盒底部开设进气罩,所述进气罩上端安装输气管,所述输气管另一端与储料盒固定连接,所述储料盒安装在承载盒内底部一侧,所述储料盒内一侧安装过滤网,所述储料盒一侧表面安装风机;通过刮刀的设计,能够将纱辊上粘附的纱线纤维进行刮除,通过过滤网的设计,对纱线纤维进行阻挡,通过张紧力调节机构的设计,便于对纱线张紧力进行调节。

Description

一种棉纱初步定型用粗纱机
技术领域
本实用新型属于纺织技术领域,具体涉及一种棉纱初步定型用粗纱机。
背景技术
粗纱机,是把纤维条制成粗纱的纺纱机器。粗纱机主要作用是牵伸和加拈,并把粗纱卷绕成一定的卷装,以适应细纱机加工的要求,目前市面上的粗砂机仍存在各种各样的问题,难以满足实际生产的需求。
如授权公告号为CN208815200U的实用新型所公开的一种粗纱机,其能够实现纤维的收集,同时清理时避免外部粉尘进入,保证了洁净度,但是其无法对纱辊上的纤维进行清除,极易使纤维粘附在纱辊表面,影响纱线的加工,为此我们提出一种棉纱初步定型用粗纱机。
实用新型内容
本实用新型的目的在于提供一种棉纱初步定型用粗纱机,以解决上述背景技术中提出的无法对纱辊上的纤维进行清除,极易使纤维粘附在纱辊表面,影响纱线加工的问题。
为实现上述目的,本实用新型提供如下技术方案:一种棉纱初步定型用粗纱机,包括机体、纱辊、喂纱口、位于纱辊上侧的清理机构以及位于机体内中部的张紧力调节机构,所述清理机构包括刮刀,所述刮刀安装在承载盒下端面一侧,所述承载盒固定连接在纱辊上侧的机体内顶部,所述刮刀一侧的承载盒底部开设进气罩,所述进气罩上端安装输气管,所述输气管另一端与储料盒固定连接,所述储料盒安装在承载盒内底部一侧,所述储料盒内一侧安装过滤网,所述储料盒一侧表面安装风机。
优选的,所述张紧力调节机构包括张紧轮,所述张紧轮安装在承载轴上,所述承载轴安装在载架内,所述载架焊接固定在螺母座上,所述螺母座安装在滚珠丝杠上,所述滚珠丝杠转动连接在凹槽内,所述凹槽开设在机体内后侧表面上,所述滚珠丝杠下侧安装第二锥齿轮,所述第二锥齿轮与第一锥齿轮通过轮齿啮合,所述第一锥齿轮固定连接在转动杆前端,所述转动杆转动连接机体内后侧。
优选的,所述纱辊转动连接在机体内一侧,所述喂纱口镶嵌在机体内另一侧,所述机体另一侧镶嵌出纱口。
优选的,所述喂纱口与出纱口均设有三组以上,三组以上所述喂纱口等距排布在机体内一侧,三组以上所述出纱口等距排布在机体内另一侧,所述喂纱口与出纱口一一对应。
优选的,所述刮刀下端侧横截面为圆弧形,且刮刀下侧面与纱辊外侧表面相贴合。
优选的,所述过滤网与水平面呈75°夹角布置在储料盒内,且储料盒顶部安装清理门。
优选的,所述风机一端安装排风管,所述排风管另一端延伸至机体一侧外。
优选的,所述转动杆后端焊接手轮,所述手轮设置在机体后侧表面上。
优选的,所述载架前端焊接固定限位块,所述限位块滑动连接在限位槽内,所述限位槽开设在机体内前侧面上。
优选的,所述张紧轮设有三组以上,三组以上所述张紧轮均通过滚珠轴承与承载轴转动连接,且三组以上张紧轮规格相同。
与现有技术相比,本实用新型的有益效果是:
(1)通过刮刀的设计,能够将纱辊上粘附的纱线纤维进行刮除,通过进气罩以及输气管的设计,能够将刮除的纱线纤维输送至储料盒内进行存储,避免了纱线纤维落入机体的内情况发生,保证了机体内洁净度,过滤网的设计,对纱线纤维进行阻挡,便于纱线纤维集中收集至储料盒内。
(2)通过滚珠丝杠转动,带动载架移动,载架移动带动张紧轮的移动,进而对张紧轮的高度进行调节,实现了对纱线张紧力进行调节,使其适用于不同规格纱线的加工,提高了本装置的使用范围,同时调节操作简单。
附图说明
图1为本实用新型的结构示意图;
图2为本实用新型中机体的右视剖面结构示意图;
图3为图2中A处的放大结构示意图;
图4为本实用新型中清理机构的剖面结构示意图;
图5为图4中B处的放大结构示意图;
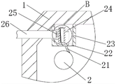
图中:1、机体;2、纱辊;3、喂纱口;11、载架;12、承载轴;13、张紧轮;14、转动杆;15、第一锥齿轮;16、第二锥齿轮;17、滚珠丝杠;18、凹槽;19、螺母座;21、刮刀;22、进气罩;23、承载盒;24、输气管;25、风机;26、排气管;27、储料盒;28、过滤网;111、限位槽;112、限位块。
具体实施方式
下面将结合本实用新型实施例中的附图,对本实用新型实施例中的技术方案进行清楚、完整地描述,显然,所描述的实施例仅仅是本实用新型一部分实施例,而不是全部的实施例。基于本实用新型中的实施例,本领域普通技术人员在没有做出创造性劳动前提下所获得的所有其他实施例,都属于本实用新型保护的范围。
请参阅图1-图5,本实用新型提供一种技术方案:一种棉纱初步定型用粗纱机,包括机体1、纱辊2、喂纱口3、位于纱辊2上侧的清理机构以及位于机体1内中部的张紧力调节机构,清理机构包括刮刀21,刮刀21安装在承载盒23下端面一侧,通过刮刀21的设计,能够将纱辊2上粘附的纱线纤维进行刮除,承载盒23固定连接在纱辊2上侧的机体1内顶部,刮刀21一侧的承载盒23底部开设进气罩22,进气罩22上端安装输气管24,输气管24 另一端与储料盒27固定连接,通过进气罩22以及输气管24的设计,能够将刮除的纱线纤维输送至储料盒27内进行存储,储料盒27安装在承载盒23内底部一侧,储料盒27内一侧安装过滤网28,储料盒27一侧表面安装风机25,过滤网28的设计,对纱线纤维进行阻挡,便于纱线纤维集中收集至储料盒27 内。
为了能够调节纱线加工时的张紧轮13,本实施例中,优选的,张紧力调节机构包括张紧轮13,张紧轮13安装在承载轴12上,承载轴12安装在载架 11内,载架11焊接固定在螺母座19上,螺母座19安装在滚珠丝杠17上,滚珠丝杠17转动连接在凹槽18内,凹槽18开设在机体1内后侧表面上,滚珠丝杠17下侧安装第二锥齿轮16,第二锥齿轮16与第一锥齿轮15通过轮齿啮合,第一锥齿轮15固定连接在转动杆14前端,转动杆14转动连接机体1 内后侧。
为了便于对纱线将加工,本实施例中,优选的,纱辊2转动连接在机体1 内一侧,喂纱口3镶嵌在机体1内另一侧,机体1另一侧镶嵌出纱口。
为了便于多根纱线的同时加工,本实施例中,优选的,喂纱口3与出纱口均设有三组以上,三组以上喂纱口3等距排布在机体1内一侧,三组以上出纱口等距排布在机体1内另一侧,喂纱口3与出纱口一一对应。
为了提高纱辊2上粘附纱线的清除效果,本实施例中,优选的,刮刀21 下端侧横截面为圆弧形,且刮刀21下侧面与纱辊2外侧表面相贴合。
为了便于将过滤网28上粘附的纱线纤维,在重力作用下落入储料盒27 内,本实施例中,优选的,过滤网28与水平面呈75°夹角布置在储料盒27 内,且储料盒27顶部安装清理门。
为了便于机体1内的空气流通,本实施例中,优选的,风机25一端安装排风管,排风管另一端延伸至机体1一侧外。
为了便于控制转动杆14的旋转方向,本实施例中,优选的,转动杆14 后端焊接手轮,手轮设置在机体1后侧表面上。
为了提高载架11移动时的导向性,本实施例中,优选的,载架11前端焊接固定限位块112,限位块112滑动连接在限位槽111内,限位槽111开设在机体1内前侧面上。
为了多根纱线的同时张紧,本实施例中,优选的,张紧轮13设有三组以上,三组以上张紧轮13均通过滚珠轴承与承载轴12转动连接,且三组以上张紧轮13规格相同。
本实用新型的工作原理及使用流程:该装置完成后,在纱线加工过程中,纱辊2转动,进而刮刀21将纱辊2上粘附的纱线纤维刮除,同时运行风机25,在负压作用下,进气罩22将纱线纤维通过输气管24输送至储料盒27内,过滤网28将纱线纤维进行阻隔,阻隔后的纱线纤维堆积后,在自身重量作用下,滑落至储料盒27内进行收集,同时排气管26将空气排出机体1,当需要调整纱线张紧力时,转动手轮,手轮带动转动杆14转动,转动杆14带动第一锥齿轮15转动,第一锥齿轮15带动第二锥齿轮16转动,第二锥齿轮16带动滚珠丝杠17转动,进而螺母座19带动载架11移动,载架11带动张紧轮13 移动,并对张紧轮13的高度进行调节,实现了纱线张紧力的调节,便于不同规格纱线的加工。
尽管已经示出和描述了本实用新型的实施例,对于本领域的普通技术人员而言,可以理解在不脱离本实用新型的原理和精神的情况下可以对这些实施例进行多种变化、修改、替换和变型,本实用新型的范围由所附权利要求及其等同物限定。

Claims (10)

1.一种棉纱初步定型用粗纱机,包括机体(1)、纱辊(2)、喂纱口(3)、位于纱辊(2)上侧的清理机构以及位于机体(1)内中部的张紧力调节机构,其特征在于:所述清理机构包括刮刀(21),所述刮刀(21)安装在承载盒(23)下端面一侧,所述承载盒(23)固定连接在纱辊(2)上侧的机体(1)内顶部,所述刮刀(21)一侧的承载盒(23)底部开设进气罩(22),所述进气罩(22)上端安装输气管(24),所述输气管(24)另一端与储料盒(27)固定连接,所述储料盒(27)安装在承载盒(23)内底部一侧,所述储料盒(27)内一侧安装过滤网(28),所述储料盒(27)一侧表面安装风机(25)。
2.根据权利要求1所述的一种棉纱初步定型用粗纱机,其特征在于:所述张紧力调节机构包括张紧轮(13),所述张紧轮(13)安装在承载轴(12)上,所述承载轴(12)安装在载架(11)内,所述载架(11)焊接固定在螺母座(19)上,所述螺母座(19)安装在滚珠丝杠(17)上,所述滚珠丝杠(17)转动连接在凹槽(18)内,所述凹槽(18)开设在机体(1)内后侧表面上,所述滚珠丝杠(17)下侧安装第二锥齿轮(16),所述第二锥齿轮(16)与第一锥齿轮(15)通过轮齿啮合,所述第一锥齿轮(15)固定连接在转动杆(14)前端,所述转动杆(14)转动连接机体(1)内后侧。
3.根据权利要求1所述的一种棉纱初步定型用粗纱机,其特征在于:所述纱辊(2)转动连接在机体(1)内一侧,所述喂纱口(3)镶嵌在机体(1)内另一侧,所述机体(1)另一侧镶嵌出纱口。
4.根据权利要求3所述的一种棉纱初步定型用粗纱机,其特征在于:所述喂纱口(3)与出纱口均设有三组以上,三组以上所述喂纱口(3)等距排布在机体(1)内一侧,三组以上所述出纱口等距排布在机体(1)内另一侧,所述喂纱口(3)与出纱口一一对应。
5.根据权利要求1所述的一种棉纱初步定型用粗纱机,其特征在于:所述刮刀(21)下端侧横截面为圆弧形,且刮刀(21)下侧面与纱辊(2)外侧表面相贴合。
6.根据权利要求1所述的一种棉纱初步定型用粗纱机,其特征在于:所述过滤网(28)与水平面呈75°夹角布置在储料盒(27)内,且储料盒(27)顶部安装清理门。
7.根据权利要求1所述的一种棉纱初步定型用粗纱机,其特征在于:所述风机(25)一端安装排风管,所述排风管另一端延伸至机体(1)一侧外。
8.根据权利要求2所述的一种棉纱初步定型用粗纱机,其特征在于:所述转动杆(14)后端焊接手轮,所述手轮设置在机体(1)后侧表面上。
9.根据权利要求2所述的一种棉纱初步定型用粗纱机,其特征在于:所述载架(11)前端焊接固定限位块(112),所述限位块(112)滑动连接在限位槽(111)内,所述限位槽(111)开设在机体(1)内前侧面上。
10.根据权利要求2所述的一种棉纱初步定型用粗纱机,其特征在于:所述张紧轮(13)设有三组以上,三组以上所述张紧轮(13)均通过滚珠轴承与承载轴(12)转动连接,且三组以上张紧轮(13)规格相同。
CN201920846567.9U 2019-06-06 2019-06-06 一种棉纱初步定型用粗纱机 Expired - Fee Related CN210974983U (zh)

Priority Applications (1)

Application Number Priority Date Filing Date Title
CN201920846567.9U CN210974983U (zh) 2019-06-06 2019-06-06 一种棉纱初步定型用粗纱机

Applications Claiming Priority (1)

Application Number Priority Date Filing Date Title
CN201920846567.9U CN210974983U (zh) 2019-06-06 2019-06-06 一种棉纱初步定型用粗纱机

Publications (1)

Publication Number Publication Date
CN210974983U true CN210974983U (zh) 2020-07-10

Family

ID=71445652

Family Applications (1)

Application Number Title Priority Date Filing Date
CN201920846567.9U Expired - Fee Related CN210974983U (zh) 2019-06-06 2019-06-06 一种棉纱初步定型用粗纱机

Country Status (1)

Country Link
CN (1) CN210974983U (zh)

Cited By (1)

* Cited by examiner, † Cited by third party
Publication number Priority date Publication date Assignee Title
CN112410936A (zh) * 2020-11-15 2021-02-26 李云祥 一种便于清理残留棉花的棉花弹匀设备

Cited By (1)

* Cited by examiner, † Cited by third party
Publication number Priority date Publication date Assignee Title
CN112410936A (zh) * 2020-11-15 2021-02-26 李云祥 一种便于清理残留棉花的棉花弹匀设备

Similar Documents

Publication Publication Date Title
CN213678642U (zh) 一种针织大圆机皮带清扫装置
CN218621208U (zh) 一种将蚕丝与纱线混纺的并条机
CN210974983U (zh) 一种棉纱初步定型用粗纱机
CN210279835U (zh) 一种烟草行业除杂装置
CN110747546B (zh) 自动清洁式细纱机吸棉风箱
CN221334455U (zh) 一种食品生产用粉尘清理设备
CN210560906U (zh) 一种棉花除杂装置
CN110592734A (zh) 一种棉纱加工用多功能梳棉机
CN204709788U (zh) 一种转弯毛绒玩具清理装置
CN210120898U (zh) 一种梗丝加料机热风循环系统滤网装置
CN210974965U (zh) 气压振动给棉箱
CN203120472U (zh) 清花机及应用其的采棉机
CN221663112U (zh) 一种并条机的棉条喂入装置
CN202492630U (zh) 一种新型清梳联气压棉箱
CN222024591U (zh) 一种粗纱机用绒毛清理装置
CN207210596U (zh) 一种开清棉机的给棉喂入装置
CN112663175A (zh) 一种纤维原料开松装置
CN206956221U (zh) 开棉机打手轴头飞花自动清除装置
CN216688489U (zh) 一种纺织粗纱机的清绒装置
CN218989527U (zh) 一种具备自动吸风控制的并条机
CN201420117Y (zh) 一种集棉机
CN220846393U (zh) 防堵塞的气压喂棉机
CN219861757U (zh) 一种粗纱机用清绒装置
CN118224694B (zh) 一种纺织原料用通风装置及通风方法
CN217163704U (zh) 一种纺织加工中绒絮清理收集装置

Legal Events

Date Code Title Description
GR01 Patent grant
GR01 Patent grant
CF01 Termination of patent right due to non-payment of annual fee
CF01 Termination of patent right due to non-payment of annual fee

Granted publication date: 20200710