CN203589233U - 铜铝导电材料的连接装置 - Google Patents

铜铝导电材料的连接装置 Download PDF

Info

Publication number
CN203589233U
CN203589233U CN201320688247.8U CN201320688247U CN203589233U CN 203589233 U CN203589233 U CN 203589233U CN 201320688247 U CN201320688247 U CN 201320688247U CN 203589233 U CN203589233 U CN 203589233U
Authority
CN
China
Prior art keywords
aluminum
copper
component
wire
utility
Prior art date
Legal status (The legal status is an assumption and is not a legal conclusion. Google has not performed a legal analysis and makes no representation as to the accuracy of the status listed.)
Expired - Fee Related
Application number
CN201320688247.8U
Other languages
English (en)
Inventor
杨建华
王虎文
王彦军
申海宏
梁立智
Current Assignee (The listed assignees may be inaccurate. Google has not performed a legal analysis and makes no representation or warranty as to the accuracy of the list.)
Handan Power Supply Co of State Grid Hebei Electric Power Co Ltd
Shexian Power Supply Co of State Grid Hebei Electric Power Co Ltd
State Grid Corp of China SGCC
Original Assignee
Handan Power Supply Co of State Grid Hebei Electric Power Co Ltd
Shexian Power Supply Co of State Grid Hebei Electric Power Co Ltd
State Grid Corp of China SGCC
Priority date (The priority date is an assumption and is not a legal conclusion. Google has not performed a legal analysis and makes no representation as to the accuracy of the date listed.)
Filing date
Publication date
Application filed by Handan Power Supply Co of State Grid Hebei Electric Power Co Ltd, Shexian Power Supply Co of State Grid Hebei Electric Power Co Ltd, State Grid Corp of China SGCC filed Critical Handan Power Supply Co of State Grid Hebei Electric Power Co Ltd
Priority to CN201320688247.8U priority Critical patent/CN203589233U/zh
Application granted granted Critical
Publication of CN203589233U publication Critical patent/CN203589233U/zh
Anticipated expiration legal-status Critical
Expired - Fee Related legal-status Critical Current

Links

Images

Landscapes

  • Connections Effected By Soldering, Adhesion, Or Permanent Deformation (AREA)

Abstract

本实用新型公开一种铜铝导电材料的连接装置,包括铜构件、铝构件和连接用的螺栓,铜构件用螺栓连接在由铜板端和铝夹持端融合而成的铜铝线鼻子的铜板端,铜铝线鼻子的铝夹持端内固定连接有铝跳线,铝跳线外端设置有与铝构件连接的连接环。铜铝线鼻子的铜板端设置有伸向铝夹持端内部的凸部,凸部上还设置有融合孔。使用本实用新型连接铜质导电构件和铝制导电构件时,不会发生铜、铝导电构件之间相长久接触时发生松动的问题,避免电气件的接头发热或者打火。本实用新型的铜铝线鼻子的铜板端和铝夹持端连接紧密,不会发热。

Description

铜铝导电材料的连接装置
技术领域
本实用新型涉及一种高压输电领域的导电材料的连接装置,尤其是指将不同材料的导电材料连接时的连接装置。
背景技术
在供电系统的电力设备及线路中,经常会遇到铜铝相连接、接触的情况,铜和铝的氧化速度、热胀冷缩程度存在很大差别,铜导电材料与铝导电材料连接后,时间一长,就很容易产生接触不良,因而出现接点发热、打火设置着火,会导致线路烧断,或者将计量装置烧毁、JP柜烧坏等。铜铝连接点当出现在零线上时,零线会烧断,将造成家用电器烧毁,造成上万元甚至上百万元的经济损失。
实用新型内容
本实用新型需要解决的技术问题是提供一种铜铝导电材料的连接装置,克服铜、铝导电材料相接触日久后发生松动的弊端,避免接头发热或者打火。
为解决上述技术问题,本实用新型所采取的技术方案如下:
铜铝导电材料的连接装置,包括铜构件、铝构件和连接用的螺栓,铜构件用螺栓连接在由铜板端和铝夹持端融合而成的铜铝线鼻子的铜板端,铜铝线鼻子的铝夹持端内固定连接有铝跳线,铝跳线外端设置有与铝构件连接的连接环。
本实用新型的进一步改进在于:所述铜铝线鼻子的铜板端设置有伸向铝夹持端内部的凸部,凸部上还设置有融合孔。
本实用新型的进一步改进在于:所述铜构件是铜导线或者铜线鼻子。
由于采用了上述技术方案,本实用新型取得的技术进步如下:
使用本实用新型连接铜质导电构件和铝制导电构件时,不会发生铜、铝导电构件之间相长久接触时发生松动的问题,避免电气件的接头发热或者打火。本实用新型的铜铝线鼻子的铜板端和铝夹持端充分融合,形成了固定的导电结构,其连接紧密,不会发热。采用本装置可以将铜导线或者铜线鼻子等铜质的导电构件与铝导线或者铝排等铝质导电构件顺利连接。
附图说明
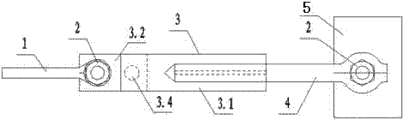
图1:本实用新型一种实施例的结构示意图;
图2:图1的俯视示意图。
其中:1、铜构件,2、螺栓,3、铜铝线鼻子,4、铝跳线,5、铝构件,3.1铜板端,3.2、铝夹持端,3.3、凸部,3.4、融合孔。
具体实施方式
下面结合具体实施例对本实用新型作更进一步详细说明:
铜铝导电材料的连接装置,包括铜构件1、铝构件5、铜铝线鼻子3。铜铝线鼻子3由铜板端3.1和铝夹持端3.2融合而成;铜板端3.1上设置有一段伸向铝夹持端3.2内部的凸部3.3,凸部3.3上还设置有融合孔3.4,铝夹持端3.2与铜板端3.1熔接时,铝会熔入融合孔中,不但连接强度提高,而且导电性能也大大提高。铜铝线鼻子3的铜板端3.1通过螺栓2连接铜构件1,所述铜构件1可以是铜导线,也可以是铜线鼻子或者其它铜质导电构件。铜铝线鼻子3的铝夹持端3.2内固定连接有铝跳线4,铝跳线4外端可以设置有连接环,与铝构件5连接时,同样用螺栓连接紧固即可。铝构件可以是铝排、铝接线柱或者其它铝质导电构件。
在具体使用本实用新型的装置时,可以扩展为以下几种使用方式(但不限于以下几种方式):
一、当铜导线需要与铝导线相连时,铜铝线鼻子3的铜板端3.1用螺栓连接铜导线,将铝导线连接在铝跳线4端部连接环上,或者直接使用长度足够的铝跳线4作为铝导线即可,这样就将铝铜相连变为铜铜相连、铝铝相连。
二、当铜线鼻子需要与铝导线相连时,方法同上,只是将铜导线换成铜线鼻子即可。
三、当铜导线需要与铝排相连时,和/或铜线鼻子需要与铝排相连时,此时铜构件就是铜导线和/或铜线鼻子,铝构件就是铝排。
使用本实用新型的装置不再出现因铜铝接触不良造成导线、JP柜及表计等设备损坏情况,减少了经济损失。

Claims (3)

1.铜铝导电材料的连接装置,包括铜构件(1)、铝构件(5)和连接用的螺栓(2),其特征在于:铜构件(1)用螺栓(2)连接在由铜板端(3.1)和铝夹持端(3.2)融合而成的铜铝线鼻子(3)的铜板端(3.1),铜铝线鼻子(3)的铝夹持端(3.2)内固定连接有铝跳线(4),铝跳线(4)外端设置有与铝构件(5)连接的连接环。
2.根据权利要求1所述的铜铝导电材料的连接装置,其特征在于:所述铜铝线鼻子(3)的铜板端(3.1)设置有伸向铝夹持端(3.2)内部的凸部(3.3),凸部(3.3)上还设置有融合孔(3.4)。
3.根据权利要求1所述的铜铝导电材料的连接装置,其特征在于:所述铜构件(1)是铜导线或者铜线鼻子。
CN201320688247.8U 2013-11-04 2013-11-04 铜铝导电材料的连接装置 Expired - Fee Related CN203589233U (zh)

Priority Applications (1)

Application Number Priority Date Filing Date Title
CN201320688247.8U CN203589233U (zh) 2013-11-04 2013-11-04 铜铝导电材料的连接装置

Applications Claiming Priority (1)

Application Number Priority Date Filing Date Title
CN201320688247.8U CN203589233U (zh) 2013-11-04 2013-11-04 铜铝导电材料的连接装置

Publications (1)

Publication Number Publication Date
CN203589233U true CN203589233U (zh) 2014-05-07

Family

ID=50587092

Family Applications (1)

Application Number Title Priority Date Filing Date
CN201320688247.8U Expired - Fee Related CN203589233U (zh) 2013-11-04 2013-11-04 铜铝导电材料的连接装置

Country Status (1)

Country Link
CN (1) CN203589233U (zh)

Cited By (5)

* Cited by examiner, † Cited by third party
Publication number Priority date Publication date Assignee Title
CN104638392A (zh) * 2015-01-27 2015-05-20 国家电网公司 用于铜、铝线路对接的异型线夹
CN107443014A (zh) * 2017-07-25 2017-12-08 深圳巴斯巴科技发展有限公司 一种简化的线鼻子制造工艺
CN109936019A (zh) * 2019-04-02 2019-06-25 国网福建永春县供电有限公司 一种用于计量箱的铜铝过渡臂及计量箱
CN111478065A (zh) * 2020-04-29 2020-07-31 深圳市沃尔核材股份有限公司 一种铜铝过渡接线组件及铜铝过渡连接方法
CN112670725A (zh) * 2020-12-15 2021-04-16 中车株洲电机有限公司 铜铝联接过渡装置

Cited By (6)

* Cited by examiner, † Cited by third party
Publication number Priority date Publication date Assignee Title
CN104638392A (zh) * 2015-01-27 2015-05-20 国家电网公司 用于铜、铝线路对接的异型线夹
CN104638392B (zh) * 2015-01-27 2017-05-17 国家电网公司 用于铜、铝线路对接的异型线夹
CN107443014A (zh) * 2017-07-25 2017-12-08 深圳巴斯巴科技发展有限公司 一种简化的线鼻子制造工艺
CN109936019A (zh) * 2019-04-02 2019-06-25 国网福建永春县供电有限公司 一种用于计量箱的铜铝过渡臂及计量箱
CN111478065A (zh) * 2020-04-29 2020-07-31 深圳市沃尔核材股份有限公司 一种铜铝过渡接线组件及铜铝过渡连接方法
CN112670725A (zh) * 2020-12-15 2021-04-16 中车株洲电机有限公司 铜铝联接过渡装置

Similar Documents

Publication Publication Date Title
CN203589233U (zh) 铜铝导电材料的连接装置
CN204348534U (zh) 一种保护器开关接线端子
CN203983533U (zh) 一种连接装置
CN203733956U (zh) 搭扣型铜铝过渡设备线夹
CN104134921A (zh) 一种冷绝缘高温超导电缆导体端部连接方法
CN102078994A (zh) 超导导体接头锡焊焊接加热器
CN203747060U (zh) 一种节能型铜铝过渡接线端子
CN207082801U (zh) 一种直流高压穿墙套管导电杆连接结构
CN201689851U (zh) 低压断路器的导电回路结构
CN205437411U (zh) 一种电工专用自动断电电烙铁
CN104538753B (zh) 一种超导电缆接头装置
CN202134353U (zh) 埋入式pin脚
CN201969979U (zh) 一种用于超导导体接头锡焊焊接的加热器
CN201732689U (zh) 一种高压电力电容器单元出线端子的接线结构
CN203444973U (zh) 一种耐大电流型水冷端子
CN214684649U (zh) 一种芯线与端子加固用焊锡装置
CN203910994U (zh) 一种铜铝过渡接线端子
CN202870124U (zh) 一种变压器试验线夹与穿心升流线的连接装置
CN202454736U (zh) 铜铝设备线夹
CN202291743U (zh) 陶瓷烙铁头
CN208986206U (zh) 一种用于电渣重熔炉的水冷电缆
CN204067609U (zh) 铜铝过渡设备线夹
CN106158369B (zh) 一种电容器接线端子
CN207367910U (zh) 一种直流熔断器开关
CN103456488B (zh) 一种耐大电流型水冷端子

Legal Events

Date Code Title Description
C14 Grant of patent or utility model
GR01 Patent grant
CF01 Termination of patent right due to non-payment of annual fee

Granted publication date: 20140507

Termination date: 20141104

EXPY Termination of patent right or utility model