CN202978098U - Overhead ground wire lifter - Google Patents

Overhead ground wire lifter Download PDF

Info

Publication number
CN202978098U
CN202978098U CN 201220576792 CN201220576792U CN202978098U CN 202978098 U CN202978098 U CN 202978098U CN 201220576792 CN201220576792 CN 201220576792 CN 201220576792 U CN201220576792 U CN 201220576792U CN 202978098 U CN202978098 U CN 202978098U
Authority
CN
China
Prior art keywords
ground wire
overhead ground
fixed bracket
utility
overhead
Prior art date
Legal status (The legal status is an assumption and is not a legal conclusion. Google has not performed a legal analysis and makes no representation as to the accuracy of the status listed.)
Expired - Lifetime
Application number
CN 201220576792
Other languages
Chinese (zh)
Inventor
陈建家
贾广明
张亚军
王立生
奚东升
李鑫
Current Assignee (The listed assignees may be inaccurate. Google has not performed a legal analysis and makes no representation or warranty as to the accuracy of the list.)
ZHANGJIAKOU POWER SUPPLY Co OF JIBEI ELECTRIC POWER CO Ltd
State Grid Corp of China SGCC
Original Assignee
ZHANGJIAKOU POWER SUPPLY Co OF JIBEI ELECTRIC POWER CO Ltd
State Grid Corp of China SGCC
Priority date (The priority date is an assumption and is not a legal conclusion. Google has not performed a legal analysis and makes no representation as to the accuracy of the date listed.)
Filing date
Publication date
Application filed by ZHANGJIAKOU POWER SUPPLY Co OF JIBEI ELECTRIC POWER CO Ltd, State Grid Corp of China SGCC filed Critical ZHANGJIAKOU POWER SUPPLY Co OF JIBEI ELECTRIC POWER CO Ltd
Priority to CN 201220576792 priority Critical patent/CN202978098U/en
Application granted granted Critical
Publication of CN202978098U publication Critical patent/CN202978098U/en
Anticipated expiration legal-status Critical
Expired - Lifetime legal-status Critical Current

Links

Images

Landscapes

  • Suspension Of Electric Lines Or Cables (AREA)

Abstract

本实用新型涉及电力行业架空输电线路维护、维修设备技术领域,具体地说是一种架空地线提升器,用于高压输电线路更换架空地线金具的提升装置。110kV--220kV的输电线路没有专用的提升工具,架空地线维护时大多采用人力、滑轮等工具提升架空地线,劳动强度较高,作业效率低。本实用新型由固定支架、提升丝杠组成;固定支架上设有定位通孔或定位槽;固定支架的端部设有连接挂环;提升丝杠上端通过螺栓与固定支架的连接挂环相连接,提升丝杠下端设有架空地线固定点。本实用新型的优点是:结构简单,操作便捷,降低了劳动强度,缩短了检修时间,提高了工作效率,为此类检修工作提供了便利。

Figure 201220576792

The utility model relates to the technical field of maintenance and repair equipment for overhead transmission lines in the electric power industry, in particular to an overhead ground wire lifter, which is a lifting device for replacing overhead ground wire fittings for high-voltage transmission lines. 110kV--220kV transmission lines do not have special lifting tools, and manpower, pulleys and other tools are mostly used to lift overhead ground wires during maintenance, which has high labor intensity and low operating efficiency. The utility model is composed of a fixed bracket and a lifting screw; the fixed bracket is provided with a positioning through hole or a positioning groove; the end of the fixed bracket is provided with a connecting ring; the upper end of the lifting screw is connected with the connecting ring of the fixed bracket through bolts , There is an overhead ground wire fixed point at the lower end of the lifting screw. The utility model has the advantages of simple structure, convenient operation, reduced labor intensity, shortened maintenance time, improved work efficiency, and provides convenience for such maintenance work.

Figure 201220576792

Description

Overhead-groundwire lifter
Technical field
The utility model relates to power industry overhead transmission line maintenance, repair equipment technical field, and specifically a kind of overhead-groundwire lifter, be used for the lifting device that ultra-high-tension power transmission line is changed the overhead ground wire gold utensil.
Background technology
On the shaft tower of ultra-high-tension power transmission line, usually overhead ground wire can be housed.In the operation maintenance work of transmission line, need to check, change the overhead ground wire wire clamp.Because electric pressure, the tower of transmission line are different, the fixed form of overhead ground wire is also different.Particularly the transmission line of 110kV--220kV does not have special-purpose hoisting tool, promote overhead ground wire and mostly adopt manpower pickaback, adopt the instruments such as double hook, pulley, steel wire rope to promote overhead ground wire during shortage of manpower, instrument is loaded down with trivial details, labour intensity is higher, and operating efficiency is low.
Summary of the invention
The purpose of this utility model is to provide a kind of overhead-groundwire lifter, and is easy and simple to handle, overcome deficiency of the prior art.
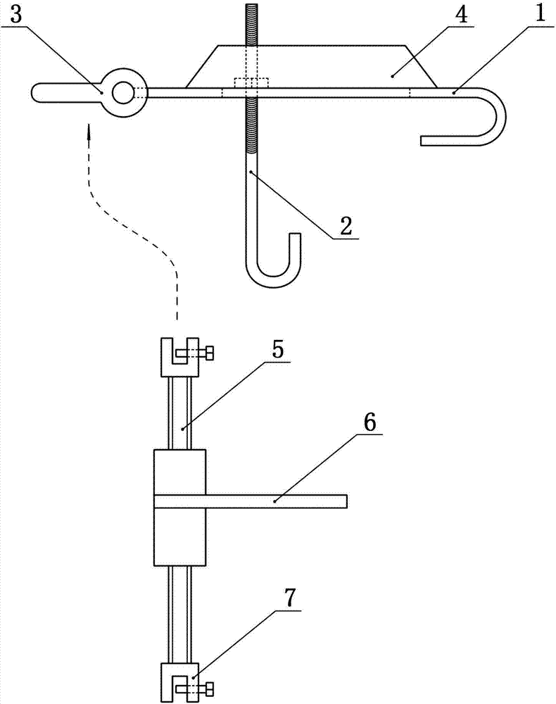
The technical solution of the utility model is: be comprised of fixed support, lifting leading screw; Fixed support is provided with positioning through hole or location notch; Support bracket fastened end is provided with the connection link; Promote the leading screw upper end and be connected with the support bracket fastened link that is connected by bolt, lifting leading screw lower end is provided with the overhead ground wire fixing point; Described lifting leading screw comprises screw mandrel, swivel nut and ratchet spanner; The two ends of swivel nut respectively are equipped with a screw mandrel that rotation direction is opposite, are equipped with ratchet spanner on swivel nut.
Further, described fixed support is provided with buttress brace.
The utility model has the advantages that: simple in structure, simple operation, solved on different electric pressures and different tower and checked, changed the overhead ground wire gold utensil, a difficult problem that lacks suitable hoisting tool, manpower and instrument resource have been saved, shortened the repair time, improved operating efficiency, for this type of service work is provided convenience.
Below in conjunction with the drawings and specific embodiments, the technical solution of the utility model is elaborated.
Description of drawings
Fig. 1 is the structural representation of the utility model embodiment 1;
Fig. 2 is the support bracket fastened vertical view of the utility model embodiment 1;
Fig. 3 is the support bracket fastened structural representation of the utility model embodiment 2;
Fig. 4 is the support bracket fastened vertical view of the utility model embodiment 2.
Embodiment
In figure: 1, fixed support; 2, bolt, 3, connect link, 4, buttress brace, 5, screw mandrel, 6, ratchet spanner, 7, the overhead ground wire fixing point.
Embodiment 1
The present embodiment is take the overhead-groundwire lifter that is applicable to plane angle head tower bar cross-arm as example.From Fig. 1---Fig. 2 as can be known, the utility model by fixed support 1, promote leading screw and form; Fixed support 1 is provided with positioning through hole; Fixed support 1 is provided with buttress brace 4; One end of fixed support 1 is provided with and connects link 3; Promote the leading screw upper end and be connected with the link 3 that is connected of fixed support 1 by bolt, lifting leading screw lower end is provided with overhead ground wire fixing point 7.
Described lifting leading screw comprises screw mandrel 5, swivel nut and ratchet spanner 6; The two ends of swivel nut respectively are equipped with a screw mandrel 5 that rotation direction is opposite, are equipped with ratchet spanner 6 on swivel nut.
During work, at first fixed support is fixed 1 appropriate location on overhead ground wire tower bar cross-arm, utilize bolt 2 fastening, make fixed support 1 and the fixation of tower bar cross-arm, then will promote by bolt and be connected link 3 connections on leading screw upper end and fixed support 1.Overhead ground wire is suspended on the overhead ground wire fixing point 7 that promotes the leading screw lower end by tool link or lift lug.After confirming everywhere that connecting portion is reliable and connecting, rotating ratchet spanner 6 tightens up leading screw, promotes overhead ground wire to the gold utensil degree that do not stress, and can check or change the overhead ground wire gold utensil.After maintenance work was complete, backward rotation ratchet spanner 6 loosened the lifting leading screw, and the weight of overhead ground wire is transferred on gold utensil, confirmed gold utensil fixation, unclamped bolt 2, removed to promote leading screw and fixed support 1.
Embodiment 2
The present embodiment is take the overhead-groundwire lifter that is applicable to facade angle steel tower bar cross-arm as example.From Fig. 3---Fig. 4 as can be known, the present embodiment as different from Example 1, fixed support 1 is provided with the location notch for the facade angle cross arm; The both ends of fixed support 1 are provided with respectively a connection link 3, two connection links 3 and respectively are connected with a lifting leading screw.
Other structure of the present embodiment is identical with embodiment 1.

Claims (2)

1.一种架空地线提升器,其特征是:由固定支架(1)、提升丝杠组成;固定支架(1)上设有定位通孔或定位槽;固定支架(1)的端部设有连接挂环(3);提升丝杠上端通过螺栓与固定支架(1)的连接挂环(3)相连接,提升丝杠下端设有架空地线固定点(7);所述的提升丝杠包括丝杆(5)、螺套及棘轮扳手(6);螺套的两端各装配有一条旋向相反的丝杆(5),螺套上装配有棘轮扳手(6)。 1. An overhead ground wire lifter, characterized in that it is composed of a fixed bracket (1) and a lifting screw; the fixed bracket (1) is provided with positioning through holes or positioning slots; the end of the fixed bracket (1) is provided with There is a connecting link (3); the upper end of the lifting screw is connected to the connecting link (3) of the fixed bracket (1) through bolts, and the lower end of the lifting screw is provided with an overhead ground wire fixing point (7); the lifting screw The lever comprises a screw mandrel (5), a screw sleeve and a ratchet wrench (6); a screw screw (5) in the opposite direction of rotation is respectively assembled at both ends of the screw sleeve, and a ratchet wrench (6) is assembled on the screw sleeve. 2.如权利要求1所述的一种架空地线提升器,其特征是:所述的固定支架(1)上设有加强梁(4)。 2. An overhead ground wire lifter according to claim 1, characterized in that: said fixing bracket (1) is provided with a reinforcing beam (4).
CN 201220576792 2012-11-05 2012-11-05 Overhead ground wire lifter Expired - Lifetime CN202978098U (en)

Priority Applications (1)

Application Number Priority Date Filing Date Title
CN 201220576792 CN202978098U (en) 2012-11-05 2012-11-05 Overhead ground wire lifter

Applications Claiming Priority (1)

Application Number Priority Date Filing Date Title
CN 201220576792 CN202978098U (en) 2012-11-05 2012-11-05 Overhead ground wire lifter

Publications (1)

Publication Number Publication Date
CN202978098U true CN202978098U (en) 2013-06-05

Family

ID=48519125

Family Applications (1)

Application Number Title Priority Date Filing Date
CN 201220576792 Expired - Lifetime CN202978098U (en) 2012-11-05 2012-11-05 Overhead ground wire lifter

Country Status (1)

Country Link
CN (1) CN202978098U (en)

Cited By (3)

* Cited by examiner, † Cited by third party
Publication number Priority date Publication date Assignee Title
CN104134948A (en) * 2014-08-05 2014-11-05 国家电网公司 500kV overhead line tangent tower lightning conductor lifting working device
CN105261992A (en) * 2015-09-28 2016-01-20 国网河南省电力公司洛阳供电公司 Wire lifting device
CN112234507A (en) * 2020-11-19 2021-01-15 广西电网有限责任公司贺州供电局 Linear rod back-rail wire lifting device

Cited By (4)

* Cited by examiner, † Cited by third party
Publication number Priority date Publication date Assignee Title
CN104134948A (en) * 2014-08-05 2014-11-05 国家电网公司 500kV overhead line tangent tower lightning conductor lifting working device
CN105261992A (en) * 2015-09-28 2016-01-20 国网河南省电力公司洛阳供电公司 Wire lifting device
CN112234507A (en) * 2020-11-19 2021-01-15 广西电网有限责任公司贺州供电局 Linear rod back-rail wire lifting device
CN112234507B (en) * 2020-11-19 2022-09-09 广西电网有限责任公司贺州供电局 Linear rod back-rail wire lifting device

Similar Documents

Publication Publication Date Title
CN101409434B (en) ground riser
CN102237655A (en) Method and tool for lifting overhead ground wire
CN202978098U (en) Overhead ground wire lifter
CN102661057B (en) Power angle tower pull leg main material changing method and special main material clamp
CN201838934U (en) Novel portable adjustable rod upper platform
CN103500961B (en) A special tool for live replacement of tension insulator strings
CN106129902A (en) A kind of overhead ground wire lifting device
CN202190018U (en) An overhead ground wire ratchet wrench carrying wire tool
CN201868784U (en) Lifter for 220KV earth wire of power transmission line
CN201758338U (en) Motor stator lifting fixture
CN202190019U (en) Aerial earth wire ratchet wrench type two-point lifting tool
CN202197048U (en) Double angle steel hanging point lifting and connecting tool for tower use
CN203806962U (en) Cable terminal head lifting fixture
CN202488034U (en) Lifting device for electric transmission line of angle iron tower
CN202594699U (en) Power transmission line lifting device for steel pipe tower
CN205377163U (en) General type 500kV overhead earth wire carries ply -yarn drill utensil
CN201312084Y (en) Ground wire raiser
CN104253394B (en) A kind of replacing instrument of strain insulator string
CN203682865U (en) Tyre lifting-transporting clamp
CN102623929A (en) Multifunctional integral telescopic insulator cradle
CN104300436A (en) Auxiliary pull ring manufactured from power stay wire and method for manufacturing stay wire
CN203367860U (en) Overhead ground wire suspension clamp replacement tool
CN202488035U (en) Hoisting device for maintenance of power transmission line above concrete poles
CN201518397U (en) 220kV line conductor live replacement linear insulator string tool
CN203014282U (en) An overhead ground wire lifting device in a power transmission line

Legal Events

Date Code Title Description
C14 Grant of patent or utility model
GR01 Patent grant
CX01 Expiry of patent term
CX01 Expiry of patent term

Granted publication date: 20130605