CN202492415U - 高效全自动油水分离系统 - Google Patents
高效全自动油水分离系统 Download PDFInfo
- Publication number
- CN202492415U CN202492415U CN2012200323818U CN201220032381U CN202492415U CN 202492415 U CN202492415 U CN 202492415U CN 2012200323818 U CN2012200323818 U CN 2012200323818U CN 201220032381 U CN201220032381 U CN 201220032381U CN 202492415 U CN202492415 U CN 202492415U
- Authority
- CN
- China
- Prior art keywords
- oil
- water
- separation box
- separation
- pipeline
- Prior art date
- Legal status (The legal status is an assumption and is not a legal conclusion. Google has not performed a legal analysis and makes no representation as to the accuracy of the status listed.)
- Expired - Lifetime
Links
- XLYOFNOQVPJJNP-UHFFFAOYSA-N water Substances O XLYOFNOQVPJJNP-UHFFFAOYSA-N 0.000 title claims abstract description 117
- 238000000926 separation method Methods 0.000 title claims abstract description 50
- 229910001220 stainless steel Inorganic materials 0.000 claims abstract description 18
- 239000010935 stainless steel Substances 0.000 claims abstract description 17
- 239000002893 slag Substances 0.000 claims abstract description 6
- 239000010794 food waste Substances 0.000 claims description 9
- 238000000034 method Methods 0.000 claims description 8
- 238000005485 electric heating Methods 0.000 claims description 3
- 238000007789 sealing Methods 0.000 claims description 3
- 230000003247 decreasing effect Effects 0.000 claims 1
- 239000013013 elastic material Substances 0.000 claims 1
- 239000002351 wastewater Substances 0.000 abstract description 11
- 230000000694 effects Effects 0.000 abstract description 6
- 239000003599 detergent Substances 0.000 abstract description 3
- 239000003921 oil Substances 0.000 description 83
- 235000019198 oils Nutrition 0.000 description 70
- 239000002699 waste material Substances 0.000 description 32
- 238000001914 filtration Methods 0.000 description 13
- 239000007788 liquid Substances 0.000 description 10
- 239000000203 mixture Substances 0.000 description 5
- 210000003739 neck Anatomy 0.000 description 4
- 238000010438 heat treatment Methods 0.000 description 3
- 238000005406 washing Methods 0.000 description 3
- 239000010775 animal oil Substances 0.000 description 2
- 238000009833 condensation Methods 0.000 description 2
- 230000005494 condensation Effects 0.000 description 2
- 239000006071 cream Substances 0.000 description 2
- 238000013461 design Methods 0.000 description 2
- 239000008157 edible vegetable oil Substances 0.000 description 2
- 238000005516 engineering process Methods 0.000 description 2
- 238000011010 flushing procedure Methods 0.000 description 2
- 239000000463 material Substances 0.000 description 2
- 235000019476 oil-water mixture Nutrition 0.000 description 2
- 230000002093 peripheral effect Effects 0.000 description 2
- 230000011218 segmentation Effects 0.000 description 2
- 235000019013 Viburnum opulus Nutrition 0.000 description 1
- 244000071378 Viburnum opulus Species 0.000 description 1
- 239000000654 additive Substances 0.000 description 1
- 238000013459 approach Methods 0.000 description 1
- 239000002551 biofuel Substances 0.000 description 1
- 230000005587 bubbling Effects 0.000 description 1
- 230000003139 buffering effect Effects 0.000 description 1
- 238000006243 chemical reaction Methods 0.000 description 1
- 150000001875 compounds Chemical class 0.000 description 1
- 239000012141 concentrate Substances 0.000 description 1
- 238000011109 contamination Methods 0.000 description 1
- 230000007812 deficiency Effects 0.000 description 1
- 238000011161 development Methods 0.000 description 1
- 230000018109 developmental process Effects 0.000 description 1
- 238000010586 diagram Methods 0.000 description 1
- 230000003467 diminishing effect Effects 0.000 description 1
- 238000007599 discharging Methods 0.000 description 1
- 230000007613 environmental effect Effects 0.000 description 1
- 238000000605 extraction Methods 0.000 description 1
- 239000004744 fabric Substances 0.000 description 1
- 235000013305 food Nutrition 0.000 description 1
- 230000008014 freezing Effects 0.000 description 1
- 238000007710 freezing Methods 0.000 description 1
- 239000000295 fuel oil Substances 0.000 description 1
- 239000004519 grease Substances 0.000 description 1
- JEGUKCSWCFPDGT-UHFFFAOYSA-N h2o hydrate Chemical compound O.O JEGUKCSWCFPDGT-UHFFFAOYSA-N 0.000 description 1
- 230000007774 longterm Effects 0.000 description 1
- 238000003032 molecular docking Methods 0.000 description 1
- 230000021715 photosynthesis, light harvesting Effects 0.000 description 1
- 238000000247 postprecipitation Methods 0.000 description 1
- 238000012545 processing Methods 0.000 description 1
- 238000004064 recycling Methods 0.000 description 1
- 238000011160 research Methods 0.000 description 1
- 230000000630 rising effect Effects 0.000 description 1
- 239000000523 sample Substances 0.000 description 1
- 239000003643 water by type Substances 0.000 description 1
Images
Classifications
-
- Y—GENERAL TAGGING OF NEW TECHNOLOGICAL DEVELOPMENTS; GENERAL TAGGING OF CROSS-SECTIONAL TECHNOLOGIES SPANNING OVER SEVERAL SECTIONS OF THE IPC; TECHNICAL SUBJECTS COVERED BY FORMER USPC CROSS-REFERENCE ART COLLECTIONS [XRACs] AND DIGESTS
- Y02—TECHNOLOGIES OR APPLICATIONS FOR MITIGATION OR ADAPTATION AGAINST CLIMATE CHANGE
- Y02W—CLIMATE CHANGE MITIGATION TECHNOLOGIES RELATED TO WASTEWATER TREATMENT OR WASTE MANAGEMENT
- Y02W30/00—Technologies for solid waste management
- Y02W30/50—Reuse, recycling or recovery technologies
- Y02W30/74—Recovery of fats, fatty oils, fatty acids or other fatty substances, e.g. lanolin or waxes
Landscapes
- Cleaning Or Clearing Of The Surface Of Open Water (AREA)
Abstract
本实用新型提供一种高效全自动油水分离系统,包括一侧设置有溢流堰的溢油池,溢流堰中安装有不锈钢除渣网,在连接溢流堰与分离箱的管道上安装有进水电磁阀;分离箱内安装有不锈钢滤网,不锈钢滤网的上方设有缓冲板;分离箱内安装有第一传感器和第二传感器;分离箱的颈部通过管道与储油杯相连接;在连接分离箱与储水箱的管道上安装有排水电磁阀;储水箱内安装有自动排水装置。本实用新型可提高分离效果以及分离精度,降低洗洁精的使用,实现分离后的废水再利用。且能够实现智能化自动控制,与物联网对接,降低工人劳动强度。
Description
技术领域
本实用新型属于环保水处理领域,具体来说,涉及一种用于对家庭厨房以及餐饮行业所排放的含油废水进行高效全自动油水分离的系统。
背景技术
随着人们生活水平的提高以及酒店、餐饮、宾馆等行业的发展,对食用油的消耗量逐步增大。厨房中排放的食用油残渣随着下水道排出,是造成河流、湖泊水质变肥的主要原因之一。因此在含油废水排放前通过油水分离设备分离收集油水,是避免水资源遭受污染的重要措施。
图1示出了一种现有的油水分离器的典型结构,其存在如下缺点:
一、油水分离不够彻底、分离效率较低,无法达到国家规定的60微米以上的分离达到95%的标准。现有的油水分离器仅通过隔油堰分离油水,油水混合物第一次进入油水分离器时,一大部分废油已经从隔油堰底部被排出到地下;废油取不净,残留有油;且多数使用一次分离,这样不仅造成能源浪费,且仍然会残留污染。
二、现有的油水分离器为手动型,分离出的废油必须积聚到一定量才能通过人工取出。同时,废油在容器中时间久了会变质,且产生异味,需进行除油、除渣操作,而现有的油水分离器多是人工除油、人工除渣,所以人们不愿意去操作,因此大多数餐饮业的油水分离器形同虚设。
三、现有的油水分离器只能对大量的含油废水进行处理,少量的或微量(几升或者一升以下)的含油废水就无法及时处理,所以很难实现家庭使用。因为当废水含油量很少的时候,该设备很难及时把油分离出来,所以难以避免“地沟油”的存在。不仅如此,食物残渣桶里的大量的废油不能被收集,这些废油连同食物残渣一起被不法分子收购,就有可能造成地沟油回流餐桌的可能。
四、现有的油水分离器在餐饮行业中大多是安装在洗碗池之下,餐具用洗涤剂洗过之后,一部分废油已经被水解,造成二次污染,同时造成油的浪费。这些被水解的废油流入地下,也成为“地沟油”存在的原因之一。
五、现有的油水分离器不带加热功能。在冬季或是在寒冷地区或是火锅店使用时,高凝点的动物油脂很难被分离出来,他们被排到地下,不仅造成污染,而且成为“地沟油”的又一来源。
六、现有的油水分离器不能实现分离后的废水再利用。且大多不够智能化,不能受物联网控制。
实用新型内容
鉴于以上原因,申请人针对现有油水分离器的所存在的不足,经过研究改进,提供一种高效全自动油水分离系统。
本实用新型的技术方案如下:
一种高效全自动油水分离系统,该系统包括由管道连接的溢油池、分离箱、储油杯以及储水箱;所述溢油池内设置有溢流堰,溢流堰与溢流池一端的侧壁构成的腔体内安装有不锈钢除渣网,腔体的底部通过管道与分离箱相连接,在连接溢油池与分离箱的管道上安装有进水电磁阀;所述分离箱的底部为横截面积相等的柱形,中部为横截面积自下而上逐渐缩小的金字塔形,金字塔形上方通过一细长颈部连接一储油腔;分离箱内安装有不锈钢滤网,所述不锈钢滤网的上方设有缓冲板;分离箱的颈部安装有第一传感器,缓冲板7的上方安装有第二传感器;分离箱的颈部通过管道与储油杯相连接,所述储油杯底部设有排水口,其侧壁设有排油口;分离箱的底部通过管道与储水箱相连接,在连接分离箱与储水箱的管道上安装有排水电磁阀;储水箱内安装有由排水阀和浮球组成的自动排水装置;储水箱通过管道与溢油池相连接,储水箱内安装有与该管道连接的第一水泵。
其进一步的技术方案为:该系统还包括一食物残渣桶,所述食物残渣桶的口部设有溢流槽;所述储水箱通过管道与食物残渣桶相连接,储水箱内安装有与该管道连接的第二水泵。
其进一步的技术方案为:还具有一压榨机构,压榨机构具有两种可选的技术方案。第一种可选技术方案为:压榨机构设置在食物残渣桶上,所述压榨机构包括具有一倾斜面的压块,压块的底部安装有水平的格栅,压块的两侧通过升降机构与食物残渣桶相连接,压块与食物残渣桶之间安装有杠杆系,杠杆系与食物残渣桶之间连接有回复弹簧,杠杆系的端部为手柄。第二种可选技术方案为:压榨机构独立于食物残渣桶,所述压榨机构包括具有一倾斜面的压块,压块的底部安装有水平的格栅,压块的两侧通过升降机构与机架相连接,压块与机架之间安装有杠杆系,杠杆系的端部为手杆。水平格栅的周边有弹性材料做成的密封裙边。
其进一步的技术方案为:在连接溢油池与分离箱的管道上安装有离心式旋转除渣器,在溢油池内也安装有离心式旋转除渣器。
其进一步的技术方案为:所述分离箱内安装有滤网,所述滤网安装在缓冲板的下方、不锈钢滤网的上方。
其进一步的技术方案为:所述分离箱、储油杯以及储水箱内分别安装有电加热装置,在连接分离箱与储油杯的管道上包裹有电加热装置。
其进一步的技术方案为:该系统具有延时及控制电路,所述延时及控制电路连接各电磁阀、排水阀及水泵,使该系统按照程序循环工作。
本实用新型的有益技术效果是:
一、本实用新型采用独特的结构以及多级分离的设计理念,可提高油水分离效果以及分离精度,使50微米以上的油粒子分离达到100%,出水含油小于1mg/L甚至更低,基本实现废油的零排放。
二、本实用新型可实现真正意义上的自动除渣、自动排油,独特的多级除渣,多级分离方式,可减少后续阻塞,设备运行稳定,易于安装,易于操作,从而大大降低工人劳动强度。
三、本实用新型使用特制的食物残渣桶,能把残渣桶中废油几乎全部取出,让废油不再流入地下;或者通过不法分子等途径流回餐桌;利用储水箱中已分离出的废水实现对少量或是微量的含油废水(几升、一升以下,甚至几克)的即时分离,将废油尽可能彻底取出,避免废油长期储存在油水分离器中变质的问题。而且大大节约水资源,可以做到小型化,家用化,实现与小型家用洗碗机或厨房水池相结合,减少大量洗涤剂,让地沟不再有油,从源头上减少甚至杜绝废油对江河湖泊的污染。
四、本实用新型将含有油污的餐具放入溢流池,在油水分离过程中经过不断冲刷,经过多轮冲洗之后只需加微量洗洁精就可以将餐具洗净,从而减少废油流失,从源头上彻底杜绝地沟油的存在。这些废油都可以被提取出来制成生物柴油,以解燃油之急;或作其他用途。
五、本实用新型带有辅助电加热功能,油水分离效果显著提高,即使是高凝点的动物油脂,也可以基本全部取出。
六、本实用新型可以利用储水箱中已分离出的废水反复使用,大大节约水资源。智能化程度高,无论是使用分立元件,还是PLC,都可以实现与物联网的对接。
附图说明
图1是现有油水分离器的结构示意图。
图2是本实用新型第一种实施例的结构示意图。
图3是本实用新型第二种实施例的结构示意图。
图4是本实用新型第三种实施例的结构示意图。
图5是本实用新型第四种实施例的结构示意图。
图6是本实用新型的延时及控制电路原理图。
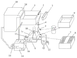
图中:1 溢油池 2 溢流堰 3 不锈钢除渣网
4 进水电磁阀 5 离心式旋转除渣器 6分离箱
7 缓冲板 8 滤网 9 不锈钢滤网
10 第一传感器 11 第二传感器 12 储油杯
13 排水电磁阀 14 储水箱 15 排水阀
16 浮球 17 第一水泵 17′第二水泵
18 电加热装置 19 食物残渣桶 20 溢流槽
21 压块 22 格栅 23 升降机构
24 杠杆系 25 回复弹簧 26 手柄
31 压块 32 格栅 33 升降机构
34 杠杆系 35 机架 36 手杆 。
具体实施方式
以下结合附图,通过实施例对本实用新型进行具体说明。
如图2所示,本实用新型具有一溢油池1,在实际使用时,首先用水泵将含油废水抽到溢油池1中,由于水与油存在密度差,因此油粒子在经过一定时间的缓流后流过溢流堰2,完成第一次油水粗分离,之后含油废水经可更换的不锈钢滤网3(具体结构见放大图)进行渣液分离。然后,含油废水经进水电磁阀4控制、离心式旋转除渣器5(可选,具体结构见放大图)再次除渣,流入结构独特的分离箱6。经过缓冲板7(见放大图)缓冲后,混合物中的油经过滤网8(可选,见放大图)的阻隔后浮于水面上。缓冲板7的作用是减少油水混合物的流速,防止混合物中的油脂触及下面的不锈钢滤网9,造成其阻塞,其面积越大越好。随着不断进水,分离箱6内液面的不断升高,油层进入分离箱6顶部的圆柱形储油腔,大面积的油层经过等体积变换后成为底面积很小、厚度很高的油柱,从分离箱6颈部的排油口分离出来,流入圆柱形换其他形状的储油杯12,实现油水第二次分离。储油杯12中的油层经过充分静置后,再一次完成油水分离,其中的油通过排油口取出用以回收再利用,其中的废水则通过排水口排出。当分离箱6中的液面上升到一定高度时,安装在分离箱上部的第一传感器10(上液位传感器)动作,发出信息,控制进水电磁阀4关闭。延时电路控制进水电磁阀4经过一定时间的延时,在该段延时期让分离箱6中的油水充分静置分离,进而排油。延时结束后,排水电磁阀13打开,废水经过不锈钢滤网9(见放大图)后排到储水箱14中备用。不锈钢滤网9在此有两个作用,一是滤除大的油粒团子和少量食物残渣,二是减小分离后出水的流速。当分离箱6中的水位下降到一定高度时(不锈钢滤网9以上某位置),第二传感器11(下液位传感器)动作,发出信息,控制排水电磁阀13关闭,进水电磁阀4再次打开。储水箱14中设置有由排水阀15以及浮球16组成的自动排水装置(类似于抽水马桶中的装置),以保持箱中留有足够的水,从而实现废水再利用。该自动排水装置装在储水箱14的水面以下,当排入储水箱14的废水达到一定限度时,该自动排水装置的排水阀15自动打开,排出多余的废水,此时又实现了一次油水分离。第一水泵17将储水箱14中的水泵到溢油池1中,进行第二周期的分离。如此周而复始,反复多次的冲洗,可以将废油全部回收。经多次过滤后,排出的废水中基本上没有油。特有的多级处理和分离装置,对含油废水先油水粗分离,再细分离,然后再水油粗分离,最后水油细分离。特殊的液位自动控制技术,不需任何添加剂,就能自动地将含油废水中的混合油脂彻底分离出去并集中,经过沉淀后排放出来。
本实用新型也可以这样操作:将待洗的餐具放入溢流池1,执行上述程序,经不断抽水冲刷,几轮后,待洗餐具中的废油将基本漂浮在水面,从而被分离出来。然后把它们取出,只需加少许洗洁精(甚至不加)就可以把餐具洗干净。这样几乎可以彻底杜绝地沟油的存在。
在冬天或者在气温较低的情况下,或者在火锅店中使用时,由于温度较低或者有的油凝固点较高,油水不易分离。本实用新型在分离箱6、储油杯12以及储水箱14内设置了电加热装置18,在连接分离箱6与储油杯12的管道上包裹了电加热装置(如电热布)。这样在正常情况下,本系统按程序工作,即先加热再进行油水分离。如果不需加热,本系统还设置了强制执行按钮,在不需加热的情况下,按下该按钮,就可以直接进行油水分离了。除此之外,本系统还设置了强制进水、强制排水按钮,执行这些动作时可不按程序操作。
如图3所示,本实用新型在上述结构的基础上,还可配套设置一食物残渣桶19,作为溢流池1处理的前道设备。食物残渣桶19的口部设有溢流槽20,用以对食物残渣进行初次过滤,过滤后的混合物再进入溢流池1中。相应的,利用第二水泵17′将储水箱14中的水泵到食物残渣桶19中。(或在第一水泵17的出水管道上设置三通阀,将三通阀的两端分别连接溢流池1和食物残渣桶19。)
如图4所示,除了在食物残渣桶19的口部设置溢流槽20之外,还可在食物残渣桶19上设置一体的压榨机构,该压榨机构包括一底部为倾斜面的楔形活塞式的压块21,压块21的底部安装有水平的格栅22,水平格栅的周边有弹性材料做成的密封裙边。压块21的两侧通过活塞式或者导轨式的升降机构23与食物残渣桶19相连接,压块21与食物残渣桶19之间安装有杠杆系24,杠杆系24与食物残渣桶19之间连接有回复弹簧25,杠杆系24的端部为手柄26。实际使用时,把手柄26上抬,通过杠杆系24使压块21下降,利用格栅22对食物残渣进行压榨,食物残渣基本被压到下面,随着楔形压块21不断下行,含油废水水面不断上升,流过口部的溢流槽20。当食物残渣桶中含油废水较少时,把楔形活塞压下去,含油废水液面就升高,再流入溢油池,能达到节水的作用。
如图5所示,压榨机构也可独立于食物残渣桶19而设置,该独立的压榨机构包括一底部为倾斜面的压块31,压块31的底部安装有水平的格栅32,压块31的两侧通过活塞式或者导轨式的升降机构33与机架35相连接,压块31与机架35之间安装有杠杆系34,杠杆系24的两侧端部相连为手杆36。实际使用时,先将食物残渣桶19推到压榨机构的下面,这样食物残渣桶19就可放置在机架35内,独立的压榨机构的主要作用是使得食物残渣桶19可更换,多个食物残渣桶19可循环使用。
图6示出了本实用新型的延时及控制电路,其中,7805是三端稳压集成电路,上方的一块8端的IC是由555构成的单稳态电路(也可用施密特触发器代替),下方的一块8端的IC是由555构成的多谐振荡器,cgq1、cgq2分别是第一传感器和第二传感器,kt1~ kt5是继电器线圈,M1、M2是第一水泵和第二水泵,该两台水泵能独立工作或同时工作。上述由555构成的单稳态电路和多谐振荡器也可省略。
本实施例中的第一传感器10和第二传感器11可选用市售的液位式传感器或探针式传感器。此外,进水电磁阀4、排水电磁阀13以及离心式旋转除渣器5均可选用市售商品或由市售商品组装而成。
以上所述的仅是本实用新型的优选实施方式,本实用新型不限于以上实施例。可以理解,本领域技术人员在不脱离本实用新型的精神和构思的前提下,可以做出其他改进和变化。
Claims (9)
1.一种高效全自动油水分离系统,其特征在于:该系统包括由管道连接的溢油池(1)、分离箱(6)、储油杯(12)以及储水箱(14);所述溢油池(1)内设置有溢流堰(2),溢流堰(2)与溢流池(1)一端的侧壁构成的腔体内安装有不锈钢除渣网(3),腔体的底部通过管道与分离箱(6)相连接,在连接溢油池(1)与分离箱(6)的管道上安装有进水电磁阀(4);所述分离箱(6)的底部为横截面积相等的柱形,中部为横截面积自下而上逐渐缩小的金字塔形,金字塔形上方通过一细长颈部连接一储油腔;分离箱(6)内安装有不锈钢滤网(9),所述不锈钢滤网(9)的上方设有缓冲板(7);分离箱(6)的颈部安装有第一传感器(10),缓冲板(7)的上方安装有第二传感器(11);分离箱(6)的颈部通过管道与储油杯(12)相连接,所述储油杯(12)底部设有排水口,其侧壁设有排油口;分离箱(6)的底部通过管道与储水箱(14)相连接,在连接分离箱(6)与储水箱(14)的管道上安装有排水电磁阀(13);储水箱(14)内安装有由排水阀(15)和浮球(16)组成的自动排水装置;储水箱(14)通过管道与溢油池(1)相连接,储水箱(14)内安装有与该管道连接的第一水泵(17)。
2.根据权利要求1所述高效全自动油水分离系统,其特征在于:该系统还包括一食物残渣桶(19),所述食物残渣桶(19)的口部设有溢流槽(20);所述储水箱(14)通过管道与食物残渣桶(19)相连接,储水箱(14)内安装有与该管道连接的第二水泵(17′)。
3.根据权利要求2所述高效全自动油水分离系统,其特征在于:所述食物残渣桶(19)上还设置有压榨机构,所述压榨机构包括具有一倾斜面的压块(21),压块(21)的底部安装有水平的格栅(22),压块(21)的两侧通过升降机构(23)与食物残渣桶(19)相连接,压块(21)与食物残渣桶(19)之间安装有杠杆系(24),杠杆系(24)与食物残渣桶(19)之间连接有回复弹簧(25),杠杆系(24)的端部为手柄(26)。
4.根据权利要求2所述高效全自动油水分离系统,其特征在于:该系统还包括一独立于食物残渣桶(19)的压榨机构,所述压榨机构包括具有一倾斜面的压块(31),压块(31)的底部安装有水平的格栅(32),压块(31)的两侧通过升降机构(33)与机架(35)相连接,压块(31)与机架(35)之间安装有杠杆系(34),杠杆系(34)的端部为手杆(36)。
5.根据权利要求3或4所述高效全自动油水分离系统,其特征在于:所述水平格栅的周边有弹性材料做成的密封裙边。
6.根据权利要求1所述高效全自动油水分离系统,其特征在于:在连接溢油池(1)与分离箱(6)的管道上安装有离心式旋转除渣器(5),在溢油池(1)内也安装有离心式旋转除渣器(5)。
7.根据权利要求1所述高效全自动油水分离系统,其特征在于:所述分离箱(6)内安装有滤网(8),所述滤网(8)安装在缓冲板(7)的下方、不锈钢滤网(9)的上方。
8.根据权利要求1所述高效全自动油水分离系统,其特征在于:所述分离箱(6)、储油杯(12)以及储水箱(14)内分别安装有电加热装置(18),在连接分离箱(6)与储油杯(12)的管道上包裹有电加热装置。
9.根据权利要求1所述高效全自动油水分离系统,其特征在于:该系统具有延时及控制电路,所述延时及控制电路连接各电磁阀、排水阀及水泵,使该系统按照程序循环工作。
Priority Applications (1)
| Application Number | Priority Date | Filing Date | Title |
|---|---|---|---|
| CN2012200323818U CN202492415U (zh) | 2012-02-02 | 2012-02-02 | 高效全自动油水分离系统 |
Applications Claiming Priority (1)
| Application Number | Priority Date | Filing Date | Title |
|---|---|---|---|
| CN2012200323818U CN202492415U (zh) | 2012-02-02 | 2012-02-02 | 高效全自动油水分离系统 |
Publications (1)
| Publication Number | Publication Date |
|---|---|
| CN202492415U true CN202492415U (zh) | 2012-10-17 |
Family
ID=46998651
Family Applications (1)
| Application Number | Title | Priority Date | Filing Date |
|---|---|---|---|
| CN2012200323818U Expired - Lifetime CN202492415U (zh) | 2012-02-02 | 2012-02-02 | 高效全自动油水分离系统 |
Country Status (1)
| Country | Link |
|---|---|
| CN (1) | CN202492415U (zh) |
Cited By (4)
| Publication number | Priority date | Publication date | Assignee | Title |
|---|---|---|---|---|
| CN102583804A (zh) * | 2012-02-02 | 2012-07-18 | 孙成胜 | 高效全自动油水分离系统 |
| CN103801112A (zh) * | 2012-11-12 | 2014-05-21 | 中国石油天然气股份有限公司 | 溢流沉降罐出水加压装置 |
| CN105903748A (zh) * | 2016-05-31 | 2016-08-31 | 耐德三井造船(重庆)环境装备有限公司 | 一种餐厨垃圾渣液分离机 |
| CN106219672A (zh) * | 2016-09-29 | 2016-12-14 | 成都安信德环保设备有限公司 | 一种除油方法及除油装置 |
-
2012
- 2012-02-02 CN CN2012200323818U patent/CN202492415U/zh not_active Expired - Lifetime
Cited By (7)
| Publication number | Priority date | Publication date | Assignee | Title |
|---|---|---|---|---|
| CN102583804A (zh) * | 2012-02-02 | 2012-07-18 | 孙成胜 | 高效全自动油水分离系统 |
| CN102583804B (zh) * | 2012-02-02 | 2013-04-17 | 孙成胜 | 高效全自动油水分离系统 |
| CN103801112A (zh) * | 2012-11-12 | 2014-05-21 | 中国石油天然气股份有限公司 | 溢流沉降罐出水加压装置 |
| CN103801112B (zh) * | 2012-11-12 | 2016-03-09 | 中国石油天然气股份有限公司 | 溢流沉降罐出水加压装置 |
| CN105903748A (zh) * | 2016-05-31 | 2016-08-31 | 耐德三井造船(重庆)环境装备有限公司 | 一种餐厨垃圾渣液分离机 |
| CN105903748B (zh) * | 2016-05-31 | 2017-11-24 | 耐德三井造船(重庆)环境装备有限公司 | 一种餐厨垃圾渣液分离机 |
| CN106219672A (zh) * | 2016-09-29 | 2016-12-14 | 成都安信德环保设备有限公司 | 一种除油方法及除油装置 |
Similar Documents
| Publication | Publication Date | Title |
|---|---|---|
| CN102583804B (zh) | 高效全自动油水分离系统 | |
| CN203382582U (zh) | 一种废水残渣隔油处理设备 | |
| CN106673243B (zh) | 一种油脂截留装置 | |
| CN202492415U (zh) | 高效全自动油水分离系统 | |
| CN111847686B (zh) | 餐饮业用油水分离回收设备 | |
| CN201669005U (zh) | 新型餐饮渣、水、油分离泔水桶 | |
| CN204699453U (zh) | 一种箱体式自动除油设备 | |
| CN106277151A (zh) | 一种径向结合多级臭氧气浮装置 | |
| CN204661357U (zh) | 污水的浮杂去除装置 | |
| CN208684564U (zh) | 一种餐饮污水处理装置 | |
| CN204530885U (zh) | 自动化家庭污水二次利用装置 | |
| CN208218579U (zh) | 一种外置式固液分离净化除臭提升装置 | |
| CN204803023U (zh) | 净水机废水再利用装置 | |
| CN204959950U (zh) | 一种雨水自动收集排空装置 | |
| CN211644818U (zh) | 一种厨余油水分离装置 | |
| CN202644665U (zh) | 厨房洗菜废水再利用装置 | |
| CN201581459U (zh) | 家庭污水二次回收利用系统 | |
| CN201324548Y (zh) | 废渣、油、水回收分离桶 | |
| CN202492392U (zh) | 高效油水分离食物残渣桶 | |
| CN222476260U (zh) | 一种餐饮密集区智慧清堵收油型隔油池 | |
| CN206081729U (zh) | 一种带清洗管道装置的澄清式萃取槽 | |
| CN204897485U (zh) | 一种自动化无动力环保集油器 | |
| CN203922916U (zh) | 箱式一体化隔油提升设备 | |
| CN220327420U (zh) | 一种可油水分离的洗碗机 | |
| CN206204031U (zh) | 一种油脂截留装置 |
Legal Events
| Date | Code | Title | Description |
|---|---|---|---|
| C14 | Grant of patent or utility model | ||
| GR01 | Patent grant | ||
| AV01 | Patent right actively abandoned |
Granted publication date: 20121017 Effective date of abandoning: 20130417 |
|
| AV01 | Patent right actively abandoned |
Granted publication date: 20121017 Effective date of abandoning: 20130417 |
|
| RGAV | Abandon patent right to avoid regrant |