CN202491696U - 接触轨膨胀接头 - Google Patents

接触轨膨胀接头 Download PDF

Info

Publication number
CN202491696U
CN202491696U CN2012201109385U CN201220110938U CN202491696U CN 202491696 U CN202491696 U CN 202491696U CN 2012201109385 U CN2012201109385 U CN 2012201109385U CN 201220110938 U CN201220110938 U CN 201220110938U CN 202491696 U CN202491696 U CN 202491696U
Authority
CN
China
Prior art keywords
rail
mid
gear
electricity federation
fishplate bar
Prior art date
Legal status (The legal status is an assumption and is not a legal conclusion. Google has not performed a legal analysis and makes no representation as to the accuracy of the status listed.)
Withdrawn - After Issue
Application number
CN2012201109385U
Other languages
English (en)
Inventor
王长军
陈丕刚
赵举文
姜慧兵
王磊
Current Assignee (The listed assignees may be inaccurate. Google has not performed a legal analysis and makes no representation or warranty as to the accuracy of the list.)
China Railway Construction Bridge Engineering Bureau Electrification Engineering Co Ltd
Original Assignee
China Railway Construction Bridge Engineering Bureau Electrification Engineering Co Ltd
Priority date (The priority date is an assumption and is not a legal conclusion. Google has not performed a legal analysis and makes no representation as to the accuracy of the date listed.)
Filing date
Publication date
Application filed by China Railway Construction Bridge Engineering Bureau Electrification Engineering Co Ltd filed Critical China Railway Construction Bridge Engineering Bureau Electrification Engineering Co Ltd
Priority to CN2012201109385U priority Critical patent/CN202491696U/zh
Application granted granted Critical
Publication of CN202491696U publication Critical patent/CN202491696U/zh
Anticipated expiration legal-status Critical
Withdrawn - After Issue legal-status Critical Current

Links

Images

Landscapes

  • Current-Collector Devices For Electrically Propelled Vehicles (AREA)

Abstract

一种接触轨膨胀接头,属于城市轨道交通接触网供电技术领域,包括上伸缩轨、上电联接板、中间轨、齿轮、下电联接板、下伸缩轨和刻度尺,中间轨的两端制成阶梯型,与上伸缩轨和下伸缩轨的阶梯端相搭接密贴配合,整个接触轨膨胀接头的受流面无连续断开缺口,齿轮与上电联接板和下电联接板的齿条相啮合,齿轮与上电联接板和下电联接板呈中心对称布置;刻度尺,刻度尺的“0”刻度与中间轨的一端外侧对正,解决了接触轨膨胀接头受流面不连续的问题,解决了中间轨偏向一侧,膨胀间隙不匀和安装调整困难需反复测量的问题。

Description

接触轨膨胀接头
技术领域
本实用新型涉及城市轨道交通接触网供电技术领域,具体涉及一种接触轨膨胀接头。
背景技术
目前,随着我国城市轨道交通的快速发展,城市轨道列车多采用接触轨供电,即用列车的集电靴与带电接触轨的受流面相接触,接触轨使用寿命长,易维护,接触轨供电越来越被广泛应用到城市轨道当中来。但接触轨每隔60-90米需设置一处接触轨膨胀接头来调节接触轨随温度变化引起的热胀冷缩长度变化,还要保证列车集电靴受电平稳和平稳地滑过接触轨膨胀接头的受流面,现在的接触轨膨胀接头多采用国外技术,其形式多采用三段式,中间轨两端为斜口,呈棱形,两侧伸缩轨与中间轨靠近端也为斜口,与中间轨两端相适应,三段靠鱼尾板滑动联接伸缩。其缺陷是;1、三段式每两段之间断开,有两处不连续的缺口,使接触轨膨胀接头受流面不连续,当列车的集电靴滑过膨胀接头缺口处时,有冲击,受电不平稳;2、三段式在使用过程中,中间轨常偏向一侧,使两处缺口大小不匀,其中的一处断开缺口偏大,超出设计要求,加剧列车集电靴的磨损,严重时使列车瞬间断电,易产生电弧,降低了一些设备的使用寿命;3、安装时要反复测量接触轨膨胀接头缺口尺寸,定位不准,安装调整困难,安装精度不高。
发明内容
本实用新型的目的在于提供一种三段式的接触轨膨胀接头,其受流面无间断缺口,调整安装简单,不需测量,且膨胀接头的中间轨保持在两侧伸缩轨正中间,不至使一侧缺口缝大一侧缺口缝小,使列车的集电靴平稳滑过膨胀接头的受流面,保证了列车供电的平稳性和受电连续性。
为实现上述目的,本实用新型包括上伸缩轨、上电联接板、中间轨、齿轮、固定轴、中间电联接板、小铜带、下电联接板、大铜环带、下伸缩轨、上限位槽、上限位螺栓、鱼尾板、下限位螺栓、下限位槽、摇把孔、刻度尺、受流面;所述的上伸缩轨靠近中间轨的一端制成阶梯型,靠近阶梯端的轨腔内制有上限位槽,上伸缩轨上焊有上电联接板;上电联接板靠近中间轨的一端制有齿条与齿轮啮合,上电联接板的另一端与大铜环带通过螺栓联接;下伸缩轨靠近中间轨的一端制成阶梯型,靠近阶梯端的轨腔内制有下限位槽,下伸缩轨上焊有下电联接板;下电联接板靠近中间轨的一端制有齿条与齿轮啮合,下电联接板的另一端与大铜环带通过螺栓联接,中间轨上方一侧焊有中间电联接板,中间轨两侧的轨腔内装有鱼尾板,鱼尾板通过螺栓与中间轨固定联接紧密配合,鱼尾板两端分别装有上限位螺栓和下限位螺栓,中间轨两侧轨腔内的鱼尾板的一端通过上限位螺栓穿过上限位槽滑动联接在上伸缩轨的轨腔内,中间轨两侧轨腔内的鱼尾板的另一端通过下限位螺栓穿过下限位槽滑动联接在下伸缩轨的轨腔内。
本实用新型中间轨的两端制成阶梯型,与上伸缩轨和下伸缩轨的阶梯端相互搭接密贴滑动配合,整个接触轨膨胀接头的受流面无连续断开缺口,可使列车集电靴无间断地滑过膨胀接头的受流面。
本实用新型的齿轮安装在固定轴上,齿轮可在固定轴上转动,固定轴固定安装在中间轨上,齿轮上有两个摇把孔,齿轮与上电联接板和下电联接板的齿条相啮合,齿轮与上电联接板和下电联接板呈中心对称布置,齿轮与上下电联接板的齿条的模数及齿距相同;当上伸缩轨和下伸缩轨伸长或缩短时,那么齿轮沿上电联接板和下电联接板的齿条转过的行程相等,所以保证了中间轨同两侧的上伸缩轨和下伸缩轨之间的间隙始终相等;中间轨上方一侧焊有中间电联接板,中间轨两侧的轨腔内装有鱼尾板,鱼尾板通过螺栓与中间轨固定联接紧密配合,鱼尾板两端分别装有上限位螺栓和下限位螺栓,中间轨两侧轨腔内的鱼尾板的一端通过上限位螺栓穿过上限位槽滑动联接在上伸缩轨的轨腔内,中间轨两侧轨腔内的鱼尾板的另一端通过下限位螺栓穿过下限位槽滑动联接在下伸缩轨的轨腔内。
本实用新型大铜环带分别通过螺栓与上电联接板和下电联接板固定联接;小铜带分别通过螺栓与下电联接板和中间电联接板固定联接,保证了三段轨的电气的联接。
本实用新型刻度尺装在鱼尾板靠近下伸缩轨的一端,刻度尺的“0”刻度与中间轨的一端外侧对正,刻度尺为1:2的比例尺,当接触轨膨接头伸长或缩短时,可直接读出接触轨膨胀接头缺口的长度。
有益效果
本实用新型采用中间轨的两端制成阶梯型,与上伸缩轨和下伸缩轨的阶梯端相搭接密贴配合,整个接触轨膨胀接头的受流面无连续断开缺口,齿轮与上电联接板和下电联接板的齿条相啮合,齿轮与上电联接板和下电联接板呈中心对称布置,中间轨与两侧伸缩轨保持等距,中间轨不会偏向两侧伸缩轨的任何一侧,使列车集电靴平稳滑过接触轨膨胀接头的受流面,集电靴无冲击,无断电现象,磨损小;安装时只需用与齿轮上的摇把孔相适应的摇把转动齿轮即可轻松调整安装膨胀间隙,不需工具测量,通过鱼尾板上的刻度尺即可读出膨胀间隙的大小,安装调整方便。
附图说明
图1为本实用新型的主视图;
图2为图1的左视图;
图3为图1的右视图;
图4为图3的俯视图。
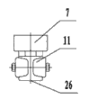
图中1.上伸缩轨,2.上电联接板,3.中间轨,4.齿轮,16.固定轴,5.中间电联接板,6.小铜带,17.下电联接板,7.大铜环带,8.下伸缩轨,9.上限位槽,10.上限位螺栓,11.鱼尾板,12.下限位螺栓,13.下限位槽,20.摇把孔,21. 刻度尺,受流面26,缺口22。
具体实施方式
如图所示,本实用新型包括上伸缩轨1,上电联接板2,中间轨3,齿轮4,固定轴16,中间电联接板5,小铜带6,下电联接板17,大铜环带7,下伸缩轨8,上限位槽9,上限位螺栓10,鱼尾板11,下限位螺栓12,下限位槽13,摇把孔20,刻度尺21,受流面26。上伸缩轨1靠近中间轨3的一端制成阶梯型,靠近阶梯端的轨腔内制有上限位槽9,上伸缩轨1焊有上电联接板2;上电联接板2靠近中间轨3的一端制有齿条与齿轮4啮合,上电联接板2的另一端与大铜环带7通过螺栓联接;下伸缩轨8靠近中间轨3的一端制成阶梯型,靠近阶梯端的轨腔内制有下限位槽13,下伸缩轨8焊有下电联接板17;下电联接板17靠近中间轨3的一端制有齿条与齿轮4啮合,下电联接板17的另一端与大铜环带7通过螺栓联接;中间轨3的两端制成阶梯型,与上伸缩轨1和下伸缩轨7的阶梯端相互搭接密贴滑动配合,中间轨3上装有固定轴16,固定轴16上装有齿轮4,齿轮可4在固定轴16上转动,中间轨3上焊有中间电联接板5,中间轨3两侧的轨腔内装有鱼尾板11,鱼尾板11通过螺栓与中间轨3固定联接;齿轮4上有两个摇把孔20,齿轮4与上下电联接板的齿条相啮合,齿轮4与上下电联接板的齿条的模数及齿距相同;大铜环带7分别通过螺栓与上电联接板2和下电联接板17固定联接;小铜带6分别通过螺栓与下电联接板17和中间电联接板5固定联接;鱼尾板11两端分别装有上限位螺栓10和下限位螺栓12,中间轨3两侧轨腔内的鱼尾板11的一端通过上限位螺栓10穿过上限位槽9滑动联接在上伸缩轨的轨腔内,中间轨3两侧轨腔内的鱼尾板11的另一端通过下限位螺栓12穿过下限位槽13滑动联接在下伸缩轨8的轨腔内;鱼尾板11靠近下伸缩轨的一端装有刻度尺21。
其工作过程是,本实用新型的接触轨膨胀接头组装时,当上伸缩轨1,中间轨3和下伸缩轨8闭合时,安装齿轮4和固定轴16,刻度尺21上的0刻度正对中间轨3和下伸缩轨8的接缝处;安装此实用新型的膨胀接头时,只需用与齿轮4上摇把孔20相适应的摇把转动齿轮4,齿轮4带动与之啮合的电联接板2和下电联接板17上的齿条,从而带动上伸缩轨1和下伸缩轨8相向或相反运动,按设计要求调整上伸缩轨1,中间轨3和下伸缩轨8之间的安装间隙;中间轨3同两侧的上伸缩轨1和下伸缩轨8之间的间隙相等,可通过刻度尺21上的刻度读出;当上伸缩轨1伸长和下伸缩轨8伸长或缩短时,那么齿轮4沿上电联接板2和下电联接板17的齿条转过的行程相等,所以保证了中间轨3同两侧的上伸缩轨1和下伸缩轨8之间的间隙始终相等。

Claims (4)

1.一种接触轨膨胀接头,包括上伸缩轨(1),上电联接板(2),中间轨(3),中间电联接板(5),小铜带(6),下电联接板(17),大铜环带(7),下伸缩轨(8),上限位槽(9),上限位螺栓(10),鱼尾板(11),下限位螺栓(12),下限位槽(13),上伸缩轨(1)上方焊有上电联接板(2),上电联接板(2)与大铜环带(7)通过螺栓联接,下伸缩轨(8)上焊有下电联接板(17),中间轨(3)装在上伸缩轨(1)和下伸缩轨(8)之间,中间轨(3)上方焊有中间电联接板(5),中间轨(3)两侧的轨腔内装有鱼尾板(11),鱼尾板(11)通过螺栓与中间轨(3)固定联接,鱼尾板(11)两端分别装有上限位螺栓(10)和下限位螺栓(12),中间轨(3)两侧轨腔内的鱼尾板(11)的一端通过上限位螺栓(10)穿过上限位槽(9)联接在上伸缩轨(1)的轨腔内,中间轨(3)两侧轨腔内的鱼尾板(11)的另一端通过下限位螺栓(12)穿过下限位槽(13)滑动联接在下伸缩轨(8)的轨腔内,大铜环带(7)分别通过螺栓与上电联接板(2)和下电联接板(17)固定联接,小铜带(6)分别通过螺栓与下电联接板(17)和中间电联接板(5)固定联接,其特征是接触轨膨胀接头还包括齿轮(4),固定轴(16),摇把孔(20), 刻度尺(21):
所述齿轮安装在固定轴(16)上,齿轮(4)可在固定轴(16)上转动,固定轴(16)固定安装在中间轨(3)上,齿轮(4)上有两个摇把孔(20),齿轮(4)与上电联接板(2)的齿条和下电联接板(17)的齿条相啮合,齿轮(4)与上电联接板(2)和下电联接板(17)呈中心对称布置;
所述刻度尺(21)装在鱼尾板(11)靠近下伸缩轨(8)的一端,刻度尺的“0”刻度与中间轨(3)的一端外侧对正。
2.根据权利要求1所述的接触轨膨胀接头,其特征是所述刻度尺(21)为1:2的比例尺。
3.根据权利要求1所述的接触轨膨胀接头,其特征是齿轮(4),其中心对称有两个摇把孔(20),其模数和齿距与上电联接板(2)的齿条和下电联接板(17)的齿条的模数及齿距相同。
4.根据权利要求1所述的接触轨膨胀接头,其特征是中间轨(3)的两端制成阶梯型与上伸缩轨(1)和下伸缩轨(8)的阶梯端相搭接密贴配合。
CN2012201109385U 2012-03-22 2012-03-22 接触轨膨胀接头 Withdrawn - After Issue CN202491696U (zh)

Priority Applications (1)

Application Number Priority Date Filing Date Title
CN2012201109385U CN202491696U (zh) 2012-03-22 2012-03-22 接触轨膨胀接头

Applications Claiming Priority (1)

Application Number Priority Date Filing Date Title
CN2012201109385U CN202491696U (zh) 2012-03-22 2012-03-22 接触轨膨胀接头

Publications (1)

Publication Number Publication Date
CN202491696U true CN202491696U (zh) 2012-10-17

Family

ID=46997935

Family Applications (1)

Application Number Title Priority Date Filing Date
CN2012201109385U Withdrawn - After Issue CN202491696U (zh) 2012-03-22 2012-03-22 接触轨膨胀接头

Country Status (1)

Country Link
CN (1) CN202491696U (zh)

Cited By (2)

* Cited by examiner, † Cited by third party
Publication number Priority date Publication date Assignee Title
CN103318053A (zh) * 2012-03-22 2013-09-25 中铁十三局集团电务工程有限公司 接触轨膨胀接头
CN107310431A (zh) * 2017-08-01 2017-11-03 湖南华品轨道交通有限公司 一种伸缩式连接器

Cited By (3)

* Cited by examiner, † Cited by third party
Publication number Priority date Publication date Assignee Title
CN103318053A (zh) * 2012-03-22 2013-09-25 中铁十三局集团电务工程有限公司 接触轨膨胀接头
CN103318053B (zh) * 2012-03-22 2015-03-11 中铁建大桥工程局集团电气化工程有限公司 接触轨膨胀接头
CN107310431A (zh) * 2017-08-01 2017-11-03 湖南华品轨道交通有限公司 一种伸缩式连接器

Similar Documents

Publication Publication Date Title
CN202900097U (zh) 一种连续油管夹持机构
CN202491696U (zh) 接触轨膨胀接头
CN202099738U (zh) 一种大位移多向变位梳齿型桥梁伸缩装置
CN103452567B (zh) 全断面硬岩隧道掘进机的滚刀安装位置调整结构
CN102535269B (zh) 一种可调节的采煤机轨道
CN103318053B (zh) 接触轨膨胀接头
CN106352206B (zh) 一种智能交通摄像头的支撑导轨
CN203603050U (zh) 用于倒t盖梁上的伸缩装置
CN202133342U (zh) 活套摆门定位块专用样板
CN211340226U (zh) 轨道电路绝缘系统
CN204043933U (zh) 复合冷却系统监测装置
CN201620351U (zh) 一种具有防水罩的桥梁支座
CN205368111U (zh) 一种密封箱可在线换辊结构
CN103572710B (zh) 悬索桥主缆钢丝搭桥修复方法及其搭桥组件
CN207471079U (zh) 一种铁路隧道施工安全监控装置
CN203359797U (zh) 一种电动葫芦吊车
CN206986630U (zh) 新型高效道岔尖轨防跳装置
CN201763335U (zh) 一种掘进机截割臂滑动导轨装置
CN205785157U (zh) 一种轨道智能检测系统
CN202839633U (zh) 薄膜组件固定装置
CN109631985A (zh) 一种高铁连续梁监测系统
CN204365720U (zh) 一种热轧粗轧机上切水导卫装置
CN201526320U (zh) 连续采煤机的连杆滑块补偿装置
CN203360948U (zh) 多功能板端隔振装置
CN203580942U (zh) 一种固定齿轮箱的c型支架

Legal Events

Date Code Title Description
C14 Grant of patent or utility model
GR01 Patent grant
C56 Change in the name or address of the patentee

Owner name: CHINA RAILWAY CONSTRUCTION BRIDGE ENGINEERING GROU

Free format text: FORMER NAME: CHINA RAILWAY 13TH BUREAU GROUP ELECTRICAL SERVICE ENGINEERING CO., LTD.

CP01 Change in the name or title of a patent holder

Address after: 300232 Tianjin city Hebei District Zhicheng Daozhi Village No. 41

Patentee after: CR13G ELECTRIC ENGINEERING CO., LTD.

Patentee after: Zhao Juwen

Address before: 300232 Tianjin city Hebei District Zhicheng Daozhi Village No. 41

Patentee before: CR13G Electric Engineering Co., Ltd.

Patentee before: Zhao Juwen

AV01 Patent right actively abandoned

Granted publication date: 20121017

Effective date of abandoning: 20150311

RGAV Abandon patent right to avoid regrant