CN201616374U - 带接地的隔离负荷开关 - Google Patents

带接地的隔离负荷开关 Download PDF

Info

Publication number
CN201616374U
CN201616374U CN2010201059828U CN201020105982U CN201616374U CN 201616374 U CN201616374 U CN 201616374U CN 2010201059828 U CN2010201059828 U CN 2010201059828U CN 201020105982 U CN201020105982 U CN 201020105982U CN 201616374 U CN201616374 U CN 201616374U
Authority
CN
China
Prior art keywords
ground connection
switch
main body
connecting lever
underframe
Prior art date
Legal status (The legal status is an assumption and is not a legal conclusion. Google has not performed a legal analysis and makes no representation as to the accuracy of the status listed.)
Expired - Fee Related
Application number
CN2010201059828U
Other languages
English (en)
Inventor
林爱民
Current Assignee (The listed assignees may be inaccurate. Google has not performed a legal analysis and makes no representation or warranty as to the accuracy of the list.)
RISHENG GROUP CO Ltd
Original Assignee
RISHENG GROUP CO Ltd
Priority date (The priority date is an assumption and is not a legal conclusion. Google has not performed a legal analysis and makes no representation as to the accuracy of the date listed.)
Filing date
Publication date
Application filed by RISHENG GROUP CO Ltd filed Critical RISHENG GROUP CO Ltd
Priority to CN2010201059828U priority Critical patent/CN201616374U/zh
Application granted granted Critical
Publication of CN201616374U publication Critical patent/CN201616374U/zh
Anticipated expiration legal-status Critical
Expired - Fee Related legal-status Critical Current

Links

Images

Landscapes

  • Scissors And Nippers (AREA)

Abstract

本实用新型公开了一种带接地的隔离负荷开关,包括开关主体(1),所述的开关主体(1)的下方底架(2)上安装有开关手柄(3),所述的开关手柄(3)通过手柄转轴(4)与开关主体(1)相连接,开关手柄上设置有绝缘拉杆(5),所述的绝缘拉杆(5)的顶端连接有触刀(6),所述的触刀(6)的另一端与开关主体(1)可转动连接,其特征在于:所述的开关主体(1)的下方底架(2)上安装有接地刀(7)和接地刀手柄(8),所述的接地刀(7)和接地刀手柄(8)通过接地刀转轴(9)安装在底架(2)上,接地刀(7)和接地刀手柄(8)固定于接地刀转轴(9)之上。采用本实用新型结构,增加了接地结构,操作方便、安全。

Description

带接地的隔离负荷开关
技术领域
本实用新型涉及开关领域,具体地讲是一种户外高压真空带接地的隔离负荷开关。
背景技术
隔离负荷开关一般用于户外高压线路上,现有技术的隔离负荷开关一般包括开关主体,所述的开关主体的下方底架上安装有开关手柄,所述的开关手柄通过手柄转轴与开关主体相连接,开关手柄上设置有绝缘拉杆,所述的绝缘拉杆的顶端连接有触刀,所述的触刀的另一端与开关主体可转动连接。使用时,通过在开关手柄的一端施加向上或下的力,就可以带动绝缘拉杆上下运动,从而实现触刀的开与闭。
在隔离开关的使用过程中,触刀断开时,但开关内部还有大量的电量,而且电量有可能从反向流入,如果此时人体去触碰的话有可能会触电,因此在触刀断开后,往往需要将开关接地,以释放开关内部的电量和反向流入的电量。现有技术一般是用裸导线将三相触刀相连,再连接接地线来解决上述问题。由于户外隔离负荷开关都安装在比较高的位置,所以用上述方法既不方便,也不安全。
实用新型内容
本实用新型要解决的技术问题是,提供一种能安全使用的带接地的隔离负荷开关。
本实用新型的技术解决方案是,提供一种以下结构的带接地的隔离负荷开关,包括开关主体,所述的开关主体的下方底架上安装有开关手柄,所述的开关手柄通过手柄转轴与开关主体相连接,开关手柄上设置有绝缘拉杆,所述的绝缘拉杆的顶端连接有触刀,所述的触刀的另一端与开关主体可转动连接。
所述的开关主体的下方底架上安装有接地刀和接地刀手柄,所述的接地刀和接地刀手柄通过接地刀转轴安装在底架上,接地刀和接地刀手柄固定于接地刀转轴之上。
采用以上结构,本实用新型与现有技术相比具有以下优点:采用本实用新型结构,在现有技术的隔离负荷开关上增加了接地结构,可以在触刀断开后,扳动手柄,带动接地刀转轴,从而使接地刀转动并接触到触头,以实现接地,操作方便、安全。
作为改进,在接地刀转轴上还固定有压簧拐臂,并在底架上设有一弹簧,所述的压簧拐臂压住弹簧。这样,在接地时扳动接地刀的过程中,会受到弹簧一定的阻力,当接地刀转过一定角度的时候,压簧拐臂带动弹簧沿着逆时针方向转动,此后弹簧的阻力变成动力,在接地刀触碰触头的时候,由于弹簧的作用不会轻易地松开。
作为进一步改进,所述的手柄转轴上固定有连杆拐臂,所述的接触刀转轴上固定有限位拐臂,并在限位拐臂附近的底架上开有限位槽,所述的限位槽包括左端倾斜槽、平直槽、右端倾斜,所述的限位槽内设有柱销,所述的柱销和连杆拐臂之间连接有连杆。这样,在开关手柄带动触刀合上后,柱销刚好位于限位槽的最左端,由于该处为一倾斜槽,此时若扳动接地刀手柄,柱销就会卡住限位拐臂,使接触刀无法合上,这就避免了在开关合上的时候,不小又连上接触刀而造成的短路;同理,当开关断开的时候,接触刀合上,此时柱销在限位槽的最右端,由于限位拐臂的作用,此时无法拉动开关手柄,同样防止了短路的发生。
附图说明
图1为本实用新型带接地的隔离负荷开关的结构示意图。
图2为本实用新型带接地的隔离负荷开关的局部结构示意图。
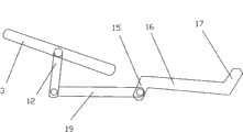
如图所示1、开关主体,2、底架,3、开关手柄,4、手柄转轴,5、绝缘拉杆,6、触刀,7、接地刀,8、接地刀手柄,9、接地刀转轴,10、压簧拐臂,11、弹簧,12、连杆拐臂,13、限位拐臂,14、限位槽,15、左端倾斜槽,16、平直槽,17、右端倾斜槽,18、柱销,19、连杆。
具体实施方式
下面结合附图和具体实施例对本实用新型作进一步说明。
本实用新型的带接地的隔离负荷开关,包括开关主体1,所述的开关主体1的下方底架2上安装有开关手柄3,所述的开关手柄3通过手柄转轴4与开关主体1相连接,开关手柄上设置有绝缘拉杆5,所述的绝缘拉杆5的顶端连接有触刀6,所述的触刀6的另一端与开关主体1可转动连接。
以上为现有技术,本实用新型的特点是,所述的开关主体1的下方底架2上安装有接地刀7和接地刀手柄8,所述的接地刀7和接地刀手柄8通过接地刀转轴9安装在底架上,接地刀7和接地刀手柄8固定于接地刀转轴9之上。
在接地刀转轴9上还固定有压簧拐臂10,并在底架2上设有一弹簧,所述的压簧拐臂10压住弹簧11。
所述的手柄转轴4上固定有连杆拐臂12,所述的接触刀转轴9上固定有限位拐臂13,并在限位拐臂13附近的底架2上开有限位槽14,所述的限位槽14包括左端倾斜槽15、平直槽16、右端倾斜槽17,所述的限位槽14内设有柱销18,所述的柱销18和连杆拐臂12之间连接有连杆19。
本实用新型的工作原理:在开关手柄3带动下,可以使触刀6的开和合,从而实现整个隔离负荷开关的断开和闭合,在触刀6合上时,此时不能合上接地刀7(会出现短路),由于连杆19的带动,这时的柱销18刚好位于左端倾斜槽15内,若操作人员不小心扳动接地刀手柄8,限位拐臂13会在柱销18的阻挡下而无法前进,接地刀7也就无法合上;当开关手柄3带动触刀6断开时,在连杆19的带动下柱销18进入右端倾斜槽17,此时可以顺利合上接地刀7,将隔离负荷开关内的残留电量放掉,接地刀7合上后,由于限位拐臂13的作用,这时无法扳动开关手柄3来合上触刀6,也有效地防止了短路。

Claims (3)

1.一种带接地的隔离负荷开关,包括开关主体(1),所述的开关主体(1)的下方底架(2)上安装有开关手柄(3),所述的开关手柄(3)通过手柄转轴(4)与开关主体(1)相连接,开关手柄上设置有绝缘拉杆(5),所述的绝缘拉杆(5)的顶端连接有触刀(6),所述的触刀(6)的另一端与开关主体(1)可转动连接,其特征在于:所述的开关主体(1)的下方底架(2)上安装有接地刀(7)和接地刀手柄(8),所述的接地刀(7)和接地刀手柄(8)通过接地刀转轴(9)安装在底架(2)上,接地刀(7)和接地刀手柄(8)固定于接地刀转轴(9)之上。
2.根据权利要求1所述的带接地的隔离负荷开关,其特征在于:在接地刀转轴(9)上还固定有压簧拐臂(10),并在底架(2)上设有一弹簧(11),所述的压簧拐臂(10)压住弹簧(11)。
3.根据权利要求1所述的带接地的隔离负荷开关,其特征在于:所述的手柄转轴(4)上固定有连杆拐臂(12),所述的接触刀转轴(9)上固定有限位拐臂(13),并在限位拐臂(13)附近的底架(2)上开有限位槽(14),所述的限位槽(14)包括左端倾斜槽(15)、平直槽(16)、右端倾斜槽(17),所述的限位槽(14)内设有柱销(18),所述的柱销(18)和连杆拐臂(12)之间连接有连杆(19)。
CN2010201059828U 2010-01-27 2010-01-27 带接地的隔离负荷开关 Expired - Fee Related CN201616374U (zh)

Priority Applications (1)

Application Number Priority Date Filing Date Title
CN2010201059828U CN201616374U (zh) 2010-01-27 2010-01-27 带接地的隔离负荷开关

Applications Claiming Priority (1)

Application Number Priority Date Filing Date Title
CN2010201059828U CN201616374U (zh) 2010-01-27 2010-01-27 带接地的隔离负荷开关

Publications (1)

Publication Number Publication Date
CN201616374U true CN201616374U (zh) 2010-10-27

Family

ID=43002738

Family Applications (1)

Application Number Title Priority Date Filing Date
CN2010201059828U Expired - Fee Related CN201616374U (zh) 2010-01-27 2010-01-27 带接地的隔离负荷开关

Country Status (1)

Country Link
CN (1) CN201616374U (zh)

Cited By (2)

* Cited by examiner, † Cited by third party
Publication number Priority date Publication date Assignee Title
CN103151212A (zh) * 2013-02-25 2013-06-12 贵州中泉电气集团有限公司 一种回路自锁负荷开关
CN108511256A (zh) * 2018-05-14 2018-09-07 河南森源电气股份有限公司 接地开关联锁机构及开关柜

Cited By (2)

* Cited by examiner, † Cited by third party
Publication number Priority date Publication date Assignee Title
CN103151212A (zh) * 2013-02-25 2013-06-12 贵州中泉电气集团有限公司 一种回路自锁负荷开关
CN108511256A (zh) * 2018-05-14 2018-09-07 河南森源电气股份有限公司 接地开关联锁机构及开关柜

Similar Documents

Publication Publication Date Title
CN201616374U (zh) 带接地的隔离负荷开关
CN201611625U (zh) 带接地的隔离开关
CN204130427U (zh) 一种户外交流高压隔离开关
CN206340502U (zh) 一种电气开关的操作机构
CN204315988U (zh) 一种断路器手车进出车联锁装置
CN104157490A (zh) 一种高压直流接触器触头系统
CN202276065U (zh) 户内高压交流真空负荷开关-熔断器组合电器
CN203850201U (zh) 多维自锁式高压气动隔离开关
CN201655651U (zh) 环网分断点智能隔离开关
CN106847608A (zh) 一种户外高压交流真空断路器的永磁弹簧一体化机构
CN217334819U (zh) 一种拉出锁定解锁机构
CN201417896Y (zh) 手车式126kv组合电器
CN203774147U (zh) 电动的主轴推入式接地开关
CN205992498U (zh) 户外铁道用双极真空断路器
CN205159190U (zh) 一种负荷开关
CN213546188U (zh) 三工位操作机构
CN201229896Y (zh) 户外真空断路器开合联锁控制装置
CN204088172U (zh) 一种户内真空负荷开关
CN209344614U (zh) 一种手车式六氟化硫断路器
CN203055763U (zh) 一种回路自锁负荷开关
CN103280381B (zh) 永磁机构置于主导电体内部的户外交流高压跌落式分段器
CN208478171U (zh) 一种cd弹簧操作机构
CN203026385U (zh) 一种接地开关操作机构
CN207868116U (zh) 一种折臂式刀闸合闸修正装置
CN106548900A (zh) 多维自锁式高压气动隔离开关

Legal Events

Date Code Title Description
C14 Grant of patent or utility model
GR01 Patent grant
CF01 Termination of patent right due to non-payment of annual fee
CF01 Termination of patent right due to non-payment of annual fee

Granted publication date: 20101027

Termination date: 20180127