CN201385917Y - Multi-box garbage classification collection box - Google Patents

Multi-box garbage classification collection box Download PDF

Info

Publication number
CN201385917Y
CN201385917Y CN200920126415U CN200920126415U CN201385917Y CN 201385917 Y CN201385917 Y CN 201385917Y CN 200920126415 U CN200920126415 U CN 200920126415U CN 200920126415 U CN200920126415 U CN 200920126415U CN 201385917 Y CN201385917 Y CN 201385917Y
Authority
CN
China
Prior art keywords
collection
garbage
collection box
waste
box
Prior art date
Legal status (The legal status is an assumption and is not a legal conclusion. Google has not performed a legal analysis and makes no representation as to the accuracy of the status listed.)
Expired - Fee Related
Application number
CN200920126415U
Other languages
Chinese (zh)
Inventor
杨延梅
Current Assignee (The listed assignees may be inaccurate. Google has not performed a legal analysis and makes no representation or warranty as to the accuracy of the list.)
Chongqing Jiaotong University
Original Assignee
Chongqing Jiaotong University
Priority date (The priority date is an assumption and is not a legal conclusion. Google has not performed a legal analysis and makes no representation as to the accuracy of the date listed.)
Filing date
Publication date
Application filed by Chongqing Jiaotong University filed Critical Chongqing Jiaotong University
Priority to CN200920126415U priority Critical patent/CN201385917Y/en
Application granted granted Critical
Publication of CN201385917Y publication Critical patent/CN201385917Y/en
Anticipated expiration legal-status Critical
Expired - Fee Related legal-status Critical Current

Links

Images

Classifications

    • YGENERAL TAGGING OF NEW TECHNOLOGICAL DEVELOPMENTS; GENERAL TAGGING OF CROSS-SECTIONAL TECHNOLOGIES SPANNING OVER SEVERAL SECTIONS OF THE IPC; TECHNICAL SUBJECTS COVERED BY FORMER USPC CROSS-REFERENCE ART COLLECTIONS [XRACs] AND DIGESTS
    • Y02TECHNOLOGIES OR APPLICATIONS FOR MITIGATION OR ADAPTATION AGAINST CLIMATE CHANGE
    • Y02WCLIMATE CHANGE MITIGATION TECHNOLOGIES RELATED TO WASTEWATER TREATMENT OR WASTE MANAGEMENT
    • Y02W30/00Technologies for solid waste management
    • Y02W30/50Reuse, recycling or recovery technologies
    • Y02W30/60Glass recycling
    • YGENERAL TAGGING OF NEW TECHNOLOGICAL DEVELOPMENTS; GENERAL TAGGING OF CROSS-SECTIONAL TECHNOLOGIES SPANNING OVER SEVERAL SECTIONS OF THE IPC; TECHNICAL SUBJECTS COVERED BY FORMER USPC CROSS-REFERENCE ART COLLECTIONS [XRACs] AND DIGESTS
    • Y02TECHNOLOGIES OR APPLICATIONS FOR MITIGATION OR ADAPTATION AGAINST CLIMATE CHANGE
    • Y02WCLIMATE CHANGE MITIGATION TECHNOLOGIES RELATED TO WASTEWATER TREATMENT OR WASTE MANAGEMENT
    • Y02W30/00Technologies for solid waste management
    • Y02W30/50Reuse, recycling or recovery technologies
    • Y02W30/64Paper recycling

Landscapes

  • Refuse Collection And Transfer (AREA)
  • Refuse Receptacles (AREA)
  • Processing Of Solid Wastes (AREA)

Abstract

多箱体式垃圾分类收集箱,用于生活垃圾的分类收集。该垃圾箱由八个箱体组成,各箱体内部分别放置有对应的铁皮内桶,箱体顶部均设有垃圾投放与收运顶盖。该垃圾箱可以为厨余、玻璃、纸张、塑料、金属、废旧电池、有毒有害垃圾和废木头与泡沫等其它无害垃圾的分类收集提供相对独立的收集空间。它可以避免玻璃物质与厨余的混合收集;可以在垃圾收集的过程中为最大限度地避免有毒有害物质混入普通垃圾中提供收集设施的保障;另外它还为有机厨余、玻璃、纸张、塑料、一般金属与废旧电池中有用金属等物资的后续资源化循环奠定良好的收集渠道基础。该垃圾箱的应用可以促进生活垃圾的高效处理与资源化利用,非常符合循环经济的理念,适合用作为文明小区的垃圾收集装置。

Figure 200920126415

The multi-box type garbage classification collection box is used for the classification collection of domestic garbage. The garbage bin is composed of eight boxes, and each box is equipped with a corresponding iron inner bucket, and the top of the box is equipped with a top cover for garbage delivery and collection. The dustbin can provide a relatively independent collection space for the classified collection of kitchen waste, glass, paper, plastic, metal, waste batteries, toxic and hazardous waste, and other harmless waste such as waste wood and foam. It can avoid the mixed collection of glass substances and kitchen waste; it can provide collection facility guarantees to prevent toxic and harmful substances from being mixed into ordinary garbage during the garbage collection process; in addition, it can provide organic food waste, glass, paper, plastic , general metals and useful metals in waste batteries and other materials, laying a good foundation for collection channels. The application of the garbage bin can promote the efficient treatment and resource utilization of domestic garbage, which is very in line with the concept of circular economy, and is suitable for use as a garbage collection device in civilized communities.

Figure 200920126415

Description

Many box-types separate waste collection case
Technical field
The utility model relates to a kind of many box-types separate waste collection case.It relates to a kind ofly can compare house refuse careful categorised collection, and realize that the kitchen is surplus, glass, paper, plastics, metal, old and useless battery, poisonous and harmful rubbish is different from the device that other rubbish is collected separately, placed.
Background technology
Current, in the street in each city, tourist attractions, outdoor square, biotope etc. all are provided with rubbish container, the house refuse that people abandon can be in time collected in the setting of rubbish container, for the appearance of the city that keeps the city has neatly played very big effect.Though, the categorised collection and the transportation of the present rubbish of all being unrealized basically in each city of China, but classified garbage box monitored use is still received fortune for the classification that will realize municipal refuse from now on and is handled certain utensil preparation and the public's ideological education effect of refuse classification played.The complicated component of house refuse, it contains the surplus class organic waste in kitchen, as: pericarp, dish leaf etc.; Contain stationery, plastics, glass, metal; Also contain other harmless rubbish such as waste wood head, useless foam, fabric and old and useless battery and other poisonous and harmful rubbish as waste daylight lamp tube etc.But the present widely used classified garbage box monitored gathering-device that all is not provided with independent stationery, plastics, glass, old and useless battery, poisonous and harmful rubbish; so causing other hazardous and noxious substances such as glass, old and useless battery and waste daylight lamp tube usually sneaks in other rubbish; this has not only brought hidden danger for the conventional processing of common rubbish, also makes useful metal in stationery, plastics, glass, common metal and the old and useless battery etc. can not get rational resource and reclaims.
The utility model content
Main purpose of the present utility model is to provide a kind of many box-types separate waste collection case, this rubbish container is more careful than the collection classification of common rubbish container, it can be when classification such as realizing organic kitchen is surplus, glass, paper, plastics, metal be collected, for old and useless battery and other hazardous and noxious substances provide independent collection space.
For achieving the above object, technical solution of the present utility model is: designed many box-types separate waste collection case.This rubbish container is a big iron sheet cabinet, by mode this cabinet is separated into eight relatively independent and link together casings with the iron sheet welding, each box house is placed with the corresponding interior bucket of iron sheet of storing rubbish respectively, and the casing top is respectively equipped with the rubbish input and receives fortune and covers.Dailyly open different rubbish and throw in and receive the fortune top cover and inhomogeneous rubbish can be thrown in the cooresponding refuse collection iron sheet in the bucket; Open all kinds of rubbish during garbage collecting and transferring and throw in and receive that bucket takes out in the iron sheet that the fortune top cover can will be equipped with rubbish, further be poured onto the collection process of finishing different rubbish on the specific cram packer.Consider that the more conventional kitchen of generation of old and useless battery and poisonous and harmful rubbish is surplus and will lack, so the volume of refuse battery collection tank and poisonous and harmful refuse collection casing is ten sixths of whole rubbish container (big cabinet) volume with other rubbish; Biodegradable organic rubbish from cooking day, constant rate of production was bigger, so the volume of rubbish from cooking collection tank is 1/4th of whole rubbish container (big cabinet) volume; The volume of glass collection tank, paper collection tank, plastics collection box body, metal collection tank and other harmless refuse collection casings such as waste wood head and foam is 1/8th of whole rubbish container (big cabinet) volume.
After adopting such scheme, the utility model adopts the mode of welding with iron sheet many box-types separate waste collection case to be separated into eight relatively independent and link together casings, and the categorised collection of, glass surplus for the kitchen, paper, plastics, metal, old and useless battery, poisonous and harmful rubbish and other harmless rubbish such as waste wood head and foam provides relatively independent collection space; Each casing top is equipped with rubbish and throws in and receipts fortune top cover.The categorised collection of other harmless rubbish such as this rubbish container can realize that organic kitchen is surplus, glass, paper, plastics, metal, old and useless battery, poisonous and harmful rubbish, waste wood head and foam.Simultaneously, it has avoided the surplus mixed collections of material and kitchen such as glass, for the product quality that improves rubbish from cooking generate subsequent materialization processing provides good preparatory condition, it can be for avoiding refuse battery in the process of refuse collection to greatest extent, objectionable impuritiess such as fluorescent tube are sneaked into the guarantee that collection facility is provided in the common rubbish, it can realize discarded paper, plastics, the daily categorised collection of common metal etc., for good collection channel basis is established in the follow-up resource circulation of valuable cargo, thereby can promote the efficient processing and the recycling of house refuse, the theory that meets very much recycling economy can satisfy in the constructive process of civilized sub-district the demand to separate waste collection.Many box-types separate waste collection case is especially suitable for use as the refuse collector into civilized sub-district.
Description of drawings
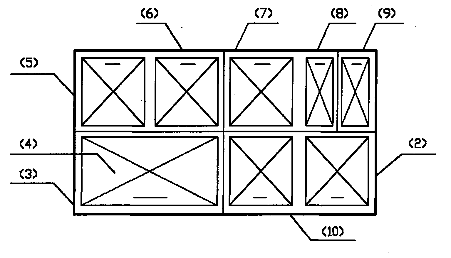
Accompanying drawing 1 is the front elevation of many box-types separate waste collection case;
Accompanying drawing 2 is birds-eye vieies of many box-types separate waste collection case.
The specific embodiment
As shown in Figures 1 and 2, many box-types of the utility model separate waste collection case, casing relatively independent by eight and that link together is formed, they are respectively other harmless refuse collection casing (7), old and useless battery collection tank (8) and poisonous and harmful refuse collection casings (9) such as discarded paper collection tank (2), kitchen waste collection casing (3), glass collection tank (5), metal collection tank (6), plastics collection box body (10), waste wood head and foam, and each casing is welded by iron sheet and separates and form; Box house is placed with bucket in the cooresponding iron sheet respectively; Each casing top is provided with cooresponding rubbish and throws in and receipts fortune top cover, as: the rubbish of discarded paper collection tank is thrown in the receipts fortune top covers (1) and the rubbish of kitchen waste collection casing and is thrown in and receipts fortune top cover (4).Each rubbish is thrown in and is received on the fortune top cover and all is welded with handle, and at ordinary times by handle, people just can open lid and throw in rubbish.At first open the input that is fastened on each rubbish casing top during all kinds of garbage collecting and transferring and receive the fortune top cover, take out then that bucket carries out toppling over of all kinds of rubbish in the cooresponding iron sheet.The volume of rubbish from cooking collection tank (3) is 1/4th of whole rubbish container (big cabinet) volume; The volume of glass collection tank (5), discarded paper collection tank (2), plastics collection box body (10), metal collection tank (6) and other harmless refuse collection casings (7) such as waste wood head and foam is 1/8th of whole rubbish container (big cabinet) volume; The volume of old and useless battery collection tank (8) and poisonous and harmful refuse collection casing (9) is ten sixths of whole rubbish container (big cabinet) volume.
This rubbish container can realize that organic kitchen is surplus, glass, paper, plastics, metal, old and useless battery, poisonous and harmful rubbish, the categorised collection of other harmless rubbish such as waste wood head and foam, can avoid simultaneously the surplus mixed collections of material and kitchen such as glass, it can be for avoiding refuse battery in the process of refuse collection to greatest extent, objectionable impuritiess such as fluorescent tube are sneaked into the guarantee that collection facility is provided in the common rubbish, it can realize discarded paper, plastics, the daily categorised collection of common metal etc., for good collection channel basis is established in the follow-up resource circulation of valuable cargo, thereby can promote the efficient processing and the recycling of house refuse.

Claims (2)

1、一种多箱体式垃圾分类收集箱,其特征在于:该多箱体式垃圾分类收集箱是由废弃纸张收集箱体(2)、厨余收集箱体(3)、玻璃收集箱体(5)、金属收集箱体(6)、塑料收集箱体(10)、废木头与泡沫等其它无害垃圾收集箱体(7)、废旧电池收集箱体(8)、和有毒有害垃圾收集箱体(9)通过铁皮焊接方式连接而形成的;组成该多箱体式垃圾分类收集箱的八个箱体相对独立,各箱体内部分别放置有对应的铁皮内桶,顶部设有垃圾投放与收运顶盖。1. A multi-box garbage sorting collection box, characterized in that: the multi-box garbage sorting collection box is composed of a waste paper collection box (2), a kitchen waste collection box (3), a glass collection box (5), metal collection box (6), plastic collection box (10), waste wood and foam and other harmless garbage collection box (7), waste battery collection box (8), and toxic and harmful garbage collection The box body (9) is formed by connecting iron sheet welding; the eight boxes that make up the multi-box garbage sorting collection box are relatively independent, and the corresponding iron sheet inner barrels are respectively placed inside each box body, and the top is provided with garbage disposal and Receive the top cover. 2、根据权利要求1所述的多箱体式垃圾分类收集箱,其特征在于:厨余垃圾收集箱体(3)的容积为整个垃圾分类收集箱容积的四分之一;玻璃收集箱体(5)、废弃纸张收集箱体(2)、塑料收集箱体(10)、金属收集箱体(6)及废木头与泡沫等其它无害垃圾收集箱体(7)的容积均为整个垃圾分类收集箱容积的八分之一;废旧电池收集箱体(8)和有毒有害垃圾收集箱体(9)的容积均为整个垃圾分类收集箱容积的十六分之一。2. The multi-box garbage sorting collection box according to claim 1, characterized in that: the volume of the kitchen waste collection box (3) is 1/4 of the volume of the entire garbage sorting collection box; the glass collection box (5), waste paper collection box body (2), plastic collection box body (10), metal collection box body (6) and other harmless garbage collection box bodies (7) such as waste wood and foam have the volume of the whole garbage One-eighth of the volume of the sorting collection box; the volume of the waste battery collection box (8) and the toxic and hazardous waste collection box (9) is one-sixteenth of the volume of the entire garbage classification collection box.
CN200920126415U 2009-02-24 2009-02-24 Multi-box garbage classification collection box Expired - Fee Related CN201385917Y (en)

Priority Applications (1)

Application Number Priority Date Filing Date Title
CN200920126415U CN201385917Y (en) 2009-02-24 2009-02-24 Multi-box garbage classification collection box

Applications Claiming Priority (1)

Application Number Priority Date Filing Date Title
CN200920126415U CN201385917Y (en) 2009-02-24 2009-02-24 Multi-box garbage classification collection box

Publications (1)

Publication Number Publication Date
CN201385917Y true CN201385917Y (en) 2010-01-20

Family

ID=41578445

Family Applications (1)

Application Number Title Priority Date Filing Date
CN200920126415U Expired - Fee Related CN201385917Y (en) 2009-02-24 2009-02-24 Multi-box garbage classification collection box

Country Status (1)

Country Link
CN (1) CN201385917Y (en)

Cited By (3)

* Cited by examiner, † Cited by third party
Publication number Priority date Publication date Assignee Title
CN107419337A (en) * 2017-08-31 2017-12-01 浙江昊能光电有限公司 A kind of polysilicon chip scrap feed material classified storage device
CN109368078A (en) * 2018-11-28 2019-02-22 重庆房地产职业学院 Categorized consumer waste based on end treatment technology handles collecting box
CN119490012A (en) * 2024-12-31 2025-02-21 重庆交通大学 An integrated method for intelligent classification and recycling device for recyclables under a low-carbon background, device use, and user carbon emission reduction credit accumulation

Cited By (3)

* Cited by examiner, † Cited by third party
Publication number Priority date Publication date Assignee Title
CN107419337A (en) * 2017-08-31 2017-12-01 浙江昊能光电有限公司 A kind of polysilicon chip scrap feed material classified storage device
CN109368078A (en) * 2018-11-28 2019-02-22 重庆房地产职业学院 Categorized consumer waste based on end treatment technology handles collecting box
CN119490012A (en) * 2024-12-31 2025-02-21 重庆交通大学 An integrated method for intelligent classification and recycling device for recyclables under a low-carbon background, device use, and user carbon emission reduction credit accumulation

Similar Documents

Publication Publication Date Title
CN108190290A (en) A kind of garbage classification device and its application process
CN202295991U (en) Intelligent Garbage Sorting Bin
CN201721861U (en) Automatic sorting garbage box
CN202765640U (en) Dustbin
CN102249059B (en) One-stop garbage classification recycling method
CN103402895A (en) Garbage collection device
CN201385917Y (en) Multi-box garbage classification collection box
CN207312342U (en) A kind of dustbin
CN102285509A (en) Simple kitchen garbage pre-processing device
CN207030115U (en) One kind improvement solid-liquid separation dustbin
CN204297441U (en) A kind of kitchen classification garbage can
CN205675595U (en) A kind of municipal garbage bucket for collecting organic waste
CN104229354B (en) Case tree one environment-protection garbage can
CN201296489Y (en) Classification trash can
CN112570422B (en) Garbage sorting device
CN201082815Y (en) Household classifying dustbin
CN210654680U (en) But quick assembly disassembly and solid-liquid separation's integrated sortable garbage bin
CN202272387U (en) Classification trash can
CN202186662U (en) Simple kitchen waste preprocessing barrel
CN201224593Y (en) Dustbin with waste battery and waste daylight lamp tube collecting device
CN105059784A (en) Classified garbage bag
CN202508529U (en) Withdrawable classifying garbage can
CN203497507U (en) Box and tree integrated environment-friendly garbage box
CN2606086Y (en) Environmental protection dustbin with classified storage
CN202016692U (en) Single-stop-type community domestic refuse classifying and recovering house

Legal Events

Date Code Title Description
C14 Grant of patent or utility model
GR01 Patent grant
C17 Cessation of patent right
CF01 Termination of patent right due to non-payment of annual fee

Granted publication date: 20100120

Termination date: 20110224