CN201298456Y - 一种电容容量调节装置 - Google Patents

一种电容容量调节装置 Download PDF

Info

Publication number
CN201298456Y
CN201298456Y CNU2008202040770U CN200820204077U CN201298456Y CN 201298456 Y CN201298456 Y CN 201298456Y CN U2008202040770 U CNU2008202040770 U CN U2008202040770U CN 200820204077 U CN200820204077 U CN 200820204077U CN 201298456 Y CN201298456 Y CN 201298456Y
Authority
CN
China
Prior art keywords
capacitor
push rod
screw
hinged
capacitor plate
Prior art date
Legal status (The legal status is an assumption and is not a legal conclusion. Google has not performed a legal analysis and makes no representation as to the accuracy of the status listed.)
Expired - Fee Related
Application number
CNU2008202040770U
Other languages
English (en)
Inventor
康锦绵
Current Assignee (The listed assignees may be inaccurate. Google has not performed a legal analysis and makes no representation or warranty as to the accuracy of the list.)
Individual
Original Assignee
Individual
Priority date (The priority date is an assumption and is not a legal conclusion. Google has not performed a legal analysis and makes no representation as to the accuracy of the date listed.)
Filing date
Publication date
Application filed by Individual filed Critical Individual
Priority to CNU2008202040770U priority Critical patent/CN201298456Y/zh
Application granted granted Critical
Publication of CN201298456Y publication Critical patent/CN201298456Y/zh
Anticipated expiration legal-status Critical
Expired - Fee Related legal-status Critical Current

Links

Images

Classifications

    • YGENERAL TAGGING OF NEW TECHNOLOGICAL DEVELOPMENTS; GENERAL TAGGING OF CROSS-SECTIONAL TECHNOLOGIES SPANNING OVER SEVERAL SECTIONS OF THE IPC; TECHNICAL SUBJECTS COVERED BY FORMER USPC CROSS-REFERENCE ART COLLECTIONS [XRACs] AND DIGESTS
    • Y02TECHNOLOGIES OR APPLICATIONS FOR MITIGATION OR ADAPTATION AGAINST CLIMATE CHANGE
    • Y02EREDUCTION OF GREENHOUSE GAS [GHG] EMISSIONS, RELATED TO ENERGY GENERATION, TRANSMISSION OR DISTRIBUTION
    • Y02E40/00Technologies for an efficient electrical power generation, transmission or distribution
    • Y02E40/30Reactive power compensation

Landscapes

  • Fixed Capacitors And Capacitor Manufacturing Machines (AREA)
  • Transmission Devices (AREA)
  • Measurement Of Resistance Or Impedance (AREA)

Abstract

本实用新型公开了一种电容容量调节装置,各电容极板均与上、下轴座相铰接可转动,各电容极板的一侧铰接同一连杆,连杆的一端又铰接有推杆,推杆连接驱动其摆动的装置。通过驱动推杆摆动的装置,驱动推杆摆动,由推杆推动连杆,再经连杆带动各电容极板转动,使电容极板间的间距变化,实现容量的调节。通过转动电容极板实现电容容量调节,所需空间小,因而占用安装空间小。电容极板的转动,对受力要求较低,施加很小的力,即可使电容极板顺利转动,极板转动中摆杆的受力较小,不易卡死,故障率较低。此外,各电容极板转轴的位置固定,由同一连杆推动,调节电容的容量时,各电容极板的转动能够严格保持一致,各电容极板能够始终平行,因而电容容量的调节精确高。

Description

一种电容容量调节装置
技术领域
本实用新型涉及一种用于调节电容容量的装置。
技术背景
工业生产设备,如高频冶炼炉、高频木材拼板机等,有时需要对设备中使用的某些电容的容量进行调节,需要安装电容容量调节装置。现有的电容容量的调节装置,通常,在电容的某一极板上固定有推杆,推杆上有与之通过螺纹相配合的螺母(相当于丝杆和丝母的配合结构),螺母通过手动调节旋转或者电机驱动转动,转动螺母时,推杆相对螺母轴向运动,带动极板一起运动,改变电容极板间的间距,从而实现电容容量的调节。上述调节装置,调节电容时,电容极板需要沿螺母的轴向来回运动,设备中需要预留极板轴向来回运动的空间,其需要占用较大的安装空间。同时,极板的运动是由推杆推动,推杆的面积小,而极板的面积大,当仅一个推杆推动极板运动时,其受力不易平衡,推板的运动容易受阻,螺母和推杆容易因为受力不平衡而卡死,致使推杆无法运动,故障率较高。当电容极板上固定多根推杆,各推杆上均通过螺纹旋有螺母(即通过多根丝杆和丝母的配合结构同时驱动极板运动)时,其极板由不同位置的多根推杆推动,受力容易保持平衡,极板运动过程顺畅、不易受阻,故障率较低。然而,其对与各推杆配合的螺母的安装位置要求较高,各螺母的安装需要保证电容极板的平行,如不能保证极板的平行,将会影响电容调节的精确性,其螺母安装复杂,调节精度难以保证。
实用新型内容
本实用新型的旨在给出一种安装空间占用小、故障率低,且电容调节精确性高的电容容量调节装置。
一种电容容量调节装置,各电容极板的上方设置有上轴座,下方相同位置处设置有下轴座,各电容极板均与上、下轴座相铰接可转动,各电容极板的一侧均与同一连杆铰接,连杆的一端铰接有推杆,与推杆形成二连杆结构,推杆的另一端连接驱动推杆摆动的装置。
本实用新型的电容容量调节装置,通过驱动推杆摆动的装置,驱动推杆摆动,再由推杆推动连杆摆动,由连杆带动与其铰接的各电容极板同步转动,使电容两极板间的间距变化,从而实现对电容容量的调节。
其电容的调节,通过转动电容极板实现,极板转动所需空间小,因而调节装置占用安装空间小。而且,电容极板的转动,对受力要求较低,推杆只需对连杆施加很小的力,连杆就能带动电容极板顺利转动,电容极板转动过程中推杆的受力较小,不会出现现有技术中的螺杆卡死现象,故障率较低。此外,调节装置的各电容极板转轴的位置固定,各电容极板又通过同一连杆推动,调节电容的容量时,各电容极板的转动能够严格的保持一致,电容极板能够始终平行,因而对电容容量的调节十分精确。
附图说明
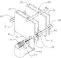
图1一种电容容量调节装置的结构示意图;
图2为极板转动一定角度后的电容容量调解装置的示意图。
具体实施方式
一种电容容量调节装置,如图1、图2,有平行布置的电容10,电容10可以为一个、两个、三个甚至更多,图1、图2所示为两个电容的情况,电容极板11的上方设置有上轴座20,下方相应位置处设置有下轴座30,各电容极11板均分别与上、下极板铰接可转动,如通过转轴相铰接,各电容极板11的一侧均与同一连杆40铰接,可直接铰接,也可通过沿伸杆12相铰接,连杆40的一端铰接有推杆50,与推杆50形成二连杆结构,推杆连接驱动推杆摆动的装置60,该装置包括一由驱动装置驱动其转动的螺杆61,螺杆61上旋有动块62,推杆50的一端铰接于动块62上,驱动装置驱动螺杆61转动时,动块沿螺杆61轴向移动带动推杆50摆动,推动连杆40,使连杆40带动电容极板11同步转动。
本实施例的电容容量调节装置,旋转螺杆61时,动块62沿螺杆轴向移动,推动推杆50摆动,由推杆50推动连杆40摆动,再由连杆40带动与其铰接的各电容极板11同步转动,使电容两极板间的间距变化,从而实现对电容容量的调节。
电容的调节,仅需转动电容极板11,电容极板转动所需空间小,因而调节装置占用安装空间小。而且,电容极板11的转动,对受力要求较低,推杆50只需对连杆40施加很小的力,连杆40就能带动电容极板11顺利转动,电容极板11转动过程中螺杆61的受力较小,螺杆转动过程中,不易卡死,故障率低。此外,调节装置的各电容极板11的转轴的位置固定,各电容极板又通过同一连杆40推动,调节电容的容量时,各电容极板11的转动能够严格的保持一致,且电容极板能够始终平行,因而对电容容量的调节十分精确。
为了更可靠的保持各电容极板转动的一致性,各电容极板11的另一侧同样可共同与一连杆40铰接,或者通过延伸杆12与一连杆铰接,通过在电容极板的两侧同时设置连杆,使各电容极板与两连杆形成一铰接的平行四边形,更好的保证各电容极板摆动的同步性和一致性,电容容量调节更加精确。
驱动推杆摆动的装置也可直接为一手柄,手柄插于一水平滑动槽内,通过沿滑动槽移动手柄,带动推杆摆动,经连杆推动各电容极板转动,实现电容容量的调节。
驱动螺杆转动的驱动装置可以为安装于螺杆61上的旋钮63,通过手旋转装旋钮63,控制动块62沿螺杆61移动,从而调节调节电容极板转动的角度。
驱动螺杆转动的驱动装置也可以为电机,螺杆为电机轴或者与电机轴通过连轴器连接。通过电机转动驱动螺杆转动。
驱动螺杆转动的驱动装置还可以包括电机,电机轴上安装有链轮,螺杆上也安装有链轮,两链轮通过链条传动。电机转动,电机轴上的链轮转动,通过链条带动螺杆上的链轮,从而带动螺杆转动。电机轴上也可以安装齿轮,齿轮与螺杆上的齿轮相啮合,从而带动螺杆转动。

Claims (7)

1.一种电容容量调节装置,其特征在于:各电容极板(11)的上方设置有上轴座(20),下方相同位置处设置有下轴座(30),各电容极板均与上、下轴座相铰接可转动,各电容极板的一侧均与同一连杆(40)铰接,连杆的一端铰接有推杆(50),与推杆形成二连杆结构,推杆的另一端连接驱动推杆摆动的装置(60)。
2.根据权利要求1所述的电容容量调节装置,其特征在于:驱动推杆摆动的装置(60)包括一由驱动装置驱动其转动螺杆(61),螺杆上旋有动块(62),推杆(50)铰接于动块(62)上,转动螺杆(61)时,动块(62)沿螺杆轴向移动带动推杆(50)摆动。
3.根据权利要求1所述的电容容量调节装置,其特征在于:驱动推杆摆动的装置为一手柄,手柄插于水平滑动槽内,通过沿滑动槽移动手柄,带动推杆摆动。
4.根据权利要求1所述的电容容量调节装置,其特征在于:各电容极板11的另一侧同样与同一连杆40铰接,使各电容极板与两连杆形成平行四边形。
5.根据权利要求2所述的电容容量调节装置,其特征在于:驱动螺杆转动的驱动装置为安装螺杆(61)上的旋钮(63),旋转旋钮,螺杆可相对固定件沿轴向往复运动。
6.根据权利要求2所述的电容容量调节装置,其特征在于:驱动螺杆转动的驱动装置为电机,螺杆为电机轴或者与电机轴通过连轴器连为一体。
7.根据权利要求2所述的电容容量调节装置,其特征在于:驱动螺杆转动的驱动装置包括电机,电机轴上安装有链轮,螺杆上也安装有链轮,两链轮通过链条传动。
CNU2008202040770U 2008-11-26 2008-11-26 一种电容容量调节装置 Expired - Fee Related CN201298456Y (zh)

Priority Applications (1)

Application Number Priority Date Filing Date Title
CNU2008202040770U CN201298456Y (zh) 2008-11-26 2008-11-26 一种电容容量调节装置

Applications Claiming Priority (1)

Application Number Priority Date Filing Date Title
CNU2008202040770U CN201298456Y (zh) 2008-11-26 2008-11-26 一种电容容量调节装置

Publications (1)

Publication Number Publication Date
CN201298456Y true CN201298456Y (zh) 2009-08-26

Family

ID=41044443

Family Applications (1)

Application Number Title Priority Date Filing Date
CNU2008202040770U Expired - Fee Related CN201298456Y (zh) 2008-11-26 2008-11-26 一种电容容量调节装置

Country Status (1)

Country Link
CN (1) CN201298456Y (zh)

Cited By (6)

* Cited by examiner, † Cited by third party
Publication number Priority date Publication date Assignee Title
CN103065796A (zh) * 2012-12-31 2013-04-24 国家电网公司 一种变距式电力电容器及其容值的调节方法
CN105103251A (zh) * 2012-12-18 2015-11-25 鲍尔玛格有限公司 电力调节和节省装置
CN105405653A (zh) * 2015-11-13 2016-03-16 太仓荣中机电科技有限公司 一种微调式电容器
CN106985399A (zh) * 2017-04-28 2017-07-28 江门市联兴高频设备有限公司 一种高频热压系统
CN107799309A (zh) * 2017-10-10 2018-03-13 铜陵市华科光电科技有限公司 一种箔式电力电容器的内串式电容元件
US10566600B2 (en) 2011-10-31 2020-02-18 Powermag, LLC Power conditioning and saving device

Cited By (8)

* Cited by examiner, † Cited by third party
Publication number Priority date Publication date Assignee Title
US10566600B2 (en) 2011-10-31 2020-02-18 Powermag, LLC Power conditioning and saving device
CN105103251A (zh) * 2012-12-18 2015-11-25 鲍尔玛格有限公司 电力调节和节省装置
CN103065796A (zh) * 2012-12-31 2013-04-24 国家电网公司 一种变距式电力电容器及其容值的调节方法
CN105405653A (zh) * 2015-11-13 2016-03-16 太仓荣中机电科技有限公司 一种微调式电容器
CN105405653B (zh) * 2015-11-13 2018-05-08 太仓荣中机电科技有限公司 一种微调式电容器
CN106985399A (zh) * 2017-04-28 2017-07-28 江门市联兴高频设备有限公司 一种高频热压系统
CN107799309A (zh) * 2017-10-10 2018-03-13 铜陵市华科光电科技有限公司 一种箔式电力电容器的内串式电容元件
CN107799309B (zh) * 2017-10-10 2019-08-06 铜陵江威科技有限公司 一种箔式电力电容器的内串式电容元件

Similar Documents

Publication Publication Date Title
CN201298456Y (zh) 一种电容容量调节装置
CN209353783U (zh) 一种建筑装配式用支撑装置
CN108278466A (zh) 一种可以调节屏幕角度的计算机网络设备用显示器
CN106545727A (zh) 一种旋转式摄像头机构
CN104200736A (zh) 一种教学演示实验台
CN203114219U (zh) 一种钻孔取芯装置
CN203287779U (zh) 一种太阳能电池板方向控制装置
CN203702720U (zh) 一种旋转机构
CN108798096A (zh) 双风车非对称式自行车立体停车装置
CN109958851A (zh) 一种新型计算机的支架设备
CN204237967U (zh) 一种经编机开启式沉降机构
CN201650956U (zh) 一种伸缩臂
CN203594931U (zh) 一种机架调节机构
CN210152623U (zh) 一种游梁式抽油机便携式调节冲程装置
CN204066580U (zh) 一种教学演示实验台
CN205363206U (zh) 一种实现螺旋式旋钮自动旋转的装置
CN203811972U (zh) 一种用于摄影摄像器材的电动旋转可移动装置
CN204081737U (zh) 一种用于门系统的过死点锁闭装置
CN201021930Y (zh) 探针检测机板改良结构
CN202638828U (zh) 清洗机盘刷机构
CN109268656B (zh) 一种壁挂式控制装置
CN207103420U (zh) 一种可调节双辊间距的轧膜机
CN203931332U (zh) 铰链四杆机构演示教具
CN206383165U (zh) 一种调节双臂的自动机械手
CN219978993U (zh) 一种便于拆装的教学板装置

Legal Events

Date Code Title Description
C14 Grant of patent or utility model
GR01 Patent grant
C17 Cessation of patent right
CF01 Termination of patent right due to non-payment of annual fee

Granted publication date: 20090826

Termination date: 20111126