CN201184839Y - LED light source comprehensive luminescence characteristic detection device - Google Patents
LED light source comprehensive luminescence characteristic detection device Download PDFInfo
- Publication number
- CN201184839Y CN201184839Y CNU2008200469743U CN200820046974U CN201184839Y CN 201184839 Y CN201184839 Y CN 201184839Y CN U2008200469743 U CNU2008200469743 U CN U2008200469743U CN 200820046974 U CN200820046974 U CN 200820046974U CN 201184839 Y CN201184839 Y CN 201184839Y
- Authority
- CN
- China
- Prior art keywords
- detection
- light source
- guide rail
- led light
- led
- Prior art date
- Legal status (The legal status is an assumption and is not a legal conclusion. Google has not performed a legal analysis and makes no representation as to the accuracy of the status listed.)
- Expired - Lifetime
Links
- 238000001514 detection method Methods 0.000 title claims abstract description 230
- 238000004020 luminiscence type Methods 0.000 title claims abstract description 21
- 238000012360 testing method Methods 0.000 claims description 67
- 239000000523 sample Substances 0.000 claims description 47
- 238000012545 processing Methods 0.000 claims description 6
- NJPPVKZQTLUDBO-UHFFFAOYSA-N novaluron Chemical compound C1=C(Cl)C(OC(F)(F)C(OC(F)(F)F)F)=CC=C1NC(=O)NC(=O)C1=C(F)C=CC=C1F NJPPVKZQTLUDBO-UHFFFAOYSA-N 0.000 claims 2
- 238000005259 measurement Methods 0.000 abstract description 22
- 238000000034 method Methods 0.000 abstract description 9
- 230000008569 process Effects 0.000 abstract description 5
- 230000010354 integration Effects 0.000 abstract description 3
- 238000009826 distribution Methods 0.000 description 14
- 238000004458 analytical method Methods 0.000 description 6
- 230000004907 flux Effects 0.000 description 6
- 230000009471 action Effects 0.000 description 5
- 238000004364 calculation method Methods 0.000 description 5
- 238000010586 diagram Methods 0.000 description 5
- 238000004519 manufacturing process Methods 0.000 description 5
- 238000001748 luminescence spectrum Methods 0.000 description 4
- 230000003287 optical effect Effects 0.000 description 3
- 238000001228 spectrum Methods 0.000 description 3
- 238000010998 test method Methods 0.000 description 3
- 238000004164 analytical calibration Methods 0.000 description 2
- 230000005693 optoelectronics Effects 0.000 description 2
- 239000004065 semiconductor Substances 0.000 description 2
- 239000007787 solid Substances 0.000 description 2
- XUIMIQQOPSSXEZ-UHFFFAOYSA-N Silicon Chemical compound [Si] XUIMIQQOPSSXEZ-UHFFFAOYSA-N 0.000 description 1
- 230000032683 aging Effects 0.000 description 1
- 238000006243 chemical reaction Methods 0.000 description 1
- 238000013480 data collection Methods 0.000 description 1
- 230000007547 defect Effects 0.000 description 1
- 238000013461 design Methods 0.000 description 1
- 230000023077 detection of light stimulus Effects 0.000 description 1
- 238000012812 general test Methods 0.000 description 1
- 238000007689 inspection Methods 0.000 description 1
- 238000009434 installation Methods 0.000 description 1
- 239000000463 material Substances 0.000 description 1
- 238000003908 quality control method Methods 0.000 description 1
- 230000004044 response Effects 0.000 description 1
- 238000012216 screening Methods 0.000 description 1
- 238000004904 shortening Methods 0.000 description 1
- 229910052710 silicon Inorganic materials 0.000 description 1
- 239000010703 silicon Substances 0.000 description 1
- 230000001360 synchronised effect Effects 0.000 description 1
Images
Classifications
-
- Y—GENERAL TAGGING OF NEW TECHNOLOGICAL DEVELOPMENTS; GENERAL TAGGING OF CROSS-SECTIONAL TECHNOLOGIES SPANNING OVER SEVERAL SECTIONS OF THE IPC; TECHNICAL SUBJECTS COVERED BY FORMER USPC CROSS-REFERENCE ART COLLECTIONS [XRACs] AND DIGESTS
- Y02—TECHNOLOGIES OR APPLICATIONS FOR MITIGATION OR ADAPTATION AGAINST CLIMATE CHANGE
- Y02B—CLIMATE CHANGE MITIGATION TECHNOLOGIES RELATED TO BUILDINGS, e.g. HOUSING, HOUSE APPLIANCES OR RELATED END-USER APPLICATIONS
- Y02B20/00—Energy efficient lighting technologies, e.g. halogen lamps or gas discharge lamps
- Y02B20/40—Control techniques providing energy savings, e.g. smart controller or presence detection
Landscapes
- Investigating, Analyzing Materials By Fluorescence Or Luminescence (AREA)
Abstract
本实用新型提出了一种LED光源综合发光特性检测装置,包括检测样品座、LED特性检测装置,其特征在于:还包括导轨、测控装置和数据处理器;检测样品座设置在导轨上,沿导轨设置至少两个检测工位,每一检测工位上均安装有LED特性检测装置;所述检测样品座在测控装置的控制下沿导轨移动;LED特性检测装置对固定在检测样品座上的样品进行检测,并将检测信号传输至测控装置;数据处理器从测控装置中读取检测信号并对其进行分析处理。本实用新型解决了目前LED检测仪器所普遍存在的集成度低、检测程序复杂等问题,发光特性综合检测能力更为全面,并有效实现了在线连续检测功能。
The utility model proposes a comprehensive luminescence characteristic detection device for LED light sources, which includes a detection sample seat and an LED characteristic detection device, and is characterized in that it also includes a guide rail, a measurement and control device and a data processor; the detection sample seat is arranged on the guide rail, along the guide rail Set at least two detection stations, each detection station is equipped with an LED characteristic detection device; the detection sample seat moves along the guide rail under the control of the measurement and control device; the LED characteristic detection device is fixed on the sample on the detection sample seat Perform detection and transmit the detection signal to the measurement and control device; the data processor reads the detection signal from the measurement and control device and analyzes and processes it. The utility model solves the common problems of low integration and complicated detection procedures in current LED detection instruments, has more comprehensive detection ability of luminous characteristics, and effectively realizes the online continuous detection function.
Description
技术领域 technical field
本实用新型涉及光学检测技术领域,特别是一种LED光源综合发光特性检测装置。The utility model relates to the technical field of optical detection, in particular to a comprehensive luminescence characteristic detection device of an LED light source.
背景技术 Background technique
LED是一种由半导体材料制成的固体发光器件,也是一种典型的新型“绿色”高效光源,它具有效率高、耗电低、寿命长、响应速度快等优点,再加上其体积小、耐震动、可靠耐用、适合量产,能够满足多种照明和显示的应用需求。LED is a solid light-emitting device made of semiconductor materials. It is also a typical new "green" high-efficiency light source. It has the advantages of high efficiency, low power consumption, long life, and fast response. In addition, its small size , vibration resistance, reliability and durability, suitable for mass production, and can meet the application requirements of various lighting and display.
在LED应用产品从设计、生产、检测到进入市场的各个环节中,都希望能够准确可靠的检测LED光源的特性和质量。国际标准CIE 127-1997“Measurement of LEDs”和中国光学光电子行业协会光电器件专业分会制定的行业标准“半导体发光二极管测试方法”等标准,规定了LED的通用测试方法,检测内容包括LED的电学特性参数、光度参数、色度参数等,这是LED及其应用产品特性检测的基础。其中电学特性参数主要有电压、电流、功率等,光度参数主要包括光强、光通量、发光光谱、光强空间分布等,色度参数包括主波长、色温、色坐标、色纯度等。In all aspects of LED application products from design, production, testing to entering the market, it is hoped that the characteristics and quality of LED light sources can be accurately and reliably detected. The international standard CIE 127-1997 "Measurement of LEDs" and the industry standard "Test Method for Semiconductor Light-Emitting Diodes" formulated by the Optoelectronic Devices Branch of China Optical Optoelectronics Industry Association stipulate the general test methods for LEDs, including the electrical characteristics of LEDs. Parameters, photometric parameters, chromaticity parameters, etc., which are the basis for testing the characteristics of LEDs and their application products. Among them, the electrical characteristic parameters mainly include voltage, current, power, etc., the photometric parameters mainly include light intensity, luminous flux, luminous spectrum, light intensity spatial distribution, etc., and the chromaticity parameters include dominant wavelength, color temperature, color coordinates, color purity, etc.
目前对这些LED光源发光特性进行检测的专用检测仪器性能相对单一,一般一台检测仪器只能完成其中的1-2项参数,使整个LED光源综合发光特性的检测需要依靠多台不同的检测仪器分别完成。这就需要将待测LED光源样品装卸多次,而且测试周期较长,测试程序复杂,测试结果的准确性和可靠性都不高。At present, the performance of special testing instruments for testing the luminous characteristics of these LED light sources is relatively single. Generally, one testing instrument can only complete 1-2 of the parameters, so that the detection of the comprehensive luminous characteristics of the entire LED light source needs to rely on multiple different testing instruments. Completed separately. This requires loading and unloading the LED light source sample to be tested many times, and the test period is long, the test procedure is complicated, and the accuracy and reliability of the test results are not high.
对于LED及LED应用产品,也需要在生产流程中进行在线检测和质量控制。目前光强与发光光谱、光通量与发光光谱、以及光强筛选等已经分别实现了在线检测,但是由于不同特性检测仪器的结构差异,同时进行光强空间分布检测需要较长的检测时间,还无法进行更全面的LED光源综合发光特性的在线连续检测。For LED and LED application products, online inspection and quality control are also required in the production process. At present, online detection of light intensity and luminescence spectrum, luminous flux and luminescence spectrum, and light intensity screening have been realized respectively. However, due to the structural differences of different characteristic detection instruments, it takes a long time to detect the spatial distribution of light intensity at the same time. Carry out a more comprehensive online continuous detection of the comprehensive luminous characteristics of LED light sources.
发明内容 Contents of the invention
本实用新型所要解决的技术问题是:提供一种LED光源综合发光特性检测装置,以克服现有检测仪器性能单一、完成整个LED光源综合发光特性检测需要依赖于多台仪器等缺陷。The technical problem to be solved by the utility model is to provide a comprehensive luminous characteristic detection device for LED light sources to overcome the defects of single performance of existing detection instruments and the need to rely on multiple instruments to complete the comprehensive luminous characteristic detection of LED light sources.
为了解决上述技术问题,本实用新型是通过以下技术方案实现的:一种LED光源综合发光特性检测装置,包括检测样品座、LED特性检测装置,其特征在于:还包括导轨、测控装置和数据处理器;检测样品座设置在导轨上,沿导轨设置至少两个检测工位,每一检测工位上均安装有LED特性检测装置;所述检测样品座在测控装置的控制下沿导轨移动;LED特性检测装置对固定在检测样品座上的样品进行检测,并将检测信号传输至测控装置;数据处理器从测控装置中读取检测信号并对其进行分析处理。样品在检测样品座的带动下沿导轨移动;在测控装置的控制下,样品每经过一个检测支架下方时都停下来,待位于该检测支架上的LED特性检测装置采集完相应的检测信号后,测控装置再控制样品沿导轨继续移动,达到下一个检测支架下方进行相应的检测数据采集,从而完成综合发光特性的在线连续检测。In order to solve the above-mentioned technical problems, the utility model is realized through the following technical solutions: a comprehensive luminescence characteristic detection device for LED light source, including a detection sample holder, an LED characteristic detection device, and is characterized in that it also includes a guide rail, a measurement and control device and a data processing device. The detection sample seat is arranged on the guide rail, and at least two detection stations are arranged along the guide rail, and an LED characteristic detection device is installed on each detection station; the detection sample seat moves along the guide rail under the control of the measurement and control device; the LED The characteristic detection device detects the sample fixed on the detection sample seat, and transmits the detection signal to the measurement and control device; the data processor reads the detection signal from the measurement and control device and analyzes and processes it. The sample moves along the guide rail driven by the detection sample seat; under the control of the measurement and control device, the sample stops every time it passes under a detection bracket, and after the LED characteristic detection device on the detection bracket collects the corresponding detection signal, The measurement and control device then controls the sample to continue moving along the guide rail, and reaches the bottom of the next detection bracket for corresponding detection data collection, thereby completing the online continuous detection of comprehensive luminescence characteristics.
上述LED光源综合发光特性检测装置进一步设有基架,导轨和检测工位设置在该基架上;每一检测工位上还设有一检测支架,LED特性检测装置安装在检测支架上。The above-mentioned LED light source comprehensive luminescence characteristic detection device is further provided with a base frame, on which the guide rail and detection stations are arranged; each detection station is also provided with a detection bracket, and the LED characteristic detection device is installed on the detection bracket.
所述测控装置包括控制电路、信号采集电路、数量与检测支架数量一致的定位传感器,每一检测支架上设有一个定位传感器;控制电路分别与定位传感器、导轨、数据处理器连接;信号采集电路与LED特性检测装置和数据处理器连接。数据处理器为设有测控软件的计算机。The measurement and control device includes a control circuit, a signal acquisition circuit, a positioning sensor whose quantity is consistent with the number of detection brackets, and each detection bracket is provided with a positioning sensor; the control circuit is connected with the positioning sensor, guide rail, and data processor respectively; the signal acquisition circuit It is connected with the LED characteristic detection device and the data processor. The data processor is a computer equipped with measurement and control software.
所述导轨包括滑块和轨道;其中滑块设置在轨道上并与检测样品座连接,检测样品座与滑块一起沿轨道移动。The guide rail includes a slide block and a track; the slide block is arranged on the track and connected with the detection sample seat, and the test sample seat moves along the track together with the slide block.
所述检测工位设有三个,检测支架包括第一检测支架、第二检测支架和第三检测支架;LED特性检测装置由不同的LED光源发光特性的测试仪器组成,包括固定在第一检测支架上的光强计和摄像机、固定在第二检测支架上的积分球、固定在第三检测支架上的光强度空间分布特性快速检测仪,其中积分球的通光孔上分别安装光度计和光谱仪的检测探头。The detection station is provided with three, and the detection bracket includes a first detection bracket, a second detection bracket and a third detection bracket; the LED characteristic detection device is composed of different test instruments for the luminous characteristics of LED light sources, including The light intensity meter and camera on the top, the integrating sphere fixed on the second detection bracket, the fast detector of light intensity spatial distribution characteristics fixed on the third detection bracket, wherein the photometer and the spectrometer are respectively installed on the light holes of the integrating sphere detection probe.
所述第二检测支架的两侧设有移动导轨,可带动积分球上下移动,也可带动积分球左右翻转。Both sides of the second detection bracket are provided with moving guide rails, which can drive the integrating sphere to move up and down, and can also drive the integrating sphere to turn left and right.
所述检测样品座装备有LED光源安装夹具或接口,以及与驱动恒流源相连接的电极。The detection sample seat is equipped with an LED light source installation fixture or an interface, and electrodes connected with a driving constant current source.
所述的LED光源综合发光特性连续测试装置,即可作为一套独立的连续测试装置,也可连接配置在相关的生产流水线中进行在线测试。在该装置基础上进行一些变化,采用其中的部分测试项目,或者增加一些测试仪器扩展测试项目,但只要不离开本实用新型的精神和范围,均属于本实用新型权利要求的保护范围之内。The continuous testing device for comprehensive luminous characteristics of LED light sources can be used as a set of independent continuous testing devices, and can also be connected and configured in related production lines for on-line testing. Make some changes on the basis of the device, adopt part of the test items, or add some test instruments to expand the test items, but as long as it does not depart from the spirit and scope of the utility model, it all falls within the protection scope of the claims of the utility model.
本实用新型提出的LED光源综合发光特性检测装置,有效解决了目前LED检测仪器所普遍存在的集成度低、检测程序复杂等问题,发光特性综合检测能力更为全面,并有效实现了在线连续检测功能,使之兼具科学分析仪器和在线检测设备的可行性,体现出综合、自动、集成、连续、在线的突出优点,大大提高了检测仪器的集成度和自动化水平,缩短了检测时间,简化了测试程序,丰富了检测数据信息,扩展了检测能力,有效保证了检测数据和结果的可靠性和正确性。The LED light source comprehensive luminous characteristic detection device proposed by the utility model effectively solves the problems of low integration and complex detection procedures common in current LED detection instruments, the comprehensive detection ability of luminous characteristics is more comprehensive, and the online continuous detection is effectively realized function, so that it has the feasibility of both scientific analysis instruments and online testing equipment, reflecting the outstanding advantages of comprehensive, automatic, integrated, continuous and online, greatly improving the integration and automation level of testing instruments, shortening the testing time, simplifying The test procedure is simplified, the test data information is enriched, the test capability is expanded, and the reliability and correctness of the test data and results are effectively guaranteed.
本实用新型适用于所有LED、LED光源、LED应用产品的综合发光特性的在线连续检测,也适用于其它照明光源和灯具综合发光特性的在线连续检测。The utility model is suitable for the on-line continuous detection of the comprehensive luminous characteristics of all LEDs, LED light sources and LED application products, and is also suitable for the online continuous detection of the comprehensive luminous characteristics of other lighting sources and lamps.
附图说明 Description of drawings
图1为本实用新型的系统连接示意图;Fig. 1 is the system connection schematic diagram of the present utility model;
图2为本实用新型的系统结构示意图;Fig. 2 is the system structure schematic diagram of the present utility model;
图3为本实用新型的光强检测工位结构图;Fig. 3 is the structural diagram of the light intensity detection station of the present invention;
图4为本实用新型的积分球检测工位结构图;Fig. 4 is the structural diagram of integrating sphere detection station of the present utility model;
图5为本实用新型的光强空间分布检测工位(内部)结构图;Fig. 5 is the light intensity spatial distribution detection station (internal) structural diagram of the utility model;
图6为本实用新型的检测流程图。Fig. 6 is a detection flowchart of the utility model.
具体实施方式 Detailed ways
下面结合附图具体说明:Describe in detail below in conjunction with accompanying drawing:
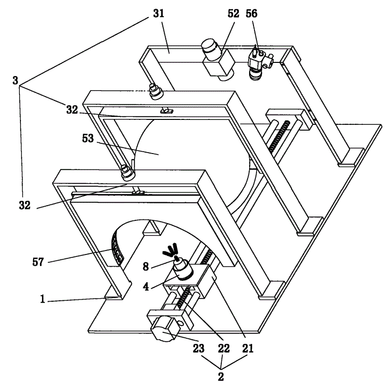
如图1、图2所示,本实用新型包括基架1、导轨2、检测样品座4、检测支架3、LED特性检测装置5、测控装置6和数据处理器,其中数据处理器为设有测控软件的计算机7。检测样品座设置在导轨上,导轨2和检测支架3安装在基架1上,沿导轨的横向方向还设有至少两个检测工位,每一检测工位上架设一检测支架,每一检测支架上均安装有LED特性检测装置。As shown in Figures 1 and 2, the utility model includes a
测控装置6包括控制电路62、信号采集电路63、数量与检测支架数量一致的定位传感器61,每一检测支架3上设有一个定位传感器61;控制电路62分别与定位传感器61、导轨2、计算机7连接;信号采集电路63与LED特性检测装置5和计算机7连接。检测样品座4在测控装置6的控制下沿导轨2移动;LED特性检测装置5对固定在检测样品座4上的样品进行检测,并将检测信号传输至测控装置6;计算机7从测控装置中读取检测信号并对其进行分析处理。导轨2包括滑块21和轨道22,以及设置在轨道22一端的电机23,其中滑块21设置在轨道22上并与检测样品座4连接,检测样品座4与滑块21一起,在电机23的驱动下沿轨道22移动。Measurement and control device 6 comprises
本实施例在导轨2上共设计采用了3个测试工位,测试工位之一是基于光强测试,测试工位之二是基于积分球测试,测试工位之三是基于空间分布测试。对应地在每一检测工位的上方分别安装了一个检测支架,检测支架3包括第一检测支架31、第二检测支架32和第三检测支架33。LED特性检测装置5包括固定在第一检测支架31上的光强计52和CCD摄像机56、固定在第二检测支架32上的积分球53、固定在第三检测支架33上的光强度空间分布特性快速检测仪57,其中积分球53的通光孔上分别安装光度计54和光谱仪55的检测探头。综合测试的发光特性包括发光图像、光强、光通量、发光光谱、光强空间分布等光度参数,主波长、色温、色坐标、色纯度等色度参数,电压、电流、功率等电学参数,以及与测试时间相关的老化特性等。In this embodiment, a total of 3 test stations are designed and adopted on the
待测的LED光源样品8安装在测试样品座3上,测试样品座3放置在导轨2上的移动滑块21上,并通过导轨中的电机23带动,沿着导轨的轨道22前后移动,并在测控装置6、带测控软件的计算机7的控制下,待测LED光源8依次经过不同的检测工位,由LED特性检测装置5中的各种检测仪器进行不同发光特性的连续检测,测控装置6中的定位传感器61和控制电路62相互配合,用于控制检测样品座的自动运行和保证精确走位。设有测控软件的计算机7可通过RS232、485或USB接口与检测仪器连接,也可通过信号采集电路63多通道采集检测信号,进行汇总处理、计算分析和结果显示,实现LED光源综合发光特性的在线连续检测。The LED
本实施例中导轨2采用直线导轨,驱动电机22采用变频电机,在计算机的控制下驱动检测样品座4沿导轨前后直线移动,依次经过导轨上的3个检测工位。定位传感器61采用光电传感器,通过光电信号精确检测,控制检测样品座依次准确停止在3个检测工位的检测位置上,待测的LED光源8通过检测样品座3的电极与驱动恒流源52连接,被上电点亮,进行发光特性检测。In this embodiment, the
如图3所示,检测工位一是基于光强检测,在第一检测支架31上分别安装光强计51和CCD摄像机56。光强计安装在发光轴线方向上,通过上下移动检测支架调整检测距离。包括按CIE规定的两种标准测试LED光源的平均发光强度,检测距离分别是100和316mm。CCD摄像机可选择安装不同位置,从不同角度记录该LED光源的外观和发光图像。As shown in FIG. 3 , the detection station one is based on light intensity detection, and a light intensity meter 51 and a
如图4所示,检测工位二是基于积分球检测,积分球58固定在该检测工位的第二检测支架32上,在积分球上的通光孔上分别安装了光度计54和光谱仪55的检测探头,由光度计测试光通量,光谱仪测试发光光谱,并计算色度参数。As shown in Figure 4, detection station two is based on integrating sphere detection, and integrating sphere 58 is fixed on the
固定积分球的检测支架两侧增加移动导轨,使积分球可以上下移动。测试时积分球自动落下,使待测的LED光源置于积分球中的测试通孔处,让待测的LED光源发出的光全部进入积分球。积分球也可采用左右翻转等方式让LED光源置于测试位置处。测试后积分球自动升起,让待测的LED光源继续向前运动。The moving guide rails are added on both sides of the detection bracket that fixes the integrating sphere, so that the integrating sphere can move up and down. During the test, the integrating sphere falls down automatically, so that the LED light source to be tested is placed at the test hole in the integrating sphere, so that all the light emitted by the LED light source to be tested enters the integrating sphere. The integrating sphere can also be turned left and right to place the LED light source at the test position. After the test, the integrating sphere rises automatically, allowing the LED light source to be tested to continue to move forward.
如图5所示,所述的检测工位其三是基于光强空间分布特性检测,在第三检测支架33上安装光强空间分布特性快速检测仪57,采用多路光度探测单元同步检测方法,实现LED光源的二维光强空间分布特性的一次性快速检测。As shown in Figure 5, the third detection station is based on the detection of the spatial distribution characteristics of light intensity, a
本实用新型采用集成、自动、连续检测方法对LED光源综合发光特性进行在线连续检测,包括以下步骤:The utility model adopts an integrated, automatic and continuous detection method to carry out online continuous detection of the comprehensive luminous characteristics of LED light sources, including the following steps:
1、启动本LED光源综合发光特性在线连续检测系统,打开计算机和测试软件,打开所有的测试仪器,进行初始化和仪器定标;1. Start the online continuous detection system for comprehensive luminous characteristics of LED light sources, turn on the computer and test software, turn on all test instruments, and perform initialization and instrument calibration;
2、将待测的LED光源安装在检测样品座上,并进行检测参数设置;2. Install the LED light source to be tested on the test sample holder, and set the test parameters;
3、运行检测软件,根据测试要求和参数设置,计算机控制检测样品座在导轨上向前运动,并在定位传感器的作用下,精确定位在第一检测工位的检测位置上;3. Run the detection software, according to the test requirements and parameter settings, the computer controls the detection sample seat to move forward on the guide rail, and under the action of the positioning sensor, it is accurately positioned at the detection position of the first detection station;
4、待测的LED光源处于点亮状态,第一检测工位的检测仪器同步进行相应的发光特性检测,驱动电流、检测时间等参数预先设置,检测信号被计算机和检测软件采集、汇总、处理和分析,只至第一检测工位的发光特性检测完成,停止检测信号的采集;4. The LED light source to be tested is in the lighted state, and the detection instrument at the first detection station performs the corresponding luminous characteristic detection synchronously. The driving current, detection time and other parameters are preset, and the detection signal is collected, summarized and processed by the computer and detection software. and analysis, until the detection of the luminescent characteristics of the first detection station is completed, the collection of detection signals is stopped;
5、计算机控制检测样品座自动启动并在导轨上继续向前运动,并在定位传感器的作用下,精确定位在第二检测工位的检测位置上;5. The computer-controlled detection sample holder automatically starts and continues to move forward on the guide rail, and is precisely positioned at the detection position of the second detection station under the action of the positioning sensor;
6、待测的LED光源处于点亮状态,第二检测工位的检测仪器同步进行发光特性检测,驱动电流、检测时间等参数预先设置,检测信号被计算机和检测软件采集、汇总、处理、分析,只至第二检测工位的发光特性检测完成,停止检测信号的采集;6. The LED light source to be tested is in the lighting state, and the detection instrument at the second detection station performs luminous characteristic detection synchronously. The driving current, detection time and other parameters are preset, and the detection signal is collected, summarized, processed and analyzed by the computer and detection software. , until the detection of the luminous characteristics of the second detection station is completed, and the collection of detection signals is stopped;
7、如果还有后续的检测工位,系统将重复上述的5-6检测步骤,只至待测的LED光源经过所有的检测工位,自动连续完成整个综合发光特性的在线检测过程;7. If there are follow-up detection stations, the system will repeat the above 5-6 detection steps until the LED light source to be tested passes through all the detection stations, and automatically and continuously complete the online detection process of the entire comprehensive luminous characteristics;
8、计算机和检测软件对所有的检测数据进行汇总处理和计算分析,多窗口显示检测结果,并根据用户要求保存测试结果、打印检测报告等。8. The computer and testing software perform summary processing, calculation and analysis on all testing data, display testing results in multiple windows, save test results, print testing reports, etc. according to user requirements.
所述的LED光源综合发光特性在线连续检测系统,即可作为一套独立的检测系统,也可连接配置在相关的生产流水线中进行在线检测。在该系统基础上进行一些变化,采用其中的部分检测项目,或者增加一些其他特性检测,但只要不离开本实用新型的精神和范围,均属于本实用新型权利要求的保护范围之内。The online continuous detection system for comprehensive luminous characteristics of LED light sources can be used as an independent detection system, or can be connected and configured in a related production line for online detection. Make some changes on the basis of the system, adopt some of the testing items, or add some other characteristic testing, but as long as it does not depart from the spirit and scope of the utility model, it all falls within the protection scope of the utility model claims.
结合图6,对本例中的测试过程描述如下:Combined with Figure 6, the test process in this example is described as follows:
首先开机,启动本LED光源综合发光特性在线连续检测系统,打开计算机和测试软件7,打开LED特性检测装置5中的所有检测仪器,进行初始化和仪器定标。然后将待测的LED光源安装在检测样品座上,通过电极与驱动恒流源连接,同时进行检测参数设置,包括设置驱动电流和每个工位的测试时间。First, turn on the system, start the online continuous detection system for comprehensive luminescence characteristics of the LED light source, turn on the computer and the test software 7, turn on all the detection instruments in the LED
然后开始运行检测软件,根据测试要求和参数设置,计算机控制检测样品座开始在导轨上向前运动,并在定位传感器的作用下,精确定位在第一检测工位的检测位置上。这时,驱动恒流源给待测的LED光源提供驱动电源,使其处于点亮状态,第一检测工位的检测仪器同步进行相应的发光特性检测,包括光强计检测平均光强,CCD摄像机记录发光图像,同步检测驱动电流、电压。电压、电流、光强、时间、发光图像等检测信号被计算机和检测软件多通道采集、汇总、计算和分析处理,只至达到检测时间停止检测信号的采集,完成第一检测工位的发光特性检测。Then start to run the detection software, according to the test requirements and parameter settings, the computer controls the detection sample seat to move forward on the guide rail, and under the action of the positioning sensor, it is precisely positioned on the detection position of the first detection station. At this time, drive the constant current source to provide driving power to the LED light source to be tested, so that it is in a lighting state, and the detection instrument at the first detection station simultaneously performs corresponding luminous characteristic detection, including the average light intensity detected by the light intensity meter, and the CCD The camera records the luminescent image and detects the driving current and voltage synchronously. Detection signals such as voltage, current, light intensity, time, and luminescence images are collected, summarized, calculated, and analyzed by the computer and detection software in multiple channels, and the collection of detection signals is stopped until the detection time is reached, and the luminescence characteristics of the first detection station are completed. detection.
接着计算机控制检测样品座重新移动并在导轨上继续向前运动,并在定位传感器的作用下,精确定位在第二检测工位的检测位置上。积分球自动落下,使待测的LED光源置于积分球中的测试通孔处,待测的LED光源处于点亮状态,发出的光全部进入积分球,第二检测工位的检测仪器同步进行发光特性检测,包括光度计检测光通量,光谱仪检测发光光谱,同步检测驱动电流、电压。电压、电流、光通量、发光光谱等检测信号被计算机和检测软件多通道采集、汇总、计算和分析处理,包括计算色度参数,只至达到检测时间停止检测信号的采集,完成第二检测工位的发光特性检测,积分球自动升起,让待测的LED光源可以继续向前运动。Then the computer controls the detection sample seat to move again and continue to move forward on the guide rail, and under the action of the positioning sensor, it is precisely positioned on the detection position of the second detection station. The integrating sphere falls down automatically, so that the LED light source to be tested is placed at the test through hole in the integrating sphere, the LED light source to be tested is in the lighted state, and all the emitted light enters the integrating sphere, and the detection instrument at the second detection station performs synchronously. The detection of luminescence characteristics includes detection of luminous flux by photometer, detection of luminescence spectrum by spectrometer, and simultaneous detection of driving current and voltage. Detection signals such as voltage, current, luminous flux, and luminescence spectrum are collected, summarized, calculated, and analyzed by the computer and detection software through multiple channels, including the calculation of chromaticity parameters. The collection of detection signals is stopped until the detection time is reached, and the second detection station is completed. The luminous characteristic detection, the integrating sphere rises automatically, so that the LED light source to be tested can continue to move forward.
接着计算机控制检测样品座重新移动并在导轨上继续向前运动,并在定位传感器的作用下,精确定位在第三检测工位的检测位置上。待测的LED光源处于点亮状态,第二检测工位的检测仪器进行光强空间分别特性检测,采用31路光度探测单元同步检测LED光源光强空间分布特性,光度探测器采用硅光电池,以测试样品座上的待测LED光源发光点为圆心,沿半圆轨迹均匀分布,将接收到的LED光源发出的光信号转换为电信号,并通过多通道光电转换电路和信号采集电路,输入到系统测试软件进行汇总处理和计算分析,同步检测不同方向上固定立体角的相对光强空间分布,在很短的时间内一次性得到二维光强空间分布曲线,并计算发射角。达到检测时间停止检测信号的采集,完成光强空间分布特性检测。Then the computer controls the detection sample seat to move again and continue to move forward on the guide rail, and under the action of the positioning sensor, it is precisely positioned on the detection position of the third detection station. The LED light source to be tested is in the lighted state, and the detection instrument at the second detection station performs the detection of the spatial characteristics of the light intensity, and uses 31 photometric detection units to simultaneously detect the spatial distribution characteristics of the LED light intensity. The photometric detector uses silicon photocells to The luminous point of the LED light source to be tested on the test sample seat is the center of the circle, and is evenly distributed along the semicircle track. The received optical signal from the LED light source is converted into an electrical signal, and input to the system through a multi-channel photoelectric conversion circuit and signal acquisition circuit. The test software performs summary processing and calculation analysis, simultaneously detects the relative light intensity spatial distribution of fixed solid angles in different directions, obtains the two-dimensional light intensity spatial distribution curve at one time in a very short period of time, and calculates the emission angle. When the detection time is reached, the collection of detection signals is stopped, and the detection of the spatial distribution characteristics of light intensity is completed.
此时待测得LED光源经过3个检测工位,自动连续完成整个综合发光特性的在线检测过程。计算机和检测软件对所有的检测数据进行汇总处理和计算分析,多窗口显示检测结果,并根据用户要求保存测试结果、打印检测报告等。At this time, the LED light source to be tested passes through three detection stations, and automatically and continuously completes the online detection process of the entire comprehensive luminous characteristics. The computer and testing software perform summary processing, calculation and analysis of all testing data, display testing results in multiple windows, save test results, print testing reports, etc. according to user requirements.
Claims (10)
Priority Applications (1)
| Application Number | Priority Date | Filing Date | Title |
|---|---|---|---|
| CNU2008200469743U CN201184839Y (en) | 2008-04-28 | 2008-04-28 | LED light source comprehensive luminescence characteristic detection device |
Applications Claiming Priority (1)
| Application Number | Priority Date | Filing Date | Title |
|---|---|---|---|
| CNU2008200469743U CN201184839Y (en) | 2008-04-28 | 2008-04-28 | LED light source comprehensive luminescence characteristic detection device |
Publications (1)
| Publication Number | Publication Date |
|---|---|
| CN201184839Y true CN201184839Y (en) | 2009-01-21 |
Family
ID=40272579
Family Applications (1)
| Application Number | Title | Priority Date | Filing Date |
|---|---|---|---|
| CNU2008200469743U Expired - Lifetime CN201184839Y (en) | 2008-04-28 | 2008-04-28 | LED light source comprehensive luminescence characteristic detection device |
Country Status (1)
| Country | Link |
|---|---|
| CN (1) | CN201184839Y (en) |
Cited By (14)
| Publication number | Priority date | Publication date | Assignee | Title |
|---|---|---|---|---|
| CN102288543A (en) * | 2011-07-28 | 2011-12-21 | 深圳中科光华科技有限公司 | Light-emitting diode (LED) display screen module detection device and method |
| CN102426330A (en) * | 2011-10-28 | 2012-04-25 | 江苏奥雷光电有限公司 | LED testing device and LED testing method |
| CN102692272A (en) * | 2012-05-29 | 2012-09-26 | 浙江三鑫照明检测设备有限公司 | Photometric measurement method and rotatable photometric measurement integrating sphere device |
| CN102854000A (en) * | 2012-09-10 | 2013-01-02 | 广东工业大学 | Optical path detector for high-brightness LEDs and detection method of optical axis deviation in high-brightness LEDs |
| CN103630335A (en) * | 2013-11-29 | 2014-03-12 | 广州视睿电子科技有限公司 | LED luminous angle and LED receiving light angle detection device |
| CN104360292A (en) * | 2014-12-08 | 2015-02-18 | 昆山精讯电子技术有限公司 | LED (Light-Emitting Diode) light bar photoelectric property detection mechanism |
| CN104697752A (en) * | 2015-03-27 | 2015-06-10 | 常州光电技术研究所 | Scanning type light source testing system |
| CN103344412B (en) * | 2013-06-28 | 2015-11-18 | 广州视睿电子科技有限公司 | LED testing device |
| CN105457909A (en) * | 2015-12-09 | 2016-04-06 | 广州市鸿利光电股份有限公司 | LED light splitting method |
| CN107631744A (en) * | 2017-10-23 | 2018-01-26 | 惠州市齐力光电科技有限公司 | A kind of sensing mechanism with position regulating function for LED detections |
| CN109632090A (en) * | 2019-01-30 | 2019-04-16 | 河海大学常州校区 | LED light is distributed by force Online Transaction Processing |
| CN110749421A (en) * | 2018-07-24 | 2020-02-04 | 深圳市矽电半导体设备有限公司 | Luminescent device testing integrated machine |
| WO2020114001A1 (en) * | 2018-12-07 | 2020-06-11 | 南昌欧菲生物识别技术有限公司 | Detection system and detection method for detecting light power of light emitting module |
| CN114813044A (en) * | 2021-01-22 | 2022-07-29 | 常州星宇车灯股份有限公司 | A blue light leak detection system and detection method |
-
2008
- 2008-04-28 CN CNU2008200469743U patent/CN201184839Y/en not_active Expired - Lifetime
Cited By (18)
| Publication number | Priority date | Publication date | Assignee | Title |
|---|---|---|---|---|
| CN102288543A (en) * | 2011-07-28 | 2011-12-21 | 深圳中科光华科技有限公司 | Light-emitting diode (LED) display screen module detection device and method |
| CN102426330A (en) * | 2011-10-28 | 2012-04-25 | 江苏奥雷光电有限公司 | LED testing device and LED testing method |
| CN102692272A (en) * | 2012-05-29 | 2012-09-26 | 浙江三鑫照明检测设备有限公司 | Photometric measurement method and rotatable photometric measurement integrating sphere device |
| CN102854000B (en) * | 2012-09-10 | 2015-08-12 | 广东工业大学 | The detection method of a kind of high-brightness LED optical axis pick-up unit and light shaft offset |
| CN102854000A (en) * | 2012-09-10 | 2013-01-02 | 广东工业大学 | Optical path detector for high-brightness LEDs and detection method of optical axis deviation in high-brightness LEDs |
| CN103344412B (en) * | 2013-06-28 | 2015-11-18 | 广州视睿电子科技有限公司 | LED testing device |
| CN103630335A (en) * | 2013-11-29 | 2014-03-12 | 广州视睿电子科技有限公司 | LED luminous angle and LED receiving light angle detection device |
| CN103630335B (en) * | 2013-11-29 | 2016-04-27 | 广州视睿电子科技有限公司 | LED luminous angle and LED receiving light angle detection device |
| CN104360292A (en) * | 2014-12-08 | 2015-02-18 | 昆山精讯电子技术有限公司 | LED (Light-Emitting Diode) light bar photoelectric property detection mechanism |
| CN104360292B (en) * | 2014-12-08 | 2017-09-19 | 昆山精讯电子技术有限公司 | LED light bar photo electric testing agency |
| CN104697752A (en) * | 2015-03-27 | 2015-06-10 | 常州光电技术研究所 | Scanning type light source testing system |
| CN105457909A (en) * | 2015-12-09 | 2016-04-06 | 广州市鸿利光电股份有限公司 | LED light splitting method |
| CN107631744A (en) * | 2017-10-23 | 2018-01-26 | 惠州市齐力光电科技有限公司 | A kind of sensing mechanism with position regulating function for LED detections |
| CN110749421A (en) * | 2018-07-24 | 2020-02-04 | 深圳市矽电半导体设备有限公司 | Luminescent device testing integrated machine |
| CN110749421B (en) * | 2018-07-24 | 2022-02-15 | 矽电半导体设备(深圳)股份有限公司 | Light-emitting device testing machine |
| WO2020114001A1 (en) * | 2018-12-07 | 2020-06-11 | 南昌欧菲生物识别技术有限公司 | Detection system and detection method for detecting light power of light emitting module |
| CN109632090A (en) * | 2019-01-30 | 2019-04-16 | 河海大学常州校区 | LED light is distributed by force Online Transaction Processing |
| CN114813044A (en) * | 2021-01-22 | 2022-07-29 | 常州星宇车灯股份有限公司 | A blue light leak detection system and detection method |
Similar Documents
| Publication | Publication Date | Title |
|---|---|---|
| CN201184839Y (en) | LED light source comprehensive luminescence characteristic detection device | |
| CN101571451B (en) | Device for continuously detecting integrative luminescence properties of light emitting diode (LED) light source | |
| CN104101744B (en) | Probe clamp, and LED rapid lightening testing apparatus and method | |
| CN201017022Y (en) | Semiconductor lighting device service life accelerate tester | |
| CN103576099B (en) | LED lamp flicking testing system and implementation testing method thereof | |
| CN103267588B (en) | Junction temperature testing method based on temperature variation of LED (light-emitting diode) relative spectrum | |
| CN101566500A (en) | Device and method for testing LED light source intensity space distribution characteristic | |
| CN201229204Y (en) | LED light source intensity space distribution characteristic test device | |
| CN112684313B (en) | Automatic testing device and method for LED (light emitting diode) light emitting performance | |
| CN103575240A (en) | Flatness detection device and detection method thereof | |
| CN102707212A (en) | Device for detecting service life of light emitting diode (LED) in real time | |
| CN201051102Y (en) | Quick tester for gold colloid | |
| JP3155989U (en) | Light emitting combination batch inspection device with solar battery | |
| CN202182813U (en) | Light-emitting diode (LED) light attenuation testing device | |
| CN104181130A (en) | Silicon chip and solar cell on-line sorting device based on photoluminescence method | |
| CN102607361A (en) | Automatic detection device for double-row-graduated-line measuring instrument | |
| WO2013185313A1 (en) | Detection device and method | |
| CN102032984B (en) | Light-emitting diode photometric measurement method | |
| CN102854000B (en) | The detection method of a kind of high-brightness LED optical axis pick-up unit and light shaft offset | |
| CN205175664U (en) | Photoelectric detection system of LED charactron | |
| CN103245901A (en) | A flip-chip LED chip testing machine and testing method | |
| CN115508054B (en) | Automated optical inspection device, inspection method and inspection system | |
| CN102486534A (en) | Photoelectric parameter measuring system of LED fluorescent lamp | |
| CN100342233C (en) | Immunity detection and test paper scrip chroma quantitative determination instrument and detection method employed thereby | |
| CN108188042A (en) | Apply the full-automatic online light transmittance detecting system in Mobile phone screen glass production line |
Legal Events
| Date | Code | Title | Description |
|---|---|---|---|
| C14 | Grant of patent or utility model | ||
| GR01 | Patent grant | ||
| AV01 | Patent right actively abandoned |
Granted publication date: 20090121 Effective date of abandoning: 20080428 |
|
| AV01 | Patent right actively abandoned |
Granted publication date: 20090121 Effective date of abandoning: 20080428 |
