CN115448090A - 一种网络光缆施工装置 - Google Patents

一种网络光缆施工装置 Download PDF

Info

Publication number
CN115448090A
CN115448090A CN202211413377.0A CN202211413377A CN115448090A CN 115448090 A CN115448090 A CN 115448090A CN 202211413377 A CN202211413377 A CN 202211413377A CN 115448090 A CN115448090 A CN 115448090A
Authority
CN
China
Prior art keywords
optical cable
rod
block
fixedly connected
frame
Prior art date
Legal status (The legal status is an assumption and is not a legal conclusion. Google has not performed a legal analysis and makes no representation as to the accuracy of the status listed.)
Granted
Application number
CN202211413377.0A
Other languages
English (en)
Other versions
CN115448090B (zh
Inventor
韩鲲
朱红梅
Current Assignee (The listed assignees may be inaccurate. Google has not performed a legal analysis and makes no representation or warranty as to the accuracy of the list.)
Jiangsu Pinsheng Network Technology Co.,Ltd.
Original Assignee
Xuzhou Lanhuoju Network Technology Co ltd
Priority date (The priority date is an assumption and is not a legal conclusion. Google has not performed a legal analysis and makes no representation as to the accuracy of the date listed.)
Filing date
Publication date
Application filed by Xuzhou Lanhuoju Network Technology Co ltd filed Critical Xuzhou Lanhuoju Network Technology Co ltd
Priority to CN202211413377.0A priority Critical patent/CN115448090B/zh
Publication of CN115448090A publication Critical patent/CN115448090A/zh
Application granted granted Critical
Publication of CN115448090B publication Critical patent/CN115448090B/zh
Active legal-status Critical Current
Anticipated expiration legal-status Critical

Links

Images

Classifications

    • BPERFORMING OPERATIONS; TRANSPORTING
    • B65CONVEYING; PACKING; STORING; HANDLING THIN OR FILAMENTARY MATERIAL
    • B65HHANDLING THIN OR FILAMENTARY MATERIAL, e.g. SHEETS, WEBS, CABLES
    • B65H49/00Unwinding or paying-out filamentary material; Supporting, storing or transporting packages from which filamentary material is to be withdrawn or paid-out
    • B65H49/18Methods or apparatus in which packages rotate
    • B65H49/20Package-supporting devices
    • BPERFORMING OPERATIONS; TRANSPORTING
    • B08CLEANING
    • B08BCLEANING IN GENERAL; PREVENTION OF FOULING IN GENERAL
    • B08B5/00Cleaning by methods involving the use of air flow or gas flow
    • B08B5/02Cleaning by the force of jets, e.g. blowing-out cavities
    • B08B5/023Cleaning travelling work
    • BPERFORMING OPERATIONS; TRANSPORTING
    • B21MECHANICAL METAL-WORKING WITHOUT ESSENTIALLY REMOVING MATERIAL; PUNCHING METAL
    • B21FWORKING OR PROCESSING OF METAL WIRE
    • B21F1/00Bending wire other than coiling; Straightening wire
    • B21F1/02Straightening
    • BPERFORMING OPERATIONS; TRANSPORTING
    • B65CONVEYING; PACKING; STORING; HANDLING THIN OR FILAMENTARY MATERIAL
    • B65HHANDLING THIN OR FILAMENTARY MATERIAL, e.g. SHEETS, WEBS, CABLES
    • B65H57/00Guides for filamentary materials; Supports therefor
    • B65H57/14Pulleys, rollers, or rotary bars
    • BPERFORMING OPERATIONS; TRANSPORTING
    • B65CONVEYING; PACKING; STORING; HANDLING THIN OR FILAMENTARY MATERIAL
    • B65HHANDLING THIN OR FILAMENTARY MATERIAL, e.g. SHEETS, WEBS, CABLES
    • B65H2701/00Handled material; Storage means
    • B65H2701/30Handled filamentary material
    • B65H2701/32Optical fibres or optical cables

Landscapes

  • Engineering & Computer Science (AREA)
  • Mechanical Engineering (AREA)
  • Light Guides In General And Applications Therefor (AREA)

Abstract

本发明涉及网络光缆技术领域,具体的说是一种网络光缆施工装置,包括卷收机构,所述卷收机构上配合卡合有限位机构;所述卷收机构上安装有滚动机构;所述卷收机构上设有固定机构;所述固定机构上配合滑动有挤压机构;所述固定机构上安装有导向机构;拉动并转动限位机构使卷收机构转动,卷收机构转动时带动滚动机构转动,滚动机构也便于对多余的光缆进行卷收;拉动光缆时,光缆与挤压机构抵触,进而使挤压机构在固定机构内滑动,进而便于对因缠绕产生弯曲的光缆矫正;光缆移动抵触导向机构,导向机构滑动使固定机构内部的气体排出,进而便于防止偏向拉拽光缆时容易使光缆内部断裂的情况,同时也便于在收线时对光缆上附着的灰尘进行清理。

Description

一种网络光缆施工装置
技术领域
本发明涉及网络光缆技术领域,具体的说是一种网络光缆施工装置。
背景技术
网路光缆在安装时,一般会将光缆安装在转盘上,且光缆具有一定的重量,在安装和拆卸转盘时较不方便;操作人员大力拉拽光缆时,转盘一直转动容易使多余的光缆滑出,进而在容易使光缆堆积的同时也不便于操作人员后续对多余的光缆进行卷收;由于光缆长时间缠绕在转盘上会产生弯曲,操作人员在使用前还需要将光缆摆放呈八字型进行铺设,操作繁琐的同时也不利于提高光缆的安装速度;当偏向拉动光缆时,光缆在移动时抵触到转盘内壁,进而容易产生摩擦,在拉力作用下,光缆内部也可能会损坏,从而不利于提高其使用效率。
发明内容
针对现有技术中的问题,本发明提供了一种网络光缆施工装置。
本发明解决其技术问题所采用的技术方案是:一种网络光缆施工装置,包括卷收机构,所述卷收机构上配合卡合有限位机构;所述卷收机构上安装有滚动机构;所述卷收机构上设有固定机构;所述固定机构上配合滑动有挤压机构;所述固定机构上安装有导向机构;
所述固定机构包括固定架,所述导向机构包括抵杆,所述固定架上对称滑动连接有两个抵杆,所述抵杆上固定安装有支撑块,所述支撑块上转动连接有导向轮,所述抵杆通过第二压簧与固定架配合连接,所述抵杆上安装有滤网,所述固定架通过单向阀与排气槽连通,所述固定架上固定连接有排气管,且所述排气管与排气槽连通。
具体的,所述固定机构还包括支撑架,所述固定架上对称固定安装有两个支撑架,所述固定架上卡合连接有收纳箱,所述收纳箱上固定连接有固定杆,所述固定架上等距转动连接有若干个导向杆。
具体的,所述卷收机构包括底座,所述支撑架与底座之间固定连接,所述底座上配合安装有液压杆,所述液压杆上固定连接有安装架,所述安装架上转动连接有转杆,所述转杆上固定连接有卡块,所述卡块与转盘之间卡合连接,所述卷收机构还包括垫圈,所述转盘上粘接有垫圈,所述安装架上呈环状等距转动连接有滚珠,且所述滚珠与转杆之间滚动连接。
具体的,所述限位机构包括卡槽,所述转盘上设有若干个卡槽,所述安装架上抵触有卡杆,所述卡杆上固定连接有拉杆,所述卡槽部位配合卡合有卡杆,所述卡杆上套接有第一压簧,所述安装架上设有限位槽,若干个所述卡槽呈环状等距设置,所述卡杆通过第一压簧与安装架配合连接,且所述第一压簧与安装架抵触。
具体的,所述滚动机构包括固定块,所述底座上对称固定连接有两个固定块,所述固定块上转动连接有滚轮,所述滚轮上固定连接有转轴,所述转轴上固定安装有橡胶卡盘,所述橡胶卡盘上抵触有橡胶块,所述橡胶块上固定连接有连轴,所述连轴上套接有扭簧,所述橡胶块通过扭簧与固定块配合连接,所述滚轮与转盘之间滚动连接,所述橡胶块的截面呈弧状结构,所述连轴与固定块之间转动连接。
具体的,所述挤压机构包括连接块,所述固定架上固定安装有连接块,所述连接块上滑动连接有连杆,所述连杆上固定安装有滑板,所述滑板上等距转动连接有若干个导向辊,所述滑板与固定架之间滑动连接,所述挤压机构还包括滑杆,所述滑板上对称固定连接有两个滑杆,所述滑杆通过伸缩弹簧与固定架配合连接。
本发明的有益效果是:
(1)本发明所述的一种网络光缆施工装置,拉动并转动限位机构,可以使卷收机构转动,卷收机构转动时带动滚动机构转动,使卷收机构保持匀速转动,且滚动机构的设置,也便于卷收机构对多余的光缆进行卷收,即:操作人员在安装网络光缆时,可以先将缠绕有光缆的转盘移动到底座上,底座靠近转盘的一端呈斜面设置,进而方便操作人员对转盘进行安装和拆卸;在拉拽光缆前,操作人员可以用手拉动拉杆,拉杆上固定连接有卡杆,卡杆通过第一压簧与安装架配合连接,卡杆端部卡合在转盘内设有的卡槽部位,卡杆随拉杆滑动到安装架内设有的限位槽部位,转动拉杆,卡杆端部在限位槽部位转动时可以与安装架抵触,进而便于使卡杆卡合在安装架内部;光缆缠绕在垫圈上,垫圈上等距设有若干个空槽,进而便于光缆缠绕在转盘上,当操作人员拉动光缆时,可以使转盘转动,转盘上卡合连接有卡块,卡块与转杆之间固定连接,转盘转动时,可以使卡块带动转杆转动,安装架上呈环状等距转动连接有若干个滚珠,转杆在安装架内部转动时,可以使滚珠转动,进而便于减小转杆与安装架之间的摩擦力,从而有利于提高转盘的转动效果;转盘与滚轮之间转动连接,转盘顺时钟转动时,可以使滚轮反向转动,滚轮上固定连接有转轴,转轴带动橡胶卡盘转动,橡胶卡盘上抵触有橡胶块,橡胶卡盘转动时驱动橡胶块转动,进而使套接在连轴上的扭簧形变,由于橡胶卡盘和橡胶块均由橡胶制成,具有一定的柔性,可以使滚轮转动慢一点,进而使转盘保持慢转速的同时也防止转盘转动过快导致多余的光缆滑出时堆积到地面;当操作人员需要对多余的光缆进行卷收时,反向转动转盘,使滚轮也反向转动,进而使橡胶卡盘转动带动橡胶块转动,从而便于实现对多余光缆进行卷收。
(2)本发明所述的一种网络光缆施工装置,拉动光缆时,光缆与挤压机构抵触,进而使挤压机构在固定机构内滑动,进而便于对因缠绕产生弯曲的光缆进行矫正,从而有利于提高光缆的使用效果,即:底座上安装有支撑架,支撑架与固定架之间固定连接,拉动光缆时,可以与导向杆、导向辊抵触,若干个导向辊等距转动在滑板上,滑板上固定连接有连杆,滑板上对称固定安装有两个滑杆,当光缆滑动与导向辊抵触时,可以使滑板带动滑杆滑动,固定架内安装有伸缩弹簧,滑杆滑动时可以对伸缩弹簧进行挤压,进而使滑杆在连接块内部滑动,导向辊和导向杆在转动时对因缠绕产生弯曲的光缆进行矫直,从而有利于提高光缆的使用效果。
(3)本发明所述的一种网络光缆施工装置,光缆移动时,可以抵触导向机构,导向机构滑动使固定机构内部的气体排出,进而便于防止偏向拉拽光缆时容易使光缆内部断裂的情况,同时也便于在收线时对光缆上附着的灰尘进行清理,即:光缆与两组导向轮连接,在拉拽光缆时,可以使其与导向轮抵触,进而便于带动导向轮在支撑块内部转动,支撑块与抵杆之间固定连接,当操作人员偏向拉动光缆时,会对导向轮产生挤压力,进而使支撑块在挤压力作用下带动抵杆在固定架内部滑动,从而有利于防止偏向拉拽光缆时容易使光缆内部断裂的情况;固定架内设有进气孔,气体通过抵杆内安装的滤网排放到固定架内部,抵杆滑动时,固定架内部的气体在抵杆对第二压簧进行挤压时,可以使气体通过单向阀排入排气槽,固定架上对称固定安装有两个排气管,气体通过排气管排出时可以对卷收光缆时光缆上粘结的灰尘进行清理。
附图说明
下面结合附图和实施例对本发明进一步说明。
图1为本发明提供的一种网络光缆施工装置的一种较佳实施例的整体结构示意图;
图2为图1所示的A部结构放大示意图;
图3为图1所示的B部结构放大示意图;
图4为本发明的转盘与垫圈的连接结构示意图;
图5为图4所示的C部结构放大示意图;
图6为图4所示的D部结构放大示意图;
图7为本发明的底座与安装架的连接结构示意图;
图8为图7所示的E部结构放大示意图;
图9为本发明的连杆与连接块的连接结构示意图;
图10为图9所示的F部结构放大示意图;
图11为本发明的支撑块与导向轮的连接结构示意图;
图12为图11所示的G部结构放大示意图。
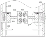
图中:1、卷收机构;101、底座;102、安装架;103、转盘;104、垫圈;105、液压杆;106、滚珠;107、转杆;108、卡块;2、限位机构;201、卡槽;202、拉杆;203、卡杆;204、第一压簧;205、限位槽;3、滚动机构;301、固定块;302、滚轮;303、转轴;304、橡胶卡盘;305、橡胶块;306、连轴;307、扭簧;4、固定机构;401、支撑架;402、收纳箱;403、固定杆;404、固定架;405、导向杆;5、挤压机构;501、连杆;502、连接块;503、滑杆;504、滑板;505、导向辊;506、伸缩弹簧;6、导向机构;601、排气管;602、支撑块;603、导向轮;604、抵杆;605、滤网;606、第二压簧;607、单向阀;608、排气槽。
具体实施方式
为了使本发明实现的技术手段、创作特征、达成目的与功效易于明白了解,下面结合具体实施方式,进一步阐述本发明。
如图1-图12所示,本发明所述的一种网络光缆施工装置,包括卷收机构1,所述卷收机构1上配合卡合有限位机构2;所述卷收机构1上安装有滚动机构3;所述卷收机构1上设有固定机构4;所述固定机构4上配合滑动有挤压机构5;所述固定机构4上安装有导向机构6;
所述固定机构4包括固定架404,所述导向机构6包括抵杆604,所述固定架404上对称滑动连接有两个抵杆604,所述抵杆604上固定安装有支撑块602,所述支撑块602上转动连接有导向轮603,所述抵杆604通过第二压簧606与固定架404配合连接,所述抵杆604上安装有滤网605,所述固定架404通过单向阀607与排气槽608连通,所述固定架404上固定连接有排气管601,且所述排气管601与排气槽608连通。
具体的,所述固定机构4还包括支撑架401,所述固定架404上对称固定安装有两个支撑架401,所述固定架404上卡合连接有收纳箱402,所述收纳箱402上固定连接有固定杆403,所述固定架404上等距转动连接有若干个导向杆405,光缆移动时,可以抵触导向机构6,导向机构6滑动使固定机构4内部的气体排出,进而便于防止偏向拉拽光缆时容易使光缆内部断裂的情况,同时也便于在收线时对光缆上附着的灰尘进行清理,即:光缆与两组导向轮603连接,在拉拽光缆时,可以使其与导向轮603抵触,进而便于带动导向轮603在支撑块602内部转动,支撑块602与抵杆604之间固定连接,当操作人员偏向拉动光缆时,会对导向轮603产生挤压力,进而使支撑块602在挤压力作用下带动抵杆604在固定架404内部滑动,从而有利于防止偏向拉拽光缆时容易使光缆内部断裂的情况;固定架404内设有进气孔,气体通过抵杆604内安装的滤网605排放到固定架404内部,抵杆604滑动时,固定架404内部的气体在抵杆604对第二压簧606进行挤压时,可以使气体通过单向阀607排入排气槽608,固定架404上对称固定安装有两个排气管601,气体通过排气管601排出时可以对卷收光缆时光缆上粘结的灰尘进行清理。
具体的,所述卷收机构1包括底座101,所述支撑架401与底座101之间固定连接,所述底座101上配合安装有液压杆105,所述液压杆105上固定连接有安装架102,所述安装架102上转动连接有转杆107,所述转杆107上固定连接有卡块108,所述卡块108与转盘103之间卡合连接,所述卷收机构1还包括垫圈104,所述转盘103上粘接有垫圈104,所述安装架102上呈环状等距转动连接有滚珠106,且所述滚珠106与转杆107之间滚动连接。
具体的,所述限位机构2包括卡槽201,所述转盘103上设有若干个卡槽201,所述安装架102上抵触有卡杆203,所述卡杆203上固定连接有拉杆202,所述卡槽201部位配合卡合有卡杆203,所述卡杆203上套接有第一压簧204,所述安装架102上设有限位槽205,若干个所述卡槽201呈环状等距设置,所述卡杆203通过第一压簧204与安装架102配合连接,且所述第一压簧204与安装架102抵触。
具体的,所述滚动机构3包括固定块301,所述底座101上对称固定连接有两个固定块301,所述固定块301上转动连接有滚轮302,所述滚轮302上固定连接有转轴303,所述转轴303上固定安装有橡胶卡盘304,所述橡胶卡盘304上抵触有橡胶块305,所述橡胶块305上固定连接有连轴306,所述连轴306上套接有扭簧307,所述橡胶块305通过扭簧307与固定块301配合连接,所述滚轮302与转盘103之间滚动连接,所述橡胶块305的截面呈弧状结构,所述连轴306与固定块301之间转动连接,拉动并转动限位机构2,可以使卷收机构1转动,卷收机构1转动时带动滚动机构3转动,且滚动机构3的设置,也有利于防止卷收机构1回转,即:操作人员在安装网络光缆时,可以先将缠绕有光缆的转盘103移动到底座101上,底座101靠近转盘103的一端呈斜面设置,进而方便操作人员对转盘103进行安装和拆卸;在拉拽光缆前,操作人员可以用手拉动拉杆202,拉杆202上固定连接有卡杆203,卡杆203通过第一压簧204与安装架102配合连接,卡杆203端部卡合在转盘103内设有的卡槽201部位,卡杆203随拉杆202滑动到安装架102内设有的限位槽205部位,转动拉杆202,卡杆203端部在限位槽205部位转动时可以与安装架102抵触,进而便于使卡杆203卡合在安装架102内部;光缆缠绕在垫圈104上,垫圈104上等距设有若干个空槽,进而便于光缆缠绕在转盘103上,当操作人员拉动光缆时,可以使转盘103转动,转盘103上卡合连接有卡块108,卡块108与转杆107之间固定连接,转盘103转动时,可以使卡块108带动转杆107转动,安装架102上呈环状等距转动连接有若干个滚珠106,转杆107在安装架102内部转动时,可以使滚珠106转动,进而便于减小转杆107与安装架102之间的摩擦力,从而有利于提高转盘103的转动效果;转盘103与滚轮302之间转动连接,转盘103顺时钟转动时,可以使滚轮302反向转动,滚轮302上固定连接有转轴303,转轴303带动橡胶卡盘304转动,橡胶卡盘304上抵触有橡胶块305,橡胶卡盘304转动时驱动橡胶块305转动,进而使套接在连轴306上的扭簧307形变,由于橡胶卡盘304和橡胶块305均由橡胶制成,具有一定的柔性,可以使滚轮302转动慢一点,进而使转盘103保持慢转速的同时也防止转盘103转动过快导致多余的光缆滑出时堆积到地面;当操作人员需要对多余的光缆进行卷收时,反向转动转盘103,使滚轮302也反向转动,进而使橡胶卡盘304转动带动橡胶块305转动,从而便于实现对多余光缆进行卷收。
具体的,所述挤压机构5包括连接块502,所述固定架404上固定安装有连接块502,所述连接块502上滑动连接有连杆501,所述连杆501上固定安装有滑板504,所述滑板504上等距转动连接有若干个导向辊505,所述滑板504与固定架404之间滑动连接,所述挤压机构5还包括滑杆503,所述滑板504上对称固定连接有两个滑杆503,所述滑杆503通过伸缩弹簧506与固定架404配合连接,拉动光缆时,光缆与挤压机构5抵触,进而使挤压机构5在固定机构4内滑动,进而便于对因缠绕产生弯曲的光缆进行矫正,从而有利于提高光缆的使用效果,即:底座101上安装有支撑架401,支撑架401与固定架404之间固定连接,拉动光缆时,可以与导向杆405、导向辊505抵触,若干个导向辊505等距转动在滑板504上,滑板504上固定连接有连杆501,滑板504上对称固定安装有两个滑杆503,当光缆滑动与导向辊505抵触时,可以使滑板504带动滑杆503滑动,固定架404内安装有伸缩弹簧506,滑杆503滑动时可以对伸缩弹簧506进行挤压,进而使滑杆503在连接块502内部滑动,导向辊505和导向杆405在转动时对因缠绕产生弯曲的光缆进行矫直,从而有利于提高光缆的使用效果。
本发明在使用时,首先,操作人员在安装网络光缆时,可以先将缠绕有光缆的转盘103移动到底座101上,底座101靠近转盘103的一端呈斜面设置,进而方便操作人员对转盘103进行安装和拆卸;在拉拽光缆前,操作人员可以用手拉动拉杆202,拉杆202上固定连接有卡杆203,卡杆203通过第一压簧204与安装架102配合连接,卡杆203端部卡合在转盘103内设有的卡槽201部位,卡杆203随拉杆202滑动到安装架102内设有的限位槽205部位,转动拉杆202,卡杆203端部在限位槽205部位转动时可以与安装架102抵触,进而便于使卡杆203卡合在安装架102内部;光缆缠绕在垫圈104上,垫圈104上等距设有若干个空槽,进而便于光缆缠绕在转盘103上,当操作人员拉动光缆时,可以使转盘103转动,转盘103上卡合连接有卡块108,卡块108与转杆107之间固定连接,转盘103转动时,可以使卡块108带动转杆107转动,安装架102上呈环状等距转动连接有若干个滚珠106,转杆107在安装架102内部转动时,可以使滚珠106转动,进而便于减小转杆107与安装架102之间的摩擦力,从而有利于提高转盘103的转动效果;转盘103与滚轮302之间转动连接,转盘103顺时钟转动时,可以使滚轮302反向转动,滚轮302上固定连接有转轴303,转轴303带动橡胶卡盘304转动,橡胶卡盘304上抵触有橡胶块305,橡胶卡盘304转动时驱动橡胶块305转动,进而使套接在连轴306上的扭簧307形变,由于橡胶卡盘304和橡胶块305均由橡胶制成,具有一定的柔性,可以使滚轮302转动慢一点,进而使转盘103保持慢转速的同时也防止转盘103转动过快导致多余的光缆滑出时堆积到地面;当操作人员需要对多余的光缆进行卷收时,反向转动转盘103,使滚轮302也反向转动,进而使橡胶卡盘304转动带动橡胶块305转动,从而便于实现对多余光缆进行卷收;底座101上安装有支撑架401,支撑架401与固定架404之间固定连接,拉动光缆时,可以与导向杆405、导向辊505抵触,若干个导向辊505等距转动在滑板504上,滑板504上固定连接有连杆501,滑板504上对称固定安装有两个滑杆503,当光缆滑动与导向辊505抵触时,可以使滑板504带动滑杆503滑动,固定架404内安装有伸缩弹簧506,滑杆503滑动时可以对伸缩弹簧506进行挤压,进而使滑杆503在连接块502内部滑动,导向辊505和导向杆405在转动时对因缠绕产生弯曲的光缆进行矫直,从而有利于提高光缆的使用效果;光缆与两组导向轮603连接,在拉拽光缆时,可以使其与导向轮603抵触,进而便于带动导向轮603在支撑块602内部转动,支撑块602与抵杆604之间固定连接,当操作人员偏向拉动光缆时,会对导向轮603产生挤压力,进而使支撑块602在挤压力作用下带动抵杆604在固定架404内部滑动,从而有利于防止偏向拉拽光缆时容易使光缆内部断裂的情况;固定架404内设有进气孔,气体通过抵杆604内安装的滤网605排放到固定架404内部,抵杆604滑动时,固定架404内部的气体在抵杆604对第二压簧606进行挤压时,可以使气体通过单向阀607排入排气槽608,固定架404上对称固定安装有两个排气管601,气体通过排气管601排出时可以对卷收光缆时光缆上粘结的灰尘进行清理。
对于本领域技术人员而言,显然本发明不限于上述示范性实施例的细节,而且在不背离本发明的精神或基本特征的情况下,能够以其他的具体形式实现本发明。因此,无论从哪一点来看,均应将实施例看作是示范性的,而且是非限制性的,本发明的范围由所附权利要求而不是上述说明限定,因此旨在将落在权利要求的等同要件的含义和范围内的所有变化囊括在本发明内。不应将权利要求中的任何附图标记视为限制所涉及的权利要求。
此外,应当理解,虽然本说明书按照实施方式加以描述,但并非每个实施方式仅包含一个独立的技术方案,说明书的这种叙述方式仅仅是为清楚起见,本领域技术人员应当将说明书作为一个整体,各实施例中的技术方案也可以经适当组合,形成本领域技术人员可以理解的其他实施方式。

Claims (10)

1.一种网络光缆施工装置,其特征在于,包括卷收机构(1),所述卷收机构(1)上配合卡合有限位机构(2);所述卷收机构(1)上安装有滚动机构(3);所述卷收机构(1)上设有固定机构(4);所述固定机构(4)上配合滑动有挤压机构(5);所述固定机构(4)上安装有导向机构(6);
所述固定机构(4)包括固定架(404),所述导向机构(6)包括抵杆(604),所述固定架(404)上对称滑动连接有两个抵杆(604),所述抵杆(604)上固定安装有支撑块(602),所述支撑块(602)上转动连接有导向轮(603),所述抵杆(604)通过第二压簧(606)与固定架(404)配合连接,所述抵杆(604)上安装有滤网(605),所述固定架(404)通过单向阀(607)与排气槽(608)连通,所述固定架(404)上固定连接有排气管(601),且所述排气管(601)与排气槽(608)连通。
2.根据权利要求1所述的一种网络光缆施工装置,其特征在于:所述固定机构(4)还包括支撑架(401),所述固定架(404)上对称固定安装有两个支撑架(401),所述固定架(404)上卡合连接有收纳箱(402),所述收纳箱(402)上固定连接有固定杆(403),所述固定架(404)上等距转动连接有若干个导向杆(405)。
3.根据权利要求2所述的一种网络光缆施工装置,其特征在于:所述卷收机构(1)包括底座(101),所述支撑架(401)与底座(101)之间固定连接,所述底座(101)上配合安装有液压杆(105),所述液压杆(105)上固定连接有安装架(102),所述安装架(102)上转动连接有转杆(107),所述转杆(107)上固定连接有卡块(108),所述卡块(108)与转盘(103)之间卡合连接。
4.根据权利要求3所述的一种网络光缆施工装置,其特征在于:所述卷收机构(1)还包括垫圈(104),所述转盘(103)上粘接有垫圈(104),所述安装架(102)上呈环状等距转动连接有滚珠(106),且所述滚珠(106)与转杆(107)之间滚动连接。
5.根据权利要求4所述的一种网络光缆施工装置,其特征在于:所述限位机构(2)包括卡槽(201),所述转盘(103)上设有若干个卡槽(201),所述安装架(102)上抵触有卡杆(203),所述卡杆(203)上固定连接有拉杆(202),所述卡槽(201)部位配合卡合有卡杆(203),所述卡杆(203)上套接有第一压簧(204),所述安装架(102)上设有限位槽(205)。
6.根据权利要求5所述的一种网络光缆施工装置,其特征在于:若干个所述卡槽(201)呈环状等距设置,所述卡杆(203)通过第一压簧(204)与安装架(102)配合连接,且所述第一压簧(204)与安装架(102)抵触。
7.根据权利要求3所述的一种网络光缆施工装置,其特征在于:所述滚动机构(3)包括固定块(301),所述底座(101)上对称固定连接有两个固定块(301),所述固定块(301)上转动连接有滚轮(302),所述滚轮(302)上固定连接有转轴(303),所述转轴(303)上固定安装有橡胶卡盘(304),所述橡胶卡盘(304)上抵触有橡胶块(305),所述橡胶块(305)上固定连接有连轴(306),所述连轴(306)上套接有扭簧(307),所述橡胶块(305)通过扭簧(307)与固定块(301)配合连接。
8.根据权利要求7所述的一种网络光缆施工装置,其特征在于:所述滚轮(302)与转盘(103)之间滚动连接,所述橡胶块(305)的截面呈弧状结构,所述连轴(306)与固定块(301)之间转动连接。
9.根据权利要求1所述的一种网络光缆施工装置,其特征在于:所述挤压机构(5)包括连接块(502),所述固定架(404)上固定安装有连接块(502),所述连接块(502)上滑动连接有连杆(501),所述连杆(501)上固定安装有滑板(504),所述滑板(504)上等距转动连接有若干个导向辊(505),所述滑板(504)与固定架(404)之间滑动连接。
10.根据权利要求9所述的一种网络光缆施工装置,其特征在于:所述挤压机构(5)还包括滑杆(503),所述滑板(504)上对称固定连接有两个滑杆(503),所述滑杆(503)通过伸缩弹簧(506)与固定架(404)配合连接。
CN202211413377.0A 2022-11-11 2022-11-11 一种网络光缆施工装置 Active CN115448090B (zh)

Priority Applications (1)

Application Number Priority Date Filing Date Title
CN202211413377.0A CN115448090B (zh) 2022-11-11 2022-11-11 一种网络光缆施工装置

Applications Claiming Priority (1)

Application Number Priority Date Filing Date Title
CN202211413377.0A CN115448090B (zh) 2022-11-11 2022-11-11 一种网络光缆施工装置

Publications (2)

Publication Number Publication Date
CN115448090A true CN115448090A (zh) 2022-12-09
CN115448090B CN115448090B (zh) 2023-07-18

Family

ID=84295738

Family Applications (1)

Application Number Title Priority Date Filing Date
CN202211413377.0A Active CN115448090B (zh) 2022-11-11 2022-11-11 一种网络光缆施工装置

Country Status (1)

Country Link
CN (1) CN115448090B (zh)

Cited By (1)

* Cited by examiner, † Cited by third party
Publication number Priority date Publication date Assignee Title
CN120871364A (zh) * 2025-09-28 2025-10-31 江苏裕荣光电科技有限公司 一种光电子器件光缆铺设用松放装置

Citations (19)

* Cited by examiner, † Cited by third party
Publication number Priority date Publication date Assignee Title
CN208135601U (zh) * 2018-05-04 2018-11-23 广东电网有限责任公司 一种气缸式手动放线装置
CN110282493A (zh) * 2019-07-19 2019-09-27 武汉华源铸诚电力股份有限公司 一种抵压卷动式通信电缆收卷装置
CN110775720A (zh) * 2019-10-29 2020-02-11 国网山东省电力公司聊城供电公司 一种电力配网旁路作业用电缆架
CN110916644A (zh) * 2019-12-09 2020-03-27 广州市鹭江远科技有限公司 一种具有电缆收放功能的防尘型便携式心电仪
CN210558513U (zh) * 2019-09-25 2020-05-19 南昌恒海实业集团有限公司 一种信息网络系统的光纤线临时固定装置
CN211110394U (zh) * 2019-12-02 2020-07-28 四川乾元昊泰建筑工程有限公司 一种便于水利施工的埋管放线装置
CN111606143A (zh) * 2020-05-26 2020-09-01 南京远能电力工程有限公司 一种可移动式绕线机
CN211812668U (zh) * 2019-12-12 2020-10-30 徐州商混建材有限公司 一种用于水利施工埋管放线装置
CN211971279U (zh) * 2020-04-20 2020-11-20 河南省飞创电力勘测设计有限公司 一种配电工程电缆敷设机构
CN213185292U (zh) * 2020-11-02 2021-05-11 合肥嘉烁机械设备制造有限公司 一种可适用于不同规格电缆的旋转放线架
CN215364176U (zh) * 2021-03-02 2021-12-31 江苏鑫鹏电力工程有限公司 一种电力工程用电缆铺设装置
CN215558004U (zh) * 2021-06-29 2022-01-18 中车株洲电力机车有限公司智能装备分公司 一种自适应调整导向伸缩装置
CN215625849U (zh) * 2021-09-15 2022-01-25 常州市圣耀塑胶科技有限公司 一种电线电缆用具有防脱落结构的缠绕装置
CN113968514A (zh) * 2021-11-03 2022-01-25 国家电网有限公司 一种应用于市政电力建设的多功能电缆放线装置
CN215755705U (zh) * 2021-07-26 2022-02-08 广东粤惠兴机电工程有限公司 一种输配电用电工程施工建设用放线装置
CN217051080U (zh) * 2022-03-30 2022-07-26 杭州辰泽新材料有限公司 一种高韧性涤纶丝的多组并列分布拉杆导丝组件
CN217172629U (zh) * 2022-03-10 2022-08-12 衡水普照橡塑制品有限公司 一种放卷装置
CN217350203U (zh) * 2022-03-22 2022-09-02 合肥上成天禾环境设计有限公司 一种园林施工放线装置
CN115072486A (zh) * 2022-08-04 2022-09-20 国网山东省电力公司平度市供电公司 一种供电用电线收卷放线装置

Patent Citations (19)

* Cited by examiner, † Cited by third party
Publication number Priority date Publication date Assignee Title
CN208135601U (zh) * 2018-05-04 2018-11-23 广东电网有限责任公司 一种气缸式手动放线装置
CN110282493A (zh) * 2019-07-19 2019-09-27 武汉华源铸诚电力股份有限公司 一种抵压卷动式通信电缆收卷装置
CN210558513U (zh) * 2019-09-25 2020-05-19 南昌恒海实业集团有限公司 一种信息网络系统的光纤线临时固定装置
CN110775720A (zh) * 2019-10-29 2020-02-11 国网山东省电力公司聊城供电公司 一种电力配网旁路作业用电缆架
CN211110394U (zh) * 2019-12-02 2020-07-28 四川乾元昊泰建筑工程有限公司 一种便于水利施工的埋管放线装置
CN110916644A (zh) * 2019-12-09 2020-03-27 广州市鹭江远科技有限公司 一种具有电缆收放功能的防尘型便携式心电仪
CN211812668U (zh) * 2019-12-12 2020-10-30 徐州商混建材有限公司 一种用于水利施工埋管放线装置
CN211971279U (zh) * 2020-04-20 2020-11-20 河南省飞创电力勘测设计有限公司 一种配电工程电缆敷设机构
CN111606143A (zh) * 2020-05-26 2020-09-01 南京远能电力工程有限公司 一种可移动式绕线机
CN213185292U (zh) * 2020-11-02 2021-05-11 合肥嘉烁机械设备制造有限公司 一种可适用于不同规格电缆的旋转放线架
CN215364176U (zh) * 2021-03-02 2021-12-31 江苏鑫鹏电力工程有限公司 一种电力工程用电缆铺设装置
CN215558004U (zh) * 2021-06-29 2022-01-18 中车株洲电力机车有限公司智能装备分公司 一种自适应调整导向伸缩装置
CN215755705U (zh) * 2021-07-26 2022-02-08 广东粤惠兴机电工程有限公司 一种输配电用电工程施工建设用放线装置
CN215625849U (zh) * 2021-09-15 2022-01-25 常州市圣耀塑胶科技有限公司 一种电线电缆用具有防脱落结构的缠绕装置
CN113968514A (zh) * 2021-11-03 2022-01-25 国家电网有限公司 一种应用于市政电力建设的多功能电缆放线装置
CN217172629U (zh) * 2022-03-10 2022-08-12 衡水普照橡塑制品有限公司 一种放卷装置
CN217350203U (zh) * 2022-03-22 2022-09-02 合肥上成天禾环境设计有限公司 一种园林施工放线装置
CN217051080U (zh) * 2022-03-30 2022-07-26 杭州辰泽新材料有限公司 一种高韧性涤纶丝的多组并列分布拉杆导丝组件
CN115072486A (zh) * 2022-08-04 2022-09-20 国网山东省电力公司平度市供电公司 一种供电用电线收卷放线装置

Cited By (1)

* Cited by examiner, † Cited by third party
Publication number Priority date Publication date Assignee Title
CN120871364A (zh) * 2025-09-28 2025-10-31 江苏裕荣光电科技有限公司 一种光电子器件光缆铺设用松放装置

Also Published As

Publication number Publication date
CN115448090B (zh) 2023-07-18

Similar Documents

Publication Publication Date Title
CN115448090A (zh) 一种网络光缆施工装置
CN114249175B (zh) 一种络纱机用纱线收集装置
CN222573965U (zh) 一种电缆收卷打包装置
CN217894715U (zh) 一种带有自动收卷组件的卷筒电缆
CN103282294B (zh) 心轴
CN114735516A (zh) 一种水带收卷搬运设备
CN212245502U (zh) 纸管的卷纸装置
CN217264000U (zh) 一种电缆仓储用盘旋式堆放电缆盘
CN219238835U (zh) 一种电缆收卷装置
CN217732297U (zh) 一种放线辊
CN114590622B (zh) 一种纺织用更换、捆扎一体式卷筒设备
CN110817564A (zh) 一种束丝放线支架
CN110316620A (zh) 一种用于电线电缆施工过程中的放线装置
CN211521163U (zh) 一种便于放线的电缆用绕线盘
CN222860865U (zh) 灌溉管卷放装置
CN219525928U (zh) 一种电力配电电缆回收装置
CN221876063U (zh) 一种线缆放线器
CN211812838U (zh) 一种电缆线收放装置
CN220467129U (zh) 一种气管收放装置
CN115196417A (zh) 便于穿线的集线装置
CN118877654B (zh) 全自动金属六角网编织机收卷机构
CN214269703U (zh) 一种橡胶管运输装置
CN223215183U (zh) 节能型超宽内置卷帘机构以及玻璃制品
CN119262992B (zh) 一种乳胶管生产用收卷装置
CN222555473U (zh) 一种隔热太阳膜用收放装置

Legal Events

Date Code Title Description
PB01 Publication
PB01 Publication
SE01 Entry into force of request for substantive examination
SE01 Entry into force of request for substantive examination
GR01 Patent grant
GR01 Patent grant
TR01 Transfer of patent right

Effective date of registration: 20251022

Address after: 221000 Jiangsu Province Xuzhou City Pizhou City Yunhe Street Yucuiyuan 88-07 No.

Patentee after: Jiangsu Pinsheng Network Technology Co.,Ltd.

Country or region after: China

Address before: 221300 Jiangsu Province Xuzhou City Pizhou City Yunhe Town Dongfang Garden Building 1 1-6 Number

Patentee before: Xuzhou lanhuoju Network Technology Co.,Ltd.

Country or region before: China

TR01 Transfer of patent right