CN113288548A - 一种颈椎康复用的垂直牵引理疗设备 - Google Patents
一种颈椎康复用的垂直牵引理疗设备 Download PDFInfo
- Publication number
- CN113288548A CN113288548A CN202110615532.6A CN202110615532A CN113288548A CN 113288548 A CN113288548 A CN 113288548A CN 202110615532 A CN202110615532 A CN 202110615532A CN 113288548 A CN113288548 A CN 113288548A
- Authority
- CN
- China
- Prior art keywords
- block
- handrail
- fixed
- rod
- movable
- Prior art date
- Legal status (The legal status is an assumption and is not a legal conclusion. Google has not performed a legal analysis and makes no representation as to the accuracy of the status listed.)
- Withdrawn
Links
- 238000000554 physical therapy Methods 0.000 title claims abstract description 25
- 230000005540 biological transmission Effects 0.000 claims abstract description 46
- 238000003466 welding Methods 0.000 claims abstract description 5
- 238000001125 extrusion Methods 0.000 claims description 38
- 230000000694 effects Effects 0.000 claims description 5
- 238000000034 method Methods 0.000 description 4
- 230000009286 beneficial effect Effects 0.000 description 1
- 230000007547 defect Effects 0.000 description 1
- 238000010030 laminating Methods 0.000 description 1
- 238000012986 modification Methods 0.000 description 1
- 230000004048 modification Effects 0.000 description 1
- 230000001681 protective effect Effects 0.000 description 1
- 210000004872 soft tissue Anatomy 0.000 description 1
- 210000001519 tissue Anatomy 0.000 description 1
Images
Classifications
-
- A—HUMAN NECESSITIES
- A61—MEDICAL OR VETERINARY SCIENCE; HYGIENE
- A61F—FILTERS IMPLANTABLE INTO BLOOD VESSELS; PROSTHESES; DEVICES PROVIDING PATENCY TO, OR PREVENTING COLLAPSING OF, TUBULAR STRUCTURES OF THE BODY, e.g. STENTS; ORTHOPAEDIC, NURSING OR CONTRACEPTIVE DEVICES; FOMENTATION; TREATMENT OR PROTECTION OF EYES OR EARS; BANDAGES, DRESSINGS OR ABSORBENT PADS; FIRST-AID KITS
- A61F5/00—Orthopaedic methods or devices for non-surgical treatment of bones or joints; Nursing devices ; Anti-rape devices
- A61F5/01—Orthopaedic devices, e.g. long-term immobilising or pressure directing devices for treating broken or deformed bones such as splints, casts or braces
- A61F5/04—Devices for stretching or reducing fractured limbs; Devices for distractions; Splints
- A61F5/042—Devices for stretching or reducing fractured limbs; Devices for distractions; Splints for extension or stretching
Landscapes
- Health & Medical Sciences (AREA)
- Nursing (AREA)
- Orthopedic Medicine & Surgery (AREA)
- Engineering & Computer Science (AREA)
- Biomedical Technology (AREA)
- Heart & Thoracic Surgery (AREA)
- Vascular Medicine (AREA)
- Life Sciences & Earth Sciences (AREA)
- Animal Behavior & Ethology (AREA)
- General Health & Medical Sciences (AREA)
- Public Health (AREA)
- Veterinary Medicine (AREA)
- Orthopedics, Nursing, And Contraception (AREA)
Abstract
本发明公开一种颈椎康复用的垂直牵引理疗设备,涉及康复设备领域。该颈椎康复用的垂直牵引理疗设备,包括:底座,所述底座的上表面焊接有支撑座,且所述底座的上表面设置有第一扶手和第二扶手,所述第一扶手与底座之间装配有转动杆,所述转动杆的顶端设置有限位组件;活动杆,所述活动杆与转动杆之间装配的传动组件,所述活动杆的顶端焊接有顶块,所述顶块的下表面固定连接有连接绳,所述连接绳的底端固定连接有固定块,所述固定块的两侧均转动连接有连接条,两个连接条的底端均转动连接有活动条,且两个活动条的底部设置有固定带。该颈椎康复用的垂直牵引理疗设备,患者本人调节更加容易找到合适的牵引力。
Description
技术领域
本发明涉及康复设备技术领域,具体为一种颈椎康复用的垂直牵引理疗设备。
背景技术
颈椎牵引是利用作用力与反作用力的原理,通过手法、器械或电动装置产生的外力,作用于人体颈椎,使组织发生一定的分离、关节周围软组织得到适当拉伸。
在进行颈椎垂直牵引的过程中,通常需要使用到固定带,将头部固定,然后拉动固定带从而对颈椎进行牵引,现有的垂直牵引理疗设备多是需要他人对高度进行调节,从而达到对颈椎合适的牵引力,现有设备一方面调节幅度较大,容易对患者造成损伤,另一方面因为是他人调节,不容易寻找到合适的力度,因此我们提出了一种颈椎康复用的垂直牵引理疗设备。
发明内容
(一)解决的技术问题
针对现有技术的不足,本发明公开了一种颈椎康复用的垂直牵引理疗设备,以解决上述背景技术中提出的问题。
(二)技术方案
为实现以上目的,本发明通过以下技术方案予以实现:一种颈椎康复用的垂直牵引理疗设备,包括:
底座,所述底座的下表面焊接有四个支撑腿,所述底座的上表面焊接有支撑座,且所述底座的上表面设置有第一扶手和第二扶手,所述第一扶手与底座之间装配有转动杆,所述转动杆的顶端设置有限位组件;
活动杆,所述活动杆设置在支撑座的背面,且所述活动杆与转动杆之间装配的传动组件,所述活动杆的顶端焊接有顶块,所述顶块的下表面固定连接有连接绳,所述连接绳的底端固定连接有固定块,所述固定块的两侧均转动连接有连接条,两个连接条的底端均转动连接有活动条,两个活动条之间设置有移动组件,且两个活动条的底部设置有固定带。
优选的,所述第一扶手和第二扶手的底部与底座之间均焊接有两个固定杆,且第一扶手和第二扶手分别与支撑座的两侧固定连接,所述活动杆的外表面活动套接有两个支撑套,且两个支撑套固定连接在支撑座的背面。
优选的,所述传动组件包括固定套,所述固定套的上表面焊接在底座的下表面,所述固定套的下表面转动连接有螺母座,所述螺母座的内壁与活动杆螺纹连接。
优选的,所述传动组件还包括第一链轮和第二链轮,所述第一链轮和第二链轮的分别固定套接在螺母座的外表面和转动杆的底端,且所述第一链轮和第二链轮之间传动连接有链条,所述转动杆的外表面转动连接有固定轴套,且所述固定轴套固定连接在底座的下表面。
优选的,所述限位组件包括转动块,所述转动块的底端活动插接在第一扶手的内部,所述转动块的顶端固定连接有手柄,所述转动块的底端固定连接有矩形块,所述转动杆的顶端活动插接在第一扶手的内部,且转动杆的顶端开设有矩形槽,矩形块滑动连接在矩形槽中,所述矩形块的外表面固定套接有挤压环。
优选的,所述限位组件还包括弧形块,所述弧形块滑动连接在第一扶手的内部,且所述弧形块与转动杆的顶端紧密贴合,所述弧形块的上表面固定连接有挤压块,且所述挤压块与挤压环相贴合。
优选的,所述挤压块的侧壁上固定连接有伸缩杆和限位弹簧,且所述伸缩杆和限位弹簧的另一端固定连接在第一扶手的内壁上,所述限位弹簧套接在伸缩杆的外表面。
优选的,所述移动组件包括固定框,所述固定框设置在固定块的正下方,两个活动条的端部均滑动连接在固定框的内壁上,且所述固定框的内壁上滑动连接第一齿条和第二齿条,第一齿条和第二齿条分别与两个活动条的端部固定连接,第一齿条和第二齿条与传动齿轮啮合连接,所述传动齿轮的内壁上固定插接有传动杆,所述传动杆与固定框的内壁转动连接,且传动杆的底端穿过固定框的底壁向下延伸并固定连接有旋钮。
优选的,所述移动组件还包括保护框,所述保护框固定连接在固定框的上表面,所述传动杆的顶端穿过固定框的顶壁向着保护框的内部延伸,并固定套接有限位齿轮,所述限位齿轮啮合连接有弧形齿块,所述弧形齿块的侧壁上固定连接有拉杆,所述拉杆穿过保护框的侧壁向外延伸,所述拉杆的外表面套接有复位弹簧,且所述复位弹簧的两端分别固定连接在弧形齿块的侧壁和保护框的内壁上。
本发明公开了一种颈椎康复用的垂直牵引理疗设备,其具备的有益效果如下:
1、该颈椎康复用的垂直牵引理疗设备,通过设置的传动组件,在转动杆进行转动时,带动了其底端的第二链轮进行转动,通过链条带动了第一链轮和螺母座同时开始转动,因螺母座与活动杆螺纹连接,从而带动了活动杆缓慢向上移动,拉动了顶块向上移动并通过连接绳对固定带与患者头部进行向上拉动,直至对患者拉动合适的高度,施加合适的力度,停止转动,对固定带和患者头部的位置进行固定,此时患者的颈椎受到合适的牵引力,患者本人调节更加容易找到合适的牵引力。
2、该颈椎康复用的垂直牵引理疗设备,通过设置的限位组件,松开手柄,此前压缩的伸缩杆和限位弹簧反弹,推动了挤压块和弧形块分别向着挤压环和转动杆的顶端移动,推动了挤压环向上移动,使其与第一扶手的内壁相贴合,同时使得弧形块与转动杆的顶端外表面紧密贴合,从而对转动杆的位置进行固定,从而避免了转动杆受到外力的作用下进行转动,带动了固定带进行上下移动,对患者造成损伤的情况。
3、该颈椎康复用的垂直牵引理疗设备,通过设置的移动组件,传动杆进行转动,从而带动了传动齿轮进行转动,进而带动了第一齿条和第二齿条反方向进行滑动,带动了两个活动条相向或者相背移动,带动了两个连接条进行转动,直至两个活动条相背一端的距离略小于患者头部的直径,此时将固定带套在头部上进行牵引时,固定带对头部起到了很好的贴合效果,同时也不会过度挤压造成头部的不适。
附图说明
图1为本发明结构示意图;
图2为本发明部分结构示意图;
图3为本发明底部结构示意图;
图4为本发明传动组件的结构示意图;
图5为本发明限位组件的结构示意图;
图6为本发明图5中的A部分放大示意图;
图7为本发明固定带与顶块连接处的结构示意图;
图8为本发明移动组件的结构示意图;
图9为本发明图8中的B部分放大示意图。
图中:1、底座;101、支撑腿;102、支撑座;103、第一扶手;104、第二扶手;105、转动杆;106、固定杆;2、活动杆;201、顶块;202、连接绳;203、固定块;204、连接条;205、活动条;206、固定带;207、支撑套;3、固定套;301、螺母座;302、第一链轮;303、第二链轮;304、链条;305、固定轴套;4、转动块;401、矩形块;402、挤压环;403、弧形块;404、挤压块;405、伸缩杆;406、限位弹簧;407、手柄;5、固定框;501、第一齿条;502、第二齿条;503、传动齿轮;504、传动杆;505、保护框;506、限位齿轮;507、弧形齿块;508、拉杆;509、复位弹簧。
具体实施方式
实施例一:
本发明实施例公开一种颈椎康复用的垂直牵引理疗设备,
请参照附图1和附图7,包括:
底座1,底座1的下表面焊接有四个支撑腿101,底座1的上表面焊接有支撑座102,且底座1的上表面设置有第一扶手103和第二扶手104,第一扶手103与底座1之间装配有转动杆105,转动杆105的顶端设置有限位组件;
活动杆2,活动杆2设置在支撑座102的背面,且活动杆2与转动杆105之间装配的传动组件,活动杆2的顶端焊接有顶块201,顶块201的下表面固定连接有连接绳202,连接绳202的底端固定连接有固定块203,固定块203的两侧均转动连接有连接条204,两个连接条204的底端均转动连接有活动条205,两个活动条205之间设置有移动组件,且两个活动条205的底部设置有固定带206。
请参照附图2,第一扶手103和第二扶手104的底部与底座1之间均焊接有两个固定杆106,且第一扶手103和第二扶手104分别与支撑座102的两侧固定连接,活动杆2的外表面活动套接有两个支撑套207,且两个支撑套207固定连接在支撑座102的背面。
请参照附图3,传动组件包括固定套3,固定套3的上表面焊接在底座1的下表面,固定套3的下表面转动连接有螺母座301,螺母座301的内壁与活动杆2螺纹连接。
请参照附图4,传动组件还包括第一链轮302和第二链轮303,第一链轮302和第二链轮303的分别固定套接在螺母座301的外表面和转动杆105的底端,且第一链轮302和第二链轮303之间传动连接有链条304,转动杆105的外表面转动连接有固定轴套305,且固定轴套305固定连接在底座1的下表面。
请参照附图5和附图6,限位组件包括转动块4,转动块4的底端活动插接在第一扶手103的内部,转动块4的顶端固定连接有手柄407,转动块4的底端固定连接有矩形块401,转动杆105的顶端活动插接在第一扶手103的内部,且转动杆105的顶端开设有矩形槽,矩形块401滑动连接在矩形槽中,矩形块401的外表面固定套接有挤压环402。
限位组件还包括弧形块403,弧形块403滑动连接在第一扶手103的内部,且弧形块403与转动杆105的顶端紧密贴合,弧形块403的上表面固定连接有挤压块404,且挤压块404与挤压环402相贴合。
挤压块404的侧壁上固定连接有伸缩杆405和限位弹簧406,且伸缩杆405和限位弹簧406的另一端固定连接在第一扶手103的内壁上,限位弹簧406套接在伸缩杆405的外表面。
工作原理:在使用的过程中首先将固定带206套在头部上,使得下颌与固定带206相贴合,然后向下按动手柄407带动了转动块4向着第一扶手103的内部移动,从而推动了矩形块401和挤压环402同时向下移动,矩形块401在矩形槽中向下滑动,挤压环402挤压挤压块404,使得挤压块404横向移动,压缩了伸缩杆405和限位弹簧406,且带动了弧形块403与转动杆105的顶端外表面脱离,此时转动手柄407,通过矩形块401带动了转动杆105进行转动,挤压环402摩擦挤压块404进行转动;
在转动杆105进行转动时,带动了其底端的第二链轮303进行转动,通过链条304带动了第一链轮302和螺母座301同时开始转动,因螺母座301与活动杆2螺纹连接,从而带动了活动杆2缓慢向上移动,拉动了顶块201向上移动并通过连接绳202对固定带206与患者头部进行向上拉动,直至对患者拉动合适的高度,施加合适的力度,停止转动,对固定带206和患者头部的位置进行固定,此时患者的颈椎受到合适的牵引力,患者本人调节更加容易找到合适的牵引力;
此时松开手柄407,此前压缩的伸缩杆405和限位弹簧406反弹,推动了挤压块404和弧形块403分别向着挤压环402和转动杆105的顶端移动,推动了挤压环402向上移动,使其与第一扶手103的内壁相贴合,同时使得弧形块403与转动杆105的顶端外表面紧密贴合,从而对转动杆105的位置进行固定,从而避免了转动杆105受到外力的作用下进行转动,带动了固定带206进行上下移动,对患者造成损伤的情况;
牵引结束后,再次向下按动手柄407重复上述动作,并反向转动手柄407,活动杆2缓慢向下移动,从而带动了固定带206向下移动,此时患者卸下固定带206即可。
实施例二:
本发明实施例公开一种颈椎康复用的垂直牵引理疗设备,
请参照附图1和附图7,包括:
底座1,底座1的下表面焊接有四个支撑腿101,底座1的上表面焊接有支撑座102,且底座1的上表面设置有第一扶手103和第二扶手104,第一扶手103与底座1之间装配有转动杆105,转动杆105的顶端设置有限位组件;
活动杆2,活动杆2设置在支撑座102的背面,且活动杆2与转动杆105之间装配的传动组件,活动杆2的顶端焊接有顶块201,顶块201的下表面固定连接有连接绳202,连接绳202的底端固定连接有固定块203,固定块203的两侧均转动连接有连接条204,两个连接条204的底端均转动连接有活动条205,两个活动条205之间设置有移动组件,且两个活动条205的底部设置有固定带206。
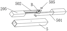
请参照附图7-9,移动组件包括固定框5,固定框5设置在固定块203的正下方,两个活动条205的端部均滑动连接在固定框5的内壁上,且固定框5的内壁上滑动连接第一齿条501和第二齿条502,第一齿条501和第二齿条502分别与两个活动条205的端部固定连接,第一齿条501和第二齿条502与传动齿轮503啮合连接,传动齿轮503的内壁上固定插接有传动杆504,传动杆504与固定框5的内壁转动连接,且传动杆504的底端穿过固定框5的底壁向下延伸并固定连接有旋钮。
移动组件还包括保护框505,保护框505固定连接在固定框5的上表面,传动杆504的顶端穿过固定框5的顶壁向着保护框505的内部延伸,并固定套接有限位齿轮506,限位齿轮506啮合连接有弧形齿块507,弧形齿块507的侧壁上固定连接有拉杆508,拉杆508穿过保护框505的侧壁向外延伸,拉杆508的外表面套接有复位弹簧509,且复位弹簧509的两端分别固定连接在弧形齿块507的侧壁和保护框505的内壁上。
工作原理,在使用的过程中,首先根据患者头部的大小,然后向外拉动拉杆508,带动了弧形齿块507向着远离限位齿轮506的方向移动,使其与限位齿轮506脱离,并压缩了复位弹簧509,此时转动旋钮,带动了传动杆504进行转动,从而带动了传动齿轮503进行转动,因第一齿条501和第二齿条502与传动齿轮503啮合连接,进而带动了第一齿条501和第二齿条502反方向进行滑动,带动了两个活动条205相向或者相背移动,带动了两个连接条204进行转动,直至两个活动条205相背一端的距离略小于患者头部的直径;
此时松开拉杆508,复位弹簧509反弹推动了弧形齿块507向着限位齿轮506的方向移动,并与限位齿轮506贴合从而对限位齿轮506和传动杆504的位置进行固定,进而对第一齿条501、第二齿条502、传动齿轮503和两个活动条205的位置固定;
此时将固定带206套在头部上进行牵引时,固定带206对头部起到了很好的贴合效果,同时也不会过度挤压造成头部的不适。
综上所述:在使用的过程中,首先根据患者头部的大小,然后向外拉动拉杆508,带动了弧形齿块507向着远离限位齿轮506的方向移动,使其与限位齿轮506脱离,并压缩了复位弹簧509,此时转动旋钮,带动了传动杆504进行转动,从而带动了传动齿轮503进行转动,因第一齿条501和第二齿条502与传动齿轮503啮合连接,进而带动了第一齿条501和第二齿条502反方向进行滑动,带动了两个活动条205相向或者相背移动,带动了两个连接条204进行转动,直至两个活动条205相背一端的距离略小于患者头部的直径;
此时松开拉杆508,复位弹簧509反弹推动了弧形齿块507向着限位齿轮506的方向移动,并与限位齿轮506贴合从而对限位齿轮506和传动杆504的位置进行固定,进而对第一齿条501、第二齿条502、传动齿轮503和两个活动条205的位置固定;
此时将固定带206套在头部上,使得下颌与固定带206相贴合,然后向下按动手柄407带动了转动块4向着第一扶手103的内部移动,从而推动了矩形块401和挤压环402同时向下移动,矩形块401在矩形槽中向下滑动,挤压环402挤压挤压块404,使得挤压块404横向移动,压缩了伸缩杆405和限位弹簧406,且带动了弧形块403与转动杆105的顶端外表面脱离,此时转动手柄407,通过矩形块401带动了转动杆105进行转动,挤压环402摩擦挤压块404进行转动;
在转动杆105进行转动时,带动了其底端的第二链轮303进行转动,通过链条304带动了第一链轮302和螺母座301同时开始转动,因螺母座301与活动杆2螺纹连接,从而带动了活动杆2缓慢向上移动,拉动了顶块201向上移动并通过连接绳202对固定带206与患者头部进行向上拉动,直至对患者拉动合适的高度,施加合适的力度,停止转动,对固定带206和患者头部的位置进行固定,此时患者的颈椎受到合适的牵引力,患者本人调节更加容易找到合适的牵引力;
此时松开手柄407,此前压缩的伸缩杆405和限位弹簧406反弹,推动了挤压块404和弧形块403分别向着挤压环402和转动杆105的顶端移动,推动了挤压环402向上移动,使其与第一扶手103的内壁相贴合,同时使得弧形块403与转动杆105的顶端外表面紧密贴合,从而对转动杆105的位置进行固定,从而避免了转动杆105受到外力的作用下进行转动,带动了固定带206进行上下移动,对患者造成损伤的情况;
牵引结束后,再次向下按动手柄407重复上述动作,并反向转动手柄407,活动杆2缓慢向下移动,从而带动了固定带206向下移动,此时患者卸下固定带206即可。
以上显示和描述了本发明的基本原理和主要特征和本发明的优点。本行业的技术人员应该了解,本发明不受上述实施例的限制,上述实施例和说明书中描述的只是说明本发明的原理,在不脱离本发明精神和范围的前提下,本发明还会有各种变化和改进,这些变化和改进都落入要求保护的本发明范围内。本发明要求保护范围由所附的权利要求书及其等效物界定。
Claims (9)
1.一种颈椎康复用的垂直牵引理疗设备,其特征在于,包括:
底座(1),所述底座(1)的下表面焊接有四个支撑腿(101),所述底座(1)的上表面焊接有支撑座(102),且所述底座(1)的上表面设置有第一扶手(103)和第二扶手(104),所述第一扶手(103)与底座(1)之间装配有转动杆(105),所述转动杆(105)的顶端设置有限位组件;
活动杆(2),所述活动杆(2)设置在支撑座(102)的背面,且所述活动杆(2)与转动杆(105)之间装配的传动组件,所述活动杆(2)的顶端焊接有顶块(201),所述顶块(201)的下表面固定连接有连接绳(202),所述连接绳(202)的底端固定连接有固定块(203),所述固定块(203)的两侧均转动连接有连接条(204),两个连接条(204)的底端均转动连接有活动条(205),两个活动条(205)之间设置有移动组件,且两个活动条(205)的底部设置有固定带(206)。
2.根据权利要求1所述的一种颈椎康复用的垂直牵引理疗设备,其特征在于:所述第一扶手(103)和第二扶手(104)的底部与底座(1)之间均焊接有两个固定杆(106),且第一扶手(103)和第二扶手(104)分别与支撑座(102)的两侧固定连接,所述活动杆(2)的外表面活动套接有两个支撑套(207),且两个支撑套(207)固定连接在支撑座(102)的背面。
3.根据权利要求1所述的一种颈椎康复用的垂直牵引理疗设备,其特征在于:所述传动组件包括固定套(3),所述固定套(3)的上表面焊接在底座(1)的下表面,所述固定套(3)的下表面转动连接有螺母座(301),所述螺母座(301)的内壁与活动杆(2)螺纹连接。
4.根据权利要求3所述的一种颈椎康复用的垂直牵引理疗设备,其特征在于:所述传动组件还包括第一链轮(302)和第二链轮(303),所述第一链轮(302)和第二链轮(303)的分别固定套接在螺母座(301)的外表面和转动杆(105)的底端,且所述第一链轮(302)和第二链轮(303)之间传动连接有链条(304),所述转动杆(105)的外表面转动连接有固定轴套(305),且所述固定轴套(305)固定连接在底座(1)的下表面。
5.根据权利要求1所述的一种颈椎康复用的垂直牵引理疗设备,其特征在于:所述限位组件包括转动块(4),所述转动块(4)的底端活动插接在第一扶手(103)的内部,所述转动块(4)的顶端固定连接有手柄(407),所述转动块(4)的底端固定连接有矩形块(401),所述转动杆(105)的顶端活动插接在第一扶手(103)的内部,且转动杆(105)的顶端开设有矩形槽,矩形块(401)滑动连接在矩形槽中,所述矩形块(401)的外表面固定套接有挤压环(402)。
6.根据权利要求5所述的一种颈椎康复用的垂直牵引理疗设备,其特征在于:所述限位组件还包括弧形块(403),所述弧形块(403)滑动连接在第一扶手(103)的内部,且所述弧形块(403)与转动杆(105)的顶端紧密贴合,所述弧形块(403)的上表面固定连接有挤压块(404),且所述挤压块(404)与挤压环(402)相贴合。
7.根据权利要求6所述的一种颈椎康复用的垂直牵引理疗设备,其特征在于:所述挤压块(404)的侧壁上固定连接有伸缩杆(405)和限位弹簧(406),且所述伸缩杆(405)和限位弹簧(406)的另一端固定连接在第一扶手(103)的内壁上,所述限位弹簧(406)套接在伸缩杆(405)的外表面。
8.根据权利要求1所述的一种颈椎康复用的垂直牵引理疗设备,其特征在于:所述移动组件包括固定框(5),所述固定框(5)设置在固定块(203)的正下方,两个活动条(205)的端部均滑动连接在固定框(5)的内壁上,且所述固定框(5)的内壁上滑动连接第一齿条(501)和第二齿条(502),第一齿条(501)和第二齿条(502)分别与两个活动条(205)的端部固定连接,第一齿条(501)和第二齿条(502)与传动齿轮(503)啮合连接,所述传动齿轮(503)的内壁上固定插接有传动杆(504),所述传动杆(504)与固定框(5)的内壁转动连接,且传动杆(504)的底端穿过固定框(5)的底壁向下延伸并固定连接有旋钮。
9.根据权利要求8所述的一种颈椎康复用的垂直牵引理疗设备,其特征在于:所述移动组件还包括保护框(505),所述保护框(505)固定连接在固定框(5)的上表面,所述传动杆(504)的顶端穿过固定框(5)的顶壁向着保护框(505)的内部延伸,并固定套接有限位齿轮(506),所述限位齿轮(506)啮合连接有弧形齿块(507),所述弧形齿块(507)的侧壁上固定连接有拉杆(508),所述拉杆(508)穿过保护框(505)的侧壁向外延伸,所述拉杆(508)的外表面套接有复位弹簧(509),且所述复位弹簧(509)的两端分别固定连接在弧形齿块(507)的侧壁和保护框(505)的内壁上。
Priority Applications (1)
| Application Number | Priority Date | Filing Date | Title |
|---|---|---|---|
| CN202110615532.6A CN113288548A (zh) | 2021-06-02 | 2021-06-02 | 一种颈椎康复用的垂直牵引理疗设备 |
Applications Claiming Priority (1)
| Application Number | Priority Date | Filing Date | Title |
|---|---|---|---|
| CN202110615532.6A CN113288548A (zh) | 2021-06-02 | 2021-06-02 | 一种颈椎康复用的垂直牵引理疗设备 |
Publications (1)
| Publication Number | Publication Date |
|---|---|
| CN113288548A true CN113288548A (zh) | 2021-08-24 |
Family
ID=77326921
Family Applications (1)
| Application Number | Title | Priority Date | Filing Date |
|---|---|---|---|
| CN202110615532.6A Withdrawn CN113288548A (zh) | 2021-06-02 | 2021-06-02 | 一种颈椎康复用的垂直牵引理疗设备 |
Country Status (1)
| Country | Link |
|---|---|
| CN (1) | CN113288548A (zh) |
Citations (15)
| Publication number | Priority date | Publication date | Assignee | Title |
|---|---|---|---|---|
| US5560577A (en) * | 1994-06-24 | 1996-10-01 | Allen Medical Systems | Adjustable limb support system |
| CN205903340U (zh) * | 2016-06-08 | 2017-01-25 | 北京鼎云升科技有限公司 | 一种新型颈椎牵引器 |
| US20170049655A1 (en) * | 2014-02-14 | 2017-02-23 | Tae-Soo SUNG | Chair having neck exercise support for neck exercise |
| CN107456303A (zh) * | 2017-09-15 | 2017-12-12 | 陈慧 | 一种可以调节座椅高度的医疗颈椎牵引椅 |
| JP6396557B1 (ja) * | 2017-09-08 | 2018-09-26 | Dipperホクメイ株式会社 | 手摺 |
| CN109172352A (zh) * | 2018-09-10 | 2019-01-11 | 潍坊学院 | 一种颈椎康复椅 |
| CN208864601U (zh) * | 2018-03-13 | 2019-05-17 | 吕岩 | 一种骨科检测用滑动定位的腿部牵引装置 |
| CN209203670U (zh) * | 2018-08-21 | 2019-08-06 | 周云 | 一种家用防治颈椎病牵引架 |
| CN209825920U (zh) * | 2019-05-08 | 2019-12-24 | 河北助邦医疗设备有限公司 | 一种办公牵引两用座椅 |
| CN110830111A (zh) * | 2018-08-09 | 2020-02-21 | 江苏慧丰信息科技有限公司 | 一种安装和拆卸的无线通信led灯 |
| CN211087322U (zh) * | 2020-03-17 | 2020-07-24 | 广州滕炕贸易有限公司 | 一种用于企业管理的考勤设备 |
| CN111853050A (zh) * | 2020-07-01 | 2020-10-30 | 张国辉 | 一种支撑架活动关节装置 |
| CN112353399A (zh) * | 2020-11-11 | 2021-02-12 | 王芳 | 一种具有便携结构的移动心电图仪 |
| CN112603481A (zh) * | 2020-12-18 | 2021-04-06 | 常州安康医疗器械有限公司 | 一种便于固定输气管的可视穿刺器 |
| CN212938928U (zh) * | 2020-04-21 | 2021-04-13 | 黑河学院 | 一种对外汉语教学用拓展椅 |
-
2021
- 2021-06-02 CN CN202110615532.6A patent/CN113288548A/zh not_active Withdrawn
Patent Citations (15)
| Publication number | Priority date | Publication date | Assignee | Title |
|---|---|---|---|---|
| US5560577A (en) * | 1994-06-24 | 1996-10-01 | Allen Medical Systems | Adjustable limb support system |
| US20170049655A1 (en) * | 2014-02-14 | 2017-02-23 | Tae-Soo SUNG | Chair having neck exercise support for neck exercise |
| CN205903340U (zh) * | 2016-06-08 | 2017-01-25 | 北京鼎云升科技有限公司 | 一种新型颈椎牵引器 |
| JP6396557B1 (ja) * | 2017-09-08 | 2018-09-26 | Dipperホクメイ株式会社 | 手摺 |
| CN107456303A (zh) * | 2017-09-15 | 2017-12-12 | 陈慧 | 一种可以调节座椅高度的医疗颈椎牵引椅 |
| CN208864601U (zh) * | 2018-03-13 | 2019-05-17 | 吕岩 | 一种骨科检测用滑动定位的腿部牵引装置 |
| CN110830111A (zh) * | 2018-08-09 | 2020-02-21 | 江苏慧丰信息科技有限公司 | 一种安装和拆卸的无线通信led灯 |
| CN209203670U (zh) * | 2018-08-21 | 2019-08-06 | 周云 | 一种家用防治颈椎病牵引架 |
| CN109172352A (zh) * | 2018-09-10 | 2019-01-11 | 潍坊学院 | 一种颈椎康复椅 |
| CN209825920U (zh) * | 2019-05-08 | 2019-12-24 | 河北助邦医疗设备有限公司 | 一种办公牵引两用座椅 |
| CN211087322U (zh) * | 2020-03-17 | 2020-07-24 | 广州滕炕贸易有限公司 | 一种用于企业管理的考勤设备 |
| CN212938928U (zh) * | 2020-04-21 | 2021-04-13 | 黑河学院 | 一种对外汉语教学用拓展椅 |
| CN111853050A (zh) * | 2020-07-01 | 2020-10-30 | 张国辉 | 一种支撑架活动关节装置 |
| CN112353399A (zh) * | 2020-11-11 | 2021-02-12 | 王芳 | 一种具有便携结构的移动心电图仪 |
| CN112603481A (zh) * | 2020-12-18 | 2021-04-06 | 常州安康医疗器械有限公司 | 一种便于固定输气管的可视穿刺器 |
Similar Documents
| Publication | Publication Date | Title |
|---|---|---|
| CN111054032B (zh) | 一种穿戴式手腕康复护理锻炼装置 | |
| CN107296720B (zh) | 一种多功能偏瘫康复行走训练机 | |
| CN108852587B (zh) | 脊柱矫正锻炼装置 | |
| CN111135015A (zh) | 一种用于膝关节的康复训练装置 | |
| CN111000700A (zh) | 一种腿部关节锻炼的康复护理设备 | |
| CN111658423A (zh) | 一种全方位骨科治疗用骨骼康复训练设备 | |
| CN113749904A (zh) | 一种骨科用手肘专用康复器械 | |
| CN113288548A (zh) | 一种颈椎康复用的垂直牵引理疗设备 | |
| CN108403278B (zh) | 一种外科用可双向拉伸的脊椎矫正装置 | |
| CN119344935B (zh) | 一种骨科牵引复位支架 | |
| CN210301390U (zh) | 多功能膝关节冷敷加压固定装置 | |
| CN113577676A (zh) | 一种用于肌力减退康复治疗器械及其使用方法 | |
| CN112618130A (zh) | 一种医疗腰椎牵引床 | |
| CN115990100B (zh) | 一种颈椎三维按摩理疗仪 | |
| CN215231875U (zh) | 一种中医心血管内科临床锻炼装置 | |
| CN211750860U (zh) | 一种基于作业疗法的上肢康复训练装置 | |
| CN108969295A (zh) | 一种骨科用小腿复键锻炼装置 | |
| CN211912013U (zh) | 一种便于调节的肝胆外科治疗椅 | |
| CN116036539A (zh) | 一种肩关节康复训练器 | |
| CN114681863A (zh) | 一种可拆分使用的组合式运动损伤康复设备 | |
| CN114767403B (zh) | 一种基于下肢烧伤辅助换药装置 | |
| CN221331591U (zh) | 一种肢体牵引架 | |
| CN118141660B (zh) | 一种腿部力量锻炼拉伸用健身器 | |
| CN220370392U (zh) | 肢体康复辅助训练器 | |
| CN115300859B (zh) | 一种训练腰部柔韧度和腹部力量的辅助训练装置及方法 |
Legal Events
| Date | Code | Title | Description |
|---|---|---|---|
| PB01 | Publication | ||
| PB01 | Publication | ||
| SE01 | Entry into force of request for substantive examination | ||
| SE01 | Entry into force of request for substantive examination | ||
| WW01 | Invention patent application withdrawn after publication | ||
| WW01 | Invention patent application withdrawn after publication |
Application publication date: 20210824 |