CN111928633A - High-efficiency adjustable grid plate type far infrared drying device - Google Patents
High-efficiency adjustable grid plate type far infrared drying device Download PDFInfo
- Publication number
- CN111928633A CN111928633A CN202010885482.9A CN202010885482A CN111928633A CN 111928633 A CN111928633 A CN 111928633A CN 202010885482 A CN202010885482 A CN 202010885482A CN 111928633 A CN111928633 A CN 111928633A
- Authority
- CN
- China
- Prior art keywords
- drying
- drying box
- far infrared
- infrared radiation
- far
- Prior art date
- Legal status (The legal status is an assumption and is not a legal conclusion. Google has not performed a legal analysis and makes no representation as to the accuracy of the status listed.)
- Pending
Links
Images
Classifications
-
- F—MECHANICAL ENGINEERING; LIGHTING; HEATING; WEAPONS; BLASTING
- F26—DRYING
- F26B—DRYING SOLID MATERIALS OR OBJECTS BY REMOVING LIQUID THEREFROM
- F26B17/00—Machines or apparatus for drying materials in loose, plastic, or fluidised form, e.g. granules, staple fibres, with progressive movement
- F26B17/12—Machines or apparatus for drying materials in loose, plastic, or fluidised form, e.g. granules, staple fibres, with progressive movement with movement performed solely by gravity, i.e. the material moving through a substantially vertical drying enclosure, e.g. shaft
- F26B17/16—Machines or apparatus for drying materials in loose, plastic, or fluidised form, e.g. granules, staple fibres, with progressive movement with movement performed solely by gravity, i.e. the material moving through a substantially vertical drying enclosure, e.g. shaft the materials passing down a heated surface, e.g. fluid-heated closed ducts or other heating elements in contact with the moving stack of material
-
- F26B21/33—
-
- F26B21/35—
-
- F26B21/50—
-
- F—MECHANICAL ENGINEERING; LIGHTING; HEATING; WEAPONS; BLASTING
- F26—DRYING
- F26B—DRYING SOLID MATERIALS OR OBJECTS BY REMOVING LIQUID THEREFROM
- F26B23/00—Heating arrangements
- F26B23/04—Heating arrangements using electric heating
-
- F—MECHANICAL ENGINEERING; LIGHTING; HEATING; WEAPONS; BLASTING
- F26—DRYING
- F26B—DRYING SOLID MATERIALS OR OBJECTS BY REMOVING LIQUID THEREFROM
- F26B25/00—Details of general application not covered by group F26B21/00 or F26B23/00
- F26B25/06—Chambers, containers, or receptacles
-
- F—MECHANICAL ENGINEERING; LIGHTING; HEATING; WEAPONS; BLASTING
- F26—DRYING
- F26B—DRYING SOLID MATERIALS OR OBJECTS BY REMOVING LIQUID THEREFROM
- F26B3/00—Drying solid materials or objects by processes involving the application of heat
- F26B3/28—Drying solid materials or objects by processes involving the application of heat by radiation, e.g. from the sun
- F26B3/30—Drying solid materials or objects by processes involving the application of heat by radiation, e.g. from the sun from infrared-emitting elements
Landscapes
- Engineering & Computer Science (AREA)
- Mechanical Engineering (AREA)
- General Engineering & Computer Science (AREA)
- Life Sciences & Earth Sciences (AREA)
- Chemical & Material Sciences (AREA)
- Combustion & Propulsion (AREA)
- Microbiology (AREA)
- Sustainable Development (AREA)
- Drying Of Solid Materials (AREA)
Abstract
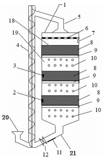
本发明公开了一种高效率可调节栅板式远红外干燥装置,包括干燥箱体、螺旋送料器、振动筛、振动电机和远红外辐射栅板,所述干燥箱体外侧设置有螺旋送料器,该螺旋送料器的出口通过进料管道与远红外干燥箱体上端设置的进料口相连接,该干燥箱体底部设置的出料口与螺旋送料器的进料口通过倾斜设置的出料管道相连接,在该出料管道上分别设置有排料口以及设置排料口后端的单向阀,同时所述螺旋送料器的进口还与湿物料输料管连接,在所述干燥箱体内部顶端设置有振动筛,该振动筛由筛板主体和筛板孔组成,在所述振动筛底部设置有所述振动电机,同时在该振动筛下方至少设有2个干燥单元;本发明结构简单,提升了物料的干燥效率和设备的安全性。
The invention discloses a high-efficiency adjustable grid plate type far-infrared drying device, comprising a drying box, a screw feeder, a vibrating screen, a vibration motor and a far-infrared radiation grid. The outer side of the drying box is provided with a screw feeder, The outlet of the screw feeder is connected with the feed port set at the upper end of the far-infrared drying box through the feed pipe, and the discharge port set at the bottom of the drying box and the feed port of the screw feeder pass through the inclined discharge pipe The discharge pipe is provided with a discharge port and a one-way valve at the rear end of the discharge port. At the same time, the inlet of the screw feeder is also connected with the wet material conveying pipe, inside the drying box. The top is provided with a vibrating screen, the vibrating screen is composed of a sieve plate main body and a sieve plate hole, the vibrating motor is arranged at the bottom of the vibrating screen, and at least two drying units are arranged below the vibrating screen; the structure of the present invention is simple , which improves the drying efficiency of materials and the safety of equipment.
Description
技术领域technical field
本发明涉及干燥设备技术领域,尤其涉及一种高效率可调节栅板式远红外干燥装置。The invention relates to the technical field of drying equipment, in particular to a high-efficiency adjustable grid plate type far-infrared drying device.
背景技术Background technique
由于远红外辐射具有加热快速高效,无需介质参与的特点,因此已被广泛应用于加热领域,在粮食干燥机械中,日本金子农机公司和台湾三玖农机公司也引入了远红外加热干燥技术,具体原理是利用远红外线能在稻谷、小麦和玉米表面形成一定的穿透深度,从物料内部和外部同时进行加热,使物料内部的水分能快速扩散至表层。这一技术大大加快了物料的干燥速率,提高了能源利用率。但是,目前市场上的远红外干燥机械全部采用柴油燃烧作为热源,将远红外线发射涂层的温度升高而产生辐射,因此仍旧存在远红外发射涂层老化脱落、燃烧能量多次转化效率降低,以及容易引发火灾等安全隐患。Because far-infrared radiation has the characteristics of fast and efficient heating without media participation, it has been widely used in the field of heating. In grain drying machinery, Japan's Kaneko Agricultural Machinery Company and Taiwan Sanjiu Agricultural Machinery Company also introduced far-infrared heating and drying technology. The principle is to use far infrared rays to form a certain penetration depth on the surface of rice, wheat and corn, and to heat from the inside and outside of the material at the same time, so that the moisture inside the material can quickly diffuse to the surface layer. This technology greatly speeds up the drying rate of materials and improves energy utilization. However, all the far-infrared drying machines on the market currently use diesel combustion as a heat source, and the temperature of the far-infrared emitting coating is raised to generate radiation. Therefore, there are still aging and falling off of the far-infrared emitting coating, and the efficiency of multiple conversion of combustion energy is reduced. And it is easy to cause fire and other safety hazards.
近年来,人们发现石墨化的碳材料具有在低功率密度的电能驱动下高效发射远红外线的特性,因此将其应用于物料干燥领域;现有的碳材料制备的辐射远红外线的干燥设备,其主要工作原理为将物料输送到烘干机内的最高位置,然后让物料沿着烘干机内部的远红外辐射板的导流槽自然下滑,在物料下滑的同时,用远红外辐射板发出的远红外线对物料进行加热干燥。虽然用碳材料制作的远红外辐射板的电热辐射转化高,但由于物料在远红外辐射板上的停留时间太短,且很难准确控制,干燥效率仍有很大提升空间,因此,本专利提出了一种安全、节能和高效可控的碳材料栅板式远红外干燥设备。In recent years, it has been found that graphitized carbon materials have the characteristics of emitting far-infrared rays efficiently under the drive of electric energy with low power density, so they are used in the field of material drying; the existing drying equipment for radiating far-infrared rays prepared by carbon materials has The main working principle is to transport the material to the highest position in the dryer, and then let the material slide down naturally along the diversion groove of the far-infrared radiation plate inside the dryer. Far infrared heats and dries the material. Although the far-infrared radiation plate made of carbon material has high electrothermal radiation conversion, because the residence time of the material on the far-infrared radiation plate is too short and it is difficult to accurately control, there is still a lot of room for improvement in drying efficiency. Therefore, this patent A safe, energy-saving and high-efficiency controllable carbon material grid plate type far-infrared drying equipment is proposed.
发明内容SUMMARY OF THE INVENTION
本发明所要解决的技术问题是,针对以上现有技术存在的缺点,提供一种安全、节能和高效可控的栅板式远红外干燥装置。The technical problem to be solved by the present invention is to provide a safe, energy-saving and high-efficiency controllable grid plate type far-infrared drying device in view of the above shortcomings of the prior art.
本发明解决以上技术问题的技术方案是:一种高效率可调节栅板式远红外干燥装置,包括干燥箱体、螺旋送料器、振动筛、振动电机和远红外辐射栅板,所述干燥箱体外侧设置有螺旋送料器,该螺旋送料器的出口通过进料管道与远红外干燥箱体上端设置的进料口相连接,该干燥箱体底部设置的出料口与螺旋送料器的进料口通过倾斜设置的出料管道相连接,在该出料管道上分别设置有排料口以及设置排料口后端的单向阀,同时所述螺旋送料器的进口还与湿物料输料管连接,在所述干燥箱体内部顶端设置有振动筛,该振动筛由筛板主体和筛板孔组成,在所述振动筛底部设置有所述振动电机,同时在该振动筛下方至少设有2个干燥单元,每个干燥单元从上至下依次包括干燥室、输料轮和排湿室,所述干燥室内竖直设有若干个远红外辐射栅板,每个远红外辐射栅板均通过电线连接干燥箱体外侧设置的电源,且相邻两个远红外辐射栅板之间构成用于湿物料下落的通道,每个通道正下方设置有所述输料轮。The technical solution of the present invention to solve the above technical problems is: a high-efficiency adjustable grid plate type far-infrared drying device, comprising a drying box, a screw feeder, a vibrating screen, a vibration motor and a far-infrared radiation grid, the drying box There is a screw feeder on the outside, the outlet of the screw feeder is connected with the feed port set at the upper end of the far-infrared drying box through the feeding pipeline, and the discharge port set at the bottom of the drying box is connected with the feed port of the screw feeder It is connected by an inclined discharge pipe, and the discharge pipe is respectively provided with a discharge port and a one-way valve at the rear end of the discharge port. At the same time, the inlet of the screw feeder is also connected with the wet material conveying pipe. A vibrating screen is arranged at the top of the inside of the drying box. The vibrating screen is composed of a sieve plate main body and a sieve plate hole. The vibrating motor is arranged at the bottom of the vibrating screen, and at least two vibrating screens are arranged below the vibrating screen. A drying unit, each drying unit includes a drying chamber, a conveying wheel and a dehumidification chamber in sequence from top to bottom, a plurality of far-infrared radiation grids are vertically arranged in the drying chamber, and each far-infrared radiation grid is connected by a wire The power supply is connected to the outside of the drying box, and a channel for the falling of wet materials is formed between two adjacent far-infrared radiation grid plates, and the conveying wheel is arranged directly below each channel.
本发明进一步限定的技术方案是:The technical scheme that the present invention is further limited is:
前述的远红外辐射栅板为三层夹心结构,其上下两层是耐磨层,中间层是红外辐射层。The aforementioned far-infrared radiation grid is a three-layer sandwich structure, the upper and lower layers are wear-resistant layers, and the middle layer is an infrared radiation layer.
前述的耐磨层由聚乙烯、高密度聚乙烯、聚四氟乙烯、甲基丙烯酸甲酯、聚异戊二烯塑料或钢化玻璃制成,其抗磨损且远红外线透过率高,在保证远红外辐射栅板正常使用的前提下对红外辐射层进行有效保护,避免长时间使用后红外辐射层被磨损而导致干燥效率降低和物料污染。The aforementioned wear-resistant layer is made of polyethylene, high-density polyethylene, polytetrafluoroethylene, methyl methacrylate, polyisoprene plastic or tempered glass, which is wear-resistant and has high far-infrared transmittance. Under the premise of normal use of the far-infrared radiation grid, the infrared radiation layer is effectively protected to avoid the wear of the infrared radiation layer after long-term use, resulting in reduced drying efficiency and material pollution.
前述的红外辐射层是由石墨、可膨胀石墨、活性炭、碳纳米管、石墨烯和碳纤维中的一种或多种碳材料混合制成,碳材料的电阻较小,热转换和热传递效率较高,提高了烘干效率,也降低了能耗。The aforementioned infrared radiation layer is made of a mixture of one or more carbon materials selected from graphite, expandable graphite, activated carbon, carbon nanotubes, graphene and carbon fibers. High drying efficiency, but also reduce energy consumption.
前述的在干燥箱体设置有温度传感器以及湿度传感器。The aforementioned drying box is provided with a temperature sensor and a humidity sensor.
前述的在干燥箱体上设有进风口,该进风口与干燥箱内排湿室位置相一致,并且通过干空气风道连接安装地面上的送风机;与进风口相对的干燥箱体一侧设置有与其位置相对应的出风口,该出风口通过湿空气风道连接设置在地面上的引风机,这样可以平衡箱体内空气的压力不均,达到快速干燥的目的。The aforementioned air inlet is provided on the drying box, the air inlet is in the same position as the moisture exhaust chamber in the drying box, and is connected to the blower on the installation ground through the dry air duct; the side of the drying box opposite to the air inlet is provided There is an air outlet corresponding to its position, and the air outlet is connected to the induced draft fan set on the ground through the wet air duct, which can balance the uneven pressure of the air in the box and achieve the purpose of fast drying.
前述的还包括中央控制器,中央控制器的输入端与温度传感器和湿度传感器的输出端相连接,中央控制器的输出端分别与螺旋送料器、输料轮、远红外辐射栅板连接的电源、振动电机、送风机以及引风机相连接。The aforementioned also includes a central controller, the input end of the central controller is connected with the output end of the temperature sensor and the humidity sensor, and the output end of the central controller is respectively connected with the screw feeder, the feeding wheel, and the power supply connected to the far-infrared radiation grid. , vibration motor, blower and induced draft fan are connected.
前述的相邻两个远红外辐射栅板之间间距为5mm-cm。The distance between the aforementioned two adjacent far-infrared radiation grid plates is 5 mm-cm.
本发明的有益效果是:本发明采用具有加热功能远红外干燥筛板代替了传统的热风炉作为热源,电能直接转换成热能和红外线辐射能,改变了使用燃料燃烧间接提供热能的传统干燥方式,消除了燃烧产生的废气、废渣,节能减排,本发明干燥箱体内设有多个干燥单元,能够提高干燥效率,且干燥室由多个竖直设置远红外辐射栅板组成,相邻两个远红外辐射栅板之间构成用于湿物料下落的通道,可以存留大量的物料,有效的增加了设备的干燥体量;远红外线能从物料内部和表面同时开始加热,加速物料内部水分蒸发,提高了脱水速率;同时相比于传统的热空气干燥,本发明栅板式远红外干燥可以内外同时加热物料,减少稻谷因外层失水过快而造成的“爆腰”和龟裂等缺陷,保持物料的完整性;本发明通过中央控制器控制输粮轮,可以精准控制物料的流量,既可以防止物料在干燥室的停留时间过短,降低干燥效率;也可以防止物料在干燥室的停留时间过长而受损,有效的控制物料的干燥时间以达到高效干燥的目的,同时该输料轮的尺寸及转速可调,以适应干燥不同物料的需要;The beneficial effects of the present invention are as follows: the present invention adopts the far-infrared drying sieve plate with heating function to replace the traditional hot blast stove as the heat source, the electric energy is directly converted into heat energy and infrared radiation energy, and the traditional drying method that uses fuel combustion to indirectly provide heat energy is changed, The waste gas and waste residue produced by combustion are eliminated, saving energy and reducing emissions. The drying box of the present invention is provided with a plurality of drying units, which can improve the drying efficiency, and the drying chamber is composed of a plurality of vertically arranged far-infrared radiation grids, two adjacent ones. A channel for the falling of wet materials is formed between the two far-infrared radiation grids, which can store a large amount of materials and effectively increase the drying volume of the equipment; far-infrared rays can start heating from the inside and the surface of the material at the same time, accelerating the evaporation of water inside the material. , improving the dehydration rate; at the same time, compared with the traditional hot air drying, the grid-type far-infrared drying of the present invention can heat the material inside and outside at the same time, and reduce the defects such as "burst waist" and cracks caused by the excessive water loss of the outer layer of the rice. , maintain the integrity of the material; the present invention controls the feeding wheel through the central controller, which can accurately control the flow of the material, which can not only prevent the material from staying too short in the drying chamber and reduce the drying efficiency; If the dwell time is too long, it will be damaged, and the drying time of the material can be effectively controlled to achieve the purpose of efficient drying. At the same time, the size and speed of the feeding wheel can be adjusted to meet the needs of drying different materials;
本发明在远红外干燥箱体上设置有空气进风口以及出风口,并且对应设置有送风机和引风机,这样在物料干燥过程中,送风机可以源源不断地将干燥空气通过进气口送入箱体,再由引风机将湿空气从出风口排出,空气在箱体内的流动将物料蒸发出的水分带走,提高烘干效率;在干燥箱体内安装有温度传感器和湿度传感器,实时监测干燥箱体内的温度、湿度并反馈给中央控制器,中央控制器根据温/湿度检测器反馈的数据实时调整远红外辐射板的功率和风机的转速,以避免物料温度过高。In the present invention, an air inlet and an air outlet are arranged on the far-infrared drying box, and a blower and an induced draft fan are correspondingly arranged, so that during the drying process of the material, the blower can continuously send the drying air into the box through the air inlet. , and then the wet air is discharged from the air outlet by the induced draft fan, and the flow of the air in the box takes away the moisture evaporated from the material to improve the drying efficiency; a temperature sensor and a humidity sensor are installed in the drying box to monitor the drying box in real time. The temperature and humidity are fed back to the central controller. The central controller adjusts the power of the far-infrared radiant panel and the speed of the fan in real time according to the data fed back by the temperature/humidity detector to avoid the material temperature being too high.
附图说明Description of drawings
图1为本发明剖面示意图;1 is a schematic sectional view of the present invention;
图2为本发明侧视图;Fig. 2 is the side view of the present invention;
图3为本发明中干燥单元结构示意图;3 is a schematic diagram of the structure of the drying unit in the present invention;
图4为本发明中振动筛结构示意图;Fig. 4 is the structure schematic diagram of vibrating screen in the present invention;
图5为本发明中远红外辐射栅板结构示意图;Fig. 5 is the structure schematic diagram of the middle and far infrared radiation grid plate of the present invention;
图6为本发明俯视图;Fig. 6 is the top view of the present invention;
图中:1、湿物料进口;2、温度检测器;3、湿度检测器;4、螺旋进料器;5、进料口;6、振动筛;7、振动电机;8、远红外辐射栅板;9、输粮轮;10、通风口;11、排料口;12、单向阀;13、引风机;14、湿空气风道;15、干空气风道;16、中央控制器;17、送风机;18、物料干燥室;19、排湿室;20、输料管;21、出料管道;61、筛板主体;62、筛板孔;81、耐磨层;82、红外辐射层;101、出风口;102、进风口。In the picture: 1. Wet material inlet; 2. Temperature detector; 3. Humidity detector; 4. Screw feeder; 5. Feed inlet; 6. Vibrating screen; 7. Vibrating motor; 8. Far-infrared radiation grid Plate; 9. Grain feeding wheel; 10. Ventilation port; 11. Discharge port; 12. One-way valve; 13. Induced draft fan; 14. Wet air duct; 15. Dry air duct; 16. Central controller; 17. Blower; 18. Material drying room; 19. Dehumidification room; 20. Material conveying pipe; 21. Discharging pipe; 61. Main body of sieve plate; layer; 101, air outlet; 102, air inlet.
具体实施方式Detailed ways
实施例1Example 1
本实施例提供一种高效率可调节栅板式远红外干燥装置,结构如图1-6所示,包括干燥箱体1、螺旋送料器4、振动筛6、振动电机7、远红外辐射栅板8和中央控制器16,干燥箱体1外侧设置有螺旋送料器4,该螺旋送料器的出口通过进料管道与干燥箱体1上端设置的进料口5相连接,该干燥箱体底部设置的出料口与螺旋送料器的进料口通过倾斜设置的出料管道21相连接,在该出料管道上分别设置有排料口11以及设置排料口后端的单向阀12,同时螺旋送料器的进口还与湿物料输料管20连接,在干燥箱体内部顶端设置有振动筛6,该振动筛由筛板主体61和筛板孔62组成,在振动筛底部设置有振动电机7,同时在该振动筛下方设有3个干燥单元,每个干燥单元从上至下依次包括干燥室18、输料轮9和排湿室19,干燥室内竖直设有若干个远红外辐射栅板,远红外辐射栅板为三层夹心结构,其上下两层是耐磨层81,中间层是红外辐射层82,其中耐磨层为钢化玻璃材质,红外辐射层由石墨材质制成,每个远红外辐射栅板均通过电线连接干燥箱体外侧设置的电源,且相邻两个远红外辐射栅板之间构成用于湿物料下落的通道,其宽度为3cm,每个通道正下方设置有所述输料轮9,在干燥箱体设置有温度传感器2以及湿度传感器3,在干燥箱体外部安装有送风机17,该送风机通过安装在干燥箱体上的干空气风道15连接干燥箱体上的进风口102,与进风口相对的远红外干燥箱体一侧设置有出风101口,该出风口通过湿空气风道14与设置在干燥箱体上引风机连接,中央控制器的输入端与温度传感器和湿度传感器的输出端相连接,中央控制器的输出端分别与螺旋送料器、输料轮、远红外辐射栅板连接的电源、振动电机、送风机以及引风机相连接。This embodiment provides a high-efficiency adjustable grid plate type far-infrared drying device. The structure is shown in Figures 1-6, including a
本实施例湿物料通过湿物料输料管到螺旋进料器进口进入到螺旋进料器4内,经螺旋进料器4的传送到达干燥箱体顶部的进料口5,靠重力作用经进料口5到达振动筛6,在振动电机7的驱动下,振动筛6将物料均匀的分散到物料干燥室18,干燥室内的物料通过输粮轮9的输送到达排湿室19,在排湿室19内物料靠重力作用进入下一个干燥单元。在物料没有达到干燥要求之前,单向阀12一直处于打开状态,排料口11一直处于关闭状态,物料靠重力作用到达螺旋进料器4的底部,再经过螺旋进料器4的传输到达进料口5,进行重复循环干燥。直到物料干燥完成,关闭阀门12,打开出料口11,物料靠重力作用从出料口11离开干燥机,物料干燥结束。In this embodiment, the wet material enters the
本实施例在对物料进行干燥的过程中,送风机17将干燥机箱体外围的干空气传送至干空气风道15内,在送风机17的推动下,干空气经进风口102和通风口到达排湿室19,干燥箱体内的湿空气经通风口以及出风口101在引风机13的牵引下从湿空气风道14排出干燥机,同时通过温度检测器2和湿度检测器3实时监测物料的温度、湿度并反馈给中央控制器16,中央控制器16根据温/湿度检测器反馈的数据实时调整远红外辐射栅板和风机的运行,以避免物料受损。In the process of drying the material in this embodiment, the
实施例2Example 2
本实施例提供一种高效率可调节栅板式远红外干燥装置,结构如图1-6所示,包括干燥箱体1、螺旋送料器4、振动筛6、振动电机7、远红外辐射栅板8和中央控制器16,干燥箱体1外侧设置有螺旋送料器4,该螺旋送料器的出口通过进料管道与干燥箱体1上端设置的进料口5相连接,该干燥箱体底部设置的出料口与螺旋送料器的进料口通过倾斜设置的出料管道21相连接,在该出料管道上分别设置有排料口11以及设置排料口后端的单向阀12,同时螺旋送料器的进口还与湿物料输料管20连接,在干燥箱体内部顶端设置有振动筛6,该振动筛由筛板主体61和筛板孔62组成,在振动筛底部设置有振动电机7,同时在该振动筛下方设有3个干燥单元,每个干燥单元从上至下依次包括干燥室18、输料轮9和排湿室19,干燥室内竖直设有若干个远红外辐射栅板,远红外辐射栅板为三层夹心结构,其上下两层是耐磨层81,中间层是红外辐射层82,其中耐磨层由聚四氟乙烯制成,红外辐射层由碳纳米管材质制成,每个远红外辐射栅板均通过电线连接干燥箱体外侧设置的电源,且相邻两个远红外辐射栅板之间构成用于湿物料下落的通道,其宽度为3cm,每个通道正下方设置有所述输料轮9,在干燥箱体设置有温度传感器2以及湿度传感器3,在干燥箱体外部安装有送风机17,该送风机通过安装在干燥箱体上的干空气风道15连接干燥箱体上的进风口102,与进风口相对的远红外干燥箱体一侧设置有出风101口,该出风口通过湿空气风道14与设置在干燥箱体上引风机连接,中央控制器的输入端与温度传感器和湿度传感器的输出端相连接,中央控制器的输出端分别与螺旋送料器、输料轮、远红外辐射栅板连接的电源、振动电机、送风机以及引风机相连接。This embodiment provides a high-efficiency adjustable grid plate type far-infrared drying device. The structure is shown in Figures 1-6, including a
实施例3Example 3
本实施例提供一种高效率可调节栅板式远红外干燥装置,结构如图1-6所示,包括干燥箱体1、螺旋送料器4、振动筛6、振动电机7、远红外辐射栅板8和中央控制器16,干燥箱体1外侧设置有螺旋送料器4,该螺旋送料器的出口通过进料管道与干燥箱体1上端设置的进料口5相连接,该干燥箱体底部设置的出料口与螺旋送料器的进料口通过倾斜设置的出料管道21相连接,在该出料管道上分别设置有排料口11以及设置排料口后端的单向阀12,同时螺旋送料器的进口还与湿物料输料管20连接,在干燥箱体内部顶端设置有振动筛6,该振动筛由筛板主体61和筛板孔62组成,在振动筛底部设置有振动电机7,同时在该振动筛下方设有3个干燥单元,每个干燥单元从上至下依次包括干燥室18、输料轮9和排湿室19,干燥室内竖直设有若干个远红外辐射栅板,远红外辐射栅板为三层夹心结构,其上下两层是耐磨层81,中间层是红外辐射层82,其中耐磨层由高密度聚乙烯制成,红外辐射层由石墨烯材质制成,每个远红外辐射栅板均通过电线连接干燥箱体外侧设置的电源,且相邻两个远红外辐射栅板之间构成用于湿物料下落的通道,其宽度为3cm,每个通道正下方设置有所述输料轮9,在干燥箱体设置有温度传感器2以及湿度传感器3,在干燥箱体外部安装有送风机17,该送风机通过安装在干燥箱体上的干空气风道15连接干燥箱体上的进风口102,与进风口相对的远红外干燥箱体一侧设置有出风101口,该出风口通过湿空气风道14与设置在干燥箱体上引风机连接,中央控制器的输入端与温度传感器和湿度传感器的输出端相连接,中央控制器的输出端分别与螺旋送料器、输料轮、远红外辐射栅板连接的电源、振动电机、送风机以及引风机相连接。This embodiment provides a high-efficiency adjustable grid plate type far-infrared drying device. The structure is shown in Figures 1-6, including a
除上述实施例外,本发明还可以有其他实施方式。凡采用等同替换或等效变换形成的技术方案,均落在本发明要求的保护范围。In addition to the above-described embodiments, the present invention may also have other embodiments. All technical solutions formed by equivalent replacement or equivalent transformation fall within the protection scope of the present invention.
Claims (8)
Priority Applications (2)
| Application Number | Priority Date | Filing Date | Title |
|---|---|---|---|
| CN202010885482.9A CN111928633A (en) | 2020-08-28 | 2020-08-28 | High-efficiency adjustable grid plate type far infrared drying device |
| PCT/CN2020/113259 WO2022041304A1 (en) | 2020-08-28 | 2020-09-03 | Adjustable grid plate-type far-infrared drying device |
Applications Claiming Priority (1)
| Application Number | Priority Date | Filing Date | Title |
|---|---|---|---|
| CN202010885482.9A CN111928633A (en) | 2020-08-28 | 2020-08-28 | High-efficiency adjustable grid plate type far infrared drying device |
Publications (1)
| Publication Number | Publication Date |
|---|---|
| CN111928633A true CN111928633A (en) | 2020-11-13 |
Family
ID=73308507
Family Applications (1)
| Application Number | Title | Priority Date | Filing Date |
|---|---|---|---|
| CN202010885482.9A Pending CN111928633A (en) | 2020-08-28 | 2020-08-28 | High-efficiency adjustable grid plate type far infrared drying device |
Country Status (2)
| Country | Link |
|---|---|
| CN (1) | CN111928633A (en) |
| WO (1) | WO2022041304A1 (en) |
Cited By (4)
| Publication number | Priority date | Publication date | Assignee | Title |
|---|---|---|---|---|
| CN113606872A (en) * | 2021-08-02 | 2021-11-05 | 农业农村部南京农业机械化研究所 | Fluidized bed dryer based on graphene far-infrared heating and drying method thereof |
| CN113632833A (en) * | 2021-08-03 | 2021-11-12 | 农业农村部南京农业机械化研究所 | A kind of grain circulation dryer based on graphene far-infrared heating and drying method thereof |
| CN115727649A (en) * | 2021-08-28 | 2023-03-03 | 南京源昌新材料有限公司 | Drying module of large-scale far infrared drying-machine of high efficiency |
| CN116067160A (en) * | 2023-03-10 | 2023-05-05 | 山东理工大学 | A microwave hot air heat pump infrared coupling drying equipment |
Families Citing this family (5)
| Publication number | Priority date | Publication date | Assignee | Title |
|---|---|---|---|---|
| CN115164549B (en) * | 2022-07-14 | 2024-07-19 | 湖南生平米业股份有限公司 | Large-scale drying equipment for wet cereal treatment and use method |
| CN115371404A (en) * | 2022-08-12 | 2022-11-22 | 中国农业大学 | A spiral tower infrared dryer |
| CN115435575A (en) * | 2022-08-19 | 2022-12-06 | 农业农村部南京农业机械化研究所 | A Grain Drying System Based on Graphene Far Infrared and Air Convection Coupling |
| CN116268450B (en) * | 2023-03-02 | 2025-03-14 | 北京工商大学 | High-quality raisin making device and method |
| CN118500100B (en) * | 2024-07-17 | 2024-11-08 | 山东万达环保科技有限公司 | Dehydration and drying device for the preparation of highly active calcium hydroxide desulfurizer |
Citations (10)
| Publication number | Priority date | Publication date | Assignee | Title |
|---|---|---|---|---|
| CN2686344Y (en) * | 2004-03-11 | 2005-03-23 | 韩雪武 | Vegetable drying machine |
| CN2689142Y (en) * | 2004-03-16 | 2005-03-30 | 河南省粮油机械工程有限公司 | Tower-type driers |
| RU49200U1 (en) * | 2005-06-14 | 2005-11-10 | Общество с ограниченной ответственностью "Научно-производственное объединение "ВЫМПЕЛ" | GRAIN DRYER |
| CN203586723U (en) * | 2013-10-14 | 2014-05-07 | 吉林大学 | Cereal infrared drying device |
| CN104304446A (en) * | 2014-10-30 | 2015-01-28 | 重庆鑫水机械制造有限公司 | Vertical box type drying device |
| CN105806070A (en) * | 2015-01-01 | 2016-07-27 | 程长青 | Circulating flow hot air drying tower |
| CN106225441A (en) * | 2016-08-31 | 2016-12-14 | 东至县鸿棉工贸有限责任公司 | A kind of dehydrator |
| CN107788110A (en) * | 2017-11-23 | 2018-03-13 | 北京邮电大学 | A kind of method for drying cereal and system |
| CN210242316U (en) * | 2019-02-21 | 2020-04-03 | 浙江省林业科学研究院 | A drying device for drying high-moisture granular activated carbon with flue gas |
| CN212619971U (en) * | 2020-08-28 | 2021-02-26 | 南京源昌新材料有限公司 | Grid plate type far infrared drying device |
Family Cites Families (5)
| Publication number | Priority date | Publication date | Assignee | Title |
|---|---|---|---|---|
| DE3826047A1 (en) * | 1988-07-30 | 1990-02-01 | Heraeus Schott Quarzschmelze | DEVICE FOR DRYING FINE-PARTICLE SOLIDS |
| CN2218350Y (en) * | 1995-01-17 | 1996-01-24 | 山东省中医药研究所 | Combined vibrating tower type infrared drier for Chinese medicine |
| CN200946961Y (en) * | 2006-08-29 | 2007-09-12 | 国家粮食储备局郑州科学研究设计院 | Low-temperature vacuum continuous drying device for grain slowing and quality preservation |
| CN106221717B (en) * | 2016-08-15 | 2019-08-20 | 天津大学 | Coking coal drying method and device in coking industry |
| CN107127151A (en) * | 2017-07-10 | 2017-09-05 | 张辉 | A kind of grain processing filtering drying device |
-
2020
- 2020-08-28 CN CN202010885482.9A patent/CN111928633A/en active Pending
- 2020-09-03 WO PCT/CN2020/113259 patent/WO2022041304A1/en not_active Ceased
Patent Citations (10)
| Publication number | Priority date | Publication date | Assignee | Title |
|---|---|---|---|---|
| CN2686344Y (en) * | 2004-03-11 | 2005-03-23 | 韩雪武 | Vegetable drying machine |
| CN2689142Y (en) * | 2004-03-16 | 2005-03-30 | 河南省粮油机械工程有限公司 | Tower-type driers |
| RU49200U1 (en) * | 2005-06-14 | 2005-11-10 | Общество с ограниченной ответственностью "Научно-производственное объединение "ВЫМПЕЛ" | GRAIN DRYER |
| CN203586723U (en) * | 2013-10-14 | 2014-05-07 | 吉林大学 | Cereal infrared drying device |
| CN104304446A (en) * | 2014-10-30 | 2015-01-28 | 重庆鑫水机械制造有限公司 | Vertical box type drying device |
| CN105806070A (en) * | 2015-01-01 | 2016-07-27 | 程长青 | Circulating flow hot air drying tower |
| CN106225441A (en) * | 2016-08-31 | 2016-12-14 | 东至县鸿棉工贸有限责任公司 | A kind of dehydrator |
| CN107788110A (en) * | 2017-11-23 | 2018-03-13 | 北京邮电大学 | A kind of method for drying cereal and system |
| CN210242316U (en) * | 2019-02-21 | 2020-04-03 | 浙江省林业科学研究院 | A drying device for drying high-moisture granular activated carbon with flue gas |
| CN212619971U (en) * | 2020-08-28 | 2021-02-26 | 南京源昌新材料有限公司 | Grid plate type far infrared drying device |
Cited By (5)
| Publication number | Priority date | Publication date | Assignee | Title |
|---|---|---|---|---|
| CN113606872A (en) * | 2021-08-02 | 2021-11-05 | 农业农村部南京农业机械化研究所 | Fluidized bed dryer based on graphene far-infrared heating and drying method thereof |
| CN113632833A (en) * | 2021-08-03 | 2021-11-12 | 农业农村部南京农业机械化研究所 | A kind of grain circulation dryer based on graphene far-infrared heating and drying method thereof |
| CN115727649A (en) * | 2021-08-28 | 2023-03-03 | 南京源昌新材料有限公司 | Drying module of large-scale far infrared drying-machine of high efficiency |
| CN116067160A (en) * | 2023-03-10 | 2023-05-05 | 山东理工大学 | A microwave hot air heat pump infrared coupling drying equipment |
| CN116067160B (en) * | 2023-03-10 | 2024-04-19 | 山东理工大学 | Microwave hot air heat pump infrared coupling drying equipment |
Also Published As
| Publication number | Publication date |
|---|---|
| WO2022041304A1 (en) | 2022-03-03 |
Similar Documents
| Publication | Publication Date | Title |
|---|---|---|
| CN111928633A (en) | High-efficiency adjustable grid plate type far infrared drying device | |
| CN202085666U (en) | Sectional type high-efficient energy-saving rice noodle dryer capable of automatically controlling temperature and humidity | |
| CN206909658U (en) | The infrared circulation dryer of jujube | |
| CN202202024U (en) | Cocoon drying equipment | |
| CN101254022B (en) | A kind of rebaking method and special equipment for tobacco sheet | |
| CN206094826U (en) | A energy -conserving drying -machine of environment -friendly for solid wood panel is dried | |
| CN103005629A (en) | Microwave and hot air combined red date dryer | |
| CN103919249A (en) | Fruit and vegetable dryer | |
| WO2023035588A1 (en) | Efficient energy-saving mud drying apparatus | |
| CN110285665A (en) | An intelligent dryer with double-sided heating and multi-temperature zones | |
| CN111288751A (en) | Drying equipment for agricultural and sideline products | |
| CN111664657A (en) | A heat pump drying chamber | |
| CN212619971U (en) | Grid plate type far infrared drying device | |
| CN206192082U (en) | Inner loop formula biofuel drying device | |
| CN206687128U (en) | Vegetable drying device | |
| CN102429010B (en) | Solar hybrid energy hot steam wind farm produce-drying system | |
| CN206094828U (en) | Heat energy cyclic utilization's energy -conserving drying device of panel | |
| CN219494749U (en) | Infrared grain drier of condensation dehumidification | |
| CN202648353U (en) | Corn seed drying equipment | |
| CN201359426Y (en) | Mobile continuous rice dryer | |
| CN206247299U (en) | A kind of smoke-less power-saving environment friendly biological matter boiler | |
| CN212339890U (en) | Vibrating screen type far infrared drying device | |
| CN111928632A (en) | High-efficiency low-energy-consumption vibrating screen type far infrared drying device | |
| CN110017681A (en) | Belt drying machine | |
| CN204080217U (en) | A kind of chemical fibre densification all-in-one |
Legal Events
| Date | Code | Title | Description |
|---|---|---|---|
| PB01 | Publication | ||
| PB01 | Publication | ||
| SE01 | Entry into force of request for substantive examination | ||
| SE01 | Entry into force of request for substantive examination |
