CN111249679B - An orthopedic patient recovery auxiliary exercise device - Google Patents

An orthopedic patient recovery auxiliary exercise device Download PDF

Info

Publication number
CN111249679B
CN111249679B CN202010216670.2A CN202010216670A CN111249679B CN 111249679 B CN111249679 B CN 111249679B CN 202010216670 A CN202010216670 A CN 202010216670A CN 111249679 B CN111249679 B CN 111249679B
Authority
CN
China
Prior art keywords
foot
sliding
shaped
plate
fixedly connected
Prior art date
Legal status (The legal status is an assumption and is not a legal conclusion. Google has not performed a legal analysis and makes no representation as to the accuracy of the status listed.)
Active
Application number
CN202010216670.2A
Other languages
Chinese (zh)
Other versions
CN111249679A (en
Inventor
孟静
刘瑜
王静
易子钧
Current Assignee (The listed assignees may be inaccurate. Google has not performed a legal analysis and makes no representation or warranty as to the accuracy of the list.)
Qingdao Yuqirun Enterprise Operation Management Co ltd
Original Assignee
Qingdao Municipal Hospital
Priority date (The priority date is an assumption and is not a legal conclusion. Google has not performed a legal analysis and makes no representation as to the accuracy of the date listed.)
Filing date
Publication date
Application filed by Qingdao Municipal Hospital filed Critical Qingdao Municipal Hospital
Priority to CN202010216670.2A priority Critical patent/CN111249679B/en
Publication of CN111249679A publication Critical patent/CN111249679A/en
Application granted granted Critical
Publication of CN111249679B publication Critical patent/CN111249679B/en
Active legal-status Critical Current
Anticipated expiration legal-status Critical

Links

Images

Classifications

    • AHUMAN NECESSITIES
    • A63SPORTS; GAMES; AMUSEMENTS
    • A63BAPPARATUS FOR PHYSICAL TRAINING, GYMNASTICS, SWIMMING, CLIMBING, OR FENCING; BALL GAMES; TRAINING EQUIPMENT
    • A63B23/00Exercising apparatus specially adapted for particular parts of the body
    • A63B23/035Exercising apparatus specially adapted for particular parts of the body for limbs, i.e. upper or lower limbs, e.g. simultaneously
    • A63B23/04Exercising apparatus specially adapted for particular parts of the body for limbs, i.e. upper or lower limbs, e.g. simultaneously for lower limbs
    • A63B23/10Exercising apparatus specially adapted for particular parts of the body for limbs, i.e. upper or lower limbs, e.g. simultaneously for lower limbs for feet or toes
    • AHUMAN NECESSITIES
    • A63SPORTS; GAMES; AMUSEMENTS
    • A63BAPPARATUS FOR PHYSICAL TRAINING, GYMNASTICS, SWIMMING, CLIMBING, OR FENCING; BALL GAMES; TRAINING EQUIPMENT
    • A63B21/00Exercising apparatus for developing or strengthening the muscles or joints of the body by working against a counterforce, with or without measuring devices
    • A63B21/00178Exercising apparatus for developing or strengthening the muscles or joints of the body by working against a counterforce, with or without measuring devices for active exercising, the apparatus being also usable for passive exercising
    • AHUMAN NECESSITIES
    • A63SPORTS; GAMES; AMUSEMENTS
    • A63BAPPARATUS FOR PHYSICAL TRAINING, GYMNASTICS, SWIMMING, CLIMBING, OR FENCING; BALL GAMES; TRAINING EQUIPMENT
    • A63B21/00Exercising apparatus for developing or strengthening the muscles or joints of the body by working against a counterforce, with or without measuring devices
    • A63B21/02Exercising apparatus for developing or strengthening the muscles or joints of the body by working against a counterforce, with or without measuring devices using resilient force-resisters
    • A63B21/05Linearly-compressed elements
    • AHUMAN NECESSITIES
    • A63SPORTS; GAMES; AMUSEMENTS
    • A63BAPPARATUS FOR PHYSICAL TRAINING, GYMNASTICS, SWIMMING, CLIMBING, OR FENCING; BALL GAMES; TRAINING EQUIPMENT
    • A63B23/00Exercising apparatus specially adapted for particular parts of the body
    • A63B23/035Exercising apparatus specially adapted for particular parts of the body for limbs, i.e. upper or lower limbs, e.g. simultaneously
    • A63B23/04Exercising apparatus specially adapted for particular parts of the body for limbs, i.e. upper or lower limbs, e.g. simultaneously for lower limbs
    • A63B23/08Exercising apparatus specially adapted for particular parts of the body for limbs, i.e. upper or lower limbs, e.g. simultaneously for lower limbs for ankle joints
    • AHUMAN NECESSITIES
    • A63SPORTS; GAMES; AMUSEMENTS
    • A63BAPPARATUS FOR PHYSICAL TRAINING, GYMNASTICS, SWIMMING, CLIMBING, OR FENCING; BALL GAMES; TRAINING EQUIPMENT
    • A63B71/00Games or sports accessories not covered in groups A63B1/00 - A63B69/00
    • A63B71/0054Features for injury prevention on an apparatus, e.g. shock absorbers

Landscapes

  • Health & Medical Sciences (AREA)
  • Orthopedic Medicine & Surgery (AREA)
  • General Health & Medical Sciences (AREA)
  • Physical Education & Sports Medicine (AREA)
  • Life Sciences & Earth Sciences (AREA)
  • Biophysics (AREA)
  • Rehabilitation Tools (AREA)

Abstract

本发明一种骨科患者恢复辅助锻炼装置,涉及医疗辅助器械技术领域,包括部支撑架、足部复健机构、自动驱动机构、足部伸缩调节件和足部固定机构,有益技术效果为本发明能对患者腿部和足部进行限位和固定,对足部和腿部起到很好的保护作用。足部复健机构配合连接在腿部支撑架上,足部踩踏足部复健机构主动锻炼踝关节,自动驱动机构设在腿部支撑架上,自动驱动机构与足部复健机构配合连接,自动驱动机构驱动足部复健机构自动带动脚部摆动,足部伸缩调节件设在足部复健机构上,足部伸缩调节件在足部复健机构上的位置可调适用于不同尺码的脚掌,足部固定机构与足部伸缩调节件配合连接。

Figure 202010216670

The present invention is a recovery auxiliary exercise device for orthopedic patients, which relates to the technical field of medical auxiliary equipment, and includes a support frame, a foot rehabilitation mechanism, an automatic driving mechanism, a foot telescopic adjustment member and a foot fixing mechanism. The beneficial technical effect is the present invention It can limit and fix the patient's legs and feet, and play a good role in protecting the feet and legs. The foot rehabilitation mechanism is cooperatively connected to the leg support frame, the foot stepping on the foot rehabilitation mechanism actively exercises the ankle joint, the automatic driving mechanism is arranged on the leg support frame, and the automatic driving mechanism is cooperatively connected with the foot rehabilitation mechanism. The automatic driving mechanism drives the foot rehabilitation mechanism to automatically drive the foot to swing, the foot telescopic adjustment member is arranged on the foot rehabilitation mechanism, and the position of the foot telescopic adjustment member on the foot rehabilitation mechanism can be adjusted. The sole of the foot, the foot fixing mechanism is matched and connected with the foot telescopic adjustment piece.

Figure 202010216670

Description

Orthopedics patient resumes supplementary exercise device
Technical Field
The invention relates to the technical field of medical auxiliary instruments, in particular to an auxiliary exercise device for recovery of an orthopedic patient.
Background
The patent number is CN 201720404432.8's a footboard formula low limbs ankle joint exerciser, this utility model discloses a footboard formula low limbs ankle joint exerciser, including base, baffle, footboard, two pillars, drive axle, power device, transmission, two resistance devices, the one end of base sets up the baffle, and the middle part of base sets up two pillars side by side, and these two pillars are symmetrical about exerciser axis, sets up the drive axle on two pillars, and the both ends of drive axle rotate with two pillars respectively to be connected, the footboard passes the footboard through driving the axle setting on two pillars, drive axle along the horizontal direction, power device passes through transmission and drive hub connection, resistance device is located the rear of footboard, including base, spring and the little baffle that connects gradually, two resistance devices are fixed in on base and the baffle through the respective base of base respectively. The utility model discloses a make bed patient need not rely on other people just can carry out autonomic or passive low limbs ankle joint exercise, easy operation, convenient to use can reach the prevention venous thrombosis and temper low limbs muscle, ankle joint's dual function. However, the device cannot limit and fix the legs and the feet of a patient, and when the patient exercises to exert force, the legs or the feet are dislocated due to the force, so that the patient has a more serious bone dislocation phenomenon.
Disclosure of Invention
The invention aims to provide an auxiliary exercise device for recovery of orthopedic patients, which has the advantages that the device can limit and fix the legs and the feet of the patients and can well protect the feet and the legs.
The purpose of the invention is realized by the following technical scheme:
the utility model provides an orthopedics patient resumes supplementary exercise device, package shank support frame, foot rehabilitation mechanism, automatic drive mechanism, the flexible regulating part of foot and foot fixed establishment, foot rehabilitation mechanism cooperation connect on the shank support frame, the foot is trampled foot rehabilitation mechanism and is initiatively taken exercise ankle joint, automatic drive mechanism establishes on the shank support frame, automatic drive mechanism is connected with the cooperation of foot rehabilitation mechanism, automatic drive mechanism drive foot rehabilitation mechanism is automatic to drive the foot swing, the flexible regulating part of foot is established on foot rehabilitation mechanism, the adjustable sole that is applicable to different sizes of position of the flexible regulating part of foot on foot rehabilitation mechanism, foot fixed establishment is connected with the flexible regulating part cooperation of foot.
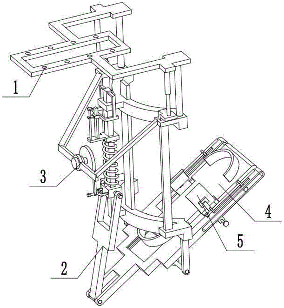
As a further optimization of the technical scheme, the auxiliary exercise device for recovery of the orthopedic patients comprises a leg support frame, a support frame and a support frame, wherein the support frame is provided with a support frame; the top frame plate is provided with a plurality of screw insertion holes, the upper arc-shaped frame is fixedly connected to the top frame plate through two connecting rods, the lower arc-shaped frame is fixedly connected with two sliding rods, the two sliding rods are respectively connected to two ends of the upper arc-shaped frame in a sliding fit manner, the two electric telescopic rods are respectively arranged at two ends of the top frame plate, telescopic ends of the two electric telescopic rods are respectively fixedly connected with the two sliding rods, the lower arc-shaped frame is fixedly connected with a baffle plate, the baffle plate is connected with the upper arc-shaped frame in a clearance fit manner, two ends of the lower arc-shaped frame are respectively fixedly connected with a rotating shaft frame; the foot rehabilitation mechanism is movably connected with the rotating shaft; and the upper arc-shaped frame is fixedly connected with a sliding sleeve.
As a further optimization of the technical scheme, the auxiliary exercise device for recovery of the orthopedic patients comprises a fork-shaped bottom plate, a side sliding chute, an upper sliding chute, a cross sliding chute, a foot base, an articulated arm, a sliding block, a vertical rod, a spring seat, a plug board, a fixing frame, a screw, a compression spring, a screw inserting piece and a trapezoidal sliding rail, wherein the foot recovery mechanism comprises a fork-shaped bottom plate, a side sliding chute, an upper sliding chute, a cross sliding chute, a foot base, a; the lower end of the forked bottom plate is rotatably connected to the rotating shaft, two side sliding grooves are symmetrically formed in the right end of the forked bottom plate, and two upper sliding grooves are formed in the top face of the right end of the forked bottom plate; the side sliding groove is communicated with the upper sliding groove; the middle part of the fork-shaped bottom plate is provided with a cross-shaped sliding groove, the heel top seat is fixedly connected to the middle part of the fork-shaped bottom plate, the left end of the fork-shaped bottom plate is rotatably connected with a hinged arm, the hinged arm is rotatably connected to a sliding block, the sliding block is connected to a vertical rod in a sliding fit manner, one end of the vertical rod is fixedly connected to a lower arc-shaped frame, the other end of the vertical rod is connected to a sliding sleeve in a sliding fit manner, a spring seat is connected to the vertical rod in a sliding fit manner, a plug board is fixedly connected to the spring seat, the plug board is connected to a fixing frame in a sliding fit manner; the vertical rod is sleeved with a compression spring, and two ends of the compression spring are respectively and fixedly connected with a spring seat and a sliding block; the sliding block is fixedly connected with a screw inserting piece, and the screw inserting piece is connected with the automatic driving mechanism in a matching way; the bottom surface of the front end of the fork-shaped bottom plate is fixedly connected with a trapezoidal sliding rail.
As the further optimization of the technical scheme, the invention relates to an auxiliary exercise device for recovery of orthopedic patients, wherein an automatic driving mechanism comprises a motor, a motor frame, a disc, a swing rod and a long screw; the motor passes through motor frame fixed connection on last arc frame, and the output shaft fixed connection disc of motor, the one end of pendulum rod rotate to be connected on the eccentric position of disc, and the other end of pendulum rod passes through screw-thread fit connection long screw, and long screw clearance fit connects in the screw insertion piece.
As further optimization of the technical scheme, the invention relates to an auxiliary exercise device for recovery of orthopedic patients, wherein a foot telescopic adjusting piece comprises a cross-shaped inserting plate, a T-shaped foot plate, a sliding rod, an adjusting block, a screw rod seat, a rectangular through groove, a bottom sliding groove and a toe top seat; the right end of the cross inserting plate is fixedly connected with a T-shaped foot plate, the cross inserting plate is connected in a cross sliding groove in a sliding fit mode, two ends of the T-shaped foot plate are respectively and fixedly connected with a sliding rod, the two sliding rods are respectively connected in two side sliding grooves in a sliding fit mode, the two sliding rods are respectively and fixedly connected with a regulating block, the two regulating blocks are respectively connected in two upper sliding grooves in a sliding fit mode, the two regulating blocks are respectively connected to two lead screws in a threaded fit mode, the two lead screws are respectively and rotatably connected to a screw seat, and the two screw seats are both fixedly connected to a fork-shaped bottom plate; the left end of the T-shaped foot plate is provided with a rectangular through groove, and the bottom surface of the T-shaped foot plate is symmetrically provided with two bottom sliding grooves; the bottom sliding groove is communicated with the rectangular through groove; the foot fixing mechanism is connected with the T-shaped foot plate in a matching way; the toe top seat is fixedly connected with the top surface of the right end of the T-shaped foot plate.
As further optimization of the technical scheme, the auxiliary exercise device for recovery of the orthopedic patients comprises a foot fixing mechanism, a foot fixing mechanism and a foot fixing mechanism, wherein the foot fixing mechanism comprises a bidirectional threaded rod, a limiting block, a bottom sliding block, a telescopic plate and an arc-shaped fixing plate; two-way threaded rod rotates to be connected on the stopper, and stopper sliding fit connects on trapezoidal slide rail, and two end sliders connect the both ends at two-way threaded rod through screw-thread fit respectively, and two end sliders are fixed connection respectively in the inner of two expansion plates, and arc fixed plate of fixed connection is respectively distinguished to the outer end of two expansion plates, and two end sliders are sliding fit respectively and connect in two end spouts, and two expansion plates are sliding fit respectively and connect at the both ends that the rectangle led to the groove.
As a further optimization of the technical scheme, the inner end surfaces of the upper arc-shaped frame, the lower arc-shaped frame and the baffle are all in the same arc surface.
The auxiliary exercise device for recovery of the orthopedic patient has the beneficial effects that:
according to the auxiliary exercise device for recovery of the orthopedic patient, the leg supporting frame can support the leg, so that the force of the foot of the patient can be well concentrated at the positions of the foot and the ankle joint during treading exercise, and the phenomenon that the leg shakes to cause dislocation when the foot of the patient exerts force is avoided; the length of the leg support frame can be adjusted so as to be suitable for patients with different heights to use, and the comfort level in use is improved; meanwhile, the shank muscle of the patient can be well stretched;
the foot rehabilitation mechanism, the foot telescopic adjusting piece and the foot fixing mechanism are matched together to play a role in stabilizing feet, so that a patient can have a good synchronous function when trampling and exercising, and can not be easily separated from the device due to force application when following the feet; the position of the foot telescopic adjusting piece on the foot fixing mechanism can be adjusted so as to be suitable for treading with feet of different sizes;
the leg support frame, the foot rehabilitation mechanism, the foot telescopic adjusting piece and the foot fixing mechanism are matched together to well limit and fix the legs and the feet of a patient, so that the situation that the legs or the feet shake, shift and misplace due to force when the patient exercises to exert force is avoided, the more serious skeleton misplacement or the more serious fracture phenomenon of the patient is caused, and the feet and the legs are well protected;
can freely switch under the two kinds of modes of taking exercise and independently taking exercise voluntarily, it is convenient to switch, when independently taking exercise, through adjusting the intensity of taking exercise according to patient's self condition adjustment that foot rehabilitation mechanism can be convenient.
Drawings
FIG. 1 is a first schematic structural diagram of an exercise assisting device for recovery of an orthopedic patient according to the present invention;
FIG. 2 is a schematic structural diagram of a second exercise assisting device for recovery of an orthopedic patient according to the present invention;
FIG. 3 is a third schematic structural view of an exercise assisting device for recovery of an orthopedic patient according to the present invention;
FIG. 4 is a schematic structural view of the leg support;
FIG. 5 is a first schematic view of the foot rehabilitation mechanism;
FIG. 6 is a second schematic view of the foot rehabilitation mechanism;
FIG. 7 is a schematic structural view of an automatic driving mechanism;
FIG. 8 is a first schematic view of the structure of the foot expansion and contraction adjusting member;
FIG. 9 is a second schematic view of the foot expansion adjustment member;
fig. 10 is a schematic structural view of the foot fixing mechanism.
In the figure: a leg support frame 1; 1-1 of a top frame plate; a connecting rod 1-2; 1-3 of an upper arc-shaped frame; 1-4 of a lower arc-shaped frame; 1-5 slide bars; 1-6 parts of an electric telescopic rod; 1-7 of a baffle plate; 1-8 parts of a rotating shaft frame; 1-9 of a rotating shaft; 1-10 parts of a sliding sleeve; a foot rehabilitation mechanism 2; a fork-shaped bottom plate 2-1; a side chute 2-2; an upper chute 2-3; 2-4 of a cross-shaped chute; 2-5 parts of a foot root footstock; articulated arms 2-6; 2-7 of a slide block; 2-8 parts of a vertical rod; spring seats 2-9; 2-10 of an inserting plate; 2-11 parts of a fixed frame; 2-12 parts of screw; 2-13 of a compression spring; 2-14 parts of screw inserting sheet; 2-16 parts of a trapezoidal slide rail; an automatic drive mechanism 3; a motor 3-1; 3-2 of a motor frame; 3-3 of a disc; 3-4 of a swing rod; 3-5 of long screws; a foot expansion adjusting piece 4; a cross-shaped plug board 4-1; 4-2 of a T-shaped foot plate; 4-3 of a slide bar; 4-4 of an adjusting block; 4-5 of a screw rod; 4-6 of a screw rod seat; 4-7 rectangular through grooves; 4-8 parts of a bottom chute; 4-9 parts of toe top seats; a foot fixing mechanism 5; 5-1 of a bidirectional threaded rod; 5-2 of a limiting block; 5-3 of a bottom slide block; 5-4 of a telescopic plate; and 5-5 of an arc-shaped fixing plate.
Detailed Description
In the description of the present invention, it should be noted that the terms "center", "upper", "lower", "left", "right", "vertical", "horizontal", "inner", "outer", etc. indicate orientations or positional relationships based on the orientations or positional relationships shown in the drawings, and are only for convenience of description and simplicity of description, but do not indicate or imply that the device or element referred to must have a specific orientation, be constructed and operated in a specific orientation, and thus, should not be construed as limiting the present invention. Moreover, the terms "first," "second," and "third" are used for descriptive purposes only and are not to be construed as indicating or implying relative importance; the electrical components that appear in this application all external intercommunication power and control switch when using.
The invention is described in further detail below with reference to the accompanying figures 1-10 and the detailed description.
The first embodiment is as follows:
the embodiment is described below with reference to fig. 1 to 10, and an auxiliary exercise device for recovery of orthopedic patients comprises a leg support frame 1, a foot rehabilitation mechanism 2, an automatic driving mechanism 3, a foot telescopic adjusting piece 4 and a foot fixing mechanism 5, wherein the foot rehabilitation mechanism 2 is cooperatively connected to the leg support frame 1, the foot tramples the foot rehabilitation mechanism 2 to actively exercise ankle joints, the automatic driving mechanism 3 is arranged on the leg support frame 1, the automatic driving mechanism 3 is cooperatively connected with the foot rehabilitation mechanism 2, the automatic driving mechanism 3 drives the foot rehabilitation mechanism 2 to automatically drive feet to swing, the foot telescopic adjusting piece 4 is arranged on the foot rehabilitation mechanism 2, the position of the foot telescopic adjusting piece 4 on the foot rehabilitation mechanism 2 can be adjusted to be suitable for feet with different sizes, and the foot fixing mechanism 5 is cooperatively connected with the foot telescopic adjusting piece 4. When the device is used, when the automatic driving mechanism 3 is separated from the foot rehabilitation mechanism 2, a patient can carry out autonomous training, positioning screws are inserted into the leg support frame 1 to fix the device on the stool surface of the stool, the lower end of the device is placed downwards, the patient sits on the stool, the lower leg is placed into the leg support frame 1, the length of the leg support frame 1 is adjusted to adapt to the length of the lower leg of the patient, the comfort level in use is improved, the foot is placed on the foot rehabilitation mechanism 2 and the foot telescopic adjusting piece 4, the distance between the foot telescopic adjusting piece 4 and the foot rehabilitation mechanism 2 is adapted to the length of the foot by adjusting the position of the foot telescopic adjusting piece 4, the foot fixing mechanism 5 is adjusted to draw the foot surface of the patient into the foot fixing mechanism 5 to limit the foot of the patient, the dangerous situation of the foot of the patient when the foot is separated from the device in exercise is avoided, and the sole of the patient is stepped downwards, can let the shank support and lean on shank support frame 1, patient's foot can be fine concentrate on foot and ankle joint's position department with strength when trampling the exercise like this, the leg takes place to rock and takes place the phenomenon of dislocation when avoiding patient's foot to exert oneself, can play fine tensile effect to patient's shank muscle simultaneously, through adjusting the compression degree that foot rehabilitation mechanism 2 changes compression spring 2-13, and then intensity that can be convenient adjust the ankle joint and take exercise according to patient's self condition, when needs are switched into the initiative mode of taking exercise by autonomic training, the owner need adjust automatic drive mechanism 3 and be connected with the cooperation of foot rehabilitation mechanism 2, swing alright automatic foot rehabilitation mechanism 2 after automatic drive mechanism 3 starts, thereby it takes exercise to drive patient's foot swing voluntarily, it is convenient to switch.
The second embodiment is as follows:
the present embodiment is described below with reference to fig. 1 to 10, and the leg support 1 includes a top frame plate 1-1, a connecting rod 1-2, an upper arc frame 1-3, a lower arc frame 1-4, a sliding rod 1-5, an electric telescopic rod 1-6, a baffle plate 1-7, a rotating shaft frame 1-8, a rotating shaft 1-9, and a sliding sleeve 1-10; a plurality of screw jacks are arranged on a top frame plate 1-1, an upper arc-shaped frame 1-3 is fixedly connected to the top frame plate 1-1 through two connecting rods 1-2, a lower arc-shaped frame 1-4 is fixedly connected with two slide bars 1-5, the two slide bars 1-5 are respectively connected to two ends of the upper arc-shaped frame 1-3 in a sliding fit manner, two electric telescopic rods 1-6 are respectively arranged at two ends of the top frame plate 1-1, telescopic ends of the two electric telescopic rods 1-6 are respectively fixedly connected with the two slide bars 1-5, a baffle plate 1-7 is fixedly connected to the lower arc-shaped frame 1-4, the baffle plate 1-7 is in a clearance fit manner with the upper arc-shaped frame 1-3, two ends of the lower arc-shaped frame 1-4 are respectively fixedly connected with a rotating shaft frame 1-8, and a rotating shaft 1-9 is; the foot rehabilitation mechanism 2 is movably connected with the rotating shafts 1-9; the upper arc-shaped frame 1-3 is fixedly connected with a sliding sleeve 1-10. The two electric telescopic rods 1-6 are started to drive the lower arc-shaped frames 1-4 to move up and down, the distance between the upper arc-shaped frames 1-3 and the lower arc-shaped frames 1-4 is changed, the device is suitable for crus with different lengths to use, and the crus of the patient lean against the upper arc-shaped frames 1-3, the lower arc-shaped frames 1-4 and the baffle plates 1-7 to support the crus.
The third concrete implementation mode:
the embodiment is described below with reference to fig. 1-10, and the foot rehabilitation mechanism 2 includes a fork-shaped bottom plate 2-1, a side sliding groove 2-2, an upper sliding groove 2-3, a cross sliding groove 2-4, a heel footstock 2-5, an articulated arm 2-6, a sliding block 2-7, a vertical rod 2-8, a spring seat 2-9, an inserting plate 2-10, a fixed frame 2-11, a screw rod 2-12, a compression spring 2-13, a screw inserting piece 2-14 and a trapezoidal sliding rail 2-16; the lower end of the forked bottom plate 2-1 is rotatably connected to the rotating shaft 1-9, the right end of the forked bottom plate 2-1 is symmetrically provided with two side chutes 2-2, and the top surface of the right end of the forked bottom plate 2-1 is provided with two upper chutes 2-3; the side sliding groove 2-2 is communicated with the upper sliding groove 2-3; the middle part of a fork-shaped bottom plate 2-1 is provided with a cross sliding groove 2-4, a heel footstock 2-5 is fixedly connected at the middle part of the fork-shaped bottom plate 2-1, the left end of the fork-shaped bottom plate 2-1 is rotatably connected with an articulated arm 2-6, the articulated arm 2-6 is rotatably connected with a sliding block 2-7, the sliding block 2-7 is connected with a vertical rod 2-8 in a sliding fit manner, one end of the vertical rod 2-8 is fixedly connected with a lower arc-shaped frame 1-4, the other end of the vertical rod 2-8 is connected in a sliding sleeve 1-10 in a sliding fit manner, a spring seat 2-9 is connected on the vertical rod 2-8 in a sliding fit manner, a plug board 2-10 is fixedly connected on the spring seat 2-9, the plug board 2-10 is connected on a fixed frame 2, the fixed frame 2-11 is connected with the screw rod 2-12 through thread matching, and the lower end of the screw rod 2-12 is rotatably connected with the spring seat 2-9; the vertical rod 2-8 is sleeved with a compression spring 2-13, and two ends of the compression spring 2-13 are respectively and fixedly connected with a spring seat 2-9 and a sliding block 2-7; the sliding block 2-7 is fixedly connected with a screw inserting piece 2-14, and the screw inserting piece 2-14 is connected with the automatic driving mechanism 3 in a matching way; the bottom surface of the front end of the fork-shaped bottom plate 2-1 is fixedly connected with a trapezoidal sliding rail 2-16. When the ankle exercising device is used, when a patient independently exercises, the automatic driving mechanism 3 and the screw inserting pieces 2-14 are in a separated state, the foot of the patient steps on the fork-shaped bottom plate 2-1, the heel of the patient abuts against the heel footstock 2-5, the heel of the patient is supported and limited, the compression spring 2-13 gives upward force to the right end of the fork-shaped bottom plate 2-1, when the patient steps on the fork-shaped bottom plate 2-1 downwards by overcoming the elastic force of the compression spring 2-13, the articulated arm 2-6 drives the sliding block 2-7 to move upwards, the compression spring 2-13 is compressed, the process is repeated, the ankle joint of the patient is exercised, the screw rod 2-12 is rotated to drive the spring seat 2-9 to move upwards and downwards, the compression degree of the compression spring 2-13 is changed, and the force exerting degree of the patient when stepping is changed, thereby changing the intensity of the patient's autonomous exercise.
The fourth concrete implementation mode:
the present embodiment is described below with reference to fig. 1-10, and the automatic driving mechanism 3 includes a motor 3-1, a motor frame 3-2, a disk 3-3, a swing rod 3-4 and a long screw 3-5; the motor 3-1 is fixedly connected to the upper arc-shaped frame 1-3 through a motor frame 3-2, an output shaft of the motor 3-1 is fixedly connected with the disc 3-3, one end of the swing rod 3-4 is rotatably connected to the eccentric position of the disc 3-3, the other end of the swing rod 3-4 is connected with the long screw 3-5 through thread fit, and the long screw 3-5 is connected into the screw inserting piece 2-14 through clearance fit. When the patient needs to do automatic exercise, the long screw 3-5 is rotated to be inserted into the screw inserting piece 2-14, the motor 3-1 drives the screw inserting piece 2-14 and the sliding block 2-7 to do up-and-down reciprocating motion through the disc 3-3, the swing rod 3-4 and the long screw 3-5, and therefore the fork-shaped bottom plate 2-1 and the foot of the patient are driven to swing automatically to do automatic exercise.
The fifth concrete implementation mode:
the embodiment is described below with reference to fig. 1-10, and the foot telescopic adjusting part 4 comprises a cross inserting plate 4-1, a T-shaped foot plate 4-2, a sliding rod 4-3, an adjusting block 4-4, a screw rod 4-5, a screw rod seat 4-6, a rectangular through groove 4-7, a bottom sliding groove 4-8 and a toe top seat 4-9; the right end of a cross inserting plate 4-1 is fixedly connected with a T-shaped foot plate 4-2, the cross inserting plate 4-1 is connected in a cross sliding groove 2-4 in a sliding fit mode, two ends of the T-shaped foot plate 4-2 are respectively and fixedly connected with a sliding rod 4-3, two sliding rods 4-3 are respectively connected in two side sliding grooves 2-2 in a sliding fit mode, two adjusting blocks 4-3 are respectively and fixedly connected with an adjusting block 4-4, two adjusting blocks 4-4 are respectively connected in two upper sliding grooves 2-3 in a sliding fit mode, two adjusting blocks 4-4 are respectively connected on two lead screws 4-5 in a threaded fit mode, two lead screws 4-5 are respectively and rotatably connected on one screw seat 4-6, and two screw seats 4-6 are both fixedly connected on a cross bottom plate 2-1; the left end of the T-shaped foot plate 4-2 is provided with a rectangular through groove 4-7, and the bottom surface of the T-shaped foot plate 4-2 is symmetrically provided with two bottom sliding grooves 4-8; the bottom sliding groove 4-8 is communicated with the rectangular through groove 4-7; the foot fixing mechanism 5 is connected with the T-shaped foot plate 4-2 in a matching way; the toe top seat 4-9 is fixedly connected with the top surface of the right end of the T-shaped foot plate 4-2. The two screw rods 4-5 are rotated to drive the cross inserting plate 4-1 and the T-shaped foot plate 4-2 to move left and right, the distance between the toe footstock 4-9 and the foot root footstock 2-5 is changed to adapt to feet with different lengths, and the toe footstock 4-9 and the foot root footstock 2-5 limit toes and heels; the cross inserting plate 4-1 is matched with the cross sliding groove 2-4 to prevent the T-shaped foot plate 4-2 from rotating upwards.
The sixth specific implementation mode:
the embodiment is described below with reference to fig. 1 to 10, and the foot fixing mechanism 5 includes a bidirectional threaded rod 5-1, a limiting block 5-2, a bottom slider 5-3, a telescopic plate 5-4 and an arc-shaped fixing plate 5-5; the bidirectional threaded rod 5-1 is rotatably connected to a limiting block 5-2, the limiting block 5-2 is connected to a trapezoidal sliding rail 2-16 in a sliding fit mode, two bottom sliding blocks 5-3 are connected to two ends of the bidirectional threaded rod 5-1 in a threaded fit mode respectively, the two bottom sliding blocks 5-3 are fixedly connected to inner ends of two expansion plates 5-4 respectively, outer ends of the two expansion plates 5-4 are fixedly connected with an arc-shaped fixing plate 5-5 respectively, the two bottom sliding blocks 5-3 are connected to two bottom sliding grooves 4-8 in a sliding fit mode respectively, and the two expansion plates 5-4 are connected to two ends of a rectangular through groove 4-7 in a sliding fit mode respectively. The two-way threaded rod 5-1 is rotated to drive the two bottom sliding blocks 5-3 to approach or move away from each other, so that the distance between the two arc-shaped fixing plates 5-5 is changed, the arc-shaped fixing plates 5-5 approach to the sole of a foot to limit the foot surface, the two arc-shaped fixing plates 5-5, the toe footstocks 4-9 and the foot footstocks 2-5 limit the movement of the foot together, and the limiting blocks 5-2 are matched with the trapezoidal sliding rails 2-16 to prevent the whole foot fixing mechanism 5 from moving, so that the foot is more firmly fixed.
The seventh embodiment:
the embodiment is described below with reference to fig. 1 to 10, and the inner end surfaces of the upper arc-shaped frame 1 to 3, the lower arc-shaped frame 1 to 4 and the baffle plate 1 to 7 are all in the same arc-shaped surface, so as to avoid the impression of the lower leg.
The invention relates to a working principle of an auxiliary exercise device for recovery of an orthopedic patient, which comprises the following steps: when the device is used, when the automatic driving mechanism 3 is separated from the foot rehabilitation mechanism 2, a patient can carry out autonomous training, positioning screws are inserted into the leg support frame 1 to fix the device on the stool surface of the stool, the lower end of the device is placed downwards, the patient sits on the stool, the lower leg is placed into the leg support frame 1, the length of the leg support frame 1 is adjusted to adapt to the length of the lower leg of the patient, the comfort level in use is improved, the foot is placed on the foot rehabilitation mechanism 2 and the foot telescopic adjusting piece 4, the distance between the foot telescopic adjusting piece 4 and the foot rehabilitation mechanism 2 is adapted to the length of the foot by adjusting the position of the foot telescopic adjusting piece 4, the foot fixing mechanism 5 is adjusted to draw the foot surface of the patient into the foot fixing mechanism 5 to limit the foot of the patient, the dangerous situation of the foot of the patient when the foot is separated from the device in exercise is avoided, and the sole of the patient is stepped downwards, can let the shank support and lean on shank support frame 1, patient's foot can be fine concentrate on foot and ankle joint's position department with strength when trampling the exercise like this, the leg takes place to rock and takes place the phenomenon of dislocation when avoiding patient's foot to exert oneself, can play fine tensile effect to patient's shank muscle simultaneously, through adjusting the compression degree that foot rehabilitation mechanism 2 changes compression spring 2-13, and then intensity that can be convenient adjust the ankle joint and take exercise according to patient's self condition, when needs are switched into the initiative mode of taking exercise by autonomic training, it is connected with foot rehabilitation mechanism 2 cooperation that mainly need adjust automatic drive mechanism 3, can swing with automatic foot rehabilitation mechanism 2 after automatic drive mechanism 3 starts, thereby automatically, it takes exercise to drive patient's foot swing, it is convenient to switch over, it tempers to make things convenient for
It is to be understood that the above description is not intended to limit the present invention, and the present invention is not limited to the above examples, and that various changes, modifications, additions and substitutions which are within the spirit and scope of the present invention and which may be made by those skilled in the art are also within the scope of the present invention.

Claims (2)

1. The utility model provides an orthopedics patient resumes supplementary exercise device, includes shank support frame (1), foot rehabilitation mechanism (2), automatic drive mechanism (3), the flexible regulating part of foot (4) and foot fixed establishment (5), its characterized in that: the foot rehabilitation mechanism (2) is connected to the leg support frame (1) in a matched mode, the foot treading the foot rehabilitation mechanism (2) actively exercises ankle joints, the automatic driving mechanism (3) is arranged on the leg support frame (1), the automatic driving mechanism (3) is connected with the foot rehabilitation mechanism (2) in a matched mode, the automatic driving mechanism (3) drives the foot rehabilitation mechanism (2) to automatically drive feet to swing, the foot telescopic adjusting piece (4) is arranged on the foot rehabilitation mechanism (2), the position of the foot telescopic adjusting piece (4) on the foot rehabilitation mechanism (2) can be adjusted to be suitable for soles with different sizes, and the foot fixing mechanism (5) is connected with the foot telescopic adjusting piece (4) in a matched mode;
the leg support frame (1) comprises a top frame plate (1-1), a connecting rod (1-2), an upper arc-shaped frame (1-3), a lower arc-shaped frame (1-4), a sliding rod (1-5), an electric telescopic rod (1-6), a baffle plate (1-7), a rotating shaft frame (1-8), a rotating shaft (1-9) and a sliding sleeve (1-10); a plurality of screw jacks are arranged on a top frame plate (1-1), an upper arc-shaped frame (1-3) is fixedly connected on the top frame plate (1-1) through two connecting rods (1-2), a lower arc-shaped frame (1-4) is fixedly connected with two slide bars (1-5), the two slide bars (1-5) are respectively connected with two ends of the upper arc-shaped frame (1-3) in a sliding fit manner, two electric telescopic rods (1-6) are respectively arranged at two ends of the top frame plate (1-1), the telescopic ends of the two electric telescopic rods (1-6) are respectively fixedly connected with the two slide bars (1-5), a baffle plate (1-7) is fixedly connected on the lower arc-shaped frame (1-4), the baffle plate (1-7) is connected with the upper arc-shaped frame (1-3) in a clearance fit manner, two ends of the lower arc-shaped frame (1-4) are respectively fixedly connected with a rotating shaft frame, the rotating shafts (1-9) are fixedly connected between the two rotating shaft frames (1-8); the foot rehabilitation mechanism (2) is movably connected with the rotating shaft (1-9); the upper arc-shaped frame (1-3) is fixedly connected with a sliding sleeve (1-10);
the foot rehabilitation mechanism (2) comprises a fork-shaped bottom plate (2-1), side sliding grooves (2-2), upper sliding grooves (2-3), cross sliding grooves (2-4), a foot root top seat (2-5), articulated arms (2-6), sliding blocks (2-7), vertical rods (2-8), spring seats (2-9), inserting plates (2-10), a fixing frame (2-11), screw rods (2-12), compression springs (2-13), screw inserting pieces (2-14) and trapezoidal sliding rails (2-16); the lower end of the forked bottom plate (2-1) is rotatably connected to the rotating shaft (1-9), the right end of the forked bottom plate (2-1) is symmetrically provided with two side chutes (2-2), and the top surface of the right end of the forked bottom plate (2-1) is provided with two upper chutes (2-3); the side sliding groove (2-2) is communicated with the upper sliding groove (2-3); the middle part of the fork-shaped bottom plate (2-1) is provided with a cross sliding chute (2-4), the foot root footstock (2-5) is fixedly connected with the middle part of the fork-shaped bottom plate (2-1), the left end of the fork-shaped bottom plate (2-1) is rotatably connected with an articulated arm (2-6), the articulated arm (2-6) is rotatably connected with a sliding block (2-7), the sliding block (2-7) is connected with a vertical rod (2-8) in a sliding fit manner, one end of the vertical rod (2-8) is fixedly connected with a lower arc-shaped frame (1-4), the other end of the vertical rod (2-8) is connected with a sliding sleeve (1-10) in a sliding fit manner, a spring seat (2-9) is connected with the vertical rod (2-8) in a sliding fit manner, and a plug board (2-10, the inserting plate (2-10) is connected to the fixing frame (2-11) in a sliding fit mode, the fixing frame (2-11) is fixedly connected to the upper end of the vertical rod (2-8), the fixing frame (2-11) is connected to the screw rod (2-12) in a threaded fit mode, and the lower end of the screw rod (2-12) is rotatably connected to the spring seat (2-9); the vertical rod (2-8) is sleeved with a compression spring (2-13), and two ends of the compression spring (2-13) are respectively and fixedly connected with a spring seat (2-9) and a sliding block (2-7); the sliding block (2-7) is fixedly connected with a screw inserting piece (2-14), and the screw inserting piece (2-14) is connected with the automatic driving mechanism (3) in a matching way; the bottom surface of the front end of the fork-shaped bottom plate (2-1) is fixedly connected with a trapezoidal sliding rail (2-16);
the automatic driving mechanism (3) comprises a motor (3-1), a motor frame (3-2), a disc (3-3), a swing rod (3-4) and a long screw (3-5); the motor (3-1) is fixedly connected to the upper arc-shaped frame (1-3) through the motor frame (3-2), an output shaft of the motor (3-1) is fixedly connected with the disc (3-3), one end of the swing rod (3-4) is rotatably connected to the eccentric position of the disc (3-3), the other end of the swing rod (3-4) is connected with the long screw (3-5) through thread fit, and the long screw (3-5) is connected into the screw insertion piece (2-14) through clearance fit;
the foot telescopic adjusting part (4) comprises a cross inserting plate (4-1), a T-shaped foot plate (4-2), a sliding rod (4-3), an adjusting block (4-4), a screw rod (4-5), a screw rod seat (4-6), a rectangular through groove (4-7), a bottom sliding groove (4-8) and a toe top seat (4-9); the right end of a cross inserting plate (4-1) is fixedly connected with a T-shaped foot plate (4-2), the cross inserting plate (4-1) is connected in a cross sliding groove (2-4) in a sliding fit mode, two ends of the T-shaped foot plate (4-2) are respectively and fixedly connected with a sliding rod (4-3), the two sliding rods (4-3) are respectively and slidably connected in two side sliding grooves (2-2), the two sliding rods (4-3) are respectively and fixedly connected with a regulating block (4-4), the two regulating blocks (4-4) are respectively and slidably connected in two upper sliding grooves (2-3), the two regulating blocks (4-4) are respectively and fixedly connected on two lead screws (4-5) through threads, the two lead screws (4-5) are respectively and rotatably connected on one screw seat (4-6), the two screw rod seats (4-6) are fixedly connected to the fork-shaped bottom plate (2-1); the left end of the T-shaped foot plate (4-2) is provided with a rectangular through groove (4-7), and the bottom surface of the T-shaped foot plate (4-2) is symmetrically provided with two bottom sliding grooves (4-8); the bottom sliding groove (4-8) is communicated with the rectangular through groove (4-7); the foot fixing mechanism (5) is connected with the T-shaped foot plate (4-2) in a matching way; the toe top seat (4-9) is fixedly connected with the top surface of the right end of the T-shaped foot plate (4-2);
the foot fixing mechanism (5) comprises a bidirectional threaded rod (5-1), a limiting block (5-2), a bottom sliding block (5-3), a telescopic plate (5-4) and an arc-shaped fixing plate (5-5); the bidirectional threaded rod (5-1) is rotatably connected to the limiting block (5-2), the limiting block (5-2) is connected to the trapezoidal sliding rail (2-16) in a sliding fit mode, the two bottom sliding blocks (5-3) are connected to two ends of the bidirectional threaded rod (5-1) through thread fit respectively, the two bottom sliding blocks (5-3) are fixedly connected to the inner ends of the two expansion plates (5-4) respectively, the outer ends of the two expansion plates (5-4) are fixedly connected with an arc-shaped fixing plate (5-5) respectively, the two bottom sliding blocks (5-3) are connected to the two bottom sliding grooves (4-8) in a sliding fit mode respectively, and the two expansion plates (5-4) are connected to two ends of the rectangular through groove (4-7) in a sliding fit mode respectively.
2. The orthopedic patient recovery exercise aid of claim 1, wherein: the inner end faces of the upper arc-shaped frame (1-3), the lower arc-shaped frame (1-4) and the baffle (1-7) are all in the same arc-shaped face.
CN202010216670.2A 2020-03-25 2020-03-25 An orthopedic patient recovery auxiliary exercise device Active CN111249679B (en)

Priority Applications (1)

Application Number Priority Date Filing Date Title
CN202010216670.2A CN111249679B (en) 2020-03-25 2020-03-25 An orthopedic patient recovery auxiliary exercise device

Applications Claiming Priority (1)

Application Number Priority Date Filing Date Title
CN202010216670.2A CN111249679B (en) 2020-03-25 2020-03-25 An orthopedic patient recovery auxiliary exercise device

Publications (2)

Publication Number Publication Date
CN111249679A CN111249679A (en) 2020-06-09
CN111249679B true CN111249679B (en) 2021-05-11

Family

ID=70942515

Family Applications (1)

Application Number Title Priority Date Filing Date
CN202010216670.2A Active CN111249679B (en) 2020-03-25 2020-03-25 An orthopedic patient recovery auxiliary exercise device

Country Status (1)

Country Link
CN (1) CN111249679B (en)

Families Citing this family (4)

* Cited by examiner, † Cited by third party
Publication number Priority date Publication date Assignee Title
CN112006897A (en) * 2020-09-25 2020-12-01 邢台职业技术学院 Auxiliary ankle pump exerciser for preventing venous thrombosis of lower limbs and using method
CN112641597B (en) * 2020-12-11 2022-10-11 重庆电子工程职业学院 Elastic force actuated lower limb power-assisted robot
CN112842832B (en) * 2021-01-04 2023-07-07 南京超图中小企业信息服务有限公司 Auxiliary rehabilitation device for medical leg
CN114366639B (en) * 2022-01-12 2023-06-09 李蕾 Postoperative leg massage device

Citations (8)

* Cited by examiner, † Cited by third party
Publication number Priority date Publication date Assignee Title
US5265589A (en) * 1993-01-13 1993-11-30 Wang Yuen Fu Multiple-rehabilitation-equipment supporter
CN102614066A (en) * 2010-12-14 2012-08-01 雷哈博泰克有限责任公司 Wearable and convertible passive and active movement training robot: apparatus and method
CN106823289A (en) * 2017-04-13 2017-06-13 合肥工业大学 A kind of healthy trainer of pose adjustable lower limb
CN206777722U (en) * 2017-04-18 2017-12-22 南京医科大学第一附属医院 A kind of pedal lower limb ankle-joint exerciser
CN206837368U (en) * 2017-05-09 2018-01-05 南京鼓楼医院 Medical multifunctional orthostatic position lower limb rehabilitation training device
CN108078737A (en) * 2018-02-01 2018-05-29 合肥工业大学 A kind of amplitude automatic adjustable leg device for healing and training and control method
CN108704264A (en) * 2018-05-24 2018-10-26 熊飞燕 A kind of postpartum abdominal muscles rehabilitation material
CN208942752U (en) * 2018-01-24 2019-06-07 黄瑜 A kind of Neurology training device for leg convalescence

Family Cites Families (1)

* Cited by examiner, † Cited by third party
Publication number Priority date Publication date Assignee Title
JP2008023273A (en) * 2006-07-25 2008-02-07 Biophilia Kenkyusho Kk Self-support auxiliary machine for disabled person

Patent Citations (8)

* Cited by examiner, † Cited by third party
Publication number Priority date Publication date Assignee Title
US5265589A (en) * 1993-01-13 1993-11-30 Wang Yuen Fu Multiple-rehabilitation-equipment supporter
CN102614066A (en) * 2010-12-14 2012-08-01 雷哈博泰克有限责任公司 Wearable and convertible passive and active movement training robot: apparatus and method
CN106823289A (en) * 2017-04-13 2017-06-13 合肥工业大学 A kind of healthy trainer of pose adjustable lower limb
CN206777722U (en) * 2017-04-18 2017-12-22 南京医科大学第一附属医院 A kind of pedal lower limb ankle-joint exerciser
CN206837368U (en) * 2017-05-09 2018-01-05 南京鼓楼医院 Medical multifunctional orthostatic position lower limb rehabilitation training device
CN208942752U (en) * 2018-01-24 2019-06-07 黄瑜 A kind of Neurology training device for leg convalescence
CN108078737A (en) * 2018-02-01 2018-05-29 合肥工业大学 A kind of amplitude automatic adjustable leg device for healing and training and control method
CN108704264A (en) * 2018-05-24 2018-10-26 熊飞燕 A kind of postpartum abdominal muscles rehabilitation material

Also Published As

Publication number Publication date
CN111249679A (en) 2020-06-09

Similar Documents

Publication Publication Date Title
CN111249679B (en) An orthopedic patient recovery auxiliary exercise device
CN110237501B (en) Ankle joint training adapter and rehabilitation training device
CN207024232U (en) Training device for knee joint rehabilitation and its system
CN104800051A (en) Multidirectional intelligent stretching device
CN107296724B (en) Training device beneficial to ankle pump movement of foot drop patient
CN109009616A (en) A kind of cervical vertebra actively corrects exercise treatment device
CN104905934A (en) Novel hemiplegia standing training bed
CN116870432A (en) Ankle joint initiative rehabilitation training device based on rigidity-variable mechanism
CN212090147U (en) A lower limb rehabilitation training device with multi-track motion mode
CN209137240U (en) A kind of medical rehabilitation human body Walking device
CN202605084U (en) Self-service ankle function rehabilitation brace
CN204637442U (en) A kind of lower limb fitness equipment of front driving type
CN204501520U (en) A kind of ankle exerciser
CN212327293U (en) Lower limb exercising device for orthopedic nursing
CN117017713A (en) Multi-mode ankle joint rehabilitation training device
CN116763609A (en) Be used for recovered walking aid of using of orthopedics patient
CN209951710U (en) A bare pump motion device connected to the end of the bed
CN210674109U (en) Neurosurgery is with multi-functional recovered device of taking exercise
CN219001037U (en) Ankle joint rehabilitation device
CN221286029U (en) Correcting device for preventing foot drop of cerebral hemorrhage patient
CN220676350U (en) Thigh muscle group stretching device with automatic lifting function
CN222383648U (en) A decompression type rehabilitation electric exerciser
CN219148345U (en) Lower limb rehabilitation training device
CN219681587U (en) An angle-adjustable orthopedic rehabilitation exercise device
CN220110367U (en) Exercise assisting device for dorsum extension exercise

Legal Events

Date Code Title Description
PB01 Publication
PB01 Publication
SE01 Entry into force of request for substantive examination
SE01 Entry into force of request for substantive examination
CB03 Change of inventor or designer information
CB03 Change of inventor or designer information

Inventor after: Meng Jing

Inventor after: Liu Yu

Inventor after: Wang Jing

Inventor after: Yi Zijun

Inventor before: Yi Zijun

TA01 Transfer of patent application right
TA01 Transfer of patent application right

Effective date of registration: 20210407

Address after: Qingdao Municipal Hospital, No.1 Jiaozhou Road, Shibei District, Qingdao City, Shandong Province 266000

Applicant after: Qingdao Municipal Hospital (Qingdao Institute of clinical medicine, Qingdao Medical Imaging Center)

Address before: 450003 Jianye 90, Jianye Road, Zhongzhou Road, Jinshui District, Zhengzhou, Henan 1, 503

Applicant before: Yi Zijun

GR01 Patent grant
GR01 Patent grant
TR01 Transfer of patent right
TR01 Transfer of patent right

Effective date of registration: 20251023

Address after: 266000Shandong ProvinceQingdao CityChengyang DistrictZhengyang Road 166Building 68th FloorRoom 801201205

Patentee after: Qingdao Yuqirun Enterprise Operation Management Co.,Ltd.

Country or region after: China

Address before: Qingdao Municipal Hospital, No.1 Jiaozhou Road, Shibei District, Qingdao City, Shandong Province 266000

Patentee before: Qingdao Municipal Hospital (Qingdao Institute of clinical medicine, Qingdao Medical Imaging Center)

Country or region before: China