CN107671879B - Multifunctional furnace frame robot clamp - Google Patents
Multifunctional furnace frame robot clamp Download PDFInfo
- Publication number
- CN107671879B CN107671879B CN201711126557.XA CN201711126557A CN107671879B CN 107671879 B CN107671879 B CN 107671879B CN 201711126557 A CN201711126557 A CN 201711126557A CN 107671879 B CN107671879 B CN 107671879B
- Authority
- CN
- China
- Prior art keywords
- clamping
- cylinder
- glue column
- frame
- blocks
- Prior art date
- Legal status (The legal status is an assumption and is not a legal conclusion. Google has not performed a legal analysis and makes no representation as to the accuracy of the status listed.)
- Expired - Fee Related
Links
- 239000003292 glue Substances 0.000 claims abstract description 45
- 210000000078 claw Anatomy 0.000 claims abstract description 24
- 238000003825 pressing Methods 0.000 claims description 3
- 230000000712 assembly Effects 0.000 claims 2
- 238000000429 assembly Methods 0.000 claims 2
- 239000000047 product Substances 0.000 description 7
- 238000000034 method Methods 0.000 description 3
- 238000010586 diagram Methods 0.000 description 2
- 238000004519 manufacturing process Methods 0.000 description 2
- 230000007812 deficiency Effects 0.000 description 1
- 230000000694 effects Effects 0.000 description 1
- 239000012467 final product Substances 0.000 description 1
- 230000007774 longterm Effects 0.000 description 1
- 239000004033 plastic Substances 0.000 description 1
- 239000004065 semiconductor Substances 0.000 description 1
Images
Classifications
-
- B—PERFORMING OPERATIONS; TRANSPORTING
- B25—HAND TOOLS; PORTABLE POWER-DRIVEN TOOLS; MANIPULATORS
- B25J—MANIPULATORS; CHAMBERS PROVIDED WITH MANIPULATION DEVICES
- B25J15/00—Gripping heads and other end effectors
- B25J15/02—Gripping heads and other end effectors servo-actuated
-
- B—PERFORMING OPERATIONS; TRANSPORTING
- B25—HAND TOOLS; PORTABLE POWER-DRIVEN TOOLS; MANIPULATORS
- B25J—MANIPULATORS; CHAMBERS PROVIDED WITH MANIPULATION DEVICES
- B25J15/00—Gripping heads and other end effectors
- B25J15/0052—Gripping heads and other end effectors multiple gripper units or multiple end effectors
Landscapes
- Engineering & Computer Science (AREA)
- Robotics (AREA)
- Mechanical Engineering (AREA)
- Manipulator (AREA)
- Coating Apparatus (AREA)
Abstract
一种多功能炉架机器人夹具,包括夹具框架,该夹具框架上设置有用于连接机器人的法兰;夹具框架上设置有用于夹持上炉架和下炉架的炉架夹持机构,及用于夹持胶柱的胶柱夹持机构;炉架夹持机构包括第一夹持气缸和夹持爪,夹持爪设置两个以上且分布于夹持工位两侧,第一夹持气缸设置一个以上且至少驱动一夹持爪往复运动,使两侧的夹持爪相互靠近或远离;胶柱夹持机构设置于夹持工位内侧,其包括一组以上胶柱夹持组件,该胶柱夹持组件包括一第二夹持气缸和两夹持块,第二夹持气缸驱动一块或两块夹持块往复运动,以使两夹持块相互靠近或远离。本发明通过将炉架夹持机构和胶柱夹持机构整合于同一夹具上,使其可同时夹持上下炉架和胶柱。
A multifunctional hob robot fixture, comprising a jig frame, the jig frame is provided with a flange for connecting a robot; the jig frame is provided with a hob clamping mechanism for clamping an upper hob and a lower hob, and a The glue column clamping mechanism for clamping the glue column; the furnace rack clamping mechanism includes a first clamping cylinder and clamping claws, more than two clamping claws are arranged on both sides of the clamping station, and the first clamping cylinder More than one clamping claw is arranged and at least one clamping claw is driven to reciprocate, so that the clamping claw on both sides is close to or away from each other; the glue column clamping mechanism is arranged inside the clamping station, which includes more than one group of glue column clamping components, the The glue column clamping assembly includes a second clamping cylinder and two clamping blocks. The second clamping cylinder drives one or two clamping blocks to reciprocate, so as to make the two clamping blocks approach or move away from each other. The invention integrates the furnace frame clamping mechanism and the glue column clamping mechanism on the same fixture, so that the upper and lower furnace frames and the glue column can be simultaneously clamped.
Description
技术领域technical field
本发明涉及一种机器人夹具,特别涉及一种多功能炉架机器人夹具。The invention relates to a robot jig, in particular to a multifunctional hob robot jig.
背景技术Background technique
目前元器件半导体的冲压生产流程包括:1.由人工把下炉架放到排片机上,排片机把产品按照冲压的工艺排布好;2.人工把上炉架放到排片机上与下炉架吻合一起,把产品稳稳夹在里面;3.利用拍好的定位架将胶柱放到已经排好的胶柱机中,确保胶柱放好后,把定位架拿出,启动冲压机工作;4.冲压完成后再把上下炉架带产品一起放到去胶机上,进行去胶处理,以得到最终的成品。可见,整个过程中,都需要人工多次取放上炉架和定位架,这样的劳动程度大,复杂,很容易导致员工疲劳,还有可能会出现放错位置,导致产品不良,产品的生产速度慢,长期如此,会引起员工身体操劳过度,乃至致身体累垮,据报告显示,国内企业已出现年龄断层现象,随着国内的劳动力成本越来越高,就需要采用自动系统来取代人工来完成相关工作。因此,有必要做进一步改进。At present, the stamping production process of component semiconductors includes: 1. Manually put the lower grate on the chip arranger, and the chip layer arranges the products according to the stamping process; 2. Manually put the upper grate on the chip layer and the lower grate Fit the product together and clamp the product firmly inside; 3. Put the glue column into the already arranged glue column machine using the positioning frame that has been photographed, make sure that after the glue column is placed, take out the positioning frame and start the stamping machine. 4. After the stamping is completed, put the upper and lower furnace racks together with the products on the glue removal machine, and carry out the glue removal treatment to obtain the final product. It can be seen that in the whole process, it is necessary to manually pick and place the upper furnace rack and positioning rack for many times. This kind of labor is large and complicated, which can easily lead to employee fatigue, and may also be misplaced, resulting in poor products and product production. Slow, long-term, it will cause employees to overwork themselves, and even cause physical exhaustion. According to reports, domestic enterprises have experienced age gaps. With the increasing labor costs in China, it is necessary to use automatic systems to replace manual labor. to complete the work. Therefore, further improvement is necessary.
发明内容SUMMARY OF THE INVENTION
本发明的目的旨在提供一种结构简单合理、性能可靠、降低劳动强度、工作效率高、可同时夹取上下炉架和胶柱的多功能炉架机器人夹具,以克服现有技术中的不足之处。The purpose of the present invention is to provide a multifunctional hob robot fixture with simple and reasonable structure, reliable performance, reduced labor intensity, high work efficiency, and can simultaneously clamp the upper and lower hob and glue columns, so as to overcome the deficiencies in the prior art. place.
按此目的设计的一种多功能炉架机器人夹具,包括夹具框架,该夹具框架上设置有用于连接机器人的法兰,其特征在于:所述夹具框架上设置有用于夹持上炉架和下炉架的炉架夹持机构,及用于夹持胶柱的胶柱夹持机构;所述炉架夹持机构包括第一夹持气缸和夹持爪,夹持爪设置两个以上且分布于夹持工位两侧,第一夹持气缸设置一个以上且至少驱动一夹持爪往复运动,使两侧的夹持爪相互靠近或远离;所述胶柱夹持机构设置于夹持工位内侧,其包括一组以上胶柱夹持组件,该胶柱夹持组件包括一第二夹持气缸和两夹持块,第二夹持气缸驱动一块或两块夹持块往复运动,以使两夹持块相互靠近或远离。A multifunctional hob robot fixture designed for this purpose includes a jig frame on which a flange for connecting the robot is provided, and is characterized in that: the jig frame is provided with a jig for clamping the upper hob and the lower The oven rack clamping mechanism of the oven rack, and the glue column clamping mechanism for clamping the glue column; the oven rack clamping mechanism includes a first clamping cylinder and a clamping claw, and the clamping claw is provided with more than two and distributed On both sides of the clamping station, more than one first clamping cylinder is installed and at least one clamping claw is driven to reciprocate, so that the clamping claws on both sides are close to or away from each other; the glue column clamping mechanism is arranged on the clamping station. It includes more than one set of glue column clamping components, the glue column clamping components include a second clamping cylinder and two clamping blocks, the second clamping cylinder drives one or two clamping blocks to reciprocate, so as to Move the two clamping blocks closer to or away from each other.
所述夹具框架上设置有往复滑动的移动支架,炉架夹持机构和胶柱夹持机构分别设置于该移动支架上,并随移动支架相对夹具框架往复滑动,夹持工位位于移动支架下方。The fixture frame is provided with a reciprocating sliding movable bracket, and the furnace rack clamping mechanism and the glue column clamping mechanism are respectively arranged on the movable bracket, and slide back and forth relative to the fixture frame with the movable bracket, and the clamping station is located under the movable bracket. .
所述胶柱夹持组件还包括用于驱动第二夹持气缸升降运动的升降气缸,第一夹持气缸的缸体和升降气缸的缸体分别固定于移动支架上。The glue column clamping assembly further includes a lifting cylinder for driving the lifting movement of the second clamping cylinder, and the cylinder body of the first clamping cylinder and the cylinder body of the lifting cylinder are respectively fixed on the moving bracket.
所述夹具框架上设置有用于将上炉架按压于下炉架上的固定部件,该固定部件底部折弯并按压作用于上炉架上,夹持爪底部设有用于同时夹持上炉架和下炉架的夹持口。The fixture frame is provided with a fixing member for pressing the upper furnace frame on the lower furnace frame, the bottom of the fixing member is bent and pressed on the upper furnace frame, and the bottom of the clamping claw is provided with a clamping jaw for simultaneously clamping the upper furnace frame. and the clamping opening of the lower oven rack.
所述胶柱夹持组件中的两夹持块左右对称设置,且两夹持块上分别设有一个以上仿形夹口,两夹持块上相互对应的仿形夹口组合成用于夹持胶柱的夹持位。The two clamping blocks in the rubber column clamping assembly are arranged symmetrically on the left and right, and more than one profiling jaw is respectively provided on the two clamping blocks, and the profiling jaws corresponding to each other on the two clamping blocks are combined to form a clamp for clamping. Holds the gripping position of the glue column.
一第一夹持气缸与一夹持爪相互配套组合且设置偶数组,夹持工位两侧的夹持爪两两对称,各第一夹持气缸同时工作;所述胶柱夹持组件两两对称的设置偶数组,胶柱夹持组件中的第二夹持气缸同时驱动两夹持块往复运动。A first clamping cylinder and a clamping claws are combined with each other and are provided with even groups. The clamping claws on both sides of the clamping station are symmetrical in pairs, and the first clamping cylinders work simultaneously; Two even groups are arranged symmetrically, and the second clamping cylinder in the glue column clamping assembly drives the two clamping blocks to reciprocate at the same time.
本发明通过将炉架夹持机构和胶柱夹持机构整合于同一夹具上,使其可同时夹持上下炉架和胶柱,无需人工参与工作,大大降低了工人的劳动强度,而且工作效率大大提升,工件的上料位置精准,使用安全性高;使用本夹具后,可实现一人看管多台设备设置无人看管的效果,大大降低了人工成本。The invention integrates the furnace frame clamping mechanism and the glue column clamping mechanism on the same fixture, so that the upper and lower furnace frames and the glue column can be clamped at the same time, without manual participation in the work, greatly reducing the labor intensity of workers, and working efficiency It is greatly improved, the workpiece feeding position is accurate, and the use safety is high; after using this fixture, it can achieve the effect of one person taking care of multiple equipment and setting up unattended, which greatly reduces labor costs.
附图说明Description of drawings
图1和图2分别为本发明一实施例不同方位的立体图。1 and 2 are perspective views of an embodiment of the present invention in different directions, respectively.
图3为本发明一实施例的主视图。FIG. 3 is a front view of an embodiment of the present invention.
图4为本发明一实施例的俯视图。FIG. 4 is a top view of an embodiment of the present invention.
图5和图6分别为本发明一实施例不同方位的工作状态示意图。FIG. 5 and FIG. 6 are respectively schematic diagrams of working states in different directions according to an embodiment of the present invention.
图7为本发明一实施例中工件的排布图。FIG. 7 is an arrangement diagram of workpieces in an embodiment of the present invention.
具体实施方式Detailed ways
下面结合附图及实施例对本发明作进一步描述。The present invention will be further described below with reference to the accompanying drawings and embodiments.
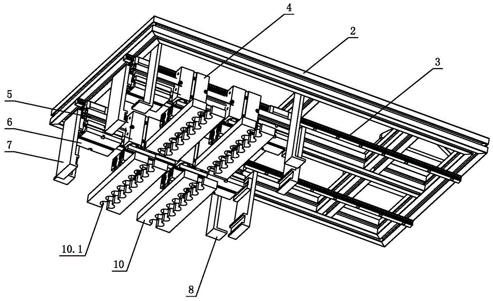
参见图1-图7,本多功能炉架机器人夹具,包括夹具框架2,该夹具框架2顶部一侧设置有用于连接机器人的法兰1;夹具框架2底部设置有用于夹持上炉架A1和下炉架A2的炉架夹持机构,及用于夹持胶柱A3的胶柱夹持机构;炉架夹持机构包括第一夹持气缸6和夹持爪7,一第一夹持气缸6与一夹持爪7相互配套组合且设置偶数组,夹持爪7分布于夹持工位b两侧且两两对称,各第一夹持气缸6同时驱动与其配套的夹持爪7往复运动,使两侧的夹持爪7相互靠近或远离,达到夹持或卸载上下炉架的目的;胶柱夹持机构设置于夹持工位b内侧,其包括四组胶柱夹持组件,各胶柱夹持组件包括一第二夹持气缸9和两夹持块10,第二夹持气缸9同时驱动两块夹持块10往复运动,以使两夹持块10相互靠近或远离,达到夹持或卸载胶柱A3的目的。本夹具能同时夹持上下炉架和胶柱A3,能取消工人的频繁工作,有效降低工人的劳动强度,工作效率提高,工作质量提升,另外,由于其自动化程度高,所以可实现一人看管多台设备,甚至无人看管,大大降低了人工成本,而且满足工业4.0的自动化要求。Referring to Fig. 1-Fig. 7, the multifunctional furnace rack robot fixture includes a
进一步说,夹具框架2底部设置有往复滑动的移动支架5,为提高滑动的顺畅性,夹具框架2与移动支架5之间设置有滑动导轨3和滑块,滑动导轨3固定于夹具框架2上,移动支架5固定于滑块上,滑块滑动在滑动导轨3上,使移动支架5相对夹具框架2的滑动顺畅可靠;炉架夹持机构和胶柱夹持机构分别设置于该移动支架5上,并随移动支架5相对夹具框架2往复滑动,夹持工位b位于移动支架5下方。移动支架5可驱动炉架夹持机构和胶柱夹持机构到达相应工件的上料位进行上料。Further, the bottom of the
进一步说,胶柱夹持组件还包括用于驱动第二夹持气缸9升降运动的升降气缸4,第一夹持气缸6的缸体和升降气缸4的缸体分别固定于移动支架5上,通过控制第二夹持气缸9升降运动,使夹持块10升降,以便运输和卸载胶柱A3。Further, the glue column clamping assembly also includes a
进一步说,夹具框架2底部向下延伸有用于将上炉架A1按压于下炉架A2上的固定部件8,确保上炉架A1紧密的压在下炉架A2上,进而使产品A4稳固的夹紧在上炉架A1与下炉架A2之间;该固定部件8底部折弯并按压作用于上炉架A1上,夹持爪7底部设有用于同时夹持上炉架A1和下炉架A2的夹持口7.1。Further, the bottom of the
进一步说,胶柱夹持组件中的两夹持块10左右对称设置,且两夹持块10上分别线性排布有八个仿形夹口10.1,两夹持块10上相互对应的仿形夹口10.1组合成用于夹持胶柱A3的夹持位,即各胶柱夹持组件可同时夹持八个胶柱A3。Further, the two
上述为本发明的优选方案,显示和描述了本发明的基本原理、主要特征和本发明的优点。本领域的技术人员应该了解本发明不受上述实施例的限制,上述实施例和说明书中描述的只是说明本发明的原理,在不脱离本发明精神和范围的前提下本发明还会有各种变化和改进,这些变化和改进都落入要求保护的本发明范围内。本发明要求保护范围由所附的权利要求书及其等同物界定。The above are preferred embodiments of the present invention, showing and describing the basic principles, main features and advantages of the present invention. Those skilled in the art should understand that the present invention is not limited by the above-mentioned embodiments. The above-mentioned embodiments and descriptions only illustrate the principle of the present invention. Without departing from the spirit and scope of the present invention, the present invention will have various Variations and improvements are intended to fall within the scope of the claimed invention. The claimed scope of the present invention is defined by the appended claims and their equivalents.
Claims (3)
Priority Applications (1)
| Application Number | Priority Date | Filing Date | Title |
|---|---|---|---|
| CN201711126557.XA CN107671879B (en) | 2017-11-15 | 2017-11-15 | Multifunctional furnace frame robot clamp |
Applications Claiming Priority (1)
| Application Number | Priority Date | Filing Date | Title |
|---|---|---|---|
| CN201711126557.XA CN107671879B (en) | 2017-11-15 | 2017-11-15 | Multifunctional furnace frame robot clamp |
Publications (2)
| Publication Number | Publication Date |
|---|---|
| CN107671879A CN107671879A (en) | 2018-02-09 |
| CN107671879B true CN107671879B (en) | 2020-02-11 |
Family
ID=61149016
Family Applications (1)
| Application Number | Title | Priority Date | Filing Date |
|---|---|---|---|
| CN201711126557.XA Expired - Fee Related CN107671879B (en) | 2017-11-15 | 2017-11-15 | Multifunctional furnace frame robot clamp |
Country Status (1)
| Country | Link |
|---|---|
| CN (1) | CN107671879B (en) |
Families Citing this family (3)
| Publication number | Priority date | Publication date | Assignee | Title |
|---|---|---|---|---|
| CN112060122A (en) * | 2020-08-31 | 2020-12-11 | 西安精雕精密机械工程有限公司 | Integrated pneumatic double-claw bar grabbing mechanism |
| CN112079118B (en) * | 2020-09-22 | 2022-09-23 | 西安工程大学 | A fuse automatic sand filling and loading and unloading device |
| CN115092433B (en) * | 2022-06-13 | 2023-07-28 | 杭州高田生物医药有限公司 | Penicillin bottle sterile clamping device, system and method |
Family Cites Families (7)
| Publication number | Priority date | Publication date | Assignee | Title |
|---|---|---|---|---|
| JPH0999457A (en) * | 1995-10-06 | 1997-04-15 | Kanto Auto Works Ltd | Injection molding taking-out machine |
| CN201371545Y (en) * | 2009-03-18 | 2009-12-30 | 吴邦文 | Automatic feeding-gripping device of head injection machine |
| CN203956918U (en) * | 2014-06-27 | 2014-11-26 | 上海朗煜电子科技有限公司 | For the robotic arm grasping mechanism of visual identity grabbing device |
| CN204604726U (en) * | 2015-04-30 | 2015-09-02 | 苏州千裕电子科技有限公司 | A kind of manipulator splitlevel fixture |
| CN105252542A (en) * | 2015-10-30 | 2016-01-20 | 无锡大东机械制造有限公司 | Double-position adjustable robot palletizer clamp |
| CN105600429B (en) * | 2016-03-04 | 2018-04-24 | 宁夏机械研究院股份有限公司 | It is multi-functional to grab reclaimer robot |
| CN206383402U (en) * | 2016-12-28 | 2017-08-08 | 深圳华数机器人有限公司 | A kind of workpiece quick fetching fixture for injection machine |
-
2017
- 2017-11-15 CN CN201711126557.XA patent/CN107671879B/en not_active Expired - Fee Related
Also Published As
| Publication number | Publication date |
|---|---|
| CN107671879A (en) | 2018-02-09 |
Similar Documents
| Publication | Publication Date | Title |
|---|---|---|
| CN111792351B (en) | Automatic test equipment for wireless module | |
| CN204818670U (en) | Automatic locking screw machine | |
| CN106057524B (en) | The turntable unit of travel switch kludge | |
| CN205751858U (en) | A magnetic ring transmission device for an automatic winding machine | |
| CN107671879B (en) | Multifunctional furnace frame robot clamp | |
| CN204450006U (en) | A kind of automation clamping device of convenient processing regular workpiece | |
| CN102699225A (en) | Loading and unloading manipulator for machining aluminum frame assembly | |
| CN109531138A (en) | A kind of automatic bead equipment of stainless steel watch band part and automatic beads stringing method | |
| CN105819221B (en) | A kind of air-conditioning collet automates offline system | |
| CN210703427U (en) | A glass pressing tool | |
| CN104708306A (en) | Engine belt tightening pulley press fitting machine | |
| CN109823827B (en) | Winding wire feeding and discharging device | |
| CN205238063U (en) | Mirror foot snatchs anchor clamps | |
| CN208162378U (en) | A kind of automatic stamping equipment | |
| CN205764557U (en) | A kind of weld jig combines robot automatic welding production line | |
| CN206544140U (en) | Card article mounting tool under a kind of glass | |
| CN211569371U (en) | Sensor bearing loading attachment | |
| CN216234782U (en) | An automatic transport mechanism for camshafts | |
| CN211332460U (en) | Automatic clamping jaw of wood chisel | |
| CN107738398B (en) | Manipulator clamp for upper and lower pieces of edge-covered glass | |
| CN203804546U (en) | Robot for assembling vehicle cover automatically | |
| CN109590799A (en) | A kind of automatic feeding and feeding method | |
| CN216190952U (en) | An automatic capping machine | |
| CN202846732U (en) | Clamping and locating mechanism for carrier structure based on silicon wafer machining | |
| CN209140259U (en) | A kind of pneumatic riveting device |
Legal Events
| Date | Code | Title | Description |
|---|---|---|---|
| PB01 | Publication | ||
| PB01 | Publication | ||
| SE01 | Entry into force of request for substantive examination | ||
| SE01 | Entry into force of request for substantive examination | ||
| GR01 | Patent grant | ||
| GR01 | Patent grant | ||
| CF01 | Termination of patent right due to non-payment of annual fee |
Granted publication date: 20200211 |
|
| CF01 | Termination of patent right due to non-payment of annual fee |
