CN102954236A - 一种基于高密封性阀瓣的截止阀 - Google Patents
一种基于高密封性阀瓣的截止阀 Download PDFInfo
- Publication number
- CN102954236A CN102954236A CN 201110243306 CN201110243306A CN102954236A CN 102954236 A CN102954236 A CN 102954236A CN 201110243306 CN201110243306 CN 201110243306 CN 201110243306 A CN201110243306 A CN 201110243306A CN 102954236 A CN102954236 A CN 102954236A
- Authority
- CN
- China
- Prior art keywords
- valve
- flap
- underpart
- end portion
- clack
- Prior art date
- Legal status (The legal status is an assumption and is not a legal conclusion. Google has not performed a legal analysis and makes no representation as to the accuracy of the status listed.)
- Pending
Links
- 210000004907 gland Anatomy 0.000 claims abstract description 8
- 238000007789 sealing Methods 0.000 description 8
- 230000002950 deficient Effects 0.000 description 2
- 230000006835 compression Effects 0.000 description 1
- 238000007906 compression Methods 0.000 description 1
- 230000000694 effects Effects 0.000 description 1
- 238000000034 method Methods 0.000 description 1
- 238000012856 packing Methods 0.000 description 1
Images
Landscapes
- Lift Valve (AREA)
Abstract
本发明涉及一种基于高密封性阀瓣的截止阀,包括阀体、阀瓣、阀瓣压盖、阀杆和阀盖,所述的阀瓣设在阀体和阀杆之间,所述的阀瓣压盖设在阀瓣上,所述的阀体与阀盖连接,所述的阀瓣包括上端部和下端部,所述的上端部设有圆柱形凹槽,所述的阀杆嵌入圆柱形凹槽内,所述的下端部包括内侧下端部和外侧下端部,所述的内侧下端部与外侧下端部之间设有环形凹槽。与现有技术相比,本发明具有关闭力矩小、操作轻便、密封可靠、使用安全等优点。
Description
技术领域
本发明涉及一种截止阀,尤其是涉及一种基于高密封性阀瓣的截止阀。
背景技术
目前截止阀阀瓣的密封面有平面密封,球面密封和锥面密封三种形式。其中最常用的是锥面密封形式,如图1所示。但这种截止阀阀瓣密封形式在阀门关闭时要克服阀瓣所受到的整个平面的介质反压力,故使阀门的关闭力矩较大。其关闭力矩与阀门的口径大小和介质的压力高低成正比。也就是说阀门的口径越大,介质压力越高,则阀门的关闭力矩就越大。因此,特别是对大口径(≥8”)或高压力(≥600LB)的截止阀存在着不易关紧而导致密封性能不可靠的缺陷。
发明内容
本发明的目的就是为了克服上述现有技术存在的缺陷而提供一种关闭力矩小、操作轻便、密封可靠、使用安全的基于高密封性阀瓣的截止阀。
本发明的目的可以通过以下技术方案来实现:
一种基于高密封性阀瓣的截止阀,包括阀体、阀瓣、阀瓣压盖、阀杆和阀盖,所述的阀瓣设在阀体和阀杆之间,所述的阀瓣压盖设在阀瓣上,所述的阀体与阀盖连接,其特征在于,所述的阀瓣包括上端部和下端部,所述的上端部设有圆柱形凹槽,所述的阀杆嵌入圆柱形凹槽内,所述的下端部包括内侧下端部和外侧下端部,所述的内侧下端部与外侧下端部之间设有环形凹槽。
所述的内侧下端部的纵截面呈圆弧形结构。
所述的外侧下端部与阀体连接处设有密封圈。
与现有技术相比,本发明具有以下优点:
1)克服了大口径和高压力截止阀现存在的关不紧、易泄漏、密封不可靠等缺点;
2)减小了阀门关闭力矩,操作轻便,可避免使用原为增大关闭力矩的撞击式手轮;当采用电动或气动自控执行机构时,可节约能源;
3)密封可靠,使用安全。
附图说明
图1为现有的截止阀的结构示意图;
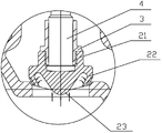
图2为本发明的结构示意图;
图3为本发明的阀瓣的结构示意图。
具体实施方式
下面结合附图和具体实施例对本发明进行详细说明。
实施例
如图2、3所示,一种基于高密封性阀瓣的截止阀,包括阀体1、阀瓣2、阀瓣压盖3、阀杆4和阀盖5,所述的阀瓣2设在阀体1和阀杆4之间,所述的阀瓣压盖3设在阀瓣2上,所述的阀体1与阀盖5连接,所述的阀瓣2包括上端部21和下端部,所述的上端部设有圆柱形凹槽,所述的阀杆4嵌入圆柱形凹槽内,所述的下端部包括内侧下端部23和外侧下端部22,所述的内侧下端部23与外侧下端部22之间设有环形凹槽。所述的内侧下端部23的纵截面呈圆弧形结构。所述的外侧下端部22与阀体连接处设有密封圈。
由于改变了阀瓣受力面的形状,以使阀瓣的受力情况有了明显的改变,既减小了受压面积,又可形成正向力使阀瓣与阀座密封面间的密封力增加,同时还具有弹性密封性能补偿作用,从而提高了密封性能,确保了阀门使用的安全性。
截止阀阀瓣形状改进后,其受力情况得到了改变和具有了如同闸阀采用弹性闸板一样的密封性能补偿作用,从而使阀门的关闭力矩减小,能节约人力和能源,密封性能提高和使用安全可靠。
Claims (3)
1.一种基于高密封性阀瓣的截止阀,包括阀体、阀瓣、阀瓣压盖、阀杆和阀盖,所述的阀瓣设在阀体和阀杆之间,所述的阀瓣压盖设在阀瓣上,所述的阀体与阀盖连接,其特征在于,所述的阀瓣包括上端部和下端部,所述的上端部设有圆柱形凹槽,所述的阀杆嵌入圆柱形凹槽内,所述的下端部包括内侧下端部和外侧下端部,所述的内侧下端部与外侧下端部之间设有环形凹槽。
2.根据权利要求1所述的一种基于高密封性阀瓣的截止阀,其特征在于,所述的内侧下端部的纵截面呈圆弧形结构。
3.根据权利要求1所述的一种基于高密封性阀瓣的截止阀,其特征在于,所述的外侧下端部与阀体连接处设有密封圈。
Priority Applications (1)
| Application Number | Priority Date | Filing Date | Title |
|---|---|---|---|
| CN 201110243306 CN102954236A (zh) | 2011-08-23 | 2011-08-23 | 一种基于高密封性阀瓣的截止阀 |
Applications Claiming Priority (1)
| Application Number | Priority Date | Filing Date | Title |
|---|---|---|---|
| CN 201110243306 CN102954236A (zh) | 2011-08-23 | 2011-08-23 | 一种基于高密封性阀瓣的截止阀 |
Publications (1)
| Publication Number | Publication Date |
|---|---|
| CN102954236A true CN102954236A (zh) | 2013-03-06 |
Family
ID=47763435
Family Applications (1)
| Application Number | Title | Priority Date | Filing Date |
|---|---|---|---|
| CN 201110243306 Pending CN102954236A (zh) | 2011-08-23 | 2011-08-23 | 一种基于高密封性阀瓣的截止阀 |
Country Status (1)
| Country | Link |
|---|---|
| CN (1) | CN102954236A (zh) |
Cited By (3)
| Publication number | Priority date | Publication date | Assignee | Title |
|---|---|---|---|---|
| CN103322219A (zh) * | 2013-07-05 | 2013-09-25 | 昆山维萨阀门有限公司 | 一种防止阀瓣旋转的截止阀 |
| CN108692038A (zh) * | 2018-05-28 | 2018-10-23 | 张家港富瑞阀门有限公司 | 一种新型超低温截止阀及其作业方法 |
| CN109812588A (zh) * | 2017-11-22 | 2019-05-28 | 中核苏阀科技实业股份有限公司 | 一种截止阀用弹性锥面阀座密封结构 |
-
2011
- 2011-08-23 CN CN 201110243306 patent/CN102954236A/zh active Pending
Cited By (3)
| Publication number | Priority date | Publication date | Assignee | Title |
|---|---|---|---|---|
| CN103322219A (zh) * | 2013-07-05 | 2013-09-25 | 昆山维萨阀门有限公司 | 一种防止阀瓣旋转的截止阀 |
| CN109812588A (zh) * | 2017-11-22 | 2019-05-28 | 中核苏阀科技实业股份有限公司 | 一种截止阀用弹性锥面阀座密封结构 |
| CN108692038A (zh) * | 2018-05-28 | 2018-10-23 | 张家港富瑞阀门有限公司 | 一种新型超低温截止阀及其作业方法 |
Similar Documents
| Publication | Publication Date | Title |
|---|---|---|
| CN204692633U (zh) | 一种阀以及一种密封环组件 | |
| CN102954236A (zh) | 一种基于高密封性阀瓣的截止阀 | |
| CN108167455A (zh) | 一种采用橡胶阀座结构的双向密封蝶阀 | |
| CN204300410U (zh) | 高压压力平衡式旋塞阀 | |
| CN215214901U (zh) | 一种定压截止止回阀 | |
| CN204127530U (zh) | 一种法兰密封装置 | |
| CN207975268U (zh) | 采用橡胶阀座结构的双向密封蝶阀 | |
| CN203009850U (zh) | 防外漏阀门 | |
| CN204692714U (zh) | 磁耦合多回转阀门 | |
| CN201705985U (zh) | 一种金属硬密封浮动球阀 | |
| CN202252040U (zh) | 带新型阀瓣的截止阀 | |
| CN202561109U (zh) | 一种v型球阀 | |
| CN206361248U (zh) | 一种球阀阀杆填料压力自密封结构 | |
| CN209213029U (zh) | 一种防锁死截止阀 | |
| CN204692713U (zh) | 磁耦合直角回转阀门 | |
| CN101806375B (zh) | 一种阀杆密封结构 | |
| CN203857072U (zh) | 一种低扭矩浮动球球阀 | |
| CN201354869Y (zh) | 一种密封面衬胶止回阀 | |
| CN108869780B (zh) | 一种整体式双堵塞双排放球阀 | |
| CN207161751U (zh) | 一种多重密封的可调式旋塞阀 | |
| CN202851994U (zh) | 一种截止阀 | |
| CN207298045U (zh) | 低扭矩截止阀 | |
| CN221348165U (zh) | 一种弹性体连续密封阀门 | |
| CN102979929A (zh) | 一种强制密封球阀 | |
| CN203421204U (zh) | 一种密封调节球阀 |
Legal Events
| Date | Code | Title | Description |
|---|---|---|---|
| C06 | Publication | ||
| PB01 | Publication | ||
| C02 | Deemed withdrawal of patent application after publication (patent law 2001) | ||
| WD01 | Invention patent application deemed withdrawn after publication |
Application publication date: 20130306 |