CN102296552B - Drum-type guardrail end safety handling device and application thereof in express way - Google Patents

Drum-type guardrail end safety handling device and application thereof in express way Download PDF

Info

Publication number
CN102296552B
CN102296552B CN 201110153991 CN201110153991A CN102296552B CN 102296552 B CN102296552 B CN 102296552B CN 201110153991 CN201110153991 CN 201110153991 CN 201110153991 A CN201110153991 A CN 201110153991A CN 102296552 B CN102296552 B CN 102296552B
Authority
CN
China
Prior art keywords
drum
lower transverse
processing device
cylinder
secure processing
Prior art date
Legal status (The legal status is an assumption and is not a legal conclusion. Google has not performed a legal analysis and makes no representation as to the accuracy of the status listed.)
Expired - Fee Related
Application number
CN 201110153991
Other languages
Chinese (zh)
Other versions
CN102296552A (en
Inventor
张绍理
高水德
钱桂生
张�浩
王宏丹
陈慧
姚常青
王益川
Current Assignee (The listed assignees may be inaccurate. Google has not performed a legal analysis and makes no representation or warranty as to the accuracy of the list.)
Beijing Shenghuada Engineering Detection Co., Ltd.
Original Assignee
Beijing Shenghuada Engineering Detection Co Ltd
Priority date (The priority date is an assumption and is not a legal conclusion. Google has not performed a legal analysis and makes no representation as to the accuracy of the date listed.)
Filing date
Publication date
Application filed by Beijing Shenghuada Engineering Detection Co Ltd filed Critical Beijing Shenghuada Engineering Detection Co Ltd
Priority to CN 201110153991 priority Critical patent/CN102296552B/en
Publication of CN102296552A publication Critical patent/CN102296552A/en
Application granted granted Critical
Publication of CN102296552B publication Critical patent/CN102296552B/en
Expired - Fee Related legal-status Critical Current
Anticipated expiration legal-status Critical

Links

Images

Landscapes

  • Refuge Islands, Traffic Blockers, Or Guard Fence (AREA)

Abstract

The invention relates to a drum-type guardrail end safety handling device comprising a fixed frame, wherein the fixed frame is provided with a first drum, two second drums and two third drums; the first drum is positioned at the right front end of the fixed frame; the two second drums are respectively positioned at the two sides of the first drum; the two third drums are respectively positioned at the two sides of the first drum and below the second drums; and the two sides of the rear end of the fixed frame are respectively connected with a guide plate. The drum-type guardrail end safety handling device is arranged at the two sides of a central separating strip opening, a central separating strip guardrail and an anticollision movable guardrail of a central separating strip can be smoothly and effectively connected together; and the drums are arranged, so that tripping points are eliminated, and simultaneously, the damage degree of guardrail ends on the accident vehicles is also reduced, thus the safety of passengers in the vehicles can be furthest protected.

Description

Drum-type guardrail end secure processing device and the application on speedway thereof
Technical field
The present invention relates to a kind of end of guardrail secure processing device that is applied in the Expressway Central Strip opening part, relate in particular to a kind of drum-type guardrail end secure processing device.
Background technology
At present; on China's speedway; every two kilometers to four kilometers, a median opening just must be set; each opening must arrange a cover anti-collision movable guardrail; and specially treated is not done in the fixedly termination of existing anti-collision movable guardrail, has the hidden danger that stops accident vehicle, when accident vehicle slides to fixed end along movable rail; the resistance of often stumbling causes vehicle all standing or tuning and serious traffic accident occurs.
Summary of the invention
The deficiency that the specially treated meeting causes severe traffic accidents is not made in the fixedly termination that the present invention is directed to existing anti-collision movable guardrail, and a kind of drum-type guardrail end secure processing device is provided.
The technical scheme that the present invention solves the problems of the technologies described above is as follows: a kind of drum-type guardrail end secure processing device comprises fixed mount, the first cylinder, two second tin rollers and two the 3rd cylinders are installed on described fixed mount, described the first cylinder is positioned at the positive front end place of fixed mount, described two second tin rollers lay respectively at the both sides of the first cylinder, described two the 3rd cylinders lay respectively at the both sides of the first cylinder, described the 3rd cylinder is positioned at the below of second tin roller, and the both sides of described fixed mount rear end respectively are connected with a guide strip.
On the basis of technique scheme, the present invention can also do following improvement.
further, described fixed mount is by five root posts, two the first top rails, two the first middle cross beams, two the first lower transverse beams, two the second top rails, two the second lower transverse beams, two the 3rd lower transverse beams and two fixed heads are welded, described four root posts form cuboid, in this four root post, any root post is by the first top rail, the first middle cross beam and the first lower transverse beam another root post of being adjacent of three crossbeams altogether weld together, simultaneously by the second top rail and the second lower transverse beam altogether the another root post that is adjacent of two crossbeams weld together, the 5th root post is positioned at the dead ahead of cuboid, and welds together by two columns that the 3rd lower transverse beam is adjacent respectively, a described fixed head is welded on the top of the 5th root post and second lower transverse beam, and the another one fixed head is welded on the bottom that is positioned at the second top rail on this root second lower transverse beam.
Further, described the first top rail depth of beam is identical with the second top rail depth of beam, and described the first lower transverse beam is identical with the second bottom rail depth of beam.
Further, described the first cylinder is arranged between two fixed heads, and is fastened on two fixed heads by the bearing pin that inserts on it, and between the second top rail and the second lower transverse beam; Described two second tin rollers are arranged on respectively on two columns adjacent with the 5th root post, and and column between be rotationally connected, and between the first top rail and the first middle cross beam; Described two the 3rd cylinders are arranged on respectively on two columns adjacent with the 5th root post, and and column between be rotationally connected, and between the first middle cross beam and the first lower transverse beam.
Further, the both sides of described the first cylinder have steel pipe, and described steel pipe is welded on respectively in the first top rail, the first middle cross beam and the first lower transverse beam on any one or a plurality of crossbeam.
Further, have a circle groove on described the first cylinder, the height of described groove is identical with the height of the first middle cross beam, is used for that the movable rail steel pipe was worn groove and is bolted at the first middle cross beam.
The present invention also provides a kind of technical scheme that solves the problems of the technologies described above as follows: the application of a kind of drum-type guardrail end secure processing device on speedway, concrete, to be applied in the Expressway Central Strip opening part, comprise cross beam type median strip anti-collision movable guardrail, the two ends of described cross beam type median strip anti-collision movable guardrail respectively are connected with an above-mentioned drum-type guardrail end secure processing device, and described cross beam type median strip anti-collision movable guardrail is fixed on the Expressway Central Strip opening part by nut.
Further, the crossbeam of described median strip anti-collision movable guardrail is plugged in the steel pipe of drum-type guardrail end secure processing device, and the quantity of described crossbeam and the quantity of steel pipe equate.
Further, in smoothing junction between the guide strip of described drum-type guardrail end secure processing device and Expressway Central Strip standard paragraphs corrugated guardrail.
The invention has the beneficial effects as follows: drum-type guardrail end secure processing device of the present invention is arranged on median opening two ends; median barrier and median strip anti-collision movable guardrail smoothly can be engaged togather effectively; by cylinder is set; when the resistance point is stumbled in elimination; also reduce the damaged condition of end of guardrail for accident vehicle, thereby protected to greatest extent passenger's safety.
Description of drawings
Fig. 1 is the structural representation that drum-type guardrail end secure processing device of the present invention is not installed the first cylinder and guide strip;
Fig. 2 is the front view of drum-type guardrail end secure processing device of the present invention;
Fig. 3 is the top view of drum-type guardrail end secure processing device of the present invention;
Fig. 4 is the structural representation of the present invention's the first cylinder;
Fig. 5 is the structural representation of second tin roller of the present invention;
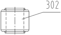
Fig. 6 is the structural representation of the present invention's the 3rd cylinder;
Fig. 7 is the structural representation of bearing pin of the present invention;
Fig. 8 is the front view of guide strip of the present invention;
Fig. 9 is the top view of guide strip of the present invention;
Figure 10 is the front view that drum-type guardrail end secure processing device of the present invention is applied in the Expressway Central Strip opening part;
Figure 11 is the top view that drum-type guardrail end secure processing device of the present invention is applied in the Expressway Central Strip opening part.
The specific embodiment
Below in conjunction with accompanying drawing, principle of the present invention and feature are described, example only is used for explaining the present invention, is not be used to limiting scope of the present invention.
As shown in Fig. 1 to 9, described drum-type guardrail end secure processing device comprises fixed mount 101, the first cylinder 102, two second tin rollers 301 and two the 3rd cylinders 302 are installed on described fixed mount 101, described the first cylinder 102 is positioned at the positive front end place of fixed mount 101, described two second tin rollers 301 lay respectively at the both sides of the first cylinder 102, described two the 3rd cylinders 302 lay respectively at the both sides of the first cylinder 102, described the 3rd cylinder 302 is positioned at the below of second tin roller 301, and the both sides of described fixed mount 101 rear ends respectively are connected with a guide strip 202.Described fixed mount is welded by five root posts, two the first top rails, two the first middle cross beams, two the first lower transverse beams, two the second top rails, two the second lower transverse beams, two the 3rd lower transverse beams and two fixed heads, described four root posts form cuboid, in this four root post any root post by the first top rail, the first middle cross beam and the first lower transverse beam altogether another root post of being adjacent of three crossbeams weld together, simultaneously by the second top rail and the second lower transverse beam altogether the another root post that is adjacent of two crossbeams weld together; The 5th root post is positioned at the dead ahead of cuboid, and welds together by two columns that the 3rd lower transverse beam is adjacent respectively; A described fixed head is welded on the top of the 5th root post and second lower transverse beam, and the another one fixed head is welded on the bottom that is positioned at the second top rail on this root second lower transverse beam.Described the first top rail depth of beam is identical with the second top rail depth of beam, and described the first lower transverse beam is identical with the second bottom rail depth of beam.Described the first cylinder is arranged between two fixed heads, and is fastened on two fixed heads with bolt, packing ring by the bearing pin that inserts on it again, and between the second top rail and the second lower transverse beam; Described two second tin rollers are arranged on respectively on two columns adjacent with the 5th root post, and and column between be rotationally connected and can freely rotate around this column, and between the first top rail and the first middle cross beam; Described two the 3rd cylinders are arranged on respectively on two columns adjacent with the 5th root post, and and column between be rotationally connected and can freely rotate around this column, and between the first middle cross beam and the first lower transverse beam.The both sides of described the first cylinder have steel pipe, and described steel pipe is welded on respectively in the first top rail, the first middle cross beam and the first lower transverse beam on any one or a plurality of crossbeam.Have a circle groove on described the first cylinder, the height of described groove is identical with the height of the first middle cross beam, is used for that the movable rail steel pipe was worn groove and is bolted at the first middle cross beam.
This device afterbody is connected with median barrier, and the front portion can be connected with the opening part movable rail.When errant vehicle and drum-type guardrail end secure processing device generation side collision of the present invention, can be smoothly vehicle be derived, level and smooth is transitioned on the median barrier standard paragraphs, the generation of the resistance phenomenon of avoiding stumbling, thereby reduce the degree of injury of vehicle, alleviate passenger's injury.
As shown in FIG. 10 and 11, the structure that described drum-type guardrail end secure processing device is applied in the Expressway Central Strip opening part comprises cross beam type median strip anti-collision movable guardrail 401, the two ends of described cross beam type median strip anti-collision movable guardrail 401 respectively are connected with an above-mentioned drum-type guardrail end secure processing device, and described cross beam type median strip anti-collision movable guardrail 401 is fixed on the Expressway Central Strip opening part by nut 402.The crossbeam of described median strip anti-collision movable guardrail 401 is plugged in the steel pipe of drum-type guardrail end secure processing device, and the quantity of described crossbeam and the quantity of steel pipe equate.The guide strip of described drum-type guardrail end secure processing device and Expressway Central Strip standard paragraphs corrugated guardrail are in smoothing junction.
drum-type guardrail end secure processing device of the present invention is guaranteeing to have enough tensile strength, movable rail is opened convenient, simple to operate, under the prerequisite such as handsome in appearance, also has certain guide function, movable rail is installed convenient and swift on the drum-type guardrail end secure processing device, can make movable rail and fixedly the termination seamlessly transit, when errant vehicle and movable rail bump, vehicle can very successfully be smoothly transitted into fixed end from movable rail, be directed to median barrier by rebound again, avoid movable rail to fracture because contact area is little, cause the damage of movable rail.After median opening was opened because of needs, the cylinder of drum-type guardrail end secure processing device can play the effect of guiding, avoided errant vehicle generation major accident, alleviated the injured degree of automotive occupant.
The above is only preferred embodiment of the present invention, and is in order to limit the present invention, within the spirit and principles in the present invention not all, any modification of doing, is equal to replacement, improvement etc., within all should being included in protection scope of the present invention.

Claims (6)

1. drum-type guardrail end secure processing device, it is characterized in that, comprise fixed mount, the first cylinder, two second tin rollers and two the 3rd cylinders are installed on described fixed mount, described the first cylinder is positioned at the positive front end place of fixed mount, and described two second tin rollers lay respectively at the both sides of the first cylinder, and described two the 3rd cylinders lay respectively at the both sides of the first cylinder, described the 3rd cylinder is positioned at the below of second tin roller, and the both sides of described fixed mount rear end respectively are connected with a guide strip; Described fixed mount is welded by five root posts, two the first top rails, two the first middle cross beams, two the first lower transverse beams, two the second top rails, two the second lower transverse beams, two the 3rd lower transverse beams and two fixed heads, four root posts form cuboid, in this four root post any root post by the first top rail, the first middle cross beam and the first lower transverse beam altogether another root post of being adjacent of three crossbeams weld together, simultaneously by the second top rail and the second lower transverse beam altogether the another root post that is adjacent of two crossbeams weld together; The 5th root post is positioned at the dead ahead of cuboid, and welds together by two columns that the 3rd lower transverse beam is adjacent respectively; A described fixed head is welded on the top of the 5th root post and the top of second lower transverse beam, and the another one fixed head is welded on the bottom that is positioned at the second top rail on this root second lower transverse beam; Described the first top rail depth of beam is identical with the second top rail depth of beam, and described the first lower transverse beam is identical with the second bottom rail depth of beam, and the height of described the 5th root post is concordant with the lower plane of the fixed head of the first cylinder below; Described the first cylinder is arranged between two fixed heads, and is fastened on two fixed heads by the bearing pin that inserts on it, and between the second top rail and the second lower transverse beam; Described two second tin rollers are arranged on respectively on two columns adjacent with the 5th root post, and and column between be rotationally connected, and between the first top rail and the first middle cross beam; Described two the 3rd cylinders are arranged on respectively on two columns adjacent with the 5th root post, and and column between be rotationally connected, and between the first middle cross beam and the first lower transverse beam.
2. drum-type guardrail end secure processing device according to claim 1, it is characterized in that, the both sides of described the first cylinder have steel pipe, and described steel pipe is welded on respectively in the first top rail, the first middle cross beam and the first lower transverse beam on any one or a plurality of crossbeam.
3. drum-type guardrail end secure processing device according to claim 2, it is characterized in that, have a circle groove on described the first cylinder, the height of described groove is identical with the height of the first middle cross beam, is used for that the movable rail steel pipe was worn groove and is bolted at the first middle cross beam.
4. the application of drum-type guardrail end secure processing device on speedway, it is characterized in that, be applied in the Expressway Central Strip opening part, comprise cross beam type median strip anti-collision movable guardrail, the two ends of described cross beam type median strip anti-collision movable guardrail respectively are connected with a described drum-type guardrail end secure processing device as arbitrary in claims 1 to 3, and described cross beam type median strip anti-collision movable guardrail is fixed on the Expressway Central Strip opening part by nut.
5. the application of drum-type guardrail end secure processing device according to claim 4 on speedway, it is characterized in that, the crossbeam of described median strip anti-collision movable guardrail is plugged in the steel pipe of drum-type guardrail end secure processing device, and the quantity of described crossbeam and the quantity of steel pipe equate.
6. the application of drum-type guardrail end secure processing device according to claim 4 on speedway, it is characterized in that, in smoothing junction between the guide strip of described drum-type guardrail end secure processing device and Expressway Central Strip standard paragraphs corrugated guardrail.
CN 201110153991 2011-06-09 2011-06-09 Drum-type guardrail end safety handling device and application thereof in express way Expired - Fee Related CN102296552B (en)

Priority Applications (1)

Application Number Priority Date Filing Date Title
CN 201110153991 CN102296552B (en) 2011-06-09 2011-06-09 Drum-type guardrail end safety handling device and application thereof in express way

Applications Claiming Priority (1)

Application Number Priority Date Filing Date Title
CN 201110153991 CN102296552B (en) 2011-06-09 2011-06-09 Drum-type guardrail end safety handling device and application thereof in express way

Publications (2)

Publication Number Publication Date
CN102296552A CN102296552A (en) 2011-12-28
CN102296552B true CN102296552B (en) 2013-06-05

Family

ID=45357216

Family Applications (1)

Application Number Title Priority Date Filing Date
CN 201110153991 Expired - Fee Related CN102296552B (en) 2011-06-09 2011-06-09 Drum-type guardrail end safety handling device and application thereof in express way

Country Status (1)

Country Link
CN (1) CN102296552B (en)

Families Citing this family (2)

* Cited by examiner, † Cited by third party
Publication number Priority date Publication date Assignee Title
CN106335548A (en) * 2016-08-31 2017-01-18 芜湖常瑞汽车部件有限公司 Anti-collision buffer device capable of absorbing collision energy
CN106758991B (en) * 2017-02-24 2020-11-27 重庆大丰交通设施制造有限公司 Intercommunication subchannel anticollision barrier

Family Cites Families (6)

* Cited by examiner, † Cited by third party
Publication number Priority date Publication date Assignee Title
US7530548B2 (en) * 2004-07-19 2009-05-12 Ochoa Carlos M Releasable highway safety structures
US7883075B2 (en) * 2008-05-05 2011-02-08 The Texas A&M University System Tension guardrail terminal
CN201241319Y (en) * 2008-08-04 2009-05-20 河北中路安交通科技有限公司 Assembled prestress movable guard rail
KR20090127390A (en) * 2009-07-09 2009-12-11 (주) 금동강건 Road end facility with cushioning means
KR100981743B1 (en) * 2010-03-23 2010-09-13 의왕개발 주식회사 Vehicle retrun device of median strip for highway
CN201835242U (en) * 2010-08-26 2011-05-18 北京道从交通科技有限公司 Anti trip guardrail post

Also Published As

Publication number Publication date
CN102296552A (en) 2011-12-28

Similar Documents

Publication Publication Date Title
CN101962002B (en) Anticollision device for rear of truck
CN203034404U (en) Three-beam-type rotating rotor anti-collision guardrail
CN102979051B (en) A kind of double-layer single-wave beam steel guardrail
CN203346825U (en) Double-layer highway buffering anti-collision guardrail
CN204023459U (en) A kind of elastic anti-collision guardrail
CN206784251U (en) A kind of road collision avoiding device
CN113235497A (en) Guidable anti-collision cushion
CN102296552B (en) Drum-type guardrail end safety handling device and application thereof in express way
CN206971132U (en) A kind of highway crash guard rail
CN203795348U (en) Tubular crash cushion with guiding function
CN206376209U (en) Highway guard rail
CN206306979U (en) A kind of motor passenger vehicle anticollision pilot beam
CN202039311U (en) Steel tube-round bar combined movable crash barrier
CN105780690A (en) Guardrail terminal and guardrail
CN203782612U (en) Novel half-shell collision energy attenuation device used on highway guardrail ends
CN206736797U (en) A kind of highway three-level damping anticollision barrier
CN212582522U (en) Integrated six-stage three-beam metal beam column type guardrail for central separation zone of highway
CN106758991B (en) Intercommunication subchannel anticollision barrier
CN208039114U (en) TS grades of bumpers
KR101902962B1 (en) An Impact Absorbing Structure
CN203904889U (en) Movable guardrail for separation zone opening of highway
DE102015115767A1 (en) Guard rail system with offset axes
CN213061696U (en) Bridge guardrail with buffer gear
CN203160165U (en) Rotary anticollision guardrail used for emergency dangerousness avoiding areas
CN204589875U (en) Waveform joist guard rail end head buffering anti-collision device

Legal Events

Date Code Title Description
C06 Publication
PB01 Publication
C10 Entry into substantive examination
SE01 Entry into force of request for substantive examination
ASS Succession or assignment of patent right

Owner name: ZHANG SHAOLI GAO SHUIDE

Free format text: FORMER OWNER: WANG HENG SHI YANYAN

Effective date: 20130410

C41 Transfer of patent application or patent right or utility model
TA01 Transfer of patent application right

Effective date of registration: 20130410

Address after: 102208 Beijing Changping District Science Park Road 13 No. three white floating floor room 304

Applicant after: Beijing Shenghuada Engineering Detection Co., Ltd.

Applicant after: Zhang Shaoli

Applicant after: Gao Shuide

Address before: 102208 Beijing Changping District Science Park Road 13 No. three white floating floor room 304

Applicant before: Beijing Shenghuada Engineering Detection Co., Ltd.

Applicant before: Wang Heng

Applicant before: Shi Yanyan

C14 Grant of patent or utility model
GR01 Patent grant
CF01 Termination of patent right due to non-payment of annual fee
CF01 Termination of patent right due to non-payment of annual fee

Granted publication date: 20130605

Termination date: 20180609