WO2024257430A1 - 燃焼器 - Google Patents

燃焼器 Download PDF

Info

Publication number
WO2024257430A1
WO2024257430A1 PCT/JP2024/011669 JP2024011669W WO2024257430A1 WO 2024257430 A1 WO2024257430 A1 WO 2024257430A1 JP 2024011669 W JP2024011669 W JP 2024011669W WO 2024257430 A1 WO2024257430 A1 WO 2024257430A1
Authority
WO
WIPO (PCT)
Prior art keywords
burner
combustor
ammonia
combustion space
catalyst
Prior art date
Legal status (The legal status is an assumption and is not a legal conclusion. Google has not performed a legal analysis and makes no representation as to the accuracy of the status listed.)
Pending
Application number
PCT/JP2024/011669
Other languages
English (en)
French (fr)
Japanese (ja)
Inventor
直樹 尾崎
和宏 渡邊
亮 花岡
祐之 亀岡
Current Assignee (The listed assignees may be inaccurate. Google has not performed a legal analysis and makes no representation or warranty as to the accuracy of the list.)
IHI Corp
Original Assignee
IHI Corp
Priority date (The priority date is an assumption and is not a legal conclusion. Google has not performed a legal analysis and makes no representation as to the accuracy of the date listed.)
Filing date
Publication date
Application filed by IHI Corp filed Critical IHI Corp
Priority to KR1020257024875A priority Critical patent/KR20250124245A/ko
Priority to CN202480006751.6A priority patent/CN120569594A/zh
Priority to JP2025527471A priority patent/JPWO2024257430A1/ja
Publication of WO2024257430A1 publication Critical patent/WO2024257430A1/ja
Anticipated expiration legal-status Critical
Pending legal-status Critical Current

Links

Images

Classifications

    • FMECHANICAL ENGINEERING; LIGHTING; HEATING; WEAPONS; BLASTING
    • F23COMBUSTION APPARATUS; COMBUSTION PROCESSES
    • F23CMETHODS OR APPARATUS FOR COMBUSTION USING FLUID FUEL OR SOLID FUEL SUSPENDED IN  A CARRIER GAS OR AIR 
    • F23C13/00Apparatus in which combustion takes place in the presence of catalytic material
    • F23C13/06Apparatus in which combustion takes place in the presence of catalytic material in which non-catalytic combustion takes place in addition to catalytic combustion, e.g. downstream of a catalytic element
    • FMECHANICAL ENGINEERING; LIGHTING; HEATING; WEAPONS; BLASTING
    • F23COMBUSTION APPARATUS; COMBUSTION PROCESSES
    • F23DBURNERS
    • F23D14/00Burners for combustion of a gas, e.g. of a gas stored under pressure as a liquid
    • F23D14/12Radiant burners
    • FMECHANICAL ENGINEERING; LIGHTING; HEATING; WEAPONS; BLASTING
    • F23COMBUSTION APPARATUS; COMBUSTION PROCESSES
    • F23DBURNERS
    • F23D14/00Burners for combustion of a gas, e.g. of a gas stored under pressure as a liquid
    • F23D14/12Radiant burners
    • F23D14/18Radiant burners using catalysis for flameless combustion
    • FMECHANICAL ENGINEERING; LIGHTING; HEATING; WEAPONS; BLASTING
    • F23COMBUSTION APPARATUS; COMBUSTION PROCESSES
    • F23JREMOVAL OR TREATMENT OF COMBUSTION PRODUCTS OR COMBUSTION RESIDUES; FLUES 
    • F23J15/00Arrangements of devices for treating smoke or fumes
    • FMECHANICAL ENGINEERING; LIGHTING; HEATING; WEAPONS; BLASTING
    • F23COMBUSTION APPARATUS; COMBUSTION PROCESSES
    • F23MCASINGS, LININGS, WALLS OR DOORS SPECIALLY ADAPTED FOR COMBUSTION CHAMBERS, e.g. FIREBRIDGES; DEVICES FOR DEFLECTING AIR, FLAMES OR COMBUSTION PRODUCTS IN COMBUSTION CHAMBERS; SAFETY ARRANGEMENTS SPECIALLY ADAPTED FOR COMBUSTION APPARATUS; DETAILS OF COMBUSTION CHAMBERS, NOT OTHERWISE PROVIDED FOR
    • F23M5/00Casings; Linings; Walls
    • YGENERAL TAGGING OF NEW TECHNOLOGICAL DEVELOPMENTS; GENERAL TAGGING OF CROSS-SECTIONAL TECHNOLOGIES SPANNING OVER SEVERAL SECTIONS OF THE IPC; TECHNICAL SUBJECTS COVERED BY FORMER USPC CROSS-REFERENCE ART COLLECTIONS [XRACs] AND DIGESTS
    • Y02TECHNOLOGIES OR APPLICATIONS FOR MITIGATION OR ADAPTATION AGAINST CLIMATE CHANGE
    • Y02EREDUCTION OF GREENHOUSE GAS [GHG] EMISSIONS, RELATED TO ENERGY GENERATION, TRANSMISSION OR DISTRIBUTION
    • Y02E60/00Enabling technologies; Technologies with a potential or indirect contribution to GHG emissions mitigation
    • Y02E60/30Hydrogen technology
    • Y02E60/36Hydrogen production from non-carbon containing sources, e.g. by water electrolysis

Definitions

  • Patent Document 1 discloses a catalyst tube used for a burner nozzle. This burner nozzle uses fuel such as kerosene. The primary combustion flame from the burner nozzle is blown into the catalyst tube. The catalyst tube includes a number of exit holes. As the primary combustion flame passes through the catalyst tube, it is completely combusted by the catalyst and is ejected from the multiple exit holes as a secondary combustion flame.
  • Patent Document 2 also discloses a cylindrical catalyst layer used for a pipe burner.
  • the catalyst layer is arranged to surround the pipe burner.
  • the pipe burner includes a large number of small holes.
  • the catalyst layer is gas permeable.
  • a mixture of fuel and air is supplied to the pipe burner. The mixture is ignited, and a flame is formed from the large number of small holes in the pipe burner.
  • the combustion gas is catalytically combusted as it passes through the catalyst layer.
  • Ammonia is known as a fuel that does not emit CO2 .
  • the burning rate of ammonia is slower than other fuels such as natural gas. Therefore, when using ammonia in such combustors, unburned ammonia can be a problem.
  • the present disclosure aims to provide a combustor that can reduce unburned ammonia when ammonia is used as fuel.
  • a combustor includes a burner that injects a fuel containing ammonia into a combustion space, and a refractory material that defines at least a portion of the combustion space, the refractory material blocking the passage of gas, and the refractory material including a catalyst that decomposes ammonia into hydrogen and nitrogen on a surface that defines at least a portion of the combustion space.
  • the catalyst may contain a transition metal.
  • the combustor may be a radiant burner and the refractory material may be a burner tile.
  • the radiant burner may be a radiant cup burner, and the burner tile may include a recess as at least a portion of the combustion space.
  • the depression may be defined by a smooth spherical surface.
  • the catalyst-containing surface of the burner tile may include at least one of protrusions and grooves.
  • the refractory material may be part of the wall of the furnace in which the burner is located.
  • FIG. 1 is a schematic cross-sectional view of a boiler including a combustor according to a first embodiment.
  • FIG. 2 is a schematic enlarged view of part A in FIG.
  • FIG. 3 is a schematic cross-sectional view showing a combustor according to the second embodiment.
  • FIG. 4 is a schematic cross-sectional view showing a combustor according to a third embodiment.
  • FIG. 5 is a schematic cross-sectional view showing a combustor according to a fourth embodiment.
  • FIG. 1 is a schematic cross-sectional view of a boiler 100 including a combustor 10 according to a first embodiment.
  • the combustor 10 is applied to the boiler 100.
  • the combustor 10 may be applied to other combustion facilities such as an industrial furnace or a combustion furnace.
  • the boiler 100 includes a furnace 1, a flue 2, and a plurality of combustors 10.
  • the boiler 100 may further include other components.
  • the furnace 1 burns a fuel containing ammonia to generate combustion gas.
  • the furnace 1 may burn a mixture of ammonia and other fuels, such as pulverized coal.
  • the furnace 1 may also burn only ammonia.
  • the furnace 1 may also burn a fuel that does not contain ammonia, if necessary.
  • the furnace 1 extends vertically.
  • the lower part of the furnace 1 defines a combustion space S.
  • the combustion space means the space in which fuel is burned.
  • An exhaust outlet Ex is provided at the bottom of the furnace 1. The exhaust outlet Ex discharges ash generated by combustion to the outside.
  • the flue 2 is a passage that guides the combustion gas generated in the furnace 1 to the outside.
  • the flue 2 is connected to the top of the furnace 1.
  • the flue 2 includes a first flue 2a and a second flue 2b.
  • the first flue 2a extends horizontally from the top of the furnace 1.
  • the second flue 2b extends downward from the end of the first flue 2a.
  • the boiler 100 includes a superheater (not shown) that is installed on top of the furnace 1.
  • the superheater exchanges heat between the combustion gas generated in the furnace 1 and water. This generates steam.
  • the boiler 100 may further include components (not shown) such as a reheater, a coal economizer, or an air preheater.
  • the combustors 10 are provided on the lower wall of the furnace 1.
  • the combustors 10 are arranged horizontally and spaced apart from one another along the wall of the furnace 1.
  • FIG. 1 shows only a single row of combustors 10 in the vertical direction, multiple rows of combustors 10 may be arranged vertically and spaced apart from one another.
  • the combustor 10 injects fuel into the combustion space S.
  • a flame F is formed in the combustion space S by igniting the fuel injected from the combustor 10.
  • the furnace 1 is provided with an ignition device (not shown) that ignites the fuel injected from the combustor 10.
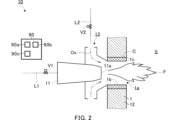
  • FIG. 2 is a schematic enlarged view of part A in FIG. 1.
  • the combustor 10 includes a burner 11, a refractory material 12, an oxidizer flow path 13, and a control device 90.
  • the combustor 10 may further include other components.
  • the burner 11 is attached to the wall of the furnace 1 outside the furnace 1.
  • the burner 11 faces the combustion space S.
  • the burner 11 injects a fuel containing ammonia into the combustion space S.
  • the burner 11 includes a nozzle (not shown) that injects the ammonia.
  • the burner 11 may further include a nozzle (not shown) that injects another fuel such as pulverized coal.
  • the burner 11 may further include a nozzle (not shown) that injects an oxidizer (for example, air).
  • a valve V1 may be provided in the ammonia line L1 connected to the burner 11.
  • the valve V1 may be connected to the control device 90 so as to be capable of communicating with the control device 90 via wire or wirelessly, and may be controlled by the control device 90.
  • the control device 90 adjusts the flow rate of ammonia supplied to the burner 11 by controlling the opening degree of the valve V1.
  • the burner 11 has a generally cylindrical shape.
  • the axial, radial, and circumferential directions of the burner 11 may be simply referred to as the "axial direction,” the “radial direction,” and the “circumferential direction,” unless otherwise specified.
  • One end of the burner 11 in the axial direction includes an injection hole 11a and is exposed to the combustion space S.
  • the injection hole 11a injects fuel into the combustion space S.
  • the refractory material 12 defines at least a portion of the combustion space S.
  • the refractory material 12 is part of the wall of the furnace 1 in which the burner 11 is disposed.
  • the refractory material 12 blocks the passage of gas.
  • the furnace 1 includes a plurality of communication holes 1a.
  • the communication holes 1a penetrate the wall of the furnace 1 horizontally.
  • the communication holes 1a have a cylindrical shape.
  • a burner 11 is attached to each communication hole 1a. The burner 11 faces the interior of the furnace 1 through the communication hole 1a. The burner 11 injects fuel toward the space inside the communication hole 1a.
  • the inner circumferential surface 1b of the communication hole 1a defines a portion of the combustion space S.
  • the inner circumferential surface 1b contains a catalyst C.
  • the inner circumferential surface 1b may be formed by a layer 1c of a carrier that supports the catalyst C.
  • a layer 1c may be provided on the surface of a through hole formed in the wall of the furnace 1.
  • the catalyst C includes a transition element (which may also be referred to as a transition metal).
  • the catalyst C may include a precious metal such as Ru.
  • the catalyst C may include non-precious metals such as Fe, Co, Ni, and Cu among the transition elements. Non-precious metals may exhibit high activity when combined with a specific support.
  • a specific support for example, an oxide such as Al 2 O 3 or SiO 2 may be used. Also, if necessary, a support capable of suppressing sintering such as CeO 2 may be used.
  • the oxidizer flow passage 13 supplies an oxidizer (e.g., air) Ox to the combustion space S.
  • the oxidizer flow passage 13 is in fluid communication with the combustion space S.
  • the oxidizer flow passage 13 supplies the oxidizer Ox to the combustion space S from the radial outside of the injection hole 11a.
  • the oxidizer flow passage 13 is arranged radially outside the burner 11.
  • the oxidizer flow passage 13 is continuous in the circumferential direction.
  • the oxidizer flow passage 13 has a roughly truncated cone shape.
  • the oxidizer flow passage 13 is arranged concentrically with the burner 11.
  • a valve V2 may be provided in the oxidizer line L2 connected to the oxidizer flow path 13.
  • the valve V2 may be connected to the control device 90 so as to be capable of communicating with the control device 90 via a wired or wireless connection, and may be controlled by the control device 90.
  • the control device 90 adjusts the flow rate of the oxidizer Ox supplied to the combustion space S via the oxidizer flow path 13 by controlling the opening degree of the valve V2.
  • the control device 90 controls all or part of the multiple combustors 10.
  • the control device 90 may also control at least some of the other components of the boiler 100.
  • the control device 90 may control the entire boiler 100.
  • the boiler 100 may also be provided with a main control device (not shown), and the control device 90 may communicate with the main control device.
  • the control device 90 includes components such as a processor 90a, a storage device 90b, and a connector 90c, and these components are connected to each other via a bus.
  • the processor 90a includes a CPU (Central Processing Unit), etc.
  • the storage device 90b includes a hard disk, a ROM in which programs, etc. are stored, and a RAM as a work area, etc.
  • the control device 90 is connected to each component of the combustor 10 via the connector 90c so as to be able to communicate with each component via a wired or wireless connection.
  • the control device 90 may further include other components such as a display device such as a liquid crystal display or a touch panel, and an input device such as a keyboard, a button, or a touch panel.
  • the operation of the control device 90 may be realized by having the processor 90a execute a program stored in the storage device 90b.
  • catalyst C can cause both reactions (1) and (2).
  • the control device 90 may control the combustor 10 so that reaction (1) is the majority of the reactions in catalyst C.
  • the control device 90 can increase the proportion of reaction (1) in catalyst C by controlling valve V2 to reduce the amount of oxidant Ox supplied to the combustion space S.
  • the control device 90 may control valve V2 to increase the amount of oxidant Ox supplied to the combustion space S.
  • Fuel containing ammonia is injected from the injection hole 11a of the burner 11 toward the combustion space S.
  • oxidizer Ox is injected from the oxidizer flow path 13 toward the combustion space S.
  • the mixed gas of fuel and oxidizer Ox is ignited by an ignition device (not shown), and a flame F is formed.
  • the inner surface 1b of the communication hole 1a is heated by the flame F to a temperature above the temperature at which the catalyst C starts to be activated. Therefore, a part of the ammonia in the combustion space S comes into contact with the inner surface 1b and is decomposed into hydrogen and nitrogen by the catalyst C. Since the refractory material 12 blocks the passage of gas, the hydrogen and nitrogen flow radially inward from the inner surface 1b and merge with the mixed gas. Hydrogen is more combustible than ammonia. Therefore, the combustibility of the mixed gas is improved. This makes it possible to reduce unburned ammonia.
  • the combustor 10 as described above includes a burner 11 that injects fuel containing ammonia into the combustion space S, and a refractory material 12 that defines at least a portion of the combustion space S.
  • the refractory material 12 includes a catalyst C that blocks the passage of gas and decomposes ammonia into hydrogen and nitrogen on the inner circumferential surface 1b that defines at least a portion of the combustion space S.
  • catalyst C contains a transition metal.
  • the refractory material 12 is part of the wall of the furnace 1 in which the burner 11 is disposed.
  • FIG. 3 is a schematic cross-sectional view showing a combustor 20 according to the second embodiment.
  • the combustor is a radiant burner 20.
  • the radiant burner 20 heats the surface 21d of the burner tile 21 by burning a mixed gas containing ammonia and an oxidizer (e.g., air), and heats an object (not shown) located at a distance from the radiant burner 20 by radiant heat from the heated surface 21d.
  • a mixed gas containing ammonia and an oxidizer e.g., air
  • the radiant burner 20 includes a burner tile (refractory material) 21 and a burner 22.
  • the radiant burner 20 may further include other components.
  • the burner tile 21 is formed of a fireproof material, such as a molded product containing ceramic.
  • the burner tile 21 blocks the passage of combustion gas.
  • the burner tile 21 has a roughly rectangular parallelepiped shape.
  • the burner tile 21 is not limited to this and may have other shapes.
  • the burner tile 21 includes a front surface 21a that is arranged to face the target object, and a back surface 21b opposite the front surface 21a.
  • the burner tile 21 includes a recess 21c on the front surface 21a.
  • the recess 21c is formed from the front surface 21a toward the back surface 21b.
  • the recess 21c is used as the combustion space S.
  • the recess 21c is defined by the surface 21d. That is, the surface 21d defines the combustion space S.
  • the surface 21d is a smooth spherical surface.
  • the surface 21d may have other shapes, such as, for example, a cylindrical shape or a polygonal prism shape.
  • the burner tile 21 may not include the recess 21c.
  • surface 21d that defines the combustion space S includes a catalyst C that decomposes ammonia into hydrogen and nitrogen.
  • surface 21d may be formed by a layer of a support that supports catalyst C.
  • Catalyst C may be the same as that used in the first embodiment.
  • the burner tile 21 including the recess 21c is also referred to as a "radiant cup.”
  • the radiant burner 20 including a radiant cup is also referred to as a "radiant cup burner.”
  • the burner 22 protrudes from the burner tile 21 toward the combustion space S.
  • the burner 22 injects fuel containing ammonia into the combustion space S.
  • the burner 22 injects a mixed gas containing ammonia and an oxidizer (e.g., air) into the combustion space S (premixing type).
  • the radiant burner 20 is not limited to the premixing type, and may be a diffusion type.
  • the burner 22 has a generally cylindrical or tubular shape.
  • the burner 22 is located at the center of the front surface 21d.
  • the burner 22 penetrates the wall of the burner tile 21 from the back surface 21b and protrudes into the recess 21c.
  • the burner 22 includes a plurality of injection holes 22a.
  • the injection holes 22a inject the mixed gas into the combustion space S.
  • the injection holes 22a are located between the tip 22b of the burner 22 and the bottom of the recess 21c in the axial direction.
  • the number of injection holes 22a may be two, three, four, five, or more.
  • the multiple injection holes 22a are evenly arranged along the circumferential direction.
  • the injection hole 22a opens generally in the radial direction.
  • the injection hole 22a may have various shapes, such as a circular shape, an elliptical shape, or a polygonal shape.
  • the inner wall of the burner 22 defines a flow path 22c for the mixed gas.
  • the flow path 22c is in fluid communication with the injection hole 22a.
  • the flow path 22c has a generally cylindrical shape.
  • a valve V3 may be provided in the ammonia line L3 connected to the burner 22.
  • the valve V3 may be connected to the control device 90 so as to be capable of communicating with the control device 90 via wire or wirelessly, and may be controlled by the control device 90.
  • the control device 90 adjusts the flow rate of ammonia supplied to the burner 22 by controlling the opening degree of the valve V3.
  • a valve V4 may be provided in the oxidizer line L4 connected to the burner 22.
  • the valve V4 may be connected to the control device 90 so as to be capable of communicating with the control device 90 via wire or wirelessly, and may be controlled by the control device 90.
  • the control device 90 adjusts the flow rate of the oxidizer supplied to the burner 22 by controlling the opening degree of the valve V4.
  • control device 90 may control the radiant burner 20 so that the above reaction (1) constitutes the majority of the reaction in the catalyst C.
  • a mixed gas containing ammonia and an oxidizer is injected from the injection hole 22a of the burner 22 toward the combustion space S.
  • the mixed gas is injected from the injection hole 22a generally radially outward.
  • the mixed gas forms a flow along the surface 21d of the recess 21c.
  • the pressure in the central region of the combustion space S more specifically the pressure around the tip 22b, is lower than the pressure in the surrounding region. Therefore, the mixed gas changes its flow direction from the radially outer side to the radially inner side, and further flows toward the tip 22b along the central axis.
  • the mixed gas ignites starting from the tip 22b, and is sufficiently heated and combusted before changing the flow direction.
  • the high-temperature combustion gas flows toward the tip 22b.
  • the surface 21d is heated by the flame.
  • the catalyst C on the surface 21d promotes the combustion reaction by reducing the activation energy in the reaction (2) between the ammonia and the oxidizer. Ignition can be achieved even in a lower temperature field, and ammonia can be burned. After the oxidizer reacts, the remaining ammonia is decomposed into hydrogen and nitrogen by the catalyst C in reaction (1). As shown above, the generated hydrogen and nitrogen flow toward the tip 22b by the recirculation flow and merge with the mixed gas. Hydrogen is more combustible than ammonia. Therefore, the combustibility of the mixed gas is improved.
  • the catalyst C allows ignition even in a low temperature field, realizing earlier ignition, and improving combustibility with the decomposed hydrogen. As a result, the temperature of the burner tile 21 can be increased, and the amount of radiative heat transfer can be increased.
  • Such a radiant burner 20 has substantially the same effect as the combustor 10 according to the first embodiment.
  • the combustor is the radiant burner 20, and the refractory material is the burner tile 21.
  • the radiant burner 20 a flow of mixed gas is formed along the surface 21d of the burner tile 21. Therefore, the ammonia in the mixed gas is more likely to come into contact with the catalyst C. This allows the ammonia to be more easily decomposed into hydrogen and nitrogen. This improves the combustibility of the fuel containing ammonia. This allows the amount of unburned ammonia to be reduced.
  • the radiant burner 20 is a radiant cup burner
  • the burner tile 21 includes a recess 21c as at least a part of the combustion space S.
  • the recess 21c is defined by the surface 21d, which is a smooth spherical surface.
  • FIG. 4 is a schematic cross-sectional view showing a radiant burner 20A according to the third embodiment.
  • the combustor is also a radiant burner 20A.
  • the radiant burner 20A differs from the radiant burner 20 according to the second embodiment in the shape of the surface 21d that defines the combustion space S. As for other configurations, the radiant burner 20A may be the same as the radiant burner 20.
  • the surface 21d includes a plurality of steps (protrusions) 21e.
  • the steps 21e protrude in the axial direction and radially inward.
  • the steps 21e may be continuous in the circumferential direction.
  • the steps 21e have an annular shape.
  • the steps 21e may be divided in the circumferential direction.
  • the surface 21d may include a plurality of grooves instead of or in addition to the steps 21e.
  • Such a radiant burner 20A has substantially the same effect as the radiant burner 20 according to the second embodiment.
  • the surface 21d of the burner tile 21 includes a step 21e.
  • a turbulent flow of the mixed gas is generated on the surface 21d. Therefore, the mixed gas remains on the surface 21d for a longer period of time.
  • the step 21e also increases the surface area of the surface 21d that contacts the combustion space S. This allows more ammonia to react on the catalyst C, and more hydrogen is generated. Therefore, the combustibility of the fuel containing ammonia is further improved.
  • FIG. 5 is a schematic cross-sectional view showing a combustor 20B according to the fourth embodiment.
  • the combustor is also a radiant burner 20B.
  • the radiant burner 20B differs from the radiant burner 20A according to the third embodiment in that the burner tile 21 does not have a cup shape. In other respects, the radiant burner 20B may be the same as the radiant burners 20 and 20A.
  • the burner tile 21 has a generally flat shape and does not include a recess.
  • the front surface 21a of the burner tile 21 faces the combustion space S and defines at least a portion of the combustion space S.
  • the burner tile 21 also includes a plurality of protrusions 21f.
  • the protrusions 21f protrude in the axial direction from the front surface 21a toward the combustion space S.
  • the protrusions 21f may be continuous in the circumferential direction.
  • the protrusions 21f have an annular shape.
  • the protrusions 21f may be divided in the circumferential direction.
  • the front surface 21a may include a plurality of grooves instead of or in addition to the protrusions 21f.
  • Such a radiant burner 20B provides substantially the same effects as the radiant burner 20A according to the third embodiment.
  • the present disclosure can facilitate the use of ammonia leading to reduced CO2 emissions, thereby contributing, for example, to Sustainable Development Goal (SDG) Goal 7 "Ensure access to affordable, reliable, sustainable and modern energy” and Goal 13 "Take urgent action to combat climate change and its impacts.”
  • SDG Sustainable Development Goal

Landscapes

  • Engineering & Computer Science (AREA)
  • Chemical & Material Sciences (AREA)
  • Mechanical Engineering (AREA)
  • General Engineering & Computer Science (AREA)
  • Combustion & Propulsion (AREA)
  • Chemical Kinetics & Catalysis (AREA)
  • Gas Burners (AREA)
PCT/JP2024/011669 2023-06-14 2024-03-25 燃焼器 Pending WO2024257430A1 (ja)

Priority Applications (3)

Application Number Priority Date Filing Date Title
KR1020257024875A KR20250124245A (ko) 2023-06-14 2024-03-25 연소기
CN202480006751.6A CN120569594A (zh) 2023-06-14 2024-03-25 燃烧器
JP2025527471A JPWO2024257430A1 (enExample) 2023-06-14 2024-03-25

Applications Claiming Priority (2)

Application Number Priority Date Filing Date Title
JP2023-097817 2023-06-14
JP2023097817 2023-06-14

Publications (1)

Publication Number Publication Date
WO2024257430A1 true WO2024257430A1 (ja) 2024-12-19

Family

ID=93851811

Family Applications (1)

Application Number Title Priority Date Filing Date
PCT/JP2024/011669 Pending WO2024257430A1 (ja) 2023-06-14 2024-03-25 燃焼器

Country Status (4)

Country Link
JP (1) JPWO2024257430A1 (enExample)
KR (1) KR20250124245A (enExample)
CN (1) CN120569594A (enExample)
WO (1) WO2024257430A1 (enExample)

Citations (9)

* Cited by examiner, † Cited by third party
Publication number Priority date Publication date Assignee Title
JPS61256110A (ja) * 1985-05-04 1986-11-13 Shoei Seisakusho:Kk ラジアントカツプバ−ナ−タイル
US20070105060A1 (en) * 2005-11-04 2007-05-10 Nova Chemicals (International) S.A. Industrial radiant heater
JP2013257125A (ja) * 2012-06-13 2013-12-26 Takeshi Hatanaka 次世代カーボンフリー発電プラント及び次世代カーボンフリー発電方法並びに次世代カーボンフリー発電プラント及び次世代カーボンフリー発電方法に利用する尿素水
JP2018096616A (ja) * 2016-12-13 2018-06-21 三菱日立パワーシステムズ株式会社 火力発電プラント、ボイラ及びボイラの改造方法
WO2020054748A1 (ja) * 2018-09-11 2020-03-19 株式会社Ihi 燃焼装置及びボイラ
JP2022091407A (ja) * 2020-12-09 2022-06-21 川崎重工業株式会社 燃料燃焼システム
JP2022154831A (ja) * 2021-03-30 2022-10-13 東京瓦斯株式会社 バーナ
CN115342334A (zh) * 2022-07-04 2022-11-15 国家电投集团碳资产管理有限公司 一种液氨与燃煤互补发电系统与方法
CN116557858A (zh) * 2023-03-17 2023-08-08 合肥综合性国家科学中心能源研究院(安徽省能源实验室) 一种基于等离子体裂解、热裂解和等离子体助燃的氨燃烧器及其运行方法

Family Cites Families (2)

* Cited by examiner, † Cited by third party
Publication number Priority date Publication date Assignee Title
KR890003983A (ko) 1987-08-27 1989-04-19 엔.라이스 머레트 종래의 cvd 반응로를 사용한 스트레인층 초격자의 연속 화학 증착 성장 방법
JPH11281006A (ja) 1998-03-26 1999-10-15 Nagano Kensetsu Kk 炉内燃焼触媒筒

Patent Citations (9)

* Cited by examiner, † Cited by third party
Publication number Priority date Publication date Assignee Title
JPS61256110A (ja) * 1985-05-04 1986-11-13 Shoei Seisakusho:Kk ラジアントカツプバ−ナ−タイル
US20070105060A1 (en) * 2005-11-04 2007-05-10 Nova Chemicals (International) S.A. Industrial radiant heater
JP2013257125A (ja) * 2012-06-13 2013-12-26 Takeshi Hatanaka 次世代カーボンフリー発電プラント及び次世代カーボンフリー発電方法並びに次世代カーボンフリー発電プラント及び次世代カーボンフリー発電方法に利用する尿素水
JP2018096616A (ja) * 2016-12-13 2018-06-21 三菱日立パワーシステムズ株式会社 火力発電プラント、ボイラ及びボイラの改造方法
WO2020054748A1 (ja) * 2018-09-11 2020-03-19 株式会社Ihi 燃焼装置及びボイラ
JP2022091407A (ja) * 2020-12-09 2022-06-21 川崎重工業株式会社 燃料燃焼システム
JP2022154831A (ja) * 2021-03-30 2022-10-13 東京瓦斯株式会社 バーナ
CN115342334A (zh) * 2022-07-04 2022-11-15 国家电投集团碳资产管理有限公司 一种液氨与燃煤互补发电系统与方法
CN116557858A (zh) * 2023-03-17 2023-08-08 合肥综合性国家科学中心能源研究院(安徽省能源实验室) 一种基于等离子体裂解、热裂解和等离子体助燃的氨燃烧器及其运行方法

Also Published As

Publication number Publication date
CN120569594A (zh) 2025-08-29
JPWO2024257430A1 (enExample) 2024-12-19
KR20250124245A (ko) 2025-08-19

Similar Documents

Publication Publication Date Title
CN104884866B (zh) 穿孔火焰稳定器和包括穿孔火焰稳定器的燃烧器
US7363756B2 (en) Method for combustion of a fuel
JP2713627B2 (ja) ガスタービン燃焼器、これを備えているガスタービン設備、及びこの燃焼方法
JP2006010193A (ja) ガスタービン燃焼器
KR20060048729A (ko) 점화-보조 연료 랜스를 구비한 다단식 연소 시스템
JP2022154831A (ja) バーナ
JP2006118854A (ja) リッチ−リーン触媒燃焼のための方法及びシステム
EP2764294B1 (en) Aphlogistic burner
JP7651990B2 (ja) 燃焼器及び改質装置
KR20240134167A (ko) 플레어 스택 및 플레어 스택을 구비하는 시스템
WO2024257430A1 (ja) 燃焼器
JP3873119B2 (ja) 円筒内旋回燃焼器
CA2055028A1 (en) Method of stabilizing a combustion process
JP2025005757A (ja) 燃焼器および燃焼方法
CN118922666A (zh) 氨燃烧炉
JP4068041B2 (ja) 低NOxバーナ
JP5009593B2 (ja) 燃焼装置
JP5135123B2 (ja) 燃焼装置
WO2025069633A1 (ja) ラジアントバーナ
CN107990315B (zh) 一种工艺加热炉燃烧器用中心点火低氮排放燃料枪
JP7494358B1 (ja) 混焼バーナ及びボイラ
JP5057363B2 (ja) ガスタービン燃焼器
WO2025094456A1 (ja)
JPH07110101A (ja) モノチューブボイラ
WO2024257438A1 (ja) 燃料予熱器

Legal Events

Date Code Title Description
121 Ep: the epo has been informed by wipo that ep was designated in this application

Ref document number: 24823053

Country of ref document: EP

Kind code of ref document: A1

WWE Wipo information: entry into national phase

Ref document number: 2025527471

Country of ref document: JP

WWE Wipo information: entry into national phase

Ref document number: 202480006751.6

Country of ref document: CN

ENP Entry into the national phase

Ref document number: 1020257024875

Country of ref document: KR

Free format text: ST27 STATUS EVENT CODE: A-0-1-A10-A15-NAP-PA0105 (AS PROVIDED BY THE NATIONAL OFFICE)

WWE Wipo information: entry into national phase

Ref document number: 1020257024875

Country of ref document: KR

WWP Wipo information: published in national office

Ref document number: 1020257024875

Country of ref document: KR

WWP Wipo information: published in national office

Ref document number: 202480006751.6

Country of ref document: CN