WO2021172480A1 - 複合部材、セルスタック装置、モジュールおよびモジュール収容装置 - Google Patents

複合部材、セルスタック装置、モジュールおよびモジュール収容装置 Download PDF

Info

Publication number
WO2021172480A1
WO2021172480A1 PCT/JP2021/007219 JP2021007219W WO2021172480A1 WO 2021172480 A1 WO2021172480 A1 WO 2021172480A1 JP 2021007219 W JP2021007219 W JP 2021007219W WO 2021172480 A1 WO2021172480 A1 WO 2021172480A1
Authority
WO
WIPO (PCT)
Prior art keywords
cell
coating layer
base material
cell stack
exposed
Prior art date
Legal status (The legal status is an assumption and is not a legal conclusion. Google has not performed a legal analysis and makes no representation as to the accuracy of the status listed.)
Ceased
Application number
PCT/JP2021/007219
Other languages
English (en)
French (fr)
Japanese (ja)
Inventor
史人 古内
和也 今仲
Current Assignee (The listed assignees may be inaccurate. Google has not performed a legal analysis and makes no representation or warranty as to the accuracy of the list.)
Kyocera Corp
Original Assignee
Kyocera Corp
Priority date (The priority date is an assumption and is not a legal conclusion. Google has not performed a legal analysis and makes no representation as to the accuracy of the date listed.)
Filing date
Publication date
Application filed by Kyocera Corp filed Critical Kyocera Corp
Priority to CN202180016644.8A priority Critical patent/CN115210920A/zh
Priority to US17/802,522 priority patent/US20230123142A1/en
Priority to EP21760144.2A priority patent/EP4113677A4/en
Priority to JP2021538475A priority patent/JP6972440B1/ja
Publication of WO2021172480A1 publication Critical patent/WO2021172480A1/ja
Priority to JP2021179744A priority patent/JP7713372B2/ja
Anticipated expiration legal-status Critical
Ceased legal-status Critical Current

Links

Images

Classifications

    • HELECTRICITY
    • H01ELECTRIC ELEMENTS
    • H01MPROCESSES OR MEANS, e.g. BATTERIES, FOR THE DIRECT CONVERSION OF CHEMICAL ENERGY INTO ELECTRICAL ENERGY
    • H01M8/00Fuel cells; Manufacture thereof
    • H01M8/10Fuel cells with solid electrolytes
    • H01M8/12Fuel cells with solid electrolytes operating at high temperature, e.g. with stabilised ZrO2 electrolyte
    • H01M8/1213Fuel cells with solid electrolytes operating at high temperature, e.g. with stabilised ZrO2 electrolyte characterised by the electrode/electrolyte combination or the supporting material
    • H01M8/1226Fuel cells with solid electrolytes operating at high temperature, e.g. with stabilised ZrO2 electrolyte characterised by the electrode/electrolyte combination or the supporting material characterised by the supporting layer
    • HELECTRICITY
    • H01ELECTRIC ELEMENTS
    • H01MPROCESSES OR MEANS, e.g. BATTERIES, FOR THE DIRECT CONVERSION OF CHEMICAL ENERGY INTO ELECTRICAL ENERGY
    • H01M8/00Fuel cells; Manufacture thereof
    • H01M8/02Details
    • H01M8/0202Collectors; Separators, e.g. bipolar separators; Interconnectors
    • H01M8/0204Non-porous and characterised by the material
    • H01M8/0223Composites
    • H01M8/0228Composites in the form of layered or coated products
    • HELECTRICITY
    • H01ELECTRIC ELEMENTS
    • H01MPROCESSES OR MEANS, e.g. BATTERIES, FOR THE DIRECT CONVERSION OF CHEMICAL ENERGY INTO ELECTRICAL ENERGY
    • H01M8/00Fuel cells; Manufacture thereof
    • H01M8/02Details
    • H01M8/0271Sealing or supporting means around electrodes, matrices or membranes
    • H01M8/028Sealing means characterised by their material
    • H01M8/0282Inorganic material
    • HELECTRICITY
    • H01ELECTRIC ELEMENTS
    • H01MPROCESSES OR MEANS, e.g. BATTERIES, FOR THE DIRECT CONVERSION OF CHEMICAL ENERGY INTO ELECTRICAL ENERGY
    • H01M8/00Fuel cells; Manufacture thereof
    • H01M8/24Grouping of fuel cells, e.g. stacking of fuel cells
    • H01M8/241Grouping of fuel cells, e.g. stacking of fuel cells with solid or matrix-supported electrolytes
    • H01M8/2425High-temperature cells with solid electrolytes
    • HELECTRICITY
    • H01ELECTRIC ELEMENTS
    • H01MPROCESSES OR MEANS, e.g. BATTERIES, FOR THE DIRECT CONVERSION OF CHEMICAL ENERGY INTO ELECTRICAL ENERGY
    • H01M8/00Fuel cells; Manufacture thereof
    • H01M8/10Fuel cells with solid electrolytes
    • H01M8/12Fuel cells with solid electrolytes operating at high temperature, e.g. with stabilised ZrO2 electrolyte
    • H01M2008/1293Fuel cells with solid oxide electrolytes
    • YGENERAL TAGGING OF NEW TECHNOLOGICAL DEVELOPMENTS; GENERAL TAGGING OF CROSS-SECTIONAL TECHNOLOGIES SPANNING OVER SEVERAL SECTIONS OF THE IPC; TECHNICAL SUBJECTS COVERED BY FORMER USPC CROSS-REFERENCE ART COLLECTIONS [XRACs] AND DIGESTS
    • Y02TECHNOLOGIES OR APPLICATIONS FOR MITIGATION OR ADAPTATION AGAINST CLIMATE CHANGE
    • Y02EREDUCTION OF GREENHOUSE GAS [GHG] EMISSIONS, RELATED TO ENERGY GENERATION, TRANSMISSION OR DISTRIBUTION
    • Y02E60/00Enabling technologies; Technologies with a potential or indirect contribution to GHG emissions mitigation
    • Y02E60/30Hydrogen technology
    • Y02E60/50Fuel cells

Definitions

  • the present disclosure relates to composite members, cell stack devices, modules and module accommodating devices.
  • a fuel cell is a type of cell capable of obtaining electric power by using a fuel gas such as a hydrogen-containing gas and an oxygen-containing gas such as air.
  • the composite member according to one aspect of the embodiment includes a base material and a coating layer.
  • the substrate has a first surface that is not exposed to the oxidizing atmosphere and contains chromium.
  • the coating layer has a first outer surface that covers the first surface and is not exposed to the oxidizing atmosphere. At least one of the substrate and the coating layer has an exposed surface exposed to an oxidizing atmosphere. The surface roughness of the exposed surface is different from the surface roughness of the first surface or the first outer surface.
  • the cell stack device of the present disclosure includes a plurality of cells, the composite member described above, and a joining material.
  • the plurality of cells have an element unit and include a first cell.
  • the bonding material is located between the element portion and the first outer surface of the coating layer.
  • the base material has a first surface facing the first cell and a second surface including the exposed surface and not facing the first cell. The surface roughness of the second surface is smaller than that of the first surface.
  • the module of the present disclosure includes the cell stack device described above and a storage container for accommodating the cell stack device.
  • the module accommodating device of the present disclosure includes the module described above, an auxiliary machine for operating the module, and an outer case for accommodating the module and the auxiliary machine.
  • FIG. 1A is a cross-sectional view showing an example of a cell according to an embodiment.
  • FIG. 1B is a side view of an example of the cell according to the embodiment as viewed from the air electrode side.
  • FIG. 1C is a side view of an example of the cell according to the embodiment as viewed from the interconnector side.
  • FIG. 2A is a perspective view showing an example of the cell stack device according to the embodiment.
  • FIG. 2B is a cross-sectional view taken along the line XX shown in FIG. 2A.
  • FIG. 2C is a top view showing an example of the cell stack device according to the embodiment.
  • FIG. 3 is a cross-sectional view taken along the line YY shown in FIG. 2C.
  • FIG. 4A is a perspective view showing another example of the composite member.
  • FIG. 4B is a perspective view showing another example of the composite member.
  • FIG. 4C is an enlarged cross-sectional view of another example of the composite member and the joint portion with the cell.
  • FIG. 5A is an enlarged cross-sectional view of the joint portion between the composite member and the cell according to the first modification of the embodiment.
  • FIG. 5B is an enlarged cross-sectional view of the joint portion between the composite member and the cell according to the second modification of the embodiment.
  • FIG. 6A is an enlarged cross-sectional view of the joint portion between the cell and another example of the composite member according to the modified example 3 of the embodiment.
  • FIG. 6B is an enlarged cross-sectional view of the joint portion between the cell and another example of the composite member according to the modified example 4 of the embodiment.
  • FIG. 6C is an enlarged cross-sectional view of the joint portion between the cell and another example of the composite member according to the modified example 5 of the embodiment.
  • FIG. 7 is an enlarged cross-sectional view of the joint portion between the composite member and the cell according to the modified example 6 of the embodiment.
  • FIG. 8 is an enlarged cross-sectional view of the joint portion between the cell and another example of the composite member according to the modified example 7 of the embodiment.
  • FIG. 9A is an enlarged cross-sectional view of the joint portion between the composite member and the cell according to the modified example 8 of the embodiment.
  • FIG. 9B is an enlarged cross-sectional view of the joint portion between the composite member and the cell according to the modified example 9 of the embodiment.
  • FIG. 10A is an enlarged cross-sectional view of the joint between the cell and another example of the composite member according to the modified example 10 of the embodiment.
  • FIG. 10B is an enlarged cross-sectional view of the joint portion between the cell and another example of the composite member according to the modified example 11 of the embodiment.
  • FIG. 10C is an enlarged cross-sectional view of the composite member according to the modified example 12 of the embodiment.
  • FIG. 11 is an external perspective view showing an example of the module according to the embodiment.
  • FIG. 12 is an exploded perspective view schematically showing an example of the module accommodating device according to the embodiment.
  • FIG. 13A is a perspective view showing a flat plate type cell according to the modified example 13 of the embodiment.
  • FIG. 13B is a partial cross-sectional view of the flat plate cell shown in FIG. 13A.
  • FIG. 13C is an enlarged view of the region A shown in FIG. 13B.
  • FIG. 13D is an enlarged view of the region A according to the modified example of the flat plate type cell.
  • FIG. 1A is a cross-sectional view showing an example of the cell 1 according to the embodiment
  • FIG. 1B is a side view of an example of the cell 1 according to the embodiment as viewed from the air electrode 5 side
  • FIG. 1C is a side view of the embodiment.
  • FIG. 5 is a side view of an example of the cell 1 according to the above, as viewed from the side of the interconnector 6. It should be noted that FIGS. 1A to 1C show an enlarged part of each configuration of the cell 1.
  • the cell 1 is a hollow flat plate type and has an elongated plate shape.
  • the shape of the entire cell 1 viewed from the side surface is, for example, a side length of 5 cm to 50 cm in the length direction L, and a length W in the width direction orthogonal to the length direction L. Is a rectangle of 1 cm to 10 cm.
  • the thickness of the entire cell 1 in the thickness direction T is 1 mm to 5 mm.
  • the cell 1 includes a conductive support substrate 2, an element portion, and an interconnector 6.
  • the support substrate 2 is a columnar shape having a pair of opposing flat surfaces n1 and n2 and a pair of arcuate side surfaces m connecting the flat surfaces n1 and n2.
  • the element portion is provided on the flat surface n1 of the support substrate 2.
  • Such an element unit has a fuel electrode 3, a solid electrolyte layer 4, and an air electrode 5.
  • the interconnector 6 is provided on the flat surface n2.
  • the air electrode 5 does not extend to the lower end of the cell 1.
  • the solid electrolyte layer 4 is exposed on the surface.
  • the interconnector 6 extends to the lower end of the cell 1.
  • the interconnector 6 and the solid electrolyte layer 4 are exposed on the surface.
  • the solid electrolyte layer 4 is exposed on the surface of the pair of arcuate side surfaces m of the cell 1.
  • the support substrate 2 has a gas flow path 2a through which gas flows.
  • the example of the support substrate 2 shown in FIG. 1A has six gas flow paths 2a.
  • the support substrate 2 has gas permeability, and allows the fuel gas flowing through the gas flow path 2a to permeate to the fuel electrode 3.
  • the support substrate 2 may have conductivity.
  • the conductive support substrate 2 collects electricity generated in the element portion into the interconnector 6.
  • the material of the support substrate 2 contains, for example, an iron group metal component and an inorganic oxide.
  • the iron group metal component may be Ni (nickel) and / or NiO.
  • the inorganic oxide may be, for example, a specific rare earth element oxide.
  • the material of the fuel electrode 3 generally known materials can be used.
  • porous conductive ceramics such as ZrO 2 in which calcium oxide, magnesium oxide, or a rare earth element oxide is solid-dissolved, and ceramics containing Ni and / or NiO may be used.
  • the rare earth element oxide such as Y 2 O 3 is used.
  • Calcium oxide, magnesium oxide or a rare earth element oxide it may be referred to as stabilized zirconia ZrO 2 being dissolved.
  • Stabilized zirconia also includes partially stabilized zirconia.
  • the solid electrolyte layer 4 is an electrolyte and bridges ions between the fuel electrode 3 and the air electrode 5. At the same time, the solid electrolyte layer 4 has a gas blocking property and makes it difficult for a leak between the fuel gas and the oxygen-containing gas to occur.
  • Material of the solid electrolyte layer 4 for example, 3 mol% to 15 mol% of the rare earth oxide may be a ZrO 2 solid-solved.
  • the rare earth element oxide such as Y 2 O 3 is used.
  • other materials may be used as the material of the solid electrolyte layer 4.
  • the material of the air electrode 5 is not particularly limited as long as it is generally used for the air electrode.
  • the material of the air electrode 5 may be, for example, a conductive ceramic such as a so-called ABO 3 type perovskite type oxide.
  • the material of the air electrode 5 may be, for example, a composite oxide in which Sr and La coexist at the A site.
  • a composite oxide La x Sr 1-x Co y Fe 1-y O 3, La x Sr 1-x MnO 3, La x Sr 1-x FeO 3, La x Sr 1-x CoO 3 and the like can be mentioned. Note that x is 0 ⁇ x ⁇ 1 and y is 0 ⁇ y ⁇ 1.
  • the air electrode 5 has gas permeability.
  • the open porosity of the air electrode 5 may be, for example, 20% or more, particularly in the range of 30% to 50%.
  • a lantern chromite-based perovskite-type oxide (LaCrO 3- based oxide), a lanthanum strontium titanium-based perovskite-type oxide (LaSrTIO 3- based oxide), or the like may be used. These materials are conductive and are neither reduced nor oxidized when they come into contact with fuel gases such as hydrogen-containing gases and oxygen-containing gases such as air.
  • the interconnector 6 is dense and makes it difficult for the fuel gas flowing through the gas flow path 2a located inside the support substrate 2 and the oxygen-containing gas flowing outside the support substrate 2 to leak.
  • the interconnector 6 preferably has a relative density of 93% or more, particularly 95% or more.
  • FIGS. 2A to 2C are perspective views showing an example of the cell stack device 10 according to the embodiment
  • FIG. 2B is a cross-sectional view taken along the line AA shown in FIG. 2A
  • FIG. 2C is a cell stack device according to the embodiment. It is a top view which shows an example of 10.
  • the cell stack device 10 includes a cell stack 11 having a plurality of cells 1 arranged (stacked) in the thickness direction T of the cells 1 (see FIG. 1A), and a fixing member 12.
  • the fixing member 12 has a joining member 13 and a supporting member 14.
  • the support member 14 supports the cell 1.
  • the joining material 13 joins the cell 1 and the support member 14.
  • the support member 14 has a support body 15 and a gas tank 16.
  • the support 15 and the gas tank 16 which are the support members 14 are made of, for example, metal.
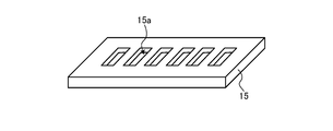
  • the support 15 has an insertion hole 15a into which the lower ends of the plurality of cells 1 are inserted.
  • the lower ends of the plurality of cells 1 and the inner walls of the insertion holes 15a are joined by a joining material 13.
  • the gas tank 16 has an opening for supplying reaction gas to a plurality of cells 1 through the insertion holes 15a, and a concave groove 16a located around the opening.
  • the outer peripheral end of the support 15 is fixed to the gas tank 16 by the fixing material 21 filled in the concave groove 16a of the gas tank 16.
  • the fuel gas is stored in the internal space 22 formed by the support 15 which is the support member 14 and the gas tank 16.
  • a gas flow pipe 20 is connected to the gas tank 16.
  • the fuel gas is supplied to the gas tank 16 through the gas flow pipe 20, and is supplied from the gas tank 16 to the gas flow path 2a (see FIG. 1A) inside the cell 1.
  • the fuel gas supplied to the gas tank 16 is generated by the reformer 102 (see FIG. 11) described later.
  • Hydrogen-rich fuel gas can be generated by steam reforming raw fuel.
  • the fuel gas contains steam.
  • FIG. 2A includes two rows of cell stacks 11, two supports 15, and a gas tank 16.
  • Each of the two rows of cell stacks 11 has a plurality of cells 1.
  • Each cell stack 11 is fixed to each support 15.
  • the gas tank 16 has two through holes on the upper surface.
  • Each support 15 is arranged in each through hole.
  • the internal space 22 is formed by one gas tank 16 and two supports 15.
  • the shape of the insertion hole 15a is, for example, an oval shape when viewed from above.
  • the length of the cell 1 in the arrangement direction, that is, the thickness direction T is larger than the distance between the two end current collecting members 17 located at both ends of the cell stack 11.
  • the width of the insertion hole 15a is, for example, larger than the length of the cell 1 in the width direction W (see FIG. 1A).
  • the joint portion between the inner wall of the insertion hole 15a and the lower end portion of the cell 1 is filled with the joining material 13 and solidified.
  • the inner wall of the insertion hole 15a and the lower end portions of the plurality of cells 1 are joined and fixed, respectively, and the lower end portions of the cell 1 are joined and fixed to each other.
  • the gas flow path 2a of each cell 1 communicates with the internal space 22 of the support member 14 at the lower end.
  • the joining material 13 and the fixing material 21 those having low conductivity such as glass can be used.
  • a specific material of the bonding material 13 and the fixing material 21 amorphous glass or the like may be used, and in particular, crystallized glass or the like may be used.
  • the crystallized glass for example, SiO 2 -CaO-based, MgO-B 2 O 3 based, La 2 O 3 -B 2 O 3 -MgO based, La 2 O 3 -B 2 O 3 -ZnO system, SiO 2 it may be used any of materials such as -CaO-ZnO-based, may be especially a material of SiO 2 -MgO system.
  • the conductive member 18 is interposed between the adjacent cells 1 among the plurality of cells 1.
  • the conductive member 18 electrically connects the fuel pole 3 of one adjacent cell 1 and the air pole 5 of the other cell 1 in series. More specifically, an interconnector electrically connected to the fuel pole 3 of one of the adjacent cells 1 is connected to the air pole 5 of the other cell 1.
  • the end current collecting member 17 is electrically connected to the outermost cell 1 in the arrangement direction of the plurality of cells 1.
  • the end current collecting member 17 is connected to a conductive portion 19 projecting to the outside of the cell stack 11.
  • the conductive portion 19 collects electricity generated by the power generation of the cell 1 and draws it to the outside.
  • the end current collecting member 17 is not shown.
  • the conductive portion 19 of the cell stack device 10 is divided into a positive electrode terminal 19A, a negative electrode terminal 19B, and a connection terminal 19C.
  • the positive electrode terminal 19A is a positive electrode when the electric power generated by the cell stack 11 is output to the outside, and is electrically connected to the end current collecting member 17 on the positive electrode side of the cell stack 11A.
  • the negative electrode terminal 19B is a negative electrode when the electric power generated by the cell stack 11 is output to the outside, and is electrically connected to the end current collecting member 17 on the negative electrode side of the cell stack 11B.
  • connection terminal 19C electrically connects the negative electrode side end current collecting member 17 in the cell stack 11A and the positive electrode side end current collecting member 17 in the cell stack 11B.
  • FIG. 3 is a cross-sectional view taken along the line YY shown in FIG. 2C.
  • the support 15 is joined to the cell 1 as the first cell via the joining material 13.
  • the support 15 is a composite member having a base material 151 and a coating layer 152.
  • the base material 151 has heat resistance.
  • the base material 151 contains chromium.
  • the base material 151 is, for example, stainless steel.
  • the base material 151 may contain, for example, a metal oxide.
  • the coating layer 152 coats the base material 151.
  • the coating layer 152 is located between the first surface 151a of the base material 151 and the bonding material 13.
  • the material of the coating layer 152 is, for example, an inorganic oxide.
  • Inorganic oxides include, for example, aluminum oxide (alumina), magnesium oxide (magnesia), silicon oxide (silica), zirconium oxide (zirconia), chromium oxide (chromia), titanium oxide (titania) and composite oxides thereof. There may be.
  • the zirconia may be stabilized zirconia.
  • the composite oxide may be selected from, for example, forsterite and cordierite.
  • the material of the coating layer 152 may be a material having a low conductivity or an insulating material. Since the material of the coating layer 152 is a material having low conductivity or an insulating material, the cell stack device 10 having a high withstand voltage and a high insulation resistance can be obtained.
  • alumina and forsterite have a small difference in thermal expansion coefficient from the base material 151, and when these are used for the coating layer 152, the thermal stress generated between the base material 151 and the base material 151 due to the temperature difference becomes small. Therefore, the coating layer 152 can be firmly bonded to the base material 151, and the coating layer 152 is less likely to be peeled off from the base material 151.
  • the joining material 13 joins the cell 1 as the first cell and the support 15.
  • the bonding material 13 is located between the solid electrolyte layer 4 of the cell 1 and the coating layer 152 of the support 15, and joins the cell 1 and the first surface 152a of the coating layer 152.
  • the first surface 152a is an example of the first outer surface.
  • the coating layer 152 By locating the coating layer 152 between the bonding material 13 and the base material 151, the stress generated between the bonding material 13 and the base material 151 due to, for example, the difference in the coefficient of thermal expansion is relaxed, and the bonding material is relaxed. The occurrence of cracks in 13 is reduced.
  • the support 15 is made of a different material, and there is a risk that the coating layer 152 may crack or the coating layer 152 may peel off from the base material 151 depending on the operating environment. As a result, fuel gas leaks from the gap formed in the support 15, and there is a risk that the durability of the cell stack device 10 will still decrease. Further, chromium (Cr) contained in the support 15 may be desorbed in the oxidizing atmosphere and reach the cell 1, the performance of the cell 1 may be deteriorated, and the durability of the cell stack device 10 may be lowered.
  • Cr chromium
  • the surface roughness of the surface of the base material 151 exposed to the oxidizing atmosphere is different from the surface roughness of the surface not exposed to the oxidizing atmosphere.
  • the first surface 151a of the base material 151 that is not exposed to the oxidizing atmosphere by facing the coating layer 152 is more than the surface of another portion of the base material 151 that is exposed to the oxidizing atmosphere, for example, the second surface 151b.
  • the surface roughness is large.
  • the adhesion between the coating layer 152 and the base material 151 can be improved. Therefore, it is possible to prevent the coating layer 152 from peeling off from the base material 151, or to prevent the coating layer 152 from breaking and causing fuel gas leakage. Therefore, according to the embodiment, the durability of the support 15 can be increased.
  • the external space 23 is a space where the air electrode 5 (see FIG. 1) of the cell 1 is exposed, and is filled with an oxygen-containing gas such as air. That is, the external space 23 is an oxidizing atmosphere.
  • the base material 151 used in such an environment may have a small specific surface area by reducing the surface roughness of the second surface 151b exposed to the oxidizing atmosphere of the external space 23.
  • the second surface 151b has a smaller surface roughness than the first surface 151a.
  • FIGS. 4A to 10C are perspective views showing another example of the composite member.
  • the internal space 22 is formed by joining the gas tank 16 (see FIG. 2A) to the lower surface of the flat plate-shaped support 15. Will be done.
  • the support 15 shown in FIG. 4B has a plurality of insertion holes 15a. In this case, one cell 1 may be inserted into each of the plurality of insertion holes 15a of the support 15, or a plurality of cells 1 may be inserted into each of the plurality of insertion holes 15a of the support 15. You may.
  • FIG. 4C is an enlarged cross-sectional view of another example of the composite member and the joint portion with the cell.
  • the support 15 has a flat plate shape.
  • the support 15 is joined to the cell 1 by the joining material 13.
  • the support 15 has a base material 151 and a coating layer 152.
  • the base material 151 has a first surface 151a, a second surface 151b, and an inner surface 151e.
  • the first surface 151a faces the coating layer 152.
  • the second surface 151b is exposed to the oxidizing atmosphere of the external space 23.
  • the inner surface 151e is exposed to the reducing atmosphere of the internal space 22.
  • the coating layer 152 coats the base material 151.
  • the coating layer 152 is located between the first surface 151a of the base material 151 and the bonding material 13.
  • the joining material 13 joins the cell 1 and the support 15.
  • the bonding material 13 is located between the solid electrolyte layer 4 of the cell 1 (see FIG. 1A) and the coating layer 152 of the support 15, and has the cell 1 and the first surface 152a as the first outer surface of the coating layer 152. Join.
  • the surface roughness of the first surface 151a of the base material 151 is larger than that of the second surface 151b of the base material 151 exposed to the oxidizing atmosphere of the external space 23.
  • the durability of the support 15 can be increased.
  • the surface roughness of the second surface 151b is smaller than the surface roughness of the first surface 151a, it becomes difficult for chromium (Cr) contained in the base material 151 to desorb into the oxidizing atmosphere of the external space 23 during high temperature operation. be able to. Therefore, according to the embodiment, the performance of the cell 1 is less likely to deteriorate, and the durability of the cell stack device 10 can be improved.
  • 5A and 5B are enlarged cross-sectional views of the joint portion between the composite member and the cell according to the modified examples 2 and 3 of the embodiment.
  • 6A and 6B are enlarged cross-sectional views of the joint between the cell and another example of the composite member according to the modified examples 4 and 5 of the embodiment.
  • the base material 151 of the support 15 may further have an intermediate surface 151c located between the first surface 151a and the second surface 151b.
  • the intermediate surface 151c is an example of the third surface.
  • the intermediate surface 151c faces the coating layer 152.
  • the surface roughness of the intermediate surface 151c is smaller than that of the first surface 151a, for example.
  • the intermediate surface 151c is located closer to the oxidizing atmosphere than the first surface 151a.
  • chromium (Cr) contained in the base material 151 may be desorbed into the oxidizing atmosphere of the external space 23 through the interface between the coating layer 152 and the base material 151 and its vicinity.
  • the base material 151 facing the coating layer 152 by making the surface roughness of the intermediate surface 151c smaller than that of the first surface 151a located at a portion away from the oxidizing atmosphere, for example, it is included in the base material 151 during high temperature operation. Chromium (Cr) can be made difficult to desorb into the oxidizing atmosphere of the external space 23.
  • the surface roughness of the intermediate surface 151c may be the same as the surface roughness of the second surface 151b, for example. Further, the intermediate surface 151c may have, for example, an intermediate surface roughness between the first surface 151a and the second surface 151b.
  • the base material 151 of the support 15 may further have an intermediate surface 151d located between the first surface 151a and the second surface 151b.
  • the intermediate surface 151d is an example of the third surface.
  • the intermediate surface 151d is exposed to the oxidizing atmosphere of the external space 23.
  • the surface roughness of the intermediate surface 151d may be larger than that of the second surface 151b, for example.
  • the surface roughness of the intermediate surface 151d may be the same as the surface roughness of the first surface 151a, for example.
  • the intermediate surface 151d may have, for example, an intermediate surface roughness between the first surface 151a and the second surface 151b.
  • FIG. 6C is an enlarged cross-sectional view of the joint portion between the cell and another example of the composite member according to the modified example 5 of the embodiment.
  • FIG. 6C As shown in FIG. 6C, FIG. 6A, except that the coating layer 152 of the support 15 is located closer to the oxidizing atmosphere of the external space 23 than the first surface 152a and has a surface 152c facing the bonding material 13. It has the same configuration as the support 15 shown in 1.
  • the surface 152c may have a smaller surface roughness than, for example, the first surface 152a.
  • the surface roughness of the surface 152c is made smaller than that of the first surface 152a located at a portion away from the oxidizing atmosphere, so that the coating layer 152 is included in the base material 151 during high-temperature operation, for example.
  • Chromium (Cr) can be made more difficult to desorb into the oxidizing atmosphere of the external space 23. Therefore, according to the embodiment, the performance of the cell 1 is less likely to deteriorate, and the durability of the cell stack device 10 can be improved.
  • the surface 152c may have a larger surface roughness than, for example, the first surface 152a.
  • the surface roughness of the surface 152c is made larger than that of the first surface 152a, so that, for example, the coating layer of the bonding material 13 and the support 15 located near the oxidizing atmosphere. Adhesion with 152 can be improved. Therefore, the bonding material 13 and the coating layer 152 of the support 15 are less likely to be peeled off, or the bonding material 13 or the coating layer 152 is less likely to break, and as a result, fuel gas leakage can be less likely to occur. Therefore, according to the embodiment, the durability of the support 15 can be increased.
  • FIG. 7 is an enlarged cross-sectional view of the joint portion between the composite member and the cell according to the modified example 6 of the embodiment.
  • FIG. 8 is an enlarged cross-sectional view of the joint portion between the cell and another example of the composite member according to the modified example 7 of the embodiment.
  • the coating layer 152 of the support 15 has the same configuration as the support 15 shown in FIGS. 3 and 4C, except that the coating layer 152 of the support 15 further covers the second surface 151b of the base material 151. ing.
  • the coating layer 152 has a first surface 152a facing the bonding material 13 and a second surface 152b exposed to the oxidizing atmosphere of the external space 23.
  • the first surface 152a is an example of the first outer surface.
  • the second surface 152b is an example of the second outer surface.
  • the surface roughness of the surface of the coating layer 152 exposed to the oxidizing atmosphere is different from the surface roughness of the surface of the base material 151 not exposed to the oxidizing atmosphere.
  • the surface roughness of the second surface 151b of the base material 151 that is not exposed to the oxidizing atmosphere is larger than the surface roughness of the second surface 152b of the coating layer 152 that is not exposed to the oxidizing atmosphere.
  • the coating layer 152 is less likely to be peeled off from the base material 151, or the coating layer 152 is less likely to break, and as a result, fuel gas leakage can be less likely to occur. Therefore, according to the embodiment, the durability of the support 15 can be increased. Further, it is possible to make it difficult for chromium (Cr) contained in the base material 151 to desorb from the peeled or broken portion into the oxidizing atmosphere of the external space 23 during high-temperature operation. Therefore, according to the embodiment, the performance of the cell 1 is less likely to deteriorate, so that the durability of the cell stack device 10 can be improved.
  • Cr chromium
  • the surface roughness of the second surface 152b exposed to the oxidizing atmosphere of the external space 23 is smaller than the surface roughness of the second surface 151b covered by the coating layer 152, it is included in the base material 151 during high temperature operation. It is possible to make it difficult for chromium (Cr) to desorb into the oxidizing atmosphere of the external space 23 via the second surface 152b of the coating layer 152. Therefore, according to the embodiment, the durability of the support 15 can be increased, so that the durability of the cell stack device 10 can be increased.
  • the surface roughness of the first surface 152a of the coating layer 152 that is not exposed to the oxidizing atmosphere is exposed to the oxidizing atmosphere of the coating layer 152. It may be larger than the surface roughness of the two surfaces 152b.
  • the adhesion between the coating layer 152 and the bonding material 13 is enhanced. .. Therefore, the bonding material 13 is less likely to be peeled off from the base material 151, or the coating layer 152 is less likely to break, and as a result, fuel gas leakage can be less likely to occur. Therefore, according to the embodiment, the durability of the support 15 can be increased.
  • the surface roughness of the second surface 152b is smaller than the surface roughness of the first surface 152a, chromium (Cr) contained in the base material 151 is oxidized in the external space 23 via the coating layer 152 during high temperature operation. It can be difficult to separate from the atmosphere. Therefore, according to the embodiment, the performance of the cell 1 is less likely to deteriorate, so that the durability of the cell stack device 10 can be improved.
  • the second surface 151b of the base material 151 may have a larger surface roughness than the first surface 151a, or may be the same as each other. However, if the surface roughness of the second surface 151b is made smaller than the surface roughness of the first surface 151a, the chromium (Cr) contained in the base material 151 will be more difficult to be desorbed from the oxidizing atmosphere of the external space 23 during high temperature operation. Can be done. Therefore, according to the embodiment, the performance of the cell 1 is less likely to be deteriorated, so that the durability of the cell stack device 10 can be improved.
  • the end surface 131a of the bonding material 13 exposed to the oxidizing atmosphere of the external space 23 and the second surface 152b of the coating layer 152 are located flush with each other, but the present invention is not limited to this.
  • the second surface 152b may be positioned so as to project from the end surface 131a toward the external space 23, which is an oxidizing atmosphere.
  • 9A and 9B are enlarged cross-sectional views of the joint portion between the composite member and the cell according to the modified examples 8 and 9 of the embodiment.
  • 10A and 10B are enlarged cross-sectional views of the joint between the cell and another example of the composite member according to the modified examples 10 and 11 of the embodiment.
  • the covering layer 152 of the support 15 may further have a surface 152c which is an intermediate surface located between the first surface 152a and the second surface 152b.
  • the surface 152c is an example of the third outer surface.
  • the surface 152c faces the joining material 13.
  • the surface 152c has a smaller surface roughness than, for example, the first surface 152a.
  • the surface 152c is located closer to the oxidizing atmosphere than the first surface 152a.
  • chromium (Cr) contained in the base material 151 may be desorbed into the external space 23, which is an oxidizing atmosphere, via the interface between the bonding material 13 and the coating layer 152 and its vicinity.
  • the surface roughness of the surface 152c may be the same as the surface roughness of the second surface 152b, for example. Further, the surface 152c may have, for example, an intermediate surface roughness between the first surface 152a and the second surface 152b.
  • the covering layer 152 of the support 15 may further have an intermediate surface 152d located between the first surface 152a and the second surface 152b.
  • the intermediate surface 152d is an example of the third outer surface.
  • the intermediate surface 152d is exposed to the oxidizing atmosphere of the external space 23.
  • the intermediate surface 152d has a larger surface roughness than, for example, the second surface 152b. Even when the intermediate surface 152d is provided in this way, it is possible to make it difficult for chromium (Cr) contained in the base material 151 to desorb into the oxidizing atmosphere of the external space 23 during high-temperature operation. Therefore, according to the embodiment, the performance of the cell 1 is less likely to deteriorate, so that the durability of the cell stack device 10 can be improved.
  • the surface roughness of the intermediate surface 152d may be the same as the surface roughness of the first surface 152a, for example. Further, the intermediate surface 152d may have, for example, an intermediate surface roughness between the first surface 152a and the second surface 152b.
  • FIG. 10C is an enlarged cross-sectional view of the composite member according to the modified example 12 of the embodiment.
  • the coating layer 152 may have one or more particle bodies P.
  • the particle body P is located in the internal region 152g from the intermediate portion cp to the inner surface 152e when the intermediate portion cp located between the first surface 152a and the inner surface 152e of the coating layer 152 is defined.
  • the material of the particle body P is, for example, alumina or silicon carbide.
  • the material of the particle body P is not located in the outer region 152f from the first surface 152a to the intermediate portion cp and the base material 151.
  • the particle body P is located in the internal region 152g, which is a portion within t / 2 from the inner surface 152e, where t is the distance between the first surface 152a and the inner surface 152e. That is, the particle size of the particle body P is t / 2 or less.
  • the particle body P By locating the particle body P in the internal region 152 g of the coating layer 152 in this way, for example, the adhesion between the coating layer 152 and the base material 151 is improved. Therefore, according to the embodiment, the durability of the support 15 can be increased, so that the durability of the cell stack device 10 can be increased.
  • FIG. 10C an example in which the particle body P is located between the inner surface 152e facing the base material 151 and the first surface 152a is shown, but the present invention is not limited to this, and for example, the inner surface 152e and the second surface 152b It may be located in between.
  • the surface roughness of each of the above-mentioned surfaces (first surface 151a, second surface 151b, intermediate surface 151c, 151d, first surface 152a, second surface 152b, surface 152c and intermediate surface 152d) and each surface described later.
  • the magnitude of the above can be determined based on the arithmetic mean roughness Ra specified in JIS B0633; 2001.
  • the arithmetic mean roughness Ra is calculated by image analysis of a cross section perpendicular to each surface.
  • the support 15 and the bonding material are cut out, embedded in resin, and the cross section perpendicular to the surface for measuring the surface roughness is polished with abrasive grains, a wrapping film (about # 8000), etc., and the cross section in a mirror surface state.
  • the obtained cross section is photographed using a scanning electronic microscope, an optical microscope, or the like, and the obtained image is image-analyzed to calculate the arithmetic average roughness Ra of each surface.
  • the roughness may be, for example, 0.1 ⁇ m to 30 ⁇ m.
  • the surface roughness (arithmetic mean roughness Ra) of one of the first surface 151a and the second surface 151b may be, for example, 0.1 ⁇ m to 30 ⁇ m.
  • the surface roughness (arithmetic mean roughness Ra) of one of the first surface 152a and the second surface 152b may be, for example, 0.1 ⁇ m to 30 ⁇ m. Further, the surface roughness (arithmetic mean roughness Ra) of one of the second surfaces 151b and 152b may be, for example, 0.1 ⁇ m to 30 ⁇ m. Further, each surface described later can also have the same surface roughness (arithmetic mean roughness Ra) as each surface described above.
  • the first surface 151a and the second surface 151b of the base material 151 are, for example, sandblasted on a portion of the surface of the base material 151 located on the external space 23 side, which is an oxidizing atmosphere, corresponding to the first surface 151a.
  • the first surface 151a can be formed by performing the roughening treatment of the above, and the remaining portion can be used as the second surface 151b.
  • the second surface 151b is formed by performing a polishing treatment on the portion corresponding to the second surface 151b, and the remaining portion is the second surface.
  • One side 151a may be used.
  • the portions corresponding to the first surface 151a and the second surface 151b are subjected to different surface treatments so that the first surface 151a and the first surface 151a and the second surface 151b are treated differently.
  • the two surfaces 151b may be formed respectively.
  • the intermediate surfaces 151c and 151d located between the first surface 151a and the second surface 151b can also be formed by appropriately combining the above-mentioned manufacturing methods of the first surface 151a and the second surface 151b.
  • the coating layer 152 can be positioned by a method such as a thermal spraying method, a vapor deposition method, an electrodeposition method, or a sputtering method. Further, for example, the surface of the base material 151 may be coated with a coating material and then fired to form a coating layer 152.
  • first surface 152a and the second surface 152b of the coating layer 152 differ in the surface roughness of the first surface 151a and the second surface 151b of the base material 151 corresponding to the first surface 152a and the second surface 152b, for example. Can be formed based on. Further, the thickness of the portion corresponding to the second surface 152b may be made larger than the thickness of the portion corresponding to the first surface 152a. Further, for example, the second surface 152b may be formed by polishing the portion of the surface of the coating layer 152 corresponding to the second surface 152b, and the remaining portion may be used as the first surface 152a.
  • first surface 152a and the second surface 152b may be formed by changing various conditions at the time of forming the covering layer 152 described above. Further, the surfaces 152c and the intermediate surface 152d located between the first surface 152a and the second surface 152b can also be formed by appropriately combining the above-mentioned manufacturing methods of the first surface 152a and the second surface 152b.
  • FIG. 11 is an external perspective view showing the module according to the embodiment, in which the front surface and the rear surface, which are a part of the storage container 101, are removed, and the cell stack device 10 of the fuel cell stored inside is taken out to the rear. Shown.
  • the module 100 is configured by accommodating the cell stack device 10 in the storage container 101. Further, above the cell stack device 10, a reformer 102 for generating a fuel gas to be supplied to the cell 1 is arranged.
  • the reformer 102 reforms raw fuel such as natural gas and kerosene supplied through the raw fuel supply pipe 103 to generate fuel gas.
  • the reformer 102 preferably has a structure capable of performing steam reforming, which is an efficient reforming reaction.
  • the reformer 102 includes a vaporizing unit 102a for vaporizing water and a reforming unit 102b in which a reforming catalyst (not shown) for reforming raw fuel into fuel gas is arranged. Reforming can be performed.
  • the fuel gas generated by the reformer 102 is supplied to the fixing member 12 through the gas flow pipe 20, and is supplied from the fixing member 12 to the gas flow path 2a (see FIG. 1A) provided inside the cell 1. NS.
  • the temperature inside the module 100 becomes about 500 to 1000 ° C. due to the combustion and the power generation of the cell 1.
  • the module 100 that reduces the deterioration of the battery performance can be obtained by accommodating the cell stack device 10 that reduces the deterioration of the battery performance.
  • FIG. 12 is an exploded perspective view showing an example of the module accommodating device according to the embodiment.
  • the module accommodating device 110 according to the embodiment includes an outer case, a module 100 shown in FIG. 11, and an auxiliary machine (not shown).
  • the auxiliary device operates the module 100.
  • the module 100 and accessories are housed in an outer case. In FIG. 12, a partial configuration is omitted.
  • the exterior case of the module accommodating device 110 shown in FIG. 12 has a support column 111 and an exterior plate 112.
  • the partition plate 113 divides the inside of the outer case into upper and lower parts.
  • the space above the partition plate 113 in the outer case is the module storage chamber 114 for accommodating the module 100, and the space below the partition plate 113 in the outer case is the supplement for accommodating the auxiliary machine for operating the module 100.
  • the auxiliary machine accommodated in the auxiliary machine accommodating chamber 115 is omitted.
  • the partition plate 113 has an air flow port 116 for flowing the air of the auxiliary machine accommodating chamber 115 to the module accommodating chamber 114 side.
  • the exterior plate 112 constituting the module accommodating chamber 114 has an exhaust port 117 for exhausting the air in the module accommodating chamber 114.
  • the module accommodating device 110 that reduces the deterioration of the battery performance is provided by providing the module 100 that reduces the deterioration of the battery performance in the module accommodating chamber 114. Can be done.
  • a so-called “vertical stripe type” in which only one element portion including a fuel electrode, a solid electrolyte layer, and an air electrode is provided on the surface of the support substrate has been exemplified, but a plurality of elements separated from each other on the surface of the support substrate have been exemplified. It can be applied to a horizontal stripe type cell stack device in which element portions are provided at each location and so-called “horizontal stripe type” cells in which adjacent element portions are electrically connected are stacked.
  • a hollow flat plate type support substrate is used, but it can also be applied to a cell stack device using a cylindrical support substrate. Further, as will be described later, it can also be applied to a flat plate type cell stack device in which so-called "flat plate type” cells are stacked in the thickness direction.
  • the example in which the fuel electrode is provided on the support substrate and the air electrode is arranged on the surface of the cell is shown, but the opposite arrangement, that is, the air electrode is provided on the support substrate. It can also be applied to cell stacking devices where the fuel poles are located on the surface of the cell.
  • the fuel cell, the fuel cell stack device, the fuel cell module, and the fuel cell device are shown as examples of the “cell”, the “cell stack device”, the “module”, and the “module accommodating device”.
  • Other examples may be an electrolytic cell, an electrolytic cell stacking device, an electrolytic module and an electrolytic cell, respectively.
  • FIG. 13A is a perspective view showing a flat plate type cell according to the modified example 13 of the embodiment.
  • FIG. 13B is a partial cross-sectional view of the flat plate cell shown in FIG. 13A.
  • FIG. 13C is an enlarged view of the region A shown in FIG. 13B.
  • the cell stack device has a cell 1A in which a fuel electrode 3, a solid electrolyte layer 4, and an air electrode 5 are laminated. Further, as shown in FIG. 13B, the cell 1A has an element portion 90 in which the solid electrolyte layer 4 is sandwiched between the fuel electrode 3 and the air electrode 5.
  • each element portion 90 of the plurality of cells 1A is electrically connected by conductive members 91 and 92 which are metal layers adjacent to each other.
  • the conductive members 91 and 92 electrically connect the element portions 90 of the adjacent cells 1A to each other, and have a gas flow path for supplying gas to the fuel pole 3 or the air pole 5.
  • the flat plate type cell stack has a sealing material that airtightly seals the flow path 98 of the fuel gas and the flow path 97 of the oxygen-containing gas.
  • the sealing material is a cell fixing member 96, and has a joining material 93 and support members 94 and 95 which are frames.
  • the bonding material 93 may be glass or a metal material such as silver wax.
  • the support member 94 may be a so-called separator that separates the fuel gas flow path 98 and the oxygen gas flow path 97.
  • the materials of the support members 94 and 95 may be, for example, a conductive metal or an insulating ceramic.
  • the bonding material 93 is an insulating material such as glass
  • both the support members 94 and 95 may be made of metal, or one of the supporting members 94 and 95 may be made of an insulating material.
  • the bonding material 93 is a conductive metal
  • the support members 94 and 95 may be made of an insulating material.
  • the support members 94 and 95 may be integrated with the conductive member 92.
  • One of the joining material 93 and the supporting members 94 and 95 is insulating, and the two conductive members 91 and 92 sandwiching the flat plate type cell are electrically insulated from each other.
  • the flat plate type cell includes a support member 94 and a joining material 93.
  • the support member 94 has a base material 941 and a coating layer 942.
  • the base material 941 has a first surface 941a and a second surface 941b, and contains chromium.
  • the coating layer 942 covers the first surface 941a of the base material 941.
  • the bonding material 93 is located between the solid electrolyte layer 4 of the element portion 90 and the first surface 942a of the coating layer 942.
  • the second surface 941b of the base material 941 has a surface roughness smaller than that of the first surface 941a and is exposed to the oxidizing atmosphere (flow path 97).
  • the coating layer 942 Since the surface roughness of the first surface 941a facing the coating layer 942 is larger than the surface roughness of the second surface 941b, the coating layer 942 is peeled off from the base material 941 or the coating layer 942 is broken and the fuel gas is charged. It is possible to suppress the occurrence of leaks. Therefore, according to the embodiment, the durability of the support member 94 can be improved.
  • the durability of the support member 94 can be increased, so that the durability of the cell stack device can be increased.
  • FIG. 13D is an enlarged view of the region A according to the modified example of the flat plate type cell.
  • the coating layer 942 is different from the flat cell shown in FIG. 13C in that the coating layer 942 further covers the second surface 941b of the base material 941.
  • the second surface 942b of the coating layer 942 has a surface roughness smaller than that of the first surface 941a facing the bonding material 93, and is exposed to the oxidizing atmosphere (flow path 97).
  • the surface roughness of the first surface 942a facing the bonding material 93 is larger than the surface roughness of the second surface 942b, the adhesion between the bonding material 93 and the coating layer 942 is improved. Therefore, it is possible to prevent the bonding material 93 and the coating layer 942 from peeling off or the coating layer 942 from breaking and causing a fuel gas leak. Therefore, according to the embodiment, the durability of the support member 94 can be improved.
  • the surface roughness of the second surface 942b is smaller than the surface roughness of the first surface 942a, chromium (Cr) contained in the base material 941 during high temperature operation is oxidized through the coating layer 942 (flow path). It is possible to suppress the detachment to 97). Therefore, according to the embodiment, the durability of the support member 94 can be increased, so that the durability of the cell stack device can be increased.
  • the coating layer 942 is positioned so as to cover the surface 941e of the base material 941 facing the reducing atmosphere (flow path 98), but the present invention is not limited to this, and the surface 941e is not limited to this. May be exposed to the reducing atmosphere (flow path 98).
  • the composite member (support 15) includes the base material 151 and the coating layer 152.
  • the base material 151 has a first surface 151a that is not exposed to the oxidizing atmosphere and contains chromium.
  • the coating layer 152 has a first outer surface (first surface 152a) that covers the first surface 151a and is not exposed to the oxidizing atmosphere.
  • At least one of the substrate 151 and the coating layer 152 has an exposed surface exposed to an oxidizing atmosphere.
  • the surface roughness of the exposed surface is different from the surface roughness of the first surface 151a or the first outer surface (first surface 152a). Thereby, the durability of the composite member (support 15) can be enhanced.
  • the cell stack device 10 includes a plurality of cells 1, the composite member (support 15) described above, and a joining member 13.
  • the plurality of cells 1 have an element unit and include a first cell.
  • the bonding material 13 is located between the element portion and the first outer surface (first surface 152a) of the coating layer 152.
  • the base material 151 has a first surface 151a facing the first cell and a second surface 151b including an exposed surface and not facing the first cell.
  • the surface roughness of the second surface 151b is smaller than that of the first surface 151a. Thereby, the deterioration of the battery performance of the cell stack device 10 can be reduced.
  • the module 100 includes the cell stack device 10 described above and a storage container 101 for accommodating the cell stack device 10. As a result, the module 100 can be made to reduce the deterioration of the battery performance.
  • the module accommodating device 110 includes the module 100 described above, an auxiliary machine for operating the module 100, and an outer case for accommodating the module 100 and the auxiliary equipment. As a result, the module accommodating device 110 can be obtained to reduce the deterioration of the battery performance.

Landscapes

  • Chemical & Material Sciences (AREA)
  • Life Sciences & Earth Sciences (AREA)
  • Engineering & Computer Science (AREA)
  • Manufacturing & Machinery (AREA)
  • Sustainable Development (AREA)
  • Sustainable Energy (AREA)
  • Chemical Kinetics & Catalysis (AREA)
  • Electrochemistry (AREA)
  • General Chemical & Material Sciences (AREA)
  • Composite Materials (AREA)
  • Inorganic Chemistry (AREA)
  • Fuel Cell (AREA)
PCT/JP2021/007219 2020-02-28 2021-02-25 複合部材、セルスタック装置、モジュールおよびモジュール収容装置 Ceased WO2021172480A1 (ja)

Priority Applications (5)

Application Number Priority Date Filing Date Title
CN202180016644.8A CN115210920A (zh) 2020-02-28 2021-02-25 复合构件、电池堆装置、模块以及模块收容装置
US17/802,522 US20230123142A1 (en) 2020-02-28 2021-02-25 Composite member, cell stack device, module, and module housing device
EP21760144.2A EP4113677A4 (en) 2020-02-28 2021-02-25 COMPOSITE ELEMENT, CELL STACKING DEVICE, MODULE AND MODULE HOUSING DEVICE
JP2021538475A JP6972440B1 (ja) 2020-02-28 2021-02-25 セルスタック装置、モジュールおよびモジュール収容装置
JP2021179744A JP7713372B2 (ja) 2020-02-28 2021-11-02 セルスタック装置、モジュールおよびモジュール収容装置

Applications Claiming Priority (2)

Application Number Priority Date Filing Date Title
JP2020-034266 2020-02-28
JP2020034266 2020-02-28

Publications (1)

Publication Number Publication Date
WO2021172480A1 true WO2021172480A1 (ja) 2021-09-02

Family

ID=77490230

Family Applications (1)

Application Number Title Priority Date Filing Date
PCT/JP2021/007219 Ceased WO2021172480A1 (ja) 2020-02-28 2021-02-25 複合部材、セルスタック装置、モジュールおよびモジュール収容装置

Country Status (5)

Country Link
US (1) US20230123142A1 (enExample)
EP (1) EP4113677A4 (enExample)
JP (2) JP6972440B1 (enExample)
CN (1) CN115210920A (enExample)
WO (1) WO2021172480A1 (enExample)

Families Citing this family (1)

* Cited by examiner, † Cited by third party
Publication number Priority date Publication date Assignee Title
WO2011022845A1 (de) 2009-08-25 2011-03-03 Hansruedi Walti-Herter Anordnung zur photoelektrischen ermittlung der schusslage bei einem schiessziel

Citations (4)

* Cited by examiner, † Cited by third party
Publication number Priority date Publication date Assignee Title
WO2008123570A1 (ja) * 2007-03-28 2008-10-16 Ngk Insulators, Ltd. 電気化学装置
JP2015162357A (ja) 2014-02-27 2015-09-07 京セラ株式会社 セルスタック装置、燃料電池モジュールおよび燃料電池装置
JP2019215989A (ja) * 2018-06-12 2019-12-19 日本碍子株式会社 合金部材、セルスタック及びセルスタック装置
JP2019215980A (ja) * 2018-06-12 2019-12-19 日本碍子株式会社 電気化学セル用金属部材、セルスタック及びセルスタック装置

Family Cites Families (5)

* Cited by examiner, † Cited by third party
Publication number Priority date Publication date Assignee Title
DE102008032498A1 (de) * 2008-07-05 2010-01-07 Elringklinger Ag Stromlos abgeschiedene Schutzschichten
WO2013172451A1 (ja) * 2012-05-17 2013-11-21 京セラ株式会社 導電部材およびセルスタックならびに電気化学モジュール、電気化学装置
CN106282887B (zh) * 2015-05-26 2018-12-21 中国科学院金属研究所 微晶氧化物颗粒弥散强化合金涂层的原位制备方法
JP6924568B2 (ja) * 2016-09-28 2021-08-25 森村Sofcテクノロジー株式会社 集電部材および固体酸化物形燃料電池セルユニット
CN108179405A (zh) * 2017-12-18 2018-06-19 常州市好利莱光电科技有限公司 一种耐磨耐高温金属陶瓷涂层的制备方法

Patent Citations (4)

* Cited by examiner, † Cited by third party
Publication number Priority date Publication date Assignee Title
WO2008123570A1 (ja) * 2007-03-28 2008-10-16 Ngk Insulators, Ltd. 電気化学装置
JP2015162357A (ja) 2014-02-27 2015-09-07 京セラ株式会社 セルスタック装置、燃料電池モジュールおよび燃料電池装置
JP2019215989A (ja) * 2018-06-12 2019-12-19 日本碍子株式会社 合金部材、セルスタック及びセルスタック装置
JP2019215980A (ja) * 2018-06-12 2019-12-19 日本碍子株式会社 電気化学セル用金属部材、セルスタック及びセルスタック装置

Non-Patent Citations (1)

* Cited by examiner, † Cited by third party
Title
See also references of EP4113677A4

Also Published As

Publication number Publication date
EP4113677A4 (en) 2024-09-18
JP7713372B2 (ja) 2025-07-25
US20230123142A1 (en) 2023-04-20
EP4113677A1 (en) 2023-01-04
JP6972440B1 (ja) 2021-11-24
JP2022023205A (ja) 2022-02-07
JPWO2021172480A1 (enExample) 2021-09-02
CN115210920A (zh) 2022-10-18

Similar Documents

Publication Publication Date Title
JP7004870B1 (ja) セルスタック装置、モジュールおよびモジュール収容装置
JP5061408B2 (ja) 固体電解質型燃料電池用スタック及び固体電解質型燃料電池
JP7546112B2 (ja) セルスタック装置、モジュール及びモジュール収容装置
WO2021205734A1 (ja) セル、モジュールおよびモジュール収容装置
JP2023139044A (ja) 電気化学セル装置、モジュールおよびモジュール収容装置
JP6972440B1 (ja) セルスタック装置、モジュールおよびモジュール収容装置
JP7714781B2 (ja) 電気化学セル、電気化学セル装置、モジュールおよびモジュール収容装置
JP6960556B1 (ja) セルスタック装置、モジュール、モジュール収容装置および金属部材
JP7050214B1 (ja) 導電部材、セル、セルスタック装置、モジュールおよびモジュール収容装置
JP2024012502A (ja) 導電部材、セル、セルスタック装置、モジュールおよびモジュール収容装置
WO2023200016A1 (ja) 導電部材、電気化学セル装置、モジュールおよびモジュール収容装置
WO2021172481A1 (ja) セルスタック装置、モジュール、モジュール収容装置および導電部材
JP7657386B1 (ja) 固体電解質層、電気化学セル、電気化学セル装置、モジュールおよびモジュール収容装置
WO2024143416A1 (ja) 導電部材、電気化学セル装置、モジュールおよびモジュール収容装置
WO2024150829A1 (ja) 電気化学セル、電気化学セル装置、モジュールおよびモジュール収容装置
WO2023145903A1 (ja) 導電部材、電気化学セル、電気化学セル装置、モジュールおよびモジュール収容装置
WO2025249564A1 (ja) 電気化学セル、電気化学セル装置、モジュールおよびモジュール収容装置
WO2022113411A1 (ja) 導電部材、セル、セルスタック装置、モジュールおよびモジュール収容装置

Legal Events

Date Code Title Description
ENP Entry into the national phase

Ref document number: 2021538475

Country of ref document: JP

Kind code of ref document: A

121 Ep: the epo has been informed by wipo that ep was designated in this application

Ref document number: 21760144

Country of ref document: EP

Kind code of ref document: A1

NENP Non-entry into the national phase

Ref country code: DE

ENP Entry into the national phase

Ref document number: 2021760144

Country of ref document: EP

Effective date: 20220928