WO2021059080A1 - 統計モデルの作成方法、状態推定方法、および状態推定システム - Google Patents

統計モデルの作成方法、状態推定方法、および状態推定システム Download PDF

Info

Publication number
WO2021059080A1
WO2021059080A1 PCT/IB2020/058539 IB2020058539W WO2021059080A1 WO 2021059080 A1 WO2021059080 A1 WO 2021059080A1 IB 2020058539 W IB2020058539 W IB 2020058539W WO 2021059080 A1 WO2021059080 A1 WO 2021059080A1
Authority
WO
WIPO (PCT)
Prior art keywords
data
subject
statistical model
state
estimating
Prior art date
Legal status (The legal status is an assumption and is not a legal conclusion. Google has not performed a legal analysis and makes no representation as to the accuracy of the status listed.)
Ceased
Application number
PCT/IB2020/058539
Other languages
English (en)
French (fr)
Japanese (ja)
Inventor
小國哲平
秋元健吾
岡野達也
Current Assignee (The listed assignees may be inaccurate. Google has not performed a legal analysis and makes no representation or warranty as to the accuracy of the list.)
Semiconductor Energy Laboratory Co Ltd
Original Assignee
Semiconductor Energy Laboratory Co Ltd
Priority date (The priority date is an assumption and is not a legal conclusion. Google has not performed a legal analysis and makes no representation as to the accuracy of the date listed.)
Filing date
Publication date
Application filed by Semiconductor Energy Laboratory Co Ltd filed Critical Semiconductor Energy Laboratory Co Ltd
Priority to JP2021547981A priority Critical patent/JPWO2021059080A1/ja
Priority to US17/640,842 priority patent/US20220344054A1/en
Priority to CN202080066654.8A priority patent/CN114423342A/zh
Publication of WO2021059080A1 publication Critical patent/WO2021059080A1/ja
Anticipated expiration legal-status Critical
Ceased legal-status Critical Current

Links

Images

Classifications

    • AHUMAN NECESSITIES
    • A61MEDICAL OR VETERINARY SCIENCE; HYGIENE
    • A61BDIAGNOSIS; SURGERY; IDENTIFICATION
    • A61B3/00Apparatus for testing the eyes; Instruments for examining the eyes
    • A61B3/10Objective types, i.e. instruments for examining the eyes independent of the patients' perceptions or reactions
    • A61B3/11Objective types, i.e. instruments for examining the eyes independent of the patients' perceptions or reactions for measuring interpupillary distance or diameter of pupils
    • A61B3/112Objective types, i.e. instruments for examining the eyes independent of the patients' perceptions or reactions for measuring interpupillary distance or diameter of pupils for measuring diameter of pupils
    • GPHYSICS
    • G16INFORMATION AND COMMUNICATION TECHNOLOGY [ICT] SPECIALLY ADAPTED FOR SPECIFIC APPLICATION FIELDS
    • G16HHEALTHCARE INFORMATICS, i.e. INFORMATION AND COMMUNICATION TECHNOLOGY [ICT] SPECIALLY ADAPTED FOR THE HANDLING OR PROCESSING OF MEDICAL OR HEALTHCARE DATA
    • G16H50/00ICT specially adapted for medical diagnosis, medical simulation or medical data mining; ICT specially adapted for detecting, monitoring or modelling epidemics or pandemics
    • G16H50/30ICT specially adapted for medical diagnosis, medical simulation or medical data mining; ICT specially adapted for detecting, monitoring or modelling epidemics or pandemics for calculating health indices; for individual health risk assessment
    • AHUMAN NECESSITIES
    • A61MEDICAL OR VETERINARY SCIENCE; HYGIENE
    • A61BDIAGNOSIS; SURGERY; IDENTIFICATION
    • A61B3/00Apparatus for testing the eyes; Instruments for examining the eyes
    • A61B3/10Objective types, i.e. instruments for examining the eyes independent of the patients' perceptions or reactions
    • A61B3/11Objective types, i.e. instruments for examining the eyes independent of the patients' perceptions or reactions for measuring interpupillary distance or diameter of pupils
    • AHUMAN NECESSITIES
    • A61MEDICAL OR VETERINARY SCIENCE; HYGIENE
    • A61BDIAGNOSIS; SURGERY; IDENTIFICATION
    • A61B5/00Measuring for diagnostic purposes; Identification of persons
    • A61B5/16Devices for psychotechnics; Testing reaction times ; Devices for evaluating the psychological state
    • AHUMAN NECESSITIES
    • A61MEDICAL OR VETERINARY SCIENCE; HYGIENE
    • A61BDIAGNOSIS; SURGERY; IDENTIFICATION
    • A61B5/00Measuring for diagnostic purposes; Identification of persons
    • A61B5/16Devices for psychotechnics; Testing reaction times ; Devices for evaluating the psychological state
    • A61B5/165Evaluating the state of mind, e.g. depression, anxiety
    • GPHYSICS
    • G06COMPUTING OR CALCULATING; COUNTING
    • G06NCOMPUTING ARRANGEMENTS BASED ON SPECIFIC COMPUTATIONAL MODELS
    • G06N7/00Computing arrangements based on specific mathematical models
    • G06N7/01Probabilistic graphical models, e.g. probabilistic networks
    • GPHYSICS
    • G16INFORMATION AND COMMUNICATION TECHNOLOGY [ICT] SPECIALLY ADAPTED FOR SPECIFIC APPLICATION FIELDS
    • G16HHEALTHCARE INFORMATICS, i.e. INFORMATION AND COMMUNICATION TECHNOLOGY [ICT] SPECIALLY ADAPTED FOR THE HANDLING OR PROCESSING OF MEDICAL OR HEALTHCARE DATA
    • G16H50/00ICT specially adapted for medical diagnosis, medical simulation or medical data mining; ICT specially adapted for detecting, monitoring or modelling epidemics or pandemics
    • G16H50/20ICT specially adapted for medical diagnosis, medical simulation or medical data mining; ICT specially adapted for detecting, monitoring or modelling epidemics or pandemics for computer-aided diagnosis, e.g. based on medical expert systems

Definitions

  • One aspect of the present invention relates to a method for creating a statistical model. Moreover, one aspect of the present invention relates to a method of estimating the state of a subject. Further, one aspect of the present invention relates to a state estimation system.
  • Deterioration of health is caused by the accumulation of fatigue. Fatigue can be divided into physical fatigue, mental fatigue, and neurological fatigue. Symptoms manifested by the accumulation of physical fatigue are relatively easy to notice. On the other hand, the symptoms caused by the accumulation of mental fatigue and neurological fatigue are often difficult to notice. If mental fatigue and neurological fatigue can be quantified, the condition of the subject can be objectively judged. That is, if the degree of fatigue, stress state, etc. of the subject can be estimated, the health condition of the subject can be appropriately managed.
  • Patent Document 1 discloses a stress determination device that estimates the degree of stress from information about a subject. Further, Patent Document 2 discloses a stress degree evaluation device that acquires a value related to the stress degree based on a value related to the ratio of the pupil diameter to the iris diameter.
  • the stress determination device disclosed in Patent Document 1 uses machine learning. Further, the stress degree evaluation device disclosed in Patent Document 2 uses a weighted value based on statistics. Individual differences are not taken into consideration in these, and if the subjects are different, there is a risk that the judgment results and evaluation results will differ.
  • one aspect of the present invention is to estimate the state of the subject in consideration of individual differences.
  • Another object of one aspect of the present invention is to provide a state estimation system in consideration of individual differences.
  • One aspect of the present invention is a method of creating a statistical model used for estimating the state of a subject, in which the random variable is a Bernoulli distribution, the link function is a logit link function, and linear prediction is performed.
  • the child is a hierarchical Bayesian model using ordinal logistic regression, which is the sum of the section, the product of the partial regression coefficients and explanatory variables, and the parameters representing individual differences.
  • the method of creating a statistical model is a process of inputting a data set having a plurality of sets of data including the rate of change of the pupil area of a plurality of persons and data on the states of a plurality of persons, the prior distribution of sections, and the bias.
  • the prior distribution of the regression coefficients is set to be a non-information prior distribution, and the prior distribution of the parameters representing individual differences is set to be a hierarchical prior distribution, and the posterior distribution of the sections using the Markov chain Monte Carlo method. , A step of estimating the posterior distribution of the partial regression coefficient, and the posterior distribution of the parameters representing individual differences.
  • Another aspect of the present invention is a first step of estimating the state of the subject from the second data using a statistical model in which the parameters are estimated using the first data, and the subject. It is a method of estimating the state of a subject, which has a second step of outputting the result of estimating the state of the person.
  • the statistical model is a hierarchical Bayesian model using ordinal logistic regression
  • the first data has a plurality of sets of data including the rate of change of the pupil area of a plurality of persons and the data on the states of a plurality of persons.
  • the second data includes the rate of change of the pupil area of the subject, the rate of change of the pupil area is the explanatory variable of the statistical model, and the data regarding the state is the response variable of the statistical model.
  • the random variable is the Bernoulli distribution
  • the link function is the logit link function
  • the linear predictor is the product of the section, the partial regression coefficient and the explanatory variables, and the parameters representing individual differences. And, preferably the sum of.
  • the prior distribution of the sections and the prior distribution of the partial regression coefficient are set to be non-information prior distribution, and the prior distribution of the parameters representing individual differences is set to be a hierarchical prior distribution, and Markov. It is preferred to use the chain Monte Carlo method to estimate posterior distributions of sections, partial regression coefficients, and parameters that represent individual differences.
  • Another aspect of the present invention is a state estimation system having an input unit, an output unit, a calculation unit, a main storage unit, and an auxiliary storage unit.
  • the input unit has a function of inputting the first data and the second data
  • the calculation unit has a function of estimating the parameters of the statistical model using the first data and creating the statistical model.
  • the arithmetic unit has a function of estimating the state of the target person from the second data based on the statistical model
  • the output unit has a function of supplying information on the estimated state of the target person.
  • the main storage unit or the auxiliary storage unit has a function of storing a statistical model
  • the first data is a set of data including the rate of change of the pupil area of a plurality of persons and the data relating to the states of the plurality of persons.
  • the second data includes the rate of change of the pupil area of the subject.
  • the state of the subject can be estimated in consideration of individual differences. Further, according to one aspect of the present invention, it is possible to provide a state estimation system in consideration of individual differences.
  • the effect of one aspect of the present invention is not limited to the effects listed above.
  • the effects listed above do not preclude the existence of other effects.
  • the other effects are the effects not mentioned in this item, which are described below. Effects not mentioned in this item can be derived from those described in the description, drawings, etc. by those skilled in the art, and can be appropriately extracted from these descriptions.
  • one aspect of the present invention has at least one of the above-listed effects and / or other effects. Therefore, one aspect of the present invention may not have the effects listed above in some cases.
  • FIGS. 1A and 1B are diagrams illustrating a hierarchical Bayesian model.
  • FIG. 2 is a flow chart showing an example of a method of estimating the state of the subject.
  • FIG. 3 is a flow chart showing an example of a method for estimating parameters.
  • FIG. 4 is a flow chart showing an example of a method of estimating the state of the subject.
  • FIG. 5 is a flow chart showing an example of a method of estimating the state of the subject.
  • 6A and 6B are block diagrams showing a configuration example of a state estimation system.
  • the degree of fatigue of the subject may be collectively described as the state of the subject. Therefore, the term “subject's condition” can be rephrased as “subject's fatigue level” or “subject's stress condition”. In addition, “stress state” may be paraphrased as "fatigue degree”.
  • Embodiment 1 a method of estimating the state of the subject and a state estimation system will be described.
  • the method of estimating the state of the target person is described as the abnormality of the target person. In other words, it is a method of detection.
  • the state estimation system can be paraphrased as an abnormality detection system.
  • Fatigue is felt when the autonomic nerves and hormones are out of balance and affect the brain and body. Stress is one of the causes of imbalance of autonomic nerves and hormones. In other words, stress causes the autonomic nerves and hormones to become unbalanced, leading to fatigue. From this, the imbalance of the autonomic nerves (disturbance of the autonomic nerves) is involved in fatigue and stress.
  • the autonomic nerves include sympathetic nerves that become active during body activity, daytime, and tension, and parasympathetic nerves that become active during rest, night, and relaxation.
  • sympathetic nerve When the sympathetic nerve becomes dominant, pupil dilation (mydriasis), promotion of heartbeat, and increase in blood pressure occur.
  • pupil dilation mydriasis
  • suppression of heartbeat decrease in blood pressure, drowsiness, etc. occur.
  • mydriasis and miosis are known to have double control of the autonomic nerves.
  • miosis delay is affected by sympathetic nerve excitement and parasympathetic nerve relaxation.
  • mydriasis delay is affected by sympathetic relaxation and parasympathetic excitement.
  • the parasympathetic nerve is in an excited state, miosis and mydriasis are suppressed, and the rate of change in pupil diameter or pupil area is slowed down. Therefore, when the autonomic nerves are out of balance, miosis or mydriasis is delayed, that is, the rate of change in pupil diameter or pupil area is slowed down.
  • the imbalance of the autonomic nerves is related to the degree of fatigue and stress. Therefore, the state of the subject (the degree of fatigue of the subject, the stress state of the subject, etc.) can be estimated from the rate of change of the pupil diameter or the pupil area of the subject.
  • the rate of change of the pupil diameter or the pupil area is treated as a numerical value. Therefore, in one aspect of the present invention, a statistical model is used to estimate the state of the subject.
  • a response variable is a variable related to the result. That is, the response variable in one aspect of the present invention is the state of a plurality of subjects or the state of the subjects. The subject may be one of the plurality of subjects.
  • the explanatory variables are variables related to the causative matter. That is, the explanatory variable in one aspect of the present invention is the rate of change of the pupil diameter or the pupil area.
  • the pupil area is proportional to the square of the pupil diameter. Therefore, it is easier to observe or acquire the transition of the change rate of the pupil area as compared with the change rate of the pupil diameter.
  • the rate of change in the pupil area will be used as an explanatory variable.
  • the rate of change in the pupil area can be rephrased as the rate of change in the pupil diameter.
  • the explanatory variables are not limited to the rate of change in the pupil area, and may be a combination of the rate of change in the pupil area and any one or more of changes over time such as heartbeat or pulse, blood pressure, body temperature, blinking, and posture. Good.
  • a questionnaire regarding the condition of the subject may be obtained and combined with these.
  • the time-dependent change of blinking refers to the time-dependent change of the blinking time interval, the time-dependent change of the time required for one blinking, and the like.
  • the rate of change in the pupil area is defined as the degree of change in the pupil area before and after giving a stimulus that changes the condition of the subject or the subject.
  • the pupil area before the stimulus is applied is defined as the maximum pupil area
  • the pupil area after the stimulus is applied is defined as the minimum pupil area.
  • the rate of change of the pupil area is defined as the difference between the maximum pupil area and the minimum pupil area with respect to the time required to change from the maximum pupil area to the minimum pupil area. That is, the rate of change of the pupil area corresponds to the inclination when changing from the maximum pupil area to the minimum pupil area.
  • the maximum pupil area may be defined as the average value of the pupil area in a certain period before the stimulus is given.
  • the minimum pupil area may be defined as the average value of the pupil area in a certain period after the stimulus is given.
  • the self-evaluation of the subject's condition is obtained by a method such as a questionnaire.
  • Questionnaire surveys regarding the condition of subjects are generally measured using an interval scale or an ordinal scale.
  • the data measured by the interval scale is quantitative data
  • the data measured by the ordinal scale is qualitative data.
  • the stress status survey is conducted on a two-point scale of "feeling stress” and "not feeling stress”.
  • the evaluation is performed on a three-point scale of "very stressed”, “slightly stressed”, and “not stressed”.
  • the evaluation is not limited to these, and may be performed by a multi-stage evaluation of 4 or more stages.
  • the subject's condition is discrete data because it is measured by an ordinal scale or an interval scale.
  • data about the subject's condition is represented by a non-negative integer. That is, the data regarding the state of the subject is count data.
  • the data on the subject's condition is in a finite range.
  • Individual differences include, for example, the ratio of the black eye region to the white eye region, the ratio of the pupil area to the black eye region, and the difference in the rate of change of the pupil area with respect to stress.
  • Individual differences are factors that are independent of the subject's condition. That is, individual differences are presumed to be a random effect. Therefore, in order to consider individual differences in estimating the state of the subject, it is preferable to use a statistical model that can consider the random effect.
  • the generalized linear mixed model is a statistical analysis model that is an extension of the generalized linear model (GLM).
  • the generalized linear mixed model is a statistical model that can consider random effects in addition to fixed effects.
  • the generalized linear mixed model is a statistical model that specifies a probability distribution, a linear predictor, and a link function.
  • the probability distribution is a correspondence between the value of a random variable and its appearance probability.
  • a linear predictor is an expression represented by a linear combination of parameters and explanatory variables.
  • the link function is a function that derives a linear predictor. The link function is often automatically determined by determining the probability distribution.
  • the data regarding the state of the subject is acquired as count data in a finite range. Therefore, it is preferable to use logistic regression as a statistical model used for estimating the state of the subject.
  • logistic regression is a preferred technique when the response variables are ordinal or interval scale data of three or more classifications.
  • the Bernoulli distribution is used as the probability distribution as the ordinal logistic regression.
  • a logit link function is used as the link function.
  • the linear predictor is the sum of the intercept, the product of the explanatory variables and the partial regression coefficients, and the parameters representing individual differences.
  • the linear predictor is the sum of the intercept, the product of the explanatory variables and the partial regression coefficients, the parameters representing individual differences, and the parameters representing environmental differences.
  • the intercept, the partial regression coefficient, the parameter representing the individual difference, and the parameter representing the environmental difference are the parameters of the statistical model.
  • the intercept and the partial regression coefficient may be simply referred to as parameters.
  • Methods for estimating parameters of statistical models include maximum likelihood estimation, maximum posteriori probability estimation, and Bayesian estimation.
  • the parameter estimation of maximum likelihood estimation and maximum posteriori probability estimation is point estimation.
  • Bayesian estimation which estimates the probability distribution of the parameters of the statistical model, is used instead of point estimation of the parameters of the statistical model. preferable.
  • Bayesian estimation also called Bayesian statistical model
  • Bayesian statistical model is a statistical model with a structure in which the posterior distribution is proportional to the product of the likelihood and the prior distribution.
  • the probability distribution of the parameter to be estimated is obtained as the posterior distribution.
  • the posterior distribution in Bayesian estimation may be difficult to obtain analytically. If not analytically, the posterior distribution in Bayesian inference can be calculated numerically. For example, numerical integration or the Markov Chain Monte Carlo (MCMC) method may be used. Further, as the algorithm of the MCMC method, the metropolis method, the Gibbs sampling method, or the like may be used.
  • MCMC Markov Chain Monte Carlo
  • the intercept and the partial regression coefficient are parameters that explain the entire data globally.
  • the parameters that represent individual differences and the parameters that represent environmental differences are local parameters that explain only a small part of the data.
  • Global parameters are estimated using a non-information prior distribution.
  • Local parameters are estimated by specifying a hierarchical prior distribution.
  • the parameters of the statistical model of the present embodiment include at least parameters representing individual differences. Therefore, in the Bayesian statistical model of the present embodiment, it is preferable to use a hierarchical prior distribution.
  • a Bayesian model that uses a hierarchical Bayesian distribution is also called a hierarchical Bayesian model.
  • FIG. 1A is a diagram showing a hierarchical Bayes model, which is a statistical model according to one aspect of the present invention.
  • ordinal logistic regression is used as the hierarchical Bayesian model 100.
  • the Bernoulli distribution is used as the probability distribution and the logit link function is used as the link function.
  • the linear predictor is the sum of the intercept 101, the product of the partial regression coefficient 102 and the explanatory variables, and the parameter 103 representing individual differences.
  • the explanatory variable 111 be the rate of change of the pupil area. That is, there is only one explanatory variable.
  • the response variable 112 is set as a stress state (data classified into three) evaluated in three stages. For example, "very stressed” is referred to as grade 3, "slightly stressed” is referred to as grade 2, and “not stressed” is referred to as grade 1.
  • N sets (N is a positive integer) of data related to the rate of change in the pupil area of a plurality of persons and the stress state of the plurality of persons are prepared.
  • the plurality of persons are the plurality of subjects described above.
  • the target person may be included in the plurality of persons.
  • the number of the plurality of persons is preferably 2 or more.
  • it is preferable that the number of the plurality of persons is N or less.
  • the plurality of persons may be referred to as a subject or a plurality of subjects.
  • q i and 1 are the probabilities that the i-th data (i is an integer of 1 or more and N or less) becomes grade 2 or grade 3.
  • ⁇ i, 1 is a logit of q i, 1.
  • ⁇ 01, ⁇ 1, r i is a parameter.
  • ⁇ 01 is the intercept.
  • ⁇ 1 is a partial regression coefficient.
  • r i is a parameter representing the individual differences.
  • x i is the i-th explanatory variable, a rate of change of pupil size with the i-th data.
  • Y 1 data Y indicating the stress state of where the data indicating the grade 1 Y 1 0, data indicative of grade 2 or grade 3 to 1.
  • q i and 2 are the probabilities that the i-th data becomes grade 3.
  • ⁇ i, 2 is a logit of q i, 2.
  • ⁇ 02, ⁇ 1, r i is a parameter.
  • ⁇ 02 is the intercept.
  • parameters other than beta 02 is the same as the beta 1, and r i described above.
  • the data Y indicating the stress state of a Y 2 the data indicative of the Y 2 in Grade 1 or Grade 2 0, data indicative of the grade 3 to 1.
  • the probability that the i-th data will be grade 1 is 1-q i, 1
  • the probability that the i-th data will be grade 2 is q i, 1 ⁇ q i, 2 .
  • the posterior distribution of the hierarchical Bayesian model is proportional to the product of the likelihood and the prior distribution. Further, the parameters ⁇ 0k and ⁇ 1 are fixed effects, and the parameters r i are random effects. Therefore, the following relationship holds.
  • the left side is the posterior distribution, when data Y 1 or the data Y 2 is given a beta 0k, the probability distribution of the beta 1, s, and r i.
  • the p ( ⁇ 0k ) and p ( ⁇ 1 ) on the right side are prior distributions of the intercept ⁇ 0 k and the partial regression coefficient ⁇ 1, respectively.
  • p ( ⁇ 0k ) and p ( ⁇ 1 ) are set to have no information prior distribution.
  • s) is set to be a hierarchical prior distribution.
  • the prior distribution of r i are all the following the normal distribution of standard deviation s by an average zero.
  • s may be called a hyperparameter.
  • p (s) may be called a super prior distribution.
  • p (s) is set to have no information prior distribution.
  • the parameter beta 0k (k is 1 or 2), it can be estimated beta 1, s, and r i.
  • a statistical model for estimating which grade is likely to be classified from the explanatory variables will be created.
  • the rate of change of pupil size input to the explanatory variables also, beta 0k, using the mean of the posterior distribution of the beta 1, r i, comprising the probability of a Grade 1, the probability of a grade 2, and grade 3 probability are calculated respectively. By comparing these probabilities, it is possible to estimate which grade the fatigue degree at the input rate of change of the pupil area has the highest probability.
  • the linear predictor the parameters e j representing environmental difference (j is a positive integer.) May be added. This makes it possible to estimate the stress state in consideration of not only individual differences but also environmental differences.
  • the prior distribution of e j shall be either follows a normal distribution with a standard deviation s p zero mean.
  • p (s p) is set to be a non-informative prior distribution.
  • the response variable is the stress state evaluated in the (m + 1) stage (m is 3 or more).
  • the data is classified into (m + 1) pieces.
  • parameter, beta 01 to beta 0 m, beta 1, s, is a r i. Therefore, by estimating these parameters, it is possible to create a statistical model for estimating the stress state from the explanatory variables.
  • the condition of the target person can be estimated in consideration of individual differences.
  • a hierarchical Bayesian model is used as a statistical model for estimating the state of the subject.
  • ordinal logistic regression it is preferable to use ordinal logistic regression as a statistical model.
  • a Bernoulli distribution is used as a random variable and a logit link function is used as a link function.
  • the linear predictor is the sum of the intercept, the product of the explanatory variables and the partial regression coefficients, and the parameters representing individual differences.
  • the intercept and the partial regression coefficient are also parameters.
  • FIG. 2 is a flow chart showing an example of a method of estimating the state of the subject.
  • the method of estimating the state of the subject includes steps S001 to S005 shown in FIG.
  • Step S001 is a step of inputting the first data.
  • the first data includes a plurality of sets (data sets) of data regarding the rate of change of the pupil area of the subject and the state of the subject. It is preferable that there are a plurality of subjects.
  • the subject may include the subject.
  • the data regarding the state of the subject is the degree of fatigue of the subject, the stress state (or stress index) of the subject, and the like.
  • the first data may include one or more data of the subject's heartbeat or pulse, blood pressure, body temperature, blinking, posture, and other changes over time.
  • the condition of the target person is estimated in consideration of individual differences. Therefore, it is preferable that an ID indicating a subject is assigned to each of the data sets included in the first data.
  • an ID indicating the subject and an ID indicating the measurement environment are assigned to each of the data sets included in the first data. Is preferable.
  • Step S002 is a step of estimating the parameters included in the statistical model.
  • a statistical model for estimating the state of the subject can be created.
  • parameter estimation can be rephrased as creating a statistical model.
  • Step S002 includes steps S101 and S102.
  • the rate of change in pupil area is used as the explanatory variable of the statistical model, and the data related to the condition of the subject is used as the response variable of the statistical model.
  • the first data includes any one or more data of the subject's heartbeat or pulse, blood pressure, body temperature, blinking, posture, and other changes over time, these data are used as explanatory variables of the statistical model. You may use it.
  • Step S101 is a step of setting the prior distribution of parameters. Since the intercept and the partial regression coefficient are individual effects, the prior distribution of the intercept and the prior distribution of the partial regression coefficient are set to be non-information prior distributions. Further, since the parameter representing the individual difference is a random effect, the prior distribution of the parameter representing the individual difference is set to be a hierarchical prior distribution.
  • Step S102 is a step of estimating the posterior distribution of the parameters. It is preferable to use the MCMC method for estimating the posterior distribution of parameters.
  • step S002 step S101 and step S102
  • the parameters included in the statistical model can be estimated. This makes it possible to create a statistical model.
  • step S002 The above is a detailed explanation of step S002.
  • Step S003 is a step of inputting the second data.
  • the second data needs to include the explanatory variables of the first data. That is, the second data includes at least the rate of change of the pupil area of the subject.
  • the condition of the target person is estimated in consideration of individual differences. Therefore, it is preferable that an ID indicating the target person is assigned to the second data. Further, when estimating the state of the target person in consideration of individual differences and environmental differences, it is preferable that an ID indicating the target person and an ID indicating the measurement environment are assigned to the second data.
  • Step S004 is a step of estimating the state of the subject from the rate of change of the pupil area included in the second data.
  • the statistical model created in step S002 is used to estimate the state of the subject.
  • Step S005 is a step of supplying information.
  • the information is information about the state of the subject estimated in step S004.
  • the information is supplied as, for example, visual information such as character strings, numerical values, graphs, and colors, and auditory information such as voice and music.
  • step S004 If it is determined that the state of the subject estimated in step S004 is normal or not abnormal, the above information may not be supplied. At this time, it may be completed after step S004 is completed. Further, when the state of the target person is estimated in the (m + 1) stage (m is 3 or more), the stage in which the above information is not supplied may be specified in advance.
  • the procedure of the method of estimating the state of the target person is not limited to the above.
  • the state of the subject may be estimated by the flow shown in FIG. 4 or FIG.
  • FIG. 4 is a flow chart showing another example of the method of estimating the state of the subject.
  • the method of estimating the state of the subject may include steps S011 to S017 shown in FIG.
  • Step S011 is a step of inputting the first data.
  • the first data includes a plurality of sets of data regarding the time-series changes in the pupil area of the subject and the state of the subject. It is preferable that there are a plurality of subjects.
  • the subject may include the subject.
  • the first data may include one or more data of the subject's heartbeat or pulse, blood pressure, body temperature, blinking, posture, and other changes over time.
  • Step S012 is a step of calculating the rate of change of the pupil area from the time-series change of the pupil area included in the first data. If the first data includes any one or more data of changes over time such as heartbeat or pulse, blood pressure, body temperature, blinking, and posture, the rate of these changes may be calculated.
  • Step S013 is a step of estimating the parameters included in the statistical model. Step S013 is the same step as step S002. Therefore, step S013 has step S101 and step S102 shown in FIG.
  • the description of step S013 can refer to the description of step S002, step S101, and step S102.
  • step S013 the parameters included in the statistical model can be estimated. This makes it possible to create a statistical model.
  • Step S014 is a step of inputting the second data.
  • the second data needs to include the data contained in the first data. That is, the second data includes at least a time-series change in the pupil area of the subject. If the second data includes the rate of change in the pupil area of the subject, step S015, which will be described next, may be omitted.
  • Step S015 is a step of calculating the rate of change of the pupil area from the time-series change of the pupil area included in the second data. If the second data includes any one or more data of changes over time such as heartbeat or pulse, blood pressure, body temperature, blinking, and posture of the subject, even if the rate of these changes is calculated. Good.
  • Step S016 is a step of estimating the state of the subject from the rate of change of the pupil area calculated in step S015.
  • the statistical model created in step S013 is used to estimate the state of the subject.
  • Step S017 is a step of supplying information.
  • the information is information about the state of the subject estimated in step S016.
  • the information is supplied as, for example, visual information such as character strings, numerical values, graphs, and colors, and auditory information such as voice and music.
  • FIG. 5 is a flow chart showing another example of the method of estimating the state of the subject.
  • the method of estimating the state of the subject may include steps S021 to S029 shown in FIG.
  • Step S021 is a step of inputting the first data.
  • the first data includes a plurality of sets of data relating to the moving image and the condition of the subject.
  • the moving image indicates a set of images having two or more frames.
  • the moving image includes the eyes of the subject as the subject. It is preferable that there are a plurality of subjects.
  • the subject may include the subject.
  • the moving image may be captured by using an imaging device, or may be captured by an imaging unit included in a state estimation system described later.
  • the first data may include one or more data of the subject's heartbeat or pulse, blood pressure, body temperature, blinking, posture, and other changes over time.
  • Step S022 is a step of detecting the pupil from the moving image included in the first data. That is, it is a step of detecting the pupil from a moving image in which the subject's eyes are included as the subject.
  • the first object is detected from the images included in the moving image.
  • the first object is, for example, an eye. If the image contains both eyes, only one eye is detected.
  • the second object is detected from the first object.
  • the second object is, for example, a pupil.
  • the pupil can be detected from the eye by circular extraction. From the above, the pupil can be detected from the moving image included in the first data.
  • image processing may be performed in step S022.
  • image processing for example, noise removal, grayscale conversion, normalization, contrast adjustment, and the like may be performed.
  • the pupil can be detected with high accuracy.
  • machine learning should be performed.
  • machine learning may be performed using a neural network.
  • the pupil can be detected in a shorter time than, for example, when a person visually detects the pupil. Further, for example, even if the surrounding landscape is reflected in the pupil, the position of the pupil and the boundary between the pupil and the iris can be detected with high accuracy.
  • Step S023 is a step of calculating the rate of change of the pupil area from the pupil detected in step S022.
  • the area of the second object is calculated.
  • the pupil area can be calculated for each image included in the moving image. That is, it is possible to acquire the time-series change of the pupil area.
  • the rate of change in the pupil area is calculated from the time-series changes in the pupil area. From the above steps, the rate of change in the pupil area can be calculated from the moving image in which the subject's eyes are included as the subject.
  • the rate of these changes may be calculated. ..
  • Step S024 is a step of estimating the parameters included in the statistical model. Step S024 is the same step as step S002. Therefore, step S024 includes steps S101 and S102 shown in FIG. The description of step S024 can refer to the description of step S002, step S101, and step S102.
  • step S024 the parameters included in the statistical model can be estimated. This makes it possible to create a statistical model.
  • Step S025 is a step of inputting the second data.
  • the second data needs to include the data contained in the first data. That is, the second data includes at least a moving image including one eye of the subject as a subject. It is preferable that the moving image is taken by an imaging unit included in the state estimation system described later. If the second data includes the rate of change in the pupil area of the subject, steps S026 and S027 described below may be omitted.
  • Step S026 is a step of detecting the pupil from the moving image included in the second data. That is, it is a process of detecting the pupil from the moving image including the eyes of the subject as the subject. Since step S026 is the same process as step S022, the description of step S026 can take into account the description of step S022.
  • Step S027 is a step of calculating the rate of change of the pupil area from the pupil detected in step S026. Since step S027 is the same process as step S023, the description of step S027 can be taken into consideration with the description of step S023.
  • the second data includes any one or more data of changes over time such as heartbeat or pulse, blood pressure, body temperature, blinking, and posture of the subject, even if the rate of these changes is calculated. Good.
  • Step S028 is a step of estimating the state of the subject from the rate of change of the pupil area calculated in step S027.
  • the statistical model created in step S024 is used to estimate the state of the subject.
  • Step S029 is a step of supplying information.
  • the information is information about the state of the subject estimated in step S028.
  • the information is supplied as, for example, visual information such as character strings, numerical values, graphs, and colors, and auditory information such as voice and music.
  • the state of the target person can be constantly estimated, so that the health state of the target person can be constantly managed.
  • the abnormality of the subject can be detected, so that the health state of the subject can be constantly managed.
  • the method of estimating the state of the target person may be a combination of the above steps.
  • the state of the target person may be estimated by performing step S011, step S012, step S013, step S025, step S026, step S027, step S028, and step S029 in this order.
  • the state of the target person can be estimated at all times, so that the health state of the target person can be constantly managed.
  • the amount of time-series change in the pupil area is smaller than the amount of moving image data, the state of the subject can be estimated with high accuracy even with a small amount of data. Therefore, the amount of data stored in the storage unit (main storage unit or auxiliary storage unit) of the state estimation system described later can be reduced.
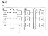
  • FIG. 6A is a block diagram showing a configuration example of the state estimation system 10, which is a state estimation system of one aspect of the present invention.
  • the state estimation system 10 includes an information processing device 20.
  • the information processing device 20 includes an input unit 21, an output unit 22, a calculation unit 23, a main storage unit 24, and an auxiliary storage unit 25. Data and the like can be transmitted between the components of the information processing apparatus 20 via the transmission line 27.
  • the input unit 21 has a function of inputting data.
  • the input unit 21 includes an input device such as a keyboard and a mouse.
  • the output unit 22 has a function of supplying information.
  • the calculation unit 23 has a function of performing calculation processing.
  • the calculation unit 23 has a function of performing a predetermined calculation process on the data transmitted from the input unit 21, the main storage unit 24, the auxiliary storage unit 25, and the like to the calculation unit 23 via the transmission line 27, for example.
  • the calculation unit 23 has a function of estimating parameters and a function of estimating the state of the target person.
  • the calculation unit 23 may have a function of processing an image included in the moving image, a function of calculating the pupil area from the image, a function of calculating the change speed of the pupil area from the time-series change of the pupil area, and the like.
  • the calculation unit 23 can have, for example, a CPU (Central Processing Unit), a GPU (Graphics Processing Unit), and the like.
  • the main storage unit 24 has a function of storing data, programs, and the like.
  • the calculation unit 23 can read the data stored in the main storage unit 24, a program, and the like, and execute the calculation process. For example, the calculation unit 23 can execute a predetermined calculation process on the data read from the main storage unit 24 by executing the program read from the main storage unit 24.
  • the main storage unit 24 preferably operates at a higher speed than the auxiliary storage unit 25.
  • the main storage unit 24 can have, for example, a DRAM (Dynamic Random Access Memory), a SRAM (Static Random Access Memory), or the like.
  • the auxiliary storage unit 25 has a function of storing data, programs, and the like for a longer period of time than the main storage unit 24.
  • the auxiliary storage unit 25 may have, for example, an HDD (Hard Disk Drive), an SSD (Solid State Drive), or the like.
  • the auxiliary storage unit 25 includes ReRAM (Resistive Random Access Memory, also referred to as resistance change type memory), PRAM (Phase change Random Access Memory), FeRAM (Random Highway Memory Memory, Resistance Memory Access Memory), FeRAM (Random Highway Memory Access Memory), and FeRAM (Random High Speed Memory). It may also have a non-volatile memory such as (also referred to as a memory) or a flash memory.
  • the statistical model created by estimating the parameters is stored in the auxiliary storage unit 25.
  • the statistical model may be stored in the main storage unit 24.
  • the information processing device 20 can be provided in an information terminal such as a smartphone, a tablet, or a personal computer, for example.
  • the information processing device 20 may have an imaging unit in addition to the above.
  • the imaging unit has a function of performing imaging and acquiring imaging data.
  • the configuration of the state estimation system 10 is not limited to the above.
  • the state estimation system 10 may have an information processing device 30 in addition to the information processing device 20.
  • the information processing device 20 has a communication unit 26 in addition to an input unit 21, an output unit 22, a calculation unit 23, a main storage unit 24, and an auxiliary storage unit 25.
  • the above description can be taken into consideration for the description of the information processing device 20 and the components of the information processing device 20.
  • the communication unit 26 has a function of transmitting and receiving data and the like to a device and the like provided outside the information processing device 20. Further, the communication unit 26 can have a function of supplying data or the like to the network and a function of acquiring data or the like from the network.
  • the calculation unit 23 performs a predetermined calculation process on the data transmitted from the input unit 21, the main storage unit 24, the auxiliary storage unit 25, the communication unit 26, and the like to the calculation unit 23 via the transmission line 27, for example. Has a function.
  • the information processing device 30 includes an input unit 31, an output unit 32, a calculation unit 33, a main storage unit 34, an auxiliary storage unit 35, and a communication unit 36. Data and the like can be transmitted between the components of the information processing apparatus 30 via the transmission line 37.
  • the input unit 31 has a function of inputting data.
  • the input unit 31 includes an input device such as a keyboard and a mouse.
  • the output unit 32 has a function of supplying information.
  • the calculation unit 33 has a function of performing calculation processing.
  • the calculation unit 33 has a function of performing predetermined calculation processing on data transmitted from, for example, an input unit 31, a main storage unit 34, an auxiliary storage unit 35, a communication unit 36, etc. to the calculation unit 33 via a transmission line 37.
  • the calculation unit 33 has a function of estimating parameters and a function of estimating the state of the target person.
  • the calculation unit 33 may have a function of processing an image included in the moving image, a function of calculating the pupil area from the image, a function of calculating the change speed of the pupil area from the time-series change of the pupil area, and the like.
  • the calculation unit 33 may have, for example, a CPU, a GPU, and the like.
  • the main storage unit 34 has a function of storing data, programs, and the like.
  • the calculation unit 33 can read the data stored in the main storage unit 34, a program, and the like, and execute the calculation process. For example, the calculation unit 33 can execute a predetermined calculation process on the data read from the main storage unit 34 by executing the program read from the main storage unit 34.
  • the main storage unit 34 preferably operates at a higher speed than the auxiliary storage unit 35.
  • the main storage unit 34 may have, for example, a DRAM, an SRAM, or the like.
  • the auxiliary storage unit 35 has a function of storing data, programs, and the like for a longer period of time than the main storage unit 34.
  • the auxiliary storage unit 35 may have, for example, an HDD, an SSD, or the like. Further, the auxiliary storage unit 35 may have a non-volatile memory such as ReRAM, PRAM, FeRAM, MRAM, or a flash memory.
  • the statistical model created by estimating the parameters is stored in the auxiliary storage unit 35.
  • the statistical model may be stored in the main storage unit 34.
  • the communication unit 36 has a function of transmitting and receiving data and the like to a device and the like provided outside the information processing device 30. For example, by supplying data or the like from the communication unit 26 to the communication unit 36, the information processing device 20 can supply the data or the like to the information processing device 30. Further, the communication unit 36 can have a function of supplying data or the like to the network and a function of acquiring data or the like from the network.
  • the calculation unit 23 and the calculation unit 33 have a function of estimating the state of the target person, for example, the calculation unit 23 creates a statistical model, and the created statistical model is transmitted from the information processing device 20 to the information processing device 30. Can be supplied.
  • the arithmetic unit 33 provided in the information processing apparatus 30 does not create a statistical model, the target person is based on the statistical model created by the arithmetic unit 23 for the data input to the arithmetic unit 33. The state of can be estimated. Therefore, the arithmetic processing capacity of the arithmetic unit 33 can be made lower than that of the arithmetic unit 23.
  • the information processing device 20 can be provided in, for example, a server.
  • the information processing device 20 does not have to be provided with the input unit 21 and the output unit 22. That is, the input unit 21 and the output unit 22 may be provided outside the information processing device 20.
  • the information processing device 30 can be provided in an information terminal such as a smartphone, a tablet, or a personal computer. Further, at least a part of the components of the information processing device 20 and at least a part of the components of the information processing device 30 may be provided in the server.
  • the calculation unit 23 and the calculation unit 33 may be provided in the server. In this case, for example, the data acquired by the information terminal is supplied to the calculation unit 33 via the network, and the calculation unit 33 provided in the server estimates the data. Then, by supplying the estimation result to the information terminal via the network, the information terminal can acquire the estimation result.
  • the information processing device 30 may have an imaging unit in addition to the above.
  • the imaging unit has a function of performing imaging and acquiring imaging data.

Landscapes

  • Health & Medical Sciences (AREA)
  • Engineering & Computer Science (AREA)
  • Public Health (AREA)
  • Medical Informatics (AREA)
  • Life Sciences & Earth Sciences (AREA)
  • Physics & Mathematics (AREA)
  • Biomedical Technology (AREA)
  • General Health & Medical Sciences (AREA)
  • Data Mining & Analysis (AREA)
  • Pathology (AREA)
  • Epidemiology (AREA)
  • Databases & Information Systems (AREA)
  • Primary Health Care (AREA)
  • Molecular Biology (AREA)
  • General Physics & Mathematics (AREA)
  • Theoretical Computer Science (AREA)
  • Veterinary Medicine (AREA)
  • Animal Behavior & Ethology (AREA)
  • Surgery (AREA)
  • Heart & Thoracic Surgery (AREA)
  • Biophysics (AREA)
  • Psychiatry (AREA)
  • Ophthalmology & Optometry (AREA)
  • General Engineering & Computer Science (AREA)
  • Computational Mathematics (AREA)
  • Artificial Intelligence (AREA)
  • Algebra (AREA)
  • Mathematical Analysis (AREA)
  • Mathematical Physics (AREA)
  • Mathematical Optimization (AREA)
  • Probability & Statistics with Applications (AREA)
  • Pure & Applied Mathematics (AREA)
  • Computing Systems (AREA)
  • Evolutionary Computation (AREA)
  • Software Systems (AREA)
  • Child & Adolescent Psychology (AREA)
  • Developmental Disabilities (AREA)
  • Educational Technology (AREA)
  • Hospice & Palliative Care (AREA)
  • Psychology (AREA)
PCT/IB2020/058539 2019-09-27 2020-09-15 統計モデルの作成方法、状態推定方法、および状態推定システム Ceased WO2021059080A1 (ja)

Priority Applications (3)

Application Number Priority Date Filing Date Title
JP2021547981A JPWO2021059080A1 (enExample) 2019-09-27 2020-09-15
US17/640,842 US20220344054A1 (en) 2019-09-27 2020-09-15 Statistical model creation method, state estimation method, and state estimation system
CN202080066654.8A CN114423342A (zh) 2019-09-27 2020-09-15 统计模型的生成方法、状态估计方法及状态估计系统

Applications Claiming Priority (2)

Application Number Priority Date Filing Date Title
JP2019177812 2019-09-27
JP2019-177812 2019-09-27

Publications (1)

Publication Number Publication Date
WO2021059080A1 true WO2021059080A1 (ja) 2021-04-01

Family

ID=75166009

Family Applications (1)

Application Number Title Priority Date Filing Date
PCT/IB2020/058539 Ceased WO2021059080A1 (ja) 2019-09-27 2020-09-15 統計モデルの作成方法、状態推定方法、および状態推定システム

Country Status (4)

Country Link
US (1) US20220344054A1 (enExample)
JP (1) JPWO2021059080A1 (enExample)
CN (1) CN114423342A (enExample)
WO (1) WO2021059080A1 (enExample)

Families Citing this family (1)

* Cited by examiner, † Cited by third party
Publication number Priority date Publication date Assignee Title
JP7255580B2 (ja) * 2020-10-29 2023-04-11 株式会社村田製作所 心身調子表示装置、心身調子表示システム、心身調子表示方法、プログラムおよび記録媒体

Citations (3)

* Cited by examiner, † Cited by third party
Publication number Priority date Publication date Assignee Title
JP2015184763A (ja) * 2014-03-20 2015-10-22 ヤフー株式会社 感情推定装置、感情推定方法、及び感情推定プログラム
WO2016189711A1 (ja) * 2015-05-27 2016-12-01 糧三 齋藤 携帯端末用ストレス評価プログラム及び該プログラムを備えた携帯端末
WO2019022242A1 (ja) * 2017-07-28 2019-01-31 国立大学法人大阪大学 快不快の判別

Family Cites Families (9)

* Cited by examiner, † Cited by third party
Publication number Priority date Publication date Assignee Title
JP6355050B2 (ja) * 2014-11-11 2018-07-11 パナソニックIpマネジメント株式会社 会議システムおよび会議システム用プログラム
EP3454720A4 (en) * 2016-05-09 2019-11-20 Magic Leap, Inc. SYSTEMS AND METHODS OF EXTENDED REALITY FOR USER HEALTH ANALYSIS
JP7385993B2 (ja) * 2016-06-20 2023-11-24 マジック リープ, インコーポレイテッド 視覚的処理および知覚の疾患を含む神経学的疾患の評価および修正のための拡張現実ディスプレイシステム
KR102412525B1 (ko) * 2016-07-25 2022-06-23 매직 립, 인코포레이티드 광 필드 프로세서 시스템
US11093848B2 (en) * 2017-09-27 2021-08-17 Tibco Software Inc. Predictive engine for generating multivariate predictive responses
WO2019162054A1 (en) * 2018-02-20 2019-08-29 Koninklijke Philips N.V. System and method for client-side physiological condition estimations based on a video of an individual
CA3154659A1 (en) * 2019-09-18 2021-03-25 Bioxcel Therapeutics, Inc. Systems and methods for detection and prevention of emergence of agitation
IL295489A (en) * 2020-02-14 2022-10-01 Bioxcel Therapeutics Inc Systems and methods for detection and prevention of emergence of agitation
US11468288B2 (en) * 2020-07-28 2022-10-11 Oken Technologies, Inc. Method of and system for evaluating consumption of visual information displayed to a user by analyzing user's eye tracking and bioresponse data

Patent Citations (3)

* Cited by examiner, † Cited by third party
Publication number Priority date Publication date Assignee Title
JP2015184763A (ja) * 2014-03-20 2015-10-22 ヤフー株式会社 感情推定装置、感情推定方法、及び感情推定プログラム
WO2016189711A1 (ja) * 2015-05-27 2016-12-01 糧三 齋藤 携帯端末用ストレス評価プログラム及び該プログラムを備えた携帯端末
WO2019022242A1 (ja) * 2017-07-28 2019-01-31 国立大学法人大阪大学 快不快の判別

Also Published As

Publication number Publication date
JPWO2021059080A1 (enExample) 2021-04-01
CN114423342A (zh) 2022-04-29
US20220344054A1 (en) 2022-10-27

Similar Documents

Publication Publication Date Title
JP7200311B2 (ja) 人工知能およびユーザ入力を用いて発達進度を判定するための方法および装置
Mansueto et al. Investigating the feasibility of idiographic network models.
US10667680B2 (en) Forecasting eye condition progression for eye patients
Midha et al. Factors affecting the success of Open Source Software
US10950353B2 (en) Systems and methods for disease progression modeling
Wu et al. Mapping the voxel-wise effective connectome in resting state fMRI
RU2017101996A (ru) Способы и система слежения за лечением аметропии
US10610109B2 (en) Emotion representative image to derive health rating
JP2022531413A (ja) 機械学習ベースの視覚機器選択の装置
Zebrowitz et al. Older and younger adults’ accuracy in discerning health and competence in older and younger faces.
CN114902235A (zh) 用于基于用户选择的因素来训练机器学习模型的系统和方法
US20180078445A1 (en) Visual health maintenance and improvement
JP7266548B2 (ja) 訓練性ストレス情報を用いて体調を推定する装置、プログラム及び方法
WO2021059080A1 (ja) 統計モデルの作成方法、状態推定方法、および状態推定システム
Shaghaghi et al. evision: Influenza forecasting using cdc, who, and google trends data
CN112862014A (zh) 客户信用预警方法及装置
JP2022537702A (ja) コンタクトレンズ適合性を予測するために機械学習を使用するシステム及び方法
US20240233914A1 (en) Predicting mental state characteristics of users of wearable devices
JP7322818B2 (ja) 推定システム及びシミュレーションシステム
CN119273659B (zh) 一种基于大数据的眼部健康状态监测与评估方法及装置
CN116134540A (zh) 使用深度神经网络从眼底自发荧光图像预测地图状萎缩生长率
JP2023506940A (ja) 機械学習モデル及び波面分析に基づく視力品質評価
CN119541868B (zh) 基于数据挖掘的儿童近视防控预测系统及方法
JP6359433B2 (ja) 予防サービス効果評価装置、および予防サービス効果評価プログラム
CN114449701B (zh) 基于病历信息的灯光类型调控方法、装置及电子设备

Legal Events

Date Code Title Description
121 Ep: the epo has been informed by wipo that ep was designated in this application

Ref document number: 20867144

Country of ref document: EP

Kind code of ref document: A1

ENP Entry into the national phase

Ref document number: 2021547981

Country of ref document: JP

Kind code of ref document: A

NENP Non-entry into the national phase

Ref country code: DE

122 Ep: pct application non-entry in european phase

Ref document number: 20867144

Country of ref document: EP

Kind code of ref document: A1