WO2020262467A1 - 情報処理プログラム、ゲーム装置および情報処理方法 - Google Patents

情報処理プログラム、ゲーム装置および情報処理方法 Download PDF

Info

Publication number
WO2020262467A1
WO2020262467A1 PCT/JP2020/024844 JP2020024844W WO2020262467A1 WO 2020262467 A1 WO2020262467 A1 WO 2020262467A1 JP 2020024844 W JP2020024844 W JP 2020024844W WO 2020262467 A1 WO2020262467 A1 WO 2020262467A1
Authority
WO
WIPO (PCT)
Prior art keywords
information
target
notes
area
party
Prior art date
Legal status (The legal status is an assumption and is not a legal conclusion. Google has not performed a legal analysis and makes no representation as to the accuracy of the status listed.)
Ceased
Application number
PCT/JP2020/024844
Other languages
English (en)
French (fr)
Japanese (ja)
Inventor
佐藤 一樹
亜弥 横山
Current Assignee (The listed assignees may be inaccurate. Google has not performed a legal analysis and makes no representation or warranty as to the accuracy of the list.)
Cygames Inc
Original Assignee
Cygames Inc
Priority date (The priority date is an assumption and is not a legal conclusion. Google has not performed a legal analysis and makes no representation as to the accuracy of the date listed.)
Filing date
Publication date
Application filed by Cygames Inc filed Critical Cygames Inc
Priority to CN202080047457.1A priority Critical patent/CN114072211B/zh
Publication of WO2020262467A1 publication Critical patent/WO2020262467A1/ja
Priority to US17/646,089 priority patent/US12109492B2/en
Anticipated expiration legal-status Critical
Ceased legal-status Critical Current

Links

Images

Classifications

    • AHUMAN NECESSITIES
    • A63SPORTS; GAMES; AMUSEMENTS
    • A63FCARD, BOARD, OR ROULETTE GAMES; INDOOR GAMES USING SMALL MOVING PLAYING BODIES; VIDEO GAMES; GAMES NOT OTHERWISE PROVIDED FOR
    • A63F13/00Video games, i.e. games using an electronically generated display having two or more dimensions
    • A63F13/55Controlling game characters or game objects based on the game progress
    • A63F13/56Computing the motion of game characters with respect to other game characters, game objects or elements of the game scene, e.g. for simulating the behaviour of a group of virtual soldiers or for path finding
    • AHUMAN NECESSITIES
    • A63SPORTS; GAMES; AMUSEMENTS
    • A63FCARD, BOARD, OR ROULETTE GAMES; INDOOR GAMES USING SMALL MOVING PLAYING BODIES; VIDEO GAMES; GAMES NOT OTHERWISE PROVIDED FOR
    • A63F13/00Video games, i.e. games using an electronically generated display having two or more dimensions
    • A63F13/80Special adaptations for executing a specific game genre or game mode
    • A63F13/814Musical performances, e.g. by evaluating the player's ability to follow a notation
    • AHUMAN NECESSITIES
    • A63SPORTS; GAMES; AMUSEMENTS
    • A63FCARD, BOARD, OR ROULETTE GAMES; INDOOR GAMES USING SMALL MOVING PLAYING BODIES; VIDEO GAMES; GAMES NOT OTHERWISE PROVIDED FOR
    • A63F13/00Video games, i.e. games using an electronically generated display having two or more dimensions
    • A63F13/20Input arrangements for video game devices
    • A63F13/21Input arrangements for video game devices characterised by their sensors, purposes or types
    • A63F13/214Input arrangements for video game devices characterised by their sensors, purposes or types for locating contacts on a surface, e.g. floor mats or touch pads
    • A63F13/2145Input arrangements for video game devices characterised by their sensors, purposes or types for locating contacts on a surface, e.g. floor mats or touch pads the surface being also a display device, e.g. touch screens
    • AHUMAN NECESSITIES
    • A63SPORTS; GAMES; AMUSEMENTS
    • A63FCARD, BOARD, OR ROULETTE GAMES; INDOOR GAMES USING SMALL MOVING PLAYING BODIES; VIDEO GAMES; GAMES NOT OTHERWISE PROVIDED FOR
    • A63F13/00Video games, i.e. games using an electronically generated display having two or more dimensions
    • A63F13/30Interconnection arrangements between game servers and game devices; Interconnection arrangements between game devices; Interconnection arrangements between game servers
    • A63F13/35Details of game servers
    • AHUMAN NECESSITIES
    • A63SPORTS; GAMES; AMUSEMENTS
    • A63FCARD, BOARD, OR ROULETTE GAMES; INDOOR GAMES USING SMALL MOVING PLAYING BODIES; VIDEO GAMES; GAMES NOT OTHERWISE PROVIDED FOR
    • A63F13/00Video games, i.e. games using an electronically generated display having two or more dimensions
    • A63F13/40Processing input control signals of video game devices, e.g. signals generated by the player or derived from the environment
    • A63F13/44Processing input control signals of video game devices, e.g. signals generated by the player or derived from the environment involving timing of operations, e.g. performing an action within a time slot
    • AHUMAN NECESSITIES
    • A63SPORTS; GAMES; AMUSEMENTS
    • A63FCARD, BOARD, OR ROULETTE GAMES; INDOOR GAMES USING SMALL MOVING PLAYING BODIES; VIDEO GAMES; GAMES NOT OTHERWISE PROVIDED FOR
    • A63F13/00Video games, i.e. games using an electronically generated display having two or more dimensions
    • A63F13/50Controlling the output signals based on the game progress
    • A63F13/53Controlling the output signals based on the game progress involving additional visual information provided to the game scene, e.g. by overlay to simulate a head-up display [HUD] or displaying a laser sight in a shooting game
    • A63F13/537Controlling the output signals based on the game progress involving additional visual information provided to the game scene, e.g. by overlay to simulate a head-up display [HUD] or displaying a laser sight in a shooting game using indicators, e.g. showing the condition of a game character on screen
    • A63F13/5375Controlling the output signals based on the game progress involving additional visual information provided to the game scene, e.g. by overlay to simulate a head-up display [HUD] or displaying a laser sight in a shooting game using indicators, e.g. showing the condition of a game character on screen for graphically or textually suggesting an action, e.g. by displaying an arrow indicating a turn in a driving game

Definitions

  • the present invention relates to an information processing program, a game device, and an information processing method.
  • Patent Document 1 a so-called rhythm game in which a touch panel is operated according to a musical piece is known.
  • a target object indicating the operation position of the player is displayed, and an instruction object called Notes is moved and displayed toward the target object.
  • the player can grasp the operation position, the operation timing, and the operation mode by the instruction object.
  • An object of the present invention is to provide an information processing program, a game device, and an information processing method capable of improving the operability of a player.
  • the information processing program corresponds to the target based on the operation information derivation unit that derives the predetermined operation information based on the operation input to the touch panel and the target set at a position separated from each other.
  • a target object display unit that displays the target object on the touch panel, an object display unit that moves and displays specific objects corresponding to a plurality of adjacent targets from a predetermined display start position, and simultaneously reaches a plurality of targets, and a specific object.
  • a valid judgment area including at least a plurality of target objects corresponding to the targets reached by the target and an area between the plurality of target objects, a valid judgment unit that determines the validity of the operation based on the operation information, and an operation input.
  • the computer functions as a timing determination unit that determines whether or not the above is performed at a predetermined timing.
  • the target has a corresponding area wider than the display area of the corresponding target object and includes at least an intermediate position with the adjacent target, and the valid judgment area is the corresponding area. It may be set based on.
  • the information processing program further comprises a computer as a game mode switching unit that switches between a first game mode in which a specific object can appear and a second game mode in which there are fewer target objects displayed than in the first game mode.
  • the object display unit moves and displays a non-specific object that reaches only one of the targets from the display start position, and the specific object does not appear in the second game mode. You may.
  • the game device has an operation information deriving unit that derives predetermined operation information based on an operation input to the touch panel, and a target corresponding to the target based on a target set at a position separated from each other.
  • a target object display unit that displays an object on the touch panel, an object display unit that moves and displays a specific object corresponding to a plurality of adjacent targets from a predetermined display start position and simultaneously reaches a plurality of targets, and a specific object.
  • the information processing method sets a target object corresponding to the target based on a step of deriving a predetermined operation information based on an operation input to the touch panel and a target set at a position separated from each other.
  • a step to be displayed on the touch panel a step to move and display a specific object corresponding to a plurality of adjacent targets from a predetermined display start position and simultaneously reach a plurality of targets, and a plurality of steps corresponding to a target reached by the specific object.
  • the step of determining the validity of the operation based on the target object of the above, the valid judgment area including at least the area between the plurality of target objects, and the operation information, and whether or not the operation input is performed at a predetermined timing. Includes a step to determine.
  • the operability of the player can be improved.
  • FIG. 1 is an explanatory diagram showing a schematic configuration of an information processing system.
  • FIG. 2A is a diagram illustrating a hardware configuration of a player terminal.
  • FIG. 2B is a diagram illustrating a hardware configuration of the server.
  • FIG. 3A is a diagram showing an example of a party organization screen.
  • FIG. 3B is a diagram illustrating an example of a character information page.
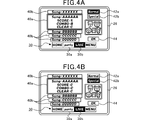
  • FIG. 4A is a diagram showing an example of a game selection screen in a state in which the normal mode is temporarily selected.
  • FIG. 4B is a diagram showing an example of a game selection screen in a state in which the special mode is temporarily selected.
  • FIG. 5 is a diagram illustrating an example of a setting screen for a normal mode.
  • FIG. 5 is a diagram illustrating an example of a setting screen for a normal mode.
  • FIG. 6A is a diagram illustrating an example of a setting screen for a special mode.
  • FIG. 6B is a diagram illustrating an example of the broadcast image.
  • FIG. 6C is a diagram illustrating an example of a party selection screen.
  • FIG. 7A is a diagram for explaining the area attribute information.
  • FIG. 7B is a diagram illustrating a selected party information storage unit.
  • FIG. 7C is a diagram illustrating a character ID storage unit.
  • FIG. 8 is a diagram illustrating an example of a rhythm game in the normal mode.
  • FIG. 9A is a diagram illustrating an example of a rhythm game in a special mode.
  • FIG. 9B is a diagram illustrating an example of specific notes.
  • FIG. 10 is a diagram illustrating an example of a result display screen.
  • FIG. 10 is a diagram illustrating an example of a result display screen.
  • FIG. 11A is a diagram illustrating a tap determination area.
  • FIG. 11B is a diagram illustrating a slide determination area.
  • FIG. 12 is a diagram for explaining Notes extraction information and determination criterion information.
  • FIG. 13A is a first diagram illustrating a valid determination region.
  • FIG. 13B is a second diagram illustrating a valid determination region.
  • FIG. 14 is a diagram for explaining the target notes extraction information.
  • FIG. 15A is a first diagram illustrating an operation information storage unit.
  • FIG. 15B is a second diagram illustrating an operation information storage unit.
  • FIG. 16 is a diagram illustrating a memory configuration and a function as a computer in a player terminal.
  • FIG. 17 is a flowchart illustrating an example of a game selection process in a player terminal.
  • FIG. 18 is a flowchart illustrating an example of party setting processing in the player terminal.
  • FIG. 19 is a flowchart illustrating an example of party change processing in the player terminal.
  • FIG. 20 is a flowchart illustrating an example of a rhythm game control process in a player terminal.
  • FIG. 21 is a flowchart illustrating an example of input determination processing in a player terminal.
  • FIG. 22 is a flowchart illustrating an example of the normal mode operation determination process in the player terminal.
  • FIG. 23 is a flowchart illustrating an example of timing determination processing in the player terminal.
  • FIG. 24 is a flowchart illustrating an example of the special mode tap operation determination process in the player terminal.
  • FIG. 25 is a flowchart illustrating an example of the special mode continuous operation determination process in the player terminal.
  • FIG. 26 is a flowchart illustrating an example of a special mode continuous end operation determination process in a player terminal.
  • FIG. 1 is an explanatory diagram showing a schematic configuration of an information processing system S.
  • the information processing system S is a so-called client-server system including a player terminal 1, a server 100, and a communication network 200 having a communication base station 200a.
  • the player terminal 1 can establish communication with the server 100 via the communication network 200.
  • the player terminal 1 includes a wide range of electronic devices capable of wirelessly or wired communication connection with the server 100. Examples of the player terminal 1 include smartphones, mobile phones, tablet devices, personal computers, game machines, and the like. In the present embodiment, a case where a smartphone is used as the player terminal 1 will be described.
  • the server 100 is communicated with a plurality of player terminals 1.
  • the server 100 stores various information (player information) for each player who plays the game. Further, the server 100 updates the accumulated information based on the operation input from the player terminal 1.
  • the communication base station 200a is connected to the communication network 200 and wirelessly transmits and receives information to and from the player terminal 1.
  • the communication network 200 is composed of a mobile phone network, an Internet network, a LAN (Local Area Network), a dedicated line, and the like, and realizes a wireless or wired communication connection between the player terminal 1 and the server 100.
  • the player terminal 1 and the server 100 function as the game device G.
  • the player terminal 1 and the server 100 each have a role of controlling the progress of the game, and the game can be progressed by the cooperation between the player terminal 1 and the server 100.
  • FIG. 2A is a diagram illustrating a hardware configuration of the player terminal 1.
  • FIG. 2B is a diagram illustrating a hardware configuration of the server 100.
  • the player terminal 1 includes a CPU (Central Processing Unit) 10, a memory 12, a bus 14, an input / output interface 16, a storage unit 18, a communication unit 20, an input unit 22, and an output unit 24. Will be done.
  • CPU Central Processing Unit
  • the server 100 includes a CPU 110, a memory 112, a bus 114, an input / output interface 116, a storage unit 118, a communication unit 120, an input unit 122, and an output unit 124.
  • the configurations and functions of the CPU 110, the memory 112, the bus 114, the input / output interface 116, the storage unit 118, the communication unit 120, the input unit 122, and the output unit 124 of the server 100 are the CPU 10 and the memory 12 of the player terminal 1, respectively. It is substantially the same as the bus 14, the input / output interface 16, the storage unit 18, the communication unit 20, the input unit 22, and the output unit 24. Therefore, in the following, the hardware configuration of the player terminal 1 will be described, and the description of the server 100 will be omitted.
  • the CPU 10 operates a program stored in the memory 12 and controls the progress of the game.
  • the memory 12 is composed of a ROM (Read Only Memory) or a RAM (Random Access Memory), and stores a program and various data required for controlling the progress of the game.
  • the memory 12 is connected to the CPU 10 via the bus 14.
  • the input / output interface 16 is connected to the bus 14.
  • a storage unit 18, a communication unit 20, an input unit 22, and an output unit 24 are connected to the input / output interface 16.
  • the storage unit 18 is composed of a semiconductor memory such as a DRAM (Dynamic Random Access Memory) and stores various programs and data. In the player terminal 1, the programs and data stored in the storage unit 18 are loaded into the memory 12 (RAM) by the CPU 10.
  • DRAM Dynamic Random Access Memory
  • the communication unit 20 is wirelessly connected to the communication base station 200a and transmits / receives information such as various data and programs to / from the server 100 via the communication network 200.
  • a program or the like received from the server 100 is stored in the memory 12 or the storage unit 18.
  • the input unit 22 is composed of, for example, a touch panel, buttons, a keyboard, a mouse, a cross key, an analog controller, etc., on which player operations are input (accepting operations). Further, the input unit 22 may be a dedicated controller provided in the player terminal 1 or connected (externally) to the player terminal 1. Further, the input unit 22 may be composed of an acceleration sensor that detects the tilt or movement of the player terminal 1 or a microphone that detects the voice of the player. That is, the input unit 22 broadly includes a device capable of inputting the player's intention in an identifiable manner.
  • the output unit 24 includes a display device and a speaker.
  • the output unit 24 may be a device connected (externally) to the player terminal 1.
  • the player terminal 1 includes a touch panel 26 that functions as an input unit 22 and an output unit 24.
  • Game content Next, the content of the game provided by the information processing system S (game device G) of the present embodiment will be described with an example.
  • the player downloads a dedicated application from the server 100 to the player terminal 1 in advance, and registers the player ID in the server 100.
  • the player terminal 1 receives information stored in the server 100 such as party information and play history information described later, and displays the game screen on the touch panel 26.
  • the rhythm game can be played using a party composed of a plurality of characters (here, five characters) possessed by the player.
  • FIG. 3A is a diagram showing an example of a party organization screen.
  • FIG. 3B is a diagram illustrating an example of a character information page.
  • a home screen (not shown) is displayed on the touch panel 26.
  • the home screen displays a menu bar 30 composed of a plurality of tabs. The player can switch the display screen of the touch panel 26 by tapping the tab of the menu bar 30.
  • the party organization screen shown in FIG. 3A is displayed.
  • a unit switching bar 32 composed of seven unit tabs is displayed.
  • a total of seven types of party information, from the first party information to the seventh party information, are stored in the party information storage unit of the memory 12.
  • the party information includes a party name and five media IDs. The player can edit the party name for each party.
  • the medium ID includes, for example, a character ID assigned to each character to identify the character, various parameters such as a level and an appeal value described later, and character information indicating costumes and accessories worn by the character.
  • the player can possess a plurality of media IDs having the same character ID but different parameters. It should be noted that one party cannot include the same medium ID more than once. That is, the party information includes five different media IDs.
  • the party information can include different media IDs associated with the same character ID. Therefore, one party may include a medium ID having the same character ID. In this case, the character ID may be left as it is for one of the media IDs having the same character ID, and the character ID may be changed for the other media IDs so that there is no duplication within the party. ..
  • different character IDs are associated with all media IDs. In other words, here, it is assumed that the character ID and the medium ID are one-to-one. Therefore, in the following description, the medium ID may be referred to as a character or a character ID.
  • Each unit tab corresponds to any of the seven types of party information, and the party information page 34 corresponding to the tapped unit tab is displayed. In addition, the tapped unit tab is highlighted, making it easier for the player to recognize the correspondence between the unit tab and the party information.
  • party information page 34 On the party information page 34, the party name (AAAA in this case), five character icons indicating the characters organized in the party, various parameters of the party, and the center effect are displayed.
  • party parameters a life value (denoted as “Life” in the figure) and three types of appeal values (denoted as “Vo”, “Da”, and “Vi” in the figure) are provided. There is.
  • a character selection screen (not shown) is displayed. Although detailed description is omitted, on the character selection screen, the player can select any one of the possessed characters.
  • the character selected on the character selection screen is replaced with the character selected by the player on the party information page 34 (the character corresponding to the character icon tapped on the party information page 34).
  • the character information corresponding to the character before the replacement is updated to the character information corresponding to the character after the replacement.
  • the player cannot select the medium ID (that is, the character) included in the currently selected party information.
  • the character information page 36 shown in FIG. 3B is displayed.
  • various parameters of the character and an explanation of the ability of the character are displayed.
  • the character information page 36 is also displayed when the character icon displayed on the character selection screen is pressed and held, as in the party information page 34.
  • the character is set with four parameters including a life value and three appeal values consisting of a vocal value (Vo), a dance value (Da), and a visual value (Vi).
  • Vo vocal value
  • Da dance value
  • Vi visual value
  • the player can improve the value of each of these parameters by training the character. The higher the value of the parameter, the more advantageous the player can play the rhythm game.
  • center effect and “special skill” are preset as abilities for each character. Both the “center effect” and the “special skill” are benefits that make the rhythm game advantageous, and there are multiple types of each. However, in the rhythm game, among the five characters organized in one party, only the center effect of the character placed in the center (middle) is effective. On the other hand, the "special skill” is effective regardless of the arrangement of the characters.
  • the player can confirm the parameters and abilities of each character by displaying the character information page 36 on the party organization screen.
  • the party information page 34 displays the party parameters, which are the total values of the parameters of the characters organized in the party. Further, on the party information page 34, the center effect of the character placed at the center (middle) of the party is displayed as the center effect of the party.
  • FIG. 4A is a diagram showing an example of a game selection screen in a state where the normal mode is temporarily selected.
  • FIG. 4B is a diagram showing an example of a game selection screen in a state in which the special mode is temporarily selected.
  • the game selection screen shown in FIG. 4A or FIG. 4B is displayed.
  • the game selection screen is a screen for the player to select the game type of the rhythm game.
  • a song played during a rhythm game and a plurality of game types having different game modes, which will be described later, are provided. That is, in the present embodiment, at least one of the music and the game mode is different for each game type.
  • a plurality of game types having different difficulty levels may be provided for the same music and game mode.
  • a music information tab 40a On the game selection screen, a music information tab 40a, a title display tab 40b, a normal mode selection tab 42a, a special mode selection tab 42b, and a determination tab 44 are displayed.
  • Information related to the game type being tentatively selected is displayed on the music information tab 40a. That is, on the music information tab 40a, the title of the music being tentatively selected and the play history information of the game type being tentatively selected are displayed. Also, while the game selection screen is displayed, a part of the tentatively selected music is repeatedly played.
  • a plurality of title display tabs 40b are displayed above and below the music information tab 40a. Only the title of the music is displayed on the title display tab 40b.
  • a selection operation flick operation in the vertical direction
  • the title is moved and displayed in the operation direction.
  • the song being tentatively selected is changed, and the display content of the song information tab 40a is also changed.
  • the selection operation of tapping any of the title display tabs 40b is performed, the tentatively selected music is changed to the music corresponding to the tapped title display tab 40b.
  • the normal mode selection tab 42a and the special mode selection tab 42b are provided for switching the game mode.
  • a plurality of game modes including a normal mode and a special mode are provided.
  • the normal mode is a game mode in which one party, that is, five characters are used in a rhythm game
  • the special mode is a game mode in which three parties, that is, 15 characters are used in a rhythm game. It is a game mode that can be played.
  • the normal mode is stored as the game mode being temporarily selected, and the normal mode selection tab 42a is highlighted as shown in FIG. 4A.
  • the special mode is stored as the game mode being temporarily selected, and the special mode selection tab 42b is highlighted as shown in FIG. 4B.
  • FIGS. 4A and 4B when the game mode being tentatively selected is changed, the play history information displayed on the music information tab 40a is changed.
  • the selection information indicating the song being temporarily selected and the game mode is set in the selection information storage unit of the memory 12, and the setting screen is displayed on the touch panel 26.
  • the setting screen is provided with a setting screen for normal mode and a setting screen for special mode.
  • FIG. 5 is a diagram illustrating an example of a setting screen for the normal mode.
  • the normal mode setting screen shown in FIG. 5 is displayed on the touch panel 26.
  • any one of the seven party information stored in the party information storage unit of the memory 12 is set in the selected party information storage unit of the memory 12.
  • the party information to be set in the selected party information storage unit is selected according to preset conditions such as the party information having the highest total appeal value and the party information used in the previous rhythm game.
  • the party name here, AAAA
  • the total appeal value displayed on the normal mode setting screen is a value that reflects the registered music, center effect, and the like.
  • identification images 46 showing the characters organized in the party are displayed on the normal mode setting screen.
  • a character selection screen (not shown) is displayed as in the party information page 34 described above, and the characters organized in the party can be changed.
  • the identification image 46 is pressed and held, the character information page 36 shown in FIG. 3B is displayed.
  • two switching tabs 48 are displayed on the normal mode setting screen.
  • the party information stored in the selected party information storage unit is changed to other party information.
  • the party name, the total appeal value, and the identification image 46 displayed on the normal mode setting screen are changed.
  • the start tab 50 displayed on the normal mode setting screen is tapped, the rhythm game is started. If the character information (medium ID) included in the party information stored in the selected party information storage unit is less than 5, the start tab 50 is grayed out, and it is notified that the rhythm game cannot be started.
  • FIG. 6A is a diagram illustrating an example of a setting screen for a special mode.
  • FIG. 6B is a diagram illustrating an example of the broadcast image 60.
  • FIG. 6C is a diagram illustrating an example of a party selection screen.
  • the special mode setting screen When the special mode setting screen is displayed, three of the seven party information stored in the party information storage unit of the memory 12 are set in the selected party information storage unit of the memory 12. The three party information is selected from the seven party information according to preset conditions.
  • the special mode setting screen is provided with a left party display area 52, a middle party display area 54, and a right party display area 56.
  • the party is displayed for each of the three party information set in the selected party information storage unit, such as the party name and the total appeal value of the party.
  • the left party display area 52 is provided with a first setting area 52a, a second setting area 52b, a third setting area 52c, a fourth setting area 52d, and a fifth setting area 52e.
  • the middle party display area 54 is provided with a sixth setting area 54a, a seventh setting area 54b, an eighth setting area 54c, a ninth setting area 54d, and a tenth setting area 54e.
  • the right party display area 56 is provided with an 11th setting area 56a, a 12th setting area 56b, a 13th setting area 56c, a 14th setting area 56d, and a 15th setting area 56e.
  • the 15 areas from the first setting area 52a to the 15th setting area 56e are simply referred to as setting areas.
  • an identification image 58 provided corresponding to the character ID is displayed in each setting area.
  • the identification image 58 is composed of an icon image that imitates a character used in a rhythm game. Characters organized in each party can be identified by the identification image 58 displayed in each setting area.
  • the music video is displayed according to the music to be played.
  • the music video is a game screen generated by either the server 100 or the player terminal 1.
  • one party that is, five characters are used.
  • a music video in which any of the five characters organized in the party appears is displayed.
  • the special mode rhythm game three parties, that is, 15 characters are used.
  • a music video in which a maximum of 15 characters appear is displayed.
  • the special mode has more characters that appear in the music video than the normal mode, and it can be said that the music video is a beautiful game mode. Therefore, the ratio of the purpose of playing a rhythm game to the purpose of enjoying a music video is higher in the special mode than in the normal mode.
  • the number of characters appearing in the music video varies depending on the song. In other words, depending on the song, not all characters used in rhythm games appear in music videos. That is, the characters selected by the player may include characters that appear in the music video and characters that do not appear.
  • the character appearing in the music video is notified to the player by the notification image 60 displayed in the setting area.
  • the broadcast image 60 is composed of a ribbon marked “MV” and is superimposed and displayed on the upper left portion of the setting area.
  • the setting area in which the notification image 60 is displayed is referred to as an object display area.
  • the character corresponding to the identification image 58 displayed in the object display area appears. Therefore, in the example shown in FIG. 6A, the second setting area 52b, the third setting area 52c, the fourth setting area 52d, the sixth setting area 54a, the seventh setting area 54b, the eighth setting area 54c, and the ninth setting area 54d. , 11 characters in which the identification image 58 is displayed in the 11th setting area 56a, the 12th setting area 56b, the 13th setting area 56c, and the 14th setting area 56d will appear in the music video.
  • FIG. 6C shows a party selection screen when the middle party display area 54 is tapped in FIG. 6A.
  • the party selected the display area is tapped on the special mode setting screen is displayed.
  • the party selection screen is provided with the selected party display area 62.
  • the selected party display area 62 is provided with a first selection area 62a, a second selection area 62b, a third selection area 62c, a fourth selection area 62d, and a fifth selection area 62e.
  • the five regions from the first selection region 62a to the fifth selection region 62e are simply referred to as selection regions.
  • an identification image 58 provided corresponding to the character ID is displayed in each selection area.
  • the player can grasp the characters organized in the currently selected party even on the party selection screen.
  • the display order of the identification images 58 displayed in the selection area of the party selection screen is the display order of the identification images 58 displayed in the setting area of the special mode setting screen. Is equal to.
  • the notification image 60 is displayed in the selection area.
  • the position of the notification image 60 displayed on the party selection screen coincides with the position of the notification image 60 displayed on the special mode setting screen.
  • two switching tabs 48, a set tab 64, and a back tab 66 are displayed on the party selection screen.
  • the switching tab 48 is tapped, party information different from the party information stored in the selected party information storage unit is temporarily registered. Further, the identification image 58 displayed in the selection area of the party selection screen is changed based on the temporarily registered party information.
  • the temporarily registered party information is set in the selected party information storage unit of the memory 12. Therefore, for example, when the middle party display area 54 is tapped on the special mode setting screen and the party is changed on the party selection screen, the party corresponding to the middle party display area 54 is changed.
  • the special mode setting screen is displayed on the touch panel 26.
  • the special mode setting screen is displayed based on the changed party information. That is, when the party information is changed, the identification image 58 displayed in the setting area is changed. In this way, on the party selection screen, the party used in the rhythm game can be changed.
  • the same special mode setting screen as before the party selection screen is displayed is displayed. Even if any of the party information is temporarily registered on the party selection screen, the selected party information storage unit of the memory 12 is not updated when the back tab 66 is tapped.
  • the arrangement information display unit 68 is provided on the special mode setting screen.
  • the arrangement information display unit 68 shows the positional relationship of each of the three parties appearing in the music video. This allows the player to grasp the position of each character in the music video.
  • the total appeal value of the three parties is displayed on the special mode setting screen.
  • an appeal value that reflects the center effect and the like is calculated for each of the three parties, and the average value of the calculated three appeal values is displayed as the total appeal value. Then, when the start tab 50 displayed on the special mode setting screen is tapped, the rhythm game is started.
  • the start tab 50 is grayed out and it is notified that the rhythm game cannot be started. Further, when the party information including the same character information (medium ID) is included in the three party information, in other words, when the same medium ID is included in the 15 medium IDs, the start is started. Tab 50 is grayed out.
  • the above character selection screen is displayed.
  • the identification image 58 corresponding to the changed character is displayed in the selection area of the party selection screen.
  • the notification image 60 is displayed on the special mode setting screen, but the notification image 60 may be displayed on the normal mode setting screen as well.
  • FIG. 7A is a diagram for explaining the area attribute information.
  • FIG. 7B is a diagram illustrating a selected party information storage unit.
  • FIG. 7C is a diagram illustrating a character ID storage unit.
  • Area attribute information is stored in the memory 12.
  • the area attribute information is information that can identify which of the above 15 setting areas is the object display area, and is provided for each song (game type).
  • the object display area is indicated by "T", and the setting area that is not the object display area is indicated by a blank.
  • the song No. According to the area attribute information of No. 1, it is shown that the setting areas other than the first setting area 52a, the fifth setting area 52e, the tenth setting area 54e, and the fifteenth setting area 56e are object display areas. Also, for example, the song No. According to the area attribute information of No. 3, it is shown that all the setting areas are object display areas.
  • the area attribute information may be defined by an integer n (1 ⁇ n ⁇ 15), and the setting area having a number from 1 to n may be determined to be an object display area.
  • the selection party information storage unit of the memory 12 includes three storage units, a first storage unit, a second storage unit, and a third storage unit. Any one of the first party information to the seventh party information is stored in the selected party information storage unit.
  • the party information is stored in each of the three storage units, and when the normal mode setting screen is displayed, the party information is stored only in the first storage unit.
  • the character ID storage unit of the memory 12 includes a plurality of storage areas corresponding to one setting area different from each other among the 15 setting areas.
  • the first to fifteenth storage areas represented by the numbers 1 to 15 correspond to the first setting area 52a to the fifteenth setting area 56e, respectively.
  • Character IDs are stored in these storage areas.
  • this storage area not only the character ID but also character information such as parameters of each character may be stored together.
  • the character ID is stored in the character ID storage unit based on the party information stored in the party information storage unit.
  • the first to fifth storage areas of the character ID storage unit correspond to the first storage unit of the selected party information storage unit.
  • the sixth to tenth storage areas of the character ID storage unit correspond to the second storage unit of the selected party information storage unit
  • the eleventh to fifteenth storage areas of the character ID storage unit correspond to the second storage unit.
  • the character ID is stored in the first storage area to the fifth storage area based on the party information stored in the first storage unit of the selected party information storage unit. If the special mode is selected, the character ID is stored in the first storage area to the fifth storage area based on the party information stored in the first storage unit of the selected party information storage unit, and the selected party information is stored. Based on the party information stored in the second storage unit of the storage unit, the character ID is stored in the sixth storage area to the tenth storage area, and the party information stored in the third storage unit of the selected party information storage unit is used. Based on this, the character ID is stored in the 11th storage area to the 15th storage area.
  • the identification image 58 is displayed in each corresponding setting area based on the character ID stored in each storage area of the character ID storage unit. Further, when the special mode setting screen is displayed, the area attribute information is acquired, and the broadcast image 60 is displayed in each setting area based on the acquired area attribute information.
  • the character ID storage unit shifts to the tapped display area.
  • the corresponding character ID is acquired.
  • the identification image 58 is displayed in each selection area of the party selection screen shown in FIG. 6C.
  • the area attribute information corresponding to the displayed area tapped on the special mode setting screen is acquired, and the notification image 60 is displayed in each selected area based on the acquired area attribute information.
  • the character selection screen may be displayed by long-pressing the selection area while the party selection screen is displayed, and the character may be changed on the character selection screen.
  • the party information in the party information storage unit is changed, and the character ID in the character ID storage unit is changed based on the changed party information.
  • the special mode setting screen (setting screen) including a plurality of setting areas is displayed.
  • the player can change the party and change the character.
  • any one of the plurality of identification images 58 provided corresponding to each of the plurality of character IDs is displayed in the setting area based on the operation of the player.
  • the notification image 60 notifies which of the plurality of setting areas is the object display area.
  • a party selection screen is displayed in which party information including two or more predetermined numbers (five in this case) of character IDs can be selected. Based on the party information selected on this party selection screen, the identification image 58 is displayed in the setting area of the special mode setting screen. Further, on the party selection screen, the identification image 58 displayed in the object display area on the special mode setting screen is notified.
  • FIG. 8 is a diagram illustrating an example of a rhythm game in the normal mode.
  • music is output from a speaker which is a kind of output unit 24 in the player terminal 1.
  • a music video in which a character appears is reproduced and displayed on the touch panel 26 in accordance with the music output from the speaker.
  • the music video is a game screen generated corresponding to a game type (musical piece), a game mode, a type such as 2D or 3D, and an image quality such as high image quality or low image quality. That is, a plurality of music videos are generated for one game type. The player can preset information for identifying the generated music video on a predetermined menu screen.
  • the target objects displayed in the rhythm game in the normal mode are the first target object 70a, the second target object 70b, the third target object 70c, the fourth target object 70d, and the fifth target object 70e, respectively.
  • Each target object is superimposed and displayed on the music video.
  • the target object has a higher priority than the music video and is always displayed in front of the image of the music video.
  • five common target coordinates are set regardless of the music, that is, the game type.
  • the five target objects are displayed on the touch panel 26 in a certain range centered on any of the target coordinates. Therefore, the center positions of the five target objects shown in FIG. 8 are the five target coordinates, respectively.
  • the left-right coordinate in FIG. 8 is the x-coordinate
  • the up-down coordinate is the y-coordinate.
  • the five target coordinates are set evenly separated from each other in the x-axis direction, and the y-coordinates are all the same. That is, the five target coordinates have different x-coordinates and the y-coordinates are set to be equal.
  • the identification image 58 is displayed as the target object. That is, the identification image 58 itself can be said to be the target object.
  • the five identification images 58 are determined based on the character ID set in the character ID storage unit (see FIG. 7C). At the start of the rhythm game in the normal mode, the character ID is set in the first storage area to the fifth storage area.
  • the first to fifth storage areas of the character ID storage unit correspond to the first target object 70a to the fifth target object 70e, respectively.
  • the identification image 58 corresponding to the character ID stored in the third storage area of the character ID storage unit is displayed, and as the fourth target object 70d, the fifth character ID storage unit is displayed.
  • the identification image 58 corresponding to the character ID stored in the storage area will be displayed.
  • the five target objects are separated from each other in the x-axis direction, but the target objects themselves may come into contact with each other. However, in this case, it is desirable that the player can identify the boundary between two adjacent target objects.
  • the above target coordinates are the arrival positions of Notes N.
  • a plurality of types of Notes N are moved and displayed from the upper side to the lower side of the touch panel 26, and finally reach one of the target coordinates.
  • Notes N always corresponds to one of the target coordinates, and Notes N moves toward the corresponding target coordinates.
  • an operation sound a predetermined sound (hereinafter referred to as an operation sound) is output for a moment.
  • the operation sound is output at the timing when Notes N reaches the target coordinates (target object), the impression that the performance matches the music is given.
  • Notes N displayed in the rhythm game in normal mode are all circular in shape, and their display areas are all the same. Also, the five target objects displayed in the normal mode are all circular, and their display areas are all equal to Notes N. Therefore, the Notes N and the target object displayed in the rhythm game in the normal mode all have the same shape. However, the shape and display area of Notes N and the target object may differ depending on the type.
  • Each Notes N is associated with an operation mode, and the player needs to perform an operation corresponding to the Notes N at a predetermined timing.
  • the tap notes TN is associated with a tap operation as an operation mode.
  • the tap operation in the present embodiment means the start of a new operation input (contact) to the touch panel 26 as the input unit 22. Therefore, in the present embodiment, for example, when the touch panel 26 is pressed and held for a long time, the start of this long press operation is also included in the tap operation.
  • FlickNotes FN is associated with a flick operation as an operation mode.
  • the flick operation has been input when an operation that continuously moves a predetermined distance in the x-axis direction within a fixed time and exceeds a predetermined target coordinate in the x-axis direction is detected.
  • the condition for determining whether or not the flick operation has been input is not limited to this, and can be set as appropriate.
  • the flicknotes FN displays an arrow indicating left or right, and notifies the player of the direction of the flick operation.
  • the first slide notes SNh is associated with a tap operation as an operation mode. Further, the intermediate slide notes SNm is associated with a continuous operation as an operation mode.
  • the continuous operation is a long press operation that is continuously detected without interruption, and is an operation in which the two consecutive operation detection positions are within a certain range of the touch panel 26. Therefore, for example, when the contact is maintained at a plurality of different positions of the touch panel 26 at the same time, the continuously detected operation positions exceed a certain range, so that the plurality of operations are not determined to be continuous operations. ..
  • the final slide notes SNe is associated with a continuous end operation as an operation mode.
  • the continuous end operation means the end of the above continuous operation, that is, the long press operation. Therefore, there is always a continuation operation before the continuation end operation, and there is always a tap operation before the continuation operation.
  • the slide notes group SN is composed of a plurality of Notes N having different display start timings of the touch panel 26, arrival timings of target coordinates, and erasure timings from the touch panel 26.
  • the first displayed Notes N that is, the first Notes N becomes the first slide Notes SNh
  • the last displayed Notes N that is, the last Notes N becomes the final Slide Notes SNe.
  • the slide notes group SN includes 3 or more notes N
  • the notes N arranged between the first slide notes SNh and the last slide notes SNe becomes the intermediate slide notes SNm.
  • the slide notes group SN includes at least the first slide notes SNh and the final slide notes SNe.
  • the first slide notes SNh, the middle slide notes SNm, and the last slide notes SNe all have the same display mode as the tap notes TN (white perfect circle shape).
  • the notes N constituting the slide notes group SN are connected by the slide guide SG.
  • the slide guide SG is displayed across two notes N whose display order is continuous, and is moved and displayed together with the notes N.
  • the slide guide SG suggests the slide direction and the optimum movement speed to the player. Further, the slide guide SG enables the player to distinguish the tap notes TN from the first slide notes SNh, the middle slide notes SNm, and the final slide notes SNe.
  • the Notes N is an object (display object) that instructs the player of the operation mode, the operation timing, and the operation position, and in the rhythm game, the player is required to input the operation according to the Notes N.
  • a judgment period is set for each Notes N, and when an operation corresponding to the Notes N is input within the judgment period for the target object reached by the Notes N, a score is given based on the input timing. Granted. The points obtained in this way are accumulated, and the accumulated points are notified by the score bar 72a provided on the upper part of the touch panel 26.
  • a life bar 72b is provided on the upper part of the touch panel 26.
  • the life bar 72b visually displays the remaining life value of the party, and when the life value becomes 0, the game of the rhythm game is over. The life value is reduced when the operation corresponding to Notes N is not input at an appropriate timing.
  • some characters have the ability to increase the life value by satisfying a predetermined condition, and when such a character is organized into a party, the life value may increase.
  • FIG. 9A is a diagram illustrating an example of a rhythm game in a special mode.
  • FIG. 9B is a diagram illustrating an example of specific notes.
  • the rhythm game in the special mode as in the normal mode, music is output from the speaker during the rhythm game, and the music video is reproduced and displayed on the touch panel 26 in accordance with the music output from the speaker.
  • FIG. 9A a large number of characters (character object, indicated by the symbol Cha in FIG. 9A) appear in the music video.
  • the character appearing in the music video is a character corresponding to the identification image 58 displayed in the object display area on the special mode setting screen (see FIG. 6A) before the start of the rhythm game.
  • FIG. 9B for convenience of explanation, the characters appearing in the music video are shown by broken lines.
  • n target objects 15 target objects are displayed at the bottom of the touch panel 26.
  • the target objects displayed in the rhythm game in the special mode are referred to as the nth target objects (n is an integer from 1 to 15).
  • the first target object is arranged on the leftmost side of the touch panel 26, and n becomes larger toward the right side.
  • the nth target object will be described with reference numerals 80a to 80q, respectively.
  • the role, purpose, and function of the target object are common to the normal mode and the special mode. Therefore, in order to avoid duplicate explanations, only the differences between the special mode and the normal mode of the target object will be described below.
  • 15 common target coordinates are set regardless of the music, that is, the game type.
  • the target objects of 15 are displayed on the touch panel 26 in a certain range centered on any of the target coordinates. Therefore, the center positions of the 15 target objects shown in FIG. 9A are the 15 target coordinates, respectively.
  • the target coordinates of 15 are set evenly separated from each other in the x-axis direction, and the y-coordinates are the same.
  • the identification image 58 is displayed as the target object.
  • the identification image 58 as the target object is determined based on the character ID set in the character ID storage unit (see FIG. 7C).
  • the character ID is set in the first storage area to the fifteenth storage area of the character ID storage unit.
  • the first to fifteenth storage areas of the character ID storage unit correspond to the first target object 80a to the fifteenth target object 80q, respectively.
  • the identification image 58 corresponding to the character ID stored in the first storage area of the character ID storage unit is displayed, and as the tenth target object 80j, the tenth character ID storage unit is displayed.
  • the identification image 58 corresponding to the character ID stored in the storage area will be displayed.
  • the 15 target objects are separated from each other in the x-axis direction here, the target objects themselves may come into contact with each other. However, in this case, it is desirable that the player can identify the boundary between two adjacent target objects.
  • the special mode Since the special mode has more target coordinates (target objects) than the normal mode, the separation distance between adjacent target coordinates (target objects) is small. In addition, the display area of each target object is also smaller than that in the normal mode. As a result, it becomes difficult for the player to properly operate the target object, and the operation feeling of the player is impaired. Therefore, in order to suppress such a decrease in operation feeling, the rhythm game in the special mode is provided with specific notes (specific objects) different from the normal mode.
  • tap notes 82, head slide notes 84h, middle slide notes 84m, final slide notes 84e, and flick notes 86 are provided as specific notes.
  • the above-mentioned tap notes TN, flick notes FN, head slide notes SNh, middle slide notes SNm, and final slide notes SNe all have the same shape as the target object.
  • the width of the specific notes spans multiple target coordinates and target objects.
  • the specific notes correspond to a plurality of target coordinates arranged continuously in the x-axis direction, are moved and displayed from a predetermined display start position, and reach the plurality of target coordinates at the same time.
  • the plurality of target coordinates (target objects) that the specific notes reach at the same time are all areas where the player's operation is effective. Therefore, the specific notes have a wider area in which the player's operation is effective than the target object. As a result, even when many target objects are set, the operability of the player can be improved.
  • one slide note group SN may include a plurality of specific notes having different widths, or the slide notes group SN may be composed of only specific notes having the same width. .. Further, in the special mode, as shown in FIG. 9B, not only specific notes but also tap notes TN and flick notes FN having the same shape as the target object may appear.
  • the range in the x-axis direction in which the operation is effective is set wider than that in the normal mode for the tap notes TN and the flick notes FN.
  • the special mode only specific notes may appear, or specific notes associated with a flick operation may be provided.
  • first game mode a special mode in which specific notes can appear
  • second game mode a normal mode in which there are fewer target objects displayed than in the special mode
  • the normal mode only the notes N (non-specific object) that reach only one of the target coordinates from the display start position are moved and displayed, and the specific notes (specific object) do not appear in the normal mode.
  • specific notes may appear even in the normal mode.
  • FIG. 10 is a diagram illustrating an example of a result display screen.
  • the result display screen as shown in FIG. 10 is displayed on the touch panel 26.
  • the parameters of the characters used in the rhythm game increase based on the total points acquired, the points for each identification image 58 (target object), and the like.
  • a predetermined animation is displayed.
  • the result display screen of the rhythm game in the special mode is composed of three result pages.
  • a result page is provided for each party used in the rhythm game.
  • the structure of each result page is as shown in FIG. 10, which is almost the same as the result display screen in the rhythm game in the normal mode.
  • the result page of any one is displayed on the touch panel 26.
  • the switching tab 48 is superimposed and displayed, and when the switching tab 48 is tapped, another result page is displayed on the touch panel 26. Further, when the parameter of the character displayed on the result page not displayed on the touch panel 26 exceeds the threshold value, “NEW” is displayed in the vicinity of the switching tab 48 as shown in FIG.
  • a predetermined animation is displayed immediately after that.
  • FIG. 11A is a diagram illustrating a tap determination area.
  • FIG. 11B is a diagram illustrating a slide determination area.
  • five target objects from the first target object 70a to the fifth target object 70e are displayed based on the target coordinates.
  • the center position of each target object is the five target coordinates in the normal mode.
  • a tap determination area shown by cross-hatching in FIG. 11A is set for each target coordinate.
  • the tap determination area includes any one of the target coordinates.
  • the target coordinates are located at the center in the x-axis direction in each tap determination area.
  • the width of this tap determination area in the x-axis direction is equal to the diameter of the target object.
  • the length of the tap determination region in the y-axis direction is larger than the diameter of the target object.
  • the tap determination area including the first target object 70a is set as the first tap determination area
  • each tap determination area including the second target object 70b to the fifth target object 70e is set as the nth tap determination area (n). Is an integer from 2 to 5).
  • the operation mode of the input operation is first specified. At this time, if the input operation is specified as a tap operation, it is determined whether the position is included in any of the tap determination areas, and the lane is specified based on the determination result.
  • the lanes have a one-to-one correspondence with the target coordinates, and here, five lanes are provided from the first lane to the fifth lane.
  • the first lane is specified.
  • the nth lane (n is an integer from 2 to 5) is specified. If it is determined that the tap operation position is not included in any of the tap determination areas, the operation is treated as invalid.
  • a slide determination area shown by hatching in FIG. 11B is set for each target coordinate.
  • the slide determination area includes any one of the target coordinates.
  • the width of the slide determination area in the x-axis direction is larger than the diameter of the target object. That is, the width of the slide determination area in the x-axis direction is larger than the width of the tap determination area in the x-axis direction.
  • the length of the tap determination area in the y-axis direction is larger than the diameter of the target object.
  • the length of the slide determination area in the y-axis direction is equal to the length of the tap determination area in the y-axis direction. Therefore, the slide determination area has a larger area than the tap determination area.
  • the slide determination area and the tap determination area may have different lengths in the y-axis direction.
  • the slide determination area including the first target object 70a is set as the first slide determination area
  • each slide determination area including the second target object 70b to the fifth target object 70e is set as the nth tap determination area (n). Is an integer from 2 to 5).
  • the touch panel 26 When it is specified on the touch panel 26 that a continuous operation or a continuous end operation has been performed, it is determined whether the position is included in any of the slide determination areas, and the lane is specified based on the determination result. Specifically, when the input operation is specified as a continuation operation or a continuation end operation, and it is determined that the position is included in the first slide determination area, the first lane is specified.
  • the nth lane (n is an integer from 2 to 5) is specified. Will be done. If it is determined that the position of the continuous operation or the continuous end operation is not included in any of the slide determination areas, the operation is treated as invalid.
  • the operation mode is specified, and the lane is specified based on the determination area set for each operation mode. Then, when the lane is specified, the notes to be determined are extracted based on the notes extraction information provided for each lane.
  • FIG. 12 is a diagram for explaining Notes extraction information and determination criterion information.
  • the notes extraction information is stored in the memory 12.
  • Notes extraction information is provided for each song (game type) of the rhythm game in the normal mode.
  • the type of Notes N (Notes information) is associated with the elapsed time from the start of the rhythm game. This Notes extraction information is provided for each lane.
  • the number of frames displayed on the touch panel 26 is set as the elapsed time.
  • the number of frames per unit time, that is, the frame update interval is not limited, but for example, the number of frames per second is 30 to 60.
  • the leading slide notes information indicating the leading slide notes SNh is stored in frames 110 to 130.
  • the final slide notes information indicating the final slide notes SNe is stored in frames 150 to 170.
  • a reference point is set for each note information.
  • the reference point is the number of frames from the start of the rhythm game. For example, 120 frames are set as the reference point in the head slide notes information of the first lane.
  • the reference point is referred to when extracting the notes information, and if there is a reference point within a predetermined frame from the timing when the operation is input, the operation and the notes information are associated with each other.
  • the intermediate slide notes information indicating the intermediate slide notes SNm is stored in frames 135 to 145.
  • the first slide notes SNh and the last slide notes SNe in the first lane and the intermediate slide notes SNm in the second lane constitute one slide notes group SN.
  • the tap notes information indicating the tap notes TN is stored in the 115 to 135 frames and the 127 to 147 frames, respectively. In this way, in one lane, a part of a plurality of notes information may be duplicated and stored in the same frame.
  • the operation performed during the rhythm game in the normal mode is specified as a tap operation, and the fifth lane is specified.
  • the number of frames (elapsed time) from the start of the rhythm game is acquired, and among the notes information existing in the fifth lane, the reference point is set within the predetermined frames before and after the number of frames at the time of inputting the operation.
  • One of the earliest notes information is extracted.
  • the predetermined number of frames can be set as appropriate, here, 10 frames are set as the predetermined frames. Therefore, if there is a reference point for any of the Notes information 10 frames before or 10 frames ahead of the current frame, the earliest (smallest number of frames) Notes information in the Notes information. Is specified as a judgment target. If there is no Notes information in the 10 frames before and after, the operation does not correspond to any Notes N, that is, it is treated as invalid.
  • the timing judgment process is then performed based on the judgment criterion information.
  • a judgment period including a reference point is set in the judgment reference information.
  • the determination interval is derived from the difference between the reference point and the timing at which the operation is input.
  • 110 frames are set as a reference point in the tap notes TN of the third lane.
  • 10 frames before and after the reference point that is, 20 frames are set as the determination period of the tap notes TN.
  • the determination period is divided into a first determination section to a fifth determination section.
  • the first judgment section is within 2 frames before and after the reference point
  • the second judgment section has a difference of 3 or 4 frames from the reference point
  • the third judgment section has a difference from the reference point.
  • the difference is 5 or 6 frames
  • the fourth determination section has a difference of 7 or 8 frames from the reference point
  • the fifth determination section has a difference of 9 or 10 frames from the reference point.
  • the judgment period may differ depending on Notes N, or may be common to all Notes N. Further, the number of determination sections provided within the determination period and the number of frames in each determination section may be common to all Notes N, or may differ depending on Notes N.
  • the tap notes TN from the first judgment section to the fourth judgment section is classified as a success judgment, and the fifth judgment section is a failure judgment. If the timing determination result is a success determination, a score is given to the player, and if the determination result is a failure determination, no score is given. Further, the smaller the difference between the reference point and the timing at which the operation is input, the higher the score is given to the player. Therefore, when the determination result is the first determination section, the highest score is given, and thereafter, the points given in the order of the second determination section, the third determination section, and the fourth determination section decrease.
  • the notes information specified as the determination target and subjected to the timing determination process is deleted from the notes extraction information in the memory 12. Therefore, the same notes information is not specified as the determination target more than once, and the timing determination process is performed only once for one note information. Therefore, even when the failure determination is made, the notes information specified as the determination target is deleted, and the same notes information is not extracted as the determination target.
  • the notes information specified as the judgment target is deleted, the information for identifying whether or not the notes information is specified as the judgment target may be retained for each note information.
  • FIG. 13A is a first diagram for explaining the valid determination region VA
  • FIG. 13B is a second diagram for explaining the valid determination region VA.
  • 15 target objects from the first target object 80a to the 15th target object 80q are displayed based on the target coordinates.
  • the center position of each target object becomes the 15 target coordinates in the special mode.
  • the target coordinates where the center of the first target object 80a is located are called the first target coordinates
  • the target coordinates where the centers of the second target object 80b to the fifteenth target object 80q are located are the nth target coordinates (n). Is an integer from 2 to 15).
  • the valid judgment area VA is set for all Notes N.
  • the valid determination region VA is shown by hatching. This valid determination area VA is set based on the target coordinates reached by Notes N. For example, the tap notes TN shown in FIG. 13A is moved and displayed so as to reach the thirteenth target coordinates (13th target object 80n).
  • the effective judgment area VA of this tap notes TN has a wider range in the y-axis direction than the 13th target object 80n.
  • the range of the valid determination area VA in the y-axis direction is common to all Notes N, and is equal to the range of the tap determination area and the slide determination area in the y-axis direction in the normal mode.
  • the range of the valid determination area VA in the y-axis direction may be different for each Notes N, or may be different from the range of the tap determination area and the slide determination area in the y-axis direction.
  • the valid judgment area VA of the tap notes TN the range in the x-axis direction extends from the display area of the 12th target object 80m to the display area of the 14th target object 80p. That is, the valid determination area VA of the tap notes TN includes a target object corresponding to the target coordinates reached by the tap notes TN, a target object corresponding to the target coordinates one adjacent to the target coordinates reached by the tap notes TN, and these. Includes at least the area between the target objects of.
  • the tap notes 82 shown in FIG. 13A are specific notes that simultaneously reach the eighth target object 80h from the fourth target object 80d. That is, in the tap notes 82, five target coordinates from the fourth target coordinate to the eighth target coordinate are set at the arrival position, and these five target coordinates are reached at the same time.
  • the valid determination area VA of the tap notes 82 has a range in the x-axis direction extending from the display area of the third target object 80c to the display area of the ninth target object 80i. That is, even in the tap notes 82, the display range of the target object located next to the target object to be reached is set to the range in the x-axis direction of the valid determination area VA.
  • the flicknotes FN shown in FIG. 13B is moved and displayed so as to reach the 12th target coordinates (12th target object 80m).
  • the effective determination region VA of this FlickNotes FN has a range in the y-axis direction wider than that of the 12th target object 80 m. Further, in the valid determination area VA of FlickNotes FN, the range in the x-axis direction extends from the display area of the 11th target object 80k to the display area of the 13th target object 80n.
  • the flicknotes 86 shown in FIG. 13B are specific notes that reach the third target object 80c to the seventh target object 80g at the same time. That is, in the flick notes 86, five target coordinates from the third target coordinate to the seventh target coordinate are set at the arrival position, and these five target coordinates are reached at the same time.
  • the valid determination area VA of the flicknotes 86 has a range in the x-axis direction extending from the display area of the second target object 80b to the display area of the eighth target object 80h. That is, even in FlickNotes 86, the display range of the target object located next to the target object to be reached is set to the range in the x-axis direction of the valid determination area VA.
  • the width of the flicknotes 86 in the x-axis direction varies. That is, in the special mode, the moving distance of the flick operation to be input differs depending on the width of the flick notes 86, in other words, the number of target coordinates associated with the flick notes 86.
  • the valid determination area VA of the specific notes includes at least a plurality of target objects corresponding to the target coordinates reached by the specific notes, and an area between the plurality of target objects. Further, in the present embodiment, the valid determination area VA of the specific notes includes a target object corresponding to the target coordinates reached by the specific notes and a target object corresponding to the target coordinates immediately adjacent to the target coordinates reached by the specific notes. , At least include the area between these target objects. Therefore, it can be said that the valid determination region VA includes at least a line segment connecting the target coordinate groups corresponding to the specific notes by the shortest distance.
  • the valid determination area VA is set based on the corresponding area.
  • the corresponding area is set for each target coordinate, and here, with the target coordinate as the center, at least an intermediate position between the target coordinate and the target coordinate located one adjacent to the target coordinate is included.
  • the central position of the gap formed between the adjacent target objects becomes the boundary of the corresponding area. Therefore, the corresponding area is wider than the target object.
  • the effective determination area VA is set without a gap in the x-axis direction by connecting the corresponding areas set for each target coordinate.
  • FIG. 14 is a diagram for explaining the target notes extraction information.
  • the target notes extraction information is stored in the memory 12.
  • the target notes extraction information is provided for each song (game type) of the rhythm game in the special mode.
  • the elapsed time (number of frames) from the start of the rhythm game and the type of notes N (notes information) are associated with each other.
  • a plurality of notes information may be associated with one frame number.
  • the above-mentioned determination reference information and the valid determination area information are stored in the memory 12.
  • the valid judgment area information is provided for each target notes extraction information, and the valid judgment area VA of all the notes information included in the target notes extraction information is stored.
  • the earliest notes information that has a reference point within a predetermined frame before and after is extracted based on the current frame based on the target notes extraction information. .. At this time, if the notes information is not extracted, the tap operation is invalid.
  • the notes information is extracted and the extracted notes information is the tap notes information corresponding to the tap operation or the first slide notes information.
  • the operation position of the tap operation is within the valid determination area VA of the Notes information. If the operation position is within the valid determination area VA, this Notes information is specified as the determination target, and the same timing determination process as described above is performed. In this timing determination process, any one of the first determination section to the fifth determination section is derived as the determination result, as in the normal mode.
  • the next notes information is extracted. Will be done. That is, based on the target notes extraction information, there is a reference point in a predetermined frame before and after, and the notes information in the second display order (the notes information next to the earliest previously extracted notes information) is extracted. ..
  • the target notes extraction information Based on, there is a reference point in the predetermined frames before and after, and the notes information in the second display order is extracted.
  • the second note information corresponds to the tap operation and the operation position of the tap operation is within the valid determination area VA of the note information
  • the second note information is specified as the determination target. If the second notes information is not specified as the determination target, the above process is repeated until any of the notes information is specified as the determination target. At this time, if none of the notes information is specified as the determination target, the tap operation is invalid.
  • FIG. 15A is a first diagram for explaining the operation information storage unit
  • FIG. 15B is a second diagram for explaining the operation information storage unit.
  • the memory 12 is provided with an operation information storage unit that stores operation information.
  • the operation position information and the determination target information are stored as the operation information.
  • the operation information storage unit is provided with four storage areas from the first storage area to the fourth storage area. Operation information related to the operation input to the touch panel 26 is stored in each storage area.
  • the number of storage areas is not limited to four, and may be one or a plurality of storage areas other than four.
  • Each storage area is further divided into 10 operation position information storage units and 1 determination target information storage unit.
  • the determination of whether or not an operation is input to the touch panel 26, that is, the input determination process for specifying the operation on the touch panel 26 is performed every frame, and when the input of the operation is detected, the operation position is stored in each operation position information storage unit. Information is stored. That is, the operation position information storage unit is updated every frame. Since 10 operation position information storage units are provided in each storage area, for example, when a continuous operation is input, the operation position information of the operation detected in the last 10 frames with respect to the continuous operation. (X-coordinate, y-coordinate) is stored. In FIGS. 15A and 15B, 0F indicates the current frame, and -1F to -9F indicate 1 to 9 frames before. Further, the operation information storage unit of FIG. 15B shows a state in which the operation information storage unit of FIG. 15A is updated in the next frame.
  • the operation information is stored in the first storage area and the third storage area of the operation information storage unit, and the operation information is not stored in the second storage area and the fourth storage area.
  • the operation continuously input from at least 9 frames before to the present.
  • the operation continuously input from 4 frames before to the present.
  • each operation position information stored in each operation position information storage unit corresponding to 9 frames before is deleted. Then, as shown in the first storage area of FIGS. 15A and 15B, each operation position information stored in each operation position information storage unit corresponding to 0 frame to 8 frames before is 9 frames from 1 frame before. It is shifted to the operation position information storage unit corresponding to the previous one.
  • the operation position information (x-coordinate and y-coordinate) is acquired.
  • the operation position information is compared with the operation position information shifted to the operation position information storage unit corresponding to one frame before. Then, if there is no operation position information whose difference from the acquired operation position information is within a predetermined range, the notes information to be determined is extracted based on the target notes extraction information as described above.
  • the timing determination process is performed.
  • new operation position information is stored in the operation position information storage unit corresponding to the 0th frame in the blank storage area (here, the second storage area).
  • the notes information specified as the determination target is stored in the determination target information storage unit.
  • the operation position information is stored in the operation position information storage unit corresponding to the 0 frame in the same storage area as the operation position information to be compared.
  • each operation position information stored in the operation position information storage unit 0 to 8 frames before in FIG. 15A is 1 to 9 frames before, respectively. It is shifted to the operation position information storage unit.
  • the operation position information whose difference from the operation position information one frame before the first storage area is within a predetermined range is stored in the operation position information storage unit corresponding to 0 frame in the first storage area. In this way, it is specified that the continuous operation is performed by continuously storing the operation position information in one storage area without interruption.
  • the operation position information is stored in the operation position information storage unit corresponding to one frame before, and the operation position information is not stored in the operation position information storage unit corresponding to the 0 frame, so that the continuous operation ends. That is, it is specified that the continuation end operation has been performed. In this case, all the operation position information and the determination target information stored in the third storage area are deleted.
  • FIG. 16 is a diagram illustrating the configuration of the memory 12 and the function as a computer in the player terminal 1.
  • the memory 12 is provided with a program storage area 12a and a data storage area 12b.
  • the CPU 10 stores the terminal-side control program (module) in the program storage area 12a.
  • the terminal-side control program includes a setting screen display program 300, an identification image display program 302, a notification image setting program 304, an area attribute information acquisition program 306, an ID setting program 308, a game selection screen display program 310, and a party selection screen display program.
  • the target object display program 314, the game mode switching program 316, the operation information derivation program 318, the validity determination program 320, the timing determination program 322, and the game control program 324 are included.
  • Each of the above programs is an example, and a large number of other programs are provided in the program storage area 12a.
  • the data storage area 12b As storage units for storing data, party information storage unit 330, temporary selection information storage unit 332, selection information storage unit 334, selection party information storage unit 336, character ID storage unit 338, and area attribute information A storage unit 340, a Notes extraction information storage unit 342, a determination reference information storage unit 344, a target Notes extraction information storage unit 346, a valid determination area information storage unit 348, and an operation information storage unit 350 are provided.
  • Each of the above storage units is an example, and a large number of other storage units are provided in the data storage area 12b.
  • the CPU 10 operates each program stored in the program storage area 12a and updates the data in each storage unit of the data storage area 12b. Then, the CPU 10 causes the player terminal 1 (computer) to function as the terminal side control unit 1A by operating each program stored in the program storage area 12a.
  • the terminal side control unit 1A includes a setting screen display unit 300a, an identification image display unit 302a, a notification image setting unit 304a (notification unit), an area attribute information acquisition unit 306a (acquisition unit), an ID setting unit 308a, and a game selection screen display unit.
  • the CPU 10 operates the setting screen display program 300 to make the computer function as the setting screen display unit 300a.
  • the CPU 10 includes an identification image display program 302, a broadcast image setting program 304, an area attribute information acquisition program 306, an ID setting program 308, a game selection screen display program 310, a party selection screen display program 312, and a target object display program 314.
  • the game mode switching program 316, the operation information derivation program 318, the validity judgment program 320, the timing judgment program 322, and the game control program 324 are operated, and the setting screen display unit 300a, the identification image display unit 302a, the notification image setting unit 304a, and the area are operated, respectively.
  • Attribute information acquisition unit 306a ID setting unit 308a, game selection screen display unit 310a, party selection screen display unit 312a, target object display unit 314a, game mode switching unit 316a, operation information derivation unit 318a, validity determination unit 320a, timing determination It functions as a unit 322a and a game control unit 324a.
  • ID setting unit 308a game selection screen display unit 310a
  • party selection screen display unit 312a the party selection screen display unit 312a
  • target object display unit 314a game mode switching unit 316a
  • operation information derivation unit 318a validity determination unit 320a
  • validity determination unit 320a validity determination It functions as a unit 322a and a game control unit 324a.
  • FIG. 17 is a flowchart illustrating an example of a game selection process in the player terminal 1.
  • the game selection screen display unit 310a sets the temporary selection information in the temporary selection information storage unit 332 (S2).
  • provisional selection information information indicating a game type (music) and information indicating a game mode are set.
  • the game selection screen display unit 310a displays the game selection screen (FIGS. 4A and 4B) on the touch panel 26 based on the temporary selection information set in the temporary selection information storage unit 332 (S3).
  • the game selection screen display unit 310a temporarily selects the temporary selection information storage unit 332 based on the selection operation.
  • the selection information is updated, and the display of the game selection screen is updated based on the updated temporary selection information (S6).
  • the game mode switching unit 316a updates the temporary selection information indicating the game mode to the information corresponding to the normal mode, and displays the normal mode selection tab 42a. Highlight.
  • the game mode switching unit 316a updates the temporary selection information indicating the game mode to the information corresponding to the special mode, and highlights the special mode selection tab 42b. To do.
  • the game selection screen display unit 310a updates the information indicating the game type.
  • the setting screen display unit 300a stores the selection information corresponding to the temporary selection information stored in the temporary selection information storage unit 332. It is set in the unit 334 (S8).
  • the selection information corresponding to the special mode is set in the selection information storage unit 334 (YES in S9)
  • the setting screen display unit 300a sets the predetermined conditions from the seven party information stored in the party information storage unit 330. Therefore, three party information is selected and set in the first storage unit to the third storage unit of the selected party information storage unit 336 (see FIG. 7B) (S10).
  • the ID setting unit 308a of the character ID storage unit 338 (see FIG. 7C) is based on the party information set in the selected party information storage unit 336 in S10 and the party information stored in the party information storage unit 330. Character IDs are set in the first storage area to the fifteenth storage area (S11).
  • the area attribute information acquisition unit 306a acquires the area attribute information corresponding to the game type (music) set in the selection information storage unit 334 in S8 among the area attribute information stored in the memory 12, and the area. It is set in the attribute information storage unit 340 (S12).
  • the setting screen display unit 300a displays the special mode setting screen (see FIG. 6A) based on the information set in S8, S10, and S11 (S13). Further, in S13, the identification image display unit 302a displays the identification image 58 in the setting area based on the party information set in the selected party information storage unit 336 in S10. Further, in S13, the broadcast image setting unit 304a displays the broadcast image 60 in the set area based on the area attribute information set in the area attribute information storage unit 340 in S12.
  • the setting screen display unit 300a is predetermined from the seven party information stored in the party information storage unit 330.
  • One party information is selected according to the conditions and set in the first storage unit of the selected party information storage unit 336 (see FIG. 7B) (S14).
  • the ID setting unit 308a starts from the first storage area of the character ID storage unit 338 based on the party information set in the selected party information storage unit 336 in S14 and the party information stored in the party information storage unit 330. Each character ID is set in the fifth storage area (S15).
  • the setting screen display unit 300a displays the normal mode setting screen (see FIG. 5) based on the information set in S8, S14, and S15 (S16). Further, in S16, the identification image display unit 302a displays the identification image 58 in the setting area based on the party information set in the selected party information storage unit 336 in S14.
  • FIG. 18 is a flowchart illustrating an example of party setting processing in the player terminal 1. This party setting process is started when the special mode setting screen is displayed in the above game selection process, and is repeatedly executed while the special mode setting screen or the party selection screen is displayed.
  • the party selection screen display unit 312a is the character ID storage unit.
  • the character ID stored in 338 is acquired (S21).
  • the area attribute information acquisition unit 306a acquires the area attribute information stored in the area attribute information storage unit 340 (S22).
  • the party selection screen display unit 312a displays the party selection screen (see FIG. 6C) based on the information acquired in S21 and S22 (S23).
  • the identification image display unit 302a displays the identification image 58 in the selection area
  • the notification image setting unit 304a displays the notification image 60 on the selection screen based on the information acquired in S21 and S22.
  • the identification image 58 displayed in the display area is notified.
  • the game control unit 324a acquires the character ID stored in the character ID storage unit 338 (S25). Further, the area attribute information acquisition unit 306a acquires the area attribute information stored in the area attribute information storage unit 340 (S26).
  • the game control unit 324a sets the game data related to the game type (music information) set in the selection information storage unit 334 based on the information acquired in S25 and S26 (S27).
  • game data music video data, control data for moving and displaying Notes N on the touch panel 26, and audio data are set.
  • the target object display unit 314a sets the identification image 58 as the target object at the target coordinates based on the character ID stored in the character ID storage unit 338 (S28). As a result, the target object (identification image 58) corresponding to the target coordinates is displayed on the touch panel 26.
  • the party selection screen display unit 312a executes the party change process (S30).
  • FIG. 19 is a flowchart illustrating an example of the party change process (S30) in the player terminal 1. This party change process is executed after the party selection screen is displayed in S23. When the selection area is long-pressed on the party selection screen (YES in S30-1), the party selection screen display unit 312a displays the character selection screen (S30-2).
  • the character information before the change is updated to the character information after the change in the party information storage unit 330.
  • the character ID before the change is updated to the character ID after the change.
  • the party selection screen display unit 312a ends the display of the party selection screen, and the setting screen display unit 300a displays the special mode setting screen. Display (S30-4).
  • the party selection screen display unit 312a displays the party information stored in the party information storage unit 330 in the selected party information storage unit 336. Temporarily register party information different from the stored party information (S30-6). Further, the identification image display unit 302a displays (changes) the identification image 58 in the selected area based on the party information temporarily registered in S30-6 (S30-7).
  • the party selection screen when the set tab 64 is tapped (YES in S30-8), if there is temporarily registered party information (YES in S30-9), the party selection screen display unit 312a is temporarily registered.
  • the existing party information is set in the selected party information storage unit 336 (S30-10).
  • the party selection screen display unit 312a ends the display of the party selection screen, and the setting screen display unit 300a displays the special mode setting screen (S30-11).
  • the identification image display unit 302a displays the identification image 58 in the setting area based on the party information selected on the party selection screen, that is, the party information set in the selected party information storage unit 336.
  • FIG. 20 is a flowchart illustrating an example of a rhythm game control process in the player terminal 1.
  • This rhythm game control process is executed from the start to the end of the rhythm game.
  • the game control unit 324a increments the current frame value (S40). Then, the image of the music video displayed on the touch panel 26 is updated to the image corresponding to the updated frame value (S41). Further, the game control unit 324a moves and displays Notes N based on the control data set at the start of the rhythm game (S42).
  • the game control unit 324a manages the abilities of each character used in the rhythm game (S43). As described above, "center effect” and “special skill” are preset as abilities for each character, and the game control unit 324a performs a lottery to activate these abilities. For example, it is assumed that a predetermined character has a "special skill” of "performing a lottery to increase the score by 10% every 4 seconds".
  • the game control unit 324a draws a lottery every 4 seconds, and if the lottery is won, the score obtained is increased by 10% for a certain period of time thereafter.
  • the special mode three times as many characters as in the normal mode are used, so even if the same "special skill" is used, different processing is executed for each game mode, for example, a lottery is performed every 12 seconds. ..
  • the timing of first activating the ability is different among the three parties.
  • the abilities are controlled so as not to be activated all at once and then not activated for a long period of time.
  • the "center effect”, as in the "special skill” in the special mode the activation probability, activation effect, etc. by one character are controlled to be substantially 1/3 as compared with the normal mode. You may.
  • the game control unit 324a advances the game using the character ID corresponding to the identification image 58 displayed in the setting area, and the character ID corresponding to the identification image 58 displayed in the object display area is used. Based on this, a music video in which a predetermined character appears while the game is in progress is displayed. Further, the game control unit 324a functions as an object display unit for moving and displaying Notes N.
  • FIG. 21 is a flowchart illustrating an example of the input determination process in the player terminal 1. This input determination process is executed from the start to the end of the rhythm game.
  • the operation information derivation unit 318a detects the operation of the touch panel 26 and updates (derives) the operation information in the operation information storage unit 350 based on the detection result (S50). Further, here, the operation information derivation unit 318a specifies whether the tap operation, the continuation operation, or the continuation end operation has been performed.
  • the game control unit 324a executes the normal mode operation determination process (S60). If the game mode of the rhythm game being executed is a special mode (NO in S51), the game control unit 324a has a special mode tap operation determination process (S70), a special mode continuation operation determination process (S80), and a special mode.
  • the continuation end operation determination process (S90) is executed in order.
  • FIG. 22 is a flowchart illustrating an example of the normal mode operation determination process (S60) in the player terminal 1.
  • the game control unit 324a determines whether the operation position of the tap operation is within the tap determination area (S60-2). If the operation position of the tap operation is within the tap determination area (YES in S60-2), the game control unit 324a identifies the lane (S60-3).
  • the game control unit 324a extracts the earliest note information having a reference point within a predetermined frame from the note information corresponding to the lane based on the notes extraction information stored in the notes extraction information storage unit 342 ( S60-4). At this time, if the extracted notes information is tap notes information or head slide notes information (YES in S60-5, YES in S60-6), the timing determination unit 322a performs the timing determination process (S100). The timing determination process will be described in detail later.
  • the operation is invalid. It becomes. Then, if there is another specified operation (YES in S60-21), the process is repeated from S60-1, and if there is no other specified operation (NO in S60-21), the normal mode operation determination process is performed. Is the end.
  • the game control unit 324a identifies the lane (S60-8).
  • the game control unit 324a extracts the earliest note information having a reference point within a predetermined frame from the note information corresponding to the lane based on the notes extraction information stored in the notes extraction information storage unit 342 ( S60-9). At this time, if the extracted notes information is the head slide notes information (YES in S60-10), the timing determination unit 322a performs the timing determination process (S100).
  • the game control unit 324a specifies the lane. (S60-13). Then, the game control unit 324a extracts the earliest Notes information having a reference point in a predetermined frame based on the Notes extraction information stored in the Notes extraction information storage unit 342 (S60-14). At this time, if the extracted notes information is flicknotes information (YES in S60-15), the timing determination unit 322a performs the timing determination process (S100).
  • the game control unit 324a specifies the lane. (S60-18). Further, the game control unit 324a extracts the earliest notes information having a reference point in a predetermined frame based on the notes extraction information stored in the notes extraction information storage unit 342 (S60-19).
  • the specified operation is a continuation operation and the extracted notes information is intermediate slide notes information, or the specified operation is a continuation end operation and the extracted notes information is If it is the final slide notes information (YES in S60-20), the timing determination unit 322a performs the timing determination process (S100).
  • FIG. 23 is a flowchart illustrating an example of the timing determination process (S100) in the player terminal 1.
  • the common timing determination process (S100) is executed in both the normal mode and the special mode.
  • the timing determination unit 322a sets a reference point of the notes information to be determined based on the determination reference information stored in the determination reference information storage unit 344 (S100-1). Then, the timing determination unit 322a derives one of the first determination section to the fifth determination section based on the difference between the current frame value updated in S40 and the reference point (S100-2).
  • the game control unit 324a notifies the determination result and counts points based on the determination result (S100-3). Although detailed description will be omitted, here, the game control unit 324a counts points by reflecting the ability of the character. If the specified operation is a tap operation (YES in S100-4) and the determination result derived in S100-2 is a success determination (YES in S100-5), the timing determination unit 322a uses the operation information. Information (determination target information) for identifying the notes information specified as the determination target is stored in the determination target information storage unit (see FIG. 15A) of the storage unit 350 (S100-6).
  • timing determination unit 322a deletes the notes information targeted for the timing determination process from the notes extraction information storage unit 342 or the target notes extraction information storage unit 346 (S100-7).
  • FIG. 24 is a flowchart illustrating an example of the special mode tap operation determination process (S70) in the player terminal 1.
  • the game control unit 324a When it is specified that the tap operation is detected in S50 (YES in S70-1), the game control unit 324a has a reference point within a predetermined frame based on the target notes extraction information stored in the target notes extraction information storage unit 346. Extracts the earliest notes information (S70-2).
  • the operation position of the valid determination unit 320a is within the valid determination area VA. It is determined whether or not there is (S70-5).
  • the validity determination unit 320a is in the validity determination area VA based on the validity determination area information stored in the validity determination area information storage unit 348 and the operation position information stored in the operation information storage unit 350. Judge whether or not. If the operating position is within the valid determination area VA (YES in S70-5), the timing determination unit 322a executes the timing determination process (S100).
  • the game control unit 324a Based on the target notes extraction information, the next notes information having a reference point in a predetermined frame is extracted (S70-6). At this time, if the notes information is extracted (YES in S70-7), the process is repeated from S70-3, and if the notes information is not extracted (NO in S70-7), the tap operation is invalid.
  • FIG. 25 is a flowchart illustrating an example of the special mode continuous operation determination process (S80) in the player terminal 1.
  • the game control unit 324a acquires the determination target information of the storage area corresponding to the continuous operation in the operation information storage unit 350 (YES in S80-1). S80-2).
  • the valid determination unit 320a determines that the valid determination area information storage unit 348 stores the information.
  • the target valid determination area information and the operation position information stored in the operation information storage unit 350 are acquired (S80-4).
  • the valid determination unit 320a determines whether the operation position is within the effective determination area VA (S80-5), and if the operation position is within the effective determination area VA (YES in S80-5), the timing determination unit 320a. 322a executes the above timing determination process (S100).
  • the game control unit 324a determines the judgment target. It is determined whether the period ends (S80-6). If the determination period of the determination target ends (YES in S80-6), the operation information derivation unit 318a erases the operation information related to the operation stored in the operation information storage unit 350 (S80-7). The game control unit 324a notifies that the operation has failed (S80-8).
  • FIG. 26 is a flowchart illustrating an example of the special mode continuous end operation determination process (S90) in the player terminal 1.
  • the game control unit 324a acquires the determination target information of the storage area corresponding to the continuous end operation in the operation information storage unit 350. (S90-2).
  • the valid determination unit 320a is determined to be stored in the effective determination area information storage unit 348.
  • the target valid determination area information and the operation position information stored in the operation information storage unit 350 are acquired (S90-4).
  • the valid determination unit 320a determines whether the operation position is within the effective determination area VA (S90-5), and if the operation position is within the effective determination area VA (YES in S90-5), the timing determination unit 320a. 322a executes the above timing determination process (S100).
  • the operation information derivation unit 318a stores the operation information.
  • the operation information related to the operation stored in the unit 350 is deleted (S90-6). Further, the timing determination unit 322a erases the notes information targeted for the timing determination process from the target notes extraction information storage unit 346 (S90-7).
  • the operation timing determination result is derived from the difference between the reference point set in Notes N and the operation input timing based on the elapsed time (number of frames) from the start of the rhythm game.
  • the method for determining the operation timing is not limited to this. For example, a range (area) where the Notes N and the target object corresponding to the target coordinates set in the Notes N overlap may be derived, and the determination result may be derived based on this range.
  • the operation modes of the operations input to the touch panel 26 are roughly classified into tap operation, flick operation, continuous operation, and continuous end operation. However, only a part of any one of these operation modes may be provided, or another operation mode may be provided. In any case, as long as the predetermined operation information is derived based on the operation input to the touch panel 26, the specific content thereof is not particularly limited.
  • each object displayed on the touch panel 26 is only an example.
  • the target object and the specific notes (specific object) are associated with the target coordinates.
  • the target object and the specific notes (specific object) are not limited to the target coordinates, and may correspond to a predetermined area or object, for example. That is, the target object and the specific notes (specific object) may be displayed corresponding to any of the targets, and the target is not particularly limited.
  • the specific notes correspond to a plurality of adjacent goals.
  • a plurality of adjacent targets or targets located next to each other refer to targets that are closest to each other.
  • control process shown in the above embodiment is only an example.
  • the control process for executing the game is executed by the player terminal 1 and the server 100. That is, the information processing system S, which is a client-server system including the player terminal 1 and the server 100, functions as the game device G.
  • the control process for executing the game may be executed only by the player terminal 1, for example. In this case, only the player terminal 1 functions as the game device G.
  • the information processing program for realizing the game may be stored in a storage medium readable by a computer.
  • the above-described embodiment may be an information processing method that realizes each function and the steps shown in the flowchart.
  • the present invention can be used for information processing programs, game devices, and information processing methods.

Landscapes

  • Engineering & Computer Science (AREA)
  • Multimedia (AREA)
  • Human Computer Interaction (AREA)
  • Theoretical Computer Science (AREA)
  • Physics & Mathematics (AREA)
  • Optics & Photonics (AREA)
  • User Interface Of Digital Computer (AREA)
PCT/JP2020/024844 2019-06-28 2020-06-24 情報処理プログラム、ゲーム装置および情報処理方法 Ceased WO2020262467A1 (ja)

Priority Applications (2)

Application Number Priority Date Filing Date Title
CN202080047457.1A CN114072211B (zh) 2019-06-28 2020-06-24 信息处理程序、游戏装置和信息处理方法
US17/646,089 US12109492B2 (en) 2019-06-28 2021-12-27 Non-transitory computer readable medium, game device, and information processing method

Applications Claiming Priority (2)

Application Number Priority Date Filing Date Title
JP2019122494A JP6906018B2 (ja) 2019-06-28 2019-06-28 情報処理プログラム、ゲーム装置および情報処理方法
JP2019-122494 2019-06-28

Related Child Applications (1)

Application Number Title Priority Date Filing Date
US17/646,089 Continuation US12109492B2 (en) 2019-06-28 2021-12-27 Non-transitory computer readable medium, game device, and information processing method

Publications (1)

Publication Number Publication Date
WO2020262467A1 true WO2020262467A1 (ja) 2020-12-30

Family

ID=74060630

Family Applications (1)

Application Number Title Priority Date Filing Date
PCT/JP2020/024844 Ceased WO2020262467A1 (ja) 2019-06-28 2020-06-24 情報処理プログラム、ゲーム装置および情報処理方法

Country Status (4)

Country Link
US (1) US12109492B2 (enExample)
JP (2) JP6906018B2 (enExample)
CN (1) CN114072211B (enExample)
WO (1) WO2020262467A1 (enExample)

Cited By (1)

* Cited by examiner, † Cited by third party
Publication number Priority date Publication date Assignee Title
CN112764711A (zh) * 2021-01-29 2021-05-07 腾讯科技(深圳)有限公司 音乐交互方法、装置、设备以及存储介质

Families Citing this family (5)

* Cited by examiner, † Cited by third party
Publication number Priority date Publication date Assignee Title
JP6906018B2 (ja) * 2019-06-28 2021-07-21 株式会社Cygames 情報処理プログラム、ゲーム装置および情報処理方法
USD1065229S1 (en) * 2022-06-30 2025-03-04 Korea Medical Institute Display screen or portion thereof with icon
USD1065228S1 (en) * 2022-06-30 2025-03-04 Korea Medical Institute Display screen or portion thereof with icon
USD1065230S1 (en) * 2022-06-30 2025-03-04 Korea Medical Institute Display screen or portion thereof with icon
JP7535202B1 (ja) 2024-02-07 2024-08-15 株式会社バンダイ ゲーム装置、プログラム及びゲームシステム

Citations (4)

* Cited by examiner, † Cited by third party
Publication number Priority date Publication date Assignee Title
JP2012525953A (ja) * 2010-09-16 2012-10-25 ネオウィズ ゲームス カンパニー リミテッド タッチ入力を用いたゲーム方法、ゲーム装置、及び記録媒体
JP2017113427A (ja) * 2015-12-25 2017-06-29 株式会社バンダイナムコエンターテインメント プログラム及びサーバ
JP2018114289A (ja) * 2018-02-14 2018-07-26 株式会社コナミデジタルエンタテインメント ゲーム装置及びゲームプログラム
JP2019076642A (ja) * 2017-10-27 2019-05-23 株式会社コナミアミューズメント ゲームシステム及びそのコンピュータプログラム

Family Cites Families (8)

* Cited by examiner, † Cited by third party
Publication number Priority date Publication date Assignee Title
JP4951688B2 (ja) * 2010-03-15 2012-06-13 株式会社コナミデジタルエンタテインメント ゲームシステム及びそのコンピュータプログラム並びにゲームシステムの制御方法
US8845432B2 (en) * 2010-09-16 2014-09-30 Neowiz Games Co., Ltd. Method, apparatus and recording medium for game using touch input
JP6176718B2 (ja) * 2013-09-06 2017-08-09 株式会社コナミデジタルエンタテインメント ゲームプログラム、ゲームシステム
JP5980752B2 (ja) * 2013-09-20 2016-08-31 株式会社スクウェア・エニックス 情報処理装置,情報処理方法,及びゲーム装置
JP6176100B2 (ja) * 2013-12-11 2017-08-09 株式会社コナミデジタルエンタテインメント ゲームプログラム、ゲームシステム
JP6030712B1 (ja) * 2015-06-15 2016-11-24 株式会社コナミデジタルエンタテインメント ゲームシステム、及びそれに用いられるコンピュータプログラム
JP6623064B2 (ja) 2015-12-25 2019-12-18 株式会社バンダイナムコエンターテインメント プログラム、サーバ、端末及びゲームシステム
JP6906018B2 (ja) * 2019-06-28 2021-07-21 株式会社Cygames 情報処理プログラム、ゲーム装置および情報処理方法

Patent Citations (4)

* Cited by examiner, † Cited by third party
Publication number Priority date Publication date Assignee Title
JP2012525953A (ja) * 2010-09-16 2012-10-25 ネオウィズ ゲームス カンパニー リミテッド タッチ入力を用いたゲーム方法、ゲーム装置、及び記録媒体
JP2017113427A (ja) * 2015-12-25 2017-06-29 株式会社バンダイナムコエンターテインメント プログラム及びサーバ
JP2019076642A (ja) * 2017-10-27 2019-05-23 株式会社コナミアミューズメント ゲームシステム及びそのコンピュータプログラム
JP2018114289A (ja) * 2018-02-14 2018-07-26 株式会社コナミデジタルエンタテインメント ゲーム装置及びゲームプログラム

Non-Patent Citations (1)

* Cited by examiner, † Cited by third party
Title
"Switching to 6-Lane Game", NEW FUNCTIONS OF 6-LANE GAME'', NON- OFFICIAL TRANSLATION (6-LANE GAME. UTA MACROSS SMA-PHO DE CULTURE OFFICIAL WIKI, 23 August 2018 (2018-08-23), pages 1 - 2 *

Cited By (1)

* Cited by examiner, † Cited by third party
Publication number Priority date Publication date Assignee Title
CN112764711A (zh) * 2021-01-29 2021-05-07 腾讯科技(深圳)有限公司 音乐交互方法、装置、设备以及存储介质

Also Published As

Publication number Publication date
JP6906018B2 (ja) 2021-07-21
JP7011096B2 (ja) 2022-01-26
US12109492B2 (en) 2024-10-08
CN114072211A (zh) 2022-02-18
JP2021007551A (ja) 2021-01-28
JP2021104444A (ja) 2021-07-26
US20220118360A1 (en) 2022-04-21
CN114072211B (zh) 2025-06-03

Similar Documents

Publication Publication Date Title
JP7011096B2 (ja) 情報処理プログラム、ゲーム装置および情報処理方法
JP6176100B2 (ja) ゲームプログラム、ゲームシステム
JP7250636B2 (ja) 情報処理プログラム、ゲーム装置および情報処理方法
JP2006192158A (ja) ゲーム装置、ゲーム制御方法及びプログラム
JP6865877B1 (ja) 情報処理プログラム、ゲーム装置および情報処理方法
JP2016179138A (ja) ゲームシステム及びプログラム
JP5670965B2 (ja) 対比装置、プログラム、ならびに、システム
JP6922056B1 (ja) 情報処理プログラム、ゲーム装置および情報処理方法
JP6956841B1 (ja) 情報処理プログラム、ゲーム装置および情報処理方法
JP6906098B1 (ja) 情報処理プログラム、ゲーム装置および情報処理方法
JP7482303B1 (ja) 情報処理プログラム、ゲーム装置および情報処理方法
HK40061588A (en) Information processing program, game device, and information processing method
JP2010198088A (ja) 情報処理装置
JP2010142587A (ja) プログラム、情報記憶媒体およびゲームシステム
JP6548929B2 (ja) ゲームシステム及びプログラム
JP2015176379A (ja) データ生成編集装置、プログラム及びデータ生成編集方法
JP2013196647A (ja) 電子機器、電子機器の制御方法、電子機器の制御プログラム
JP7515663B1 (ja) 情報処理プログラム、情報処理方法およびゲーム装置
US20240325900A1 (en) Non-transitory computer-readable medium and video game processing system
JP5843985B2 (ja) ゲームプログラム、ゲーム処理方法および情報処理装置
JP2023119782A (ja) プレイヤ端末においてゲームを実行するためのゲームシステム、方法、プログラム、サーバ、及びプレイヤ端末
US20120218209A1 (en) Information processing device, method of controlling an information processing device, and information storage medium
JP2016179137A (ja) ゲームシステム及びプログラム
JP6450299B2 (ja) ゲームプログラムおよびゲーム装置
JP2020146265A (ja) リズムゲームプログラム及びゲームシステム

Legal Events

Date Code Title Description
121 Ep: the epo has been informed by wipo that ep was designated in this application

Ref document number: 20833393

Country of ref document: EP

Kind code of ref document: A1

NENP Non-entry into the national phase

Ref country code: DE

122 Ep: pct application non-entry in european phase

Ref document number: 20833393

Country of ref document: EP

Kind code of ref document: A1

WWG Wipo information: grant in national office

Ref document number: 202080047457.1

Country of ref document: CN