WO2020235675A1 - ヘッドアップディスプレイ装置 - Google Patents

ヘッドアップディスプレイ装置 Download PDF

Info

Publication number
WO2020235675A1
WO2020235675A1 PCT/JP2020/020299 JP2020020299W WO2020235675A1 WO 2020235675 A1 WO2020235675 A1 WO 2020235675A1 JP 2020020299 W JP2020020299 W JP 2020020299W WO 2020235675 A1 WO2020235675 A1 WO 2020235675A1
Authority
WO
WIPO (PCT)
Prior art keywords
bezel
light
polarizing plate
brightness
display device
Prior art date
Legal status (The legal status is an assumption and is not a legal conclusion. Google has not performed a legal analysis and makes no representation as to the accuracy of the status listed.)
Ceased
Application number
PCT/JP2020/020299
Other languages
English (en)
French (fr)
Japanese (ja)
Inventor
究 小野
Current Assignee (The listed assignees may be inaccurate. Google has not performed a legal analysis and makes no representation or warranty as to the accuracy of the list.)
Denso Corp
Original Assignee
Denso Corp
Priority date (The priority date is an assumption and is not a legal conclusion. Google has not performed a legal analysis and makes no representation as to the accuracy of the date listed.)
Filing date
Publication date
Application filed by Denso Corp filed Critical Denso Corp
Publication of WO2020235675A1 publication Critical patent/WO2020235675A1/ja
Anticipated expiration legal-status Critical
Ceased legal-status Critical Current

Links

Images

Classifications

    • BPERFORMING OPERATIONS; TRANSPORTING
    • B60VEHICLES IN GENERAL
    • B60KARRANGEMENT OR MOUNTING OF PROPULSION UNITS OR OF TRANSMISSIONS IN VEHICLES; ARRANGEMENT OR MOUNTING OF PLURAL DIVERSE PRIME-MOVERS IN VEHICLES; AUXILIARY DRIVES FOR VEHICLES; INSTRUMENTATION OR DASHBOARDS FOR VEHICLES; ARRANGEMENTS IN CONNECTION WITH COOLING, AIR INTAKE, GAS EXHAUST OR FUEL SUPPLY OF PROPULSION UNITS IN VEHICLES
    • B60K35/00Instruments specially adapted for vehicles; Arrangement of instruments in or on vehicles
    • B60K35/20Output arrangements, i.e. from vehicle to user, associated with vehicle functions or specially adapted therefor
    • B60K35/21Output arrangements, i.e. from vehicle to user, associated with vehicle functions or specially adapted therefor using visual output, e.g. blinking lights or matrix displays
    • B60K35/23Head-up displays [HUD]
    • B60K35/231Head-up displays [HUD] characterised by their arrangement or structure for integration into vehicles
    • BPERFORMING OPERATIONS; TRANSPORTING
    • B60VEHICLES IN GENERAL
    • B60KARRANGEMENT OR MOUNTING OF PROPULSION UNITS OR OF TRANSMISSIONS IN VEHICLES; ARRANGEMENT OR MOUNTING OF PLURAL DIVERSE PRIME-MOVERS IN VEHICLES; AUXILIARY DRIVES FOR VEHICLES; INSTRUMENTATION OR DASHBOARDS FOR VEHICLES; ARRANGEMENTS IN CONNECTION WITH COOLING, AIR INTAKE, GAS EXHAUST OR FUEL SUPPLY OF PROPULSION UNITS IN VEHICLES
    • B60K35/00Instruments specially adapted for vehicles; Arrangement of instruments in or on vehicles
    • B60K35/20Output arrangements, i.e. from vehicle to user, associated with vehicle functions or specially adapted therefor
    • B60K35/21Output arrangements, i.e. from vehicle to user, associated with vehicle functions or specially adapted therefor using visual output, e.g. blinking lights or matrix displays
    • B60K35/23Head-up displays [HUD]
    • B60K35/234Head-up displays [HUD] controlling the brightness, colour or contrast of virtual images depending on the driving conditions or on the condition of the vehicle or the driver
    • BPERFORMING OPERATIONS; TRANSPORTING
    • B60VEHICLES IN GENERAL
    • B60KARRANGEMENT OR MOUNTING OF PROPULSION UNITS OR OF TRANSMISSIONS IN VEHICLES; ARRANGEMENT OR MOUNTING OF PLURAL DIVERSE PRIME-MOVERS IN VEHICLES; AUXILIARY DRIVES FOR VEHICLES; INSTRUMENTATION OR DASHBOARDS FOR VEHICLES; ARRANGEMENTS IN CONNECTION WITH COOLING, AIR INTAKE, GAS EXHAUST OR FUEL SUPPLY OF PROPULSION UNITS IN VEHICLES
    • B60K35/00Instruments specially adapted for vehicles; Arrangement of instruments in or on vehicles
    • B60K35/80Arrangements for controlling instruments
    • GPHYSICS
    • G02OPTICS
    • G02BOPTICAL ELEMENTS, SYSTEMS OR APPARATUS
    • G02B27/00Optical systems or apparatus not provided for by any of the groups G02B1/00 - G02B26/00, G02B30/00
    • G02B27/01Head-up displays
    • HELECTRICITY
    • H04ELECTRIC COMMUNICATION TECHNIQUE
    • H04NPICTORIAL COMMUNICATION, e.g. TELEVISION
    • H04N5/00Details of television systems
    • H04N5/64Constructional details of receivers, e.g. cabinets or dust covers
    • BPERFORMING OPERATIONS; TRANSPORTING
    • B60VEHICLES IN GENERAL
    • B60KARRANGEMENT OR MOUNTING OF PROPULSION UNITS OR OF TRANSMISSIONS IN VEHICLES; ARRANGEMENT OR MOUNTING OF PLURAL DIVERSE PRIME-MOVERS IN VEHICLES; AUXILIARY DRIVES FOR VEHICLES; INSTRUMENTATION OR DASHBOARDS FOR VEHICLES; ARRANGEMENTS IN CONNECTION WITH COOLING, AIR INTAKE, GAS EXHAUST OR FUEL SUPPLY OF PROPULSION UNITS IN VEHICLES
    • B60K37/00Dashboards
    • B60K37/20Dashboard panels

Definitions

  • the present disclosure relates to a head-up display device that enables a user to visually recognize a displayed image by projecting the displayed image on a projection surface provided on a windshield or the like.
  • Patent Document 1 proposes a technique for achieving both visibility in the naked eye state and visibility in the state of wearing polarized sunglasses.
  • the head-up display device of Patent Document 1 is provided with a polarizing plate having a transmission axis that maximizes the transmittance of the corresponding polarized light between the light guide portion and the windshield, and is projected by the polarizing plate.
  • the polarization azimuth angle and the transmission axis azimuth angle are different.
  • the polarization direction of the light of the image reflected by the windshield is inclined with respect to both the image vertical direction and the image horizontal direction. Therefore, both the vertical polarization component of the vehicle corresponding to the vertical direction of the image and the polarization component in the direction perpendicular to the vertical direction of the vehicle corresponding to the horizontal direction of the image can be obtained.
  • the brightness is balanced between the brightness when the driver visually recognizes the virtual image with the naked eye (hereinafter referred to as the naked eye brightness) and the brightness when the driver visually recognizes the virtual image while wearing polarized sunglasses (hereinafter referred to as the sunglasses brightness). It becomes possible to take.
  • Patent Document 1 Although the brightness of the naked eye and the brightness of the sunglasses can be balanced, the brightness of the naked eye is lowered in order to increase the brightness of the sunglasses, but the brightness of the sunglasses cannot be sufficiently obtained.
  • the naked eye brightness is generally prioritized and the sunglasses brightness is lowered, but there is also a demand for improving the sunglasses brightness according to the user's preference. It is an object of the present disclosure to provide a head-up display device capable of increasing the brightness of sunglasses.
  • a head-up display device mounted on a vehicle, projecting a display image on a projection surface of a projection member, and displaying a virtual image of the display image by projecting the light of the display image onto the projection surface. Therefore, a projector that projects the light of the display image, a light guide portion that guides the light of the display image from the projector toward the projection member, and an opening are formed, and the projector and the light guide unit are formed.
  • a housing that guides the light of the display image guided by the light guide portion through the opening to the projection member, and a bezel polarization having a polarizing function arranged on the optical path between the light guide portion and the projection member.
  • a bezel member including a plate and suppressing the intrusion of dust from the opening into the housing is provided, and the bezel polarizing plate is displayed after being transmitted by polarization rather than before being transmitted through the bezel polarizing plate. Increases the brightness of the p-wave of the light in the image.
  • the brightness of sunglasses is increased by attaching the bezel member.
  • the head-up display device is applied to a vehicle, and is used to provide information such as a vehicle speed and a display of a traveling direction by a navigation system by making a driver visually recognize a virtual image of a displayed image.
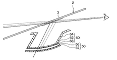
  • the head-up display device 100 shown in FIG. 1 is housed in, for example, the instrument panel 1 of the vehicle V, and by projecting the display image on the projection surface 3 of the windshield 2, a virtual image 4 of the display image is displayed on the driver. Make it visible.
  • the virtual image 4 of the display image projected from the eye box onto the projection surface 3 can be visually recognized, with the rectangular area assumed as the position of the eye 6 when the driver is seated in the driver's seat 5 as the eye box. Is displayed.
  • the direction of the virtual image 4 along the vertical direction of the vehicle is referred to as an image vertical direction Dil
  • the direction perpendicular to the image vertical direction Dil of the virtual image 4 is referred to as an image horizontal direction Dis. That is, the direction recognized by the driver in the driver's seat 5 as the vertical direction of the virtual image 4 is defined as the image vertical direction Dil
  • the direction recognized as the horizontal direction is defined as the image horizontal direction Dis.
  • the head-up display device 100 is configured to include a housing 10, a projector 20, a light guide unit 40, a polarizing plate 50, and a bezel member 60.
  • the housing 10 is a housing member that constitutes a storage space inside, is arranged in the instrument panel 1, and has a structure in which an opening 11 connected to the storage space is formed at the upper part.
  • a projector 20 and a light guide portion 40 are accommodated in the accommodation space of the housing 10, and a polarizing plate 50 and a bezel member 60 are arranged in the opening 11. Then, the display image projected from the projector 20 is guided to the opening 11 side via the light guide unit 40, and is projected onto the projection surface 3 through the polarizing plate 50 and the bezel member 60.
  • the projector 20 has a light source 22, a condenser lens 24, a diffuser plate 26, a projection lens 28, and a liquid crystal panel 30, which are housed in a hollow case (not shown). It is said that.
  • the light source 22 is, for example, a plurality of LEDs (light emitting diode elements) mounted on a circuit board for a light source.
  • the light source 22 irradiates the condensing lens 24 with light at a light emission amount corresponding to the amount of current by energizing the LED.
  • the condensing lens 24 is a translucent convex lens made of glass or the like, and condenses the light emitted from the light source 22 and emits it to the diffuser plate 26.
  • the diffuser plate 26 is a plate that diffuses light made of glass or the like, and adjusts the uniformity of brightness in the plane of the displayed image by diffusing the light emitted from the condenser lens 24.
  • the projection lens 28 is a translucent convex lens made of synthetic resin, glass, or the like, and is arranged between the diffuser plate 26 and the liquid crystal panel 30.
  • the projection lens 28 collects the light from the diffuser plate 26 and projects it toward the liquid crystal panel 30.
  • the liquid crystal panel 30 is, for example, a panel using a TFT (thin film transistor), and as shown in FIG. 3, an active matrix formed of a plurality of liquid crystal pixels arranged in the two-dimensional directions of the image vertical direction Dil and the image horizontal direction Dis. It is composed of molds.
  • the liquid crystal panel 30 has a structure in which a pair of polarizing plates for liquid crystal and a liquid crystal layer sandwiched between the pair of polarizing plates for liquid crystal are laminated. Each liquid crystal polarizing plate has a property that the electric field vector transmits polarized light in a predetermined direction and the electric field vector blocks polarized light in a direction substantially perpendicular to the predetermined direction.
  • the pair of polarizing plates for liquid crystals are arranged so that the directions of the magnetic field vectors to be transmitted are orthogonal to each other. Further, the liquid crystal layer arranged between the pair of liquid crystal polarizing plates can rotate the polarization direction of the light incident on the liquid crystal layer according to the applied voltage based on the voltage application for each liquid crystal pixel. ing. In addition, in FIG. 3 and the like, the direction along the optical path is shown as Dc.
  • the projector 20 can project the light of a desired image by controlling the transmittance of each liquid crystal pixel on the liquid crystal panel 30.
  • the light of the image projected from the projector 20 is polarized according to the arrangement of the liquid crystal polarizing plate on the emission side.
  • the light of the image projected from the projector 20 is polarized.
  • the polarization direction Dpp is the direction along the image lateral direction Dis.
  • the light guide unit 40 is an optical system that guides the light of the image from the projector 20 toward the windshield 2.
  • the light guide unit 40 has a plane mirror 42 and a concave mirror 44. ..
  • the plane mirror 42 reflects the light of the display image emitted from the liquid crystal panel 30 toward the concave mirror 44.
  • the concave mirror 44 reflects the light of the display image transmitted from the plane mirror 42 toward the windshield 2, and is a curved reflector in which the center of the concave mirror 44 is recessed.
  • the light of the display image emitted from the projector 20 is reflected by the light guide unit 40 as shown in the optical paths shown in FIGS. 1 and 3, and is reflected by the projection surface of the windshield 2. It is designed to be guided by 3.
  • the polarizing plate 50 corresponds to a polarizing plate on the vehicle body side, is arranged on an optical path between the light guide portion 40 and the windshield 2, and is arranged so as to close the opening 11 of the housing 10. Suppresses the intrusion of dust into the housing 10.
  • the polarizing plate 50 has a polarizing element layer 52.
  • the polarizing element layer 52 is formed by adding iodine to polyvinyl alcohol, for example, and the transmission axis 52a and the light-shielding axis 52b are orthogonal to each other depending on the orientation direction of the iodine molecules.
  • the transmission axis 52a is the axis that maximizes the transmittance of the corresponding polarized light.
  • the polarized light corresponding to the transmission axis 52a is the polarization in which the electric field vector is along the transmission axis 52a.
  • the light-shielding shaft 52b is a shaft that minimizes the transmittance of the corresponding polarized light.
  • the polarized light corresponding to the light-shielding shaft 52b is the polarized light whose electric field vector is along the light-shielding shaft 52b.
  • the light-shielding shaft 52b of the polarizing element layer 52 having such a configuration is an absorption shaft that absorbs light. That is, when the polarized light corresponding to the light-shielding shaft 52b as the absorption shaft is incident on the polarizing element layer 52, the absorption rate is maximized.
  • the bezel member 60 is for blocking the reflected light of sunlight and preventing unnecessary light from entering the eye 6, but in the present embodiment, the light of the display image transmitted through the polarizing plate 50 is used. It also has a polarization function that changes the polarization direction and guides it to the windshield 2 side. Specifically, as shown in FIGS. 1, 6A and 6B, the bezel member 60 has a structure having a polarizing plate 62 and a bezel 64, and as shown in FIG. 1, the opening 11 of the housing 10 is provided. It is removable to the instrument panel 1 at the position of the entrance.
  • the polarizing plate 62 corresponds to a bezel polarizing plate, and is arranged along the polarizing plate 50 at a position separated by a predetermined distance or in contact with the polarizing plate 50, as shown in FIG.
  • the polarizing plate 50 is curved, and the polarizing plate 50 is tilted so that the front end side of the vehicle V is located below the rear end side. Is also arranged in the same way.
  • the polarizing plate 62 is formed of the same material as the polarizing element layer 52 described above to form a second polarizing plate, and as shown in FIG. 3, the transmission shaft 62a and the light shielding shaft 62b are mutually aligned. It is in an orthogonal state. However, the azimuth angles of the transmission shaft 62a and the light-shielding shaft 62b of the polarizing plate 62 are shifted with respect to the transmission shaft 52a and the light-shielding shaft 52b of the polarizing element layer 52, respectively.
  • the bezel 64 has a frame shape that is fitted into the opening of the instrument panel 1 at the position of the entrance of the opening 11 of the housing 10.
  • the bezel 64 has a quadrangular frame. It is said to have a body shape.
  • the polarizing plate 62 is fixed to the bottom of the bezel 64, that is, the tip in the insertion direction into the opening 11, and the polarizing plate 62 is installed so as to close the opening 11 by fitting the bezel 64 into the opening 11. It has become so.
  • the polarizing plate 62 is joined to the bottom of the bezel 64, that is, the end of the bezel 64 on the light guide portion 40 side, which is the upstream side of the optical path of the display image, by welding or the like. Then, the opening of the bezel 64 is entirely covered by the polarizing plate 62. The light of the display image is guided to the projection surface 3 of the windshield 2 through the polarizing plate 50 and the polarizing plate 62 configured in this manner, and the projection surface. By projecting the display image in step 3, the virtual image 4 of the display image can be visually recognized by the driver.
  • the transmission axis 52a and the light-shielding axis 52b of the polarizing element layer 52 in the polarizing plate 50 are adjusted to increase the naked-eye brightness that makes it easier to see the virtual image 4 when the driver is the naked eye.
  • the transmission shaft 62a and the light-shielding shaft 62b of the polarizing plate 62 are adjusted to increase the naked-eye brightness that makes it easier to see the virtual image 4 when the driver is the naked eye.
  • the transmission axis Dst (hereinafter, sunglasses transmission axis) is set in the vertical direction
  • the absorption axis Dsa (hereinafter, sunglasses absorption axis) is set in the horizontal direction. Therefore, when the driver sits in the driver's seat 5 of the vehicle V while wearing the polarized sunglasses 7, the polarized sunglasses 7 have the maximum transmittance with respect to the light polarized in the vertical direction of the vehicle V, and the polarized light of the vehicle V is polarized.
  • the direction is the minimum transmittance for light polarized in the direction perpendicular to the direction.
  • the sunglasses brightness Ip which is the brightness of the imaginary image 4 visually recognized when the polarized sunglasses 7 is worn, changes according to the setting of the directions of the transmission shaft 52a and the light-shielding shaft 52b. ..
  • the sunglasses brightness Ip means the brightness of the p (Parallel) wave in the light of the display image.
  • the naked-eye brightness I which is the brightness of the virtual image 4 visually recognized by the naked eye, changes according to the setting of the directions of the transmission axis 52a and the light-shielding axis 52b.
  • the naked eye brightness I means the brightness of the s (senkrecht) wave in the light of the display image.
  • the naked eye brightness I is represented by the equation 1 and the sunglasses brightness Ip is represented by the equation 2.
  • I 0 is the brightness of the light of the display image when it is incident on the windshield 2.
  • is an angle formed by the sunglasses absorption axis Dsa and the polarization direction of the light of the display image after being reflected by the windshield 2.
  • is an angle formed by the sunglasses absorption axis Dsa and the transmission axis 52a of the polarizing plate 50.
  • is an angle formed by the sunglasses transmission axis Dst and the tangential direction Drt of the light reflection cross section of the display image reflected by the windshield 2.
  • the reflected cross section is a plane including a light ray incident on the windshield 2 and reflected, and a normal line of the windshield 2 at the incident and reflected positions, and is generally also called an incident surface.
  • Rs is the s polarization reflectance of the windshield 2.
  • Rp is the p-polarized reflectance of the windshield 2.
  • T is the transmittance of the polarized sunglasses 7 with respect to the polarized light along the sunglasses transmission axis Dst.
  • the naked eye brightness I and the sunglasses brightness Ip change depending on ⁇ and ⁇ .
  • the positional relationship between the accommodation space of the housing 10, the windshield 2, and the driver's seat 5 must be changed, and the functionality and design of the vehicle V and other equipment in the vehicle V must be changed. Considering the arrangement of the above, it is extremely difficult to change the positional relationship.
  • the naked eye brightness I is represented by the number 3 and the sunglasses brightness Ip is represented by the number 4.
  • ⁇ 0 is an angle formed by the sunglasses absorption axis Dsa and the polarization direction of the light of the display image incident on the polarizing plate 50.
  • the naked eye brightness I and the sunglasses brightness Ip change when ⁇ changes.
  • the sunglasses transmission axis Dst coincides with the image vertical direction Dil
  • the sunglasses absorption axis Dsa coincides with the image horizontal direction Dis, so that these can be read.
  • the s polarization reflectance Rs is larger than the p polarization reflectance Rp.
  • the naked eye brightness I and the sunglasses brightness Ip can be adjusted by appropriately setting the angle ⁇ . Then, in Patent Document 1, by balancing the naked eye brightness I and the sunglasses brightness Ip, the driver visually recognizes the virtual image 4 with the naked eye and the polarized sunglasses 7 is worn to visually recognize the virtual image 4. I try to balance the brightness.
  • the naked eye brightness I and the sunglasses brightness Ip it is difficult to set both the naked eye brightness I and the sunglasses brightness Ip to high values, and if the sunglasses brightness Ip is to be set to a high value, the naked eye brightness I must be lowered.
  • the relationship between the naked eye brightness I and the sunglasses brightness Ip with respect to the transmission axis azimuth is shown in FIG. 7, and the transmission axis azimuths at which the naked eye brightness I and the sunglasses brightness Ip are higher do not match.
  • the transmission axis 52a of the polarizing plate 50 is more likely to be visually recognized by the naked eye than by wearing polarized sunglasses 7 and visually recognizing the virtual image 4.
  • the setting gives priority to the brightness I.
  • a high value cannot be obtained for the sunglasses brightness Ip, a high value can be obtained for the naked eye brightness I.
  • the polarizing plate 62 provided on the bezel member 60 constitutes the second polarizing plate, and the light of the display image passes through the polarizing plate 62 so that the sunglasses brightness Ip is increased.
  • the light polarization direction of the display image is such that the transmission axis 52a and the light-shielding axis 52b of the polarizing plate 50 have a transmission axis azimuth of 60 ° before passing through the polarizing plate 62.
  • the transmission axis 62a and the light-shielding axis 62b of the polarizing plate 62 are set so that the polarization direction of the light in the display image is 90 ° in the transmission axis azimuth after passing through the polarizing plate 62.
  • the polarizing plate 62 with a polarization function, it is possible to display a virtual image 4 in which the naked eye brightness I is increased when the bezel member 60 is not attached, and sunglasses when the bezel member 60 is attached.
  • a virtual image 4 with an increased luminance Ip can be displayed. Therefore, as the head-up display device 100, the sunglasses brightness Ip can be obtained by attaching the bezel member 60 if the user needs, while designing the virtual image 4 which is expected to have many applications to be visually recognized by the naked eye. Can be enhanced. Therefore, the head-up display device 100 capable of increasing the brightness Ip of sunglasses can be obtained.
  • the bezel member 60 is detachable. Therefore, according to the driver's preference, the sunglasses brightness Ip can be increased by attaching the bezel member 60 only when necessary, and the naked eye brightness I can be increased by removing the bezel member 60 when it is not needed.
  • holes 64a are provided in the wall surfaces of each of the four walls of the quadrangular frame-shaped bezel 64, and tabs 62c protruding from each of the four sides are also provided in the quadrangular polarizing plate 62. It is provided. A hole 62d is formed in the tab 62c at a position corresponding to the hole 64a of the bezel 64. Then, four fixing pins 66 are used so that the fixing pins 66 are fitted into each hole 62d of the polarizing plate 62, each hole 62d of the bezel 64, and each hole 64a. In this way, the polarizing plate 62 is fixed to the bezel 64 by using the fixing pin 66, so that they are integrated as shown in FIGS. 9A and 9B.
  • the polarizing plate 62 and the bezel 64 may be fixed by using the fixing pin 66. Even if the bezel member 60 having such a structure is used, the same effect as that of the first embodiment can be obtained.
  • the claw portion 64b is provided on the inner wall surface of two opposing walls among the four walls of the quadrangular frame-shaped bezel 64.
  • the quadrangular polarizing plate 62 is joined to and integrated with the frame body portion 62e formed of the quadrangular frame body-shaped attachment by welding or the like.
  • the outer wall of the frame body portion 62e and the inner wall of the bezel 64 have a corresponding shape, and the inner wall surfaces of the two opposing walls of the four walls of the frame body portion 62e have a claw having a shape corresponding to the claw portion 64b.
  • a receiving portion 62f is provided.
  • the frame body portion 62e is fitted into the bezel 64, and the claw portion 64b and the claw receiving portion 62f are engaged with each other, so that the polarizing plate 62 is brought into close contact with the bezel 64 as shown in FIG. It is one.
  • the polarizing plate 62 and the bezel 64 may be fixed by the claw portion 64b and the claw receiving portion 62f by using the frame body portion 62e. Even if the bezel member 60 having such a structure is used, the same effect as that of the first embodiment can be obtained.
  • the claw portion 64b is a cylindrical convex portion and the claw receiving portion 62f is a circular hole, but the shape does not matter.
  • the bezel 64 is provided with the claw portion 64b and the frame body portion 62e is provided with the claw receiving portion 62f, the bezel 64 may be provided with the claw receiving portion and the frame body portion 62e may be provided with the claw portion. ..
  • the frame body portion 62e is composed of the polarizing plate 62 and an attachment of a separate member, but an integrally molded product in which the frame body portion 62e and the polarizing plate 62 are integrally molded may be used.
  • a fourth embodiment will be described. This embodiment is designed to suppress multiple reflections between the polarizing plate 62 and the polarizing plate 50 with respect to the first to third embodiments, and is the same as the first to third embodiments in other respects. Therefore, only the parts different from the first to third embodiments will be described.
  • the antireflection film 68 is provided on one surface of the polarizing plate 62 on the polarizing plate 50 side, and the antireflection film 56 is provided on one surface of the polarizing plate 50 on the polarizing plate 62 side.
  • the antireflection film 56 may be any one that can suppress reflection while transmitting the light of the display image.
  • it may be coated with a dielectric material having a small refractive index called AR (AntiReflection) coating, or moth eye.
  • AR AntiReflection
  • the antireflection film 68 and the antireflection film 56 can be formed by attaching a sheet or the like.
  • the polarizing plate 62 When the polarizing plate 62 is arranged along the polarizing plate 50, as shown by the broken line in FIG. 12, multiple reflections occur between them, and the virtual image 4 becomes double and triple and is visually recognized by the driver. There are times.
  • the polarizing plate 62 with the antireflection film 68 and the polarizing plate 50 with the antireflection film 56, it is possible to suppress multiple reflections between them. As a result, it is possible to prevent the virtual image 4 from being doubled or tripled and visually recognized by the driver.
  • the polarizing plate 62 is provided with the antireflection film 68 and the polarizing plate 50 is provided with the antireflection film 56, but at least one of them may be provided.
  • a fifth embodiment will be described.
  • the brightness of the projector 20 is adjusted with respect to the first to fourth embodiments. Since the configuration of the head-up display device 100 is almost the same as that of the first to fourth embodiments, only the parts different from the first to fourth embodiments will be described.
  • the amount of light emitted from the light source 22 in the projector 20 becomes a magnitude corresponding to the amount of current energized to the light source 22.
  • the amount of light emitted by the light source 22 is controlled by the block configuration shown in FIG.
  • an electronic control device for brightness control (hereinafter referred to as a brightness control ECU) 70, an illuminance sensor 72, and a changeover switch 74 are provided. Then, the brightness control ECU 70 controls the amount of light emitted by the light source 22 based on the detection signal of the illuminance sensor 72 and the operating state of the changeover switch 74, so that the brightness of the virtual image 4 is controlled.
  • the illuminance sensor 72 is installed on the upper surface of the instrument panel 1 in the vehicle V, for example, and outputs a detection signal according to the ambient illuminance of the vehicle V.
  • the changeover switch 74 is a switch for adjusting the brightness Ip of sunglasses, for example, is composed of a push switch arranged in the instrument panel 1, and outputs a changeover signal according to an operation state of whether or not the changeover switch 74 is pressed. Output. In other words, the changeover switch 74 outputs a signal indicating that the bezel member 60 is attached.
  • the brightness control ECU 70 corresponds to a control unit, and controls the brightness of the virtual image 4 by causing the light source 22 to emit light with a light emission amount corresponding to the ambient illuminance based on the detection signal of the illuminance sensor 72. Further, the luminance control ECU 70 switches the control mode of the amount of light emitted by the light source 22 based on the changeover signal according to the operation state of the changeover switch 74.
  • the luminance control ECU 70 performs the control assumed when the bezel member 60 is not mounted. That is, assuming that the driver visually recognizes the virtual image 4 with the naked eye, the light emission amount of the light source 22 is gradually increased according to the high illuminance in a dark situation where the ambient illuminance is low, and the brightness of the virtual image 4 is also increased. Make it gradually larger. Then, the light emission amount of the light source 22 is set to a constant value under a situation where the ambient illuminance becomes equal to or higher than a predetermined illuminance and is bright.
  • the change in sunglasses brightness Ip between the case where the bezel member 60 is attached and the case where the bezel member 60 is not attached is shown as shown in FIG. 14A.
  • the polarizing plate 62 performs polarization that gives priority to the sunglasses brightness Ip. Therefore, as compared with the case where the bezel member 60 is not attached, the sunglasses brightness Ip is higher when the ambient illuminance is lower or higher than the predetermined illuminance.
  • the ambient illuminance is higher than the predetermined illuminance
  • the higher the brightness of the virtual image 4 the more the driver may feel that it is too bright. Therefore, when the bezel member 60 is attached, the brightness of the virtual image 4 may deviate from the target value assumed when the bezel member 60 is not attached and become too bright.
  • the changeover switch 74 is operated so that the changeover signal is input to the luminance control ECU 70, and the luminance control ECU 70 controls for when the bezel member 60 is attached. I am trying to be
  • the sunglasses brightness Ip is set to the target value as in the case where the bezel member 60 is not attached. That is, when the ambient illuminance is lower than the predetermined illuminance, the amount of light emitted from the light source 22 corresponding to the ambient illuminance is reduced as compared with the case where the bezel member 60 is not attached. Then, when the ambient illuminance is higher than the predetermined illuminance, the sunglasses brightness Ip is set to be higher than that when the bezel member 60 is not attached.
  • the polarizing plate 62 in the bezel member 60 does not have to have a polarization function in the entire area, and may have a polarization function at least in the optical path through which the light of the display image is transmitted.
  • the polarizing plate 62 is a quadrangle and the bezel 64 is a quadrangular frame shape, but these shapes are arbitrary.
  • the polarizing plate 62 is another shape such as a circle or an ellipse
  • the bezel 64 is a circular frame shape or an ellipse. It may be another frame shape such as a frame shape.
  • bezel member 60 is removable, it is sufficient if it can be attached according to the user's request, and it does not have to be possible to remove it.
  • the naked eye brightness I is increased by using the polarizing plate 50 in the state where the bezel member 60 is not attached, but the bezel member 60 is provided even if the polarizing plate 50 is not provided.
  • the same effect as that of the above embodiment can be obtained.
  • the polarizing plate 50 it is not necessary for the polarizing plate 50 to have the highest naked-eye brightness I, and the naked-eye brightness I becomes higher after the polarizing plate 50 is transmitted than before. It suffices if such polarization is performed.
  • polarization is performed so that the sunglasses brightness Ip becomes higher at least after passing through the polarizing plate 62 than before. Should be done. More preferably, polarization is performed so that the sunglasses brightness Ip is higher than the naked eye brightness I.
  • the projector 20 the one that emits the light of the display image by using the liquid crystal panel 30 has been described as an example, but if the projector 20 projects the light of the polarized display image, the liquid crystal panel 30 is used. It may be other than the method. For example, a method of projecting image light with a linearly polarized laser may be adopted.
  • the light guide unit 40 is composed of a plane mirror 42 and a concave mirror 44, either one may be used, or another optical element may be added.
  • the windshield 2 is taken as an example as a projection member constituting the projection surface 3 on which the display image is projected, another material such as a wall surface in the vehicle interior may be used.
  • the brightness control ECU 70 increases the light emission amount.
  • the amount of light emitted from the light source 22 was set to a constant value. However, this is only an example, and at least when the ambient illuminance is lower than the predetermined illuminance, the light emission amount of the light source 22 may be increased as the ambient illuminance becomes higher.
  • the controls and methods thereof described in the present disclosure are realized by a dedicated computer provided by configuring a processor and memory programmed to perform one or more functions embodied by a computer program. May be done.
  • the controls and methods thereof described in the present disclosure may be implemented by a dedicated computer provided by configuring the processor with one or more dedicated hardware logic circuits.
  • the controls and methods described herein are by a combination of a processor and memory programmed to perform one or more functions and a processor composed of one or more hardware logic circuits. It may be realized by one or more dedicated computers configured.
  • the computer program may be stored in a computer-readable non-transitional tangible recording medium as an instruction executed by the computer.

Landscapes

  • Engineering & Computer Science (AREA)
  • Chemical & Material Sciences (AREA)
  • Combustion & Propulsion (AREA)
  • Transportation (AREA)
  • Mechanical Engineering (AREA)
  • Physics & Mathematics (AREA)
  • General Physics & Mathematics (AREA)
  • Optics & Photonics (AREA)
  • Multimedia (AREA)
  • Signal Processing (AREA)
  • Instrument Panels (AREA)
PCT/JP2020/020299 2019-05-23 2020-05-22 ヘッドアップディスプレイ装置 Ceased WO2020235675A1 (ja)

Applications Claiming Priority (2)

Application Number Priority Date Filing Date Title
JP2019-096807 2019-05-23
JP2019096807A JP7207162B2 (ja) 2019-05-23 2019-05-23 ヘッドアップディスプレイ装置

Publications (1)

Publication Number Publication Date
WO2020235675A1 true WO2020235675A1 (ja) 2020-11-26

Family

ID=73453758

Family Applications (1)

Application Number Title Priority Date Filing Date
PCT/JP2020/020299 Ceased WO2020235675A1 (ja) 2019-05-23 2020-05-22 ヘッドアップディスプレイ装置

Country Status (2)

Country Link
JP (1) JP7207162B2 (enExample)
WO (1) WO2020235675A1 (enExample)

Cited By (1)

* Cited by examiner, † Cited by third party
Publication number Priority date Publication date Assignee Title
IT202200012155A1 (it) * 2022-06-08 2023-12-08 Ferrari Spa Autoveicolo

Families Citing this family (4)

* Cited by examiner, † Cited by third party
Publication number Priority date Publication date Assignee Title
JPWO2022130865A1 (enExample) 2020-12-16 2022-06-23
KR20230118562A (ko) 2020-12-16 2023-08-11 소니그룹주식회사 표시 제어 장치, 표시 제어 방법, 기록 매체 및 표시 시스템
JP2024015460A (ja) 2020-12-16 2024-02-02 ソニーグループ株式会社 表示装置及び表示システム
KR20250168137A (ko) * 2024-04-30 2025-12-02 엘지전자 주식회사 헤드 업 디스플레이

Citations (5)

* Cited by examiner, † Cited by third party
Publication number Priority date Publication date Assignee Title
JP2015031924A (ja) * 2013-08-06 2015-02-16 株式会社デンソー 車両用ヘッドアップディスプレイ装置
JP2015169661A (ja) * 2014-03-04 2015-09-28 株式会社デンソー ヘッドアップディスプレイ装置
JP2015225118A (ja) * 2014-05-26 2015-12-14 株式会社デンソー ヘッドアップディスプレイ装置
JP2017026978A (ja) * 2015-07-28 2017-02-02 日本精機株式会社 ヘッドアップディスプレイ装置
CN107015369A (zh) * 2017-06-06 2017-08-04 孝感市青谷信息科技有限公司 一种消重影抬头显示装置

Family Cites Families (1)

* Cited by examiner, † Cited by third party
Publication number Priority date Publication date Assignee Title
JP6369451B2 (ja) * 2015-12-03 2018-08-08 株式会社デンソー ヘッドアップディスプレイ装置

Patent Citations (5)

* Cited by examiner, † Cited by third party
Publication number Priority date Publication date Assignee Title
JP2015031924A (ja) * 2013-08-06 2015-02-16 株式会社デンソー 車両用ヘッドアップディスプレイ装置
JP2015169661A (ja) * 2014-03-04 2015-09-28 株式会社デンソー ヘッドアップディスプレイ装置
JP2015225118A (ja) * 2014-05-26 2015-12-14 株式会社デンソー ヘッドアップディスプレイ装置
JP2017026978A (ja) * 2015-07-28 2017-02-02 日本精機株式会社 ヘッドアップディスプレイ装置
CN107015369A (zh) * 2017-06-06 2017-08-04 孝感市青谷信息科技有限公司 一种消重影抬头显示装置

Cited By (3)

* Cited by examiner, † Cited by third party
Publication number Priority date Publication date Assignee Title
IT202200012155A1 (it) * 2022-06-08 2023-12-08 Ferrari Spa Autoveicolo
EP4289651A1 (en) * 2022-06-08 2023-12-13 FERRARI S.p.A. Motor vehicle
US12443036B2 (en) 2022-06-08 2025-10-14 Ferrari S.P.A. Motor vehicle

Also Published As

Publication number Publication date
JP7207162B2 (ja) 2023-01-18
JP2020190677A (ja) 2020-11-26

Similar Documents

Publication Publication Date Title
WO2020235675A1 (ja) ヘッドアップディスプレイ装置
JP6369451B2 (ja) ヘッドアップディスプレイ装置
US10234683B2 (en) Head-up display, and vehicle equipped with head-up display
CN104145207B (zh) 图像显示装置
JP6432540B2 (ja) ヘッドアップディスプレイ装置
US20160195727A1 (en) Head-up display, and vehicle equipped with head-up display
US9580015B2 (en) Image display device
US20160202482A1 (en) Head-up display, and vehicle equipped with head-up display
JP7355013B2 (ja) 表示装置及びヘッドアップディスプレイ装置
WO2016208133A1 (ja) ヘッドアップディスプレイ装置
WO2015182027A1 (ja) ヘッドアップディスプレイ装置
JP2020003732A (ja) 表示器、表示システム、移動体
EP3415973B1 (en) Display device and head-up display
US20210063736A1 (en) Headup display device
JP2020190677A5 (enExample)
JP6363828B2 (ja) 光学システム
JP5910386B2 (ja) 画像表示装置
EP3451045B1 (en) Display device
WO2014002394A1 (ja) 画像表示装置
JP7304573B2 (ja) ヘッドアップディスプレイ装置
US12072488B2 (en) Display device, head-up display, and mobile object
JP2018036608A (ja) 透明基板を備える接眼型の映像表示装置
WO2020158362A1 (ja) 虚像表示装置
JP7342790B2 (ja) 虚像表示装置
JP7631876B2 (ja) 乗員監視装置及び車両用表示装置

Legal Events

Date Code Title Description
121 Ep: the epo has been informed by wipo that ep was designated in this application

Ref document number: 20809463

Country of ref document: EP

Kind code of ref document: A1

NENP Non-entry into the national phase

Ref country code: DE

122 Ep: pct application non-entry in european phase

Ref document number: 20809463

Country of ref document: EP

Kind code of ref document: A1