WO2020217753A1 - 排ガス浄化フィルタ - Google Patents

排ガス浄化フィルタ Download PDF

Info

Publication number
WO2020217753A1
WO2020217753A1 PCT/JP2020/010206 JP2020010206W WO2020217753A1 WO 2020217753 A1 WO2020217753 A1 WO 2020217753A1 JP 2020010206 W JP2020010206 W JP 2020010206W WO 2020217753 A1 WO2020217753 A1 WO 2020217753A1
Authority
WO
WIPO (PCT)
Prior art keywords
inflow
exhaust gas
sealing portion
outflow
sealing
Prior art date
Legal status (The legal status is an assumption and is not a legal conclusion. Google has not performed a legal analysis and makes no representation as to the accuracy of the status listed.)
Ceased
Application number
PCT/JP2020/010206
Other languages
English (en)
French (fr)
Japanese (ja)
Inventor
弘勝 今川
Current Assignee (The listed assignees may be inaccurate. Google has not performed a legal analysis and makes no representation or warranty as to the accuracy of the list.)
Denso Corp
Original Assignee
Denso Corp
Priority date (The priority date is an assumption and is not a legal conclusion. Google has not performed a legal analysis and makes no representation as to the accuracy of the date listed.)
Filing date
Publication date
Application filed by Denso Corp filed Critical Denso Corp
Priority to EP20795382.9A priority Critical patent/EP3960272A4/en
Priority to CN202080030705.1A priority patent/CN113825556B/zh
Publication of WO2020217753A1 publication Critical patent/WO2020217753A1/ja
Priority to US17/507,020 priority patent/US11850540B2/en
Anticipated expiration legal-status Critical
Ceased legal-status Critical Current

Links

Images

Classifications

    • FMECHANICAL ENGINEERING; LIGHTING; HEATING; WEAPONS; BLASTING
    • F01MACHINES OR ENGINES IN GENERAL; ENGINE PLANTS IN GENERAL; STEAM ENGINES
    • F01NGAS-FLOW SILENCERS OR EXHAUST APPARATUS FOR MACHINES OR ENGINES IN GENERAL; GAS-FLOW SILENCERS OR EXHAUST APPARATUS FOR INTERNAL-COMBUSTION ENGINES
    • F01N3/00Exhaust or silencing apparatus having means for purifying, rendering innocuous, or otherwise treating exhaust
    • F01N3/02Exhaust or silencing apparatus having means for purifying, rendering innocuous, or otherwise treating exhaust for cooling, or for removing solid constituents of, exhaust
    • F01N3/021Exhaust or silencing apparatus having means for purifying, rendering innocuous, or otherwise treating exhaust for cooling, or for removing solid constituents of, exhaust by means of filters
    • BPERFORMING OPERATIONS; TRANSPORTING
    • B01PHYSICAL OR CHEMICAL PROCESSES OR APPARATUS IN GENERAL
    • B01DSEPARATION
    • B01D39/00Filtering material for liquid or gaseous fluids
    • B01D39/14Other self-supporting filtering material ; Other filtering material
    • B01D39/20Other self-supporting filtering material ; Other filtering material of inorganic material, e.g. asbestos paper, metallic filtering material of non-woven wires
    • B01D39/2068Other inorganic materials, e.g. ceramics
    • B01D39/2072Other inorganic materials, e.g. ceramics the material being particulate or granular
    • B01D39/2079Other inorganic materials, e.g. ceramics the material being particulate or granular otherwise bonded, e.g. by resins
    • BPERFORMING OPERATIONS; TRANSPORTING
    • B01PHYSICAL OR CHEMICAL PROCESSES OR APPARATUS IN GENERAL
    • B01DSEPARATION
    • B01D46/00Filters or filtering processes specially modified for separating dispersed particles from gases or vapours
    • B01D46/24Particle separators, e.g. dust precipitators, using rigid hollow filter bodies
    • B01D46/2403Particle separators, e.g. dust precipitators, using rigid hollow filter bodies characterised by the physical shape or structure of the filtering element
    • B01D46/2418Honeycomb filters
    • B01D46/2425Honeycomb filters characterized by parameters related to the physical properties of the honeycomb structure material
    • B01D46/2429Honeycomb filters characterized by parameters related to the physical properties of the honeycomb structure material of the honeycomb walls or cells
    • BPERFORMING OPERATIONS; TRANSPORTING
    • B01PHYSICAL OR CHEMICAL PROCESSES OR APPARATUS IN GENERAL
    • B01DSEPARATION
    • B01D46/00Filters or filtering processes specially modified for separating dispersed particles from gases or vapours
    • B01D46/24Particle separators, e.g. dust precipitators, using rigid hollow filter bodies
    • B01D46/2403Particle separators, e.g. dust precipitators, using rigid hollow filter bodies characterised by the physical shape or structure of the filtering element
    • B01D46/2418Honeycomb filters
    • B01D46/2425Honeycomb filters characterized by parameters related to the physical properties of the honeycomb structure material
    • B01D46/244Honeycomb filters characterized by parameters related to the physical properties of the honeycomb structure material of the plugs
    • BPERFORMING OPERATIONS; TRANSPORTING
    • B01PHYSICAL OR CHEMICAL PROCESSES OR APPARATUS IN GENERAL
    • B01DSEPARATION
    • B01D46/00Filters or filtering processes specially modified for separating dispersed particles from gases or vapours
    • B01D46/24Particle separators, e.g. dust precipitators, using rigid hollow filter bodies
    • B01D46/2403Particle separators, e.g. dust precipitators, using rigid hollow filter bodies characterised by the physical shape or structure of the filtering element
    • B01D46/2418Honeycomb filters
    • B01D46/2425Honeycomb filters characterized by parameters related to the physical properties of the honeycomb structure material
    • B01D46/24491Porosity
    • BPERFORMING OPERATIONS; TRANSPORTING
    • B01PHYSICAL OR CHEMICAL PROCESSES OR APPARATUS IN GENERAL
    • B01DSEPARATION
    • B01D46/00Filters or filtering processes specially modified for separating dispersed particles from gases or vapours
    • B01D46/24Particle separators, e.g. dust precipitators, using rigid hollow filter bodies
    • B01D46/2403Particle separators, e.g. dust precipitators, using rigid hollow filter bodies characterised by the physical shape or structure of the filtering element
    • B01D46/2418Honeycomb filters
    • B01D46/2425Honeycomb filters characterized by parameters related to the physical properties of the honeycomb structure material
    • B01D46/24492Pore diameter
    • BPERFORMING OPERATIONS; TRANSPORTING
    • B01PHYSICAL OR CHEMICAL PROCESSES OR APPARATUS IN GENERAL
    • B01DSEPARATION
    • B01D46/00Filters or filtering processes specially modified for separating dispersed particles from gases or vapours
    • B01D46/24Particle separators, e.g. dust precipitators, using rigid hollow filter bodies
    • B01D46/2403Particle separators, e.g. dust precipitators, using rigid hollow filter bodies characterised by the physical shape or structure of the filtering element
    • B01D46/2418Honeycomb filters
    • B01D46/2451Honeycomb filters characterized by the geometrical structure, shape, pattern or configuration or parameters related to the geometry of the structure
    • B01D46/2459Honeycomb filters characterized by the geometrical structure, shape, pattern or configuration or parameters related to the geometry of the structure of the plugs
    • BPERFORMING OPERATIONS; TRANSPORTING
    • B01PHYSICAL OR CHEMICAL PROCESSES OR APPARATUS IN GENERAL
    • B01DSEPARATION
    • B01D46/00Filters or filtering processes specially modified for separating dispersed particles from gases or vapours
    • B01D46/24Particle separators, e.g. dust precipitators, using rigid hollow filter bodies
    • B01D46/2403Particle separators, e.g. dust precipitators, using rigid hollow filter bodies characterised by the physical shape or structure of the filtering element
    • B01D46/2418Honeycomb filters
    • B01D46/2451Honeycomb filters characterized by the geometrical structure, shape, pattern or configuration or parameters related to the geometry of the structure
    • B01D46/2482Thickness, height, width, length or diameter
    • FMECHANICAL ENGINEERING; LIGHTING; HEATING; WEAPONS; BLASTING
    • F01MACHINES OR ENGINES IN GENERAL; ENGINE PLANTS IN GENERAL; STEAM ENGINES
    • F01NGAS-FLOW SILENCERS OR EXHAUST APPARATUS FOR MACHINES OR ENGINES IN GENERAL; GAS-FLOW SILENCERS OR EXHAUST APPARATUS FOR INTERNAL-COMBUSTION ENGINES
    • F01N3/00Exhaust or silencing apparatus having means for purifying, rendering innocuous, or otherwise treating exhaust
    • F01N3/02Exhaust or silencing apparatus having means for purifying, rendering innocuous, or otherwise treating exhaust for cooling, or for removing solid constituents of, exhaust
    • F01N3/021Exhaust or silencing apparatus having means for purifying, rendering innocuous, or otherwise treating exhaust for cooling, or for removing solid constituents of, exhaust by means of filters
    • F01N3/022Exhaust or silencing apparatus having means for purifying, rendering innocuous, or otherwise treating exhaust for cooling, or for removing solid constituents of, exhaust by means of filters characterised by specially adapted filtering structure, e.g. honeycomb, mesh or fibrous
    • F01N3/0222Exhaust or silencing apparatus having means for purifying, rendering innocuous, or otherwise treating exhaust for cooling, or for removing solid constituents of, exhaust by means of filters characterised by specially adapted filtering structure, e.g. honeycomb, mesh or fibrous the structure being monolithic, e.g. honeycombs
    • FMECHANICAL ENGINEERING; LIGHTING; HEATING; WEAPONS; BLASTING
    • F01MACHINES OR ENGINES IN GENERAL; ENGINE PLANTS IN GENERAL; STEAM ENGINES
    • F01NGAS-FLOW SILENCERS OR EXHAUST APPARATUS FOR MACHINES OR ENGINES IN GENERAL; GAS-FLOW SILENCERS OR EXHAUST APPARATUS FOR INTERNAL-COMBUSTION ENGINES
    • F01N3/00Exhaust or silencing apparatus having means for purifying, rendering innocuous, or otherwise treating exhaust
    • F01N3/02Exhaust or silencing apparatus having means for purifying, rendering innocuous, or otherwise treating exhaust for cooling, or for removing solid constituents of, exhaust
    • F01N3/021Exhaust or silencing apparatus having means for purifying, rendering innocuous, or otherwise treating exhaust for cooling, or for removing solid constituents of, exhaust by means of filters
    • F01N3/033Exhaust or silencing apparatus having means for purifying, rendering innocuous, or otherwise treating exhaust for cooling, or for removing solid constituents of, exhaust by means of filters in combination with other devices
    • F01N3/035Exhaust or silencing apparatus having means for purifying, rendering innocuous, or otherwise treating exhaust for cooling, or for removing solid constituents of, exhaust by means of filters in combination with other devices with catalytic reactors
    • FMECHANICAL ENGINEERING; LIGHTING; HEATING; WEAPONS; BLASTING
    • F01MACHINES OR ENGINES IN GENERAL; ENGINE PLANTS IN GENERAL; STEAM ENGINES
    • F01NGAS-FLOW SILENCERS OR EXHAUST APPARATUS FOR MACHINES OR ENGINES IN GENERAL; GAS-FLOW SILENCERS OR EXHAUST APPARATUS FOR INTERNAL-COMBUSTION ENGINES
    • F01N3/00Exhaust or silencing apparatus having means for purifying, rendering innocuous, or otherwise treating exhaust
    • F01N3/08Exhaust or silencing apparatus having means for purifying, rendering innocuous, or otherwise treating exhaust for rendering innocuous
    • F01N3/10Exhaust or silencing apparatus having means for purifying, rendering innocuous, or otherwise treating exhaust for rendering innocuous by thermal or catalytic conversion of noxious components of exhaust
    • F01N3/101Three-way catalysts
    • BPERFORMING OPERATIONS; TRANSPORTING
    • B01PHYSICAL OR CHEMICAL PROCESSES OR APPARATUS IN GENERAL
    • B01DSEPARATION
    • B01D2239/00Aspects relating to filtering material for liquid or gaseous fluids
    • B01D2239/12Special parameters characterising the filtering material
    • B01D2239/1208Porosity
    • BPERFORMING OPERATIONS; TRANSPORTING
    • B01PHYSICAL OR CHEMICAL PROCESSES OR APPARATUS IN GENERAL
    • B01DSEPARATION
    • B01D2239/00Aspects relating to filtering material for liquid or gaseous fluids
    • B01D2239/12Special parameters characterising the filtering material
    • B01D2239/1216Pore size
    • BPERFORMING OPERATIONS; TRANSPORTING
    • B01PHYSICAL OR CHEMICAL PROCESSES OR APPARATUS IN GENERAL
    • B01DSEPARATION
    • B01D2239/00Aspects relating to filtering material for liquid or gaseous fluids
    • B01D2239/12Special parameters characterising the filtering material
    • B01D2239/1241Particle diameter
    • BPERFORMING OPERATIONS; TRANSPORTING
    • B01PHYSICAL OR CHEMICAL PROCESSES OR APPARATUS IN GENERAL
    • B01DSEPARATION
    • B01D2239/00Aspects relating to filtering material for liquid or gaseous fluids
    • B01D2239/12Special parameters characterising the filtering material
    • B01D2239/125Size distribution
    • BPERFORMING OPERATIONS; TRANSPORTING
    • B01PHYSICAL OR CHEMICAL PROCESSES OR APPARATUS IN GENERAL
    • B01DSEPARATION
    • B01D2275/00Filter media structures for filters specially adapted for separating dispersed particles from gases or vapours
    • B01D2275/30Porosity of filtering material
    • BPERFORMING OPERATIONS; TRANSPORTING
    • B01PHYSICAL OR CHEMICAL PROCESSES OR APPARATUS IN GENERAL
    • B01DSEPARATION
    • B01D2279/00Filters adapted for separating dispersed particles from gases or vapours specially modified for specific uses
    • B01D2279/30Filters adapted for separating dispersed particles from gases or vapours specially modified for specific uses for treatment of exhaust gases from IC Engines
    • FMECHANICAL ENGINEERING; LIGHTING; HEATING; WEAPONS; BLASTING
    • F01MACHINES OR ENGINES IN GENERAL; ENGINE PLANTS IN GENERAL; STEAM ENGINES
    • F01NGAS-FLOW SILENCERS OR EXHAUST APPARATUS FOR MACHINES OR ENGINES IN GENERAL; GAS-FLOW SILENCERS OR EXHAUST APPARATUS FOR INTERNAL-COMBUSTION ENGINES
    • F01N2330/00Structure of catalyst support or particle filter
    • F01N2330/06Ceramic, e.g. monoliths
    • YGENERAL TAGGING OF NEW TECHNOLOGICAL DEVELOPMENTS; GENERAL TAGGING OF CROSS-SECTIONAL TECHNOLOGIES SPANNING OVER SEVERAL SECTIONS OF THE IPC; TECHNICAL SUBJECTS COVERED BY FORMER USPC CROSS-REFERENCE ART COLLECTIONS [XRACs] AND DIGESTS
    • Y02TECHNOLOGIES OR APPLICATIONS FOR MITIGATION OR ADAPTATION AGAINST CLIMATE CHANGE
    • Y02TCLIMATE CHANGE MITIGATION TECHNOLOGIES RELATED TO TRANSPORTATION
    • Y02T10/00Road transport of goods or passengers
    • Y02T10/10Internal combustion engine [ICE] based vehicles
    • Y02T10/12Improving ICE efficiencies

Definitions

  • This disclosure relates to an exhaust gas purification filter.
  • Exhaust gas emitted from internal combustion engines such as gasoline engines and diesel engines contains particulate matter called particulate (hereinafter, may be referred to as "PM" as appropriate).
  • An exhaust gas purification filter is arranged in the exhaust passage of the internal combustion engine in order to collect PM in the exhaust gas and purify the exhaust gas.
  • Patent Document 1 discloses a diesel particulate filter (hereinafter, may be referred to as "DPF") that collects PM emitted from a diesel engine.
  • DPF diesel particulate filter
  • gasoline particulate filter capable of collecting PM emitted from a gasoline engine can also be used for vehicles having a gasoline engine (hereinafter, “gasoline vehicle”). It is sometimes called “GPF").
  • Fuel used in internal combustion engines usually contains impurities. Impurities contained in the fuel scatter to the exhaust gas purification filter as solid matter when the fuel burns. Compared to diesel engines, gasoline engines have higher exhaust gas temperatures and higher flow velocities. Therefore, in a gasoline engine, the inflow side sealing portion arranged on the inflow end face side into which the exhaust gas flows is easily scraped by the scattered matter.
  • An object of the present disclosure is to provide an exhaust gas purification filter capable of suppressing scraping of a sealing portion on the inflow side.
  • One aspect of the present disclosure includes a plurality of cells extending from the inflow end face into which the exhaust gas flows in to the outflow end face in which the exhaust gas flows out.
  • a porous partition that partitions the plurality of cells, Of the plurality of cells, the inflow side sealing portion that seals the opening on the inflow end face side in the outflow cell from which the exhaust gas flows out, and the inflow side sealing portion.
  • the inflow cell into which the exhaust gas flows has an outflow side eye sealing portion for sealing the opening on the outflow end face side.
  • the porosity of the inflow side sealing portion is less than 60%.
  • the porosity of the partition wall is 60% or more and 70% or less.
  • the pore diameter at which the cumulative pore volume is 50% in the pore diameter distribution of the inflow side sealing portion is d50 Pin
  • the pore diameter at which the cumulative pore volume is 50% in the pore diameter distribution of the partition wall is d50 B.
  • the pore diameter d50 Pin of the inflow side sealing portion is less than 18 ⁇ m.
  • the pore diameter d50 B of the partition wall is 18 ⁇ m or more and 25 ⁇ m or less. It is in the exhaust gas purification filter.
  • the exhaust gas purification filter has the above specific configuration. Therefore, even when the exhaust gas purification filter is applied as a GPF, it is possible to suppress scraping of the inflow side sealing portion due to scattered matter.
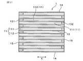
  • FIG. 1 is a perspective view of the exhaust gas purification filter according to the first embodiment.
  • FIG. 2 is a cross-sectional view taken along the filter axial direction of the exhaust gas purification filter according to the first embodiment.
  • FIG. 3 is a diagram showing the flow of exhaust gas in the exhaust gas purification filter according to the first embodiment.
  • FIG. 4 shows a method for measuring the average value of the sealing length of the inflow side sealing portion and the average value of the sealing length of the outflow side sealing portion in the exhaust gas purification filter according to the first embodiment. It is a diagram for explaining FIG.
  • the exhaust gas purification filter 1 has a plurality of cells 11, a partition wall 12, an inflow side eye sealing portion 131, and an outflow side eye sealing portion 132. There is.
  • the plurality of cells 11 extend from the inflow end surface 15 into which the exhaust gas G flows in to the outflow end surface 16 in which the exhaust gas G flows out.
  • the extension direction of the cell 11 usually coincides with the filter axial direction X.
  • the cell shape can be, for example, a quadrangular shape as illustrated in FIG.
  • the cell shape is not limited to this, and may be, for example, a polygonal shape such as a triangular shape or a hexagonal shape, or a circular shape. Further, the cell shape may be composed of a combination of two or more different shapes.
  • the inflow side eye sealing portion 131 seals the opening on the inflow end surface 15 side of the outflow cell 112 among the plurality of cells 11.
  • the outflow side eye sealing portion 132 seals the opening on the outflow end surface 16 side in the inflow cell 111 among the plurality of cells 11. That is, the inflow cell 111 opens on the inflow end surface 15 side, and the opening on the outflow end surface 16 side is closed by the outflow side eye sealing portion 132. Further, the outflow cell 112 is opened on the outflow end surface 16 side, and the opening is closed on the inflow end surface 15 side by the inflow side eye sealing portion 131. As illustrated in FIG.
  • the plurality of cells 11 are alternately sealed by the inflow side eye sealing portion 131 and the outflow side eye sealing portion 132.
  • the inflow side eye sealing portion 131 and the outflow side eye sealing portion 132 can be formed of, for example, ceramics such as cordierite, but may be made of other materials.
  • the exhaust gas G flows into the inflow cell 111 from the inflow end surface 15 on the exhaust gas inflow side.
  • the exhaust gas G that has flowed into the inflow cell 111 flows through the inflow cell 111 and also through the porous partition wall 12 to reach the outflow cell 112.
  • the exhaust gas G that has reached the outflow cell 112 flows in the outflow cell 112.
  • the exhaust gas G that has flowed through the outflow cell 112 is discharged from the outflow end face 16 that is on the exhaust gas outflow side.
  • the porosity of the inflow side sealing portion 131 is smaller than the porosity of the partition wall 12. Specifically, the porosity of the inflow side sealing portion 131 is less than 60%, and the porosity of the partition wall 12 is 60% or more and 70% or less. Further, the pore diameter d50 Pin at which the cumulative pore volume is 50% in the pore diameter distribution of the inflow side eye sealing portion 131 is smaller than the pore diameter d50 B at which the cumulative pore volume is 50% in the pore diameter distribution of the partition wall 12. ..
  • the pore diameter d50 Pin of the inflow side eye sealing portion 131 is set to less than 18 ⁇ m, and the pore diameter d50 B of the partition wall 12 is set to 18 ⁇ m or more and 25 ⁇ m or less.
  • the density of the inflow side eye sealing portion 131 becomes higher than the density of the partition wall 12, and the inflow side eye sealing portion 131 has a smaller amount of scraping due to scattered matter than the partition wall 12.
  • the exhaust gas purification filter 1 can suppress the scraping (erosion) of the inflow side eye sealing portion 131 due to the scattered matter even when the exhaust gas purification filter 1 is used as the GPF.
  • the porosity of the inflow side eye seal 131 is equal to or greater than the porosity of the partition wall 12, the porosity of the inflow side eye seal 131 is 60% or more, or the porosity d50 Pin of the inflow side eye seal 131 is 18 ⁇ m or more. In this case, the inflow side eye sealing portion 131 is easily scraped, and the scraping resistance is lowered.
  • the porosity of the inflow side eye sealing portion 131 is preferably 58% or less, more preferably 57% or less, still more preferably 56% or less, from the viewpoint of suppressing scraping of the inflow side eye sealing portion 131. Even more preferably, it can be 55% or less.
  • the porosity of the inflow side eye sealing portion 131 it is difficult to set the porosity to 0% in manufacturing. Shrinkage matching with the partition wall 12 at the time of firing (suppression of swelling of the inflow side eye sealing portion 131 after firing) ) And the like, for example, it can be 50% or more.
  • the pore diameter d50 Pin of the inflow side eye sealing portion 131 is preferably 17.5 ⁇ m or less, more preferably 17 ⁇ m or less, still more preferably 16 ⁇ m or less, from the viewpoint of suppressing scraping of the inflow side eye sealing portion 131. , Even more preferably, it can be 15 ⁇ m or less.
  • the pore diameter d50 Pin of the inflow side eye sealing portion 131 is set to, for example, 10 ⁇ m or more from the viewpoint of shrinkage alignment at the time of firing with the partition wall 12 (suppression of swelling after firing of the inflow side eye sealing portion 131). can do.
  • the porosity of the outflow side eye sealing portion 132 and the porosity d50 Pout of the outflow side eye sealing portion 132 are , Each of them may be selected from the same range as the porosity of the inflow side eye sealing portion 131 and the pore diameter d50 Pin of the inflow side eye sealing portion 131, or may be selected from different ranges. In the former case, it becomes easy to standardize the material and the manufacturing method of the inflow side eye sealing portion 131 and the outflow side eye sealing portion 132, so that the exhaust gas purification filter 1 having excellent manufacturability can be obtained. Becomes possible.
  • the porosity of the partition wall 12 can be preferably 61% or more, more preferably 62% or more, still more preferably 63% or more, from the viewpoint of reducing initial pressure loss, improving PM collection performance, and the like. ..
  • the porosity of the partition wall 12 is preferably 69% or less, more preferably 68% or less, still more preferably 67% or less, still more preferably 66, from the viewpoint of improving the strength of the exhaust gas purification filter 1. It can be less than or equal to%.
  • the pore diameter d50 B of the partition wall 12 is preferably 18.5 ⁇ m or more, more preferably 19 ⁇ m or more, still more preferably 19.5 ⁇ m or more, from the viewpoint of facilitating the porosity of the partition wall 12 to be 60% or more. Even more preferably, it can be 20 ⁇ m or more.
  • the pore diameter d50 B of the partition wall 12 is preferably 24 ⁇ m or less, more preferably 23 ⁇ m or less, still more preferably 22 ⁇ m or less, from the viewpoint of facilitating the porosity of the partition wall 12 to be 70% or less. Can be done.
  • mercury is introduced into the measurement cell and pressurized, and the pore diameter and the pore volume are measured from the pressure at the time of pressurization and the volume of mercury introduced into the pores of the partition wall 12 in the test piece.
  • the measurement is performed in the pressure range of 0.5 to 20000 psia.
  • 0.5 psia corresponds to 0.35 ⁇ 10 -3 kg / mm 2
  • 20000 psia corresponds to 14 kg / mm 2 .
  • the range of the pore diameter corresponding to this pressure range is 0.01 to 420 ⁇ m.
  • a contact angle of 140 ° and a surface tension of 480 dyn / cm are used.
  • the porosity and pore diameter d50 Pin of the inflow side sealing portion 131 described above can be measured by a mercury porosimeter using the principle of the mercury intrusion method. Specifically, 20 mm including the inflow side sealing portion 131 is cut out from the inflow end surface 15 of the exhaust gas purification filter 1 in the filter axial direction X. A rectangular parallelepiped having dimensions of 15 mm in length ⁇ 15 mm in width and a length of 20 mm in the filter axial direction X is further cut out from the cut piece, and this is used as a sealing test piece. Next, the sealing test piece is housed in the measurement cell of the mercury porosimeter, and the pressure inside the measurement cell is reduced.
  • mercury is introduced into the measurement cell and pressurized, and the pore diameter and the pore volume are measured from the pressure at the time of pressurization and the volume of mercury introduced into the pores of the sealing test piece.
  • the measurement is performed in the pressure range of 0.5 to 20000 psia.
  • 0.5 psia corresponds to 0.35 ⁇ 10 -3 kg / mm 2
  • 20000 psia corresponds to 14 kg / mm 2 .
  • the range of the pore diameter corresponding to this pressure range is 0.01 to 420 ⁇ m.
  • a contact angle of 140 ° and a surface tension of 480 dyn / cm are used.
  • the porosity of the eye-sealing test piece calculated from the following relational expression can be regarded as the porosity of the inflow-side eye-sealing portion 131.
  • Porosity (%) of the sealing test piece total pore volume / (total pore volume + 1 / true specific gravity of the sealing material) x 100
  • the sealing material is cordierite, 2.52 can be used as the true specific gravity of cordierite.
  • the porosity and pore diameter d50 Pout of the outflow side eye sealing portion 132 described above can be measured in the same manner as the porosity and pore diameter d50 Pin of the inflow side eye sealing portion 131 described above.
  • the average value of the sealing length of the inflow side sealing portion 131 is the average value of the sealing length of the outflow side sealing portion 132. It is preferable that the configuration is larger than that. According to this configuration, it becomes easy to secure a scraping allowance until the inflow side eye sealing portion 131 is scraped and penetrated by the scattered matter. Therefore, according to this configuration, it becomes easy to improve the durability when the exhaust gas purification filter 1 is applied as a GPF, and it becomes easy to secure the PM collection function for a long period of time.
  • the average value of the seal length of the inflow side eye seal 131 and the average value of the eye seal length of the outflow side eye seal 132 are measured as follows.
  • FIG. 4 shows the inflow end surface 15 of the exhaust gas purification filter 1.
  • the cell 11, the partition wall 12, and the inflow side sealing portion 131 are omitted.
  • FIG. 4 first, for the inflow end surface 15 of the exhaust gas purification filter 1, one straight line P1 passing through the center of the inflow end surface 15 is determined.
  • a straight line P2 is determined by rotating the straight line P1 by 90 ° in the clockwise direction with the center of the inflow end surface 15 as the rotation axis.
  • the straight line P1 portion cut out by the skin portion 14 is divided into eight equal parts.
  • four points for each jump as shown in FIG.
  • the straight line P2 portion cut out by the skin portion 14 is divided into eight equal parts. Then, of the seven points that divide the straight line P2 portion into eight equal parts, four points for each jump as shown in FIG. 4 are designated as measurement points e to h. Further, the two points that divide the line segment connecting the measurement point a and the measurement point h into three equal parts are the measurement points i and j. Similarly, the two points that divide the line segment connecting the measurement point h and the measurement point d into three equal parts are the measurement points k and l. The two points that divide the line segment connecting the measurement point d and the measurement point e into three equal parts are the measurement points m and n.
  • the two points that divide the line segment connecting the measurement point e and the measurement point a into three equal parts are the measurement points o and p. In this way, 16 measurement points a to p as shown in FIG. 4 are determined.
  • 16 outflow cells 112 existing at the positions closest to each of the measurement points a to p are found.
  • the complete outflow cell 112 is selected.
  • the sealing length of each of the inflow side sealing portions 131 arranged in the 16 outflow cells 112 is measured.
  • the average value of the obtained 16 seals is taken as the average value of the seal lengths of the inflow side eye seal 131.
  • the sealing length of one inflow side sealing portion 131 can be measured as follows. First, the length from the inflow end face 15 to the outflow end face 16 is measured by the skin portion 14 of the exhaust gas purification filter 1, and this is used as the filter length. Next, the exhaust gas purification filter 1 is arranged with the inflow end face 15 on the lower side and the outflow end face 16 on the upper side. That is, the side with the eye seal portion to be measured is the lower side. Then, as shown in FIG. 5, a pin gauge adjusted to the length of the filter from the opening on the outflow end surface 16 side in the outflow cell 112 in which the inflow side eye sealing portion 131 to be measured is arranged. Insert PG (Pin gauge).
  • 16 outflow end faces 16 are located closest to each of the measurement points a to p in the same manner as described above. Find the inflow cell 111. Then, the sealing length of each of the outflow side sealing portions 132 arranged in the 16 inflow cells 111 is measured in the same manner as described above. Then, the average value of the obtained 16 eye seal lengths is taken as the average value of the eye seal lengths of the outflow side eye seal portion 132.
  • the length of one outflow side eye sealing portion 132 is the same as the eye sealing length of the inflow side eye sealing portion 131 in the inflow cell 111 in which the outflow side eye sealing portion 132 to be measured is arranged.
  • a pin gauge PG matching the length of the filter is inserted through the opening on the inflow end surface 15 side, and the length L of the pin gauge PG protruding outward from the inflow end surface 15 is set to the outflow side seal to be measured.
  • the sealing length of the stopper 132 is set.
  • the total sealing length obtained by summing the average value of the sealing length of the inflow side sealing portion 131 and the average value of the sealing length of the outflow side sealing portion 132 is , 9 mm or less is preferable.
  • the total sealing length is increased, the filtration area length of the partition wall 12 is reduced, and the PM collection rate is reduced. According to the configuration in which the total sealing length is in the above range, the reduction in the filtration area length of the partition wall 12 can be restricted, and the decrease in the PM collection rate can be easily suppressed.
  • the filtration area length of the partition wall 12 is reduced in the limited filter length.
  • the average value of the sealing length of the inflow side sealing portion 131 is larger than the average value of the sealing length of the outflow side sealing portion 132, the total sealing length is 9 mm or less. If this is the case, the reduction in the filtration area length of the partition wall 12 is restricted, and it becomes easy to suppress the decrease in the PM collection rate.
  • the total sealing length can be preferably 8 mm or less, more preferably 7 mm or less, and further preferably 6 mm or less.
  • the total sealing length is preferably 2.5 mm or more, more preferably 3.5 mm or more, and further, from the viewpoint of facilitating securing a scraping allowance for the inflow side sealing portion 131.
  • it can be 4 mm or more.
  • the exhaust gas purification filter 1 is used by being arranged in the exhaust passage of a gasoline engine, that is, by being used as a GPF, its effect can be fully exhibited.
  • the exhaust gas purification filter 1 can be used by being arranged in the exhaust passage of a diesel engine, that is, it can also be used as a DPF.
  • the exhaust gas purification filter 1 described above can be manufactured, for example, as follows.
  • the ceramic raw material powder for forming the partition wall, the binder, the solvent, the pore-forming material added as needed, and the additive added as needed are mixed, and the mixture is formed.
  • a honeycomb molded body having a large number of through holes is obtained.
  • the ceramic raw material powder for forming the partition wall can be appropriately selected according to the ceramic constituting the partition wall.
  • aluminum titanate can include a titanium source such as titania and an aluminum source such as alumina.
  • the cordierite can include a magnesium source such as magnesia, an aluminum source such as alumina, and a silicon source such as silica. If it is silicon carbide, it can include a carbon source and a silicon source.
  • the blending amount of each component can be appropriately adjusted so as to obtain a desired ceramic.
  • the particle size D50 of the ceramic raw material powder for forming the partition wall can be 7 to 40 ⁇ m.
  • the particle size D50 can be obtained based on a volume-based particle size distribution by a laser diffraction type particle size distribution meter (hereinafter, the same applies and will be omitted).
  • organic binder can be used as the binder.
  • examples of the organic binder include celluloses such as methyl cellulose, carboxyl methyl cellulose, hydroxyalkyl methyl cellulose and sodium carboxyl methyl cellulose; alcohols such as polyvinyl alcohol; lignin sulfonate and the like.
  • the pore-forming material is a powder, which is removed from the honeycomb molded body by decomposition, combustion, evaporation, sublimation, etc. at the time of firing to impart a porous structure in the partition wall.
  • a pore-forming material include organic powder, carbon powder, dry ice powder and the like.
  • the organic flour include flour (potato starch, corn starch, wheat starch, pea starch), wheat flour, resin flour and the like.
  • the resin powder include polyethylene powder and expandable resin powder (for example, polyethylene, polystyrene, acrylic, epoxy resin, etc.).
  • the carbon powder include carbon black and the like.
  • the pore diameter distribution can be controlled by the amount and particle size of the pore-forming material.
  • Examples of the additive include a lubricant, a plasticizer, and a dispersant.
  • Examples of the solvent include water and alcohol.
  • a mask is applied to the inflow end face of the dried honeycomb molded body so that the inflow cell is covered.
  • the end face side of the inflow end face of the masked honeycomb molded body is immersed in the sealing slurry, and the opening of the unmasked outflow cell is filled with the sealing slurry.
  • a mask is applied to the outflow end face of the honeycomb molded body so that the outflow cell is covered.
  • the end face side of the outflow end face of the masked honeycomb molded body is immersed in the sealing slurry, and the opening of the inflow cell without the mask is filled with the sealing slurry.
  • the sealing slurry filled in the outflow cell and the opening of the inflow cell is dried to form a sealing forming portion for sealing the opening of the cell.
  • the sealing length of the inflow side sealing portion and the sealing length of the outflow side sealing portion are adjusted by the time for immersing the honeycomb molded body in the sealing slurry and the depth of immersion. can do. Further, the viscosity of the sealing slurry used may be changed between the inflow end face side and the outflow end face side.
  • the ceramic raw material powder for forming the inflow side eye sealing part and the outflow side eye sealing part is the same as the ceramic constituting the partition wall described above, and the inflow side eye sealing part and the outflow side eye sealing part are used.
  • the particle size D50 of the ceramic raw material powder for forming the inflow side sealing portion can be 5 to 30 ⁇ m. However, the particle size D50 of the ceramic raw material powder for forming the inflow side sealing portion is selected to be smaller than the particle size D50 of the ceramic raw material powder for forming the partition wall. Further, the pore-forming material can be added as needed.
  • an exhaust gas purification filter can be obtained by firing the obtained honeycomb molded body.
  • the firing temperature and firing atmosphere vary depending on the raw material, and those skilled in the art can select the optimum firing temperature and firing atmosphere for the selected material.
  • the partition wall is made of cordierite, it can be fired in an atmospheric atmosphere of 1400 to 1450 ° C., for example.
  • the particle size D50 of the ceramic raw material powder for forming the inflow side eye seal portion and the outflow side eye seal portion is in the range of 20 to 45 ⁇ m.
  • the particle size D50 of the ceramic raw material powder for forming the inflow side sealing portion was equal to or larger than the particle size D50 of the ceramic raw material powder for forming the partition wall.
  • an additional 5 to 15% by weight was added to the pore-forming material having a thickness of 15 to 30 ⁇ m, based on the case where the total of the ceramic raw material powder, the binder and the solvent was 100% by weight.
  • the pore-forming material spherical carbon having a particle size D50 of 20 ⁇ m was used.
  • the honeycomb molded body was fired at an atmospheric atmosphere and a firing temperature of 1440 ° C.
  • Each test piece has a columnar shape with a filter diameter of 118.4 mm and a filter length of 120 mm.
  • the thickness of the partition wall is 8.5 mil
  • the number of cells is 300 cpsi
  • the cell shape is a square cross section.
  • the test piece 1-24 is configured to satisfy the relationship of the average value of the mesh sealing length of the outflow side eye sealing portion ⁇ the average value of the mesh sealing length of the inflow side eye sealing portion.
  • the set value of the sealing length of the sealing portion on the inflow side was 2.5 mm.
  • the erosion resistance of the inflow side eye seal in each test piece was evaluated as follows. Specifically, as shown in FIG. 6, the exhaust gas purification filter 1 of the test body was arranged with the inflow end face 15 side facing upward. Next, the powder ejection nozzle N of the powder injection device was arranged on the filter shaft FP so as to be orthogonal to the inflow end surface 15. That is, the inclination angle ⁇ of the powder blowing nozzle N was set to 90 °. The nozzle diameter ⁇ N of the powder blowing nozzle N is 8 mm. The distance l between the inflow end surface 15 and the outlet of the powder ejection nozzle N was set to 40 mm.
  • silica spherical silica, manufactured by Ube Exsymo Co., Ltd., Hypressica
  • silica was injected toward the inflow end face 15 at an injection pressure of 20 kPa.
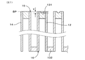
  • the amount of scraping of the inflow side sealing portion 131 was measured as follows. Specifically, when a non-contact laser depth microscope (OLA4100 manufactured by Olympus Corporation) is used and the end face on the inflow end face 15 side of the skin portion 14 is used as the reference plane BP, as shown in FIG. The dent amount y of the inflow side eye sealing portion 131 due to the inward scraping from the surface BP was measured. The measurement was performed on the inflow side eye seals 131 at three locations, and the average value of all the measured dents y was taken as the amount of scraping of the inflow side eye seal 131.
  • OPA4100 manufactured by Olympus Corporation
  • the porosity of the inflow side sealing portion is less than 60%, and the porosity of the partition wall is 60% or more and 70% or less. It is said that. Further, the pore diameter d50 Pin of the inflow side sealing portion is set to less than 18 ⁇ m, and the pore diameter d50 B of the partition wall is set to 18 ⁇ m or more and 25 ⁇ m or less. Therefore, these exhaust gas purification filters were able to suppress erosion of the inflow side eye seal portion due to scattered matter. From this result, it was confirmed that these exhaust gas purification filters can be suitably used as GPF.
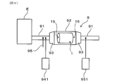
  • Example 2 For the exhaust gas purification filter (filter length: 120 mm) of the test body 17 in Experimental Example 1, the average value of the seal length of the inflow side eye seal and the average value of the eye seal length of the outflow side eye seal. A test piece was prepared in which the total sealing length was changed. Then, the effect of increasing / decreasing the PM collection rate (%) was determined for each test body. In this experimental example, the relationship of the average value of the mesh sealing length of the outflow side eye sealing portion ⁇ the average value of the mesh sealing length of the inflow side eye sealing portion is satisfied.
  • the PM collection rate was measured as follows. As shown in FIG. 8, a test apparatus 9 having a piping portion 91, a case portion 92 in which the exhaust gas purification filter 1 is housed, and a cone portion 93 connecting the piping portion 91 and the case portion 92. Prepared. The piping portion 91 on the upstream side of the case portion 92 is connected to the engine E that generates exhaust gas. In this experimental example, a gasoline direct injection engine (displacement 2.0L turbo, 4-cylinder) was used as the engine E. Further, an upstream PM particle number counter 941 and a temperature sensor 95 are installed in the piping 91 on the upstream side of the case 92, respectively.
  • a downstream PM particle number counter 951 was installed in the piping 91 on the downstream side of the case 92.
  • "AVL-489" manufactured by AVL was used as the upstream PM particle number counter 941 and the downstream PM particle number counter 951.
  • the exhaust gas discharged from the gasoline direct injection engine was passed through the exhaust gas purification filter.
  • N in which is the number of PMs in the exhaust gas before flowing into the exhaust gas purification filter
  • N out which is the number of PMs in the exhaust gas flowing out from the exhaust gas purification filter
  • the PM collection rate was calculated from the formula of out ) / N in ⁇ .
  • the measurement conditions were a temperature of about 500 ° C. and an intake air amount of 25 g / sec.
  • the above measurement was performed in the initial state in which PM was not accumulated in the exhaust gas purification filter.
  • PM collection rate increase / decrease effect (%) 100 ⁇ ⁇ (PM collection rate when the predetermined total eye seal length is set-PM collection rate when the total eye seal length is 9 mm) / (total eye) PM collection rate when the sealing length is 9 mm) ⁇

Landscapes

  • Chemical & Material Sciences (AREA)
  • Engineering & Computer Science (AREA)
  • Chemical Kinetics & Catalysis (AREA)
  • Geometry (AREA)
  • Physics & Mathematics (AREA)
  • Combustion & Propulsion (AREA)
  • General Engineering & Computer Science (AREA)
  • Mechanical Engineering (AREA)
  • Life Sciences & Earth Sciences (AREA)
  • Toxicology (AREA)
  • Health & Medical Sciences (AREA)
  • Materials Engineering (AREA)
  • Geology (AREA)
  • Inorganic Chemistry (AREA)
  • Ceramic Engineering (AREA)
  • Filtering Materials (AREA)
  • Processes For Solid Components From Exhaust (AREA)
  • Filtering Of Dispersed Particles In Gases (AREA)
  • Exhaust Gas After Treatment (AREA)
PCT/JP2020/010206 2019-04-24 2020-03-10 排ガス浄化フィルタ Ceased WO2020217753A1 (ja)

Priority Applications (3)

Application Number Priority Date Filing Date Title
EP20795382.9A EP3960272A4 (en) 2019-04-24 2020-03-10 EXHAUST GAS PURIFICATION FILTER
CN202080030705.1A CN113825556B (zh) 2019-04-24 2020-03-10 废气净化过滤器
US17/507,020 US11850540B2 (en) 2019-04-24 2021-10-21 Exhaust gas purification filter

Applications Claiming Priority (2)

Application Number Priority Date Filing Date Title
JP2019083121A JP7127606B2 (ja) 2019-04-24 2019-04-24 排ガス浄化フィルタ
JP2019-083121 2019-04-24

Related Child Applications (1)

Application Number Title Priority Date Filing Date
US17/507,020 Continuation US11850540B2 (en) 2019-04-24 2021-10-21 Exhaust gas purification filter

Publications (1)

Publication Number Publication Date
WO2020217753A1 true WO2020217753A1 (ja) 2020-10-29

Family

ID=72942463

Family Applications (1)

Application Number Title Priority Date Filing Date
PCT/JP2020/010206 Ceased WO2020217753A1 (ja) 2019-04-24 2020-03-10 排ガス浄化フィルタ

Country Status (5)

Country Link
US (1) US11850540B2 (enExample)
EP (1) EP3960272A4 (enExample)
JP (1) JP7127606B2 (enExample)
CN (1) CN113825556B (enExample)
WO (1) WO2020217753A1 (enExample)

Citations (6)

* Cited by examiner, † Cited by third party
Publication number Priority date Publication date Assignee Title
WO2009041611A1 (ja) * 2007-09-28 2009-04-02 Kyocera Corporation ハニカム構造体およびこれを用いた浄化装置
WO2010074161A1 (ja) * 2008-12-25 2010-07-01 京セラ株式会社 ハニカム構造体およびこれを用いたフィルタならびに排気ガス処理装置
WO2014069643A1 (ja) * 2012-11-01 2014-05-08 京セラ株式会社 ハニカム構造体およびこれを用いたガス処理装置
JP2015158197A (ja) * 2014-01-27 2015-09-03 株式会社デンソー 排ガス浄化フィルタ及びその製造方法
JP2015182950A (ja) * 2014-03-26 2015-10-22 京セラ株式会社 ハニカム構造体およびこれを備えるガス処理装置
JP2019083121A (ja) 2017-10-30 2019-05-30 株式会社豊田自動織機 負極

Family Cites Families (14)

* Cited by examiner, † Cited by third party
Publication number Priority date Publication date Assignee Title
JP4094830B2 (ja) 2000-11-24 2008-06-04 日本碍子株式会社 多孔質ハニカムフィルター及びその製造方法
JP3982285B2 (ja) 2001-04-19 2007-09-26 株式会社デンソー 排ガス浄化フィルタ
JP4442625B2 (ja) 2001-04-19 2010-03-31 株式会社デンソー 排ガス浄化フィルタ
JP3874270B2 (ja) * 2002-09-13 2007-01-31 トヨタ自動車株式会社 排ガス浄化フィルタ触媒及びその製造方法
WO2007064454A2 (en) 2005-11-30 2007-06-07 Corning Incorporated Controlled pore size distribution porous ceramic honeycomb filter, honeycomb green body, batch mixture and manufacturing method therefor
JP2008100408A (ja) * 2006-10-18 2008-05-01 Tokyo Yogyo Co Ltd セラミックスハニカム構造体
US7981188B2 (en) * 2006-11-30 2011-07-19 Corning Incorporated Controlled pore size distribution porous ceramic honeycomb filter, honeycomb green body, batch mixture and manufacturing method therefor
JP5456268B2 (ja) * 2008-03-28 2014-03-26 日本碍子株式会社 ハニカム構造体
JP5601957B2 (ja) 2010-10-12 2014-10-08 住友化学株式会社 チタン酸アルミニウム質ハニカム構造体
JP6635819B2 (ja) * 2016-02-16 2020-01-29 日本碍子株式会社 ハニカム構造体
JP6639978B2 (ja) * 2016-03-23 2020-02-05 日本碍子株式会社 ハニカムフィルタ
JP6639977B2 (ja) * 2016-03-23 2020-02-05 日本碍子株式会社 ハニカムフィルタ
JP2017213518A (ja) 2016-05-31 2017-12-07 住友化学株式会社 ハニカムフィルタ
JP2019177312A (ja) * 2018-03-30 2019-10-17 日本碍子株式会社 ハニカムフィルタ

Patent Citations (6)

* Cited by examiner, † Cited by third party
Publication number Priority date Publication date Assignee Title
WO2009041611A1 (ja) * 2007-09-28 2009-04-02 Kyocera Corporation ハニカム構造体およびこれを用いた浄化装置
WO2010074161A1 (ja) * 2008-12-25 2010-07-01 京セラ株式会社 ハニカム構造体およびこれを用いたフィルタならびに排気ガス処理装置
WO2014069643A1 (ja) * 2012-11-01 2014-05-08 京セラ株式会社 ハニカム構造体およびこれを用いたガス処理装置
JP2015158197A (ja) * 2014-01-27 2015-09-03 株式会社デンソー 排ガス浄化フィルタ及びその製造方法
JP2015182950A (ja) * 2014-03-26 2015-10-22 京セラ株式会社 ハニカム構造体およびこれを備えるガス処理装置
JP2019083121A (ja) 2017-10-30 2019-05-30 株式会社豊田自動織機 負極

Non-Patent Citations (1)

* Cited by examiner, † Cited by third party
Title
See also references of EP3960272A4

Also Published As

Publication number Publication date
CN113825556B (zh) 2023-04-04
US11850540B2 (en) 2023-12-26
EP3960272A1 (en) 2022-03-02
JP7127606B2 (ja) 2022-08-30
EP3960272A4 (en) 2022-07-06
US20220040624A1 (en) 2022-02-10
JP2020179332A (ja) 2020-11-05
CN113825556A (zh) 2021-12-21

Similar Documents

Publication Publication Date Title
JP6200212B2 (ja) ハニカム触媒体
JP7123597B2 (ja) ハニカムフィルタ
JP5997026B2 (ja) ハニカム触媒体
JP5997025B2 (ja) ハニカム触媒体
JP5883410B2 (ja) ハニカム構造体の製造方法
US9061942B2 (en) Exhaust gas purification filter
JP6231910B2 (ja) 目封止ハニカム構造体
JP7505657B2 (ja) 金型
JP2023148835A (ja) ハニカムフィルタ
JP7323987B2 (ja) ハニカムフィルタ
JP7353217B2 (ja) ハニカムフィルタ
JP7193963B2 (ja) ハニカムフィルタ
JP2020163284A (ja) ハニカムフィルタ
US11619154B2 (en) Exhaust gas purification filter
US12397257B2 (en) Honeycomb filter
CN113825556B (zh) 废气净化过滤器
CN116889771A (zh) 蜂窝过滤器
JP2023148834A (ja) ハニカムフィルタ
CN113332807A (zh) 蜂窝过滤器
JP6231911B2 (ja) 目封止ハニカム構造体
JP2025110052A (ja) ハニカム構造体
JP2021159854A (ja) ハニカムフィルタ
JP2013202590A (ja) ハニカム構造体
JP2015193495A (ja) ハニカム構造体

Legal Events

Date Code Title Description
121 Ep: the epo has been informed by wipo that ep was designated in this application

Ref document number: 20795382

Country of ref document: EP

Kind code of ref document: A1

NENP Non-entry into the national phase

Ref country code: DE

ENP Entry into the national phase

Ref document number: 2020795382

Country of ref document: EP

Effective date: 20211124