WO2020183861A1 - 表示装置 - Google Patents

表示装置 Download PDF

Info

Publication number
WO2020183861A1
WO2020183861A1 PCT/JP2019/050422 JP2019050422W WO2020183861A1 WO 2020183861 A1 WO2020183861 A1 WO 2020183861A1 JP 2019050422 W JP2019050422 W JP 2019050422W WO 2020183861 A1 WO2020183861 A1 WO 2020183861A1
Authority
WO
WIPO (PCT)
Prior art keywords
electrode
light emitting
pixel
display device
emitting element
Prior art date
Legal status (The legal status is an assumption and is not a legal conclusion. Google has not performed a legal analysis and makes no representation as to the accuracy of the status listed.)
Ceased
Application number
PCT/JP2019/050422
Other languages
English (en)
French (fr)
Japanese (ja)
Inventor
池田 雅延
青木 義典
耀博 小川
金谷 康弘
Current Assignee (The listed assignees may be inaccurate. Google has not performed a legal analysis and makes no representation or warranty as to the accuracy of the list.)
Japan Display Inc
Original Assignee
Japan Display Inc
Priority date (The priority date is an assumption and is not a legal conclusion. Google has not performed a legal analysis and makes no representation as to the accuracy of the date listed.)
Filing date
Publication date
Application filed by Japan Display Inc filed Critical Japan Display Inc
Publication of WO2020183861A1 publication Critical patent/WO2020183861A1/ja
Priority to US17/471,202 priority Critical patent/US11721276B2/en
Anticipated expiration legal-status Critical
Ceased legal-status Critical Current

Links

Images

Classifications

    • HELECTRICITY
    • H01ELECTRIC ELEMENTS
    • H01LSEMICONDUCTOR DEVICES NOT COVERED BY CLASS H10
    • H01L25/00Assemblies consisting of a plurality of semiconductor or other solid state devices
    • H01L25/16Assemblies consisting of a plurality of semiconductor or other solid state devices the devices being of types provided for in two or more different subclasses of H10B, H10D, H10F, H10H, H10K or H10N, e.g. forming hybrid circuits
    • H01L25/167Assemblies consisting of a plurality of semiconductor or other solid state devices the devices being of types provided for in two or more different subclasses of H10B, H10D, H10F, H10H, H10K or H10N, e.g. forming hybrid circuits comprising optoelectronic devices, e.g. LED, photodiodes
    • GPHYSICS
    • G09EDUCATION; CRYPTOGRAPHY; DISPLAY; ADVERTISING; SEALS
    • G09GARRANGEMENTS OR CIRCUITS FOR CONTROL OF INDICATING DEVICES USING STATIC MEANS TO PRESENT VARIABLE INFORMATION
    • G09G3/00Control arrangements or circuits, of interest only in connection with visual indicators other than cathode-ray tubes
    • G09G3/20Control arrangements or circuits, of interest only in connection with visual indicators other than cathode-ray tubes for presentation of an assembly of a number of characters, e.g. a page, by composing the assembly by combination of individual elements arranged in a matrix no fixed position being assigned to or needed to be assigned to the individual characters or partial characters
    • G09G3/22Control arrangements or circuits, of interest only in connection with visual indicators other than cathode-ray tubes for presentation of an assembly of a number of characters, e.g. a page, by composing the assembly by combination of individual elements arranged in a matrix no fixed position being assigned to or needed to be assigned to the individual characters or partial characters using controlled light sources
    • G09G3/30Control arrangements or circuits, of interest only in connection with visual indicators other than cathode-ray tubes for presentation of an assembly of a number of characters, e.g. a page, by composing the assembly by combination of individual elements arranged in a matrix no fixed position being assigned to or needed to be assigned to the individual characters or partial characters using controlled light sources using electroluminescent panels
    • G09G3/32Control arrangements or circuits, of interest only in connection with visual indicators other than cathode-ray tubes for presentation of an assembly of a number of characters, e.g. a page, by composing the assembly by combination of individual elements arranged in a matrix no fixed position being assigned to or needed to be assigned to the individual characters or partial characters using controlled light sources using electroluminescent panels semiconductive, e.g. using light-emitting diodes [LED]
    • GPHYSICS
    • G09EDUCATION; CRYPTOGRAPHY; DISPLAY; ADVERTISING; SEALS
    • G09FDISPLAYING; ADVERTISING; SIGNS; LABELS OR NAME-PLATES; SEALS
    • G09F9/00Indicating arrangements for variable information in which the information is built-up on a support by selection or combination of individual elements
    • G09F9/30Indicating arrangements for variable information in which the information is built-up on a support by selection or combination of individual elements in which the desired character or characters are formed by combining individual elements
    • GPHYSICS
    • G09EDUCATION; CRYPTOGRAPHY; DISPLAY; ADVERTISING; SEALS
    • G09FDISPLAYING; ADVERTISING; SIGNS; LABELS OR NAME-PLATES; SEALS
    • G09F9/00Indicating arrangements for variable information in which the information is built-up on a support by selection or combination of individual elements
    • G09F9/30Indicating arrangements for variable information in which the information is built-up on a support by selection or combination of individual elements in which the desired character or characters are formed by combining individual elements
    • G09F9/33Indicating arrangements for variable information in which the information is built-up on a support by selection or combination of individual elements in which the desired character or characters are formed by combining individual elements being semiconductor devices, e.g. diodes
    • HELECTRICITY
    • H01ELECTRIC ELEMENTS
    • H01LSEMICONDUCTOR DEVICES NOT COVERED BY CLASS H10
    • H01L23/00Details of semiconductor or other solid state devices
    • H01L23/34Arrangements for cooling, heating, ventilating or temperature compensation ; Temperature sensing arrangements
    • HELECTRICITY
    • H10SEMICONDUCTOR DEVICES; ELECTRIC SOLID-STATE DEVICES NOT OTHERWISE PROVIDED FOR
    • H10HINORGANIC LIGHT-EMITTING SEMICONDUCTOR DEVICES HAVING POTENTIAL BARRIERS
    • H10H29/00Integrated devices, or assemblies of multiple devices, comprising at least one light-emitting semiconductor element covered by group H10H20/00
    • H10H29/10Integrated devices comprising at least one light-emitting semiconductor component covered by group H10H20/00
    • H10H29/14Integrated devices comprising at least one light-emitting semiconductor component covered by group H10H20/00 comprising multiple light-emitting semiconductor components
    • H10H29/142Two-dimensional arrangements, e.g. asymmetric LED layout
    • GPHYSICS
    • G09EDUCATION; CRYPTOGRAPHY; DISPLAY; ADVERTISING; SEALS
    • G09GARRANGEMENTS OR CIRCUITS FOR CONTROL OF INDICATING DEVICES USING STATIC MEANS TO PRESENT VARIABLE INFORMATION
    • G09G2300/00Aspects of the constitution of display devices
    • G09G2300/04Structural and physical details of display devices
    • G09G2300/0421Structural details of the set of electrodes
    • G09G2300/0426Layout of electrodes and connections
    • GPHYSICS
    • G09EDUCATION; CRYPTOGRAPHY; DISPLAY; ADVERTISING; SEALS
    • G09GARRANGEMENTS OR CIRCUITS FOR CONTROL OF INDICATING DEVICES USING STATIC MEANS TO PRESENT VARIABLE INFORMATION
    • G09G2300/00Aspects of the constitution of display devices
    • G09G2300/04Structural and physical details of display devices
    • G09G2300/0439Pixel structures
    • G09G2300/0452Details of colour pixel setup, e.g. pixel composed of a red, a blue and two green components
    • GPHYSICS
    • G09EDUCATION; CRYPTOGRAPHY; DISPLAY; ADVERTISING; SEALS
    • G09GARRANGEMENTS OR CIRCUITS FOR CONTROL OF INDICATING DEVICES USING STATIC MEANS TO PRESENT VARIABLE INFORMATION
    • G09G2300/00Aspects of the constitution of display devices
    • G09G2300/08Active matrix structure, i.e. with use of active elements, inclusive of non-linear two terminal elements, in the pixels together with light emitting or modulating elements
    • G09G2300/0809Several active elements per pixel in active matrix panels
    • G09G2300/0819Several active elements per pixel in active matrix panels used for counteracting undesired variations, e.g. feedback or autozeroing
    • GPHYSICS
    • G09EDUCATION; CRYPTOGRAPHY; DISPLAY; ADVERTISING; SEALS
    • G09GARRANGEMENTS OR CIRCUITS FOR CONTROL OF INDICATING DEVICES USING STATIC MEANS TO PRESENT VARIABLE INFORMATION
    • G09G2300/00Aspects of the constitution of display devices
    • G09G2300/08Active matrix structure, i.e. with use of active elements, inclusive of non-linear two terminal elements, in the pixels together with light emitting or modulating elements
    • G09G2300/0809Several active elements per pixel in active matrix panels
    • G09G2300/0842Several active elements per pixel in active matrix panels forming a memory circuit, e.g. a dynamic memory with one capacitor
    • G09G2300/0852Several active elements per pixel in active matrix panels forming a memory circuit, e.g. a dynamic memory with one capacitor being a dynamic memory with more than one capacitor
    • GPHYSICS
    • G09EDUCATION; CRYPTOGRAPHY; DISPLAY; ADVERTISING; SEALS
    • G09GARRANGEMENTS OR CIRCUITS FOR CONTROL OF INDICATING DEVICES USING STATIC MEANS TO PRESENT VARIABLE INFORMATION
    • G09G2320/00Control of display operating conditions
    • G09G2320/04Maintaining the quality of display appearance
    • G09G2320/041Temperature compensation
    • HELECTRICITY
    • H01ELECTRIC ELEMENTS
    • H01LSEMICONDUCTOR DEVICES NOT COVERED BY CLASS H10
    • H01L25/00Assemblies consisting of a plurality of semiconductor or other solid state devices
    • H01L25/03Assemblies consisting of a plurality of semiconductor or other solid state devices all the devices being of a type provided for in a single subclass of subclasses H10B, H10D, H10F, H10H, H10K or H10N, e.g. assemblies of rectifier diodes
    • H01L25/04Assemblies consisting of a plurality of semiconductor or other solid state devices all the devices being of a type provided for in a single subclass of subclasses H10B, H10D, H10F, H10H, H10K or H10N, e.g. assemblies of rectifier diodes the devices not having separate containers
    • H01L25/075Assemblies consisting of a plurality of semiconductor or other solid state devices all the devices being of a type provided for in a single subclass of subclasses H10B, H10D, H10F, H10H, H10K or H10N, e.g. assemblies of rectifier diodes the devices not having separate containers the devices being of a type provided for in group H10H20/00
    • H01L25/0753Assemblies consisting of a plurality of semiconductor or other solid state devices all the devices being of a type provided for in a single subclass of subclasses H10B, H10D, H10F, H10H, H10K or H10N, e.g. assemblies of rectifier diodes the devices not having separate containers the devices being of a type provided for in group H10H20/00 the devices being arranged next to each other

Definitions

  • the present invention relates to a display device.
  • a display using a minute-sized light emitting diode (micro LED) as a display element has attracted attention (see, for example, Patent Document 1).
  • a plurality of light emitting diodes are connected to an array substrate (driver backplane in Patent Document 1), and the array substrate includes a pixel circuit (electronic control circuit in Patent Document 1) for driving the light emitting diode.
  • the luminous efficiency of the light emitting diode decreases as the temperature rises. Therefore, in a display device using a light emitting diode, the brightness may decrease as the temperature rises, and the display characteristics may deteriorate.
  • An object of the present invention is to provide a display device capable of suppressing deterioration of display characteristics.
  • the display device of one aspect of the present invention includes a substrate, a plurality of pixels provided on the substrate, a light emitting element provided on each of the plurality of pixels, and a light emitting element provided on the substrate and electrically connected to the light emitting element. It has a first electrode to be connected, a pixel circuit provided on the substrate and supplying a drive signal to the light emitting element, and a heat generating resistor provided in the pixel circuit.
  • FIG. 1 is a plan view schematically showing a display device according to the first embodiment.
  • FIG. 2 is a plan view showing a plurality of sub-pixels.
  • FIG. 3 is a circuit diagram showing a pixel circuit.
  • FIG. 4 is a timing chart showing an operation example of the display device.
  • FIG. 5 is a timing chart showing an operation example at the time of starting the display device.
  • FIG. 6 is a graph schematically showing the relationship between the brightness and temperature of the light emitting element and the time in the comparative example.
  • FIG. 7 is a cross-sectional view taken along the line VII-VII'of FIG.
  • FIG. 8 is a cross-sectional view taken along the line VIII-VIII'of FIG.
  • FIG. 9 is an enlarged plan view showing one sub-pixel of the display device according to the first embodiment.
  • FIG. 10 is a cross-sectional view taken along the line XX'of FIG.
  • FIG. 11 is an explanatory diagram for comparing and explaining the first heat-generating resistor of the first sub-pixel, the second heat-generating resistor of the second sub-pixel, and the third heat-generating resistor of the third sub-pixel. is there.
  • FIG. 12 is a circuit diagram showing a pixel circuit according to the second embodiment.
  • FIG. 13 is a circuit diagram showing a pixel circuit according to the third embodiment.
  • FIG. 14 is a plan view showing a pixel having a temperature sensor according to the fourth embodiment.
  • FIG. 15 is an explanatory diagram for explaining an example of the temperature sensor.
  • FIG. 1 is a plan view schematically showing the display device according to the first embodiment.
  • the display device 1 includes an array substrate 2, a pixel Pix, a drive circuit 12, a drive IC (Integrated Circuit) 210, and a cathode wiring 60.
  • the array board 2 is a drive circuit board for driving each pixel Pix, and is also called a backplane or an active matrix board.
  • the array substrate 2 has a substrate 21, a plurality of transistors, a plurality of capacitances, various wirings, and the like.
  • the display device 1 has a display area AA and a peripheral area GA.
  • the display area AA is an area that is arranged so as to overlap the plurality of pixels Pix and displays an image.
  • the peripheral region GA is an region that does not overlap with the plurality of pixels Pix, and is arranged outside the display region AA.
  • the plurality of pixels Pix are arranged in the first direction Dx and the second direction Dy in the display area AA of the substrate 21.
  • the first direction Dx and the second direction Dy are directions parallel to the surface of the substrate 21.
  • the first direction Dx is orthogonal to the second direction Dy.
  • the first direction Dx may intersect with the second direction Dy without being orthogonal to each other.
  • the third direction Dz is a direction orthogonal to the first direction Dx and the second direction Dy.
  • the third direction Dz corresponds to, for example, the normal direction of the substrate 21. Note that, hereinafter, the plan view refers to a positional relationship when viewed from the third direction Dz.
  • the drive circuit 12 has a plurality of gate lines (for example, light emission control scan line BG, reset control scan line RG, initialization control scan line IG, write control scan line SG, and heat generation control) based on various control signals from the drive IC 210.
  • This is a circuit that drives the scanning line HG (see FIG. 3).
  • the drive circuit 12 sequentially or simultaneously selects a plurality of gate lines and supplies a gate drive signal to the selected gate lines. As a result, the drive circuit 12 selects a plurality of pixel Pix connected to the gate line.
  • the drive IC 210 is a circuit that controls the display of the display device 1.
  • the drive IC 210 is mounted as COG (Chip On Glass) in the peripheral region GA of the substrate 21.
  • the drive IC 210 may be mounted as a COF (Chip On Film) on a flexible printed circuit board or a rigid board connected to the peripheral region GA of the board 21.
  • the cathode wiring 60 is provided in the peripheral region GA of the substrate 21.
  • the cathode wiring 60 is provided so as to surround the plurality of pixels Pix in the display area AA and the drive circuit 12 in the peripheral area GA.
  • the cathodes of the plurality of light emitting elements 3 are electrically connected to the common cathode wiring 60 and are supplied with a fixed potential (eg, ground potential). More specifically, the cathode terminal 32 (see FIG. 7) of the light emitting element 3 is connected to the cathode wiring 60 via the cathode electrode 22 (second electrode).
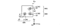
  • FIG. 2 is a plan view showing a plurality of sub-pixels.
  • one pixel Pix includes a plurality of sub-pixels 49.
  • the pixel Pix includes a first subpixel 49R, a second subpixel 49G, and a third subpixel 49B.
  • the first sub-pixel 49R displays the primary color red as the first color.
  • the second sub-pixel 49G displays the primary color green as the second color.
  • the third sub-pixel 49B displays the primary color blue as the third color.
  • the first subpixel 49R and the third subpixel 49B are arranged in the first direction Dx.
  • the second sub pixel 49G and the third sub pixel 49B are arranged in the second direction Dy.
  • the first color, the second color, and the third color are not limited to red, green, and blue, respectively, and any color such as a complementary color can be selected.
  • any color such as a complementary color can be selected.
  • sub-pixels 49 when it is not necessary to distinguish the first sub-pixel 49R, the second sub-pixel 49G, and the third sub-pixel 49B from each other, they are referred to as sub-pixels 49.
  • the sub-pixel 49 has a light emitting element 3 and an anode electrode 23 (first electrode), respectively.
  • the display device 1 emits different light (for example, red, green, blue light) for each of the light emitting elements 3R, 3G, and 3B in the first sub-pixel 49R, the second sub-pixel 49G, and the third sub-pixel 49B. Display the image with.
  • the light emitting element 3 is provided in each of the plurality of sub-pixels 49.
  • the light emitting element 3 is a light emitting diode (LED: Light Emitting Diode) chip having a size of about 3 ⁇ m or more and 300 ⁇ m or less in a plan view, and is called a micro LED (micro LED).
  • the display device 1 provided with a micro LED in each pixel is also called a micro LED display device. It should be noted that the micro of the micro LED does not limit the size of the light emitting element 3.
  • the plurality of light emitting elements 3 may emit four or more different colors of light.
  • the arrangement of the plurality of sub-pixels 49 is not limited to the configuration shown in FIG.
  • the first sub-pixel 49R may be adjacent to the second sub-pixel 49G in the first direction Dx.
  • the first sub-pixel 49R, the second sub-pixel 49G, and the third sub-pixel 49B may be repeatedly arranged in the first direction Dx in this order.
  • FIG. 3 is a circuit diagram showing a pixel circuit.
  • the pixel circuit PICA shown in FIG. 3 is provided in each of the first sub-pixel 49R, the second sub-pixel 49G, and the third sub-pixel 49B.
  • the pixel circuit PICA is a circuit provided on the substrate 21 to supply a drive signal (current) to the light emitting element 3. Note that, in FIG. 3, the description of the pixel circuit PICA can be applied to the pixel circuit PICA included in each of the first sub-pixel 49R, the second sub-pixel 49G, and the third sub-pixel 49B.
  • the pixel circuit PICA includes a light emitting element 3, six transistors, two capacitances, and a heat generating resistor 28.
  • the pixel circuit PICA includes a light emission control transistor BCT, an initialization transistor IST, a write transistor SST, a reset transistor RST, a drive transistor DRT, and a heat generation control transistor HST.
  • Some transistors may be shared by a plurality of adjacent sub-pixels 49.
  • the light emission control transistor BCT may be shared by the three sub-pixels 49 via common wiring.
  • the reset transistor RST may be provided in the peripheral region GA, for example, one reset transistor RST may be provided in each row of the sub-pixel 49. In this case, the reset transistor RST is connected to the sources of the plurality of drive transistors DRT via common wiring.
  • Each of the plurality of transistors of the pixel circuit PICA is composed of an n-type TFT (Thin Film Transistor).
  • TFT Thin Film Transistor
  • the present invention is not limited to this, and each transistor may be composed of a p-type TFT.
  • the power supply potential and the connection of the holding capacitance Cs1 and the capacitance Cs2 may be appropriately adapted.
  • the light emission control scanning line BG is connected to the gate of the light emission control transistor BCT.
  • the initialization control scan line IG is connected to the gate of the initialization transistor IST.
  • the write control scan line SG is connected to the gate of the write transistor SST.
  • the reset control scanning line RG is connected to the gate of the reset transistor RST.
  • the heat generation control scanning line HG is connected to the gate of the heat generation control transistor HST.
  • the light emission control scan line BG, the initialization control scan line IG, the write control scan line SG, the reset control scan line RG, and the heat generation control scan line HG are each a drive circuit 12 provided in the peripheral region GA (see FIG. 1). Connected to.
  • the drive circuit 12 includes a light emission control scan line BG, an initialization control scan line IG, a write control scan line SG, a reset control scan line RG, and a heat generation control scan line HG, respectively, with a light emission control signal Vbg and an initialization control signal Vig.
  • Write control signal Vsg, reset control signal Vrg and heat generation control signal Vhg are supplied.
  • the drive IC 210 (see FIG. 1) supplies the video signal Vsig to the pixel circuits PICA of the first sub-pixel 49R, the second sub-pixel 49G, and the third sub-pixel 49B in a time-division manner.
  • a switch circuit such as a multiplexer is provided between each row of the first sub-pixel 49R, the second sub-pixel 49G, and the third sub-pixel 49B and the drive IC 210.
  • the video signal Vsig is supplied to the write transistor SST via the video signal line L2.
  • the drive IC 210 supplies the reset power supply potential Vrst to the reset transistor RST via the reset signal line L3.
  • the drive IC 210 supplies the initialization potential Vini to the initialization transistor IST via the initialization signal line L4.
  • the light emission control transistor BCT, the initialization transistor IST, the write transistor SST, the reset transistor RST, and the heat generation control transistor HST function as switching elements for selecting conduction and non-conduction between two nodes.
  • the drive transistor DRT functions as a current control element that controls the current flowing through the light emitting element 3 according to the voltage between the gate and the drain.
  • the cathode (cathode terminal 32) of the light emitting element 3 is connected to the cathode power supply line L10 (second power supply line). Further, the anode (anode terminal 33) of the light emitting element 3 is connected to the anode power supply line L1 (first power supply line) via the drive transistor DRT and the light emission control transistor BCT.
  • the anode power supply potential PVDD first potential is supplied to the anode power supply line L1.
  • the cathode power supply potential PVSS (second potential) is supplied to the cathode power supply line L10.
  • the anode power supply potential PVDD has a higher potential than the cathode power supply potential PVSS.
  • the cathode power line L10 includes a cathode wiring 60. The light emitting operation of the light emitting element 3 will be described later.
  • One end side 28e1 of the heat generating resistor 28 is connected to the anode electrode 23.
  • the other end side 28e2 of the heat generation resistor 28 is electrically connected to the anode power supply line L1 via the heat generation control transistor HST.
  • the pixel circuit PICA includes a holding capacity Cs1 and a capacity Cs2.
  • the holding capacitance Cs1 is a capacitance formed between the gate and the source of the drive transistor DRT.
  • the capacitance Cs2 is an additional capacitance formed between the source of the drive transistor DRT and the anode of the light emitting element 3 and the cathode power supply line L10.
  • FIG. 4 is a timing chart showing an operation example of the display device.
  • Each of the periods G1 to G4 shown in FIG. 4 is one horizontal period.
  • FIG. 4 shows the operation of driving the sub-pixels 49 in the first row to the sub-pixels 49 in the fourth row, the sub-pixels 49 in the last row are continuously driven after the fifth row. Further, in the following description, the period for driving from the sub-pixel 49 in the first row to the sub-pixel 49 in the last row is expressed as the frame period 1F.
  • the period t0 is the previous frame light emission period. That is, in the period t0 until the processing in the certain frame period 1F is started, the sub-pixel 49 continues the light emitting state of the previous frame.
  • the period t1 is the source initialization period of the drive transistor DRT. Specifically, in the period t1, the potential of the light emission control scanning line BG1 becomes the L (low) level and the potential of the reset control scanning line RG1 becomes the H level according to each control signal supplied from the drive circuit 12. As a result, the light emission control transistor BCT is turned off (non-conducting state), and the reset transistor RST is turned on (conducting state).
  • the light emission control scanning line BG1 indicates a light emission control scanning line BG connected to the sub-pixel 49 in the first line
  • the light emission control scanning line BG2 is a light emission control scanning line connected to the sub pixel 49 in the second line.
  • the light emission control scanning line BG3 indicates a light emission control scanning line BG connected to the sub-pixel 49 in the third line
  • the light emission control scanning line BG4 indicates a light emission control scanning line BG connected to the sub pixel 49 in the fourth line. Shown. The same applies to the reset control scanning lines RG1, RG2, RG3, RG4 and the like.
  • the current from the anode power supply line L1 is cut off by the light emission control transistor BCT.
  • the light emission of the light emitting element 3 is stopped, and the electric charge remaining in the sub-pixel 49 flows to the outside through the reset transistor RST.
  • the source of the drive transistor DRT is fixed to the reset power supply potential Vrst.
  • the reset power supply potential Vrst is set to have a predetermined potential difference with respect to the cathode power supply potential PVSS. In this case, the potential difference between the reset power supply potential Vrst and the cathode power supply potential PVSS is smaller than the potential difference at which the light emitting element 3 starts emitting light.
  • the period t2 is the gate initialization period of the drive transistor DRT. Specifically, in the period t2, the potential of the initialization control scanning line IG1 becomes H level by each control signal supplied from the drive circuit 12. The initialization transistor IST is turned on. In the sub-pixel 49 belonging to the first row, the gate of the drive transistor DRT is fixed to the initialization potential Vini via the initialization transistor IST. The initialization potential Vini has a potential larger than the threshold value of the drive transistor DRT with respect to the reset power supply potential Vrst. Therefore, the drive transistor DRT is turned on. However, in the period t2, since the light emission control transistor BCT is maintained in the off state, no current flows through the drive transistor DRT.
  • the period t3 is the offset cancellation operation period. Specifically, in the period t3, the potential of the light emission control scanning line BG1 becomes H level and the potential of the reset control scanning line RG1 becomes L level according to each control signal supplied from the drive circuit 12. As a result, the light emission control transistor BCT is turned on and the reset transistor RST is turned off.
  • the drive transistor DRT is turned on by the operation during the period t2. Therefore, a current is supplied from the anode power supply line L1 (anode power supply potential P VDD) to the drive transistor DRT via the light emission control transistor BCT.
  • the source of the drive transistor DRT is charged by the anode power supply potential P VDD, and the potential of the source rises.
  • the gate potential of the drive transistor DRT is the initialization potential Vini. Therefore, when the source potential of the drive transistor DRT becomes (Vini-Vth), the drive transistor DRT is turned off and the increase in potential stops.
  • Vth is the threshold voltage Vth of the drive transistor DRT.
  • the threshold voltage Vth varies from subpixel 49 to subpixel 49. Therefore, the potential of the source of the drive transistor DRT when the increase of the potential is stopped is different for each sub-pixel 49. In other words, the voltage corresponding to the threshold voltage Vth of the drive transistor DRT is acquired in each subpixel 49 by the operation in the period t3. At this time, a voltage of ((Vini-Vth) -PVSS) is applied to the light emitting element 3. Since this voltage is lower than the light emission start voltage of the light emitting element 3, no current flows in the light emitting element 3.
  • the period t4 is the video signal writing operation period. Specifically, in the period t4, the potential of the light emission control scanning line BG1 becomes L level, the potential of the initialization control scanning line IG1 becomes L level, and the write control scanning is performed by each control signal supplied from the drive circuit 12. Line SG1 becomes H level.
  • the light emission control transistor BCT is turned off, the initialization transistor IST is turned off, and the write transistor SST is turned on.
  • the video signal Vsig is input to the gate of the drive transistor DRT in the sub-pixel 49 belonging to the first row.
  • the gate potential of the drive transistor DRT changes from the initialization potential Vini to the potential of the video signal Vsig.
  • the source potential of the drive transistor DRT maintains (Vini-Vth).
  • the voltage between the gate and the source of the drive transistor DRT becomes (Vsig-(Vini-Vth)), which reflects the variation in the threshold voltage Vth between the sub-pixels 49.
  • the video signal line L2 extends in the second direction Dy (see FIG. 1) and is connected to a plurality of rows of sub-pixels 49 belonging to the same column. Therefore, the period t4 for performing the video writing operation is performed line by line.
  • the period t5 is the light emitting operation period. Specifically, in the period t5, the potential of the light emission control scanning line BG1 becomes H level and the write control scanning line SG1 becomes L level according to each control signal supplied from the drive circuit 12. As a result, the light emission control transistor BCT is turned on and the writing transistor SST is turned off. A current is supplied from the anode power supply line L1 (anode power supply potential P VDD) to the drive transistor DRT via the light emission control transistor BCT.
  • L1 anode power supply potential P VDD
  • the drive transistor DRT supplies the light emitting element 3 with a current corresponding to the voltage between the gate sources set by the period t4.
  • the light emitting element 3 emits light with a brightness corresponding to this current.
  • the voltage between the anode and the cathode of the light emitting element 3 becomes a voltage according to the current value supplied through the drive transistor DRT.
  • the potential of the anode of the light emitting element 3 rises.
  • the voltage between the gate and the source of the drive transistor DRT is held by the holding capacitance Cs1. Therefore, due to the coupling of the holding capacitance Cs1, the gate potential of the drive transistor DRT also rises as the potential of the anode of the light emitting element 3 rises.
  • the gate of the drive transistor DRT has an additional capacitance such as a capacitance Cs2 in addition to the holding capacitance Cs1, the increase in the gate potential of the drive transistor DRT is slightly smaller than the increase in the potential of the anode.
  • the potential of the video signal Vsig may be determined so that the voltage between the gate and the source of the final drive transistor DRT has a desired current value.
  • the image for one frame is displayed.
  • the reset operation of the sub-pixel 49 belonging to the second row is executed in a period overlapping the period t2 and the period t3.
  • the offset canceling operation of the sub-pixel 49 belonging to the second row is executed in a period overlapping the period t3 and the period t4.
  • the video signal writing operation of the sub-pixel 49 belonging to the second line is performed in a period overlapping with the period t5. After that, the image is displayed by repeating such an operation.
  • the sub-pixel 49 for one line is driven from the period t1 to the period t5, but the operation is not limited to this.
  • the drive circuit 12 may drive two rows of sub-pixels 49 at the same time, or may drive three or more rows of sub-pixels 49 at the same time.
  • the configuration of the pixel circuit PICA shown in FIG. 3 and the operation example shown in FIG. 4 are merely examples, and can be changed as appropriate.
  • the number of wirings and the number of transistors in one subpixel 49 may be different.
  • the pixel circuit PICA may adopt a configuration such as a current mirror circuit.
  • FIG. 5 is a timing chart showing an operation example when the display device is started.
  • the display device 1 has a preheat period PH between the non-display period NDP and the frame period 1F.
  • the non-display period NDP is a period in which the display device 1 has stopped displaying the image.
  • the non-display period NDP includes, for example, a period in which the power supply of the display device 1 is stopped, or a sleep mode period in which the display is stopped when there is no input operation for a predetermined period.
  • the drive IC 210 executes the preheat period PH. Specifically, according to each control signal supplied from the drive circuit 12, the potential of the reset control scanning line RG belonging to each line becomes H level, the potential of the heat generation control scanning line HG becomes H level, and the emission control scanning line BG, The potentials of the initialization control scan line IG and the write control scan line SG are at the L level.
  • the heat generation control transistor HST and the reset transistor RST are turned on, and the other transistors are turned off.
  • the anode power supply line L1, the heat generation control transistor HST, the heat generation resistor 28, the reset transistor RST, and the reset signal line L3 are electrically connected to form a current path. Therefore, a current is supplied from the anode power supply line L1 (anode power supply potential P VDD) to the heat generation resistor 28 via the heat generation control transistor HST.
  • the temperature of the heat generating resistor 28 rises. Since the heat generating resistor 28 is provided in the pixel circuit PICA, the heat generated by the heat generating resistor 28 is transferred to the light emitting element 3, and the temperature of the light emitting element 3 rises.
  • the potential supplied from the anode power supply line L1 may be different from the anode power supply potential P VDD supplied in the frame period 1F. As a result, the display device 1 can appropriately adjust the current flowing through the heat generation resistor 28 to control the heat generation of the heat generation resistor 28.
  • the display device 1 After supplying a current to the heat generation resistor 28 for a predetermined period, the potentials of the reset control scanning line RG and the heat generation control scanning line HG belonging to each line become L level, and the potential of the light emission control scanning line BG becomes H level. As a result, the supply of current to the heat generating resistor 28 is stopped. After that, the display device 1 executes the display of the frame period 1F described above.
  • the heat generating resistors 28 belonging to the sub-pixels 49 for four rows are simultaneously driven in the preheat period PH, but the present invention is not limited to this.
  • the drive circuit 12 may simultaneously drive the heat generating resistors 28 belonging to the sub-pixels 49 of 3 rows or less, or 5 rows or more, or all the heat generating resistors 28 belonging to the sub-pixels 49 of the first row to the last row. May be driven at the same time.
  • FIG. 6 is a graph schematically showing the relationship between the brightness and temperature of the light emitting element in the comparative example and time.
  • the vertical axis of the graph shown in FIG. 6 indicates the brightness and temperature of the light emitting element 3.
  • the light emitting element 3 is preheated by the heat generating resistor 28 during the preheating period PH, and no current flows through the light emitting element 3 during this period.
  • the frame period 1F is started after the temperature of the light emitting element 3 rises to the temperature Ts shown in FIG.
  • the display device 1 can suppress the temperature rise of the light emitting element 3 when a current flows through the light emitting element 3 during the period t5 (light emitting operation period). That is, the light emitting element 3 is driven by starting the supply of the current in the region where the light emitting operation becomes stable after the time tp shown in FIG.
  • the display device 1 can suppress a decrease in brightness (luminous efficiency) due to a temperature rise of the light emitting element 3.
  • the display device 1 can suppress the deterioration of the display characteristics.
  • FIG. 7 is a cross-sectional view taken along the line VII-VII'of FIG.
  • FIG. 8 is a cross-sectional view taken along the line VIII-VIII'of FIG.
  • the light emitting element 3 is provided on the array substrate 2.
  • the array substrate 2 has a substrate 21, an anode electrode 23, a counter electrode 25, a connection electrode 26a, a heat generating resistor 28 (see FIG. 10), various transistors, various wirings, and various insulating films.
  • the substrate 21 is an insulating substrate, and for example, a glass substrate such as quartz or non-alkali glass, or a resin substrate such as polyimide is used.
  • a flexible resin substrate is used as the substrate 21, the display device 1 can be configured as a sheet display.
  • the substrate 21 is not limited to polyimide, and other resin materials may be used.
  • the direction from the substrate 21 toward the light emitting element 3 in the direction perpendicular to the surface of the substrate 21 is referred to as "upper side” or simply “upper side”. Further, the direction from the light emitting element 3 toward the substrate 21 is defined as “lower side” or simply “lower side”.
  • the undercoat film 91 is provided on the substrate 21.
  • the undercoat film 91 has, for example, a three-layer laminated structure having insulating films 91a, 91b, and 91c.
  • the insulating film 91a is a silicon oxide film
  • the insulating film 91b is a silicon nitride film
  • the insulating film 91c is a silicon oxide film.
  • the lower insulating film 91a is provided to improve the adhesion between the substrate 21 and the undercoat film 91.
  • the middle-layer insulating film 91b is provided as a blocking film for moisture and impurities from the outside.
  • the upper insulating film 91c is provided as a block film that prevents hydrogen atoms contained in the silicon nitride film of the insulating film 91b from diffusing toward the semiconductor layer 61.
  • the configuration of the undercoat film 91 is not limited to that shown in FIG. 7.
  • the undercoat film 91 may be a single-layer film or a two-layer laminated film, or may be laminated with four or more layers.
  • the silicon nitride film has relatively good adhesion, so that the silicon nitride film may be directly formed on the substrate 21.
  • the light shielding film 65 is provided on the insulating film 91a.
  • the light-shielding film 65 is provided between the semiconductor layer 61 and the substrate 21.
  • the light-shielding film 65 can suppress the intrusion of light from the substrate 21 side into the channel region 61a of the semiconductor layer 61.
  • by forming the light shielding film 65 of a conductive material and applying a predetermined potential it is possible to give a back gate effect to the drive transistor DRT.
  • the light shielding film 65 may be provided on the substrate 21 and the insulating film 91a may be provided so as to cover the light shielding film 65.
  • the drive transistor DRT is provided on the undercoat film 91. Although the drive transistor DRT is shown in FIG. 7, among the plurality of transistors, the light emission control transistor BCT, the initialization transistor IST, the write transistor SST, the reset transistor RST, and the heat generation control transistor HST included in the pixel circuit PICA are shown. Also has a laminated structure similar to that of the drive transistor DRT.
  • the drive transistor DRT has a semiconductor layer 61, a source electrode 62, a drain electrode 63, and a gate electrode 64.
  • the semiconductor layer 61 is provided on the undercoat film 91.
  • polysilicon is used for the semiconductor layer 61.
  • the semiconductor layer 61 is not limited to this, and may be a microcrystalline oxide semiconductor, an amorphous oxide semiconductor, low-temperature polysilicon, or the like.
  • a p-type TFT may be formed simultaneously.
  • the semiconductor layer 61 has a channel region 61a, a source region 61b, a drain region 61c, and a low-concentration impurity region 61d.
  • the low-concentration impurity region 61d is provided between the channel region 61a and the source region 61b, and is provided between the channel region 61a and the drain region 61c.
  • the gate insulating film 92 is provided on the undercoat film 91 so as to cover the semiconductor layer 61.
  • the gate insulating film 92 is, for example, a silicon oxide film.
  • the gate electrode 64 is provided on the gate insulating film 92.
  • the first wiring 66 is provided in the same layer as the gate electrode 64.
  • MoW molybdenum tungsten
  • the drive transistor DRT has a top gate structure in which the gate electrode 64 is provided on the upper side of the semiconductor layer 61.
  • the present invention is not limited to this, and the drive transistor DRT may have a bottom gate structure in which the gate electrode 64 is provided on the lower side of the semiconductor layer 61, and the gate electrode 64 is provided on both the upper side and the lower side of the semiconductor layer 61.
  • a dual gate structure may be used.
  • the interlayer insulating film 93 is provided on the gate insulating film 92 so as to cover the gate electrode 64.
  • the interlayer insulating film 93 has, for example, a laminated structure of a silicon nitride film and a silicon oxide film.
  • the source electrode 62 and the drain electrode 63 are provided on the interlayer insulating film 93.
  • the source electrode 62 is connected to the source region 61b via contact holes provided in the gate insulating film 92 and the interlayer insulating film 93.
  • the drain electrode 63 is connected to the drain region 61c via a contact hole provided in the gate insulating film 92 and the interlayer insulating film 93.
  • the source electrode 62 is connected to the second wiring 67 that serves as a leading wiring.
  • a three-layer laminated structure of titanium (Ti), aluminum (Al), and titanium (Ti) can be adopted.
  • a part of the second wiring 67 is formed in a region overlapping the first wiring 66.
  • the holding capacitance Cs1 is formed by the first wiring 66 and the second wiring 67 facing each other via the interlayer insulating film 93. Further, the first wiring 66 is formed in a region overlapping a part of the semiconductor layer 61.
  • the holding capacity Cs1 also includes a capacity formed by the semiconductor layer 61 and the first wiring 66 facing each other via the gate insulating film 92.
  • the flattening film 94 is provided on the interlayer insulating film 93 so as to cover the drive transistor DRT and the second wiring 67.
  • An organic material such as photosensitive acrylic is used as the flattening film 94.
  • Organic materials such as photosensitive acrylic are superior in coverage of wiring steps and surface flatness as compared with inorganic insulating materials formed by CVD or the like.
  • the counter electrode 25, the capacitive insulating film 95, the anode electrode 23, and the anode electrode insulating film 96 are laminated in this order on the flattening film 94.
  • the counter electrode 25 is made of a transparent conductive material such as ITO (Indium Tin Oxide).
  • the connection electrode 26a is provided in the same layer as the counter electrode 25.
  • the connection electrode 26a is provided so as to cover the inside of the contact hole H1 provided in the flattening film 94, and is connected to the second wiring 67 at the bottom of the contact hole H1.
  • the capacitive insulating film 95 is provided so as to cover the counter electrode 25 and the connection electrode 26a, and has an opening in a region overlapping the contact hole H1.
  • the capacitive insulating film 95 is, for example, a silicon nitride film.
  • the anode electrode 23 faces the counter electrode 25 via the capacitive insulating film 95.
  • the anode electrode 23 is electrically connected to the connection electrode 26a and the second wiring 67 via the contact hole H1. As a result, the anode electrode 23 is electrically connected to the drive transistor DRT.
  • the anode electrode 23 has a laminated structure of molybdenum (Mo) and aluminum (Al).
  • the present invention is not limited to this, and the anode electrode 23 may be a material containing any one or more of molybdenum and titanium metals.
  • the anode electrode 23 may be an alloy containing any one or more of molybdenum and titanium, or a translucent conductive material.
  • the capacitance Cs2 is formed between the anode electrode 23 and the counter electrode 25 facing each other via the capacitance insulating film 95.
  • the counter electrode 25 formed of ITO also has a function as a barrier film for protecting various wirings such as the second wiring 67 in the step of forming the anode electrode 23.
  • the counter electrode 25 is partially exposed to the etching environment.
  • the counter electrode 25 is changed to an anode electrode by an annealing treatment performed between the formation of the counter electrode 25 and the formation of the anode electrode 23. It has sufficient resistance to the etching of 23.
  • the anode electrode insulating film 96 is provided so as to cover the anode electrode 23.
  • the anode electrode insulating film 96 is, for example, a silicon nitride film.
  • the anode electrode insulating film 96 covers the peripheral edge of the anode electrode 23 and insulates the anode electrodes 23 of the adjacent sub-pixels 49.
  • the anode electrode insulating film 96 has an opening OP for mounting the light emitting element 3 at a position overlapping the anode electrode 23.
  • the size of the opening OP is set to an opening having a larger area than that of the light emitting element 3 in consideration of the amount of mounting deviation in the mounting process of the light emitting element 3. That is, the area of the anode electrode 23 is larger than the area of the light emitting element 3 in a plan view from the direction perpendicular to the substrate 21.
  • the light emitting element 3 has at least two terminals (anode terminal 33 and cathode terminal 32), and the area of the anode electrode 23 is at least two terminals (anode terminal) in a plan view from a direction perpendicular to the substrate 21.
  • the light emitting element 3 has a mounting area of about 10 ⁇ m ⁇ 10 ⁇ m in plan view, it is preferable to secure an area of the opening OP of about 20 ⁇ m ⁇ 20 ⁇ m.
  • the light emitting elements 3R, 3G, and 3B are mounted on the corresponding anode electrodes 23. Each light emitting element 3 is mounted so that the anode terminal 33 is in contact with the anode electrode 23.
  • the light emitting element 3 has a semiconductor layer 31, a cathode terminal 32, and an anode terminal 33.
  • the semiconductor layer 31 may have a structure in which an n-type clad layer, an active layer, and a p-type clad layer are stacked.
  • the semiconductor layer 31 for example, a compound semiconductor such as gallium nitride (GaN) or aluminum indium phosphide (AlInP) is used.
  • GaN gallium nitride
  • AlInP aluminum indium phosphide
  • different materials may be used for each of the light emitting elements 3R, 3G, and 3B.
  • a multiple quantum well structure (MQW structure) in which a well layer composed of several atomic layers and a barrier layer are periodically laminated may be adopted for high efficiency.
  • the light emitting element 3 may have a structure in which the semiconductor layer 31 is formed on the semiconductor substrate.
  • the configuration is not limited to the configuration in which the light emitting element 3 alone is mounted on the array substrate 2, and the configuration may be such that the LED chip including the light emitting element 3 is mounted on the array substrate 2.
  • the LED chip has, for example, a light emitting element substrate, a light emitting element 3 provided on the light emitting element substrate, and a circuit element group that is provided on the light emitting element substrate and drives the light emitting element 3. 3 and a configuration in which the circuit element group is integrated on one chip can be mentioned.
  • An element insulating film 97 is provided between the plurality of light emitting elements 3.
  • the element insulating film 97 is made of a resin material.
  • the element insulating film 97 covers the side surface of the light emitting element 3, and the cathode terminal 32 of the light emitting element 3 is exposed from the element insulating film 97.
  • the element insulating film 97 is formed flat so that the upper surface of the element insulating film 97 and the upper surface of the cathode terminal 32 form the same surface. However, the position of the upper surface of the element insulating film 97 may be different from the position of the upper surface of the cathode terminal 32.
  • the cathode electrode 22 covers the plurality of light emitting elements 3 and the element insulating film 97, and is electrically connected to the plurality of light emitting elements 3. More specifically, the cathode electrode 22 is provided over the upper surface of the element insulating film 97 and the upper surface of the cathode terminal 32. For the cathode electrode 22, a conductive material having translucency such as ITO is used. Thereby, the light emitted from the light emitting element 3 can be efficiently extracted to the outside.
  • the cathode electrode 22 is electrically connected to the cathode terminals 32 of the plurality of light emitting elements 3 mounted in the display area AA.
  • the cathode electrode 22 is connected to the cathode wiring 60 provided on the array substrate 2 side by a cathode contact portion (contact hole H2) provided outside the display area AA.
  • the peripheral region GA and the display region AA are shown together in order to make it easy to understand the correspondence between the cross-sectional configuration of the peripheral region GA and the cross-sectional configuration of the display region AA.
  • the display device 1 has a terminal portion 27, a bent region FA, and a cathode contact portion (contact hole H2) in the peripheral region GA.
  • the terminal portion 27 is a terminal connected to a wiring board such as a drive IC 210 or a flexible printed circuit board.
  • the bent region FA is a region of the array substrate 2 for bending the peripheral region GA on the terminal portion 27 side. When the bent area FA is provided, a flexible resin material is used as the substrate 21.
  • the undercoat film 91, the gate insulating film 92, and the interlayer insulating film 93 are provided from the display region AA to the peripheral region GA to the end of the substrate 21.
  • the undercoat film 91, the gate insulating film 92, and the interlayer insulating film 93 are removed at the bent region FA.
  • the undercoat film 91, the gate insulating film 92, and the interlayer insulating film 93 are removed by etching in the bent region FA.
  • the surface of the substrate 21 made of a resin material such as polyimide may be partially eroded by etching to form recesses.
  • the cathode wiring 60 is provided on the interlayer insulating film 93. That is, the cathode wiring 60 is provided in the same layer as the source electrode 62, the drain electrode 63, and the second wiring 67, and is made of the same material.
  • the cathode wiring 60 is provided across the bent area FA, and is provided along a step formed by the undercoat film 91, the gate insulating film 92, the interlayer insulating film 93, and the substrate 21. Further, the cathode wiring 60 is provided on the substrate 21 in the bent region FA, and is provided on the interlayer insulating film 93 between the bent region FA and the end portion of the substrate 21.
  • the flattening film 94 is removed in the peripheral region GA, the bent region FA and the region between the bent region FA and the end portion of the substrate 21.
  • the flattening film 94 is provided with a contact hole H2 in a region between the bent region FA and the display region AA.
  • the cathode wiring 60 is exposed on the bottom surface of the contact hole H2, and the thickness of the element insulating film 97 is provided so as to decrease from the peripheral portion of the display area AA toward the peripheral area GA.
  • the cathode electrode 22 is electrically connected to the cathode wiring 60 via the connection electrode 26b provided inside the contact hole H2.
  • the connection electrode 26b is provided in the same layer as the counter electrode 25 and the connection electrode 26a, and is made of the same material as the counter electrode 25 and the connection electrode 26a.
  • the terminal portion 27 is provided on the cathode wiring 60 in the area between the bent area FA and the end of the substrate 21.
  • the capacitive insulating film 95 is provided so as to cover the terminal portion 27, and has an opening in a region overlapping the terminal portion 27.
  • the display device 1 using the light emitting element 3 as the display element is configured.
  • the display device 1 may be provided with a cover glass, a touch panel, or the like on the upper side of the cathode electrode 22.
  • a filler made of resin or the like may be provided between the display device 1 and a member such as the cover glass.
  • the display device 1 is not limited to the face-up structure in which the upper portion of the light emitting element 3 is connected to the cathode electrode 22, and the lower portion of the light emitting element 3 is connected to the anode electrode 23 and the cathode electrode 22. It may be a structure.
  • FIG. 9 is an enlarged plan view showing one sub-pixel of the display device according to the first embodiment.
  • FIG. 10 is a cross-sectional view taken along the line XX'of FIG.
  • the light emitting element 3 is omitted in order to make the drawing easier to see.
  • the anode electrode 23 is indicated by a two-point chain wire, and the anode power supply line L1, the video signal line L2, the reset signal line L3, the initialization signal line L4, the connection wirings L5 and L6, and the heat generating resistor 28 are shaded. It is attached and shown. Further, the semiconductor layers 61, 71, 76, 77, 78, 79 of each transistor are shown by dotted lines.
  • the anode power supply line L1, the video signal line L2, and the initialization signal line L4 extend in the second direction Dy.
  • the reset signal line L3 is provided between the anode power supply line L1 and the video signal line L2. Although the reset signal line L3 is shown in a simplified manner for easy viewing in the drawings, it is provided so as to extend in the second direction Dy like the anode power supply line L1 and the like.
  • the reset control scan line RG, the light emission control scan line BG, the write control scan line SG, the initialization control scan line IG, and the heat generation control scan line HG extend in the first direction Dx, respectively, and are used as an anode power source in a plan view. It intersects the line L1 and the video signal line L2, respectively.
  • the connection wiring L5 connects the drive transistor DRT, the initialization transistor IST, and the write transistor SST.
  • the connection wiring L6 connects the heat generation resistor 28 and the heat generation control transistor HST.
  • the semiconductor layer 61, the source electrode 62 (second wiring 67), and the gate electrode 64 (first wiring 66) constituting the drive transistor DRT are the anode power supply line L1, the video signal line L2, the light emission control scanning line BG, and the write control. It is provided in the area surrounded by the scanning line SG.
  • the semiconductor layer 61 is connected to the source electrode 62 (second wiring 67) via the contact hole H3 at a portion that does not overlap with the gate electrode 64 (first wiring 66).
  • the anode electrode 23 and the counter electrode 25 are provided in a region overlapping the drive transistor DRT.
  • the counter electrode 25 is connected to the cathode power supply line L10, and the cathode power supply potential PVSS is supplied. As a result, the counter electrode 25 can shield between each transistor and various wirings of the array substrate 2 and the anode electrode 23 and the light emitting element 3.
  • the anode electrode 23 extends to a region that does not overlap with the drive transistor DRT, and a part of the anode electrode 23 overlaps with 28e1 on one end side of the heat generating resistor 28.
  • the heat generating resistor 28 has a meander-like wiring pattern in a plan view, and extends in the second direction Dy along the anode power supply line L1 as a whole.
  • One end side 28e1 of the heat generating resistor 28 is connected to the anode electrode 23 via the contact hole H4. Further, the other end side 28e2 of the heat generating resistor 28 is connected to the connection wiring L6 via the contact hole H5.
  • the heat generation control transistor HST has a semiconductor layer 71, a source electrode 72, a drain electrode 73, and a gate electrode 74.
  • the semiconductor layer 71 extends in the second direction Dy and intersects the heat generation control scanning line HG in a plan view.
  • a channel region is formed in a region of the semiconductor layer 71 that overlaps with the heat generation control scanning line HG.
  • the portion of the heat generation control scanning line HG that overlaps with the semiconductor layer 71 functions as the gate electrode 74 of the heat generation control transistor HST.
  • One end side of the semiconductor layer 71 is connected to the anode power line connection portion L1b.
  • the other end side of the semiconductor layer 71 is connected to the connection wiring L6.
  • the anode power line connection portion L1b is a portion branched from the anode power line L1 in the first direction Dx. A part of the anode power line connection portion L1b and the connection wiring L6 functions as a source electrode 72 and a drain electrode 73, respectively.
  • one end side 28e1 of the heat generation resistor 28 is electrically connected to the anode electrode 23, and the other end side 28e2 of the heat generation resistor 28 is electrically connected to the anode power line L1 via the heat generation control transistor HST. Be connected.
  • the light emission control transistor BCT has a semiconductor layer 76.
  • the semiconductor layer 76 is connected to the semiconductor layer 61 of the drive transistor DRT and intersects the light emission control scanning line BG in a plan view.
  • One end side of the semiconductor layer 76 is electrically connected to the anode power line connection portion L1a.
  • the anode power supply line connection portion L1a is a portion branched from the anode power supply line L1 in the first direction Dx.
  • the drive transistor DRT and the light emission control transistor BCT are electrically connected to the anode power supply line L1.
  • the reset transistor RST has a semiconductor layer 77. One end side of the semiconductor layer 77 is connected to the reset signal line L3, and the other end side of the semiconductor layer 77 is connected to the semiconductor layer 61 of the drive transistor DRT.
  • the semiconductor layer 77 extends in the second direction Dy and intersects the light emission control scanning line BG and the reset control scanning line RG in a plan view.
  • a channel region is formed in a portion of the semiconductor layer 77 that overlaps with the reset control scanning line RG.
  • the semiconductor layer 77 and the semiconductor layer 76 are connected to the semiconductor layer 61, the connection configuration of the drive transistor DRT, the light emission control transistor BCT, and the reset transistor RST shown in the circuit diagram of FIG. 3 is realized.
  • the write transistor SST has a semiconductor layer 78.
  • One end side of the semiconductor layer 78 is connected to the video signal line connecting portion L2a.
  • the video signal line connecting portion L2a is a portion branched from the video signal line L2 in the first direction Dx.
  • the other end side of the semiconductor layer 78 is connected to the connection wiring L5.
  • the semiconductor layer 78 extends in the first direction Dx and intersects the branch portion SGa in a plan view.
  • the branch portion SGa is a portion branched from the write control scanning line SG in the second direction Dy.
  • the initialization transistor IST has a semiconductor layer 79. One end side of the semiconductor layer 79 is connected to the initialization signal line L4. The other end side of the semiconductor layer 79 is connected to the connection wiring L5. The semiconductor layer 79 extends in the second direction Dy and intersects the initialization control scanning line IG in a plan view.
  • the heat generating resistor 28 is provided on the flattening film 94.
  • the heat generation resistor 28 is provided in the same layer as the counter electrode 25, and the video signal line L2, the heat generation resistor 28, and the anode electrode 23 are laminated in this order in the direction perpendicular to the substrate 21.
  • the heat generation resistor 28 is made of the same material as the counter electrode 25, that is, a conductive material having translucency such as ITO.
  • the heat generation resistor 28 has a sheet resistance value higher than that of the anode electrode 23, and when a current flows through the heat generation resistor 28, electrical energy is satisfactorily converted into heat.
  • the heat generating resistor 28 is not limited to ITO, but is a translucent conductive film, ZnO, in which In 2 O 3 is doped with Ge, Mo, F, Ti, Zr, Hf, Nb, Ta, W, or Te.
  • the heat generating resistor 28 may be formed of a high melting point material such as molybdenum (Mo) or Mo alloy, tungsten (W) or W alloy, or titanium (Ti) or Ti alloy.
  • the heat generating resistor 28 is provided in a layer different from the anode electrode 23 via the capacitive insulating film 95, and is connected to the anode electrode 23 via the contact hole H4 provided in the capacitive insulating film 95.
  • the heat generated by the heat generating resistor 28 is satisfactorily transferred to the light emitting element 3 via the contact hole H4 and the anode electrode 23.
  • the anode electrode 23 has a larger area in a plan view and a higher thermal conductivity than the heat generating resistor 28. Therefore, the heat generated by the heat generating resistor 28 is also transferred to the anode electrode 23 at the overlapping portion between the anode electrode 23 and the heat generating resistor 28 around the contact hole H4.
  • the laminated structure of the heat generation control transistor HST is the same as that of the drive transistor DRT shown in FIG. 7, and detailed description thereof will be omitted.
  • the source electrode 72 (anode power line connection portion L1b) and drain electrode 73 (connection wiring L6), the anode power supply line L1 and the video signal line L2 are the source electrode 62 (second wiring 67) and drain electrode 63 of the drive transistor DRT. It is provided in the same layer.
  • the reset signal line L3, the initialization signal line L4, and the connection wiring L5 are also provided in the same layer as the anode power supply line L1 and the like.
  • the heat generation control scanning line HG, the initialization control scanning line IG, and the writing control scanning line SG are provided in the same layer as the gate electrode 64 (first wiring 66).
  • the light emission control scanning line BG and the reset control scanning line RG are also provided in the same layer as the heat generation control scanning line HG and the like.
  • the semiconductor layer 71 of the heat generation control transistor HST and the semiconductor layers 76, 77, 78, 79 of each transistor are provided in the same layer as the semiconductor layer 61 of the drive transistor DRT.
  • the semiconductor layer 71 of the heat generation control transistor HST, the source electrode 72 (anode power line connection portion L1b), the drain electrode 73, and the gate electrode 74 may be provided in different layers from the drive transistor DRT.
  • FIG. 11 is an explanatory diagram for comparing and explaining the first heat-generating resistor of the first sub-pixel, the second heat-generating resistor of the second sub-pixel, and the third heat-generating resistor of the third sub-pixel. is there.
  • the first sub-pixel 49R has a first heat generating resistor 28R.
  • the second sub-pixel 49G has a second heat generating resistor 28G.
  • the third sub-pixel 49B has a third heat generating resistor 28B.
  • the first heating resistor 28R, the second heating resistor 28G, and the third heating resistor 28B are schematically shown side by side.
  • the first heating resistor 28R, the second heating resistor 28G, and the third heating resistor 28B each have a plurality of first portions 28a and a plurality of second portions 28b, respectively.
  • Each of the plurality of first portions 28a extends in the first direction Dx and is arranged in the second direction Dy.
  • the second portion 28b connects the same side ends of two adjacent first portions 28a in the second direction Dy.
  • a plurality of first portions 28a and a plurality of second portions 28b are connected to form a meander-shaped wiring pattern.
  • the wiring lengths of the wiring patterns of the first heating resistor 28R, the second heating resistor 28G, and the third heating resistor 28B are different.
  • the wiring length is longer in the order of the first heating resistor 28R, the second heating resistor 28G, and the third heating resistor 28B.
  • the wiring length of each heat generating resistor 28 is the total length along the wiring pattern. That is, the wiring length of each heat generating resistor 28 is the total length of the wiring length W1 of the plurality of first portions 28a and the wiring length W2 of the plurality of second portions 28b.
  • the first heating resistor 28R, the second heating resistor 28G, and the third heating resistor 28B have different resistance values. Specifically, the resistance value of the first heating resistor 28R is smaller than the resistance value of the second heating resistor 28G and the resistance value of the third heating resistor 28B. Further, the resistance value of the second heating resistor 28G is smaller than the resistance value of the third heating resistor 28B.
  • the current flowing through the first heating resistor 28R becomes larger than that of the second heating resistor 28G and the third heating resistor 28B, and the amount of heat generated by the first heating resistor 28R becomes larger.
  • the light emitting element 3R is satisfactorily heated by the first heat generating resistor 28R.
  • the light emitting element 3R can be made to emit light stably.
  • FIG. 11 shows an example in which the lengths of the first heating resistor 28R, the second heating resistor 28G, and the third heating resistor 28B in the second direction Dy are different
  • the resistance values may be different in other configurations. It may be different.
  • the length of the second direction Dy that is, the wiring lengths W1 and W2 of the first portion 28a and the second portion 28b may be different, and the wiring widths of the first portion 28a and the second portion 28b may be different. You may.
  • different materials may be used as the first heating resistor 28R, the second heating resistor 28G, and the third heating resistor 28B.
  • each heat generating resistor 28 shown in FIG. 11 is merely an example, and may be a different wiring pattern.
  • the first heat-generating resistor 28R, the second heat-generating resistor 28G, and the third heat-generating resistor 28B may be formed with the same wiring pattern and have the same resistance value.
  • all of the first sub-pixel 49R, the second sub-pixel 49G, and the third sub-pixel 49B are not limited to the configuration having the heat generating resistor 28. It is also possible to adopt a configuration in which at least the first sub-pixel 49R has the first heat-generating resistor 28R, and at least one of the second sub-pixel 49G and the third sub-pixel 49B does not have the heat-generating resistor 28.
  • FIG. 12 is a circuit diagram showing a pixel circuit according to the second embodiment.
  • the same components as those described in the above-described embodiment are designated by the same reference numerals, and duplicate description will be omitted.
  • the pixel circuit PICA has a different configuration having the resistor signal line L7 as compared with the first embodiment.
  • a resistor drive signal Vpreht is supplied to the resistor signal line L7 from the drive IC 210.
  • the other end side 28e2 of the heat generation resistor 28 is connected to the resistor signal line L7 via the heat generation control transistor HST.
  • One end side 28e1 of the heat generating resistor 28 is connected to the anode electrode 23 as in the first embodiment.
  • each transistor is the same as the preheat period PH shown in FIG. 5, the heat generation control transistor HST and the reset transistor RST are turned on, and the other transistors are turned off.
  • the resistor signal line L7, the heat generation control transistor HST, the heat generation resistor 28, the reset transistor RST, and the reset signal line L3 are electrically connected to form a current path.
  • a current flows through the heat generating resistor 28 according to the resistor drive signal Vpreht supplied from the resistor signal line L7.
  • the potential supplied to the heat generating resistor 28 is controlled independently of the anode power supply line L1 (anode power supply potential P VDD). Therefore, it is also possible to control the heat generation of the heat generation resistor 28 during the display period of the display device 1.
  • FIG. 13 is a circuit diagram showing a pixel circuit according to the third embodiment.
  • the pixel circuit PICA according to the third embodiment has a different configuration in which one end side 28e1 of the heat generating resistor 28 is electrically connected to the cathode electrode 22 as compared with the first embodiment.
  • the other end side 28e2 of the heat generation resistor 28 is electrically connected to the anode power supply line L1 via the heat generation control transistor HST as in the first embodiment.
  • the heat generation control transistor HST is turned on and the other transistors are turned off during the preheat period PH shown in FIG.
  • the anode power supply line L1 the heat generation control transistor HST, the heat generation resistor 28, and the cathode power supply line L10 are electrically connected to form a current path.
  • a current flows through the heat generating resistor 28 from the anode power supply line L1 (anode power supply potential P VDD).
  • the heat generation of the heat generation resistor 28 can be controlled only by switching the heat generation control transistor HST on and off, so that the pixel circuit PICA can be easily driven in the preheat period PH.
  • the one end side 28e1 of the heat generating resistor 28 is not connected to the anode electrode 23. Even in this case, as in FIGS. 9 and 10, the anode electrode 23 is provided with a part of the anode electrode 23 overlapping the heat generating resistor 28, so that the heat generated by the heat generating resistor 28 can be transferred to the anode electrode. It can be efficiently transmitted to 23.
  • the configuration of this embodiment can also be applied to the second embodiment. That is, in the pixel circuit PICA shown in FIG. 12, a configuration is also adopted in which the resistor signal line L7, the heat generation control transistor HST, the heat generation resistor 28, and the cathode power supply line L10 are conductive to form a current path.
  • FIG. 14 is a plan view showing a pixel having a temperature sensor according to the fourth embodiment.
  • FIG. 15 is an explanatory diagram for explaining an example of the temperature sensor.
  • the display device 1A has a temperature sensor 8 and a temperature sensor circuit 81 in the pixel Pix.
  • the temperature sensor 8 for example, a pn junction diode can be used.
  • the temperature sensor circuit 81 is a circuit for driving the temperature sensor 8.
  • the temperature sensor circuit 81 includes circuit elements such as a plurality of transistors and controls the supply of drive signals to the temperature sensor 8.
  • the temperature sensor 8 is connected to the sensor anode power supply line SL1 and the sensor cathode power supply line SL10, and a forward bias voltage signal is applied from the sensor anode power supply line SL1 and the sensor cathode power supply line SL10.
  • the temperature sensor circuit 81 controls the temperature sensor 8 so that a constant forward current If flows.
  • the detection circuit 211 receives the output voltage Vf between the anode and the cathode as an output signal from the temperature sensor 8.
  • the detection circuit 211 may be provided in the drive IC 210, or may be provided as an IC separate from the drive IC 210.
  • the detection circuit 211 can detect the temperature of the pixel Pix based on the temperature dependence of the output voltage Vf of the pn junction diode.
  • the drive IC 210 can appropriately control the current value flowing through the heat generation resistor 28 or the on time of the heat generation control transistor HST in the preheat period PH based on the temperature information of the pixel Pix.
  • the temperature sensor circuit 81 may apply a constant reverse bias voltage signal to the temperature sensor 8.
  • the detection circuit 211 may receive the reverse bias current value as an output signal of the temperature sensor 8 and detect the temperature based on the temperature dependence of the reverse bias current value.
  • the temperature sensor 8 may be provided in each pixel Pix, or one temperature sensor 8 may be provided for a plurality of pixel Pix. Further, the temperature sensor 8 may be provided in the pixel circuit PICA of each sub-pixel 49. In this case, the temperature sensor 8 may share a part of the transistors provided in the pixel circuit PICA as a sensor. Alternatively, the temperature sensor 8 may be shared as a sensor by driving the light emitting element 3 in a reverse bias.
  • the portions described as the anode terminal 33 and the cathode terminal 32 are not limited to the description in the specification depending on the connection direction of the light emitting element 3 and the voltage application direction, and are reversed. You may. Further, in FIGS. 7 and 8, one electrode of the light emitting element 3 is on the lower side and the other electrode is on the upper side, but both of them are on the lower side, that is, the side facing the array substrate 2. It may have the configuration in.

Landscapes

  • Engineering & Computer Science (AREA)
  • Physics & Mathematics (AREA)
  • General Physics & Mathematics (AREA)
  • Computer Hardware Design (AREA)
  • Theoretical Computer Science (AREA)
  • Microelectronics & Electronic Packaging (AREA)
  • Condensed Matter Physics & Semiconductors (AREA)
  • Power Engineering (AREA)
  • Control Of Indicators Other Than Cathode Ray Tubes (AREA)
  • Control Of El Displays (AREA)
  • Electroluminescent Light Sources (AREA)
  • Devices For Indicating Variable Information By Combining Individual Elements (AREA)
PCT/JP2019/050422 2019-03-14 2019-12-23 表示装置 Ceased WO2020183861A1 (ja)

Priority Applications (1)

Application Number Priority Date Filing Date Title
US17/471,202 US11721276B2 (en) 2019-03-14 2021-09-10 Display device

Applications Claiming Priority (2)

Application Number Priority Date Filing Date Title
JP2019047597A JP7360246B2 (ja) 2019-03-14 2019-03-14 表示装置
JP2019-047597 2019-03-14

Related Child Applications (1)

Application Number Title Priority Date Filing Date
US17/471,202 Continuation US11721276B2 (en) 2019-03-14 2021-09-10 Display device

Publications (1)

Publication Number Publication Date
WO2020183861A1 true WO2020183861A1 (ja) 2020-09-17

Family

ID=72427423

Family Applications (1)

Application Number Title Priority Date Filing Date
PCT/JP2019/050422 Ceased WO2020183861A1 (ja) 2019-03-14 2019-12-23 表示装置

Country Status (4)

Country Link
US (1) US11721276B2 (enExample)
JP (1) JP7360246B2 (enExample)
TW (1) TWI738242B (enExample)
WO (1) WO2020183861A1 (enExample)

Cited By (2)

* Cited by examiner, † Cited by third party
Publication number Priority date Publication date Assignee Title
JPWO2022092297A1 (enExample) * 2020-10-30 2022-05-05
CN116347941A (zh) * 2021-12-22 2023-06-27 乐金显示有限公司 包括低电平线的有机发光二极管显示装置

Families Citing this family (5)

* Cited by examiner, † Cited by third party
Publication number Priority date Publication date Assignee Title
KR102810624B1 (ko) * 2021-02-23 2025-05-22 삼성디스플레이 주식회사 픽셀 회로, 이를 포함하는 표시 장치 및 이의 구동 방법
CN113870791B (zh) * 2021-10-11 2023-07-25 京东方科技集团股份有限公司 像素驱动电路及其驱动方法
US11961822B2 (en) 2022-01-17 2024-04-16 Samsung Display Co., Ltd. Display device, and tiled display device including the display device
CN114882816B (zh) * 2022-06-16 2025-01-14 厦门天马微电子有限公司 显示面板及其检测方法、显示装置
JP2024171113A (ja) * 2023-05-29 2024-12-11 株式会社ジャパンディスプレイ 電子装置の温度調整方法および電子装置

Citations (6)

* Cited by examiner, † Cited by third party
Publication number Priority date Publication date Assignee Title
JP2002307734A (ja) * 2001-03-29 2002-10-23 Shandong Hualing Electronics Co Ltd サーマルプリンターヘッド及びその製造方法
JP2005309731A (ja) * 2004-04-21 2005-11-04 Toppan Printing Co Ltd 基板設計装置、基板設計方法および基板設計プログラム
JP2005321684A (ja) * 2004-05-11 2005-11-17 Sony Corp 映像表示装置および映像表示方法
US20050258446A1 (en) * 2004-05-18 2005-11-24 New Millennium Media International Inc. LED assembly with vented circuit board
JP2007081094A (ja) * 2005-09-14 2007-03-29 Seiko Epson Corp 発光装置及び電子機器
JP2014082383A (ja) * 2012-10-17 2014-05-08 Kyocera Corp 発光ユニット、発光制御ユニット、および発光装置

Family Cites Families (15)

* Cited by examiner, † Cited by third party
Publication number Priority date Publication date Assignee Title
US6879110B2 (en) * 2000-07-27 2005-04-12 Semiconductor Energy Laboratory Co., Ltd. Method of driving display device
US20050030264A1 (en) * 2001-09-07 2005-02-10 Hitoshi Tsuge El display, el display driving circuit and image display
US6911624B2 (en) * 2002-08-23 2005-06-28 Micron Technology, Inc. Component installation, removal, and replacement apparatus and method
JP2012231083A (ja) * 2011-04-27 2012-11-22 Hitachi Consumer Electronics Co Ltd バックライト及びそれを用いた液晶表示装置
JP6152801B2 (ja) * 2014-01-21 2017-06-28 豊田合成株式会社 発光装置及びその製造方法
JP2015215780A (ja) * 2014-05-12 2015-12-03 株式会社ジャパンディスプレイ 表示装置
GB201413578D0 (en) 2014-07-31 2014-09-17 Infiniled Ltd A colour iled display on silicon
US9728125B2 (en) * 2014-12-22 2017-08-08 Shenzhen China Star Optoelectronics Technology Co., Ltd AMOLED pixel circuit
KR102601579B1 (ko) * 2015-12-16 2023-11-13 삼성전자주식회사 발광소자 실장용 회로 기판 및 이를 이용한 반도체 발광소자 패키지
CN106652877B (zh) * 2017-02-09 2020-02-14 京东方科技集团股份有限公司 显示面板和显示装置
JP2019061929A (ja) * 2017-09-28 2019-04-18 シャープ株式会社 照明装置及びそれを備えた表示装置
CN107452345B (zh) * 2017-09-29 2020-01-10 京东方科技集团股份有限公司 一种显示器件亮度补偿方法、装置及显示装置
CN110136622B (zh) * 2018-02-02 2022-09-23 上海和辉光电股份有限公司 一种显示面板、显示装置、显示数据的处理方法及装置
CN108649026A (zh) * 2018-07-06 2018-10-12 易美芯光(北京)科技有限公司 一种可调色温的led结构
CN109360525A (zh) * 2018-09-13 2019-02-19 天长市辉盛电子有限公司 Led显示屏系统的控制方法及led显示屏系统

Patent Citations (6)

* Cited by examiner, † Cited by third party
Publication number Priority date Publication date Assignee Title
JP2002307734A (ja) * 2001-03-29 2002-10-23 Shandong Hualing Electronics Co Ltd サーマルプリンターヘッド及びその製造方法
JP2005309731A (ja) * 2004-04-21 2005-11-04 Toppan Printing Co Ltd 基板設計装置、基板設計方法および基板設計プログラム
JP2005321684A (ja) * 2004-05-11 2005-11-17 Sony Corp 映像表示装置および映像表示方法
US20050258446A1 (en) * 2004-05-18 2005-11-24 New Millennium Media International Inc. LED assembly with vented circuit board
JP2007081094A (ja) * 2005-09-14 2007-03-29 Seiko Epson Corp 発光装置及び電子機器
JP2014082383A (ja) * 2012-10-17 2014-05-08 Kyocera Corp 発光ユニット、発光制御ユニット、および発光装置

Cited By (5)

* Cited by examiner, † Cited by third party
Publication number Priority date Publication date Assignee Title
JPWO2022092297A1 (enExample) * 2020-10-30 2022-05-05
WO2022092297A1 (ja) * 2020-10-30 2022-05-05 三国電子有限会社 タッチ及び指紋センサ付き表示装置
US12333118B2 (en) 2020-10-30 2025-06-17 Mikuni Electron Corporation Display device with touch and fingerprint sensor
JP7706170B2 (ja) 2020-10-30 2025-07-11 三国電子有限会社 タッチ及び指紋センサ付き表示装置
CN116347941A (zh) * 2021-12-22 2023-06-27 乐金显示有限公司 包括低电平线的有机发光二极管显示装置

Also Published As

Publication number Publication date
JP7360246B2 (ja) 2023-10-12
JP2020148964A (ja) 2020-09-17
TW202040548A (zh) 2020-11-01
TWI738242B (zh) 2021-09-01
US20210407385A1 (en) 2021-12-30
US11721276B2 (en) 2023-08-08

Similar Documents

Publication Publication Date Title
JP7360246B2 (ja) 表示装置
JP7073198B2 (ja) 表示装置
CN108281473B (zh) 显示装置
TWI756731B (zh) 顯示裝置
US11410595B2 (en) Display device and driving method for display device
CN111326673B (zh) 显示装置
WO2020189047A1 (ja) 表示装置
CN108511485A (zh) 显示装置
US12142714B2 (en) Display device
JP2021089356A (ja) 表示装置
WO2020084898A1 (ja) 表示装置
US20230025876A1 (en) Display device
US20250096216A1 (en) Display device
JP7264669B2 (ja) 表示装置
US12132069B2 (en) Display device
JP7490504B2 (ja) 表示装置

Legal Events

Date Code Title Description
121 Ep: the epo has been informed by wipo that ep was designated in this application

Ref document number: 19919002

Country of ref document: EP

Kind code of ref document: A1

NENP Non-entry into the national phase

Ref country code: DE

122 Ep: pct application non-entry in european phase

Ref document number: 19919002

Country of ref document: EP

Kind code of ref document: A1