WO2020075458A1 - 運搬車両と運搬車両に素材を積み込む作業機械とを含むシステム、方法、及び作業機械 - Google Patents

運搬車両と運搬車両に素材を積み込む作業機械とを含むシステム、方法、及び作業機械 Download PDF

Info

Publication number
WO2020075458A1
WO2020075458A1 PCT/JP2019/036532 JP2019036532W WO2020075458A1 WO 2020075458 A1 WO2020075458 A1 WO 2020075458A1 JP 2019036532 W JP2019036532 W JP 2019036532W WO 2020075458 A1 WO2020075458 A1 WO 2020075458A1
Authority
WO
WIPO (PCT)
Prior art keywords
work machine
transport vehicle
target
vehicle
controller
Prior art date
Legal status (The legal status is an assumption and is not a legal conclusion. Google has not performed a legal analysis and makes no representation as to the accuracy of the status listed.)
Ceased
Application number
PCT/JP2019/036532
Other languages
English (en)
French (fr)
Japanese (ja)
Inventor
正憲 逢澤
健二郎 嶋田
Current Assignee (The listed assignees may be inaccurate. Google has not performed a legal analysis and makes no representation or warranty as to the accuracy of the list.)
Komatsu Ltd
Original Assignee
Komatsu Ltd
Priority date (The priority date is an assumption and is not a legal conclusion. Google has not performed a legal analysis and makes no representation as to the accuracy of the date listed.)
Filing date
Publication date
Application filed by Komatsu Ltd filed Critical Komatsu Ltd
Priority to DE112019003683.1T priority Critical patent/DE112019003683T5/de
Priority to CN201980045277.7A priority patent/CN112384661B/zh
Priority to US17/264,116 priority patent/US11914380B2/en
Publication of WO2020075458A1 publication Critical patent/WO2020075458A1/ja
Anticipated expiration legal-status Critical
Ceased legal-status Critical Current

Links

Images

Classifications

    • GPHYSICS
    • G05CONTROLLING; REGULATING
    • G05DSYSTEMS FOR CONTROLLING OR REGULATING NON-ELECTRIC VARIABLES
    • G05D1/00Control of position, course, altitude or attitude of land, water, air or space vehicles, e.g. using automatic pilots
    • G05D1/60Intended control result
    • G05D1/617Safety or protection, e.g. defining protection zones around obstacles or avoiding hazards
    • GPHYSICS
    • G05CONTROLLING; REGULATING
    • G05DSYSTEMS FOR CONTROLLING OR REGULATING NON-ELECTRIC VARIABLES
    • G05D1/00Control of position, course, altitude or attitude of land, water, air or space vehicles, e.g. using automatic pilots
    • G05D1/02Control of position or course in two dimensions
    • G05D1/021Control of position or course in two dimensions specially adapted to land vehicles
    • G05D1/0287Control of position or course in two dimensions specially adapted to land vehicles involving a plurality of land vehicles, e.g. fleet or convoy travelling
    • G05D1/0291Fleet control
    • EFIXED CONSTRUCTIONS
    • E02HYDRAULIC ENGINEERING; FOUNDATIONS; SOIL SHIFTING
    • E02FDREDGING; SOIL-SHIFTING
    • E02F3/00Dredgers; Soil-shifting machines
    • E02F3/04Dredgers; Soil-shifting machines mechanically-driven
    • E02F3/28Dredgers; Soil-shifting machines mechanically-driven with digging tools mounted on a dipper- or bucket-arm, i.e. there is either one arm or a pair of arms, e.g. dippers, buckets
    • E02F3/36Component parts
    • E02F3/42Drives for dippers, buckets, dipper-arms or bucket-arms
    • E02F3/43Control of dipper or bucket position; Control of sequence of drive operations
    • E02F3/435Control of dipper or bucket position; Control of sequence of drive operations for dipper-arms, backhoes or the like
    • E02F3/437Control of dipper or bucket position; Control of sequence of drive operations for dipper-arms, backhoes or the like providing automatic sequences of movements, e.g. linear excavation, keeping dipper angle constant
    • EFIXED CONSTRUCTIONS
    • E02HYDRAULIC ENGINEERING; FOUNDATIONS; SOIL SHIFTING
    • E02FDREDGING; SOIL-SHIFTING
    • E02F9/00Component parts of dredgers or soil-shifting machines, not restricted to one of the kinds covered by groups E02F3/00 - E02F7/00
    • E02F9/20Drives; Control devices
    • E02F9/2025Particular purposes of control systems not otherwise provided for
    • E02F9/205Remotely operated machines, e.g. unmanned vehicles
    • EFIXED CONSTRUCTIONS
    • E02HYDRAULIC ENGINEERING; FOUNDATIONS; SOIL SHIFTING
    • E02FDREDGING; SOIL-SHIFTING
    • E02F9/00Component parts of dredgers or soil-shifting machines, not restricted to one of the kinds covered by groups E02F3/00 - E02F7/00
    • E02F9/26Indicating devices
    • EFIXED CONSTRUCTIONS
    • E02HYDRAULIC ENGINEERING; FOUNDATIONS; SOIL SHIFTING
    • E02FDREDGING; SOIL-SHIFTING
    • E02F9/00Component parts of dredgers or soil-shifting machines, not restricted to one of the kinds covered by groups E02F3/00 - E02F7/00
    • E02F9/26Indicating devices
    • E02F9/261Surveying the work-site to be treated
    • EFIXED CONSTRUCTIONS
    • E02HYDRAULIC ENGINEERING; FOUNDATIONS; SOIL SHIFTING
    • E02FDREDGING; SOIL-SHIFTING
    • E02F9/00Component parts of dredgers or soil-shifting machines, not restricted to one of the kinds covered by groups E02F3/00 - E02F7/00
    • E02F9/26Indicating devices
    • E02F9/261Surveying the work-site to be treated
    • E02F9/262Surveying the work-site to be treated with follow-up actions to control the work tool, e.g. controller
    • EFIXED CONSTRUCTIONS
    • E02HYDRAULIC ENGINEERING; FOUNDATIONS; SOIL SHIFTING
    • E02FDREDGING; SOIL-SHIFTING
    • E02F9/00Component parts of dredgers or soil-shifting machines, not restricted to one of the kinds covered by groups E02F3/00 - E02F7/00
    • E02F9/26Indicating devices
    • E02F9/267Diagnosing or detecting failure of vehicles
    • BPERFORMING OPERATIONS; TRANSPORTING
    • B60VEHICLES IN GENERAL
    • B60PVEHICLES ADAPTED FOR LOAD TRANSPORTATION OR TO TRANSPORT, TO CARRY, OR TO COMPRISE SPECIAL LOADS OR OBJECTS
    • B60P1/00Vehicles predominantly for transporting loads and modified to facilitate loading, consolidating the load, or unloading
    • B60P1/04Vehicles predominantly for transporting loads and modified to facilitate loading, consolidating the load, or unloading with a tipping movement of load-transporting element
    • B60P1/16Vehicles predominantly for transporting loads and modified to facilitate loading, consolidating the load, or unloading with a tipping movement of load-transporting element actuated by fluid-operated mechanisms
    • B60P1/162Vehicles predominantly for transporting loads and modified to facilitate loading, consolidating the load, or unloading with a tipping movement of load-transporting element actuated by fluid-operated mechanisms the hydraulic system itself
    • EFIXED CONSTRUCTIONS
    • E02HYDRAULIC ENGINEERING; FOUNDATIONS; SOIL SHIFTING
    • E02FDREDGING; SOIL-SHIFTING
    • E02F3/00Dredgers; Soil-shifting machines
    • E02F3/04Dredgers; Soil-shifting machines mechanically-driven
    • E02F3/28Dredgers; Soil-shifting machines mechanically-driven with digging tools mounted on a dipper- or bucket-arm, i.e. there is either one arm or a pair of arms, e.g. dippers, buckets
    • E02F3/30Dredgers; Soil-shifting machines mechanically-driven with digging tools mounted on a dipper- or bucket-arm, i.e. there is either one arm or a pair of arms, e.g. dippers, buckets with a dipper-arm pivoted on a cantilever beam, i.e. boom
    • E02F3/32Dredgers; Soil-shifting machines mechanically-driven with digging tools mounted on a dipper- or bucket-arm, i.e. there is either one arm or a pair of arms, e.g. dippers, buckets with a dipper-arm pivoted on a cantilever beam, i.e. boom working downwardly and towards the machine, e.g. with backhoes
    • EFIXED CONSTRUCTIONS
    • E02HYDRAULIC ENGINEERING; FOUNDATIONS; SOIL SHIFTING
    • E02FDREDGING; SOIL-SHIFTING
    • E02F9/00Component parts of dredgers or soil-shifting machines, not restricted to one of the kinds covered by groups E02F3/00 - E02F7/00
    • E02F9/20Drives; Control devices
    • E02F9/22Hydraulic or pneumatic drives
    • E02F9/2221Control of flow rate; Load sensing arrangements
    • E02F9/2232Control of flow rate; Load sensing arrangements using one or more variable displacement pumps
    • E02F9/2235Control of flow rate; Load sensing arrangements using one or more variable displacement pumps including an electronic controller
    • EFIXED CONSTRUCTIONS
    • E02HYDRAULIC ENGINEERING; FOUNDATIONS; SOIL SHIFTING
    • E02FDREDGING; SOIL-SHIFTING
    • E02F9/00Component parts of dredgers or soil-shifting machines, not restricted to one of the kinds covered by groups E02F3/00 - E02F7/00
    • E02F9/20Drives; Control devices
    • E02F9/22Hydraulic or pneumatic drives
    • E02F9/2278Hydraulic circuits
    • E02F9/2296Systems with a variable displacement pump

Definitions

  • the present invention relates to a technology for controlling a transportation vehicle and a working machine for loading materials on the transportation vehicle.
  • Patent Document 1 the excavation position and the earth removal position are taught to the controller of the work machine in advance.
  • the controller performs excavation at the excavation position, turns the work machine from the excavation position toward the earth removal position, and controls the work machine to perform earth removal at the earth removal position.
  • the loading work is performed not only with the work machine but also with the transport vehicle. Therefore, in order to carry out the loading work more efficiently, it is important that the work machine and the transport vehicle cooperate appropriately to carry out the work.
  • the purpose of the present invention is to carry out the loading operation of the work machine onto the transport vehicle by automatic control, and to appropriately perform the cooperation between the work machine and the transport vehicle.
  • the first aspect is a system, which includes a transportation vehicle and a work machine for loading materials on the transportation vehicle.
  • the work machine includes a first position sensor and a first processor.
  • the first position sensor detects the position of the work machine.
  • the first processor acquires data indicating the position of the work machine detected by the first position sensor.
  • the first processor acquires data indicating a target offset distance of the haul vehicle with respect to the work machine.
  • the first processor determines a target stop position of the haul vehicle based on the position of the work machine and the target offset distance.
  • the haul vehicle includes a communication device, a second position sensor, and a second processor.
  • the communication device communicates with the work machine.
  • the second position sensor detects the position of the transportation vehicle.
  • the second processor acquires data indicating the target stop position from the work machine.
  • the second processor controls the haul vehicle to move the haul vehicle to the target stop position.
  • the second aspect is a method executed by one or more processors for controlling the transportation vehicle and the work machine for loading the material on the transportation vehicle.
  • the method includes the following processes.
  • the first process is to acquire data indicating the position of the work machine.
  • the second process is to obtain data indicating the target offset distance of the haul vehicle to the work machine.
  • the third process is to determine the target stop position of the haul vehicle based on the position of the work machine and the target offset distance.
  • the fourth process is to acquire data indicating the position of the transportation vehicle.
  • the fifth process is to control the transportation vehicle to move the transportation vehicle to the target stop position.
  • a third aspect is a work machine, which includes a first position sensor, a first processor, and a communication device.
  • the first position sensor detects the position of the work machine.
  • the first processor acquires data indicating the position of the work machine detected by the first position sensor.
  • the first processor acquires data indicating a target offset distance of the haul vehicle with respect to the work machine.
  • the first processor determines a target stop position of the haul vehicle based on the position of the work machine and the target offset distance.
  • the communication device transmits the target stop position to the transportation vehicle.
  • the target stop position of the transport vehicle is determined based on the position of the work machine and the target offset distance. Then, the transport vehicle is controlled to move to the target stop position. Accordingly, the loading operation of the work machine onto the transport vehicle can be performed by automatic control, and the work machine and the transport vehicle can be appropriately linked.
  • FIG. 1 is a plan view showing an example of a work site where a work machine 1 and a transportation vehicle 2 according to the embodiment are used.
  • a work machine 1 and a transportation vehicle 2 are arranged at the work site.
  • the work machine 1 and the transport vehicle 2 cooperate with each other to perform work by automatic control.
  • the work machine 1 is a hydraulic excavator.
  • the transport vehicle 2 is a dump truck.
  • the work machine 1 is arranged beside a predetermined excavation position L1 in the work site.
  • the transport vehicle 2 travels back and forth between a predetermined loading position L2 and a predetermined dump position L3 in the work site.
  • the work machine 1 excavates the excavation position L1 by automatic control, and loads a material such as earth and sand as an excavation target on the transport vehicle 2 stopped at the loading position L2.
  • the transport vehicle 2 loaded with the materials travels to the dump position L3 and unloads the materials to the dump position L3.
  • Another work machine 3 such as a bulldozer is arranged at the dump position L3, and the material unloaded at the dump position L3 is spread.
  • the transport vehicle 2 that has unloaded the material travels to the loading position L2, and the work machine 1 reloads the material to the transport vehicle 2 that has stopped at the loading position L2. By repeating such work, the material at the excavation position L1 is transferred to the dump position L3.
  • FIG. 2 is a side view of the work machine 1.
  • the work machine 1 includes a vehicle body 11 and a work machine 12.
  • the vehicle body 11 includes a swing body 13 and a support body 14.
  • the swing body 13 is attached to the support body 14 so as to be swingable.
  • a cab 15 is arranged on the revolving unit 13. However, the cab 15 may be omitted.
  • the support 14 includes a track 16.
  • Crawler belt 16 is driven by the driving force of engine 24, which will be described later, so that work machine 1 travels.
  • the work machine 12 is attached to the front part of the vehicle body 11.
  • the work machine 12 includes a boom 17, an arm 18, and a bucket 19.
  • the boom 17 is attached to the revolving structure 13 so as to be vertically movable.
  • the arm 18 is operably attached to the boom 17.
  • the bucket 19 is operably attached to the arm 18.
  • the work machine 12 includes a boom cylinder 21, an arm cylinder 22, and a bucket cylinder 23.
  • the boom cylinder 21, the arm cylinder 22, and the bucket cylinder 23 are hydraulic cylinders, and are driven by hydraulic oil supplied from a hydraulic pump 25 described later.
  • the boom cylinder 21 operates the boom 17.
  • the arm cylinder 22 operates the arm 18.
  • the bucket cylinder 23 operates the bucket 19.
  • FIG. 3 is a block diagram showing the configuration of the control system of the work machine 1.
  • the work machine 1 includes an engine 24, a hydraulic pump 25, a power transmission device 26, and a controller 27.
  • the engine 24 is controlled by a command signal from the controller 27.
  • the hydraulic pump 25 is driven by the engine 24 and discharges hydraulic oil.
  • the hydraulic oil discharged from the hydraulic pump 25 is supplied to the boom cylinder 21, the arm cylinder 22, and the bucket cylinder 23.
  • the work machine 1 includes a swing motor 28.
  • the swing motor 28 is a hydraulic motor and is driven by hydraulic oil from the hydraulic pump 25.
  • the swing motor 28 swings the swing body 13.
  • the hydraulic pump 25 is a variable displacement pump. Although one hydraulic pump 25 is shown in FIG. 3, a plurality of hydraulic pumps may be provided.
  • a pump controller 29 is connected to the hydraulic pump 25.
  • the pump control device 29 controls the tilt angle of the hydraulic pump 25.
  • the pump control device 29 includes an electromagnetic valve, for example, and is controlled by a command signal from the controller 27.
  • the controller 27 controls the pump control device 29 to control the capacity of the hydraulic pump 25.
  • the hydraulic pump 25, the cylinders 21-23, and the swing motor 28 are connected by a hydraulic circuit via a control valve 31.
  • the control valve 31 is controlled by a command signal from the controller 27.
  • the control valve 31 controls the flow rate of the hydraulic oil supplied from the hydraulic pump 25 to the cylinders 21-23 and the swing motor 28.
  • the controller 27 controls the operation of the work machine 12 by controlling the control valve 31. Further, the controller 27 controls the control valve 31 to control the swing of the swing structure 13.
  • the power transmission device 26 transmits the driving force of the engine 24 to the support body 14.
  • the power transmission device 26 may be, for example, a torque converter or a transmission having a plurality of transmission gears.
  • the power transmission device 26 may be another type of transmission such as HST (Hydro Static Transmission) or HMT (Hydraulic Mechanical Transmission).
  • the controller 27 is programmed to control the work machine 1 based on the acquired data.
  • the controller 27 causes the work machine 1 to travel by controlling the engine 24, the support body 14, and the power transmission device 26.
  • the controller 27 operates the working machine 12 by controlling the engine 24, the hydraulic pump 25, and the control valve 31.
  • the controller 27 includes a first processor 271 such as a CPU or GPU and a memory 272.
  • the first processor 271 performs processing for automatic control of the work machine 1.
  • the memory 272 stores data and programs for automatic control of the work machine 1.
  • the memory 272 includes a volatile memory and a non-volatile memory.
  • the work machine 1 includes load sensors 32a-32c.
  • the load sensors 32a-32c detect the load applied to the work machine 12 and output load data indicating the load.
  • the load sensors 32a-32c are hydraulic pressure sensors, and detect the hydraulic pressures of the cylinders 21-23, respectively.
  • the load data indicates the hydraulic pressure of the cylinders 21-23.
  • the controller 27 is communicably connected to the load sensors 32a-32c by wire or wirelessly. The controller 27 receives load data from the load sensors 32a-32c.
  • the work machine 1 includes a first position sensor 33, work machine sensors 34a-34c, and a turning angle sensor 39.
  • the first position sensor 33 detects the position of the work machine 1 and outputs position data indicating the position of the work machine 1.
  • the first position sensor 33 includes a GNSS (Global Navigation Satellite System) receiver and an IMU (Inertial Measurement Unit).
  • the GNSS receiver is, for example, a receiver for GPS (Global Positioning System).
  • the position data includes data indicating the position of the work machine 1 output by the GNSS receiver and data indicating the attitude of the vehicle body 11 output by the IMU.
  • the posture of the vehicle body 11 includes, for example, an angle (pitch angle) with respect to the horizontal in the front-rear direction of the work machine 1 and an angle (roll angle) with respect to the horizontal in the work machine 1.
  • the work machine sensors 34a-34c detect the attitude of the work machine 12 and output attitude data indicating the attitude of the work machine 12.
  • the work machine sensors 34a-34c are stroke sensors that detect the stroke amount of the cylinders 21-23, for example.
  • the posture data of the work machine 12 includes the stroke amount of the cylinders 21-23.
  • the work machine sensors 34a-34c may be other sensors such as a sensor that detects the rotation angle of each of the boom 17, the arm 18, and the bucket 19.
  • the turning angle sensor 39 detects a turning angle of the turning body 13 with respect to the support body 14, and outputs turning angle data indicating the turning angle.
  • the controller 27 is connected to the first position sensor 33, the work machine sensors 34a-34c, and the turning angle sensor 39 by wire or wirelessly so as to be communicable.
  • the controller 27 receives the position data of the work machine 1, the attitude data of the work machine 12, and the turning angle data from the first position sensor 33, the work machine sensors 34a-34c, and the turning angle sensor 39, respectively.
  • the controller 27 calculates the blade edge position of the bucket 19 from the position data, the posture data, and the turning angle data.
  • the position data of the work machine 1 indicates the global coordinates of the first position sensor 33.
  • the controller 27 calculates the global coordinates of the blade edge position of the bucket 19 from the global coordinates of the first position sensor 33 based on the attitude data of the work machine 12 and the turning angle data.
  • the work machine 1 includes a terrain sensor 35.
  • the terrain sensor 35 measures the terrain around the work machine 1 and outputs terrain data indicating the terrain measured by the terrain sensor 35.
  • the terrain sensor 35 is attached to the side portion of the swing body 13.
  • the terrain sensor 35 measures the terrain located on the side of the revolving structure 13.
  • the terrain sensor 35 is, for example, a lidar (LIDAR: Laser Imaging Detection and Ranging).
  • the lidar irradiates a laser and measures the reflected light to measure the distance to a plurality of measurement points on the terrain.
  • the topographical data indicates the position of each measurement point with respect to the work machine 1.
  • the work machine 1 includes a first camera 36 and a plurality of second cameras 37.
  • the first camera 36 is attached to the revolving structure 13 toward the front of the revolving structure 13.
  • the first camera 36 photographs the front of the swinging body 13.
  • the first camera 36 is a stereo camera.
  • the first camera 36 outputs the first image data indicating the captured moving image.
  • a plurality of second cameras 37 are attached to the revolving structure 13 toward the left side, the right side, and the rear of the revolving structure 13, respectively.
  • the second camera 37 outputs second image data indicating the captured moving image.
  • the second camera 37 may be a monocular camera. Alternatively, the second camera 37 may be a stereo camera like the first camera 36.
  • the controller 27 is connected to the first camera 36 and the second camera 37 so as to be able to communicate by wire or wirelessly.
  • the controller 27 receives the first image data from the first camera 36.
  • the controller 27 receives the second image data from the second camera 37.
  • the work machine 1 includes a first communication device 38.
  • the first communication device 38 performs data communication with a device external to the work machine 1.
  • the first communication device 38 communicates with the remote computer device 4 outside the work machine 1.
  • the remote computer equipment 4 may be located at the work site. Alternatively, the remote computer equipment 4 may be located in a management center remote from the work site.
  • the remote computer device 4 includes a display 401 and an input device 402.
  • the display 401 displays an image regarding the work machine 1.
  • the display 401 displays an image according to the signal received from the controller 27 via the first communication device 38.
  • the input device 402 is operated by an operator.
  • the input device 402 may include, for example, a touch panel, or may include hardware keys.
  • the remote computer device 4 transmits a signal indicating the command input by the input device 402 to the controller 27 via the first communication device 38. Further, the first communication device 38 performs data communication with the transportation vehicle 2.
  • FIG. 4 is a side view of the transport vehicle 2.
  • the transportation vehicle 2 includes a vehicle main body 51, a traveling body 52, and a luggage carrier 53.
  • the vehicle body 51 is supported so as to be capable of turning with respect to the traveling body 52.
  • the traveling body 52 includes a crawler belt 54.
  • the crawler belt 54 is driven by the driving force of the engine 55 described later, so that the transport vehicle 2 travels.
  • the loading platform 53 is supported by the vehicle body 51. Therefore, the loading platform 53 is supported on the traveling body 52 so as to be capable of turning together with the vehicle body 51.
  • the loading platform 53 is provided so as to be operable in the dumping posture and the transporting posture.
  • the cargo bed 53 indicated by a solid line indicates the position of the cargo bed 53 in the transporting posture.
  • the cargo bed 53 'indicated by a two-dot chain line indicates the position of the cargo bed 53 in the dump posture.
  • the platform 53 In the carrying position, the platform 53 is arranged substantially horizontally. In the dump posture, the platform 53 is inclined with respect to the transport posture.
  • FIG. 5 is a block diagram showing the configuration of the control system of the transportation vehicle 2.
  • the transport vehicle 2 includes an engine 55, a hydraulic pump 56, a power transmission device 57, a lift cylinder 58, a swing motor 59, a controller 61, and a control valve 62.
  • the controller 61 includes a second processor 611 such as a CPU or GPU and a memory 612.
  • the second processor 611 performs processing for automatic control of the transportation vehicle 2.
  • the memory 612 stores data and programs for automatic control of the transport vehicle 2.
  • 612 includes volatile memory and non-volatile memory.
  • the engine 55, the hydraulic pump 56, the power transmission device 57, the controller 61, and the control valve 62 have the same configurations as the engine 24, the hydraulic pump 25, the power transmission device 26, the controller 27, and the control valve 31 of the work machine 1, respectively. , Detailed description is omitted.
  • the lift cylinder 58 is a hydraulic cylinder.
  • the swing motor 59 is a hydraulic motor.
  • the hydraulic fluid discharged from the hydraulic pump 56 is supplied to the lift cylinder 58 and the swing motor 59.
  • the lift cylinder 58 and the swing motor 59 are driven by hydraulic fluid from the hydraulic pump 56.
  • the lift cylinder 58 moves up and down the platform 53. Thereby, the posture of the loading platform 53 is switched between the transporting posture and the dumping posture.
  • the turning motor 59 turns the vehicle body 51 with respect to the traveling body 52.
  • the controller 61 controls the lift cylinder 58 by the control valve 62 to control the operation of the cargo bed 53.
  • the controller 61 also controls the turning of the vehicle body 51 by controlling the turning motor 59 with the control valve 62.
  • the transport vehicle 2 includes a second position sensor 63, a bed sensor 64, and a turning angle sensor 65.
  • the second position sensor 63 like the first position sensor 33 of the work machine 1, includes a GNSS receiver and an IMU.
  • the second position sensor 63 outputs position data.
  • the position data includes data indicating the position of the transportation vehicle 2 and data indicating the attitude of the vehicle body 51.
  • the platform sensor 64 detects the orientation of the platform 53 and outputs platform data indicating the orientation of the platform 53.
  • the platform sensor 64 is, for example, a stroke sensor that detects the stroke amount of the lift cylinder 58.
  • the platform data includes the stroke amount of the lift cylinder 58.
  • the luggage carrier sensor 64 may be another sensor such as a sensor that detects the tilt angle of the luggage carrier 53.
  • the turning angle sensor 65 detects a turning angle of the vehicle body 51 with respect to the traveling body 52, and outputs turning angle data indicating the turning angle.
  • the controller 61 is connected to the second position sensor 63, the bed platform sensor 64, the turning angle sensor 65, and the wired or wireless communication.
  • the controller 61 receives the position data, the bed data, and the turning angle data from the second position sensor 63, the bed sensor 64, and the turning angle sensor 65, respectively.
  • the transport vehicle 2 includes a second communication device 66.
  • the controller 61 of the transport vehicle 2 performs data communication with the controller 27 of the work machine 1 via the second communication device 66.
  • the controller 61 of the transport vehicle 2 transmits the position data, the cargo bed data, and the turning angle data of the transport vehicle 2 via the second communication device 66.
  • the controller 27 of the work machine 1 receives the position data of the transport vehicle 2, the bed data, and the turning angle data via the first communication device 38.
  • the controller 27 of the work machine 1 stores vehicle size data indicating the arrangement and size of the vehicle body 51 of the transport vehicle 2 and the loading platform 53.
  • the controller 27 calculates the position of the platform 53 from the position data of the transport vehicle 2, the platform data, the turning angle data, and the vehicle size data.
  • the controller 61 of the transport vehicle 2 controls the transport vehicle 2 so that the transport vehicle 2 automatically travels between the loading position L2 and a predetermined dump position L3 to reciprocate.
  • the controller 27 of the work machine 1 controls the work machine 1 so that the work machine 1 automatically performs the excavation and loading work described above.
  • 6 and 7 are flowcharts showing the processing in the automatic control mode executed by the controller 27 of the work machine 1.
  • 8 and 9 are flowcharts showing the processing in the automatic control mode executed by the controller 61 of the transport vehicle 2.
  • the controller 27 of the work machine 1 When the controller 27 of the work machine 1 receives the automatic control mode start command, it executes the processing of the automatic control mode shown in FIG. As shown in FIG. 10, the command to start the automatic control mode is output from the remote computer equipment 4 when the operator operates the input device 402 of the remote computer equipment 4 described above, for example.
  • the controller 27 receives the start command via the first communication device 38.
  • the controller 61 of the transport vehicle 2 also receives the start command for the automatic control mode.
  • the controller 61 of the transport vehicle 2 When the controller 61 of the transport vehicle 2 receives the command to start the automatic control mode, the controller 61 executes the process of the automatic control mode shown in FIG. 8.
  • step S101 the controller 27 of the work machine 1 acquires the position of the work machine 1.
  • the controller 27 acquires the position data of the working machine 1, the attitude data of the working machine 12, and the turning angle data from the first position sensor 33, the working machine sensors 34a-34c, and the turning angle sensor 39, respectively. To do.
  • the controller 27 calculates the blade edge position of the bucket 19 from the position data, the work machine data, and the turning angle data.
  • the controller 27 continuously acquires and updates the position of the work machine 1 during the automatic control mode.
  • step S102 the controller 27 determines the target stop position P1 at the loading position L2 of the transport vehicle 2 based on the position of the work machine 1. Specifically, the controller 27 acquires data indicating the direction of the loading position L2 with respect to the work machine 1. The controller 27 obtains the direction of the loading position L2 with respect to the work machine 1 by calculation from the position of the working machine 1 and the loading position L2. Further, the controller 27 acquires data indicating the target offset distance of the transport vehicle 2 with respect to the work machine 1. For example, the target offset distance is stored in the memory 272, and the controller 27 reads the target offset distance from the memory 272.
  • the controller 27 determines the target stop position P1 of the transport vehicle 2 based on the direction of the loading position L2, the target offset distance, and the position of the work machine 1. For example, the controller 27 determines a position distant from the position of the work machine 1 in the direction of the loading position L2 by the target offset distance as the target stop position P1 of the transport vehicle 2.
  • step S103 the controller 27 determines the allowable stop range A1 of the transport vehicle 2.
  • the allowable stop range A1 is a range located in the loading position L2 direction with respect to the work machine 1, and includes the target stop position P1.
  • the controller 27 determines the allowable stop range A1 from the position of the work machine 1.
  • the allowable stop range A1 will be described later.
  • step S104 the controller 27 communicates with the transportation vehicle 2.
  • the controller 27 transmits the target stop position P1 to the transport vehicle 2.
  • step S201 the controller 61 of the transport vehicle 2 communicates with the work machine 1.
  • the controller 61 of the transport vehicle 2 receives the target stop position P1 transmitted by the controller 27 of the work machine 1 via the second communication device 66.
  • step S202 the controller 61 acquires the position of the transport vehicle 2.
  • the controller 27 acquires the position data, the cargo bed data, and the turning angle data of the transport vehicle 2 from the second position sensor 63, the cargo bed sensor 64, and the turning angle sensor 65, respectively.
  • the controller 61 continuously acquires and updates the position of the transport vehicle 2 during the automatic control mode.
  • step S203 the controller 61 acquires area data.
  • the area data includes data indicating the topography of the work site. Further, the area data includes data indicating the prohibited areas A2 and A3 of the transport vehicle 2 shown in FIG.
  • step S204 the controller 61 determines the target travel route R1.
  • the target travel route R1 is a route from the current position of the transport vehicle 2 to the target stop position P1.
  • the controller 61 determines the target travel route R1 from the area data described above, the position data of the transport vehicle 2, and the target stop position P1.
  • the controller 61 determines the target travel route R1 so as to avoid the inaccessible areas A2 and A3.
  • the controller 61 determines the target travel route R1 so as to avoid the inaccessible areas A2 and A3 and minimize the moving distance of the transport vehicle 2.
  • the controller 61 may determine the target travel route R1 in consideration of factors other than the entry prohibition areas A2 and A3.
  • step S205 the controller 61 causes the transport vehicle 2 to start moving.
  • the controller 61 controls the transport vehicle 2 so that the transport vehicle 2 moves to the target stop position P1 along the target travel route R1.
  • step S206 shown in FIG. 9 the controller 61 determines whether the transport vehicle 2 is located in the prohibited areas A2 and A3. The controller 61 determines that the transport vehicle 2 is located in the inaccessible areas A2 and A3 from the current position of the transport vehicle 2 indicated by the position data of the transport vehicle 2 and the inaccessible areas A2 and A3 indicated by the area data. Determine if
  • the controller 61 transmits an automatic control stop command to the work machine 1 in step S214. Further, in step S215, the controller 61 stops the work of the transport vehicle 2. For example, the controller 61 stops the transportation vehicle 2. Alternatively, the controller 61 may return the transport vehicle 2 to the dump position L3.
  • the controller 27 of the work machine 1 receives the automatic control stop command from the transport vehicle 2 in step S105, the controller 27 stops the work of the work machine 1 in step S111.
  • the controller 61 stops the work machine 1.
  • step S207 the controller 61 determines whether the departure distance D1 is larger than a predetermined threshold Th1.
  • the deviation distance D1 is the distance that the transport vehicle 2 is away from the target travel route R1.
  • the controller 61 calculates the deviation distance D1 from the current position of the transportation vehicle 2 indicated by the position data of the transportation vehicle 2 and the target travel route R1.
  • the predetermined threshold Th1 is stored in the memory 612, for example.
  • the controller 61 transmits a command to stop the automatic control to the work machine 1 in step S214, similarly to the above. Further, in step S215, the controller 61 stops the work.
  • step S208 the controller 61 determines whether the transport vehicle 2 has reached the target stop position P1.
  • the controller 61 determines whether the transport vehicle 2 has reached the target stop position P1 from the current position of the transport vehicle 2 indicated by the position data of the transport vehicle 2 and the target stop position P1.
  • the controller 27 determines that the transport vehicle 2 has reached the target stop position P1 when the position of the reference point P2 included in the transport vehicle 2 matches or substantially matches the target stop position P1.
  • the reference point P2 of the transport vehicle 2 is the turning center of the loading platform 53.
  • the reference point P2 of the transport vehicle 2 may be another position of the transport vehicle 2.
  • the reference point P2 of the transport vehicle 2 may be a center point in the front-rear direction and the width direction of the transport vehicle 2.
  • the controller 61 stops the transport vehicle 2 in step S209.
  • step S106 the controller 27 of the work machine 1 determines whether the transport vehicle 2 has stopped. For example, the controller 27 determines whether the transportation vehicle 2 has stopped from the position data of the transportation vehicle 2 received from the transportation vehicle 2. Alternatively, the controller 27 stops the transportation vehicle 2 by the image recognition technique based on the first image data output from the first camera 36 and / or the second image data output from the second camera 37. You may judge whether. When the transport vehicle 2 has stopped, the process proceeds to step S107.
  • step S107 the controller 27 determines whether the transport vehicle 2 is located within the allowable stop range A1.
  • the allowable stop range A1 is a range including the target stop position P1, and the controller 27 determines the allowable stop range A1 from the position of the work machine 1.
  • FIG. 14 is a diagram showing an example of the allowable stop range A1. The controller 27 determines the allowable stop range A1 based on the distance from the work machine 1 and the excavation position L1.
  • the allowable stop range A1 is a range in which the distance from the swing center C1 of the swing structure 13 is within the first distance threshold Td1.
  • the allowable stop range A1 is a range in which the distance from the swing center C1 of the swing structure 13 is the second distance threshold Td2 or more.
  • the first distance threshold Td1 is the maximum value of the distance that the blade edge of the bucket 19 can reach.
  • the second distance threshold Td2 is the minimum value of the distance that the blade edge of the bucket 19 can reach.
  • the absolute value of the angle formed by the vector connecting the arbitrary position within the allowable stop range A1 and the turning center C1 with respect to the direction X1 of the loading position L2 with respect to the work machine 1 is an angle threshold value.
  • the range is within Ta1.
  • the support 14 of the work machine 1 is arranged facing the direction X1.
  • the angle threshold Ta1 is a value in a range in which the terrain at the excavation position L1 can be appropriately measured by the terrain sensor 35 during loading.
  • the direction X1 of the loading position L2 with respect to the work machine 1 is 0 degree
  • the counterclockwise direction is a positive value.
  • the controller 27 determines that the transport vehicle 2 is located within the allowable stop range A1 when the position of the reference point P2 of the transport vehicle 2 is located within the allowable stop range A1. For example, the controller 27 determines that the position 2_1 of the transport vehicle 2 shown in FIG. 14 is located within the allowable stop range A1. The controller 27 determines that the positions 2_2 and 2_3 of the transport vehicle 2 illustrated in FIG. 14 are not located within the allowable stop range A1.
  • step S107 when the transport vehicle 2 is not located within the allowable stop range A1, the process proceeds to step S112.
  • step S112 the controller 27 transmits a redo command to the transport vehicle 2.
  • the controller 61 of the transport vehicle 2 receives the redo command in step S210, the controller 61 returns to step S205 and redoes the movement to the target stop position P1.
  • step S107 when the transport vehicle 2 is located within the allowable stop range A1, in step S211, the controller 61 of the transport vehicle 2 adjusts the turning angle of the platform 53 while keeping the transport vehicle 2 stopped.
  • the controller 61 determines the turning angle of the platform 53 with respect to the traveling body 52 based on the position of the work machine 1 and the position of the transport vehicle 2. Specifically, as shown in FIG. 15, the controller 61 causes the platform 53 to face the traveling body 52 so that the platform 53 faces the direction of a straight line X2 that connects the center of rotation C2 of the platform 53 and the center of rotation C1 of the work machine 1.
  • the turning angle of 53 is determined, and the loading platform 53 is turned.
  • the turning angle of the loading platform 53 with respect to the traveling body 52 is determined so that the longitudinal direction of the loading platform 53 coincides with the direction of the straight line X2 that connects the turning center C2 of the loading platform 53 and the turning center C1 of the work machine 1.
  • the rear end of the cargo bed 53 is arranged so as to face the work machine 1 in the direction from the turning center C2 of the cargo bed 53 to the turning center C1 of the work machine 1.
  • the controller 27 of the work machine 1 starts excavating the material and loading the material on the transport vehicle 2 in step S108.
  • the controller 27 acquires the terrain data indicating the current terrain T1 of the excavation position L1 measured by the terrain sensor 35.
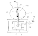
  • the controller 27 determines the excavation route PA1 from the current position of the work machine 1 and the terrain data.
  • the excavation path PA1 is a target locus of the blade edge position of the bucket 19.
  • FIG. 16 is a plan view showing an example of the current topography T1 and excavation route PA1.
  • FIG. 17 is a side view showing an example of the cross section of the current terrain T1 and the excavation path PA1.
  • the controller 27 determines the excavation path PA1 so that the amount of material to be excavated by the work implement 12, for example, the volume or weight, matches the target value.
  • the controller 27 determines the excavation route PA1 so that the volume between the surface of the current terrain T1 and the excavation route PA1 (the hatched portion in FIG. 17) matches the target value. To do.
  • the target value is determined based on the capacity of the bucket 19, for example.
  • the excavation path PA1 includes an excavation start point S1 and an excavation end point E1.
  • the excavation start point S1 and the excavation end point E1 are the intersections of the surface of the terrain T1 and the excavation path PA1.
  • the controller 27 determines the target turning angle when turning down.
  • the controller 27 determines the target turning angle at the time of down turning from the current blade edge position of the bucket 19 and the straight line X3 connecting the turning center C1 of the work machine 1 and the excavation start point S1.
  • the controller 27 turns the revolving unit 13 toward the excavation start point S1 and lowers the blade edge position of the bucket 19 toward the height of the excavation start point S1.
  • the controller 27 controls the work implement 12 so that the blade edge position of the bucket 19 moves according to the excavation path PA1. Thereby, the material is excavated by the working machine 12.
  • the controller 27 determines the target turning angle when turning the hoist.
  • the controller 27 determines the target turning angle at the time of hoist turning from the current blade edge position of the bucket 19 after excavation and the straight line X2 connecting the turning center C1 of the work machine 1 and the turning center C2 of the platform 53.
  • the controller 27 turns the revolving unit 13 toward the earth discharging position P3 and raises the blade edge position of the bucket 19 toward the earth discharging position P3.
  • the earth unloading position P3 is a position on the straight line X2 connecting the turning center C1 of the work machine 1 and the turning center C2 of the loading platform 53 and above the loading platform 53.
  • the controller 27 operates the work machine 12 so as to discharge the material held in the bucket 19 onto the platform 53. As a result, the material is loaded on the loading platform 53.
  • step S109 shown in FIG. 7 the controller 27 determines whether the loading is completed.
  • the controller 27 determines that the loading is completed when the amount of material loaded on the loading platform 53 (hereinafter, referred to as “loading amount”) reaches the allowable amount.
  • the loading amount may be a volume or a weight.
  • the controller 27 calculates the loading amount from the load data. Specifically, the controller 27 calculates the amount of material excavated from the load data. The controller 27 calculates the total amount of the materials loaded on the loading platform 53 as the loading amount.
  • step S109 when the controller 27 determines that the loading is not completed, the material is excavated and the transportation vehicle 2 is loaded again. Then, the excavation of the material and the loading onto the transport vehicle 2 are repeated until it is determined that the loading is completed.
  • step S109 determines in step S109 that the loading is completed, the process proceeds to step S110.
  • step S110 as shown in FIG. 18, the controller 27 transmits a departure command from the loading position L2 to the transport vehicle 2.
  • step S212 the controller 61 of the transport vehicle 2 determines whether or not a departure command has been received.
  • the process proceeds to step S213.
  • step S213 the controller 61 controls the transport vehicle 2 to start moving from the loading position L2 toward the dump position L3.
  • the target stop position P1 of the transport vehicle 2 is determined based on the position of the work machine 1. Then, the transport vehicle 2 is controlled so as to move to the target stop position P1. As a result, the loading operation of the work machine 1 onto the transport vehicle 2 can be performed by automatic control, and the work machine 1 and the transport vehicle 2 can be appropriately linked.
  • the controller 27 of the work machine 1 starts loading the material onto the transport vehicle 2 when the stop position of the transport vehicle 2 is within the allowable stop range A1. Therefore, the material loading can be started even if the position of the transport vehicle 2 is slightly deviated from the target stop position P1. Further, when the position of the transport vehicle 2 is largely deviated from the target stop position P1, loading is not performed. As a result, the loading operation of the work machine 1 onto the transport vehicle 2 can be performed efficiently.
  • the controller 61 of the transport vehicle 2 sends a command to stop the automatic control by the work machine 1 to the work machine 1 when the transport vehicle 2 is located in the inaccessible areas A2 and A3. Further, when the deviation distance D1 of the transport vehicle 2 from the target travel route R1 is larger than a predetermined threshold Th1, the controller 61 sends to the work machine 1 a command to stop the automatic control by the work machine 1. Thereby, when the transport vehicle 2 is not appropriately moved, the automatic control can be quickly stopped.
  • the controller 61 of the transportation vehicle 2 controls the turning angle of the loading platform 53 with respect to the traveling body 52 based on the position of the work machine 1 and the position of the transportation vehicle 2. Thereby, the work of loading the material onto the transport vehicle 2 by the work machine 1 can be easily performed.
  • the work machine 1 is not limited to a hydraulic excavator, but may be another machine such as a wheel loader or a motor grader.
  • the configuration of the work machine 1 is not limited to that of the above embodiment, and may be changed.
  • the work machine 1 may be a vehicle driven by an electric motor.
  • the support body 14 and / or the swing body 13 may be driven by an electric motor.
  • the configuration of the work machine 12 may be changed.
  • the work machine 12 is not limited to the bucket 19, and may include other loading attachments such as a grapple, a fork, and a lifting magnet.
  • the transport vehicle 2 may be a vehicle other than a dump truck.
  • the configuration of the transport vehicle 2 is not limited to that of the above embodiment, and may be changed.
  • the transport vehicle 2 may be a vehicle driven by an electric motor.
  • the traveling body 52 and / or the loading platform 53 may be driven by an electric motor.
  • the bed 53 of the transport vehicle 2 may not be able to turn.
  • the traveling body 52 of the transport vehicle 2 may include tires instead of crawler tracks.
  • the terrain sensor 35 may be arranged in a portion other than the side portion of the swing body 13.
  • the terrain sensor 35 is not limited to a rider, but may be another sensing device such as a radar.
  • the terrain sensor 35 may be a camera, and the controller 27 may recognize the terrain by analyzing an image captured by the camera.
  • the controller 27 calculates the loading amount based on the load data detected by the load sensors 32a-32c. However, the controller 27 may calculate the loading amount based on the image of the loading platform 53 indicated by the first image data.
  • the controller 27 of the work machine 1 is not limited to a single unit, and may be divided into a plurality of controllers.
  • the processing executed by the controller 27 may be distributed to a plurality of controllers and executed. In that case, some of the plurality of controllers may be arranged outside the work machine 1.
  • the controller 61 of the transport vehicle 2 is not limited to an integrated unit and may be divided into a plurality of controllers.
  • the processing executed by the controller 61 may be distributed to a plurality of controllers and executed. In that case, some of the plurality of controllers may be arranged outside the transport vehicle 2.
  • the controller 27 of the work machine 1 and the controller 61 of the transport vehicle 2 may communicate with each other via another controller instead of directly communicating with each other.
  • the process of the automatic control mode executed by the controller 27 is not limited to that of the above-described embodiment, and may be changed.
  • the process of determining the target stop position P1 may be executed by a remote controller arranged outside the work machine 1 and the transportation vehicle 2 or the controller 61 of the transportation vehicle 2.
  • the process of determining the allowable stop range A1 may be executed by the remote controller or the controller 61 of the transport vehicle 2.
  • the determination as to whether the transport vehicle 2 is located in the inaccessible areas A2, A3 may be performed by the remote controller or the controller 27 of the work machine 1.
  • the determination of whether the deviation distance D1 of the transport vehicle 2 from the target travel route R1 is larger than a predetermined threshold value may be performed by the remote controller or the controller 27 of the work machine 1.
  • the determination of the target turning angle of the platform 53 may be executed by the remote controller or the controller 27 of the work machine 1.
  • the target stop position is given to the transport vehicle 2 from the work machine 1.
  • information about the stop direction of the transport vehicle 2 may be given to the transport vehicle 2. Since the bucket 19 of the work machine 1 moves between the excavation position L1 and the target stop position P1 by the turning operation, it is preferable that the front portion of the transport vehicle 2 does not exist in the moving range of the bucket 19. Therefore, if the stopping direction of the transport vehicle 2 is given to the transport vehicle 2 in advance and the transport vehicle 2 is appropriately stopped, the influence of the transport vehicle 2 on the loading operation can be reduced. This is particularly effective for the transport vehicle 2 having a fixed load platform that does not turn.
  • the loading operation of the work machine onto the transport vehicle can be performed by automatic control, and the work machine and the transport vehicle can be appropriately linked.

Landscapes

  • Engineering & Computer Science (AREA)
  • Mining & Mineral Resources (AREA)
  • Structural Engineering (AREA)
  • General Engineering & Computer Science (AREA)
  • Civil Engineering (AREA)
  • Physics & Mathematics (AREA)
  • Automation & Control Theory (AREA)
  • General Physics & Mathematics (AREA)
  • Remote Sensing (AREA)
  • Radar, Positioning & Navigation (AREA)
  • Aviation & Aerospace Engineering (AREA)
  • Mechanical Engineering (AREA)
  • Life Sciences & Earth Sciences (AREA)
  • General Life Sciences & Earth Sciences (AREA)
  • Paleontology (AREA)
  • Operation Control Of Excavators (AREA)
  • Control Of Position, Course, Altitude, Or Attitude Of Moving Bodies (AREA)
PCT/JP2019/036532 2018-10-10 2019-09-18 運搬車両と運搬車両に素材を積み込む作業機械とを含むシステム、方法、及び作業機械 Ceased WO2020075458A1 (ja)

Priority Applications (3)

Application Number Priority Date Filing Date Title
DE112019003683.1T DE112019003683T5 (de) 2018-10-10 2019-09-18 System, das ein Förderfahrzeug enthält, und Arbeitsmaschine, die Materialien auf das Förderfahrzeug lädt, Verfahren und Arbeitsmaschine
CN201980045277.7A CN112384661B (zh) 2018-10-10 2019-09-18 运输车辆、包括向运输车辆装载原材料的作业机械的系统、方法以及作业机械
US17/264,116 US11914380B2 (en) 2018-10-10 2019-09-18 System including conveyance vehicle and work machine that loads materials onto conveyance vehicle, method and work machine

Applications Claiming Priority (2)

Application Number Priority Date Filing Date Title
JP2018191789A JP7156898B2 (ja) 2018-10-10 2018-10-10 運搬車両と運搬車両に素材を積み込む作業機械とを含むシステム、方法、及び作業機械
JP2018-191789 2018-10-10

Publications (1)

Publication Number Publication Date
WO2020075458A1 true WO2020075458A1 (ja) 2020-04-16

Family

ID=70164292

Family Applications (1)

Application Number Title Priority Date Filing Date
PCT/JP2019/036532 Ceased WO2020075458A1 (ja) 2018-10-10 2019-09-18 運搬車両と運搬車両に素材を積み込む作業機械とを含むシステム、方法、及び作業機械

Country Status (5)

Country Link
US (1) US11914380B2 (enExample)
JP (1) JP7156898B2 (enExample)
CN (1) CN112384661B (enExample)
DE (1) DE112019003683T5 (enExample)
WO (1) WO2020075458A1 (enExample)

Cited By (1)

* Cited by examiner, † Cited by third party
Publication number Priority date Publication date Assignee Title
WO2022064969A1 (ja) * 2020-09-25 2022-03-31 コベルコ建機株式会社 自動積込システム

Families Citing this family (13)

* Cited by examiner, † Cited by third party
Publication number Priority date Publication date Assignee Title
JP7450491B2 (ja) * 2020-07-31 2024-03-15 日立建機株式会社 無人作業機械
JP7450492B2 (ja) * 2020-07-31 2024-03-15 日立建機株式会社 無人作業機械
WO2022024931A1 (ja) * 2020-07-31 2022-02-03 日立建機株式会社 無人作業機械
JP7484623B2 (ja) * 2020-09-25 2024-05-16 コベルコ建機株式会社 停止指示システム
JP7354975B2 (ja) * 2020-09-25 2023-10-03 コベルコ建機株式会社 停止指示システム
JP7374142B2 (ja) * 2021-03-01 2023-11-06 日立建機株式会社 ホイールローダ
CN116897235A (zh) * 2021-03-05 2023-10-17 拓普康定位系统公司 用于对土方机械的循环操作进行自动控制的方法
JP7713377B2 (ja) * 2021-12-01 2025-07-25 大成建設株式会社 施工支援システム、施工支援方法、および演算装置
JP2023103810A (ja) * 2022-01-14 2023-07-27 日立建機株式会社 作業機械
US12110660B2 (en) 2022-02-24 2024-10-08 Caterpillar Inc. Work machine 3D exclusion zone
CN115187894A (zh) * 2022-06-14 2022-10-14 国网浙江省电力有限公司 基于传感器和聚类分析模型的机耗量智能计量方法及系统
JP2024085103A (ja) * 2022-12-14 2024-06-26 株式会社小松製作所 作業機械を含むシステム、作業機械の制御方法、および作業機械のコントローラ
CN116479972B (zh) * 2023-04-18 2025-12-02 网易灵动(杭州)科技有限公司 信息控制方法、装置、电子设备和存储介质

Citations (8)

* Cited by examiner, † Cited by third party
Publication number Priority date Publication date Assignee Title
JPH0986262A (ja) * 1995-09-26 1997-03-31 Komatsu Ltd 上部旋回式クローラダンプの操作レバー及びペダル
JP2000192514A (ja) * 1998-12-28 2000-07-11 Hitachi Constr Mach Co Ltd 自動運転建設機械およびその運転方法
US20120136509A1 (en) * 2010-11-30 2012-05-31 Everett Bryan J Machine control system having autonomous resource queuing
JP2013002161A (ja) * 2011-06-17 2013-01-07 Komatsu Ltd 無人走行車両の走行禁止領域設定システム及び無人走行車両の走行禁止領域設定用コンピュータプログラム
WO2013058247A1 (ja) * 2011-10-17 2013-04-25 日立建機株式会社 ダンプトラック停車位置方向指示システムおよび運搬システム
WO2014119711A1 (ja) * 2013-01-31 2014-08-07 日立建機株式会社 運搬機械の位置調整システム
WO2015151359A1 (ja) * 2014-03-31 2015-10-08 日立建機株式会社 車両走行管制システム及び管制サーバ
WO2016167375A1 (ja) * 2016-04-28 2016-10-20 株式会社小松製作所 作業機械の管理装置

Family Cites Families (5)

* Cited by examiner, † Cited by third party
Publication number Priority date Publication date Assignee Title
US4027772A (en) * 1975-04-17 1977-06-07 Fulton Industries, Inc. Protective circuit for overload sensor
US8862390B2 (en) * 2011-03-31 2014-10-14 Hitachi Construction Machinery Co., Ltd. Position adjustment assistance system for transportation machine
US8825314B2 (en) * 2012-07-31 2014-09-02 Caterpillar Inc. Work machine drive train torque vectoring
CN104541250B (zh) * 2013-08-20 2017-11-24 株式会社小松制作所 建筑机械用控制器
JP7245581B2 (ja) * 2018-10-10 2023-03-24 株式会社小松製作所 運搬車両に素材を積み込む作業機械を制御するためのシステム及び方法

Patent Citations (8)

* Cited by examiner, † Cited by third party
Publication number Priority date Publication date Assignee Title
JPH0986262A (ja) * 1995-09-26 1997-03-31 Komatsu Ltd 上部旋回式クローラダンプの操作レバー及びペダル
JP2000192514A (ja) * 1998-12-28 2000-07-11 Hitachi Constr Mach Co Ltd 自動運転建設機械およびその運転方法
US20120136509A1 (en) * 2010-11-30 2012-05-31 Everett Bryan J Machine control system having autonomous resource queuing
JP2013002161A (ja) * 2011-06-17 2013-01-07 Komatsu Ltd 無人走行車両の走行禁止領域設定システム及び無人走行車両の走行禁止領域設定用コンピュータプログラム
WO2013058247A1 (ja) * 2011-10-17 2013-04-25 日立建機株式会社 ダンプトラック停車位置方向指示システムおよび運搬システム
WO2014119711A1 (ja) * 2013-01-31 2014-08-07 日立建機株式会社 運搬機械の位置調整システム
WO2015151359A1 (ja) * 2014-03-31 2015-10-08 日立建機株式会社 車両走行管制システム及び管制サーバ
WO2016167375A1 (ja) * 2016-04-28 2016-10-20 株式会社小松製作所 作業機械の管理装置

Cited By (9)

* Cited by examiner, † Cited by third party
Publication number Priority date Publication date Assignee Title
WO2022064969A1 (ja) * 2020-09-25 2022-03-31 コベルコ建機株式会社 自動積込システム
JP2022054119A (ja) * 2020-09-25 2022-04-06 コベルコ建機株式会社 自動積込システム
JP2024015339A (ja) * 2020-09-25 2024-02-01 コベルコ建機株式会社 作業機械
JP2024045658A (ja) * 2020-09-25 2024-04-02 コベルコ建機株式会社 自動積込システム
JP2024045659A (ja) * 2020-09-25 2024-04-02 コベルコ建機株式会社 自動積込システム
JP7559914B2 (ja) 2020-09-25 2024-10-02 コベルコ建機株式会社 作業機械
JP7605355B2 (ja) 2020-09-25 2024-12-24 コベルコ建機株式会社 自動積込システム
JP2025003488A (ja) * 2020-09-25 2025-01-09 コベルコ建機株式会社 自動積込システム
JP7757031B2 (ja) 2020-09-25 2025-10-21 コベルコ建機株式会社 自動積込システム

Also Published As

Publication number Publication date
US11914380B2 (en) 2024-02-27
US20210165414A1 (en) 2021-06-03
CN112384661A (zh) 2021-02-19
JP2020060032A (ja) 2020-04-16
JP7156898B2 (ja) 2022-10-19
DE112019003683T5 (de) 2021-06-24
CN112384661B (zh) 2023-03-21

Similar Documents

Publication Publication Date Title
JP7156898B2 (ja) 運搬車両と運搬車両に素材を積み込む作業機械とを含むシステム、方法、及び作業機械
JP7204366B2 (ja) 作業機械を制御するためのシステム及び方法
JP7274831B2 (ja) 作業機械
JP7199865B2 (ja) 作業機械を制御するためのシステム及び方法
JP7245581B2 (ja) 運搬車両に素材を積み込む作業機械を制御するためのシステム及び方法
JP7265323B2 (ja) 作業機械を制御するためのシステム及び方法
JP7236826B2 (ja) 作業機械
CN111757961B (zh) 用于控制作业机械的系统以及方法

Legal Events

Date Code Title Description
121 Ep: the epo has been informed by wipo that ep was designated in this application

Ref document number: 19870369

Country of ref document: EP

Kind code of ref document: A1

122 Ep: pct application non-entry in european phase

Ref document number: 19870369

Country of ref document: EP

Kind code of ref document: A1