WO2020031849A1 - ブレーカー及び安全回路 - Google Patents

ブレーカー及び安全回路 Download PDF

Info

Publication number
WO2020031849A1
WO2020031849A1 PCT/JP2019/030245 JP2019030245W WO2020031849A1 WO 2020031849 A1 WO2020031849 A1 WO 2020031849A1 JP 2019030245 W JP2019030245 W JP 2019030245W WO 2020031849 A1 WO2020031849 A1 WO 2020031849A1
Authority
WO
WIPO (PCT)
Prior art keywords
movable piece
case
contact
fixed contact
movable
Prior art date
Legal status (The legal status is an assumption and is not a legal conclusion. Google has not performed a legal analysis and makes no representation as to the accuracy of the status listed.)
Ceased
Application number
PCT/JP2019/030245
Other languages
English (en)
French (fr)
Japanese (ja)
Inventor
将起 吉岡
Current Assignee (The listed assignees may be inaccurate. Google has not performed a legal analysis and makes no representation or warranty as to the accuracy of the list.)
Bourns KK
Original Assignee
Bourns KK
Priority date (The priority date is an assumption and is not a legal conclusion. Google has not performed a legal analysis and makes no representation as to the accuracy of the date listed.)
Filing date
Publication date
Application filed by Bourns KK filed Critical Bourns KK
Priority to CN201980050717.8A priority Critical patent/CN112514021A/zh
Publication of WO2020031849A1 publication Critical patent/WO2020031849A1/ja
Anticipated expiration legal-status Critical
Ceased legal-status Critical Current

Links

Images

Classifications

    • HELECTRICITY
    • H01ELECTRIC ELEMENTS
    • H01HELECTRIC SWITCHES; RELAYS; SELECTORS; EMERGENCY PROTECTIVE DEVICES
    • H01H37/00Thermally-actuated switches
    • H01H37/02Details
    • H01H37/04Bases; Housings; Mountings
    • HELECTRICITY
    • H01ELECTRIC ELEMENTS
    • H01HELECTRIC SWITCHES; RELAYS; SELECTORS; EMERGENCY PROTECTIVE DEVICES
    • H01H37/00Thermally-actuated switches
    • H01H37/02Details
    • H01H37/32Thermally-sensitive members
    • H01H37/52Thermally-sensitive members actuated due to deflection of bimetallic element
    • H01H37/54Thermally-sensitive members actuated due to deflection of bimetallic element wherein the bimetallic element is inherently snap acting

Definitions

  • the present invention relates to a small breaker or the like suitable for use in a safety circuit of an electric device.
  • breakers have been used as protection devices (safety circuits) for secondary batteries, motors, and the like of various electrical devices.
  • the breaker is activated when the temperature of the secondary battery during charging / discharging rises excessively, or when an abnormal condition occurs, such as when an overcurrent flows through a motor or the like provided in a device such as an automobile or a home appliance. Cut off the current to protect the secondary battery and motor.
  • the breaker used as such a protection device operates accurately (has good temperature characteristics) in accordance with the temperature change and has a stable resistance value when energized in order to ensure the safety of the equipment. Is required.
  • Patent Literature 1 discloses a breaker to which a bimetal is applied as a thermally responsive element.
  • a bimetal is an element in which two types of plate-like metal materials having different coefficients of thermal expansion are laminated, and the shape of the metal material is changed according to a temperature change to control the conduction state of the contact.
  • the breaker disclosed in the document has components such as a fixed piece, a terminal piece, a movable piece, a thermoresponsive element, and a PTC thermistor housed in a case, and the terminals of the fixed piece and the terminal piece protrude from the case. Used by being connected to the electric circuit of the equipment.
  • the breaker when used as a protection device such as a secondary battery mounted on an electric device such as a thin multifunctional mobile phone called a notebook personal computer, a tablet type portable information terminal device or a smartphone,
  • miniaturization is required.
  • users are keen on miniaturization (thinning or reduction in height), and devices newly released from each company are required to secure superiority in design.
  • miniaturization There is a remarkable tendency to be designed in a small size.
  • a breaker mounted together with a secondary battery is also required to be further reduced in size.
  • the present invention has been made to solve the above problems, and provides a breaker that can easily reduce the height while sufficiently securing a gap between a fixed contact and a movable contact in a disconnected state.
  • the purpose is to:
  • a breaker according to the present invention has a fixed contact, an elastic portion formed in a plate shape and elastically deformed, and a movable contact at a tip end of the elastic portion, and the movable contact is pressed against the fixed contact.
  • the movable piece is brought into contact with the movable contact, and the state of the movable piece is changed from a conduction state in which the movable contact comes into contact with the fixed contact to a cut-off state in which the movable contact is separated from the fixed contact by being deformed with a change in temperature.
  • the thermal response element to be shifted the first case accommodating the fixed contact, the movable piece and the thermal response element, and the first case covering the movable piece and the thermal response element and being mounted on the first case.
  • a breaker provided with a second case, wherein an inner surface facing the movable piece of the second case has a direction facing away from the fixed contact in a region facing the fixed contact via the movable piece.
  • Breaker saving unit for saving characterized in that the, is locally formed.
  • the second case includes a plate-shaped cover piece disposed to face the movable piece.
  • the retreat portion penetrates the cover piece.
  • the retreat portion penetrates the second case.
  • the movable piece has a fixing portion fixed by the first case and the second case on a base end side of the elastic portion, and the retreating portion includes a fixing portion of the elastic portion. It is desirable to extend from the area facing the fixed contact to the base end side along the longitudinal direction.
  • an edge of the retreating portion on the base end side is disposed at a position 70% or less of a length of the elastic portion from the base end.
  • the movable piece has a fixing portion fixed by the first case and the second case on a base end side of the elastic portion, and the retreating portion includes a fixing portion of the elastic portion. Extending along the longitudinal direction from the region facing the fixed contact to the base end, the base end edge of the retreating portion is located at a position at least 48% of the length of the elastic portion from the base end. It is desirable to be arranged.
  • a protrusion protruding toward the elastic portion is formed on the inner surface.
  • the elastic portion is plastically deformed by the thermoresponsive element deformed by an overcurrent.
  • a safety circuit according to the present invention includes the above-described breaker.
  • the breaker of the present invention includes a first case accommodating a fixed contact, a movable piece, and a thermally responsive element, and a second case mounted on the first case to cover at least a part of the movable piece and the thermally responsive element.
  • a retreating portion is formed to retreat in a direction away from the fixed contact in a region facing the fixed contact via the movable piece. Therefore, when the movable piece is in the blocking state, the distal end of the elastic portion is accommodated in the retracting portion, so that interference between the distal end and the lid member is suppressed, and the distance between the fixed contact and the movable contact is sufficiently ensured.
  • FIGS. 1 and 3 show the configuration of the breaker.
  • the breaker 1 includes a pair of terminals 22 and 42 that are partially exposed to the outside from the case 10.
  • the terminals 22 and 42 are electrically connected to an external circuit (not shown)
  • the breaker 1 forms a main part of a safety circuit of the electric device.
  • the breaker 1 includes a fixed piece 2 having a fixed contact 21 and a terminal 22, a movable piece 4 having a movable contact 41 at a distal end, a thermally responsive element 5 deformed with a temperature change, and the like. It is constituted by.
  • the fixed piece 2, the movable piece 4, and the thermoresponsive element 5 are housed in the case 10.
  • the case 10 includes a case body (first case) 7, a lid member (second case) 8 mounted on the upper surface of the case body 7, and the like.
  • the fixing piece 2 is formed into a plate shape by, for example, pressing a metal plate containing copper or the like as a main component (in addition, a metal plate of copper-titanium alloy, nickel silver, brass, or the like). It is embedded by insert molding.
  • the fixed contact 21 is formed by cladding, plating, coating, or the like of a material having good conductivity, such as silver, nickel, a nickel-silver alloy, a copper-silver alloy, or a gold-silver alloy.
  • the fixed contact 21 is formed at a position facing the distal end of the fixed piece 2, that is, the movable contact 41, and is exposed to an internal space defined by a concave portion 73 formed inside the case body 7.
  • a terminal 22 is formed at the other end of the fixed piece 2 to be electrically connected to an external circuit.
  • the terminal 22 is exposed from the side wall of the case body 7 and is connected to an external circuit by a method such as welding or soldering.
  • the fixed piece 2 has a buried portion 23 between the fixed contact 21 and the terminal 22.
  • the fixing piece 2 is embedded in the case main body 7 at the embedded portion 23.
  • the movable piece 4 is formed in a plate shape by pressing a metal material mainly containing copper or the like.
  • the movable piece 4 is formed in an arm shape symmetric with respect to a longitudinal center line.
  • a movable contact 41 is formed at the tip of the movable piece 4.
  • the movable contact 41 is formed of a material equivalent to that of the fixed contact 21 by plating or coating.
  • a terminal 42 is formed at the other end of the movable piece 4 to be electrically connected to an external circuit.
  • the terminal 42 is exposed from the side wall of the case main body 7 and is connected to an external circuit by a method such as welding or soldering.
  • the movable piece 4 has a fixed portion 43 and an elastic portion 44 between the movable contact 41 and the terminal 42.
  • the fixing part 43 is formed between the terminal 42 and the elastic part 44.
  • the fixing portion 43 is embedded and fixed in the case 10 by being sandwiched between the case main body 7 and the lid member 8.
  • the fixed portion 43 has a protruding portion 43 a that protrudes in a wing shape in the lateral direction of the movable piece 4 between the terminal 42 and the elastic portion 44. By providing the protruding portion 43a, the fixing portion 43 is sandwiched between the case body 7 and the cover member 8 in a wide and large area, and the movable piece 4 is firmly fixed to the case 10.
  • the elastic part 44 extends from the fixed part 43 to the movable contact 41 side.
  • the elastic portion 44 has a base portion 44s on the side of the fixing portion 43 and a tip portion 44e on the opposite side.
  • the movable contact 41 is formed at the tip 44 e of the elastic portion 44.
  • the elastic part 44 and the movable contact 41 are exposed to the internal space by the recess 73.
  • the fixed portion 43 is fixed by being embedded in the case 10, and the elastic portion 44 is elastically deformed, so that the movable contact 41 formed at the end thereof is pressed against the fixed contact 21 and comes into contact with the fixed contact 2. And the movable piece 4 can be energized.
  • the movable piece 4 is bent or bent at the elastic portion 44 by press working.
  • the degree of bending or bending is not particularly limited as long as the thermoresponsive element 5 can be accommodated, and may be appropriately set in consideration of the operating temperature, the pressing force of the movable contact 41, and the like.
  • the elastic portion 44 has a pair of protrusions (contact portions) 44 a and 44 b protruding toward the thermoresponsive element 5.
  • the protrusions 44a and 44b are in contact with the thermoresponsive element 5, and the deformation of the thermoresponsive element 5 is transmitted to the elastic portion 44 via the protrusions 44a and 44b (see FIGS. 1 and 3).
  • the surface of the movable piece 4 on which the elastic portion 44 faces the thermally responsive element 5 is the first surface.
  • the opposite surface is described as the second surface.
  • the thermally responsive element 5 changes the state of the movable piece 4 from the conductive state in which the movable contact 41 contacts the fixed contact 21 to the cutoff state in which the movable contact 41 is separated from the fixed contact 21.
  • the thermally responsive element 5 has an initial shape curved in an arc shape and is formed by laminating thin plates having different coefficients of thermal expansion. When the operating temperature is reached due to overheating, the curved shape of the thermally responsive element 5 reversely warps with snap motion, and is restored when the temperature falls below the return temperature due to cooling.
  • the initial shape of the thermoresponsive element 5 can be formed by press working.
  • the material and shape of the thermally responsive element 5 are not particularly limited as long as the thermoresponsive element 5 is deformed reversely at an intended temperature.
  • the thermal response element 5 may be made of, for example, copper-nickel-manganese alloy or nickel-chromium-iron alloy on the high expansion side and iron-nickel alloy on the low expansion side, such as nickel silver, brass, and stainless steel. Two kinds of materials having different coefficients of thermal expansion made of various alloys such as steel are laminated and used in combination according to required conditions.
  • the case body 7 and the lid member 8 constituting the case 10 are formed of a thermoplastic resin such as flame-retardant polyamide, polyphenylene sulfide (PPS), liquid crystal polymer (LCP), and polybutylene terephthalate (PBT) having excellent heat resistance.
  • a thermoplastic resin such as flame-retardant polyamide, polyphenylene sulfide (PPS), liquid crystal polymer (LCP), and polybutylene terephthalate (PBT) having excellent heat resistance.
  • PPS polyphenylene sulfide
  • LCP liquid crystal polymer
  • PBT polybutylene terephthalate
  • the case body 7 has a concave portion 73 that forms an internal space for accommodating the fixed contact 21, the movable contact 41, the elastic portion 44, the thermoresponsive element 5, and the like.
  • the concave portion 73 is formed in a shape along the outer edges of the movable piece 4 and the thermally responsive element 5 in plan view. Since the concave portion 73 is formed in the case body 7, the elastic portion 44 can be elastically deformed, and the thermally responsive element 5 can be reversely warped.
  • the lid member 8 is attached to the case main body 7 so as to cover at least a part of the movable piece 4 and the thermally responsive element 5.
  • a cover piece 9 is embedded in the lid member 8 of this embodiment by insert molding.
  • the cover piece 9 is formed in a plate shape by pressing a metal such as the above-described metal containing copper or the like or a metal such as stainless steel.
  • the cover piece 9 contributes to the downsizing of the breaker 1 while increasing the rigidity and strength of the cover member 8 and thus the case 10 as a housing. When sufficient rigidity and strength can be obtained by the resin or the like forming the lid member 8, the cover piece 9 may be omitted from the lid member 8.
  • the lid member 8 is attached to the case body 7, which houses the fixed piece 2, the movable piece 4, and the thermoresponsive element 5 and the like.
  • the case body 7 and the lid member 8 are joined to each other by, for example, ultrasonic welding. At this time, the case body 7 and the lid member 8 are continuously joined over the entire periphery of each outer edge, and the strength and rigidity of the case 10 are improved.
  • FIG. 2 shows the operation of the breaker 1 in a normal charge or discharge state.
  • the thermally responsive element 5 maintains an initial shape (before reverse warpage).
  • the movable contact 41 is pressed toward the fixed contact 21 by the elastic portion 44, the movable contact 41 and the fixed contact 21 come into contact with each other, and the fixed piece 2 and the movable piece 4 of the breaker 1 are brought into a conductive state. You.
  • FIG. 3 shows an operation of the breaker 1 in an overcharged state or an abnormal state.
  • the thermoresponsive element 5 that has reached the operating temperature reversely warps, the elastic portion 44 of the movable piece 4 is pushed up, and the fixed contact 21 and the movable contact 41 are separated.
  • the operating temperature of the thermoresponsive element 5 when the movable piece 4 is pushed up when the thermoresponsive element 5 is deformed inside the breaker 1 is, for example, 70 ° C. to 90 ° C. At this time, the current flowing between the fixed contact 21 and the movable contact 41 is cut off.
  • FIG. 4 is a perspective view of the lid member 8 as viewed from the first surface side.
  • a retreat which retreats in the thickness direction of the lid member 8 (thickness direction of the movable piece 4), that is, in the direction D1 away from the fixed contact 21.
  • a portion 82 is formed.
  • the retracting portion 82 is locally formed in a region opposed to the fixed contact 21 (the distal end portion of the movable piece 4) via the movable piece 4.
  • the retracting portion 82 By forming the retracting portion 82 in the lid member 8, as shown in FIG. 3, when the movable piece 4 is in the blocking state, the distal end portion 44 e of the elastic portion 44 is housed in the retracting portion 82. Thereby, interference between the distal end portion 44e and the lid member 8 is suppressed, and the distance between the fixed contact 21 and the movable contact 41 is sufficiently ensured. Therefore, even if, for some reason, an impact or the like is applied to the breaker 1 in which the movable piece 4 is in the cutoff state, instantaneous conduction between the fixed contact 21 and the movable contact 41 is suppressed. Further, since the retracting portion 82 is locally formed in a region opposed to the fixed contact 21, the height can be easily reduced without enlarging the entire case 10.
  • the retracting portion 82 penetrates a part of the cover piece 9. This makes it possible to easily secure the depth of the retracting portion 82, and to further increase the distance between the fixed contact 21 and the movable contact 41.
  • the notch is formed at the edge of the cover piece 9 to realize the retreat portion 82, but the cover piece 9 extends to the terminal 22 side beyond the area facing the fixed contact 21.
  • the retracting portion 82 may be realized by a through hole formed in the cover piece 9.
  • a concave portion 85 is formed on the inner surface 81 for avoiding interference with the heat responsive element.
  • the second surface of the cover piece 9 is exposed to the internal space of the case 10 by the recess 85.
  • the evacuation section 82 is further depressed from the recess 85. Thereby, the interference between the distal end portion 44e and the lid member 8 is further suppressed.
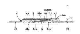
  • FIG. 5 is a plan view of the breaker 1.
  • the retracting part 82 is formed along the outer edge of the elastic part 44.
  • the expression "along the outer edge of the elastic portion 44" means that a clearance (for example, 0.03 mm to 0.30 mm) is formed with a clearance that does not interfere with the outer edge of the elastic portion 44,
  • the form along the outer edge of the thermally responsive element 5 far away from the outer edge of the elastic portion 44 (for example, about 0.80 mm) is excluded.
  • the evacuation section 82 penetrates the lid member 8.
  • the retracting section 82 is configured by a through hole 83 that penetrates the lid member 8 in the thickness direction. Thereby, the interference between the distal end portion 44e and the lid member 8 is more easily suppressed, and the distance between the fixed contact 21 and the movable contact 41 can be further increased in the cutoff state shown in FIG.
  • the thermally responsive element 5 having a large amount of deformation (that is, the amount of pushing up the movable piece 4) at the time of reverse warpage is applied.
  • the deformation of the elastic portion 44 can be expanded to the plastic region.
  • the elastic portion 44 is plastically deformed, so that in the shut-off state shown in FIG. 3, even after the thermoresponsive element 5 is restored to the shape shown in FIG. The reverse warpage of the elastic portion 44 is maintained.
  • the self-holding function of the breaker 1 for holding the cut-off state of the movable piece 4 uses the PTC thermistor disclosed in Patent Document 1. And is realized with a simple configuration. Further, with the configuration in which the PTC thermistor is omitted, further reduction in the height of the breaker 1 can be easily realized.
  • the retracting portion 82 is constituted by the through hole 83, the interference between the distal end portion 44e and the lid member 8 is further suppressed, and the elastic portion 44 can be easily plastically deformed.
  • the thermally responsive element 5 having a large amount of deformation at the time of reverse warpage can be easily realized, for example, by laminating the above-described thin plate materials having a significantly different coefficient of thermal expansion.
  • FIG. 6 shows an enlarged cross section of the breaker 1.
  • the retracting section 82 is formed along the longitudinal direction of the elastic section 44. More specifically, the retracting portion 82 extends from the region of the elastic portion 44 facing the fixed contact 21 toward the fixed portion 43, that is, toward the base end 44s of the elastic portion 44. With such a retracting portion 82, the distal end portion 44e of the elastic portion 44 in the shut-off state is efficiently accommodated.
  • the distance L1 in the longitudinal direction of the movable piece 4 from the base end 44s of the elastic portion 44 to the edge 82e of the retracting portion 82 be equal to or less than 70% of the length L2 of the elastic portion 44 from the base end 44s. That is, it is desirable that the edge 82e is arranged at a position that is 70% or less of the length L2 from the base end 44s.
  • the “length L2 of the elastic portion 44” is a distance from the base end 44s to the distal end of the movable piece 4 on the terminal 22 side. Since the edge 82e is disposed at a position 70% or less of the length L2 from the base end 44s, a sufficient distance between the fixed contact 21 and the movable contact 41 is secured in the cutoff state shown in FIG. It becomes possible.
  • the distance L1 is desirably equal to or greater than 48% of the length L2. That is, it is desirable that the edge 82e is arranged at a position 48% or more of the length L2 from the base end 44s. Since the end edge 82e is arranged at a position 48% or more of the length L2 from the base end 44s, the distal end portion 44e of the elastic portion 44 is moved to the second surface of the lid member 8 in the cutoff state shown in FIG. (Outer surface) is suppressed.
  • a protruding portion 84 protruding toward the elastic portion 44 is formed on the inner surface 81 of the lid member 8.
  • the protrusion 84 is realized by the protrusion 91 formed on the first surface of the cover piece 9.
  • the protruding portion 91 contacts the second surface of the elastic portion 44 in the blocking state shown in FIG. Thereby, the movable piece 4 is pushed up with the contact point between the elastic portion 44 and the protruding portion 91 as a fulcrum, and the distance between the fixed contact 21 and the movable contact 41 is easily maintained. In addition, stress applied to the elastic portion 44 is concentrated around the portion where the elastic portion 44 is in contact with the protruding portion 91, and plastic deformation of the elastic portion 44 is likely to occur. From such a viewpoint, it is desirable that the protruding portion 91 is provided at or near the edge 82e.
  • the breaker 1 of the present invention is not limited to the configuration of the above-described embodiment, and can be implemented in various modes. That is, the breaker 1 has at least the fixed contact 21, the elastic portion 44 formed in a plate shape and elastically deformed, and the movable contact 41 at the tip of the elastic portion 44, and the movable contact 41 is pressed against the fixed contact 21.
  • the movable piece 4 to be brought into contact with the movable piece 4 is deformed in accordance with a change in temperature, thereby changing the state of the movable piece 4 from a conduction state in which the movable contact 41 contacts the fixed contact 21 to a cut-off state in which the movable contact 41 is separated from the fixed contact 21.
  • Evacuate to Saving unit 82 only need to be locally formed.
  • the joining method of the case body 7 and the lid member 8 is not limited to the ultrasonic welding, and may be appropriately applied as long as both are firmly joined. For example, both may be adhered by applying and filling a liquid or gel adhesive and curing the adhesive.
  • the case 10 is not limited to the form constituted by the case main body 7 and the lid member 8 and the like, but may be constituted by two or more parts.
  • the movable piece 4 and the thermally responsive element 5 may be integrally formed by forming the movable piece 4 from a laminated metal such as a bimetal or a trimetal. In this case, the configuration of the breaker 1 and the like is simplified, and the size can be reduced.
  • FIG. 7 shows a secondary battery pack 500.
  • the secondary battery pack 500 includes a secondary battery 501, a breaker 1 provided in an output terminal circuit of the secondary battery 501, and the like.
  • FIG. 8 shows a safety circuit 502 for an electric device.
  • the safety circuit 502 includes a breaker 1 and the like in series in the output circuit of the secondary battery 501.
  • a part of the safety circuit 502 may be configured by a cable including a connector including the breaker 1 and the like.

Landscapes

  • Physics & Mathematics (AREA)
  • Thermal Sciences (AREA)
  • Thermally Actuated Switches (AREA)
PCT/JP2019/030245 2018-08-07 2019-08-01 ブレーカー及び安全回路 Ceased WO2020031849A1 (ja)

Priority Applications (1)

Application Number Priority Date Filing Date Title
CN201980050717.8A CN112514021A (zh) 2018-08-07 2019-08-01 断路器及安全电路

Applications Claiming Priority (2)

Application Number Priority Date Filing Date Title
JP2018148678A JP6997687B2 (ja) 2018-08-07 2018-08-07 ブレーカー及び安全回路
JP2018-148678 2018-08-07

Publications (1)

Publication Number Publication Date
WO2020031849A1 true WO2020031849A1 (ja) 2020-02-13

Family

ID=69415214

Family Applications (1)

Application Number Title Priority Date Filing Date
PCT/JP2019/030245 Ceased WO2020031849A1 (ja) 2018-08-07 2019-08-01 ブレーカー及び安全回路

Country Status (3)

Country Link
JP (1) JP6997687B2 (enExample)
CN (1) CN112514021A (enExample)
WO (1) WO2020031849A1 (enExample)

Cited By (1)

* Cited by examiner, † Cited by third party
Publication number Priority date Publication date Assignee Title
EP4102533A4 (en) * 2020-03-18 2024-02-28 Bourns KK CIRCUIT BREAKER, SAFETY CIRCUIT AND SECONDARY BATTERY PACK

Citations (4)

* Cited by examiner, † Cited by third party
Publication number Priority date Publication date Assignee Title
JPH09161650A (ja) * 1995-12-08 1997-06-20 Yazaki Corp ヒュージブルリンク
JP2003331702A (ja) * 2002-05-08 2003-11-21 Alps Electric Co Ltd 熱応動スイッチ取付け構造及び熱応動スイッチ
JP2013186953A (ja) * 2012-03-06 2013-09-19 Komatsulite Mfg Co Ltd ブレーカー及びそれを備えた安全回路並びに2次電池
JP2015162448A (ja) * 2014-02-28 2015-09-07 株式会社小松ライト製作所 ブレーカー及びそれを備えた安全回路並びに2次電池回路

Family Cites Families (5)

* Cited by examiner, † Cited by third party
Publication number Priority date Publication date Assignee Title
JP2006164763A (ja) * 2004-12-08 2006-06-22 Alps Electric Co Ltd 熱応動スイッチ
JP5918525B2 (ja) * 2011-12-16 2016-05-18 株式会社小松ライト製作所 ブレーカー
US9460876B2 (en) * 2011-12-22 2016-10-04 Komatsulite Mfg. Co., Ltd. Breaker, and safety circuit and secondary battery circuit provided with the same
JP6393119B2 (ja) * 2014-08-29 2018-09-19 ボーンズ株式会社 ブレーカー及びそれを備えた安全回路並びに2次電池回路。
JP2016062729A (ja) * 2014-09-17 2016-04-25 株式会社小松ライト製作所 ブレーカー及びそれを備えた安全回路並びに2次電池回路

Patent Citations (4)

* Cited by examiner, † Cited by third party
Publication number Priority date Publication date Assignee Title
JPH09161650A (ja) * 1995-12-08 1997-06-20 Yazaki Corp ヒュージブルリンク
JP2003331702A (ja) * 2002-05-08 2003-11-21 Alps Electric Co Ltd 熱応動スイッチ取付け構造及び熱応動スイッチ
JP2013186953A (ja) * 2012-03-06 2013-09-19 Komatsulite Mfg Co Ltd ブレーカー及びそれを備えた安全回路並びに2次電池
JP2015162448A (ja) * 2014-02-28 2015-09-07 株式会社小松ライト製作所 ブレーカー及びそれを備えた安全回路並びに2次電池回路

Cited By (2)

* Cited by examiner, † Cited by third party
Publication number Priority date Publication date Assignee Title
EP4102533A4 (en) * 2020-03-18 2024-02-28 Bourns KK CIRCUIT BREAKER, SAFETY CIRCUIT AND SECONDARY BATTERY PACK
US12183526B2 (en) 2020-03-18 2024-12-31 Bourns Kk Breaker, safety circuit and secondary battery pack

Also Published As

Publication number Publication date
CN112514021A (zh) 2021-03-16
JP2020024852A (ja) 2020-02-13
JP6997687B2 (ja) 2022-01-18

Similar Documents

Publication Publication Date Title
CN110651349B (zh) 断路器及具备该断路器的安全电路
JP7064350B2 (ja) ブレーカー及びそれを備えた安全回路
US11329325B2 (en) Breaker and safety circuit provided with same
JP6997685B2 (ja) 電流遮断装置、安全回路及び2次電池パック
JP6997689B2 (ja) ブレーカー、安全回路及び2次電池パック
JP6085116B2 (ja) ブレーカー及びそれを備えた安全回路並びに2次電池
WO2019124338A1 (ja) ブレーカー及びそれを備えた安全回路
JP6085104B2 (ja) ブレーカー及びインサート成型品、並びにブレーカーを備えた安全回路及び2次電池パック
JP5941301B2 (ja) ブレーカー及びそれを備えた安全回路並びに2次電池
JP6457810B2 (ja) ブレーカー及びそれを備えた安全回路並びに2次電池回路。
JP6267479B2 (ja) ブレーカー及びそれを備えた安全回路並びに2次電池回路
JP2017103118A (ja) ブレーカー並びにそれを備えた安全回路及び2次電池回路。
WO2020022298A1 (ja) ブレーカー、安全回路及び2次電池パック
WO2020031849A1 (ja) ブレーカー及び安全回路
JP7083742B2 (ja) 熱応動素子、ブレーカー、安全回路及び2次電池パック
JP6085107B2 (ja) ブレーカー及びそれを備えた安全回路並びに2次電池回路
JP6777438B2 (ja) ブレーカー及びそれを備えた安全回路並びにコネクタ。
JP6831186B2 (ja) ブレーカー及びそれを備えた安全回路並びに2次電池回路。
JP2018060746A (ja) ブレーカー並びにそれを備えた安全回路及び2次電池パック。
WO2020095694A1 (ja) 熱応動素子、ブレーカー、安全回路及び2次電池パック

Legal Events

Date Code Title Description
121 Ep: the epo has been informed by wipo that ep was designated in this application

Ref document number: 19848632

Country of ref document: EP

Kind code of ref document: A1

NENP Non-entry into the national phase

Ref country code: DE

122 Ep: pct application non-entry in european phase

Ref document number: 19848632

Country of ref document: EP

Kind code of ref document: A1