WO2020004486A1 - オンラインサービス提供システム、アプリケーションプログラム - Google Patents

オンラインサービス提供システム、アプリケーションプログラム Download PDF

Info

Publication number
WO2020004486A1
WO2020004486A1 PCT/JP2019/025434 JP2019025434W WO2020004486A1 WO 2020004486 A1 WO2020004486 A1 WO 2020004486A1 JP 2019025434 W JP2019025434 W JP 2019025434W WO 2020004486 A1 WO2020004486 A1 WO 2020004486A1
Authority
WO
WIPO (PCT)
Prior art keywords
user
service providing
server
procedure
user device
Prior art date
Legal status (The legal status is an assumption and is not a legal conclusion. Google has not performed a legal analysis and makes no representation as to the accuracy of the status listed.)
Ceased
Application number
PCT/JP2019/025434
Other languages
English (en)
French (fr)
Japanese (ja)
Inventor
尚久 福田
グレッグ ダイクマン
裕昭 横山
渋谷 靖
昌孝 林
Current Assignee (The listed assignees may be inaccurate. Google has not performed a legal analysis and makes no representation or warranty as to the accuracy of the list.)
Japan Communications Inc
Original Assignee
Japan Communications Inc
Priority date (The priority date is an assumption and is not a legal conclusion. Google has not performed a legal analysis and makes no representation as to the accuracy of the date listed.)
Filing date
Publication date
Application filed by Japan Communications Inc filed Critical Japan Communications Inc
Priority to US17/255,455 priority Critical patent/US11617084B2/en
Priority to JP2020527589A priority patent/JP7469756B2/ja
Priority to EP19825083.9A priority patent/EP3817278A4/en
Publication of WO2020004486A1 publication Critical patent/WO2020004486A1/ja
Anticipated expiration legal-status Critical
Priority to JP2023222237A priority patent/JP2024024011A/ja
Ceased legal-status Critical Current

Links

Images

Classifications

    • HELECTRICITY
    • H04ELECTRIC COMMUNICATION TECHNIQUE
    • H04WWIRELESS COMMUNICATION NETWORKS
    • H04W12/00Security arrangements; Authentication; Protecting privacy or anonymity
    • H04W12/40Security arrangements using identity modules
    • HELECTRICITY
    • H04ELECTRIC COMMUNICATION TECHNIQUE
    • H04LTRANSMISSION OF DIGITAL INFORMATION, e.g. TELEGRAPHIC COMMUNICATION
    • H04L9/00Cryptographic mechanisms or cryptographic arrangements for secret or secure communications; Network security protocols
    • H04L9/32Cryptographic mechanisms or cryptographic arrangements for secret or secure communications; Network security protocols including means for verifying the identity or authority of a user of the system or for message authentication, e.g. authorization, entity authentication, data integrity or data verification, non-repudiation, key authentication or verification of credentials
    • H04L9/3226Cryptographic mechanisms or cryptographic arrangements for secret or secure communications; Network security protocols including means for verifying the identity or authority of a user of the system or for message authentication, e.g. authorization, entity authentication, data integrity or data verification, non-repudiation, key authentication or verification of credentials using a predetermined code, e.g. password, passphrase or PIN
    • GPHYSICS
    • G06COMPUTING OR CALCULATING; COUNTING
    • G06QINFORMATION AND COMMUNICATION TECHNOLOGY [ICT] SPECIALLY ADAPTED FOR ADMINISTRATIVE, COMMERCIAL, FINANCIAL, MANAGERIAL OR SUPERVISORY PURPOSES; SYSTEMS OR METHODS SPECIALLY ADAPTED FOR ADMINISTRATIVE, COMMERCIAL, FINANCIAL, MANAGERIAL OR SUPERVISORY PURPOSES, NOT OTHERWISE PROVIDED FOR
    • G06Q20/00Payment architectures, schemes or protocols
    • G06Q20/30Payment architectures, schemes or protocols characterised by the use of specific devices or networks
    • G06Q20/32Payment architectures, schemes or protocols characterised by the use of specific devices or networks using wireless devices
    • G06Q20/322Aspects of commerce using mobile devices [M-devices]
    • G06Q20/3221Access to banking information through M-devices
    • GPHYSICS
    • G06COMPUTING OR CALCULATING; COUNTING
    • G06QINFORMATION AND COMMUNICATION TECHNOLOGY [ICT] SPECIALLY ADAPTED FOR ADMINISTRATIVE, COMMERCIAL, FINANCIAL, MANAGERIAL OR SUPERVISORY PURPOSES; SYSTEMS OR METHODS SPECIALLY ADAPTED FOR ADMINISTRATIVE, COMMERCIAL, FINANCIAL, MANAGERIAL OR SUPERVISORY PURPOSES, NOT OTHERWISE PROVIDED FOR
    • G06Q20/00Payment architectures, schemes or protocols
    • G06Q20/30Payment architectures, schemes or protocols characterised by the use of specific devices or networks
    • G06Q20/32Payment architectures, schemes or protocols characterised by the use of specific devices or networks using wireless devices
    • G06Q20/322Aspects of commerce using mobile devices [M-devices]
    • G06Q20/3223Realising banking transactions through M-devices
    • GPHYSICS
    • G06COMPUTING OR CALCULATING; COUNTING
    • G06QINFORMATION AND COMMUNICATION TECHNOLOGY [ICT] SPECIALLY ADAPTED FOR ADMINISTRATIVE, COMMERCIAL, FINANCIAL, MANAGERIAL OR SUPERVISORY PURPOSES; SYSTEMS OR METHODS SPECIALLY ADAPTED FOR ADMINISTRATIVE, COMMERCIAL, FINANCIAL, MANAGERIAL OR SUPERVISORY PURPOSES, NOT OTHERWISE PROVIDED FOR
    • G06Q20/00Payment architectures, schemes or protocols
    • G06Q20/30Payment architectures, schemes or protocols characterised by the use of specific devices or networks
    • G06Q20/32Payment architectures, schemes or protocols characterised by the use of specific devices or networks using wireless devices
    • G06Q20/322Aspects of commerce using mobile devices [M-devices]
    • G06Q20/3229Use of the SIM of a M-device as secure element
    • GPHYSICS
    • G06COMPUTING OR CALCULATING; COUNTING
    • G06QINFORMATION AND COMMUNICATION TECHNOLOGY [ICT] SPECIALLY ADAPTED FOR ADMINISTRATIVE, COMMERCIAL, FINANCIAL, MANAGERIAL OR SUPERVISORY PURPOSES; SYSTEMS OR METHODS SPECIALLY ADAPTED FOR ADMINISTRATIVE, COMMERCIAL, FINANCIAL, MANAGERIAL OR SUPERVISORY PURPOSES, NOT OTHERWISE PROVIDED FOR
    • G06Q20/00Payment architectures, schemes or protocols
    • G06Q20/30Payment architectures, schemes or protocols characterised by the use of specific devices or networks
    • G06Q20/32Payment architectures, schemes or protocols characterised by the use of specific devices or networks using wireless devices
    • G06Q20/326Payment applications installed on the mobile devices
    • GPHYSICS
    • G06COMPUTING OR CALCULATING; COUNTING
    • G06QINFORMATION AND COMMUNICATION TECHNOLOGY [ICT] SPECIALLY ADAPTED FOR ADMINISTRATIVE, COMMERCIAL, FINANCIAL, MANAGERIAL OR SUPERVISORY PURPOSES; SYSTEMS OR METHODS SPECIALLY ADAPTED FOR ADMINISTRATIVE, COMMERCIAL, FINANCIAL, MANAGERIAL OR SUPERVISORY PURPOSES, NOT OTHERWISE PROVIDED FOR
    • G06Q20/00Payment architectures, schemes or protocols
    • G06Q20/30Payment architectures, schemes or protocols characterised by the use of specific devices or networks
    • G06Q20/32Payment architectures, schemes or protocols characterised by the use of specific devices or networks using wireless devices
    • G06Q20/326Payment applications installed on the mobile devices
    • G06Q20/3263Payment applications installed on the mobile devices characterised by activation or deactivation of payment capabilities
    • GPHYSICS
    • G06COMPUTING OR CALCULATING; COUNTING
    • G06QINFORMATION AND COMMUNICATION TECHNOLOGY [ICT] SPECIALLY ADAPTED FOR ADMINISTRATIVE, COMMERCIAL, FINANCIAL, MANAGERIAL OR SUPERVISORY PURPOSES; SYSTEMS OR METHODS SPECIALLY ADAPTED FOR ADMINISTRATIVE, COMMERCIAL, FINANCIAL, MANAGERIAL OR SUPERVISORY PURPOSES, NOT OTHERWISE PROVIDED FOR
    • G06Q20/00Payment architectures, schemes or protocols
    • G06Q20/30Payment architectures, schemes or protocols characterised by the use of specific devices or networks
    • G06Q20/34Payment architectures, schemes or protocols characterised by the use of specific devices or networks using cards, e.g. integrated circuit [IC] cards or magnetic cards
    • G06Q20/341Active cards, i.e. cards including their own processing means, e.g. including an IC or chip
    • GPHYSICS
    • G06COMPUTING OR CALCULATING; COUNTING
    • G06QINFORMATION AND COMMUNICATION TECHNOLOGY [ICT] SPECIALLY ADAPTED FOR ADMINISTRATIVE, COMMERCIAL, FINANCIAL, MANAGERIAL OR SUPERVISORY PURPOSES; SYSTEMS OR METHODS SPECIALLY ADAPTED FOR ADMINISTRATIVE, COMMERCIAL, FINANCIAL, MANAGERIAL OR SUPERVISORY PURPOSES, NOT OTHERWISE PROVIDED FOR
    • G06Q20/00Payment architectures, schemes or protocols
    • G06Q20/30Payment architectures, schemes or protocols characterised by the use of specific devices or networks
    • G06Q20/34Payment architectures, schemes or protocols characterised by the use of specific devices or networks using cards, e.g. integrated circuit [IC] cards or magnetic cards
    • G06Q20/355Personalisation of cards for use
    • G06Q20/3552Downloading or loading of personalisation data
    • GPHYSICS
    • G06COMPUTING OR CALCULATING; COUNTING
    • G06QINFORMATION AND COMMUNICATION TECHNOLOGY [ICT] SPECIALLY ADAPTED FOR ADMINISTRATIVE, COMMERCIAL, FINANCIAL, MANAGERIAL OR SUPERVISORY PURPOSES; SYSTEMS OR METHODS SPECIALLY ADAPTED FOR ADMINISTRATIVE, COMMERCIAL, FINANCIAL, MANAGERIAL OR SUPERVISORY PURPOSES, NOT OTHERWISE PROVIDED FOR
    • G06Q20/00Payment architectures, schemes or protocols
    • G06Q20/30Payment architectures, schemes or protocols characterised by the use of specific devices or networks
    • G06Q20/34Payment architectures, schemes or protocols characterised by the use of specific devices or networks using cards, e.g. integrated circuit [IC] cards or magnetic cards
    • G06Q20/357Cards having a plurality of specified features
    • G06Q20/3574Multiple applications on card
    • GPHYSICS
    • G06COMPUTING OR CALCULATING; COUNTING
    • G06QINFORMATION AND COMMUNICATION TECHNOLOGY [ICT] SPECIALLY ADAPTED FOR ADMINISTRATIVE, COMMERCIAL, FINANCIAL, MANAGERIAL OR SUPERVISORY PURPOSES; SYSTEMS OR METHODS SPECIALLY ADAPTED FOR ADMINISTRATIVE, COMMERCIAL, FINANCIAL, MANAGERIAL OR SUPERVISORY PURPOSES, NOT OTHERWISE PROVIDED FOR
    • G06Q20/00Payment architectures, schemes or protocols
    • G06Q20/38Payment protocols; Details thereof
    • G06Q20/382Payment protocols; Details thereof insuring higher security of transaction
    • G06Q20/3823Payment protocols; Details thereof insuring higher security of transaction combining multiple encryption tools for a transaction
    • GPHYSICS
    • G06COMPUTING OR CALCULATING; COUNTING
    • G06QINFORMATION AND COMMUNICATION TECHNOLOGY [ICT] SPECIALLY ADAPTED FOR ADMINISTRATIVE, COMMERCIAL, FINANCIAL, MANAGERIAL OR SUPERVISORY PURPOSES; SYSTEMS OR METHODS SPECIALLY ADAPTED FOR ADMINISTRATIVE, COMMERCIAL, FINANCIAL, MANAGERIAL OR SUPERVISORY PURPOSES, NOT OTHERWISE PROVIDED FOR
    • G06Q20/00Payment architectures, schemes or protocols
    • G06Q20/38Payment protocols; Details thereof
    • G06Q20/40Authorisation, e.g. identification of payer or payee, verification of customer or shop credentials; Review and approval of payers, e.g. check credit lines or negative lists
    • G06Q20/401Transaction verification
    • G06Q20/4014Identity check for transactions
    • HELECTRICITY
    • H04ELECTRIC COMMUNICATION TECHNIQUE
    • H04LTRANSMISSION OF DIGITAL INFORMATION, e.g. TELEGRAPHIC COMMUNICATION
    • H04L63/00Network architectures or network communication protocols for network security
    • H04L63/04Network architectures or network communication protocols for network security for providing a confidential data exchange among entities communicating through data packet networks
    • H04L63/0428Network architectures or network communication protocols for network security for providing a confidential data exchange among entities communicating through data packet networks wherein the data content is protected, e.g. by encrypting or encapsulating the payload
    • H04L63/0442Network architectures or network communication protocols for network security for providing a confidential data exchange among entities communicating through data packet networks wherein the data content is protected, e.g. by encrypting or encapsulating the payload wherein the sending and receiving network entities apply asymmetric encryption, i.e. different keys for encryption and decryption
    • HELECTRICITY
    • H04ELECTRIC COMMUNICATION TECHNIQUE
    • H04LTRANSMISSION OF DIGITAL INFORMATION, e.g. TELEGRAPHIC COMMUNICATION
    • H04L63/00Network architectures or network communication protocols for network security
    • H04L63/08Network architectures or network communication protocols for network security for authentication of entities
    • H04L63/0823Network architectures or network communication protocols for network security for authentication of entities using certificates
    • HELECTRICITY
    • H04ELECTRIC COMMUNICATION TECHNIQUE
    • H04LTRANSMISSION OF DIGITAL INFORMATION, e.g. TELEGRAPHIC COMMUNICATION
    • H04L63/00Network architectures or network communication protocols for network security
    • H04L63/08Network architectures or network communication protocols for network security for authentication of entities
    • H04L63/0853Network architectures or network communication protocols for network security for authentication of entities using an additional device, e.g. smartcard, SIM or a different communication terminal
    • HELECTRICITY
    • H04ELECTRIC COMMUNICATION TECHNIQUE
    • H04LTRANSMISSION OF DIGITAL INFORMATION, e.g. TELEGRAPHIC COMMUNICATION
    • H04L63/00Network architectures or network communication protocols for network security
    • H04L63/08Network architectures or network communication protocols for network security for authentication of entities
    • H04L63/0861Network architectures or network communication protocols for network security for authentication of entities using biometrical features, e.g. fingerprint, retina-scan
    • HELECTRICITY
    • H04ELECTRIC COMMUNICATION TECHNIQUE
    • H04LTRANSMISSION OF DIGITAL INFORMATION, e.g. TELEGRAPHIC COMMUNICATION
    • H04L63/00Network architectures or network communication protocols for network security
    • H04L63/12Applying verification of the received information
    • H04L63/126Applying verification of the received information the source of the received data
    • HELECTRICITY
    • H04ELECTRIC COMMUNICATION TECHNIQUE
    • H04LTRANSMISSION OF DIGITAL INFORMATION, e.g. TELEGRAPHIC COMMUNICATION
    • H04L9/00Cryptographic mechanisms or cryptographic arrangements for secret or secure communications; Network security protocols
    • H04L9/08Key distribution or management, e.g. generation, sharing or updating, of cryptographic keys or passwords
    • H04L9/0816Key establishment, i.e. cryptographic processes or cryptographic protocols whereby a shared secret becomes available to two or more parties, for subsequent use
    • H04L9/0819Key transport or distribution, i.e. key establishment techniques where one party creates or otherwise obtains a secret value, and securely transfers it to the other(s)
    • H04L9/0825Key transport or distribution, i.e. key establishment techniques where one party creates or otherwise obtains a secret value, and securely transfers it to the other(s) using asymmetric-key encryption or public key infrastructure [PKI], e.g. key signature or public key certificates
    • HELECTRICITY
    • H04ELECTRIC COMMUNICATION TECHNIQUE
    • H04LTRANSMISSION OF DIGITAL INFORMATION, e.g. TELEGRAPHIC COMMUNICATION
    • H04L9/00Cryptographic mechanisms or cryptographic arrangements for secret or secure communications; Network security protocols
    • H04L9/32Cryptographic mechanisms or cryptographic arrangements for secret or secure communications; Network security protocols including means for verifying the identity or authority of a user of the system or for message authentication, e.g. authorization, entity authentication, data integrity or data verification, non-repudiation, key authentication or verification of credentials
    • H04L9/321Cryptographic mechanisms or cryptographic arrangements for secret or secure communications; Network security protocols including means for verifying the identity or authority of a user of the system or for message authentication, e.g. authorization, entity authentication, data integrity or data verification, non-repudiation, key authentication or verification of credentials involving a third party or a trusted authority
    • HELECTRICITY
    • H04ELECTRIC COMMUNICATION TECHNIQUE
    • H04LTRANSMISSION OF DIGITAL INFORMATION, e.g. TELEGRAPHIC COMMUNICATION
    • H04L9/00Cryptographic mechanisms or cryptographic arrangements for secret or secure communications; Network security protocols
    • H04L9/32Cryptographic mechanisms or cryptographic arrangements for secret or secure communications; Network security protocols including means for verifying the identity or authority of a user of the system or for message authentication, e.g. authorization, entity authentication, data integrity or data verification, non-repudiation, key authentication or verification of credentials
    • H04L9/3247Cryptographic mechanisms or cryptographic arrangements for secret or secure communications; Network security protocols including means for verifying the identity or authority of a user of the system or for message authentication, e.g. authorization, entity authentication, data integrity or data verification, non-repudiation, key authentication or verification of credentials involving digital signatures
    • HELECTRICITY
    • H04ELECTRIC COMMUNICATION TECHNIQUE
    • H04LTRANSMISSION OF DIGITAL INFORMATION, e.g. TELEGRAPHIC COMMUNICATION
    • H04L9/00Cryptographic mechanisms or cryptographic arrangements for secret or secure communications; Network security protocols
    • H04L9/32Cryptographic mechanisms or cryptographic arrangements for secret or secure communications; Network security protocols including means for verifying the identity or authority of a user of the system or for message authentication, e.g. authorization, entity authentication, data integrity or data verification, non-repudiation, key authentication or verification of credentials
    • H04L9/3263Cryptographic mechanisms or cryptographic arrangements for secret or secure communications; Network security protocols including means for verifying the identity or authority of a user of the system or for message authentication, e.g. authorization, entity authentication, data integrity or data verification, non-repudiation, key authentication or verification of credentials involving certificates, e.g. public key certificate [PKC] or attribute certificate [AC]; Public key infrastructure [PKI] arrangements
    • HELECTRICITY
    • H04ELECTRIC COMMUNICATION TECHNIQUE
    • H04WWIRELESS COMMUNICATION NETWORKS
    • H04W12/00Security arrangements; Authentication; Protecting privacy or anonymity
    • H04W12/03Protecting confidentiality, e.g. by encryption
    • H04W12/033Protecting confidentiality, e.g. by encryption of the user plane, e.g. user's traffic
    • HELECTRICITY
    • H04ELECTRIC COMMUNICATION TECHNIQUE
    • H04WWIRELESS COMMUNICATION NETWORKS
    • H04W12/00Security arrangements; Authentication; Protecting privacy or anonymity
    • H04W12/03Protecting confidentiality, e.g. by encryption
    • H04W12/037Protecting confidentiality, e.g. by encryption of the control plane, e.g. signalling traffic
    • HELECTRICITY
    • H04ELECTRIC COMMUNICATION TECHNIQUE
    • H04WWIRELESS COMMUNICATION NETWORKS
    • H04W12/00Security arrangements; Authentication; Protecting privacy or anonymity
    • H04W12/04Key management, e.g. using generic bootstrapping architecture [GBA]
    • H04W12/041Key generation or derivation
    • HELECTRICITY
    • H04ELECTRIC COMMUNICATION TECHNIQUE
    • H04WWIRELESS COMMUNICATION NETWORKS
    • H04W12/00Security arrangements; Authentication; Protecting privacy or anonymity
    • H04W12/04Key management, e.g. using generic bootstrapping architecture [GBA]
    • H04W12/047Key management, e.g. using generic bootstrapping architecture [GBA] without using a trusted network node as an anchor
    • HELECTRICITY
    • H04ELECTRIC COMMUNICATION TECHNIQUE
    • H04WWIRELESS COMMUNICATION NETWORKS
    • H04W12/00Security arrangements; Authentication; Protecting privacy or anonymity
    • H04W12/06Authentication
    • H04W12/069Authentication using certificates or pre-shared keys
    • HELECTRICITY
    • H04ELECTRIC COMMUNICATION TECHNIQUE
    • H04WWIRELESS COMMUNICATION NETWORKS
    • H04W12/00Security arrangements; Authentication; Protecting privacy or anonymity
    • H04W12/10Integrity
    • H04W12/108Source integrity
    • HELECTRICITY
    • H04ELECTRIC COMMUNICATION TECHNIQUE
    • H04WWIRELESS COMMUNICATION NETWORKS
    • H04W12/00Security arrangements; Authentication; Protecting privacy or anonymity
    • H04W12/60Context-dependent security
    • H04W12/69Identity-dependent
    • H04W12/72Subscriber identity

Definitions

  • the present invention relates to a technique for improving security when using an online service from a portable device.
  • MITM man-in-the-middle attacks
  • MITM attacks use malware and fake sites to hijack communications between online banking users and financial institutions (falsify communications), and illegally transfer money without being noticed by both users and financial institutions.
  • This is an attack method that performs processing and the like.
  • MITB Man ⁇ In ⁇ The ⁇ Browser
  • MITM is also a kind of MITM.
  • remittance processing using the ATM network has been performed for a long time, the risk of cyber attacks has been extremely low because a dedicated line was conventionally used.
  • online services using an open network such as the Internet are exposed to various threats such as an MITM attack.
  • a method using a one-time password issuer is widely used as a security measure. This is done by distributing a one-time password issuer to service users in advance and using the one-time password generated and displayed by the one-time password issuer when logging in to the service or performing remittance processing. This is a method of performing authentication (see Patent Document 1). However, this method has no effect on MITM attacks.
  • a MITB attack which is a type of MITM attack, a user inputs authentication information such as a login ID and a one-time password by malware or a fake site, and the user is spoofed using the authentication information as it is. is there.
  • Transaction authentication is generally realized by a combination of encryption (electronic signature) of a transaction between a user and a server, and confirmation of transaction contents using a session on a path different from a browser.
  • a dedicated device called a token is often used (see Patent Document 2).
  • each financial institution is opening API (Application @ Programming @ Interface) to agents such as account settlement and electronic remittance for electronic payments. I'm advancing. Therefore, in the future, not only the security between the financial institution and the user but also the security between the financial institution (online service provider), the electronic payment agency (intermediate service provider), and the user Need to secure.
  • API Application @ Programming @ Interface
  • the present invention has been made in view of the above circumstances, and has as its object to provide a new security technology capable of realizing the use of a secure service without impairing the convenience of mobile.
  • a further object of the present invention is to provide a new security technique that can ensure a high level of security between an online service provider, an intermediate service provider, and a user.
  • An online service providing system that provides a mechanism that can be safely used from a portable device through an intermediate service provided by a different person from the service provider, the online service provided by the service provider, A service providing server that provides the registered user with the online service through the Internet; An intermediate server that provides the user with the intermediate service through the Internet; An IC chip provided on a user device which is a portable device possessed by the user; An application program that is executed by a main processor included in the user device and causes the user device to function as a terminal for using the intermediate service,
  • the IC chip comprises: At least, personal information used for user authentication to confirm the legitimacy of the person using the user device, a secret key of the user, a public key of the user paired with the secret key, and the public key
  • a memory for temporarily storing an electronic certificate of the user, including: At least, an authentication function for performing the user authentication by comparing information provided from the application program with the personal information, and an electronic signature function for performing an electronic signature using the secret key on data provided from the application program
  • the intermediate server User information storage means for storing an electronic certificate of the user as information on the user,
  • the login request is received from the user device, the validity of the login request is confirmed by verifying the electronic signature included in the login request using the electronic certificate of the user, and the login request is Control means for permitting use of the intermediate service from the user device when it is confirmed as legitimate, and transmitting an access request including the electronic signature included in the login request to the service providing server via the Internet; and , Has,
  • the service providing server, User information storage means for storing an electronic certificate of the user as information on the user When the access request is received from the intermediate server, the access request is checked for validity by verifying the electronic signature included in the access request using the electronic certificate of the user, and the access request is Access control means for permitting the intermediate server to use the online service on behalf of the user when it is confirmed as legitimate;
  • An online service providing system is provided.
  • a second aspect of the present invention provides An intermediate service that is executed by a main processor of a user device that is a portable device possessed by a user and provides the user device with an online service provided by a service providing server through the Internet by an intermediate server different from the service providing server.
  • An application program that functions as a terminal for use through The user equipment includes: At least, personal information used for user authentication to confirm the legitimacy of the person using the user device, a secret key of the user, a public key of the user paired with the secret key, and the public key
  • a memory for temporarily storing an electronic certificate of the user, including: At least, an authentication function for performing the user authentication by comparing information provided from the application program with the personal information, and an electronic signature function for performing an electronic signature using the secret key on data provided from the application program
  • the present invention provides a service providing server or an intermediate server, or a portable device including the IC chip and an application program, or an online service providing method including at least a part of the processing, or the IC. It can also be considered as a method for controlling a portable device including at least a part of the processing by the chip and the application program, or a computer-readable storage medium that temporarily stores the application program.
  • the present invention it is possible to provide a new security technology capable of realizing secure service utilization without impairing the convenience of mobile. Further, according to the present invention, it is possible to provide a new security technique capable of ensuring a high level of security among three users, that is, an online service provider, an intermediate service provider, and a user.
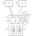
  • FIG. 1 is a diagram showing one of the features of the online service providing system according to the present invention.
  • FIG. 2 is a block diagram illustrating a configuration of a service providing server that provides an online service.
  • FIG. 3 is a block diagram showing a configuration of a user device used to use an online service.
  • FIG. 4 is a diagram schematically showing the appearance and mounting form of the SIM card and the IC card.
  • FIG. 5 is a block diagram schematically showing a hardware configuration of the SIM card and the IC card.
  • FIG. 6 is a block diagram schematically illustrating a logical configuration of the user device and the IC card.
  • FIG. 7 is a diagram illustrating an IC card issuance procedure.
  • FIG. 8 is a diagram illustrating an IC card issuance procedure.
  • FIG. 1 is a diagram showing one of the features of the online service providing system according to the present invention.
  • FIG. 2 is a block diagram illustrating a configuration of a service providing server that provides an online service.
  • FIG. 9 is a diagram showing a data structure of the IC card management database.
  • FIG. 10 is a diagram showing a flow of a registration procedure for an intermediate service.
  • FIG. 11 is a diagram showing the flow of the registration procedure for the intermediate service (continuation of FIG. 10).
  • FIG. 12 is an example of a screen displayed on the user device in the registration procedure for the intermediate service.
  • FIG. 13 is a diagram illustrating a flow of login authentication of the intermediate service.
  • FIG. 14 is an example of a screen displayed on the user device in the login authentication of the intermediate service.
  • FIG. 15 is a diagram showing a flow when using the intermediate service.
  • FIG. 16 is an example of a screen displayed on the user device when using the intermediate service.
  • FIG. 16 is an example of a screen displayed on the user device when using the intermediate service.
  • FIG. 17 is a block diagram schematically illustrating a hardware configuration of a user device including a secure element.
  • FIG. 18 is a block diagram schematically illustrating a hardware configuration of a user device including a SIM card.
  • FIG. 19 is a diagram illustrating post-installation of an electronic certificate.
  • FIG. 20 is a diagram illustrating an example of a mechanism for specifying an IC chip used in the user device when performing communication between the user device and the intermediate server or the service providing server.
  • FIG. 21 is a diagram illustrating an example of a mechanism for specifying an IC chip used in the user device when performing communication between the user device and the intermediate server or the service providing server.
  • FIG. 22 is a diagram showing a flow of a registration procedure for an intermediate service.
  • FIG. 23 is a diagram showing a flow of login authentication of the intermediate service.
  • FIG. 24 is a diagram showing a flow when using the intermediate service.
  • FIG. 25 is a diagram showing the flow of the registration procedure for the intermediate service.
  • FIG. 26 is a diagram showing the flow of the registration procedure for the intermediate service.
  • FIG. 27 is a diagram showing a flow of login authentication of the intermediate service.
  • FIG. 28 is a diagram showing a flow when using the intermediate service.
  • FIGS. 29A to 29C are diagrams showing examples of multistage connection of servers.
  • FIG. 30 is a diagram showing the flow of the registration procedure for the intermediate service.
  • FIG. 31 is a diagram showing a flow of login authentication of the intermediate service.
  • FIG. 32 is a diagram showing a flow of login authentication of the intermediate service.
  • FIG. 33 is a diagram showing a flow when using the intermediate service.
  • FIG. 34 is a diagram showing a flow when using the intermediate service.
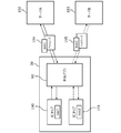
  • FIG. 1 shows a flow of a procedure content signature (transaction signature) using public key cryptography using an IC card called a sub SIM, which is one of the features of the online service providing system according to the present invention.
  • a service provider is a person who provides an online service through the Internet, and corresponds to, for example, a bank which provides an online banking service.
  • the intermediate service provider is a service provider that provides (intermediates) the online service provided by the service provider (hereinafter, referred to as “intermediate service” or “proxy service”).
  • An agent such as an electronic payment agency that provides a web service such as account management, electronic remittance, and income and expenditure management corresponds to this.
  • An application program (hereinafter, also referred to as “app (APP)”) for using an intermediate service is installed in a user device (such as a smartphone) owned by the user, and an IC card called a sub SIM is mounted.
  • the sub SIM stores a secret key unique to the user.
  • the public key that forms a pair with a private key is subject to the Act on Electronic Signatures and Authentication (Act No. 102 of 2000; hereinafter, referred to as the “Electronic Signature Law”). It is assumed that the certificate has been registered in advance with a certification authority that has been accredited based on the certification, and that the certification authority has issued an electronic certificate.
  • the intermediate server transfers the electronic signature and the procedure message to the server of the online service. Then, the server verifies the digital signature using the corresponding digital certificate, and if it is confirmed that the message is a procedural message sent from a valid user and that the content is not falsified, Execute procedures such as transfer according to the contents of the message.
  • a secret key stored in an IC card called a sub SIM and an encryption function provided by the IC card are used, secure data communication can be realized.
  • This private key has a low risk of leakage, and cannot use the secret key or the encryption function without clearing the PIN code, password, or biometric authentication, thus reducing the risk of unauthorized use by a third party. It can be as small as possible.
  • FIG. 2A is a block diagram illustrating a configuration of the intermediate server.
  • the intermediate server 21 is a server that provides an intermediate service provided by an intermediate service provider through the Internet.
  • the intermediate server 21 will be described using an example of an intermediate service that performs various procedures of an online financial transaction service (so-called online banking) by a financial institution such as a bank.
  • online banking online financial transaction service
  • a financial institution such as a bank
  • the present invention is preferably applicable to all kinds of intermediate services.
  • the intermediate server 21 has, as main functions, a user registration unit 210, a user information storage unit 211, a login control unit 212, and a proxy control unit 213.
  • the user registration unit 210 has a function of performing a new user registration process.
  • the user information storage unit 211 is a database that stores and manages information on registered users.
  • the login control unit 212 has a function of controlling whether or not to use an intermediate service and whether or not to access an online service in response to a login request from a user.
  • the proxy control unit 213 has a function of controlling proxy of a corresponding procedure of the online service in response to a procedure request from a user. Details of these functions and their processing will be described later.
  • the intermediate server 21 can be configured by a general-purpose computer including a CPU (processor), a memory (RAM), a storage (HDD, SSD, etc.), a communication I / F, an input / output device, and the like.
  • a general-purpose computer including a CPU (processor), a memory (RAM), a storage (HDD, SSD, etc.), a communication I / F, an input / output device, and the like.
  • the above-described functions and the processing thereof are realized by expanding a program stored in a storage into a memory and executing the program by a CPU.
  • the intermediate server 21 may be configured by one computer, or may be configured by distributed computing or cloud computing. Further, a dedicated computer may be used instead of a general-purpose computer, or the above-described functions or a part of the processing may be constituted by an ASIC or an FPGA instead of software.
  • FIG. 2B is a block diagram illustrating a configuration of the service providing server.
  • the service providing server 20 is a server that provides an online service (Web service) by a service provider through the Internet.
  • Web service an online service
  • the service providing server 20 will be described by taking an example of an online financial transaction service (so-called online banking) by a financial institution such as a bank.
  • this is merely one application example, and the present invention is applicable to all kinds of services. It is preferably applicable to online services.
  • the service providing server 20 has a user registration unit 200, a user information storage unit 201, an access control unit 202, and a procedure control unit 203 as main functions.
  • the user registration unit 200 has a function of performing a new user registration process.
  • the user information storage unit 201 is a database that stores and manages information on registered users.
  • the access control unit 202 has a function of controlling whether or not to access an online service in response to an access request from the intermediate server 21.
  • the procedure control unit 203 has a function of controlling execution of a corresponding procedure of the online service in response to a procedure request from the intermediate server 21. Details of these functions and their processing will be described later.
  • the service providing server 20 can be configured by, for example, a general-purpose computer including a CPU (processor), a memory (RAM), a storage (HDD, SSD, etc.), a communication I / F, an input / output device, and the like.
  • a general-purpose computer including a CPU (processor), a memory (RAM), a storage (HDD, SSD, etc.), a communication I / F, an input / output device, and the like.
  • the above-described functions and the processing thereof are realized by expanding a program stored in a storage into a memory and executing the program by a CPU.
  • the service providing server 20 may be configured by one computer, or may be configured by distributed computing or cloud computing. Further, a dedicated computer may be used instead of a general-purpose computer, or the above-described functions or a part of the processing may be constituted by an ASIC or an FPGA instead of software.
  • FIG. 3 is a block diagram illustrating a configuration of a portable device (referred to as “user device”) used by a user to use the intermediate service.
  • a smartphone is exemplified as an example of the user device 30, but this is only one application example.
  • the user device 30 has a processor and a memory for executing an application program for using an intermediate service, is equipped with a SIM card (Subscriber Identity Module Card), and can be connected to the Internet. Any device may be used as long as it is an electronic device of.
  • a smartphone for example, a tablet terminal, a mobile PC, a wearable PC, a smart watch, a smart glass, a smart wallet, a portable game machine, and the like can be exemplified.
  • the user device 30 has a CPU (processor) 300, a memory 301, a storage 302, a touch panel display 303, a communication module 304, a power supply 305, a SIM card 306, an IC card 307, and an NFC chip 320 as main hardware resources.
  • the memory 301 is a RAM, and provides a storage area used by the CPU 300 as a working memory.
  • the storage 302 is a non-volatile storage medium for storing application programs and various data, and includes, for example, a built-in EEPROM, a flash memory mounted in a card slot, and the like.
  • the touch panel display 303 is a device that doubles as a display device and an input device.
  • the communication module 304 is a device that performs data communication and voice communication by the user device 30. It is assumed that the communication module 304 according to the present embodiment is compatible with communication using a mobile phone network such as 3G or 4G / LTE, Wi-Fi communication, short-range wireless communication, and the like.
  • the power supply 305 supplies power to the user device 30, and includes a lithium ion battery and a power supply circuit.
  • the SIM card 306 is a contact-type IC card in which subscriber information of communication using a mobile phone network is recorded.
  • the IC card 307 is also a contact-type IC card like the SIM card 306.
  • the IC card 307 is a device additionally attached to the user device 30 to realize secure use of the intermediate service and the online service.
  • the NFC chip 320 is an IC chip that provides an NFC (Near Field Communication) standard short-range wireless communication function and an application using the function.
  • the SIM card 306, the IC card 307, and the NFC chip 320 are configured by different hardware.
  • the SIM card 306 and / or the IC card 307 may have an NFC function.
  • FIG. 4 is a block diagram schematically illustrating the appearance and mounting of the SIM card 306 and the IC card 307
  • FIG. 5 is a block diagram schematically illustrating the hardware configuration of the SIM card 306 and the IC card 307.
  • the SIM card 306 has a structure in which the IC chip 40 is mounted on a resin plate having a width of 15 mm, a height of 12 mm, and a thickness of 0.76 mm.
  • the IC chip 40 has a processor 401, a RAM 402, a nonvolatile memory 403, and eight pins (electrodes) 404.
  • the non-volatile memory 403 stores data such as a unique serial number (ICCID) of the SIM card 306, subscriber identification information (IMSI), and a program executed by the processor 401.
  • the eight pins 404 include a power input terminal, a reset terminal, a clock terminal, a ground terminal, a program voltage input terminal, an I / O terminal, and a spare terminal.
  • the SIM card 306 is provided from a mobile communication service provider (MNO) or a virtual mobile communication service provider (MVNO) when the user subscribes to the mobile communication service.
  • MNO mobile communication service provider
  • MVNO virtual mobile communication service provider
  • the data and programs stored in the SIM card 306 differ for each business operator, but the basic structure of the SIM card 306 itself is the same as long as it conforms to international standards.
  • a micro-SIM is described as an example, but a mini-SIM or a nano-SIM can be used as a SIM card.
  • the IC card 307 has the same or substantially the same size as the SIM card 306 in width and height, and has a structure in which the IC chip 41 is embedded in a flexible film having a thickness of about 0.1 to 0.2 mm.
  • the IC chip 41 also has a processor 411, a RAM 412, a nonvolatile memory 413, and eight pins (electrodes) 414.
  • the non-volatile memory 413 of the IC card 307 stores data and programs for realizing secure use of the online service (details will be described later).
  • the eight pins 414 of the IC card 307 are exposed on both the front and back surfaces of the IC card 307, and have the same arrangement as the eight pins 404 of the SIM card 306. As shown in FIG. 4, by sticking this IC card 307 on the SIM card 306 so that the corresponding pins (electrodes) of the IC card 307 and the SIM card 306 are physically and electrically connected to each other. Become. Since the IC card 307 is extremely thin, the SIM card 306 to which the IC card 307 is attached can be inserted into the SIM card slot 308 of the user device 30.
  • FIG. 5 schematically shows a state in which the IC card 307 and the SIM card 306 are mounted in the SIM card slot 308.
  • the pins 414 on the surface of the IC card 307 are connected to the terminals 310 of the control board 309 of the user device 30, and the pins 404 of the SIM card 306 are connected to the terminals 310 of the control board 309 via the pins 414 of the IC card 307. It becomes.
  • the CPU 300 of the user device 30 can selectively access any of the IC card 307 and the SIM card 306.
  • the application program operated by the CPU 300 of the user device 30 can selectively switch between a mode for communicating with the IC card 307 and a mode for communicating with the SIM card 306.
  • the processor 411 of the IC card 307 processes a signal (command) received from the user device 30 by itself and does not transmit the signal (command) to the SIM card 306.
  • the processor 411 of the IC card 307 performs an operation of mediating (through) a signal between the user device 30 and the SIM card 306.
  • the IC card 307 of the type that is overlaid on the communication SIM card 306 is also called a “sub SIM”.
  • the use of the sub SIM type IC card 307 has the following advantages. If the mobile device has a SIM card slot, the IC card 307 can be mounted (that is, no special structure or work is required on the mobile device side, and the IC card 307 can be mounted on almost all mobile devices). Is possible). The IC card 307 can be attached to a portable device having only one SIM card slot (in other words, even if there is no empty SIM card slot). Further, since the communication SIM card 306 and the IC card 307 are completely independent in function and do not affect each other, the voice communication and the data communication can be performed even after the IC card 307 is attached. It can be used as well. Moreover, since it can be added to the SIM card of any business, introduction and dissemination are easy.
  • FIG. 6 is a block diagram schematically illustrating a logical configuration of the user device 30 and the IC card 307.
  • the user device 30 has installed therein an application program 60 (hereinafter simply referred to as “main application 60”) for using the intermediate service provided by the intermediate server 21.
  • the main body application 60 is a program distributed by an intermediate service provider (an agent such as an electronic payment in the case of the present embodiment), and the user downloads the main body application 60 through an application distributor on the Internet before using the intermediate service. Download and install.
  • the main application 60 has a main processing unit 600, a user authentication unit 601, and a security processing unit 602 as main functions.
  • the main processing unit 600 has a function of controlling display and input of a use screen of the intermediate service, transmitting and receiving data to and from the intermediate server 21, and the like.
  • the user authentication unit 601 has a function of confirming the validity of a person who uses the user device 30. The user authentication here is intended to confirm whether the person who is actually operating the user device 30 is a valid person (the user himself or a person who has been authorized by a valid user).
  • the security processing unit 602 is a function that executes security processing such as data encryption and electronic signature using the function of the IC card 307.
  • the non-volatile memory 413 (hereinafter, simply referred to as “memory 413”) of the IC card 307 stores personal information 610 used for the above-described user authentication, a pair of the user's private key 611 and public key 612, and the user's digital certificate 613. , A hash function 614, a program 615, and the like.
  • the address space of the memory 413 has an area 4130 that can be accessed (read and written) from outside, and an area 4131 that cannot be accessed from outside (that is, an area that can be accessed only by the processor 411 of the IC card 307) 4131. .
  • Data used in the security processing are all stored in the area 4131, and are externally (for example, the main body application 60). Is not directly readable and writable. Data such as the serial number 616 and the serial number 617 of the IC card 307 are stored in the area 4130 and can be read from the outside.
  • the processor 411 of the IC card 307 provides some APIs (Application Programming Interface) for the security function to an external application.
  • APIs Application Programming Interface
  • FIG. 6 as an example, an authentication function 620, an encryption function 621, an electronic signature function 622, a personal information change function 623, a key generation function 624, a public key read function 625, an electronic certificate write function 626, and an electronic certificate read Function 627 is shown. These functions are realized by the processor 411 executing the program 615.
  • the authentication function 620 is a function of performing user authentication by comparing information provided from the outside with personal information 610 stored in the memory 413. Functions 621 to 627 other than the authentication function 620 cannot be used unless user authentication is successful. Any method of user authentication may be used. For example, in the case of PIN code authentication, the authentication function 620 receives a code (for example, a four-digit number) input by the user from the user authentication unit 601 of the main application 60, and the input code is registered as the personal information 610 in the PIN. It checks whether the codes match, and returns a result of "OK" if they match, and "NG” if they do not match.
  • a code for example, a four-digit number
  • the authentication function 620 receives a password (for example, a password of 6 to 16 characters) input by the user from the user authentication unit 601 of the main body application 60, and the input password is registered as the personal information 610. The result is "OK” if they match, and "NG” if they do not match.
  • the authentication function 620 receives the user's biometric information (face image, voiceprint, iris, fingerprint, vein, etc.) from the user authentication unit 601 of the main application 60, and extracts features from the biometric information. Then, it is determined whether or not the user is the principal by comparing the personal characteristic registered as the principal information 610.
  • a result of "OK” is returned, and if not, a result of "NG” is returned.
  • Higher security may be realized by combining two or more of PIN code authentication, password authentication, and biometric authentication, or by combining another authentication method.
  • the encryption function 621 is a function for encrypting externally provided data using the secret key 611.
  • the encryption function 621 receives data from the security processing unit 602 of the main application 60, encrypts the data using the secret key 611, and returns encrypted data (cipher text).
  • the encryption algorithm is preferably RSA, DSA, ECDSA or the like, but other algorithms may be used.
  • the electronic signature function 622 is a function for performing an electronic signature using secret key 611 on data given from the outside.
  • the difference from the encryption function 621 is that the given data itself is not encrypted but the hash value of the given data is encrypted.
  • the electronic signature function 622 receives data from the security processing unit 602 of the main application 60, calculates a hash value using the hash function 614, encrypts the hash value using the secret key 611, and outputs the encrypted hash value. return.
  • Any hash function may be used (in the present embodiment, SHA-1 and SHA-256 are used). When the size of the data to be subjected to the electronic signature is small, an encrypted version of the data itself may be used as the electronic signature instead of the hash value.
  • the principal information change function 623 is a function of writing the principal information 610 in the memory 413 and updating or deleting the principal information 610 stored in the memory 413. This function is used when the main body application 60 newly registers or changes user information in the IC card 307.
  • the key generation function 624 is a function for generating a key pair of the secret key 611 and the public key 612.
  • information associated with the user such as the personal information 610, the secret key 611, the public key 612, and the electronic certificate 613, is not stored in the memory 413, and the IC card issuance procedure described later is not performed. Sometimes it is registered in the memory 413 (this operation is called activation of the IC card).
  • activation of the IC card since the secret key 611 is generated and stored in the memory 413 in a closed space in the IC card 307, the risk of the secret key 611 being leaked can be reduced.
  • an API for reading the secret key 611 from the memory 413 is not prepared, the risk that the secret key 611 leaks to the outside is almost zero.
  • the public key read function 625 is a function for reading the public key 612 from the memory 413.
  • the electronic certificate writing function 626 is a function of writing the electronic certificate 613 in the memory 413
  • the electronic certificate reading function 627 is a function of reading the electronic certificate 613 from the memory 413. Since the public key 612 and the electronic certificate 613 are for distributing to the communication partner, they can be read outside. Note that writing of the electronic certificate 613 is required at the time of the IC card issuance procedure.
  • the main body application 60 of the user device 30 can easily realize data encryption and electronic signature using public key encryption by using the IC card 307.
  • user authentication is required to use the encryption and digital signature functions of the IC card 307, and the risk of leaking a secret key is almost zero, so that extremely robust security is ensured.
  • FIG. 7 is a diagram showing an IC card issuing terminal
  • FIG. 8 is a diagram showing a flow of an IC card issuing procedure.
  • the IC card issuing terminal 70 is a terminal that issues a new IC card 307, and is installed in, for example, a mobile phone shop, a store (such as a bank) of a service provider, a convenience store, or an agent window.
  • the IC card issuing terminal 70 is configured by a computer including an IC card reader / writer.
  • a general-purpose personal computer or tablet terminal may be used if operated by a store clerk, or a kiosk terminal may be used if operated by a user (applicant of an IC card).
  • the issuing procedure will be described with reference to FIG.
  • the "user” is a person who newly applies for the IC card 307 to use the online service (referred to as “user” or “applicant” in the description of FIG. 8).
  • the “contact” is a person who performs an IC card 307 issuing operation using the IC card issuing terminal 70.
  • the “communication service manager” is a person responsible for managing issuance and operation of the IC card 307.
  • the communication service administrator provides the IC card 307, applies for an electronic certificate to a certificate authority, manages the issued IC card, manages the association between the IC card 307 and the SIM card 306, and invalidates the IC card 307 ( For example, when the user device 30 is lost, stolen, or disposed of).
  • the communication service manager may be constituted by a business entity different from the online service provider or the intermediate service provider.
  • the “certificate authority” is a person who issues and revokes electronic certificates of public keys.
  • the IC card applicant applies for the use of the IC card at the window (step S800).
  • the personal identification information may include, for example, name, gender, date of birth, and address.
  • the applicant specifies a PIN code to be registered in the IC card.
  • the counter staff confirms the identity by comparing the information transmitted from the applicant with the identity verification document, and then inputs the information to the IC card issuing terminal 70 (step S801).
  • only the input of the PIN code may be performed by the applicant in order to prevent the contact staff from knowing the PIN code.
  • the counter staff sets a new IC card 307 in the IC card issuing terminal 70 and instructs the start of activation processing.
  • the memory 413 of the IC card 307 only the “hash function 614, the program 615” of the information shown in FIG. 6 is stored, and the “secret key 611, public key 612” which is information associated with the user.
  • Electronic certificate 613 has not been stored yet, and the PIN code of the personal information 610 is an initial value (for example,“ 0000 ”).
  • the IC card issuing terminal 70 uses the authentication function 620 to perform authentication using the initial PIN code, and then uses the principal information change function 623 to register the PIN code specified by the applicant, and The generation function 624 is instructed to generate a key pair, and the secret key 611 and the public key 612 are generated (step S802).
  • the PIN code and the key pair are written in a predetermined area 4131 of the memory 413.
  • the IC card issuing terminal 70 reads the public key 612 from the memory 413 using the public key read function 625, and uses the public key 612 and the personal identification information input in step S801 to perform a CSR (Certificate Signing Request). Is created and transmitted to the management server of the communication service manager (step S803).
  • CSR Certificate Signing Request
  • the management server Upon receiving the CSR from the IC card issuing terminal 70, the management server transmits the CSR to a predetermined certificate authority (step S804). At this time, the management server may carry out a credit check of the applicant based on the identification information.
  • the certificate authority issues an electronic certificate of the applicant's public key according to the received CSR and sends it to the management server (step S805).
  • An electronic certificate certifies a public key and its owner. X.2, which was formulated by ITU-T.
  • the electronic certificate is data including a public key, owner information (corresponding to personal identification information), an electronic signature of a certificate authority, an expiration date of the electronic certificate, and information on the issuer.
  • the digital signature of the certificate authority is obtained by encrypting a hash value generated from the public key and owner information included in the digital certificate with the secret key of the certificate authority.
  • the management server sends the issued electronic certificate to the IC card issuing terminal 70 (Step S806).
  • the IC card issuing terminal 70 writes the electronic certificate in the memory 413 using the electronic certificate writing function 626 of the IC card 307 (step S807).
  • the personal information 610 PIN code in this embodiment
  • the private key 611, the public key 612, and the electronic certificate 613, which are data necessary for security processing, are provided in the memory 413 of the IC card 307. become.
  • the IC card 307 is attached to the user device 30 of the applicant (step S808). Specifically, the SIM card 306 for communication is taken out from the user device 30, the IC card 307 is pasted on the SIM card 306, and then the SIM card 306 is inserted into the user device 30 again. Further, the setup program is installed in the user device 30, and the setup process of the IC card 307 is executed by the setup program. Attachment and setup of the IC card 307 may be performed by the counter staff or by the applicant himself.
  • the user device 30 (a setup program that operates) reads the “serial number” and “serial number” from the IC card 307 and the “telephone number” and “serial number” from the SIM card 306.
  • the setup program acquires “IMEI (International Mobile Equipment Equipment)” as information of the user device 30 itself.
  • the setup program sends an IC card registration request to the management server of the communication service manager together with the information (step S809).
  • the management server Upon receiving the IC card registration request from the user device 30, the management server registers the information of the IC card 307, the SIM card 306, and the user device 30 included therein in the IC card management database (step S810).
  • FIG. 9 shows an example of the data structure of IC card management information stored in the IC card management database.
  • the “telephone number” and “serial number” of the SIM card 306 and the “IMEI” of the user device 30 are managed in association with the “serial number” and “serial number” of the IC card 307.
  • user identification information name, gender, address, date of birth
  • public key public key
  • electronic certificate information and the like may be managed as IC card management information.
  • the management server When the registration of the IC card management information is completed, the management server notifies the user device 30 of the completion of the registration (step S811). As a result, the setup of the user device 30 is completed, and the IC card 307 can be used (activated).
  • the issuance procedure shown in FIG. 8 is merely an example, and the issuance procedure may be performed in a different procedure.
  • an IC card 307 in which a secret key, a public key, an electronic certificate, and a PIN code are registered in advance may be prepared at the counter.
  • the IC card issuing terminal 70 since writing to the IC card 307 is not necessary, the IC card issuing terminal 70 does not need to be used, and only the setup process in the user device 30 is sufficient, and the IC card issuing procedure is simplified.
  • biometric authentication is used instead of PIN code authentication, biometric information (face image, voiceprint, iris, fingerprint, etc.) to be registered as personal information in the IC card 307 is input using the IC card issuing terminal 70 or the like. do it.
  • FIG. 10 and FIG. 11 are diagrams showing the flow of the registration procedure for the intermediate service
  • FIG. 12 is an example of a screen displayed on the user device 30.
  • the user registration for the online service has already been completed, and the user has been given an ID and password for logging in to the online service itself.
  • the user operates the user device 30 to download and install the main application 60 (step S1001). Then, the user activates the main body application 60 and opens a log-in screen for the intermediate service (step S1002). As shown in FIG. 12, when logging in for the first time, the user inputs the user ID and password of the intermediate service on the login screen 120 and logs in to the intermediate service (step S1003). At this time, the main body application 60 stores the user ID of the intermediate service in the nonvolatile memory (Step S1004). It is better not to store the password in the user device 30 from the viewpoint of security. The user ID and the password are information provided by the intermediate service provider when a new application for the intermediate service, which is a separate procedure, is made.
  • the intermediate server 21 transmits a predetermined electronic message (contents may be arbitrary) to the user device 30, and requests an electronic signature and an electronic certificate (step S1005).
  • the user authentication unit 601 of the main body application 60 displays the PIN code input screen 121 as shown in FIG.
  • the user authentication unit 601 uses the authentication function 620 of the IC card 307 to check whether the input PIN code is correct (step S1006).
  • the PIN code is correct (that is, when the user authentication is successful)
  • other functions 621 to 627 of the IC card 307 can be used from the main body application 60.
  • the security processing unit 602 of the main body application 60 uses the electronic signature function 622 of the IC card 307 to perform an electronic signature on the message received from the intermediate server 21, and uses the electronic certificate read function 627 to store the memory 413. From the electronic certificate 613. Then, the main processing unit 600 of the main body application 60 transmits the electronic signature-attached electronic message and the electronic certificate 613 to the intermediate server 21 (Step S1007).
  • the intermediate server 21 verifies the electronic signature-added message using the electronic certificate 613 received from the user device 30 (step S1008).
  • “Verification” means that the electronic signature is performed by the user himself / herself by decrypting the electronic signature-attached electronic message using the public key included in the electronic certificate 613 and checking whether the decrypted result matches the original electronic message (ie, , An electronic signature has been created with the user's private key).
  • the decryption result may be compared with the original message.
  • the decryption result and the original message may be compared. What is necessary is just to compare with the hash value of a telegram.
  • the intermediate server 21 associates the user ID / password of the user with the electronic certificate and registers it in the user information storage unit 211 (step S1009). Then, the intermediate server 21 notifies the main application 60 that registration of the electronic certificate has been completed (step S1010). When the registration for the intermediate service is completed, a menu screen 122 is displayed on the user device 30, as shown in FIG. 12 (step S1011).
  • FIGS. 10 and 11 show an example in which the user makes a balance inquiry.
  • Step S1012 When the user selects “Balance Inquiry” from the menu screen 122 and inputs information of the target bank account (bank name, account number, account name, etc.), the main body application 60 transmits a balance inquiry request to the intermediate server 21. (Step S1012).
  • the proxy control unit 213 of the intermediate server 21 issues a balance inquiry request to the service providing server 20 of the bank of the inquiry destination (step S1013).
  • This balance inquiry request includes the user's bank account information.
  • the access control unit 202 of the service providing server 20 requests the user to input the ID and password of the online service (step S1014). Specifically, as shown in FIG. 12, a login screen 123 of the online service is displayed on the user device 30 (step S1015), and the user inputs the user ID and password of the online service and logs in to the online service. (Step S1016).
  • the service providing server 20 transmits an authentication message (any content may be used) to the user device 30, and requests an electronic signature and an electronic certificate (step S1017).
  • the user authentication unit 601 of the main body application 60 displays the PIN code input screen 124 as shown in FIG.
  • the user authentication unit 601 uses the authentication function 620 of the IC card 307 to check whether the input PIN code is correct (step S1018).
  • the PIN code is correct (that is, when the user authentication is successful)
  • other functions 621 to 627 of the IC card 307 can be used from the main body application 60.
  • the security processing unit 602 of the main body application 60 performs an electronic signature on the authentication message received from the service providing server 20 using the electronic signature function 622 of the IC card 307, and uses the electronic certificate reading function 627.
  • the electronic certificate 613 is read from the memory 413.
  • the main processing unit 600 of the main body application 60 transmits the electronic signature-added authentication message and the electronic certificate 613 to the service providing server 20 (step S1019). At this time, the main body application 60 stores the authentication message in the non-volatile memory (Step S1020).
  • the service providing server 20 verifies the electronic signature-added authentication message using the electronic certificate 613 received from the user device 30 (step S1021). If the verification is successful, the service providing server 20 issues an access token to the pair of the user and the intermediate service.
  • the proxy of the online service by the intermediate server 21 is realized using the mechanism of OAuth 2.0.
  • the access token is like a permit when the intermediate server 21 uses the online service on behalf of the user.
  • the user registration unit 200 associates the authentication message, the access token, and the electronic certificate of the user with each other and registers them in the user information storage unit 201 (step S1023).
  • the service providing server 20 notifies the intermediate server 21 of the issued access token and information on the account balance of the user (step S1024).
  • the intermediate server 21 associates the received access token with the ID of the intermediate service of the user and registers it in the user information storage unit 211 (step S1025).
  • the intermediate server 21 also receives a refresh token from the service providing server 20 together with the access token.
  • the refresh token is a token used for reissuing an access token. Since this is a specification of OAuth 2.0, detailed description is omitted here.
  • the intermediate server 21 notifies the main application 60 of the account balance information (step S1026).
  • an account balance confirmation screen 125 is displayed on the user device 30 (step S1027).
  • FIG. 13 is a diagram showing a flow of login authentication of the intermediate service
  • FIG. 14 is an example of a screen displayed on the user device 30.
  • the user authentication unit 601 displays a PIN code input screen 140 as shown in FIG. 14 (step S1300).
  • the user authentication unit 601 uses the authentication function 620 of the IC card 307 to check whether the input PIN code is correct (step S1301).
  • the security processing unit 602 of the main application 60 uses the electronic signature function 622 of the IC card 307 to transmit the intermediate service user ID and the authentication message.
  • An electronic signature is performed (step S1302).
  • the main processing unit 600 of the main application 60 transmits a login request to the intermediate server 21 (Step S1303).
  • the login request includes a user ID of the intermediate service, an authentication message, and an electronic signature.
  • the login control unit 212 of the intermediate server 21 Upon receiving the login request, the login control unit 212 of the intermediate server 21 reads the corresponding electronic certificate from the user information storage unit 211 based on the user ID included in the login request, and logs in using this electronic certificate. The electronic signature included in the request is verified (step S1304). If necessary, the login control unit 212 may inquire of the certificate authority about the validity of the electronic certificate (steps S1305 and S1306). If the verification of the electronic signature is successful and the validity of the electronic certificate is confirmed, the login control unit 212 determines that the login request is from a valid user.
  • the login control unit 212 of the intermediate server 21 reads out the access token of the online service from the user information storage unit 211 based on the user ID included in the login request, and transmits the access request to the service providing server 20 (step). S1307).
  • the access request includes an access token, an authentication message and an electronic signature included in the login request.
  • the access control unit 202 of the service providing server 20 Upon receiving the access request, the access control unit 202 of the service providing server 20 reads the corresponding electronic certificate from the user information storage unit 201 based on the access token included in the access request, and uses the electronic certificate to The digital signature included in the access request is verified (step S1308). If necessary, the access control unit 202 may inquire of the certificate authority about the validity of the electronic certificate (steps S1309 and S1310). If the verification of the digital signature is successful and the validity of the digital certificate is confirmed, the access control unit 202 determines that the access request is from the intermediate server 21 to which the user has been given the proxy authority. Then, access permission is given to the intermediate server 21 (step S1311).
  • the intermediate server 21 When the access permission for the online service is obtained, the intermediate server 21 notifies the main body application 60 of the login authentication OK (step S1312). Thereafter, as shown in FIG. 14, a menu screen 141 of the intermediate service is displayed on the user device 30, and the user can perform a desired procedure.
  • the login authentication described above since the user only needs to enter the PIN code, the login can be performed with a very simple operation as compared with the conventional method of inputting the ID and password each time or the method of using the token. It becomes. Moreover, since the security function provided by the IC card 307 is used, a high level of security is ensured.
  • the intermediate service and the online service can be linked without providing any information of the ID and password of the online service to the intermediate service. Therefore, even a user who feels reluctant to disclose the online banking ID / password to another business can use this service with confidence.
  • FIG. 15 is a diagram showing a flow when using the intermediate service
  • FIG. 16 is an example of a screen displayed on the user device 30. It is assumed that the login to the intermediate service has already been completed, and the menu screen 160 is displayed on the user device 30.
  • step S1500 When the user selects a procedure to be used from the menu screen 160, the screen transits to the detail screen 161 (step S1500).
  • FIG. 16 shows a screen example when the user selects “transfer”.
  • the main processing unit 600 of the main application 60 transmits information necessary for the transfer procedure.
  • the described procedure message is created (step S1502).
  • the user authentication unit 601 of the main body application 60 displays the PIN code input screen 162 and performs PIN code authentication (step S1503). Since the procedure of PIN code authentication is the same as that described above, the description is omitted.
  • the security processing unit 602 of the main application 60 performs an electronic signature on the procedure message by using the electronic signature function 622 of the IC card 307 (step S1504).
  • the electronic signature function 622 may calculate a hash value of the procedure message and generate an electronic signature by encrypting the hash value with the secret key 611, or encrypt the procedure message itself with the secret key 611.
  • the digital signature may be generated by the conversion.
  • the main processing unit 600 of the main application 60 transmits a procedure request to the intermediate server 21 (Step S1505). The ID of the intermediate service, the procedure message, and the electronic signature are added to the procedure request.
  • the proxy control unit 213 of the intermediate server 21 Upon receiving the procedure request, the proxy control unit 213 of the intermediate server 21 reads out the corresponding electronic certificate from the user information storage unit 211 based on the user ID included in the procedure request, and uses the electronic certificate to execute the procedure. The digital signature included in the request is verified (step S1506). Further, the proxy control unit 213 may inquire of the certificate authority about the validity of the electronic certificate as necessary (steps S1507 and S1508). If the verification of the electronic signature is successful and the validity of the electronic certificate is confirmed, the proxy control unit 213 determines that the procedure request is from a valid user. That is, it is determined that there is no impersonation by a third party and that the contents of the procedure message have not been falsified.
  • the proxy control unit 213 When it is confirmed that the procedure request is from a valid user, the proxy control unit 213 reads the access token of the corresponding online service from the user information storage unit 211 based on the user ID and the procedure message included in the procedure request. And sends a procedure request to the service providing server 20 (step S1509).
  • the procedure request includes an access token, a procedure message received from the user device 30, and an electronic signature.
  • the procedure control unit 203 of the service providing server 20 Upon receiving the procedure request, the procedure control unit 203 of the service providing server 20 reads the corresponding electronic certificate from the user information storage unit 201 based on the access token included in the procedure request, and uses the electronic certificate to The electronic signature included in the procedure request is verified (step S1510). Further, if necessary, the procedure control unit 203 may inquire of the certificate authority about the validity of the digital certificate (steps S1511, S1512). If the verification of the electronic signature is successful and the validity of the electronic certificate is confirmed, the procedure control unit 203 determines that the procedure request is from a valid user. That is, it is determined that there is no impersonation by a third party and that the contents of the procedure message have not been falsified.
  • the procedure control unit 203 executes a procedure (transfer or the like) based on the information described in the procedure message (step S1513).
  • the procedure control unit 203 transmits a procedure completion notification to the intermediate server 21 (Step S1514), and the intermediate server 21 transmits a procedure completion notification to the main application 60 (Step S1515). Then, as shown in FIG. 16, a procedure completion screen 163 is displayed.
  • the user only needs to input the PIN code, so that the intermediate service and the online service can be performed with a very simple operation as compared with the conventional method of inputting the ID and password each time and the method of using the token.
  • the service can be used.
  • the security function provided by the IC card 307 is used, a high level of security is ensured, and it is possible to prevent impersonation due to a so-called man-in-the-middle attack and falsification of the procedure message.
  • the procedure request sent from the user device 30 includes a plaintext procedure message. This is to enable the intermediate server 21 (intermediate service provider) to verify whether the procedure message has been tampered with.
  • the procedure message contains information that the user other than the service provider does not want to know or need not convey.
  • the message of the procedure will include the address information after the change, but since personal information such as the address is related to privacy, the intermediate service provider will be informed. Many users do not want to be asked.
  • banks have a legal obligation to manage address information, but intermediate service providers do not, so intermediate service providers may want to avoid receiving unnecessary personal information. Absent.
  • the user device 30 may encrypt the procedure message using the public key of the service providing server 20 (service provider). That is, after the main body application 60 of the user device 30 encrypts a procedure message such as an address change procedure using the public key of the service providing server 20, the main body application 60 performs an electronic signature using the user's private key 611 on the encrypted procedure message. , A procedure request including an ID, an encrypted procedure message, and an electronic signature are transmitted to the intermediate server 21.
  • the intermediate server 21 can confirm that the procedure request has been sent from a legitimate user, but cannot confirm the content of the procedure message.
  • the service providing server 20 can confirm the contents of the procedure message (such as address information of the user) by decrypting the procedure message using the secret key stored therein, and can perform the procedure. Therefore, it is possible to realize a mechanism in which information is transmitted only to the service provider in a state of being concealed from the intermediate service provider while passing through the intermediate service by the intermediate service provider.
  • the intermediate service and the online service cannot be used unless the user authentication based on the PIN code or the biometric information is successful. Therefore, even if the user device 30 is lost or stolen, the risk of unauthorized use of the user device 30 by a third party is small.
  • PIN code authentication or biometric authentication can be broken is not zero, it is preferable to implement an IC card invalidation function as described below.
  • IC Card Self-Destruction Function Self-destruction is an operation in which the processor 411 of the IC card 307 invalidates the function of the IC card 307. Specific operations include locking the function of the IC card 307 so that the function of the IC card 307 cannot be used from outside (the main body application 60), or deleting data (key pair, digital certificate, etc.) stored in the memory 413. There are ways to do that. For example, the processor 411 may execute self-destruction when an incorrect PIN code is continuously input a predetermined number of times or when the memory 413 is accessed by a method other than the API.
  • the management server invalidates the user device 30 or the IC card 307.
  • the IC card 307 may be invalidated by transmitting an activation signal.
  • the management server monitors the use status of the IC card 307 and detects an abnormality (for example, when the non-use state continues for a long time, when the frequency of use suddenly increases, or when an attempt is made to remit large sums of money) Etc.), the IC card 307 may be invalidated.
  • the management server monitors a combination of the IC card 307, the SIM card 306, and the user device 30, and detects a discrepancy with the information managed by the IC card management information (for example, the IC card alone or the SIM card).
  • the IC card 307 may be invalidated when such an inconsistency occurs when the IC card 307 is removed together with the portable device and is attached to another portable device.
  • the invalidation method also locks the function of the IC card 307 so that the function of the IC card 307 cannot be used from outside (the main body application 60), or erases data (key pair, digital certificate, etc.) stored in the memory 413. There are methods.
  • the management server sends the electronic certificate of the user to the certificate authority. May be requested to invalidate the certificate.
  • the management server may monitor the use status of the IC card 307 and the combination of the IC card, the SIM card, and the user device, and may request the certificate authority to invalidate the electronic certificate when an abnormality is detected.
  • the above-described embodiment merely describes one specific example of the present invention, and the technical scope of the present invention is not limited to the contents of the above-described embodiment, and the present invention is not limited to the scope of the technical idea. It can take various concrete forms.
  • the present invention can be applied to various types of online services other than the online banking service.
  • the sub SIM type IC card is exemplified.
  • an IC card having the same specification as a general micro-SIM or nano-SIM (for communication) is used. It may be installed in a separate slot from the SIM card).
  • an IC card of a type mounted in a slot other than the SIM card slot may be used, or an IC chip (for example, a Secure Element or the like) built in the portable device may be used.
  • an electronic certificate may be sent together.
  • the electronic signature is performed only on the data transmitted from the user device to the intermediate server.
  • the intermediate server or the service providing server performs the electronic signature or encryption on the data transmitted to the user device. In that case, the intermediate server or the service providing server may perform an electronic signature or encryption using its own encryption key, or may perform encryption using a user's public key.
  • FIG. 17 is a block diagram schematically illustrating a hardware configuration of the user device 30 including the secure element 1600.
  • the secure element 1600 is an IC chip that has resistance (tamper resistance) to stored data from being externally analyzed and is mainly used to manage confidential information.
  • the secure element 1600 is an IC chip independent of the control board 309 (including the processor 1611, the RAM 1612, and the nonvolatile memory 1613) of the user device 30, and includes the processor 1601, the RAM 1602, and the nonvolatile memory 1603.
  • the secure element 1600 communicates with the processor 1611 of the user device 30 or the like.
  • data used in the encryption function (identity information 610, secret key 611, public key 612, electronic certificate 613, hash function 614, program 615, etc. shown in FIG. 6) It may be stored in the nonvolatile memory 1603 in the secure element 1600. Also, an encryption function (authentication function 620, encryption function 621, electronic signature function 622, personal information change function 623, key generation function 624, public key read function 625, electronic certificate write function 626, The electronic certificate reading function 627 and the like may be provided by the processor 1601 of the secure element 1600 executing the program 615.
  • the user device can use the online service alone, which is highly convenient. Also, since automatic login is possible only by launching the application and authenticating the user, smart and simple operability can be realized. Further, since the secret key stored in the secure element 1600 and the encryption function provided by the secure element 1600 are used, secure data communication can be realized. This private key has a low risk of leakage, and cannot use the secret key or the encryption function without clearing the PIN code, password, or biometric authentication, thus reducing the risk of unauthorized use by a third party. It can be as small as possible.
  • FIG. 18 is a block diagram schematically illustrating a hardware configuration of the user device 30 including the SIM card 1700.
  • the SIM card 1700 has a processor 1701, a RAM 1702, a nonvolatile memory 1703, and eight pins 1705 (electrodes).
  • the nonvolatile memory 1703 stores data such as a unique serial number (ICCID) and subscriber identification information (IMSI) of the SIM card 1700, data used for an encryption function, and a program executed by the processor 1701. Have been.
  • the eight pins 1705 include a power input terminal, a reset terminal, a clock terminal, a ground terminal, a program voltage input terminal, an I / O terminal, and a spare terminal.
  • FIG. 18 schematically shows a state in which the SIM card 1700 is mounted in the SIM card slot 1704.
  • the pin 1705 of the SIM card 1700 is connected to the terminal 1706 of the control board 309 of the user device 30.
  • the SIM card 1700 is provided by a mobile communication service provider (MNO) or a virtual mobile communication service provider (MVNO) when the user subscribes to the mobile communication service.
  • MNO mobile communication service provider
  • MVNO virtual mobile communication service provider
  • the data and programs stored in the SIM card 1700 are different for each company, but the basic structure of the SIM card 1700 itself is the same as long as it conforms to international standards.
  • any of a standard-SIM, a micro-SIM, and a nano-SIM may be used.
  • data (identity information 610, a secret key 611, a public key 612, a digital certificate 613, a hash function 614, a program 615, and the like shown in FIG. 6) used in the encryption function are It may be stored in the nonvolatile memory 1703 in the SIM card 1700.
  • an encryption function (authentication function 620, encryption function 621, electronic signature function 622, personal information change function 623, key generation function 624, public key read function 625, electronic certificate write function 626, The electronic certificate reading function 627 and the like may be provided by the processor 1601 of the SIM card 1700 executing the program 615.
  • the user device can use the online service alone, which is highly convenient.
  • automatic login is possible only by launching the application and authenticating the user, smart and simple operability can be realized.
  • the secret key stored in the SIM card 1700 and the encryption function provided by the SIM card 1700 are used, secure data communication can be realized.
  • This private key has a low risk of leakage, and cannot use the secret key or the encryption function without clearing the PIN code, password, or biometric authentication, thus reducing the risk of unauthorized use by a third party. It can be as small as possible.
  • the applicant (user) of the IC card applies for use of the IC card at the counter (step S1800).
  • the user's identification information and telephone number are input to the procedure terminal, and identification documents (driver's license, resident's card, etc.) are submitted.
  • the personal identification information may include, for example, name, gender, date of birth, and address.
  • the telephone number is a telephone number assigned to a communication SIM card mounted on the user device 30.
  • the user inputs the personal identification information and the telephone number to the procedure terminal (step S1801).
  • the identification document may be converted into electronic data (for example, image data) by a camera or a scanner provided in the procedure terminal.
  • the procedure terminal transmits the personal identification information, the personal identification document, and the telephone number to the communication service manager (Step S1802).
  • the user himself operates the procedure terminal and inputs necessary information.
  • the counter staff may perform the input.
  • the user installs a predetermined program (called a “setup program”) for installing and activating the encryption function in the user device 30 (the main body application 60 shown in FIG. 6 may also serve as the setup program). ).
  • the processor of the user device 30 reads the telephone number and the IMSI from the SIM card for communication using the setup program (step S1803), and transmits the telephone number and the IMSI of the SIM card to the communication service manager (step S1804).
  • the user receives the IC card and mounts it on the user device 30.
  • the “hash function, program” of the information shown in FIG. 6 is stored in the memory of the IC card, and the “private key, public key, digital certificate” which is information associated with the user is Not yet stored.
  • the communication service administrator associates the information received from the user device 30 with the information received from the procedure terminal using the telephone number as a key, and associates the personal identification information with the personal identification document, the telephone number of the SIM card, and the IMSI. To remember. Then, the communication service administrator checks the personal identification information by checking the personal identification information with the personal identification document and checking whether there is any inconsistency in the information (step S1806). After the identification is completed, the communication service manager transmits the certificate issuing request and the telephone number and / or IMSI of the communication SIM card received from the user device 30 to the certificate authority (step S1807).
  • the user device 30 indirectly notifies the certificate authority of the telephone number and / or IMSI via the communication service manager, but the user device 30 directly notifies the certificate number of the telephone number and / or IMSI. You may be notified.
  • the electronic data of the personal identification document is transmitted to the communication service administrator via the network.However, if it is necessary to confirm the original of the personal identification document, the contact person or the user provides the communication service administrator with the personal identification document. The original may be submitted or mailed. In this case, after the communication service manager receives the original of the personal identification document, the personal identification processing in step S1806 is started.
  • the certificate authority Upon receiving the certificate issuance request, the certificate authority generates a user identification code and transmits the user identification code to the destination specified by the IMSI or the telephone number (step S1808).
  • a means for transmitting the user identification code for example, SMS (Short Message Service) can be used.
  • the setup program of the user device 30 instructs the key generation function 624 of the IC card to generate a key pair to generate a secret key and a public key (step S1809).
  • the order of sending the user identification code (step S1808) and generating the key pair (step S1809) does not matter.
  • the setup program of the user device 30 reads the public key from the memory of the IC card using the public key reading function 625 of the IC card, and issues a digital certificate issuance request based on the public key and the user identification code.
  • a certain CSR (Certificate ⁇ Signing ⁇ Request) is created and transmitted to a predetermined certificate authority (step S1810).
  • the certificate authority issues a digital certificate of the user's public key in accordance with the received CSR, and transmits the digital certificate to the user device 30 via the wired Internet or the wireless Internet (step S1811).
  • transmission may be performed using HTTP (Hypertext Transfer Protocol) or HTTPS (Hypertext Transfer Protocol Secure).
  • HTTP Hypertext Transfer Protocol
  • HTTPS Hypertext Transfer Protocol Secure
  • Electronic certificates are used to electronically prove that a user is who he claims to be.
  • a public key certificate that associates a public key with identification information of its owner is used as the electronic certificate.
  • X.2 which was formulated by ITU-T.
  • the electronic certificate is data including a public key, owner information (corresponding to personal identification information), an electronic signature of a certificate authority, an expiration date of the electronic certificate, and information on the issuer.
  • the digital signature of the certificate authority is obtained by encrypting a hash value generated from the public key and owner information included in the digital certificate with the secret key of the certificate authority.
  • the timing at which the certificate authority transmits the electronic certificate to the user device 30 or the timing at which the user device 30 receives the digital certificate from the certificate authority can be arbitrarily controlled.
  • the setup program of the user device 30 periodically communicates with the certificate authority in the background to check whether or not the issuance of the electronic certificate has been completed. Is also good.
  • the certificate authority may notify the user device 30 of the scheduled date and time (date and time at which download is possible) of the electronic certificate.
  • the setup program of the user device 30 may access the certificate authority and obtain the electronic certificate after the notified scheduled issuance date and time.
  • the certificate authority notifies the setup program of the user device 30 that the issuance of the electronic certificate has been completed, and transmits the electronic certificate to the setup program that has responded. Is also good.
  • the request for issuing the electronic certificate and the transmission of the electronic certificate to the user device can be performed at different timings. For example, the operations up to the identity verification are performed at the store counter, and after the electronic certificate is issued. This operation can be performed in a time zone desired by the user, and can be operated without restrictions on time and place. Therefore, the convenience of installation and activation of the encryption function can be improved.
  • the setup program of the user device 30 notifies the certificate authority of the telephone number and / or IMSI of the communication SIM card together with the user identification code, and thereby the terminal of the applicant (authorized terminal). Terminal). Accordingly, even when the request for issuing the electronic certificate and the transmission to the user device are performed at different timings, it is possible to prevent an error such as erroneously transmitting the electronic certificate to another terminal. Further, since it is possible to suppress a malicious person from acquiring an electronic certificate illegally, it is possible to safely issue and transmit the electronic certificate.
  • the setup program of the user device 30 writes the electronic certificate in the memory of the IC card by using the electronic certificate writing function 626 of the IC card (step S1812).
  • personal information, a secret key, a public key, and an electronic certificate, which are data necessary for security processing, are stored in the memory of the IC card.
  • the electronic certificate may be stored in a SIM card or a secure element mounted on the user device 30.
  • the setup program of the user device 30 reads the “serial number” and “serial number” from the IC card, and also reads the “telephone number” and “IMSI” from the communication SIM card. Further, the setup program acquires "IMEI (International @ Mobile @ Equipment @ Identity)" as information of the user device itself. Then, the setup program transmits an IC card registration request together with the information to the management server of the communication service administrator. Upon receiving the IC card registration request from the user device 30, the management server registers the information of the IC card, the SIM card, and the user device included therein in the IC card management database (step S1814).
  • the management server When the registration of the IC card management information is completed, the management server notifies the user device 30 of the completion of the registration. Thus, the setup of the user device 30 is completed, and the IC card becomes usable (activated).
  • the issuing procedure shown in FIG. 19 is merely an example, and the issuing procedure may be performed in a different procedure.
  • the user identification code may be transmitted to the user equipment by data communication via the Internet instead of SMS.
  • the IP address of the user device may be specified using the IMSI of the communication SIM card.
  • biometric authentication is used instead of PIN code authentication, biometric information (face image, voiceprint, iris, fingerprint, etc.) to be registered as personal information in the IC card may be input using a procedure terminal or the like. .
  • FIG. 20 is a diagram illustrating an example of a mechanism for specifying an IC chip used in the user device when performing communication between the user device and the intermediate server.
  • the user device 30 has two IC chips 190 and 191, the IC chip 190 is used for communication with the server A192, and the IC chip 191 is used for communication with the server B193.
  • the IC chips 190 and 191 any type of IC chip may be used in addition to the above-described sub SIM type IC card, a communication SIM card, a secure element, and the like.
  • ICA unique ID is assigned to each of the IC chips 190 and 191.
  • This ID is identification information that can uniquely specify the IC chip, and is stored in the built-in memory of the IC chip.
  • the ID of the IC chip 190 is “aaa1”
  • the ID of the IC chip 191 is “bbb2”.
  • the ID may be any information as long as it does not overlap with other IC chips.
  • IMSI International Mobile Subscriber Identity
  • ICCID Integrated Circuit Card ID
  • a telephone number a serial number, a serial number, and the like
  • an IP address associated with the IMSI or the like may be used as the ID.
  • the main application 60 of the user device 30 adds the ID “aaa1” of the IC chip 190 to the header or the like of the data (communication packet) 194 to be transmitted to the server A 192 as the information of the transmission source.
  • the server A 192 can specify the IC chip 190 used in the user device 30.
  • the server A 192 also adds the ID “aaa1” of the IC chip 190 to the header or the like of the data (communication packet) 194 to be transmitted to the user device 30 as the destination information.
  • the main body application 60 can specify the IC chip 190 that is in charge of processing the data received from the server A192.
  • the main application 60 of the user device 30 adds the ID “bbb2” of the IC chip 191 to the header or the like of the data (communication packet) 195 to be transmitted to the server B 193 as the information of the transmission source.
  • the server B 193 can specify the IC chip 191 used in the user device 30.
  • the server B 193 also adds the ID “bbb2” of the IC chip 191 to the header or the like of the data (communication packet) 195 to be transmitted to the user device 30 as the destination information.
  • the main body application 60 can specify the IC chip 190 that is in charge of processing the data received from the server A192.
  • data transmission / reception is performed between the user device 30 and each server by specifying an IC chip as a transmission source or a transmission destination, so that communication security can be further improved.
  • the main application 60 uses the combination for the processing of the data 194 and 195 based on the ID information included in the header of the data 194 and 195.
  • the IC chips 190 and 191 to be selected can be selected (switched). Such an advantage is particularly great when the user device 30 includes a plurality of IC chips or when the user device 30 performs secure communication with a plurality of servers.
  • the IC chip is associated with the server by adding IC chip identification information to data transmitted and received between the user device 30 and each server. You may realize that.
  • the main body application 60 may have association information 196 (hereinafter, referred to as “correspondence table 196”) for associating an IC chip with a server.
  • the identification information of the IC chip may be associated with the identification information of the server that performs communication using the encryption function of the IC chip.
  • the identification information of the IC chip for example, an IMSI (International Mobile Subscriber Identity), an ICCID (Integrated Circuit Card ID), a telephone number, a serial number, a serial number, and an IP address associated with the IMSI may be used.
  • the server identification information for example, the server IP address, URL, or the like may be used.
  • the IC chip used in communication with the server can be specified based on the correspondence table 196. Therefore, the same effect as that of the method of FIG. 20 can be obtained.
  • the communication between the user device 30, the intermediate server 21, and the service providing server 20 is protected by a public key cryptosystem using an IC chip.
  • this method is a preferable form in that high security can be ensured, it is not essential that all communication between the three parties be performed by this method.
  • the risk of cyber attacks such as interception of communication and spoofing is relatively high, so that high security is desired. Communication between them has a relatively low risk of cyber attacks. Therefore, for example, protection using an IC chip is applied to communication between the user device 30 and the intermediate server 21, and security between the intermediate server 21 and the service providing server 20 is secured by another method. Good.
  • FIG. 22 shows the flow of the registration procedure for the intermediate service.
  • ID and password hereinafter referred to as “user ID 1” and “password 1” for convenience
  • ID and password for logging in to the service provided by the service providing server 20 hereinafter “user ID 2” for convenience
  • Password 2 is given to the user.
  • the user operates the user device 30 to download and install the main body application 60 (step S2100). Then, the user activates the main body application 60 and opens the login screen of the intermediate server 21 (Step S2101). At the first login, the user inputs the user ID 1 and the password 1 to the intermediate server 21 on the login screen, and the user device 30 transmits a login request to the intermediate server 21 together with the user ID 1 and the password 1 (step S2102). At this time, the main body application 60 stores the user ID 1 to the intermediate server 21 in the nonvolatile memory (Step S2103). It is better not to store the password 1 in the user device 30 from the viewpoint of security.
  • the user ID 1 and the password 1 to the intermediate server 21 are information given by the intermediate service provider when a new application for the intermediate service, which is a separate procedure, is made.
  • the intermediate server 21 verifies the user ID 1 and the password 1 and when the login is completed (step S2104), the intermediate server 21 transmits a predetermined electronic message (contents may be arbitrary) to the user device 30, and performs an electronic signature. And an electronic certificate (step S2105).
  • the user authentication unit 601 of the main application 60 displays a PIN code input screen.
  • the user authentication unit 601 uses the authentication function 620 of the IC chip to check whether the input PIN code is correct (step S2106).
  • the PIN code is correct (that is, when the user authentication is successful)
  • other functions of the IC chip can be used from the main body application 60.
  • the security processing unit 602 of the main body application 60 performs an electronic signature on the message received from the intermediate server 21 using the electronic signature function 622 of the IC chip, and performs an electronic signature from the memory using the electronic certificate read function 627. Read the certificate.
  • the main processing unit 600 of the main body application 60 transmits the electronic signature-attached electronic message and the electronic certificate to the intermediate server 21 (Step S2107).
  • the intermediate server 21 verifies the electronic signature-attached message using the electronic certificate received from the user device 30 (step S2108). If the verification is successful, the intermediate server 21 links the user ID1 of the user to the intermediate server 21 with the electronic certificate and registers the electronic certificate in the user information storage unit 211 (step S2109). Then, the intermediate server 21 notifies the main application 60 that registration of the electronic certificate has been completed (step S2110). When the registration with the intermediate server 21 is completed, a menu screen is displayed on the user device 30 (step S2111).
  • FIG. 23 shows a flow of login authentication of the intermediate service.
  • the user authentication unit 601 displays a PIN code input screen (step S2200).
  • the user authentication unit 601 uses the authentication function 620 of the IC chip to check whether the input PIN code is correct (step S2201). If the PIN code is correct (that is, if the user authentication is successful), the security processing unit 602 of the main application 60 uses the electronic signature function 622 of the IC chip to convert the user ID 1 to the intermediate server 21 and the authentication message. On the other hand, an electronic signature is performed (step S2202). Then, the main processing unit 600 of the main application 60 transmits a login request to the intermediate server 21 (Step S2203).
  • the login request includes a user ID 1 to the intermediate server 21, a user ID 2 and a password 2 to the service providing server 20, an authentication message, and an electronic signature.
  • the login control unit 212 of the intermediate server 21 Upon receiving the login request, the login control unit 212 of the intermediate server 21 reads the corresponding electronic certificate from the user information storage unit 211 based on the user ID 1 to the intermediate server 21 included in the login request, and Is used to verify the digital signature included in the login request (step S2204). If necessary, the login control unit 212 may inquire of the certificate authority about the validity of the electronic certificate (steps S2205 and S2206). If the verification of the electronic signature is successful and the validity of the electronic certificate is confirmed, the login control unit 212 determines that the login request is from a valid user and sends the user to the service providing server 20. The ID 2 and the password 2 are associated with the user ID 1 of the user to the intermediate server 21 and registered in the user information storage unit 211 (step S2207).
  • the login control unit 212 of the intermediate server 21 transmits an access request to the service providing server 20 (Step S2208).
  • the access request includes a user ID 2 and a password 2 for the service providing server 20.
  • the access control unit 202 of the service providing server 20 verifies the user ID 2 and the password 2 to the service providing server 20 (Step S2209). If the verification of the user ID 2 and the password 2 is successful, the access control unit 202 determines that the access request is from the intermediate server 21 to which the user has been given the proxy authority, and gives the intermediate server 21 an access permission. (Step S2210).
  • the intermediate server 21 When the access permission for the online service is obtained, the intermediate server 21 notifies the main body application 60 of the login authentication OK (step S2211). Thereafter, the menu screen of the intermediate service is displayed on the user device 30, and the user can perform a desired procedure (step S2212).
  • the intermediate service and the online service can be used with a very simple operation as compared with the method using a physical token.
  • FIG. 24 is a diagram showing a flow when using the intermediate service. It is assumed that the login to the intermediate service has already been completed and the menu screen is displayed on the user device 30.
  • step S2300 When the user selects a procedure to be used from the menu screen, the screen transits to a detailed screen (step S2300).
  • necessary information for example, transfer destination, transfer amount, etc.
  • step S2301 the main processing unit 600 of the main application 60 describes information necessary for the transfer procedure.
  • the created procedure message is created (step S2302).
  • the user authentication unit 601 of the main body application 60 displays a PIN code input screen and performs PIN code authentication (step S2303). Since the procedure of PIN code authentication is the same as that described above, the description is omitted.
  • the security processing unit 602 of the main application 60 performs an electronic signature on the procedure message using the electronic signature function 622 of the IC chip (step S2304).
  • the electronic signature function 622 may calculate a hash value of the procedure message and generate an electronic signature by encrypting the hash value with a secret key, or encrypt the procedure message itself with a secret key. Thus, an electronic signature may be generated.
  • the main processing unit 600 of the main application 60 transmits a procedure request to the intermediate server 21 (Step S2305).
  • the procedure request includes a user ID 1 for the intermediate server 21, a procedure message, and an electronic signature.
  • the proxy control unit 213 of the intermediate server 21 Upon receiving the procedure request, the proxy control unit 213 of the intermediate server 21 reads the corresponding electronic certificate from the user information storage unit 211 based on the user ID 1 of the user included in the procedure request to the intermediate server, and reads the electronic certificate. The digital signature included in the procedure request is verified using the certificate (step S2306). Further, the proxy control unit 213 may inquire of the certificate authority about the validity of the electronic certificate as necessary (steps S2307 and S2308). If the verification of the electronic signature is successful and the validity of the electronic certificate is confirmed, the proxy control unit 213 determines that the procedure request is from a valid user. That is, it is determined that there is no impersonation by a third party and that the contents of the procedure message have not been falsified.
  • the proxy control unit 213 reads out the user ID 2 and the password 2 of the user to the service providing server 20 and transmits the procedure request to the service providing server 20. (Step S2309).
  • the procedure message and the electronic signature received from the user device 30 are added to the procedure request.
  • the procedure control unit 203 of the service providing server 20 verifies the user ID 2 and the password 2 (Step S2310). If the user ID 2 and the password 2 are successfully verified, the procedure control unit 203 determines that the procedure request is from a valid user. That is, it is determined that there is no spoofing by a third party and that the content of the procedure message has not been tampered with.
  • the procedure control unit 203 executes a procedure (such as a transfer) based on the information described in the procedure message (step S2311).
  • a procedure completion notification to the intermediate server 21
  • the intermediate server 21 transmits a procedure completion notification to the main application 60 (steps S2312 and S2313). Then, a procedure completion screen is displayed.
  • the intermediate service and the online service can be used with a very simple operation as compared with a method using a physical token.
  • the procedure for registering the user's digital certificate in the intermediate server 21 (steps S2400 to S2410) is the same as the procedure (steps S2100 to S2110) described with reference to FIG.
  • an authorization code for issuing an access token and an access token are issued.
  • the access token is like a certificate when the intermediate server 21 uses the online service on behalf of the user.
  • the proxy of the online service by the intermediate server 21 is realized using the mechanism of OAuth 2.0.
  • the user device 30 sends the user ID 1 to the intermediate server 21, the user ID 2 and password 2 to the service providing server 20, a message with an electronic signature, an electronic certificate Is transmitted to the intermediate server 21 (step S2411).
  • the intermediate server 21 verifies the electronic signature-added message using the electronic certificate received from the user device 30 (step S2412).
  • the user registration unit 200 of the intermediate server 21 links the user ID 2 to the service providing server 20 and the user ID 1 to the intermediate server 21 and registers them in the user information storage unit 211 (Step S2413).
  • the intermediate server 21 transmits an authorization code issuance request to the service providing server 20 together with the user ID 2 and the password 2 to the service providing server 20 received from the user device 30 (step S2414).
  • the service providing server 20 verifies the user ID 2 and the password 2 received from the intermediate server 21, and when the verification is successful, the service providing server 20 issues an authorization code for issuing an access token associated with the received user ID 2. (Step S2415).
  • the service providing server 20 transmits the authentication result together with the user ID 2 and the authorization code to the intermediate server 21 (Step S2416).
  • the intermediate server 21 converts the received user ID 2 to the service providing server 20 into the user ID 1 to the intermediate server 21, and transmits the authorization code and the authentication result to the user device 30 (step S2417).
  • the user device 30 transmits an access token issuance request to the intermediate server 21 together with the user ID 1 and the authorization code to the intermediate server 21 (step S2418).
  • the intermediate server 21 converts the received user ID 1 to the intermediate server 21 into a user ID 2 to the service providing server 20, and transmits the user ID 2, the authorization code, and the access token issuance request to the service providing server 20 (step S2419).
  • the service providing server 20 issues an access token to the pair of the user and the intermediate service (step S2420).
  • the user registration unit 200 associates the issued access token with the user ID 2 for the service providing server 20 and registers the user ID in the user information storage unit 201.
  • the service providing server 20 transmits the user ID 2 to the service providing server 20 and the issued access token to the intermediate server 21 (Step S2421).
  • the intermediate server 21 associates the received access token with the user ID 1 of the user to the intermediate server 21 and registers it in the user information storage unit 211 (step S2422).
  • the intermediate server 21 also receives a refresh token from the service providing server 20 together with the access token.
  • the refresh token is a token used for reissuing an access token. Since this is a specification of OAuth 2.0, detailed description is omitted here.
  • the intermediate server 21 notifies the main application 60 of the notification that the issuance of the access token has been completed, and the menu screen is displayed on the user device 30 (steps S2423 and S2424).
  • FIG. 27 shows the flow of the login process to the intermediate service.
  • the processing in steps S2600 to S2606 in FIG. 27 is almost the same as the processing in steps S2200 to S2206 in FIG.
  • this example is different from the processing in FIG. 23 in that the information added to the login request is the user ID 1 to the intermediate server 21, the authentication message, and the electronic signature.
  • the intermediate server 21 After confirming the validity of the digital signature and the validity of the digital certificate, the intermediate server 21 transmits an access request to the service providing server 20 (step S2607). At this time, the intermediate server 21 reads the user ID 2 to the service providing server 20 and the access token of the online service from the user information storage unit 211 based on the user ID 1 to the intermediate server 21 included in the login request, and Send.
  • the access control unit 202 of the service providing server 20 verifies the user ID 2 and the access token for the service providing server 20 included in the access request (Step S2608). If the verification is successful, the access control unit 202 determines that the access request is from the intermediate server 21 to which the user has been given the proxy authority, and gives access permission to the intermediate server 21 (step S2609).
  • the intermediate server 21 When the online service access permission is obtained, the intermediate server 21 notifies the main body application 60 of the login authentication OK (step S2610). Thereafter, the menu screen of the intermediate service is displayed on the user device 30, and the user can perform a desired procedure (step S2611).
  • the intermediate service and the online service can be used with a very simple operation as compared with the method using a physical token.
  • FIG. 28 shows a flow of processing of the online service. Steps S2700 to S2708 in FIG. 28 are the same as steps S2300 to S2308 in FIG.
  • the proxy control unit 213 of the intermediate server 21 transmits the procedure request to the service providing server 20 (step S2709).
  • the proxy control unit 213 reads the user ID 2 to the corresponding service providing server 20 and the access token of the online service from the user information storage unit 211 based on the user ID 1 received from the user device 30, and (Step S2709).
  • the procedure request includes an access token, a procedure message received from the user device 30, and an electronic signature.
  • the procedure control unit 203 of the service providing server 20 verifies the user ID 2 and the access token to the service providing server 20 included in the procedure request (Step S2710). If the verification is successful, the procedure control unit 203 determines that the procedure request is from a valid user.
  • the procedure control unit 203 executes a procedure (such as a transfer) based on the information described in the procedure message (step S2711).
  • a procedure such as a transfer
  • the procedure control unit 203 transmits a procedure completion notification to the intermediate server 21 (Step S2712), and the intermediate server 21 transmits a procedure completion notification to the main application 60 (Step S2713).
  • the procedure completion screen is displayed on the user device 30 that has received the procedure completion notification.
  • the intermediate service and the online service can be used with a very simple operation as compared with the method using a physical token.
  • Communication between the intermediate server 21 and the service providing server 20 may be encrypted by a method different from the encrypted communication by the IC chip.
  • a common key may be shared between the intermediate server 21 and the service providing server 20, and communication between the intermediate server 21 and the service providing server 20 may be encrypted with the common key.
  • communication between the intermediate server 21 and the service providing server 20 may be encrypted by a public key cryptosystem.
  • encrypted communication such as SSL / TLS and IPsec may be used.
  • the encrypted communication of (3) may be combined with the method of using the user ID and the password of (1) or the method of using the access token of (2).
  • a secure communication between the intermediate server 21 and the service providing server 20 can be realized by using a mechanism of the dedicated line.
  • a dedicated line is a communication line that can be used exclusively.
  • a physical dedicated line may be provided between the intermediate server 21 and the service providing server 20, or a virtual dedicated line (VPN) may be used.
  • VPN virtual dedicated line
  • the dedicated line (4) may be combined with the method (1) using a user ID and password, the method (2) using an access token, or the method (3) using encrypted communication. .
  • FIG. 29A shows a configuration in which two or more intermediate servers 21A and 21B are connected (serial) between the user device 30 and the service providing server 20.
  • the first intermediate server 21A is a server of a company (referred to as a Fintech company) that provides a value-added service such as a household account book or asset management in cooperation with a bank service
  • the second intermediate server 21B is a Fintech company.
  • the service providing server 20 is a bank system that provides an online banking service by intervening between a bank and a bank to perform verification by an electronic certificate, management of a user, and the like.
  • a part or all of the processing such as the verification by the electronic certificate and the management of the user is separated from the service providing server 20 and replaced with another intermediate server 21B so that the service providing server 20 can be easily introduced and operated. Expected to be.
  • Such a form is advantageous, for example, in a case where the management of the electronic certificates and the users of the service providing servers 20 of a plurality of banks is centrally performed by one intermediate server 21B.
  • the configuration of FIG. 29A can also be applied to the case where the intermediate server 21A of a Fintech company uses the service of the intermediate server 21B of another Fintech company. For example, it is assumed that services provided by individual Fintech companies are bundled to provide an integrated Fintech service.
  • FIG. 29B shows a configuration in which two or more service providing servers 20A and 20B are connected in series. This configuration can be applied, for example, to a case where a bank transfers money to another bank, a case where a bank server and a securities server cooperate, and the like.
  • FIG. 29C is an example of a configuration in which two or more intermediate servers 21A and 21B and two or more service providing servers 20A and 20B are connected in series.
  • the number of connections between the intermediate server 21 and the service providing server 20 is arbitrary. The operation in the case where there are two intermediate servers and one service providing server will be described below.
  • FIG. 30 shows the flow of the registration procedure for the intermediate service.
  • the user registration for the intermediate service provided by the intermediate server A (21A) and the user registration for the online service provided by the service providing server 20 have already been completed, and the user logs in to the service provided by the intermediate server A.
  • ID and password hereinafter referred to as “user ID 1” and “password 1” for convenience
  • user ID 1 and “password 1” for convenience an ID and password for logging in to a service provided by the service providing server 20
  • User ID 2 ”and“ Password 2 ” are assigned to the user.
  • the intermediate server A (21A) and the intermediate server B (21B) cooperate to provide an intermediate service to the user, and the user should be aware that the intermediate server is connected in multiple stages. There is no.
  • the user operates the user device 30 to download and install the main body application 60 (step S2900). Then, the user starts the main body application 60 and opens the login screen of the intermediate server A (step S2901). At the first login, the user ID 1 and password 1 for the intermediate server A are input on the login screen, and the user device 30 transmits a login request to the intermediate server A along with the user ID 1 and password 1. At this time, the main body application stores the user ID 1 to the intermediate server A in the nonvolatile memory (Step S2903). It is better not to store the password 1 in the user device 30 from the viewpoint of security.
  • the user ID 1 and the password 1 to the intermediate server A are information given by the intermediate service provider when a new application for the intermediate service, which is a separate procedure, is made.
  • the intermediate server A verifies the user ID 1 and the password 1 and when the login to the intermediate server A is completed (step S2904), the intermediate server A transmits the user ID 1 and the password 1 received from the user device 30 to the intermediate server B. (Step S2905).
  • the intermediate server B verifies the user ID 1 and the password 1, and when the login to the intermediate server B is completed (step S2906), the intermediate server B transmits a predetermined message (contents may be any) to the intermediate server B. A, and requests an electronic signature and an electronic certificate (step S2907).
  • the intermediate server A transmits the predetermined message received from the intermediate server B to the user device 30 (Step S2908).
  • the user authentication unit 601 of the main application 60 displays a PIN code input screen.
  • the user authentication unit 601 uses the authentication function 620 of the IC chip to check whether the input PIN code is correct (step S2909).
  • the PIN code is correct (that is, when the user authentication is successful)
  • other functions of the IC chip can be used from the main body application 60.
  • the security processing unit 602 of the main body application 60 performs an electronic signature on the message received from the intermediate server A using the electronic signature function 622 of the IC chip, and performs an electronic signature from the memory using the electronic certificate read function 627. Read the certificate.
  • the main processing unit 600 of the main body application 60 transmits the electronic signature-attached electronic message and the electronic certificate to the intermediate server A (step S2910).
  • the intermediate server A transmits the electronic signature-added electronic message and the electronic certificate received from the user device 30 to the intermediate server B (step S2911), and verifies the electronic signature-added electronic message using the electronic certificate (step S2912). . If the verification is successful, the intermediate server A associates the user ID1 of the user with the electronic certificate and registers it in the user information storage unit (step S2913).
  • the intermediate server B verifies the electronic signature-attached message using the electronic certificate (step S2914). If the verification is successful, the intermediate server B associates the user ID1 of the user with the electronic certificate and registers it in the user information storage unit (step S2916). Then, the intermediate server B notifies the intermediate server A that registration of the electronic certificate has been completed (step S2916). In response, the intermediate server A notifies the main application 60 that registration of the electronic certificate has been completed (step S2917). When the registration for the intermediate service is completed, a menu screen is displayed on the user device 30.
  • FIG. 31 and FIG. 31 show the flow of login authentication of the intermediate service.
  • the user authentication unit 601 displays a PIN code input screen (step S3000).
  • the user authentication unit 601 checks whether the input PIN code is correct using the authentication function 620 of the IC chip (step S3001). If the PIN code is correct (that is, if the user authentication is successful), the security processing unit 602 of the main application 60 uses the electronic signature function 622 of the IC chip to convert the user ID 1 to the intermediate server A and the authentication message. On the other hand, an electronic signature is performed (step S3002). Then, the main processing unit 600 of the main application 60 transmits a login request to the intermediate server A (Step S3003).
  • the login request includes a user ID 1 for the intermediate server A, a user ID 2 and a password 2 for the service providing server 20, an authentication message, and an electronic signature.
  • the login control unit 212 of the intermediate server A Upon receiving the login request, the login control unit 212 of the intermediate server A reads the corresponding electronic certificate from the user information storage unit 211 based on the user ID 1 for the intermediate server A included in the login request, and Is used to verify the digital signature included in the login request (step S3004). If necessary, the login control unit 212 may inquire of the certificate authority about the validity of the electronic certificate (steps S3005 and S3006). If the verification of the electronic signature is successful and the validity of the electronic certificate is confirmed, the login control unit 212 determines that the login request is from a valid user.
  • the login control unit 212 of the intermediate server A transmits a login request to the intermediate server B (Step S3007).
  • the login request includes a user ID 1, a user ID 2, a password 2, an authentication message, and an electronic signature.
  • the login control unit 212 of the intermediate server B Upon receiving the login request, the login control unit 212 of the intermediate server B reads the corresponding electronic certificate from the user information storage unit 211 based on the user ID 1 included in the login request, and logs in using this electronic certificate. The digital signature included in the request is verified (step S3008). If necessary, the login control unit 212 may inquire of the certificate authority about the validity of the electronic certificate (steps S3009 and S3010). If the verification of the electronic signature is successful and the validity of the electronic certificate is confirmed, the login control unit 212 determines that the login request is from a valid user and sends the user to the service providing server 20. The ID 2 and the password 2 are associated with the user ID 1 of the user to the intermediate server A and registered in the user information storage unit 211 (step S3011).
  • the login control unit 212 of the intermediate server B transmits an access request to the service providing server 20 (Step S3012).
  • the access request includes a user ID 2 and a password 2 for the service providing server 20.
  • the access control unit 202 of the service providing server 20 verifies the user ID 2 and the password 2 to the service providing server 20 (Step S3013).
  • the access control unit 202 determines that the access request is from the intermediate server to which the user has been given proxy authority, and An access permission is given to B (step S3014).
  • the intermediate server B When the access permission for the online service is obtained, the intermediate server B notifies the intermediate server A of the login authentication OK (step S3015), and further, the intermediate server A notifies the main application 60 of the login authentication OK (step S3016). . Thereafter, the menu screen of the intermediate service is displayed on the user device 30, and the user can perform a desired procedure (step S3017).
  • the intermediate service and the online service can be used with a very simple operation as compared with the method using a physical token.
  • FIG. 33 and FIG. 34 are diagrams showing the flow when using the intermediate service. It is assumed that the login to the intermediate service has already been completed and the menu screen is displayed on the user device.
  • step S3200 When the user selects a procedure to be used from the menu screen, the screen transits to a detailed screen (step S3200).
  • necessary information for example, a transfer destination, a transfer amount, etc.
  • step S3201 When the user inputs necessary information (for example, a transfer destination, a transfer amount, etc.) on this detailed screen and presses an execution button (step S3201), the main processing unit 600 of the main application 60 describes information necessary for the transfer procedure.
  • the created procedure message is created (step S3202).
  • the user authentication unit 601 of the main body application 60 displays a PIN code input screen and performs PIN code authentication (step S3203). Since the procedure of PIN code authentication is the same as that described above, the description is omitted.
  • the security processing unit 602 of the main application 60 performs an electronic signature on the procedure message using the electronic signature function 622 of the IC chip (step S3204).
  • the electronic signature function 622 may calculate a hash value of the procedure message and generate an electronic signature by encrypting the hash value with a secret key, or encrypt the procedure message itself with a secret key. Thus, an electronic signature may be generated.
  • the main processing unit 600 of the main application 60 transmits a procedure request to the intermediate server A (Step S3205).
  • the procedure request includes a user ID 1 for the intermediate server A, a procedure message, and an electronic signature.
  • the proxy control unit 213 of the intermediate server A Upon receiving the procedure request, the proxy control unit 213 of the intermediate server A reads the corresponding electronic certificate from the user information storage unit 211 based on the user ID 1 of the user included in the procedure request to the intermediate server, and reads the electronic certificate. The electronic signature included in the procedure request is verified using the certificate (step S3206). If necessary, the proxy control unit 213 of the intermediate server A may inquire of the certificate authority about the validity of the electronic certificate (steps S3207, S3208). If the verification of the electronic signature is successful and the validity of the electronic certificate is confirmed, the proxy control unit 213 of the intermediate server A determines that the procedure request is from a valid user. That is, it is determined that there is no impersonation by a third party and that the contents of the procedure message have not been falsified.
  • the proxy control unit 213 of the intermediate server A transmits the procedure request to the intermediate server B (step S3209).
  • This procedure request has a user ID 1, a procedure message, and an electronic signature added thereto.
  • the proxy control unit 213 of the intermediate server B Upon receiving the procedure request, the proxy control unit 213 of the intermediate server B reads the corresponding electronic certificate from the user information storage unit 211 based on the user ID 1 included in the procedure request, and uses this electronic certificate to perform the procedure. The digital signature included in the request is verified (step S3210). If necessary, the proxy control unit 213 of the intermediate server B may inquire of the certificate authority about the validity of the electronic certificate (steps S3211 and S3212). If the verification of the electronic signature is successful and the validity of the electronic certificate is confirmed, the proxy control unit 213 of the intermediate server B determines that the procedure request is from a valid user. That is, it is determined that there is no impersonation by a third party and that the contents of the procedure message have not been falsified.
  • the proxy control unit 213 of the intermediate server B reads out the user ID 2 and the password 2 to the service providing server 20 and transmits the procedure request to the service providing server 20. (Step S3213).
  • the procedure message and the electronic signature received from the user device 30 are added to the procedure request.
  • the procedure control unit 203 of the service providing server 20 verifies the user ID 2 and the password 2 (Step S3214). If the user ID 2 and the password 2 are successfully verified, the procedure control unit 203 determines that the procedure request is from a valid user. That is, it is determined that there is no spoofing by a third party and that the content of the procedure message has not been tampered with.
  • the procedure control unit 203 executes a procedure (such as a transfer) based on the information described in the procedure message (step S3215).
  • a procedure such as a transfer
  • the procedure control unit 203 transmits a procedure completion notification to the intermediate server B (step S3216), and the intermediate server B transmits a procedure completion notification to the intermediate server A (step S3217).
  • the notification is transmitted to the main body application 60 (step S3218). Then, a procedure completion screen is displayed.
  • the user device 30 when the user device 30 performs data communication with each server or certificate authority via the Internet, the user device 30 associates the IMSI of the communication SIM card provided in the user device 30 with the IMSI.
  • the SIM card (that is, the user device 30) as the source or destination of the data is specified by the assigned IP address.
  • the IP address may be a dynamically assigned IP address or a fixed IP address.
  • Service providing server 21 Intermediate server 30: User equipment 60: Application program 70: IC card issuing terminal 306: SIM card 307: IC card (sub SIM) 308: SIM card slot

Landscapes

  • Engineering & Computer Science (AREA)
  • Computer Security & Cryptography (AREA)
  • Computer Networks & Wireless Communication (AREA)
  • Business, Economics & Management (AREA)
  • Signal Processing (AREA)
  • Accounting & Taxation (AREA)
  • General Business, Economics & Management (AREA)
  • General Physics & Mathematics (AREA)
  • Theoretical Computer Science (AREA)
  • Physics & Mathematics (AREA)
  • Strategic Management (AREA)
  • General Engineering & Computer Science (AREA)
  • Computer Hardware Design (AREA)
  • Computing Systems (AREA)
  • Microelectronics & Electronic Packaging (AREA)
  • Finance (AREA)
  • Health & Medical Sciences (AREA)
  • Biomedical Technology (AREA)
  • General Health & Medical Sciences (AREA)
  • Financial Or Insurance-Related Operations Such As Payment And Settlement (AREA)
  • Telephonic Communication Services (AREA)
PCT/JP2019/025434 2018-06-26 2019-06-26 オンラインサービス提供システム、アプリケーションプログラム Ceased WO2020004486A1 (ja)

Priority Applications (4)

Application Number Priority Date Filing Date Title
US17/255,455 US11617084B2 (en) 2018-06-26 2019-06-26 Online service providing system and application program
JP2020527589A JP7469756B2 (ja) 2018-06-26 2019-06-26 オンラインサービス提供システム
EP19825083.9A EP3817278A4 (en) 2018-06-26 2019-06-26 ONLINE SERVICE DELIVERY SYSTEM AND APPLICATION PROGRAM
JP2023222237A JP2024024011A (ja) 2018-06-26 2023-12-28 オンラインサービス提供システム、アプリケーションプログラム

Applications Claiming Priority (2)

Application Number Priority Date Filing Date Title
JP2018-121031 2018-06-26
JP2018121031 2018-06-26

Publications (1)

Publication Number Publication Date
WO2020004486A1 true WO2020004486A1 (ja) 2020-01-02

Family

ID=68986599

Family Applications (1)

Application Number Title Priority Date Filing Date
PCT/JP2019/025434 Ceased WO2020004486A1 (ja) 2018-06-26 2019-06-26 オンラインサービス提供システム、アプリケーションプログラム

Country Status (4)

Country Link
US (1) US11617084B2 (enExample)
EP (1) EP3817278A4 (enExample)
JP (2) JP7469756B2 (enExample)
WO (1) WO2020004486A1 (enExample)

Cited By (1)

* Cited by examiner, † Cited by third party
Publication number Priority date Publication date Assignee Title
US12143388B2 (en) * 2020-12-01 2024-11-12 Initial State Technologies, Inc. System and method for securely connecting a test and measurement instrument to a web service

Families Citing this family (4)

* Cited by examiner, † Cited by third party
Publication number Priority date Publication date Assignee Title
US11870907B2 (en) * 2018-06-26 2024-01-09 Japan Communications Inc. Online service providing system and application program
US11477026B1 (en) * 2019-08-21 2022-10-18 Riverbed Technology, Inc. Using secure tokens for stateless software defined networking
JP7262378B2 (ja) * 2019-12-05 2023-04-21 株式会社日立製作所 認証認可システムおよび認証認可方法
EP4203387B1 (de) * 2021-12-22 2024-10-02 Deutsche Telekom AG Verfahren und system zur authentifizierung eines endgeräts eines nutzers

Citations (11)

* Cited by examiner, † Cited by third party
Publication number Priority date Publication date Assignee Title
JPH10177552A (ja) * 1996-12-17 1998-06-30 Fuji Xerox Co Ltd 認証応答方法およびその方法を用いた認証応答装置
JP2003298574A (ja) * 2002-03-29 2003-10-17 Toshiba Corp 電子機器、認証局、電子機器認証システム、電子機器の認証方法
JP2007058455A (ja) * 2005-08-23 2007-03-08 Dainippon Printing Co Ltd アクセス管理システム、および、アクセス管理方法
WO2007094035A1 (ja) * 2006-02-13 2007-08-23 Seiko Instruments Inc. 検証サーバ機器
JP2009217722A (ja) * 2008-03-12 2009-09-24 Nippon Telegr & Teleph Corp <Ntt> 認証処理システム、認証装置、管理装置、認証処理方法、認証処理プログラムおよび管理処理プログラム
JP2009237774A (ja) * 2008-03-26 2009-10-15 Advanced Media Inc 認証サーバ、サービス提供サーバ、認証方法、通信端末、およびログイン方法
JP2012048728A (ja) 2011-09-20 2012-03-08 Sandisk Il Ltd 個人の存在を条件とする、トークンによるトランザクション認証
JP2014010486A (ja) * 2012-06-27 2014-01-20 Ntt Docomo Inc 情報処理装置及び認可情報管理方法
JP2016071538A (ja) 2014-09-29 2016-05-09 株式会社日立製作所 認証システム
WO2017022121A1 (ja) * 2015-08-06 2017-02-09 三菱電機株式会社 認証装置、認証システム、及び認証方法
JP2017157984A (ja) * 2016-02-29 2017-09-07 Kddi株式会社 通信システム、ハードウェアセキュリティモジュール、端末装置、通信方法、及びプログラム

Family Cites Families (12)

* Cited by examiner, † Cited by third party
Publication number Priority date Publication date Assignee Title
JPH08328470A (ja) * 1995-05-31 1996-12-13 N T T Data Tsushin Kk デジタル署名のための鍵生成方式及びその鍵を用いて署名を行うicカード
FI116654B (fi) 2003-10-23 2006-01-13 Siltanet Ltd Menetelmä käyttäjän autentikoimiseksi
US7559468B2 (en) * 2004-05-24 2009-07-14 Panasonic Corporation Reader/writer secure module access control method
US7613915B2 (en) * 2006-11-09 2009-11-03 BroadOn Communications Corp Method for programming on-chip non-volatile memory in a secure processor, and a device so programmed
NZ589160A (en) * 2008-04-14 2012-08-31 Lockstep Technologies Pty Ltd Authenticating electronic financial transactions
IT1396776B1 (it) * 2009-11-11 2012-12-14 Sisvel Technology Srl Dispositivo e metodo di comunicazione in una rete di comunicazione mobile
WO2011110539A1 (en) 2010-03-08 2011-09-15 Gemalto Sa System and method for using a portable security device to cryptographically sign a document in response to signature requests from a relying party to a digital signature service
CN102054258A (zh) 2010-12-16 2011-05-11 中国建设银行股份有限公司 一种基于移动设备的电子银行安全认证方法及系统
US9325683B2 (en) * 2012-06-18 2016-04-26 Infosys Limited Mobile application management framework
US10528946B2 (en) * 2013-11-06 2020-01-07 Tencent Technology (Shenzhen) Company Limited System and method for authenticating, associating and storing secure information
US9392457B2 (en) * 2013-11-27 2016-07-12 Cellco Partnership Method and apparatus for self-activating a mobile device
US20160048688A1 (en) * 2014-08-14 2016-02-18 Google Inc. Restricting System Calls using Protected Storage

Patent Citations (11)

* Cited by examiner, † Cited by third party
Publication number Priority date Publication date Assignee Title
JPH10177552A (ja) * 1996-12-17 1998-06-30 Fuji Xerox Co Ltd 認証応答方法およびその方法を用いた認証応答装置
JP2003298574A (ja) * 2002-03-29 2003-10-17 Toshiba Corp 電子機器、認証局、電子機器認証システム、電子機器の認証方法
JP2007058455A (ja) * 2005-08-23 2007-03-08 Dainippon Printing Co Ltd アクセス管理システム、および、アクセス管理方法
WO2007094035A1 (ja) * 2006-02-13 2007-08-23 Seiko Instruments Inc. 検証サーバ機器
JP2009217722A (ja) * 2008-03-12 2009-09-24 Nippon Telegr & Teleph Corp <Ntt> 認証処理システム、認証装置、管理装置、認証処理方法、認証処理プログラムおよび管理処理プログラム
JP2009237774A (ja) * 2008-03-26 2009-10-15 Advanced Media Inc 認証サーバ、サービス提供サーバ、認証方法、通信端末、およびログイン方法
JP2012048728A (ja) 2011-09-20 2012-03-08 Sandisk Il Ltd 個人の存在を条件とする、トークンによるトランザクション認証
JP2014010486A (ja) * 2012-06-27 2014-01-20 Ntt Docomo Inc 情報処理装置及び認可情報管理方法
JP2016071538A (ja) 2014-09-29 2016-05-09 株式会社日立製作所 認証システム
WO2017022121A1 (ja) * 2015-08-06 2017-02-09 三菱電機株式会社 認証装置、認証システム、及び認証方法
JP2017157984A (ja) * 2016-02-29 2017-09-07 Kddi株式会社 通信システム、ハードウェアセキュリティモジュール、端末装置、通信方法、及びプログラム

Non-Patent Citations (1)

* Cited by examiner, † Cited by third party
Title
See also references of EP3817278A4

Cited By (1)

* Cited by examiner, † Cited by third party
Publication number Priority date Publication date Assignee Title
US12143388B2 (en) * 2020-12-01 2024-11-12 Initial State Technologies, Inc. System and method for securely connecting a test and measurement instrument to a web service

Also Published As

Publication number Publication date
EP3817278A4 (en) 2022-03-16
JP7469756B2 (ja) 2024-04-17
US20210297862A1 (en) 2021-09-23
JP2024024011A (ja) 2024-02-21
EP3817278A1 (en) 2021-05-05
US11617084B2 (en) 2023-03-28
JPWO2020004486A1 (ja) 2021-07-08

Similar Documents

Publication Publication Date Title
JP7469756B2 (ja) オンラインサービス提供システム
KR101544722B1 (ko) 부인 방지 방법, 이를 위한 결제 관리 서버 및 사용자 단말기
WO2009039771A1 (en) Mobile payment terminal and payment method based on pki technology
TW201813361A (zh) 圖形碼資訊提供、獲取方法、裝置及終端
CN102195932A (zh) 一种基于两个隔离设备实现网络身份认证的方法和系统
KR101659847B1 (ko) 모바일 단말을 이용한 2채널 사용자 인증 방법
KR101656458B1 (ko) 본인 확인 및 본인 인증을 위한 인증 방법 및 시스템
KR100939725B1 (ko) 모바일 단말기 인증 방법
KR102012262B1 (ko) 키 관리 방법 및 fido 소프트웨어 인증장치
US20170154329A1 (en) Secure transaction system and virtual wallet
JP6499368B1 (ja) オンラインサービス提供システム
CN104333452A (zh) 一种对文件数据多账户加密的方法
JP6499369B1 (ja) オンラインサービス提供システム
KR101771484B1 (ko) 보안 토큰을 효율적으로 사용하기 위한 서명 키 생성방법
KR101639794B1 (ko) 본인 확인 및 본인 인증을 위한 인증 방법 및 시스템
JP6499367B1 (ja) オンラインサービス提供システム
JP2024038201A (ja) オンラインサービス提供システム、icチップ、アプリケーションプログラム
JP2024029152A (ja) オンラインサービス提供システム、アプリケーションプログラム
JP4372403B2 (ja) 認証システム
JP4409497B2 (ja) 秘密情報送信方法
KR101394147B1 (ko) 모바일에서 안전하게 인증서를 사용하는 방법
KR20090066516A (ko) 모바일 환경에서의 공인인증서 서비스 방법
Park Evolution of PKI internet Banking in Korea
EP4327223A1 (en) Data management system implemented in a mobile device
HK1250275A1 (zh) 基於鉴权装置的电子身份证签发认证和安全支付系统

Legal Events

Date Code Title Description
121 Ep: the epo has been informed by wipo that ep was designated in this application

Ref document number: 19825083

Country of ref document: EP

Kind code of ref document: A1

ENP Entry into the national phase

Ref document number: 2020527589

Country of ref document: JP

Kind code of ref document: A

NENP Non-entry into the national phase

Ref country code: DE

ENP Entry into the national phase

Ref document number: 2019825083

Country of ref document: EP

Effective date: 20210126