WO2019087615A1 - 虚像表示装置 - Google Patents

虚像表示装置 Download PDF

Info

Publication number
WO2019087615A1
WO2019087615A1 PCT/JP2018/035137 JP2018035137W WO2019087615A1 WO 2019087615 A1 WO2019087615 A1 WO 2019087615A1 JP 2018035137 W JP2018035137 W JP 2018035137W WO 2019087615 A1 WO2019087615 A1 WO 2019087615A1
Authority
WO
WIPO (PCT)
Prior art keywords
light
reflection
display
incidence
display light
Prior art date
Legal status (The legal status is an assumption and is not a legal conclusion. Google has not performed a legal analysis and makes no representation as to the accuracy of the status listed.)
Ceased
Application number
PCT/JP2018/035137
Other languages
English (en)
French (fr)
Japanese (ja)
Inventor
潤也 横江
Current Assignee (The listed assignees may be inaccurate. Google has not performed a legal analysis and makes no representation or warranty as to the accuracy of the list.)
Denso Corp
Original Assignee
Denso Corp
Priority date (The priority date is an assumption and is not a legal conclusion. Google has not performed a legal analysis and makes no representation as to the accuracy of the date listed.)
Filing date
Publication date
Application filed by Denso Corp filed Critical Denso Corp
Publication of WO2019087615A1 publication Critical patent/WO2019087615A1/ja
Anticipated expiration legal-status Critical
Ceased legal-status Critical Current

Links

Images

Classifications

    • BPERFORMING OPERATIONS; TRANSPORTING
    • B60VEHICLES IN GENERAL
    • B60KARRANGEMENT OR MOUNTING OF PROPULSION UNITS OR OF TRANSMISSIONS IN VEHICLES; ARRANGEMENT OR MOUNTING OF PLURAL DIVERSE PRIME-MOVERS IN VEHICLES; AUXILIARY DRIVES FOR VEHICLES; INSTRUMENTATION OR DASHBOARDS FOR VEHICLES; ARRANGEMENTS IN CONNECTION WITH COOLING, AIR INTAKE, GAS EXHAUST OR FUEL SUPPLY OF PROPULSION UNITS IN VEHICLES
    • B60K35/00Instruments specially adapted for vehicles; Arrangement of instruments in or on vehicles
    • B60K35/20Output arrangements, i.e. from vehicle to user, associated with vehicle functions or specially adapted therefor
    • B60K35/21Output arrangements, i.e. from vehicle to user, associated with vehicle functions or specially adapted therefor using visual output, e.g. blinking lights or matrix displays
    • B60K35/23Head-up displays [HUD]
    • B60K35/235Head-up displays [HUD] with means for detecting the driver's gaze direction or eye points
    • GPHYSICS
    • G02OPTICS
    • G02BOPTICAL ELEMENTS, SYSTEMS OR APPARATUS
    • G02B26/00Optical devices or arrangements for the control of light using movable or deformable optical elements
    • G02B26/08Optical devices or arrangements for the control of light using movable or deformable optical elements for controlling the direction of light
    • G02B26/10Scanning systems
    • GPHYSICS
    • G02OPTICS
    • G02BOPTICAL ELEMENTS, SYSTEMS OR APPARATUS
    • G02B27/00Optical systems or apparatus not provided for by any of the groups G02B1/00 - G02B26/00, G02B30/00
    • G02B27/01Head-up displays

Definitions

  • the present disclosure relates to a virtual image display device that displays a virtual image in a viewable manner.
  • the virtual image display device disclosed in Patent Document 1 includes a concave mirror, an image light emitting unit, and a reflection mirror. At least a part of the concave mirror is provided with a half mirror area consisting of a half mirror.
  • the image light emitting unit emits display light of the image toward the half mirror area.
  • the reflection mirror forms a reciprocating light path for reciprocating the display light with the concave mirror by reflecting the display light transmitted through the half mirror region toward the reflection mirror.
  • the display light reflected by the reflection mirror is reflected toward the projection unit by the concave mirror including the half mirror area.
  • the image is projected to the projection unit.
  • One object disclosed is to provide a virtual image display device with good visibility of a virtual image.
  • the virtual image display device disclosed herein is a virtual image display device that displays a virtual image so that the image can be viewed visually by projecting the image onto the projection unit.
  • a reflective / transmissive member having a reflection wavelength region as a wavelength region for reflecting light and a transmission wavelength region as a wavelength region for transmitting light by being provided with an optical multilayer film formed by laminating optical films ,
  • An image light emitting unit that emits display light of an image toward the reflective / transmissive member;
  • reciprocate reflection member constituting a reciprocation light path for causing display light to reciprocate between it and the reflection / transmission member by reflecting the display light having passed through the reflection / transmission member toward the reflection / transmission member again,
  • the first incident angle of the display light from the image light emitting portion side to the optical multilayer film of the reflective / transmissive member is defined as the first incidence, and the display light from the reciprocating reflective member side of the reciprocating light path to the optical multilayer film of the reflective / transmissive member If the incident by the
  • the first incident angle of the display light to the reflective / transmissive member is different from the second incident angle. Due to the difference in the incident angle, the reflection wavelength region and the transmission wavelength region realized by the optical multilayer film provided in the reflection and transmission member are shifted. Using such a shift action, the display light is guided to the reciprocating reflection member side of the reciprocating light path at the first incidence, and the display light is guided to the projection unit side at the second incidence.
  • the condition that the display light is incident at the second incident angle if the wavelength of the display light falls under one of the reflection wavelength region and the transmission wavelength region.
  • the transmission action and the reflection action of the optical multilayer film on the display light are switched by making the incident angles different from each other so that the wavelength of the display light falls under the other of the reflection wavelength region and the transmission wavelength region below.
  • FIG. 1 It is a schematic diagram which shows the mounting state to the vehicle of the HUD apparatus of 1st Embodiment. It is a figure which shows schematic structure of the HUD apparatus of 1st Embodiment, Comprising: It is the figure which looked at a HUD apparatus in the direction from the left to the right. It is a figure which shows schematic structure of the HUD apparatus of 1st Embodiment, Comprising: It is the figure which looked at a HUD apparatus from the upper direction to the downward direction. It is a figure which shows schematic structure of the liquid crystal display of 1st Embodiment. It is a graph which shows the spectrum of the display light immediately after inject
  • FIG. 2 It is a figure for demonstrating the reflective transmission member of 1st Embodiment. It is a graph which shows the reflectance characteristic of the optical multilayer film of 1st Embodiment. It is a figure corresponding to FIG. 2 in 2nd Embodiment. It is a figure which shows schematic structure of the laser indicator of 2nd Embodiment. It is a figure corresponding to FIG. 2 in 3rd Embodiment. It is a figure corresponding to FIG. 3 in 3rd Embodiment. It is a figure corresponding to FIG. 7 in 3rd Embodiment. It is a figure corresponding to FIG. 2 in 4th Embodiment. It is a figure corresponding to FIG. 2 in 5th Embodiment.
  • FIG. 2 It is a figure corresponding to FIG. 2 in 6th Embodiment. It is a figure corresponding to FIG. 2 in 7th Embodiment. It is a figure corresponding to FIG. 9 in 8th Embodiment. It is a figure corresponding to FIG. 7 in 8th Embodiment. It is a figure corresponding to FIG. 2 in 9th Embodiment. It is a figure corresponding to FIG. 7 in 9th Embodiment. It is a figure corresponding to FIG. 2 in the modification 1.
  • FIG. It is a figure corresponding to FIG. 3 in the modification 1.
  • FIG. It is a figure corresponding to FIG. 2 in the modification 2.
  • FIG. It is a figure corresponding to FIG. 3 in the modification 2.
  • FIG. 26 is a view corresponding to FIG. 5 in an example of modification 4;
  • FIG. 26 is a view corresponding to FIG. 5 in another example of modification 4;
  • FIG. 21 is a view corresponding to FIG. 2 in an example of modification 6.
  • FIG. 31 is a view corresponding to FIG. 2 in another example of the modification 6.
  • FIG. 21 is a view corresponding to FIG. 2 in an example of modification 7;
  • FIG. 31 is a view corresponding to FIG. 2 in another example of modification 7; It is a figure corresponding to FIG. 2 in the modification 13.
  • FIG. It is a figure corresponding to FIG. 2 in the modification 14.
  • FIG. It is a figure corresponding to FIG. 2 in the modification 15.
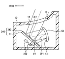
  • the virtual image display device is used in a vehicle 1 and is a head-up display device (hereinafter referred to as HUD device) housed in an instrument panel 2 of the vehicle 1. It is 100.
  • the HUD device 100 projects an image toward the projection unit 3 a set on the windshield 3 of the vehicle 1.
  • the HUD device 100 displays an image as a virtual image so as to be visible by an occupant as a viewer. That is, when the display light of the image reflected by the projection unit 3a reaches the viewing area EB set in the room of the vehicle 1, the occupant whose eye point EP is located in the viewing area EB is a virtual image of the display light Perceive as VRI.
  • various information displayed as a virtual image VRI examples include information indicating the state of the vehicle 1 such as the vehicle speed and the remaining amount of fuel, or navigation information such as visibility auxiliary information and road information.
  • the windshield 3 of the vehicle 1 is formed of, for example, glass or synthetic resin in a translucent plate shape, and is disposed above the instrument panel 2.
  • the windshield 3 forms the projection part 3a on which the display light is projected in a smooth concave or planar shape.
  • the projection unit 3 a may not be provided on the windshield 3.
  • a combiner that is separate from the vehicle 1 may be installed in the vehicle 1, and the projector 3a may be provided in the combiner.
  • the visual recognition area EB is a space area that can be visually recognized so that the virtual image VRI displayed by the HUD device 100 satisfies a predetermined standard, and is also referred to as an eye box.
  • the visual recognition area EB is typically set to overlap the eyedrops set in the vehicle 1.
  • the eye drops are set in an ellipsoidal shape based on an eye range that statistically represents the spatial distribution of the eye point EP of the occupant.
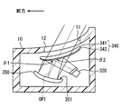
  • the HUD device 100 includes a housing 10, a liquid crystal display 20 as an image school unit, a reflection / transmission member 40, a reciprocating reflection member 50, and the like. Since the HUD device 100 can be downsized, it can be easily mounted on the vehicle 1.
  • the housing 10 is made of, for example, a synthetic resin or metal, and has a hollow shape that accommodates the other elements of the HUD device 100 such as the liquid crystal display 20 and the reciprocating reflection member 50. is set up.
  • the housing 10 has a window 11 which is optically opened on the upper surface facing the projection 3a.
  • the window portion 11 is covered with a dustproof sheet 12 capable of transmitting display light.
  • the image light emitting unit emits display light of an image formed as a virtual image VRI toward the reflection and transmission member 40.
  • the image light emitting unit of the present embodiment is a liquid crystal display 20.
  • the liquid crystal display 20 has a back light portion 21 and a liquid crystal panel 26, and is configured by, for example, accommodating them in a box-like casing 20a.
  • the backlight unit 21 includes, for example, a light source 22, a condenser lens 23, a field lens 24, and the like.
  • the light source 22 is configured, for example, by arranging a plurality of light emitting elements 22 a.
  • the light emitting element 22 a in the present embodiment is a light emitting diode element disposed on the light source circuit board 22 b and connected to a power supply.
  • Each light emitting element 22 a emits light with a light emission amount corresponding to the amount of current when it is energized.
  • pseudo white light emission is realized by covering a blue light emitting diode with a yellow phosphor.
  • the condenser lens 23 and the field lens 24 are disposed between the light source 22 and the liquid crystal panel 26.
  • the condenser lens 23 is formed of, for example, a synthetic resin or glass so as to be translucent.
  • the condenser lens 23 of the present embodiment is a lens array in which a plurality of convex lens elements are arranged in accordance with the number and arrangement of the light emitting elements 22a.
  • the condenser lens 23 condenses the light incident from the light source 22 side and emits the light to the field lens 24 side.
  • the field lens 24 is disposed between the condenser lens 23 and the liquid crystal panel 26, and is formed of, for example, a synthetic resin or glass to have translucency.
  • the field lens 24 further condenses the light incident from the condenser lens 23 side, and emits the light toward the liquid crystal panel 26 side.
  • the liquid crystal panel 26 of the present embodiment is a liquid crystal panel using thin film transistors (TFTs), and is, for example, an active matrix liquid crystal panel formed of a plurality of liquid crystal pixels arranged in a two-dimensional direction. .
  • TFTs thin film transistors
  • a liquid crystal layer or the like sandwiched between a pair of linear polarizing plates 27a and 27b and a pair of linear polarizing plates 27a and 27b is stacked.
  • Each of the linear polarization plates 27a and 27b transmits light polarized in a direction along the transmission axis and shields light polarized in a direction along an absorption axis orthogonal to the transmission axis.
  • the pair of linear polarization plates 27a and 27b are disposed such that the transmission axes are substantially orthogonal to each other.
  • the liquid crystal layer is capable of rotating the polarization direction of light incident on the liquid crystal layer according to the applied voltage by voltage application for each liquid crystal pixel.
  • the liquid crystal panel 26 can form an image by display light emitted from the display screen 28 by controlling the transmittance of the light for each liquid crystal pixel when the light from the backlight unit 21 is incident. There is.
  • the display light is emitted from the display screen 28 as linearly polarized light along the transmission axis of the linear polarizing plate 27b on the emission side.
  • adjacent liquid crystal pixels are provided with color filters of different colors (for example, red, green, and blue), and various colors are realized by a combination of these.
  • the color filters of each color have their own wavelength characteristics of transmittance, and the maximum transmittance wavelengths at which the transmittance is maximum are set to be different from each other.
  • the display light emitted from the backlight unit 21 through the liquid crystal panel 26 depends on the displayed image, it has a plurality of peak wavelengths WP1, WP2 and WP3 as shown in FIG. 5, for example. It has become a thing.
  • the plurality of peak wavelengths WP1, WP2, and WP3 of the display light correspond to the transmission maximum wavelengths of the respective color filters, for example, about 450 nm corresponding to the blue color filter, and about 530 nm corresponding to the green color filter. , And corresponding to about 600 nm corresponding to red color filters.
  • the display light of this embodiment has three peak wavelengths WP1, WP2 and WP3 but has a continuous spectrum in most of the visible light region.
  • the liquid crystal display 20 of the present embodiment emits display light from the front toward the rear.
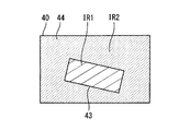
  • the reflective / transmissive member 40 has, for example, a flat plate shape in which an optical multilayer film 43 is formed on the entire surface on one side of the light transmitting substrate 41.
  • the reflection / transmission member 40 of the present embodiment is disposed obliquely rearward of the liquid crystal display 20 so that the normal direction thereof is forward, downward, backward, and upward.
  • the light transmitting substrate 41 is formed of, for example, a synthetic resin or glass in a light transmitting flat plate shape having a high transmittance.
  • the optical multilayer film 43 may be formed by, for example, depositing, spin coating, or attaching a film to the surface of the reflective / transmissive member 40 opposite to the liquid crystal display 20 (that is, the surface on the reciprocating reflective member 50 side) It is formed by
  • the optical multilayer film 43 is formed by laminating thin-film-like optical films made of optical materials of two or more types different in refractive index along the normal direction of the surface of the reflective / transmissive member 40.
  • the optical film for example, titanium oxide (TiO 2), silicon oxide (SiO 2), niobium oxide (Nb 2 O 5), tantalum oxide (Ta 2 O 5), magnesium fluoride (MgF 2), calcium fluoride (CaF 2) or the like may be employed. It is possible.
  • the optical multilayer film 43 of the present embodiment is formed by alternately laminating an optical film made of titanium oxide and an optical film made of silicon oxide.
  • Each film thickness in each optical film is appropriately set in advance by optimization calculation that simulates light interference by a computer. Therefore, the wavelength characteristics of the reflectance and the wavelength characteristics of the transmittance of the reflective / transmissive member 40 are characterized based on the result of the light interference in the optical multilayer film 43.
  • the reflection wavelength regions RWR 1, RWR 2, RWR 3 as light wavelength regions and light are transmitted.
  • Transmission wavelength regions TWR1, TWR2 and TWR3 as wavelength regions are alternately provided.
  • the reflection wavelength regions RWR1, RWR2, RWR3 and the transmission wavelength regions TWR1, TWR2, TWR3 are respectively configured to have the same number or more as the peak wavelengths WP1, WP2, WP3 of the display light.
  • the third reflection wavelength region RWR3 are set alternately.
  • another reflection wavelength region or the like may be set on the shorter wavelength side than the first transmission wavelength region TWR1, and the other reflection wavelength region may be set on the longer wavelength side than the third reflection wavelength region RWR3.
  • Another transmission wavelength region or the like may be set.
  • display light from the liquid crystal display 20 is obliquely incident on the reflective / transmissive member 40.
  • the incidence to the optical multilayer film 43 of the reflective transmission member 40 from the liquid crystal display 20 side is defined as the first incidence
  • the incidence angle to the optical multilayer film 43 of the display light at the first incidence is the first incidence angle It is defined as ⁇ 1.
  • the optical multilayer film 43 is configured such that the peak wavelengths WP1, WP2 and WP3 are included in the transmission wavelength regions TWR1, TWR2 and TWR3 under the condition that the display light is incident at the first incident angle ⁇ 1 as shown in FIG. It is done.
  • the peak wavelength WP1 of about 450 nm corresponding to the blue color filter is included in the first transmission wavelength range TWR1
  • the peak wavelength WP2 of about 530 nm corresponding to the green color filter is included in the second transmission wavelength range TWR2.
  • the reflectance is set to 50% or less, more preferably 20% or less.
  • the reflectance to the entire display light is 50% or less, More preferably, it is 20% or less.
  • the display light is transmitted through the reflection / transmission member 40 with a transmittance of 50% or more, more preferably 80% or more.
  • the reflectance is the energy reflectance
  • the transmittance is the energy transmittance.
  • the reciprocating reflection member 50 is disposed.
  • the reciprocating reflection member 50 has a reflecting mirror in which a metal film such as aluminum is deposited as a reflecting surface 51 on the surface of a base material made of synthetic resin or glass, for example. It has become.
  • the reflecting surface 51 is formed in a curved shape, and is curved in a concave shape such that the center of the reciprocating reflecting member 50 is recessed, for example. That is, the reciprocating reflection member 50 is a positive optical element having a positive optical power.
  • the reflective surface 51 of the present embodiment is disposed to face the front at the rear of the reflective / transmissive member 40.
  • the reciprocating reflection member 50 reflects the display light, which has passed through the reflection / transmission member 40 from the liquid crystal display 20 side, toward the reflection / transmission member 40 again, with high reflectance.
  • the reciprocating reflection member 50 constitutes a reciprocating light path OP1 for causing the display light to reciprocate between itself and the reflection / transmission member 40.
  • the reciprocating optical path OP1 By constructing the reciprocating optical path OP1, it is possible to arrange the reflective / transmissive member 40 and the reciprocating reflective member 50 so that the incident angle and the reflection angle to the reflective surface 51 become smaller (for example, in the range of 10 to 15 degrees). It becomes.
  • the direction of the display light is corrected to be slightly upward in the return path of the reciprocating optical path OP1 than the outward path of the reciprocating optical path OP1.
  • the display light is obliquely incident on the reflection / transmission member 40 again.
  • the incidence to the optical multilayer film 43 of the reflective transmission member 40 from the side of the reciprocal reflection member 50 of the reciprocating optical path OP1 is defined as the second incidence
  • the incident angle of the display light at the second incidence to the optical multilayer film 43 is It is defined as 2 incident angle ⁇ 2.
  • the second incident angle ⁇ 2 is different from the first incident angle ⁇ 1, and particularly in the present embodiment, the second incident angle ⁇ 2 is larger than the first incident angle ⁇ 1.
  • the difference between the second incident angle ⁇ 2 and the first incident angle ⁇ 1 is about twice of the incident angle on the reflecting surface 51, and is set, for example, in the range of 20 to 30 degrees.
  • the optical multilayer film 43 has a characteristic that the reflection wavelength regions RWR1, RWR2, RWR3 and the transmission wavelength regions TWR1, TWR2, TWR3 shift in accordance with the incident angle of light. Specifically, the larger the incident angle of light, the longer the optical path length when the light passes through each optical film in the optical multilayer film 43. Therefore, the reflection wavelength regions RWR1, RWR2, RWR3 and the transmission wavelength regions TWR1, TWR1, RWR2 TWR2 and TWR3 shift to the short wavelength side as a whole.
  • the optical multilayer film 43 is such that the peak wavelengths WP1, WP2 and WP3 are individually included in the corresponding reflection wavelength regions RWR1, RWR2 and RWR3 under the condition that the display light is incident at the second incident angle ⁇ 2. It is configured.
  • the peak wavelength WP1 of about 450 nm corresponding to the blue color filter is included in the first reflection wavelength range RWR1
  • the peak wavelength WP2 of about 530 nm corresponding to the green color filter is in the second reflection wavelength range RWR2.
  • a peak wavelength WP3 of about 600 nm, which is included and corresponds to the red color filter, is included in the third reflection wavelength range RWR3.
  • the reflectance is set to 50% or more, more preferably to 80% or more.
  • the reflectance to the entire display light is also 50% or more, More preferably, it is 80% or more.
  • the display light is reflected by the reflective / transmissive member 40 with a reflectance of 50% or more, more preferably 80% or more.
  • the display light reflected by the reflective / transmissive member 40 is transmitted through the upper window portion 11 to be emitted to the outside of the housing 10 and projected on the projection portion 3a.
  • the occupant can visually recognize the virtual image VRI.
  • the virtual image VRI is displayed larger than the display screen 28 of the liquid crystal panel 26 by curving the reflection surface 51 of the reciprocating reflection member 50 in a concave shape.
  • the incident angle at the time of reflection is set small in the range of 10 to 20 degrees. It has become possible. Therefore, distortion of the vertically asymmetric (or bilaterally asymmetric) virtual image VRI that may occur together with the magnifying action can be suppressed.
  • the region on the reflective / transmissive member 40 where the display light is incident on the reflective / transmissive member 40 is It is defined as a first incident region IR1.
  • the region on the reflective / transmissive member 40 where the display light is incident on the reflective / transmissive member 40 is defined as a second incident region IR2. .
  • the luminous flux spreads as the display light travels, so the area of the second incident region IR2 becomes wider than the first incident region IR1.
  • the first incident region IR1 and the second incident region IR2 are set to partially overlap. Such partial overlapping makes it possible to configure an optical system in which the first incident angle ⁇ 1 and the second incident angle ⁇ 2 are different while reducing the size of the reflective / transmissive member 40.
  • the reflective / transmissive member 40 is formed in a flat plate shape, the incident angle to the reflective / transmissive member 40 can be prevented from being largely different between the center and the outside of the light flux of the display light. Therefore, transmission of display light with less unevenness can be realized in the entire first incident region IR1, and reflection of display light with less unevenness can be realized in the entire second incident region IR2. Therefore, it is possible to display a virtual image VRI with less luminance unevenness.
  • the first incident angle ⁇ 1 and the second incident angle ⁇ 2 of the display light to the reflection and transmission member 40 are different from each other. Due to the difference between the incident angles ⁇ 1 and ⁇ 2, the reflection wavelength regions RWR1, RWR2 and RWR3 and the transmission wavelength regions TWR1, TWR2 and TWR3 realized by the optical multilayer film 43 provided in the reflection and transmission member 40 are shifted. . Using such a shift action, the display light is guided to the reciprocating reflection member 50 side of the reciprocating light path OP1 at the first incidence, and the display light is guided to the projection unit 3a at the second incidence.
  • the incident angle ⁇ 1 is such that the wavelength of the display light corresponds to the other of the reflection wavelength regions RWR1, RWR2, RWR3 and the transmission wavelength regions TWR1, TWR2, TWR3.
  • the first incident angle ⁇ 1 is set such that the plurality of peak wavelengths WP1, WP2, and WP3 are individually included in the transmission wavelength regions TWR1, TWR2, and TWR3 at the first incidence.
  • the second incident angle so that the display light is transmitted through the reflective / transmissive member 40 and the plurality of peak wavelengths WP1, WP2 and WP3 are individually included in the reflected wavelength regions RWR1, RWR2 and RWR3 at the second incidence.
  • the display light is reflected by the reflective / transmissive member 40 by setting ⁇ 2.
  • each major wavelength component constituting the display light is projected onto the projection unit 3a while securing the optical path length in the reciprocating optical path OP1 reliably, a virtual image VRI of high luminance is displayed while securing an easy-to-see distance. Can. According to the above, it is possible to provide the HUD device 100 having good visibility of the virtual image VRI.
  • the reflectance of display light at the first incidence is 50% or less, and the reflectance of display light at the second incidence is 50% or more.
  • Such setting of the reflectance surely enhances the energy efficiency as compared with the case where the reciprocating optical path OP1 is configured using a simple half mirror.
  • the image light emitting unit transmits the light from the backlight unit 21 for supplying light and the light from the backlight unit 21, and reflects the reflection wavelength regions RWR 1, RWR 2, RWR 3 and the optical multilayer film 43.
  • a liquid crystal panel 26 which emits display light with a spectral distribution matched to the transmission wavelength regions TWR1, TWR2 and TWR3.
  • the optical multilayer film 43 is formed on the surface of the light transmitting substrate 41 on the side where the display light is incident at the second incidence. Since the display light is reflected by the optical multilayer film 43 while suppressing the reciprocation of the light transmitting substrate 41 at the second incidence, the generation of a double image due to the reflection of the light transmitting substrate 41 is suppressed. Can. Therefore, the visibility of the virtual image VRI can be further improved.
  • the second embodiment is a modification of the first embodiment.
  • the second embodiment will be described focusing on differences from the first embodiment.
  • the image light emitting unit according to the second embodiment emits display light of an image formed as a virtual image VRI, as in the first embodiment.
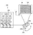
  • the image light emitting unit of the second embodiment is a laser display 220.
  • the laser display 220 has a plurality of laser oscillators 221a, 221b and 221c, a plurality of collimate lenses 222a, 222b and 222c, a folding mirror 223a, a plurality of dichroic mirrors 223b and 223c, and a scanning unit 224, as shown in detail in FIG. , And a screen member 225.
  • three laser oscillators 221a, 221b and 221c and three collimating lenses 222a, 222b and 222c are provided.
  • the three laser oscillators 221a, 221b, and 221c oscillate laser beams having different peak wavelengths.
  • the laser oscillator 221a oscillates a green laser beam having a peak wavelength in the range of 490 to 530 nm, preferably 515 nm, for example.
  • the laser oscillator 221b oscillates a blue laser beam having a peak wavelength of, for example, 430 to 470 nm, preferably 450 nm.
  • the laser oscillator 221 c is configured to oscillate, for example, a red laser beam having a peak wavelength in the range of 600 to 650 nm, preferably 640 nm.
  • the respective laser beams oscillated from the respective laser oscillators 221a, 221b and 221c enter the corresponding collimating lenses 222a, 222b and 222c.
  • the three collimating lenses 222a, 222b and 222c are arranged at predetermined intervals in the traveling direction of the respective laser beams with respect to the corresponding laser oscillators 221a, 221b and 221c.
  • Each collimating lens 222a, 222b, 222c substantially collimates the laser beam by refracting the laser beam of the corresponding color.
  • the folding mirror 223a is disposed at a predetermined distance in the traveling direction of the laser beam with respect to the collimating lens 222a, and reflects the green laser beam transmitted through the collimating lens 222a.
  • the two dichroic mirrors 223b and 223c are disposed at predetermined intervals in the traveling direction of the respective laser beams with respect to the corresponding collimating lenses 222b and 222c.
  • Each of the dichroic mirrors 223b and 223c reflects a laser beam having a specific wavelength among the laser beams transmitted through the corresponding collimator lenses 222b and 222c, and transmits the other laser beams.
  • the dichroic mirror 223b corresponding to the collimator lens 222b reflects the blue laser beam and transmits the green laser beam.
  • the dichroic mirror 223c corresponding to the collimator lens 222c reflects the red laser beam and transmits the green and blue laser beams.
  • dichroic mirrors 223b are disposed at predetermined intervals in the traveling direction of the green laser light flux reflected by the reflection mirror 223a.
  • the dichroic mirror 223c is disposed at a predetermined interval. According to these arrangements, the green laser beam reflected by the reflecting mirror 223a passes through the dichroic mirror 223b and is superimposed on the blue laser beam reflected by the dichroic mirror 223b. Also, the green laser beam and the blue laser beam are transmitted through the dichroic mirror 223c, and are superimposed on the red laser beam reflected by the dichroic mirror 223c.
  • Each of the laser oscillators 221 a, 221 b and 221 c is electrically connected to the controller 229.
  • Each of the laser oscillators 221 a, 221 b and 221 c oscillates a laser beam according to the electric signal from the controller 229.
  • various colors are realized by additively mixing the laser beams of three colors oscillated from the respective laser oscillators 221a, 221b and 221c.
  • the laser light flux enters the scanning unit 224 in a state where the laser light fluxes having different peak wavelengths overlap one another.
  • the scanning unit 224 has a scanning mirror 224a.
  • the scanning mirror 224a is a MEMS mirror configured to be able to temporally scan a laser light flux using a micro electro mechanical system (MEMS).
  • MEMS micro electro mechanical system
  • a reflective film 224b is provided in the scanning mirror 224a, on the surface facing the dichroic mirror 223c at a predetermined interval, a reflective film 224b is provided by forming a metal film by metal deposition such as aluminum or the like.
  • the reflecting surface 224b is rotatable around two rotation axes Ax and Ay substantially orthogonal to the reflecting surface 224b.
  • Such a scanning mirror 224a is electrically connected to the controller 229. By rotating in accordance with the scanning signal, the direction of the reflecting surface 224b can be changed.
  • the scanning unit 224 controls the scanning mirror 224a by the controller 229 to interlock with the laser oscillators 221a, 221b, and 221c, for example, starting from a deflection point which is an incident place on the reflection surface 224b of the laser beam. It is possible to deflect the projection direction of the laser beam temporally.
  • the laser beam scanned by the scanning unit 224 by deflection at the deflection point is incident on the screen member 225.
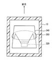
  • the screen member 225 is a reflection type screen formed in a mirror array by depositing aluminum on the surface of a base material made of, for example, a synthetic resin or glass. Although not shown in detail, the screen member 225 has a plurality of optical curved surfaces arranged in a lattice on the surface on the side of the scanning mirror 224 a and the reflective / transmissive member 240.
  • An image is drawn in the scan area SA of the screen member 225 by the incidence of the laser beam scanned by the scan unit 224.
  • the scanning unit 224 is sequentially scanned along the plurality of scanning lines SL under the control of the controller 229.
  • the laser beam is intermittently pulse-irradiated, whereby an image is drawn.
  • An image drawn by projection onto the scanning area SA is drawn at 60 frames per second as an image having 480 pixels in the xs direction along the scanning line SL and 240 pixels in the ys direction substantially perpendicular to the scanning line SL, for example.
  • the laser beam corresponding to each projection direction is emitted from the screen member 225 while expanding the spread angle by the reflection on each optical curved surface.
  • the spot diameter of each laser beam is enlarged by the optical curved surface formed by curving in a convex or concave shape.
  • the laser display 220 emits display light having a plurality of peak wavelengths WP1, WP2, and WP3 corresponding to the peak wavelength of each laser light flux toward the reflective / transmissive member 240.
  • the optical multilayer film 243 has reflection wavelength regions RWR1, RWR2, RWR3 and transmission wavelength regions TWR1, TWR2, TWR3 in the visible light region, as in the first embodiment. Similar to the first embodiment, the optical multilayer film 243 has a characteristic that the reflection wavelength regions RWR1, RWR2, RWR3 and the transmission wavelength regions TWR1, TWR2, TWR3 shift according to the incident angle of light.
  • the optical multilayer film 243 is configured such that the peak wavelengths WP1, WP2, and WP3 are included in the transmission wavelength regions TWR1, TWR2, and TWR3 under the condition that the display light is incident at the first incident angle ⁇ 1.
  • the peak wavelength WP1 of about 450 nm corresponding to the blue laser beam is included in the first transmission wavelength region TWR1
  • the peak wavelength WP2 of about 515 nm corresponding to the green laser beam is in the second transmission wavelength region TWR2.
  • a peak wavelength WP3 of about 640 nm, which is included and corresponds to the red laser beam, is included in the third transmission wavelength range TWR3.
  • the spectral half-widths of the peak wavelengths WP1, WP2, and WP3 of the display light are completely included in the corresponding transmission wavelength regions TWR1, TWR2, and TWR3.
  • the optical multilayer film 243 is configured such that the peak wavelengths WP1, WP2, and WP3 are included in the reflection wavelength regions RWR1, RWR2, and RWR3 under the condition that the display light is incident at the second incident angle ⁇ 2.
  • a peak wavelength WP1 of about 450 nm corresponding to the blue laser beam is included in the first reflection wavelength range RWR1
  • a peak wavelength WP2 of about 515 nm corresponding to the green laser beam is included in the second reflection wavelength range RWR2.
  • a peak wavelength WP3 of about 640 nm, which is included and corresponds to the red laser beam, is included in the third reflection wavelength range RWR3.
  • the spectral half-widths of the peak wavelengths WP1, WP2, and WP3 of the display light are completely included in the corresponding reflection wavelength regions RWR1, RWR2, and RWR3.
  • the image light emitting unit emits laser light as display light. Since the laser light has a small spectral half width, when the reflection wavelength regions RWR1, RWR2, RWR3 and the transmission wavelength regions TWR1, TWR2, TWR3 are shifted, the laser light is transmitted in the desired reflection wavelength regions RWR1, RWR2, RWR3 or Since the wavelength regions TWR1, TWR2, and TWR3 can be easily included, attenuation of display light in the reflective / transmissive member 240 can be minimized.
  • the third embodiment is a modification of the first embodiment.
  • the third embodiment will be described focusing on differences from the first embodiment.
  • the liquid crystal display 320 corresponding to the image light emitting unit in the third embodiment has the same internal configuration as that of the first embodiment, but displays light in the forward and upper oblique directions. It emits light.
  • the reflective / transmissive member 340 of the third embodiment is housed inside the housing 10, and is inclined so that the normal direction is upward, slightly forward, downward, and slightly backward above the liquid crystal display 320. It is arranged.
  • the reflective / transmissive member 340 has a flat plate shape in which the optical multilayer film 343 is formed on the entire surface on one side of the light transmitting substrate 341. More specifically, the optical multilayer film 343 is formed, for example, by vapor deposition, spin coating, or affixing a film on the surface of the reflective / transmissive member 340 on the liquid crystal display 320 and the reciprocating reflective member 350 side. There is.
  • the optical multilayer film 343 of the third embodiment has a first reflection wavelength region RWR1, a first transmission wavelength region TWR1, a second reflection wavelength region RWR2, and a third reflection wavelength region RWR1 from the short wavelength side.
  • the second transmission wavelength region TWR2, the third reflection wavelength region RWR3, and the third transmission wavelength region TWR3 are alternately set.
  • another transmission wavelength region or the like may be set on the shorter wavelength side than the first reflection wavelength region RWR1, and the other transmission wavelength region may be set on the longer wavelength side than the third transmission wavelength region TWR3.
  • Another reflection wavelength range or the like may be set.
  • the optical multilayer film 343 is configured such that the peak wavelengths WP1, WP2, and WP3 are included in the reflection wavelength region RWR1 under the condition that the display light is incident at the first incident angle ⁇ 1.
  • the peak wavelength WP1 of about 450 nm corresponding to the blue color filter is included in the first reflection wavelength range RWR1
  • the peak wavelength WP2 of about 530 nm corresponding to the green color filter is in the second reflection wavelength range RWR2.
  • a peak wavelength WP3 of about 600 nm, which is included and corresponds to the red color filter, is included in the third reflection wavelength range RWR3.
  • the reflectance is set to 50% or more, more preferably to 80% or more.
  • the reflectance to the entire display light is also 50% or more, More preferably, it is 80% or more.
  • the display light is reflected by the reflective / transmissive member 340 with a reflectance of 50% or more, more preferably 80% or more.
  • the reciprocal reflection member 350 is disposed ahead of the display light reflected by the reflection / transmission member 340.
  • the reflecting surface 351 of the reciprocating reflecting member 350 of the third embodiment is disposed so as to face upward and slightly rearward, below the reflecting / transmitting member 340 and in front of the liquid crystal display 20.
  • the reciprocation reflection member 350 constitutes a reciprocation light path OP1 for causing display light to reciprocate between itself and the reflection / transmission member 340.
  • the optical multilayer film 343 is configured such that the peak wavelengths WP1, WP2 and WP3 are included in the transmission wavelength regions TWR1, TWR2 and TWR3 under the condition that the display light is incident at the second incident angle ⁇ 2.
  • the peak wavelength WP1 of about 450 nm corresponding to the blue color filter is included in the first transmission wavelength range TWR1
  • the peak wavelength WP2 of about 530 nm corresponding to the green color filter is included in the second transmission wavelength range TWR2.
  • the reflectance is set to 50% or less, more preferably 20% or less.
  • the reflectance to the entire display light is 50% or less, More preferably, it is 20% or less.
  • the display light is transmitted through the reflection / transmission member 340 at a transmittance of 50% or more, more preferably 80% or more.
  • the first incident angle ⁇ 1 is set so that the plurality of peak wavelengths WP1, WP2, and WP3 are individually included in the reflection wavelength regions RWR1, RWR2, and RWR3 at the first incidence.
  • the display light is reflected by the reflection / transmission member 340, and the plurality of peak wavelengths WP1, WP2 and WP3 are individually included in the transmission wavelength regions TWR1, TWR2 and TWR3 respectively at the second incidence.
  • the incident angle ⁇ 2 is set, and the display light passes through the reflective / transmissive member 340.
  • each major wavelength component constituting the display light is projected onto the projection unit 3a while securing the optical path length in the reciprocating optical path OP1 reliably, a virtual image VRI of high luminance is displayed while securing an easy-to-see distance. Can. According to the above, it is possible to provide the HUD device 100 having good visibility of the virtual image VRI.
  • the reflectance of display light at the first incidence is 50% or more, and the reflectance of display light at the second incidence is 50% or less.
  • Such setting of the reflectance surely enhances the energy efficiency as compared with the case where the reciprocating optical path OP1 is configured using a simple half mirror.
  • the optical multilayer film 343 is formed on the surface of the light transmitting substrate 341 on the side where the display light is incident at the first incidence. Since the display light is reflected by the optical multilayer film 343 while suppressing the reciprocation of the light transmission substrate 341 at the first incidence, the generation of a double image due to the reflection at the light transmission substrate 341 is suppressed. Can. Therefore, the visibility of the virtual image VRI can be further improved.
  • the fourth embodiment is a modification of the third embodiment.
  • the fourth embodiment will be described focusing on differences from the third embodiment.
  • the reflective / transmissive member 440 of the fourth embodiment is disposed to close the entire window portion 11 of the housing 10. That is, the reflective / transmissive member 440 is also used as a dustproof sheet that prevents foreign matter (for example, dust, dust, water) from invading the inside of the housing 10 from the outside of the housing 10.
  • foreign matter for example, dust, dust, water
  • the reflective / transmissive member 440 reflects a part of external light such as sunlight transmitted through the windshield 3 and incident on the window portion 11. The entry of outside light into the interior is also suppressed.
  • the reflection / transmission member 440 is also used as a dustproof sheet by closing the window portion 11. Since the component for realizing the optical system in which the reciprocating optical path OP1 is configured and the component for realizing the dustproof sheet are shared, the virtual image can be suppressed while suppressing an increase in the physical size of the HUD device 100 by suppressing the number of components. High visibility of VRI can be realized.
  • the fifth embodiment is a modification of the first embodiment.
  • the fifth embodiment will be described focusing on differences from the first embodiment.
  • the HUD device 100 of the fifth embodiment further includes a light blocking unit 570.
  • the light blocking portion 570 is formed to have a light absorbing property, for example, of polyurethane colored in dark color such as black, and integrally includes a light blocking hood portion 571 and a light blocking laminated portion 573.
  • the light blocking hood portion 571 is formed in a wall shape between the liquid crystal display 20 and the reflective / transmissive member 40 along the traveling direction of the display light and so as not to block the light flux of the display light.
  • the light blocking hood portion 571 blocks stray light such as external light by absorption or the like, thereby preventing the stray light from being reflected in the virtual image VRI due to multiple reflection.
  • the light blocking laminated portion 573 is disposed by adhering or in close contact with the surface of the reflective / transmissive member 40 on the liquid crystal display 20 side in the region of the reflective / transmissive member 40 excluding the first incident region IR1. , And are arranged in a state of being laminated with the reflective / transmissive member 40.
  • the light blocking laminate portion 573 blocks deterioration or damage of the liquid crystal panel 26 or the like of the liquid crystal display 20 by blocking the reflective / transmissive member 40 of the external light by absorption or the like.
  • the light blocking laminate portion 573 absorbs the transmitted light. Do.
  • the transmitted light is reflected by the surface of the reflection / transmission member 40 on the liquid crystal display 20 side to the projection unit 3 a side and a double image is generated in the virtual image VRI.
  • the reflective / transmissive member 40 is disposed to correspond to the region excluding the first incident region IR1 on the liquid crystal display 20 side, and the light blocking / stacked portion 573 in a stacked state with the reflective / transmissive member 40.
  • the light intercepts the light that is transmitted through the reflective / transmissive member 40 from the side of the reciprocating reflective member 50 to the side of the liquid crystal display 20.
  • Such blocking of light suppresses deterioration or damage of the liquid crystal display 20, so that high visibility of the virtual image VRI can be maintained over a long time.
  • the sixth embodiment is a modification of the first embodiment.
  • the sixth embodiment will be described focusing on differences from the first embodiment.
  • the housing 610 of the sixth embodiment has a reciprocating reflection member holding wall 613, a reflection / transmission member holding wall 614, and a display hole 615 in its inside.
  • the reciprocating reflection member holding wall 613 is formed in a wall shape so as to abut on the opposite side to the reflecting surface 51 in the reciprocating reflection member 50.
  • the reciprocating reflection member holding wall 613 holds the reciprocating reflection member 50 by pasting, fitting, fastening, or the like.
  • the reflective / transmissive member holding wall 614 is formed in a wall shape so as to abut on a portion of the reflective / transmissive member 40 on the side opposite to the reciprocating reflective member 50 (that is, the liquid crystal display 20 side).
  • the reflective / transmissive member holding wall 614 holds the reflective / transmissive member 40 by pasting, fitting, fastening, or the like.
  • the reflective / transmissive member holding wall 614 brings the surface 614 a into close contact with the region of the reflective / transmissive member 40 on the liquid crystal display 620 side excluding the first incident region IR1.
  • the surface 614 a of the reflective / transmissive member holding wall 614 is formed in, for example, a dark color (for example, black) capable of suppressing the reflection of light.
  • the reflective / transmissive member holding wall 614 exerts the blocking effect of the light transmitted through the reflective / transmissive member 40 among the external light and the suppressing effect of the double image as in the light blocking laminated portion 573 of the fifth embodiment.
  • the display hole 615 is formed in the shape of a hole opened in the reflective / transmissive member holding wall 614 at a portion corresponding to the first incident region IR1 of the reflective / transmissive member 40.
  • the display hole 615 of this embodiment is formed in the shape of a through hole penetrating the housing 610, it may be formed in the shape of a bottomed hole.
  • the display hole 615 is a quadrangular frustum shaped hole which is gradually narrowed as it is separated from the reflection / transmission member 40.
  • the liquid crystal display 620 corresponding to the image light emitting portion in the sixth embodiment is disposed at a position apart from the reflective / transmissive member 40 in the display hole 615.
  • the liquid crystal panel 26 is opposed to the reflective / transmissive member 40, and a part of the backlight unit 21 is disposed outside the housing 10.
  • the liquid crystal display 620 causes the heat generated by the backlight unit 21 to generate a stray light blocking action on the side wall 615 a of the display hole 615 like the light blocking hood unit 571 of the fifth embodiment. It is possible to dissipate heat easily to the outside.
  • the reflective / transmissive member holding wall 614 holding the reflective / transmissive member 40 and bringing the surface 614 a into close contact with the liquid crystal display 620 side of the reflective / transmissive member 40 corresponds to the reflective / transmissive member 40.
  • the light which is going to be transmitted to the liquid crystal display 620 side from the reciprocating reflection member 50 side is blocked. By blocking the light, deterioration or damage of the liquid crystal display 620 is suppressed, so that high visibility of the virtual image VRI can be maintained for a long time.
  • the holding structure of the reflective / transmissive member 40 and the light blocking structure in common, by suppressing the number of parts, high visibility of the virtual image VRI is realized while suppressing an increase in the physical size of the HUD device 100. be able to.
  • the seventh embodiment is a modification of the first embodiment.
  • the seventh embodiment will be described focusing on differences from the first embodiment.
  • a convex mirror 775 is provided on the optical path of display light from the liquid crystal display 720 as an image light emitting section to the reflective / transmissive member 40.
  • the convex mirror 775 forms a metal film by depositing a metal such as aluminum as the reflective surface 776.
  • the reflecting surface 776 is formed in a curved shape, and is curved in a convex shape so that, for example, the center of the convex mirror 775 protrudes. That is, the convex mirror 775 is a negative optical element having negative optical power.
  • the reflective surface 776 in the present embodiment is disposed at a position adjacent to the reflective / transmissive member 40 so as to face the rear and lower diagonal directions.
  • the liquid crystal display 720 emits display light forward and upward toward the convex mirror 775.
  • the display light emitted from the liquid crystal display 720 is reflected by the reflective surface 776 so that the display light is incident on the reflective / transmissive member 40.
  • the incidence on the reflective / transmissive member 40 here corresponds to the first incidence.
  • the convex mirror 775 having negative optical power is provided on the light path from the liquid crystal display 720 to the reflective / transmissive member 40.
  • the telecentricity on the liquid crystal display 720 side can be enhanced for display light imaged as a virtual image VRI. That is, it is possible to secure the size of the viewing area EB while narrowing the viewing angle of the liquid crystal display 720 to improve the quality of the image. Therefore, high visibility of virtual image VRI can be realized.
  • the eighth embodiment is a modification of the second embodiment.
  • the eighth embodiment will be described focusing on differences from the second embodiment.
  • the image light emitting unit of the eighth embodiment is a laser display 820 for emitting laser light, as in the second embodiment.
  • the laser display 820 includes one laser oscillator 821, one collimating lens 822, a scanning unit 824, and a screen member 825.
  • the laser oscillator 821 oscillates a red laser beam having, for example, a peak wavelength in the range of 600 to 650 nm, preferably 640 nm.
  • Each laser beam oscillated from the laser oscillator 821 enters the collimator lens 822.
  • the collimating lens 822 substantially collimates the laser beam by refracting the laser beam.
  • the laser beam thus transmitted through the collimating lens 822 enters the scanning unit 824, and is drawn on the scanning area SA of the screen member 825 as in the second embodiment.
  • the laser display 820 emits display light having one peak wavelength WP corresponding to the peak wavelength of the red laser light flux toward the reflective / transmissive member 840.
  • the optical multilayer film 843 has a reflection wavelength region RWR1 and transmission wavelength regions TWR1 and TWR2 in the visible light region, as shown in FIG.
  • the first transmission wavelength region TWR1, the first reflection wavelength region RWR1, and the second transmission wavelength regions TWR1 and TWR2 are set from the short wavelength side.
  • the optical multilayer film 843 has a characteristic that the reflection wavelength region RWR1 and the transmission wavelength regions TWR1 and TWR2 shift in accordance with the incident angle of light, as in the second embodiment.
  • the optical multilayer film 843 is configured such that the peak wavelength WP is included in the first transmission wavelength region TWR1 under the condition that the display light is incident at the first incident angle ⁇ 1.
  • the spectral half-width of the peak wavelength WP of the display light is completely included in the first transmission wavelength region TWR1.
  • the optical multilayer film 843 is configured such that the peak wavelength WP is included in the first reflection wavelength region RWR1 under the condition that the display light is incident at the second incident angle ⁇ 2.
  • the spectral half-width of the peak wavelength WP of the display light is completely included in the first reflection wavelength region RWR1.
  • the first incident angle ⁇ 1 is set so that one peak wavelength WP is included in the transmission wavelength region TWR1 at the first incidence, and the display light is transmitted through the reflection / transmission member 840.
  • the second incident angle ⁇ 2 is set so that one peak wavelength WP is included in the reflection wavelength region RWR1 at the second incidence, and the display light is reflected by the reflection and transmission member 840. Therefore, the component of the peak wavelength WP constituting the display light is projected onto the projection unit 3a while securing the optical path length in the reciprocating optical path OP1 reliably, so that a virtual image VRI of high luminance is displayed while securing an easy-to-see distance. Can.
  • the optical multilayer film 843 since the optical multilayer film 843 may be designed in consideration of one peak wavelength WP, the optical multilayer film 843 can be configured simply. As described above, the HUD device 100 having good visibility of the virtual image VRI can be easily provided.
  • the ninth embodiment As shown in FIGS. 19 and 20, the ninth embodiment is a modification of the eighth embodiment.
  • the ninth embodiment will be described focusing on differences from the eighth embodiment.
  • the ninth embodiment is, as shown in FIG. 19, a combination of the laser display 820 of the eighth embodiment and the arrangement of the reflective / transmissive member 340 and the reciprocating reflector 350 of the third embodiment.
  • the configuration of the optical multilayer film 943 of the reflective / transmissive member 940 of the present embodiment is different from the configuration of the third and eighth embodiments.
  • the optical multilayer film 943 has a reflection wavelength region RWR1 and transmission wavelength regions TWR1 and TWR2.
  • the first transmission wavelength region TWR1, the first reflection wavelength region RWR1, and the second transmission wavelength region TWR2 are set from the short wavelength side.
  • the optical multilayer film 943 has a characteristic that the reflection wavelength region RWR1 and the transmission wavelength regions TWR1 and TWR2 shift according to the incident angle of light, as in the eighth embodiment.
  • the optical multilayer film 943 is configured such that the peak wavelength WP is included in the first reflection wavelength region RWR1 under the condition that the display light is incident at the first incident angle ⁇ 1.
  • the spectral half-width of the peak wavelength WP of the display light is completely included in the first reflection wavelength region RWR1.
  • the optical multilayer film 943 is configured such that the peak wavelength WP is included in the second transmission wavelength region TWR2 under the condition that the display light is incident at the second incident angle ⁇ 2.
  • the spectral half-width of the peak wavelength WP of the display light is completely included in the second transmission wavelength region TWR2.
  • the first incident angle ⁇ 1 is set so that one peak wavelength WP is included in the reflection wavelength region RWR1 at the first incidence, and the display light is reflected by the reflection and transmission member 340.
  • the second incident angle ⁇ 2 is set so that one peak wavelength WP is included in the transmission wavelength region TWR2 at the second incidence, and the display light is transmitted through the reflection / transmission member 340. Therefore, the component of the main peak wavelength WP constituting the display light is projected to the projection unit 3a while securing the optical path length in the reciprocating optical path OP1 reliably, so that a high-brightness virtual image VRI is displayed while securing an easy-to-see distance. can do.
  • the optical multilayer film 943 may be designed in consideration of one peak wavelength WP, the optical multilayer film 943 can be configured simply. As described above, the HUD device 100 having good visibility of the virtual image VRI can be easily provided.
  • the image light emitting unit, the reflection and transmission member 40, the reciprocating reflection member 50, and the like may be arranged differently.
  • the liquid crystal display 20 as an image light emitting unit emits display light from the front toward the rear.
  • the reflective / transmissive member 40 is disposed obliquely in front of the liquid crystal display 20 so that the normal direction thereof is backward, downward, forward, and upward.
  • the reflection surface 51 of the reciprocating reflection member 50 is disposed to face the rear in front of the reflection / transmission member 40.
  • the image light emitting unit, the reflection and transmission member 40, the reciprocating reflection member 50, and the like may be arranged differently.
  • the liquid crystal display 320 as an image light emitting unit emits display light from the front toward the rear.
  • the reflective / transmissive member 340 is obliquely disposed rearward of the liquid crystal display 320 such that the normal direction thereof is forward, downward, backward, and upward.
  • the reflection surface 351 of the reciprocating reflection member 350 is disposed below the reflection / transmission member 340 so as to face upward and slightly backward.
  • the reflection wavelength regions RWR1, RWR2, RWR3 and the transmission wavelength regions TWR1, TWR2, TWR3 at the second incident are the first incident. It shifts to the longer wavelength side than that.
  • the optical multilayer film 43 in the reflective / transmissive member 40 may be provided on either side of the light transmitting substrate 41.
  • the optical multilayer film 43 in the reflective / transmissive member 40 may be formed not on the entire surface of the reflective / transmissive member 40 but only on a partial region. As shown in FIGS. 25 and 26, the optical multilayer film 43 may be disposed only in the first incident region IR1, and a region other than the first incident region IR1 in the reflective / transmissive member 40 serves as the reflective surface 51 such as aluminum.
  • the metal film may be formed by depositing the metal of Further, as shown in FIG. 26, a part of the display light may pass through the reflective / transmissive member 40, and the other part may pass through the side of the reflective / transmissive member 40 as it is to reach the reciprocating optical path OP1.
  • the surface on which the display light is transmitted such as the surface of the reflective / transmissive member 40 on the side where the optical multilayer film 43 is not provided and each surface of the dustproof sheet 12, is different from the optical multilayer film 43.
  • An optical multilayer film may be provided to prevent light reflection.
  • the reflection / transmission member 40 may be formed in a curved plate shape, and the surface thereof is a spherical surface, a cylindrical surface, or a free-form surface including a saddle point. It may be formed in a shape or the like.
  • the reflecting surface 51 of the reciprocating reflecting member 50 may be formed into a spherical shape, a cylindrical surface, or a free curved surface including a saddle point.
  • a direction changing unit 57 that changes the direction of the reflective / transmissive member 40 or the reciprocating reflective member 50 may be further provided.
  • the direction changing unit 57 rotates the reflective / transmissive member 40 or the reciprocating reflective member 50 around a rotation axis 58 extending in the left-right direction using a stepping motor, for example, of the reflective / transmissive member 40 or the reciprocating reflective member 50. It is possible to change the direction.
  • the direction of the reflective / transmissive member 40 or the reciprocal reflective member 50 is a range in which the relationship between the peak wavelengths WP1, WP2, WP3 and the reflected wavelength regions RWR1, RWR2, RWR3 and the transmitted wavelength regions TWR1, TWR2, TWR3 is maintained. That is, it is preferable to be changed in the range in which the functions of transmission and reflection of display light are not switched.
  • the traveling direction of the display light after the second incidence is changed. Therefore, the position where the virtual image VRI is displayed in the projection unit 3a is changed up and down.
  • the reflection / transmission member 440 which is also used as a dustproof sheet may be formed in a curved plate shape.
  • the light blocking laminated portion 573 may be provided by forming a coating film on a light shielding film or the reflective transmission member 40 other than polyurethane, for example.
  • a display other than a liquid crystal display and a laser display for example, a DLP (Digital Light Processing (registered trademark)) display can be adopted as an image light emitting unit.
  • a DLP display light from a light emitting element is directed to an array of minute digital mirror elements that can be switched between on and off states, and light is reflected by only the on state digital mirror elements. Is formed, and the display light of the image is emitted.
  • the display light emitted by the image light emitting unit may have one peak wavelength at the green wavelength or the blue wavelength.
  • the display light may have two or four or more peak wavelengths in the visible light region.
  • the light blocking hood portion 571 as in the fifth embodiment is applied to the configurations of the image light emitting portion, the reflective / transmissive member 340, and the reciprocating reflective member 350 of the third, fourth, and ninth embodiments. May be In this case, as shown in FIG. 31, the light blocking hood portion 571 is preferably disposed so as not to interfere with the reciprocating optical path OP1.
  • the configuration of the image light emitting unit, the reflection / transmission member 340, and the reciprocating reflection member 350 of the third, fourth, and ninth embodiments is similar to that of the sixth embodiment.
  • the reciprocating reflection member holding wall 613 and the reflection / transmission member holding wall 614 may be applied.
  • a convex mirror as in the seventh embodiment. 775 may be applied.
  • the second incident angle ⁇ 2 is set smaller than the first incident angle ⁇ 1.
  • the virtual image display device can be applied to various vehicles such as an aircraft, a ship, or a housing that does not move.

Landscapes

  • Engineering & Computer Science (AREA)
  • Physics & Mathematics (AREA)
  • Chemical & Material Sciences (AREA)
  • Combustion & Propulsion (AREA)
  • Transportation (AREA)
  • Mechanical Engineering (AREA)
  • General Physics & Mathematics (AREA)
  • Optics & Photonics (AREA)
  • Instrument Panels (AREA)
  • Mechanical Optical Scanning Systems (AREA)
PCT/JP2018/035137 2017-10-30 2018-09-21 虚像表示装置 Ceased WO2019087615A1 (ja)

Applications Claiming Priority (2)

Application Number Priority Date Filing Date Title
JP2017-209574 2017-10-30
JP2017209574A JP6922655B2 (ja) 2017-10-30 2017-10-30 虚像表示装置

Publications (1)

Publication Number Publication Date
WO2019087615A1 true WO2019087615A1 (ja) 2019-05-09

Family

ID=66331754

Family Applications (1)

Application Number Title Priority Date Filing Date
PCT/JP2018/035137 Ceased WO2019087615A1 (ja) 2017-10-30 2018-09-21 虚像表示装置

Country Status (2)

Country Link
JP (1) JP6922655B2 (enExample)
WO (1) WO2019087615A1 (enExample)

Cited By (3)

* Cited by examiner, † Cited by third party
Publication number Priority date Publication date Assignee Title
JP2021173896A (ja) * 2020-04-27 2021-11-01 パナソニックIpマネジメント株式会社 表示装置及び光学調整シート
CN114466761A (zh) * 2019-09-19 2022-05-10 株式会社小糸制作所 平视显示器及图像显示系统
EP4300166A1 (de) * 2022-06-23 2024-01-03 Volkswagen Ag Head-up-display und fortbewegungsmittel mit einem head-up-display

Citations (8)

* Cited by examiner, † Cited by third party
Publication number Priority date Publication date Assignee Title
JPH01126620A (ja) * 1987-08-03 1989-05-18 Kaiser Aerospace & Electron Corp 光学視準装置及び光学視準方法
JPH02132411A (ja) * 1988-07-06 1990-05-21 Kaiser Aerospace & Electron Corp 光学コンバイナーコリメータ装置
JP2003161820A (ja) * 2001-11-26 2003-06-06 Minolta Co Ltd バンドパスフィルタ及び映像表示装置
US20120032875A1 (en) * 2010-08-05 2012-02-09 Microvision, Inc. Scanned Image Projection System Employing Beam Folding Apparatus
JP2012063524A (ja) * 2010-09-15 2012-03-29 Nippon Seiki Co Ltd 車両用ヘッドアップディスプレイ装置
WO2016147570A1 (ja) * 2015-03-19 2016-09-22 パナソニックIpマネジメント株式会社 ヘッドアップディスプレイ
JP2017015805A (ja) * 2015-06-29 2017-01-19 アイシン・エィ・ダブリュ株式会社 虚像表示装置
JP2017151403A (ja) * 2016-02-23 2017-08-31 株式会社デンソー ヘッドアップディスプレイ装置

Family Cites Families (2)

* Cited by examiner, † Cited by third party
Publication number Priority date Publication date Assignee Title
US7690799B2 (en) * 2008-08-26 2010-04-06 Microvision, Inc. Optical relay for compact head up display
WO2014155588A1 (ja) * 2013-03-27 2014-10-02 パイオニア株式会社 虚像生成装置及びヘッドアップディスプレイ

Patent Citations (8)

* Cited by examiner, † Cited by third party
Publication number Priority date Publication date Assignee Title
JPH01126620A (ja) * 1987-08-03 1989-05-18 Kaiser Aerospace & Electron Corp 光学視準装置及び光学視準方法
JPH02132411A (ja) * 1988-07-06 1990-05-21 Kaiser Aerospace & Electron Corp 光学コンバイナーコリメータ装置
JP2003161820A (ja) * 2001-11-26 2003-06-06 Minolta Co Ltd バンドパスフィルタ及び映像表示装置
US20120032875A1 (en) * 2010-08-05 2012-02-09 Microvision, Inc. Scanned Image Projection System Employing Beam Folding Apparatus
JP2012063524A (ja) * 2010-09-15 2012-03-29 Nippon Seiki Co Ltd 車両用ヘッドアップディスプレイ装置
WO2016147570A1 (ja) * 2015-03-19 2016-09-22 パナソニックIpマネジメント株式会社 ヘッドアップディスプレイ
JP2017015805A (ja) * 2015-06-29 2017-01-19 アイシン・エィ・ダブリュ株式会社 虚像表示装置
JP2017151403A (ja) * 2016-02-23 2017-08-31 株式会社デンソー ヘッドアップディスプレイ装置

Cited By (7)

* Cited by examiner, † Cited by third party
Publication number Priority date Publication date Assignee Title
CN114466761A (zh) * 2019-09-19 2022-05-10 株式会社小糸制作所 平视显示器及图像显示系统
CN114466761B (zh) * 2019-09-19 2024-09-03 株式会社小糸制作所 平视显示器及图像显示系统
JP2021173896A (ja) * 2020-04-27 2021-11-01 パナソニックIpマネジメント株式会社 表示装置及び光学調整シート
WO2021220842A1 (ja) * 2020-04-27 2021-11-04 パナソニックIpマネジメント株式会社 表示装置及び光学調整シート
JP7462218B2 (ja) 2020-04-27 2024-04-05 パナソニックIpマネジメント株式会社 表示装置及び光学調整シート
EP4300166A1 (de) * 2022-06-23 2024-01-03 Volkswagen Ag Head-up-display und fortbewegungsmittel mit einem head-up-display
US11970060B2 (en) 2022-06-23 2024-04-30 Volkswagen Aktiengesellschaft Head-up display and means of transportation comprising a head-up display

Also Published As

Publication number Publication date
JP2019082558A (ja) 2019-05-30
JP6922655B2 (ja) 2021-08-18

Similar Documents

Publication Publication Date Title
US11474349B2 (en) Head-up display device
JP6809441B2 (ja) 虚像表示装置
JP5310810B2 (ja) ヘッドアップディスプレイ装置
JP6946925B2 (ja) 虚像表示装置
JP6459921B2 (ja) ヘッドアップディスプレイ装置
KR102050998B1 (ko) 헤드업 디스플레이 장치
JP6589890B2 (ja) ヘッドアップディスプレイ装置
WO2015159522A1 (ja) ヘッドアップディスプレイ、およびヘッドアップディスプレイを搭載した移動体
WO2017094248A1 (ja) 自由曲面レンズ、および、ヘッドアップディスプレイ
WO2015159523A1 (ja) ヘッドアップディスプレイ、およびヘッドアップディスプレイを搭載した移動体
WO2015159521A1 (ja) ヘッドアップディスプレイ、およびヘッドアップディスプレイを搭載した移動体
WO2018154956A1 (ja) ヘッドアップディスプレイ装置
JP6481649B2 (ja) ヘッドアップディスプレイ装置
WO2017187758A1 (ja) ヘッドアップディスプレイ装置
WO2020225963A1 (ja) 虚像表示装置
JP2017015955A (ja) 表示装置
WO2019087615A1 (ja) 虚像表示装置
US10613324B2 (en) Vehicle display device
JP6683149B2 (ja) ヘッドアップディスプレイ装置
WO2017145558A1 (ja) ヘッドアップディスプレイ装置
EP4120001B1 (en) Virtual image display device
JP2021139956A (ja) 虚像表示装置

Legal Events

Date Code Title Description
121 Ep: the epo has been informed by wipo that ep was designated in this application

Ref document number: 18873812

Country of ref document: EP

Kind code of ref document: A1

NENP Non-entry into the national phase

Ref country code: DE

122 Ep: pct application non-entry in european phase

Ref document number: 18873812

Country of ref document: EP

Kind code of ref document: A1