WO2018155136A1 - 転がり案内装置の状態診断システム及び状態診断方法 - Google Patents

転がり案内装置の状態診断システム及び状態診断方法 Download PDF

Info

Publication number
WO2018155136A1
WO2018155136A1 PCT/JP2018/003607 JP2018003607W WO2018155136A1 WO 2018155136 A1 WO2018155136 A1 WO 2018155136A1 JP 2018003607 W JP2018003607 W JP 2018003607W WO 2018155136 A1 WO2018155136 A1 WO 2018155136A1
Authority
WO
WIPO (PCT)
Prior art keywords
rolling
data
guide device
analysis data
rolling guide
Prior art date
Legal status (The legal status is an assumption and is not a legal conclusion. Google has not performed a legal analysis and makes no representation as to the accuracy of the status listed.)
Ceased
Application number
PCT/JP2018/003607
Other languages
English (en)
French (fr)
Japanese (ja)
Inventor
山中 修平
善之 本所
Current Assignee (The listed assignees may be inaccurate. Google has not performed a legal analysis and makes no representation or warranty as to the accuracy of the list.)
THK Co Ltd
Original Assignee
THK Co Ltd
Priority date (The priority date is an assumption and is not a legal conclusion. Google has not performed a legal analysis and makes no representation as to the accuracy of the date listed.)
Filing date
Publication date
Application filed by THK Co Ltd filed Critical THK Co Ltd
Priority to US16/479,425 priority Critical patent/US20190361758A1/en
Priority to DE112018001008.2T priority patent/DE112018001008T5/de
Priority to KR1020197027408A priority patent/KR102491553B1/ko
Priority to CN201880008285.XA priority patent/CN110214236B/zh
Publication of WO2018155136A1 publication Critical patent/WO2018155136A1/ja
Anticipated expiration legal-status Critical
Ceased legal-status Critical Current

Links

Images

Classifications

    • FMECHANICAL ENGINEERING; LIGHTING; HEATING; WEAPONS; BLASTING
    • F16ENGINEERING ELEMENTS AND UNITS; GENERAL MEASURES FOR PRODUCING AND MAINTAINING EFFECTIVE FUNCTIONING OF MACHINES OR INSTALLATIONS; THERMAL INSULATION IN GENERAL
    • F16CSHAFTS; FLEXIBLE SHAFTS; ELEMENTS OR CRANKSHAFT MECHANISMS; ROTARY BODIES OTHER THAN GEARING ELEMENTS; BEARINGS
    • F16C29/00Bearings for parts moving only linearly
    • F16C29/04Ball or roller bearings
    • F16C29/06Ball or roller bearings in which the rolling bodies circulate partly without carrying load
    • F16C29/0633Ball or roller bearings in which the rolling bodies circulate partly without carrying load with a bearing body defining a U-shaped carriage, i.e. surrounding a guide rail or track on three sides
    • F16C29/0669Ball or roller bearings in which the rolling bodies circulate partly without carrying load with a bearing body defining a U-shaped carriage, i.e. surrounding a guide rail or track on three sides whereby the main body of the U-shaped carriage is an assembly of at least three major parts, e.g. an assembly of a top plate with two separate legs attached thereto in the form of bearing shoes
    • F16C29/0671Ball or roller bearings in which the rolling bodies circulate partly without carrying load with a bearing body defining a U-shaped carriage, i.e. surrounding a guide rail or track on three sides whereby the main body of the U-shaped carriage is an assembly of at least three major parts, e.g. an assembly of a top plate with two separate legs attached thereto in the form of bearing shoes with balls
    • GPHYSICS
    • G06COMPUTING OR CALCULATING; COUNTING
    • G06FELECTRIC DIGITAL DATA PROCESSING
    • G06F11/00Error detection; Error correction; Monitoring
    • G06F11/07Responding to the occurrence of a fault, e.g. fault tolerance
    • G06F11/0703Error or fault processing not based on redundancy, i.e. by taking additional measures to deal with the error or fault not making use of redundancy in operation, in hardware, or in data representation
    • G06F11/0706Error or fault processing not based on redundancy, i.e. by taking additional measures to deal with the error or fault not making use of redundancy in operation, in hardware, or in data representation the processing taking place on a specific hardware platform or in a specific software environment
    • FMECHANICAL ENGINEERING; LIGHTING; HEATING; WEAPONS; BLASTING
    • F16ENGINEERING ELEMENTS AND UNITS; GENERAL MEASURES FOR PRODUCING AND MAINTAINING EFFECTIVE FUNCTIONING OF MACHINES OR INSTALLATIONS; THERMAL INSULATION IN GENERAL
    • F16CSHAFTS; FLEXIBLE SHAFTS; ELEMENTS OR CRANKSHAFT MECHANISMS; ROTARY BODIES OTHER THAN GEARING ELEMENTS; BEARINGS
    • F16C29/00Bearings for parts moving only linearly
    • F16C29/04Ball or roller bearings
    • F16C29/06Ball or roller bearings in which the rolling bodies circulate partly without carrying load
    • FMECHANICAL ENGINEERING; LIGHTING; HEATING; WEAPONS; BLASTING
    • F16ENGINEERING ELEMENTS AND UNITS; GENERAL MEASURES FOR PRODUCING AND MAINTAINING EFFECTIVE FUNCTIONING OF MACHINES OR INSTALLATIONS; THERMAL INSULATION IN GENERAL
    • F16CSHAFTS; FLEXIBLE SHAFTS; ELEMENTS OR CRANKSHAFT MECHANISMS; ROTARY BODIES OTHER THAN GEARING ELEMENTS; BEARINGS
    • F16C29/00Bearings for parts moving only linearly
    • F16C29/04Ball or roller bearings
    • F16C29/06Ball or roller bearings in which the rolling bodies circulate partly without carrying load
    • F16C29/0602Details of the bearing body or carriage or parts thereof, e.g. methods for manufacturing or assembly
    • F16C29/0604Details of the bearing body or carriage or parts thereof, e.g. methods for manufacturing or assembly of the load bearing section
    • F16C29/0607Details of the bearing body or carriage or parts thereof, e.g. methods for manufacturing or assembly of the load bearing section of parts or members for retaining the rolling elements, i.e. members to prevent the rolling elements from falling out of the bearing body or carriage
    • FMECHANICAL ENGINEERING; LIGHTING; HEATING; WEAPONS; BLASTING
    • F16ENGINEERING ELEMENTS AND UNITS; GENERAL MEASURES FOR PRODUCING AND MAINTAINING EFFECTIVE FUNCTIONING OF MACHINES OR INSTALLATIONS; THERMAL INSULATION IN GENERAL
    • F16CSHAFTS; FLEXIBLE SHAFTS; ELEMENTS OR CRANKSHAFT MECHANISMS; ROTARY BODIES OTHER THAN GEARING ELEMENTS; BEARINGS
    • F16C29/00Bearings for parts moving only linearly
    • F16C29/04Ball or roller bearings
    • F16C29/06Ball or roller bearings in which the rolling bodies circulate partly without carrying load
    • F16C29/068Ball or roller bearings in which the rolling bodies circulate partly without carrying load with the bearing body fully encircling the guide rail or track
    • F16C29/0683Ball or roller bearings in which the rolling bodies circulate partly without carrying load with the bearing body fully encircling the guide rail or track the bearing body encircles a rail or rod of circular cross-section, i.e. the linear bearing is not suited to transmit torque
    • F16C29/0685Ball or roller bearings in which the rolling bodies circulate partly without carrying load with the bearing body fully encircling the guide rail or track the bearing body encircles a rail or rod of circular cross-section, i.e. the linear bearing is not suited to transmit torque with balls
    • F16C29/0688Ball or roller bearings in which the rolling bodies circulate partly without carrying load with the bearing body fully encircling the guide rail or track the bearing body encircles a rail or rod of circular cross-section, i.e. the linear bearing is not suited to transmit torque with balls whereby a sleeve surrounds the circulating balls and thicker part of the sleeve form the load bearing tracks
    • FMECHANICAL ENGINEERING; LIGHTING; HEATING; WEAPONS; BLASTING
    • F16ENGINEERING ELEMENTS AND UNITS; GENERAL MEASURES FOR PRODUCING AND MAINTAINING EFFECTIVE FUNCTIONING OF MACHINES OR INSTALLATIONS; THERMAL INSULATION IN GENERAL
    • F16CSHAFTS; FLEXIBLE SHAFTS; ELEMENTS OR CRANKSHAFT MECHANISMS; ROTARY BODIES OTHER THAN GEARING ELEMENTS; BEARINGS
    • F16C41/00Other accessories, e.g. devices integrated in the bearing not relating to the bearing function as such
    • FMECHANICAL ENGINEERING; LIGHTING; HEATING; WEAPONS; BLASTING
    • F16ENGINEERING ELEMENTS AND UNITS; GENERAL MEASURES FOR PRODUCING AND MAINTAINING EFFECTIVE FUNCTIONING OF MACHINES OR INSTALLATIONS; THERMAL INSULATION IN GENERAL
    • F16CSHAFTS; FLEXIBLE SHAFTS; ELEMENTS OR CRANKSHAFT MECHANISMS; ROTARY BODIES OTHER THAN GEARING ELEMENTS; BEARINGS
    • F16C41/00Other accessories, e.g. devices integrated in the bearing not relating to the bearing function as such
    • F16C41/007Encoders, e.g. parts with a plurality of alternating magnetic poles
    • GPHYSICS
    • G01MEASURING; TESTING
    • G01MTESTING STATIC OR DYNAMIC BALANCE OF MACHINES OR STRUCTURES; TESTING OF STRUCTURES OR APPARATUS, NOT OTHERWISE PROVIDED FOR
    • G01M13/00Testing of machine parts
    • G01M13/04Bearings
    • GPHYSICS
    • G05CONTROLLING; REGULATING
    • G05BCONTROL OR REGULATING SYSTEMS IN GENERAL; FUNCTIONAL ELEMENTS OF SUCH SYSTEMS; MONITORING OR TESTING ARRANGEMENTS FOR SUCH SYSTEMS OR ELEMENTS
    • G05B23/00Testing or monitoring of control systems or parts thereof
    • G05B23/02Electric testing or monitoring
    • G05B23/0205Electric testing or monitoring by means of a monitoring system capable of detecting and responding to faults
    • G05B23/0218Electric testing or monitoring by means of a monitoring system capable of detecting and responding to faults characterised by the fault detection method dealing with either existing or incipient faults
    • G05B23/0224Process history based detection method, e.g. whereby history implies the availability of large amounts of data
    • G05B23/0227Qualitative history assessment, whereby the type of data acted upon, e.g. waveforms, images or patterns, is not relevant, e.g. rule based assessment; if-then decisions
    • G05B23/0235Qualitative history assessment, whereby the type of data acted upon, e.g. waveforms, images or patterns, is not relevant, e.g. rule based assessment; if-then decisions based on a comparison with predetermined threshold or range, e.g. "classical methods", carried out during normal operation; threshold adaptation or choice; when or how to compare with the threshold
    • GPHYSICS
    • G06COMPUTING OR CALCULATING; COUNTING
    • G06FELECTRIC DIGITAL DATA PROCESSING
    • G06F11/00Error detection; Error correction; Monitoring
    • G06F11/07Responding to the occurrence of a fault, e.g. fault tolerance
    • G06F11/0703Error or fault processing not based on redundancy, i.e. by taking additional measures to deal with the error or fault not making use of redundancy in operation, in hardware, or in data representation
    • G06F11/0706Error or fault processing not based on redundancy, i.e. by taking additional measures to deal with the error or fault not making use of redundancy in operation, in hardware, or in data representation the processing taking place on a specific hardware platform or in a specific software environment
    • G06F11/0736Error or fault processing not based on redundancy, i.e. by taking additional measures to deal with the error or fault not making use of redundancy in operation, in hardware, or in data representation the processing taking place on a specific hardware platform or in a specific software environment in functional embedded systems, i.e. in a data processing system designed as a combination of hardware and software dedicated to performing a certain function
    • GPHYSICS
    • G06COMPUTING OR CALCULATING; COUNTING
    • G06FELECTRIC DIGITAL DATA PROCESSING
    • G06F11/00Error detection; Error correction; Monitoring
    • G06F11/07Responding to the occurrence of a fault, e.g. fault tolerance
    • G06F11/0703Error or fault processing not based on redundancy, i.e. by taking additional measures to deal with the error or fault not making use of redundancy in operation, in hardware, or in data representation
    • G06F11/0751Error or fault detection not based on redundancy
    • G06F11/0754Error or fault detection not based on redundancy by exceeding limits
    • GPHYSICS
    • G06COMPUTING OR CALCULATING; COUNTING
    • G06FELECTRIC DIGITAL DATA PROCESSING
    • G06F11/00Error detection; Error correction; Monitoring
    • G06F11/07Responding to the occurrence of a fault, e.g. fault tolerance
    • G06F11/0703Error or fault processing not based on redundancy, i.e. by taking additional measures to deal with the error or fault not making use of redundancy in operation, in hardware, or in data representation
    • G06F11/0766Error or fault reporting or storing
    • G06F11/0781Error filtering or prioritizing based on a policy defined by the user or on a policy defined by a hardware/software module, e.g. according to a severity level
    • GPHYSICS
    • G06COMPUTING OR CALCULATING; COUNTING
    • G06FELECTRIC DIGITAL DATA PROCESSING
    • G06F11/00Error detection; Error correction; Monitoring
    • G06F11/07Responding to the occurrence of a fault, e.g. fault tolerance
    • G06F11/0703Error or fault processing not based on redundancy, i.e. by taking additional measures to deal with the error or fault not making use of redundancy in operation, in hardware, or in data representation
    • G06F11/079Root cause analysis, i.e. error or fault diagnosis
    • GPHYSICS
    • G06COMPUTING OR CALCULATING; COUNTING
    • G06FELECTRIC DIGITAL DATA PROCESSING
    • G06F11/00Error detection; Error correction; Monitoring
    • G06F11/30Monitoring
    • G06F11/3065Monitoring arrangements determined by the means or processing involved in reporting the monitored data
    • G06F11/3072Monitoring arrangements determined by the means or processing involved in reporting the monitored data where the reporting involves data filtering, e.g. pattern matching, time or event triggered, adaptive or policy-based reporting
    • G06F11/3075Monitoring arrangements determined by the means or processing involved in reporting the monitored data where the reporting involves data filtering, e.g. pattern matching, time or event triggered, adaptive or policy-based reporting the data filtering being achieved in order to maintain consistency among the monitored data, e.g. ensuring that the monitored data belong to the same timeframe, to the same system or component
    • GPHYSICS
    • G06COMPUTING OR CALCULATING; COUNTING
    • G06FELECTRIC DIGITAL DATA PROCESSING
    • G06F11/00Error detection; Error correction; Monitoring
    • G06F11/30Monitoring
    • G06F11/3089Monitoring arrangements determined by the means or processing involved in sensing the monitored data, e.g. interfaces, connectors, sensors, probes, agents

Definitions

  • the present invention has been made in view of such a problem, and an object of the present invention is to use a sensor mounted on the rolling guide device to load the rolling surface of the raceway member or the moving member of the rolling guide device.
  • An object of the present invention is to provide a state diagnosis system and a state diagnosis method capable of appropriately grasping the state of a rolling surface.
  • the present invention relates to a state diagnosis system for a rolling guide device
  • the rolling guide device includes a large number of rolling elements, a track member having a rolling surface of the rolling elements along a longitudinal direction, and the rolling elements.
  • a moving member having an infinite circulation path of the rolling element including a load passage of the rolling element and a no-load passage connecting both ends of the load passage.
  • the state diagnosis system includes a sensor that detects a physical quantity when the moving member is moving along the track member, generates an analysis data by taking an output signal of the sensor for a predetermined time, and generates the analysis data.
  • a diagnostic processing unit that determines whether or not the rolling guide device is abnormal according to the comparison result, and outputs the determination result.
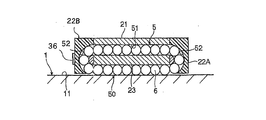
  • the moving member 2 is roughly composed of a metal main body member 21 and a pair of synthetic resin lids 22A and 22B attached to both ends of the main body member 21 in the moving direction. .
  • the moving member 2 includes a plurality of infinite circulation paths for balls corresponding to the rolling surfaces 11 of the track member 1.
  • a sealing member 4 for sealing a gap between the moving member 2 and the track member 1 is fixed to the lids 22A and 22B, and dust or the like adhering to the track member 1 enters the inside of the endless circulation path. Is prevented.
  • FIG. 1 shows a disassembled state in which one of the pair of lids 22A and 22B attached to the main body member 21 is removed from the main body member 21.
  • FIG. 3 is a block diagram showing a configuration of a state diagnosis system for a rolling guide device using the vibration sensor 35 and the proximity sensor 36.
  • Output signals from the vibration sensor 35 and the proximity sensor 36 are input to a diagnosis processing unit 39 via an A / D converter.
  • the diagnosis processing unit 39 is realized by a microcontroller incorporating a RAM and a ROM.
  • the diagnostic processing unit 39 executes a diagnostic program stored in the ROM in advance and outputs a determination signal corresponding to the diagnostic result.
  • the determination signal output from the diagnosis processing unit 39 is output to a user interface 40 such as an alarm or a display.
  • the threshold data is read (S3), and the threshold data and the analysis data are compared to determine whether or not the traveling of the moving member 2 on the track member 1 includes abnormal vibration. (S4). As a result of this determination, if the value of the analysis data is larger than the threshold data, the vibration of the moving member 2 on the track member 1 includes abnormal vibration, and the diagnosis processing unit 39 A signal notifying the user interface 40 of an abnormality is issued (S5).
  • the frame A1 and the frame A2 having different start times always include vibration caused by the rolling element 6 entering the load passage 50. For this reason, in the state where the rolling guide device is operating normally, the analysis data associated with each of the frames A1 and A2 shows substantially the same intensity level. Since the rolling guide device is operating normally, the intensity level at this time is the same as that of the threshold data.
  • the first analysis data has a higher intensity level than the first threshold data because it includes vibration caused by the running abnormality of the moving member 2 with respect to the track member 1. Will show. For this reason, it can be determined from the comparison result between the first analysis data and the first threshold data that some trouble has occurred in the rolling guide device.
  • the moving speed of the moving member 2 is determined. If v can be grasped by various sensors, the output signal of the proximity sensor 36 does not need to be used.
  • a linear scale is provided along the track member 1, and an encoder for reading the linear scale is provided in the moving member 2, the moving speed v of the moving member 2 is grasped from an output signal of the encoder, and from there The period t can be grasped.
  • the data collection time T2 in the second processing mode is set to be longer than the time Tb during which the load passage 50 of the moving member 2 passes through the damaged portion on the track member 1. That is, as shown in FIG. 9, T2> Tb.
  • FIG. 10 is a flowchart showing an example of a state diagnosis method performed by the state diagnosis system, in which the first processing mode and the second processing mode are combined.

Landscapes

  • Engineering & Computer Science (AREA)
  • General Engineering & Computer Science (AREA)
  • Theoretical Computer Science (AREA)
  • General Physics & Mathematics (AREA)
  • Physics & Mathematics (AREA)
  • Quality & Reliability (AREA)
  • Mechanical Engineering (AREA)
  • Health & Medical Sciences (AREA)
  • Biomedical Technology (AREA)
  • Automation & Control Theory (AREA)
  • Computer Vision & Pattern Recognition (AREA)
  • Bearings For Parts Moving Linearly (AREA)
  • Testing Of Devices, Machine Parts, Or Other Structures Thereof (AREA)
PCT/JP2018/003607 2017-02-24 2018-02-02 転がり案内装置の状態診断システム及び状態診断方法 Ceased WO2018155136A1 (ja)

Priority Applications (4)

Application Number Priority Date Filing Date Title
US16/479,425 US20190361758A1 (en) 2017-02-24 2018-02-02 Status diagnosing system for rolling guide device and status diagnosing method
DE112018001008.2T DE112018001008T5 (de) 2017-02-24 2018-02-02 Zustandsdiagnosesystem für eine rollführungsvorrichtung und zustandsdiagnoseverfahren
KR1020197027408A KR102491553B1 (ko) 2017-02-24 2018-02-02 구름 안내 장치의 상태 진단 시스템 및 상태 진단 방법
CN201880008285.XA CN110214236B (zh) 2017-02-24 2018-02-02 滚动导向装置的状态诊断系统及状态诊断方法

Applications Claiming Priority (2)

Application Number Priority Date Filing Date Title
JP2017-033921 2017-02-24
JP2017033921A JP6841558B2 (ja) 2017-02-24 2017-02-24 転がり案内装置の状態診断システム及び状態診断方法

Publications (1)

Publication Number Publication Date
WO2018155136A1 true WO2018155136A1 (ja) 2018-08-30

Family

ID=63254182

Family Applications (1)

Application Number Title Priority Date Filing Date
PCT/JP2018/003607 Ceased WO2018155136A1 (ja) 2017-02-24 2018-02-02 転がり案内装置の状態診断システム及び状態診断方法

Country Status (7)

Country Link
US (1) US20190361758A1 (enExample)
JP (1) JP6841558B2 (enExample)
KR (1) KR102491553B1 (enExample)
CN (1) CN110214236B (enExample)
DE (1) DE112018001008T5 (enExample)
TW (1) TWI760442B (enExample)
WO (1) WO2018155136A1 (enExample)

Cited By (1)

* Cited by examiner, † Cited by third party
Publication number Priority date Publication date Assignee Title
TWI728422B (zh) * 2019-03-26 2021-05-21 日商東芝三菱電機產業系統股份有限公司 異常判定支援裝置

Families Citing this family (9)

* Cited by examiner, † Cited by third party
Publication number Priority date Publication date Assignee Title
TWI668378B (zh) * 2018-04-23 2019-08-11 直得科技股份有限公司 微型線性滑軌及其滑座
JP2020160680A (ja) * 2019-03-26 2020-10-01 キヤノン株式会社 電子機器、電子機器を制御するための制御方法、コンピュータプログラム及び記憶媒体
JP7412158B2 (ja) 2019-12-18 2024-01-12 オークマ株式会社 工作機械の送り軸診断装置及び送り軸診断方法
JP7262380B2 (ja) * 2019-12-20 2023-04-21 住友重機械工業株式会社 診断装置
CN111964909A (zh) * 2020-08-24 2020-11-20 山东大学 滚动轴承运行状态检测方法、故障诊断方法及系统
TWI752751B (zh) * 2020-12-09 2022-01-11 上銀科技股份有限公司 用於偵測線性滑軌狀態的裝置和方法
CN114689290B (zh) * 2020-12-15 2025-08-26 上银科技股份有限公司 用于侦测线性滑轨状态的装置和方法
JP7533531B2 (ja) * 2021-12-27 2024-08-14 株式会社デンソー 摺動機構保護部材の故障予兆検知システム、摺動機構保護部材の故障予兆検知方法及び摺動機構保護部材の故障予兆検知プログラム
TWI870713B (zh) * 2021-12-27 2025-01-21 日商電裝股份有限公司 故障預兆檢測系統、故障預兆檢測方法及故障預兆檢測程式

Citations (5)

* Cited by examiner, † Cited by third party
Publication number Priority date Publication date Assignee Title
JPH05281094A (ja) * 1992-03-31 1993-10-29 Nkk Corp 循環式ころがり案内を備えた直動式ガイドの診断方法 およびその装置
JP2008303954A (ja) * 2007-06-06 2008-12-18 Nsk Ltd 直動装置
JP2009092183A (ja) * 2007-10-11 2009-04-30 Nsk Ltd 直動装置およびその異常判定装置
JP2013257014A (ja) * 2012-06-14 2013-12-26 Nsk Ltd ボールねじ装置の異常検出装置及び異常検出方法
JP2017032520A (ja) * 2015-08-06 2017-02-09 日本精工株式会社 状態監視装置及び状態監視方法

Family Cites Families (11)

* Cited by examiner, † Cited by third party
Publication number Priority date Publication date Assignee Title
JPS5554429A (en) * 1978-10-17 1980-04-21 Toshiba Corp Bearing supervisory unit
JPH0616001B2 (ja) * 1987-10-02 1994-03-02 日本たばこ産業株式会社 ころがり軸受の非破壊検査方法及び装置
JP2004003573A (ja) * 2002-04-26 2004-01-08 Nsk Ltd 転動装置用センサ
JP3871054B2 (ja) * 2003-06-26 2007-01-24 日本精工株式会社 機械設備の状態監視方法及び装置
JP3874110B2 (ja) 2002-08-30 2007-01-31 日本精工株式会社 異常診断システム
JP4430316B2 (ja) * 2003-02-28 2010-03-10 Thk株式会社 状態検出装置及び状態検出方法並びに状態検出用プログラム及び情報記録媒体
CN101010578B (zh) * 2004-08-31 2010-09-08 Thk株式会社 状态检测装置、状态检测方法、状态显示装置及状态显示方法
JP2009257806A (ja) * 2008-04-14 2009-11-05 Nsk Ltd 転がり直動装置の異常判定方法および異常判定装置
CN104314997B (zh) * 2014-08-19 2019-01-15 中广核工程有限公司 轴瓦倾斜检测方法和自动纠倾方法
JP6605865B2 (ja) * 2015-07-22 2019-11-13 Ntn株式会社 転がり軸受の状態監視装置及び転がり軸受の状態監視方法
CN106015328B (zh) * 2016-06-28 2018-10-26 嘉兴海菱达精密传动科技有限公司 一种滚动直线导轨副

Patent Citations (5)

* Cited by examiner, † Cited by third party
Publication number Priority date Publication date Assignee Title
JPH05281094A (ja) * 1992-03-31 1993-10-29 Nkk Corp 循環式ころがり案内を備えた直動式ガイドの診断方法 およびその装置
JP2008303954A (ja) * 2007-06-06 2008-12-18 Nsk Ltd 直動装置
JP2009092183A (ja) * 2007-10-11 2009-04-30 Nsk Ltd 直動装置およびその異常判定装置
JP2013257014A (ja) * 2012-06-14 2013-12-26 Nsk Ltd ボールねじ装置の異常検出装置及び異常検出方法
JP2017032520A (ja) * 2015-08-06 2017-02-09 日本精工株式会社 状態監視装置及び状態監視方法

Cited By (1)

* Cited by examiner, † Cited by third party
Publication number Priority date Publication date Assignee Title
TWI728422B (zh) * 2019-03-26 2021-05-21 日商東芝三菱電機產業系統股份有限公司 異常判定支援裝置

Also Published As

Publication number Publication date
US20190361758A1 (en) 2019-11-28
KR102491553B1 (ko) 2023-01-20
TWI760442B (zh) 2022-04-11
CN110214236B (zh) 2020-11-03
CN110214236A (zh) 2019-09-06
DE112018001008T5 (de) 2019-11-07
JP6841558B2 (ja) 2021-03-10
TW201843549A (zh) 2018-12-16
JP2018138817A (ja) 2018-09-06
KR20190121333A (ko) 2019-10-25

Similar Documents

Publication Publication Date Title
JP6841558B2 (ja) 転がり案内装置の状態診断システム及び状態診断方法
JP6403743B2 (ja) 転がり案内装置の状態診断システム
EP1598569B1 (en) Condition-detecting device, method, and program, and information-recording medium
JP6714806B2 (ja) 状態監視装置及び状態監視方法
US7843192B2 (en) Kit, method and apparatus for monitoring operation of a bearing assembly, method for producing said apparatus, and bearing assembly with a condition monitor
CN101010578B (zh) 状态检测装置、状态检测方法、状态显示装置及状态显示方法
JP6508017B2 (ja) 機械設備の評価方法
JP3871054B2 (ja) 機械設備の状態監視方法及び装置
KR102697028B1 (ko) 구름 베어링의 이상 진단 방법 및 이상 진단 장치
JP2021085694A (ja) ボールねじの状態監視装置および状態監視方法
JP2012098213A (ja) 転がり直動要素用稼働状態監視装置および転がり直動要素の稼働状態監視方法
US20090199640A1 (en) Method for rolling-element bearing diagnosis
Meier et al. Determination of bearing clearance by the application of neural networks
JP6981586B1 (ja) ボールねじの状態監視装置
WO2019058965A1 (ja) 転がり案内装置の状態診断方法
JP6947474B2 (ja) 運動案内装置の状態診断装置
JP2021085695A (ja) リニアガイドの状態監視装置および状態監視方法
Guimarães et al. Investigation of transfer impedances of mounted rolling bearings
Chen et al. On-line bearing fault diagnosis based on signal analysis and rough set

Legal Events

Date Code Title Description
121 Ep: the epo has been informed by wipo that ep was designated in this application

Ref document number: 18757279

Country of ref document: EP

Kind code of ref document: A1

ENP Entry into the national phase

Ref document number: 20197027408

Country of ref document: KR

Kind code of ref document: A

122 Ep: pct application non-entry in european phase

Ref document number: 18757279

Country of ref document: EP

Kind code of ref document: A1