WO2018034167A1 - Examination device, examination method, and program - Google Patents

Examination device, examination method, and program Download PDF

Info

Publication number
WO2018034167A1
WO2018034167A1 PCT/JP2017/028290 JP2017028290W WO2018034167A1 WO 2018034167 A1 WO2018034167 A1 WO 2018034167A1 JP 2017028290 W JP2017028290 W JP 2017028290W WO 2018034167 A1 WO2018034167 A1 WO 2018034167A1
Authority
WO
WIPO (PCT)
Prior art keywords
image
wavelength
pixels
detection region
wavelength range
Prior art date
Legal status (The legal status is an assumption and is not a legal conclusion. Google has not performed a legal analysis and makes no representation as to the accuracy of the status listed.)
Ceased
Application number
PCT/JP2017/028290
Other languages
English (en)
French (fr)
Inventor
Hitoshi Mitani
Masafumi Wakazono
Current Assignee (The listed assignees may be inaccurate. Google has not performed a legal analysis and makes no representation or warranty as to the accuracy of the list.)
Sony Corp
Original Assignee
Sony Corp
Priority date (The priority date is an assumption and is not a legal conclusion. Google has not performed a legal analysis and makes no representation as to the accuracy of the date listed.)
Filing date
Publication date
Application filed by Sony Corp filed Critical Sony Corp
Priority to CN201780047672.XA priority Critical patent/CN109565578B/zh
Priority to KR1020197003298A priority patent/KR20190039110A/ko
Priority to US16/301,987 priority patent/US10893221B2/en
Priority to EP17826593.0A priority patent/EP3501169A1/en
Publication of WO2018034167A1 publication Critical patent/WO2018034167A1/en
Anticipated expiration legal-status Critical
Ceased legal-status Critical Current

Links

Images

Classifications

    • HELECTRICITY
    • H04ELECTRIC COMMUNICATION TECHNIQUE
    • H04NPICTORIAL COMMUNICATION, e.g. TELEVISION
    • H04N23/00Cameras or camera modules comprising electronic image sensors; Control thereof
    • H04N23/50Constructional details
    • H04N23/555Constructional details for picking-up images in sites, inaccessible due to their dimensions or hazardous conditions, e.g. endoscopes or borescopes
    • GPHYSICS
    • G06COMPUTING OR CALCULATING; COUNTING
    • G06TIMAGE DATA PROCESSING OR GENERATION, IN GENERAL
    • G06T3/00Geometric image transformations in the plane of the image
    • G06T3/40Scaling of whole images or parts thereof, e.g. expanding or contracting
    • G06T3/4038Image mosaicing, e.g. composing plane images from plane sub-images
    • HELECTRICITY
    • H04ELECTRIC COMMUNICATION TECHNIQUE
    • H04NPICTORIAL COMMUNICATION, e.g. TELEVISION
    • H04N23/00Cameras or camera modules comprising electronic image sensors; Control thereof
    • H04N23/10Cameras or camera modules comprising electronic image sensors; Control thereof for generating image signals from different wavelengths
    • HELECTRICITY
    • H04ELECTRIC COMMUNICATION TECHNIQUE
    • H04NPICTORIAL COMMUNICATION, e.g. TELEVISION
    • H04N23/00Cameras or camera modules comprising electronic image sensors; Control thereof
    • H04N23/10Cameras or camera modules comprising electronic image sensors; Control thereof for generating image signals from different wavelengths
    • H04N23/11Cameras or camera modules comprising electronic image sensors; Control thereof for generating image signals from different wavelengths for generating image signals from visible and infrared light wavelengths
    • HELECTRICITY
    • H04ELECTRIC COMMUNICATION TECHNIQUE
    • H04NPICTORIAL COMMUNICATION, e.g. TELEVISION
    • H04N23/00Cameras or camera modules comprising electronic image sensors; Control thereof
    • H04N23/60Control of cameras or camera modules
    • H04N23/698Control of cameras or camera modules for achieving an enlarged field of view, e.g. panoramic image capture
    • HELECTRICITY
    • H04ELECTRIC COMMUNICATION TECHNIQUE
    • H04NPICTORIAL COMMUNICATION, e.g. TELEVISION
    • H04N25/00Circuitry of solid-state image sensors [SSIS]; Control thereof
    • H04N25/40Extracting pixel data from image sensors by controlling scanning circuits, e.g. by modifying the number of pixels sampled or to be sampled
    • H04N25/41Extracting pixel data from a plurality of image sensors simultaneously picking up an image, e.g. for increasing the field of view by combining the outputs of a plurality of sensors
    • GPHYSICS
    • G01MEASURING; TESTING
    • G01NINVESTIGATING OR ANALYSING MATERIALS BY DETERMINING THEIR CHEMICAL OR PHYSICAL PROPERTIES
    • G01N21/00Investigating or analysing materials by the use of optical means, i.e. using sub-millimetre waves, infrared, visible or ultraviolet light
    • G01N21/17Systems in which incident light is modified in accordance with the properties of the material investigated
    • G01N21/25Colour; Spectral properties, i.e. comparison of effect of material on the light at two or more different wavelengths or wavelength bands
    • G01N21/31Investigating relative effect of material at wavelengths characteristic of specific elements or molecules, e.g. atomic absorption spectrometry
    • G01N21/314Investigating relative effect of material at wavelengths characteristic of specific elements or molecules, e.g. atomic absorption spectrometry with comparison of measurements at specific and non-specific wavelengths
    • G01N2021/3148Investigating relative effect of material at wavelengths characteristic of specific elements or molecules, e.g. atomic absorption spectrometry with comparison of measurements at specific and non-specific wavelengths using three or more wavelengths
    • GPHYSICS
    • G01MEASURING; TESTING
    • G01NINVESTIGATING OR ANALYSING MATERIALS BY DETERMINING THEIR CHEMICAL OR PHYSICAL PROPERTIES
    • G01N21/00Investigating or analysing materials by the use of optical means, i.e. using sub-millimetre waves, infrared, visible or ultraviolet light
    • G01N21/17Systems in which incident light is modified in accordance with the properties of the material investigated
    • G01N21/21Polarisation-affecting properties
    • GPHYSICS
    • G01MEASURING; TESTING
    • G01NINVESTIGATING OR ANALYSING MATERIALS BY DETERMINING THEIR CHEMICAL OR PHYSICAL PROPERTIES
    • G01N21/00Investigating or analysing materials by the use of optical means, i.e. using sub-millimetre waves, infrared, visible or ultraviolet light
    • G01N21/17Systems in which incident light is modified in accordance with the properties of the material investigated
    • G01N21/25Colour; Spectral properties, i.e. comparison of effect of material on the light at two or more different wavelengths or wavelength bands
    • G01N21/255Details, e.g. use of specially adapted sources, lighting or optical systems
    • GPHYSICS
    • G02OPTICS
    • G02BOPTICAL ELEMENTS, SYSTEMS OR APPARATUS
    • G02B5/00Optical elements other than lenses
    • G02B5/30Polarising elements
    • G02B5/3025Polarisers, i.e. arrangements capable of producing a definite output polarisation state from an unpolarised input state
    • GPHYSICS
    • G06COMPUTING OR CALCULATING; COUNTING
    • G06TIMAGE DATA PROCESSING OR GENERATION, IN GENERAL
    • G06T2207/00Indexing scheme for image analysis or image enhancement
    • G06T2207/10Image acquisition modality
    • G06T2207/10032Satellite or aerial image; Remote sensing
    • G06T2207/10036Multispectral image; Hyperspectral image
    • GPHYSICS
    • G06COMPUTING OR CALCULATING; COUNTING
    • G06TIMAGE DATA PROCESSING OR GENERATION, IN GENERAL
    • G06T2207/00Indexing scheme for image analysis or image enhancement
    • G06T2207/30Subject of image; Context of image processing
    • G06T2207/30181Earth observation
    • G06T2207/30188Vegetation; Agriculture

Definitions

  • the present disclosure relates to an examination device, an examination method, and a program.
  • the present disclosure relates to an examination device, an examination method, and a program configured to favorably perform desired examination.
  • NDVI normalized difference vegetation index
  • a growing status of crops is examined using an image acquired in such a manner that an examination target is imaged by spectroscopy for a near-infrared light component and a red light component.
  • a polarization imager configured such that various polarization filter are arranged for pixels is utilized so that an image having characteristics according to a polarization direction can be acquired.
  • the polarization imager is configured such that the pixels on a light receiving surface are divided according to multiple polarization directions, and generates an image for each polarization direction.
  • a resolution is decreased (e.g., the resolution is decreased to 1/4 when four polarization directions are used).
  • Patent Literature 1 discloses an imaging device configured such that a polarizer array including polarizers (a polarization filter for each pixel) arranged in an array is shifted in units of pixel by an actuator to acquire multiple images and a resolution is held by processing of these images.
  • a technique (referred to as “image stitching”) of acquiring an image with a high resolution across a wide area by stitching of multiple images continuously acquired during movement has been typically known.
  • image stitching it is difficult to realize both of the technique of acquiring the wide image by stitching of multiple images and the technique of using the imaging device disclosed in Patent Literature 1 to maintain the resolution. For this reason, it has been demanded for, e.g., favorable examination of vegetation by means of the normalized difference vegetation index that a wide image is acquired for a high resolution even when the polarization imager is used.
  • the present disclosure has been made in view of the above-described situation, and is intended to favorably perform desired examination.
  • An examination device includes: for each of wavelength ranges, a plurality of detection regions, each including a plurality of sensor elements arranged in a matrix and configured to detect light with an identical wavelength range, in which the plurality of sensor elements are arranged such that adjacent ones of the sensor elements detect light in different polarization directions and are arranged as a set including sensor elements corresponding to the number of polarization directions.
  • an examination method and a program includes performing, on the basis of a detection value detected by each sensor element, the signal processing of generating an image acquired for a wider area than that detectable each time.
  • a plurality of detection regions is included, for each of wavelength ranges, each including a plurality of sensor elements arranged in a matrix and configured to detect light with an identical wavelength range, and the plurality of sensor elements are arranged such that adjacent ones of the sensor elements detect light in different polarization directions and are arranged as a set including sensor elements corresponding to the number of polarization directions. Moreover, the signal processing of generating an image acquired for a wider area than that detectable each time is performed on the basis of a detection value detected by each sensor element.
  • an imaging sensor including a plurality of wavelength detection regions.
  • the plurality of wavelength detection regions including at least a first wavelength detection region.
  • the first wavelength detection region includes a plurality of pixels configured to detect light within a first pre-determined wavelength range, and detect the light at different pre-determined polarization directions.
  • an imaging method includes detecting, with an image sensor, incident light.
  • the method further includes outputting, with the imaging sensor, a plurality of image signals based on different polarizations of the incident light.
  • a first one or more image signals of the plurality of image signals are indicative of the different polarizations of the incident light in a first pre-determined wavelength range.
  • a second one or more image signals of the plurality of image signals are indicative of the different polarizations of the incident light in a second pre-determined wavelength range.
  • the first pre-determined wavelength range and the second pre-determined wavelength range are different from each other.
  • a non-transitory computer-readable medium storing a program that, when executed by electronic processor, causes the electronic processor to perform a set of operations.
  • the set of operations includes receiving a plurality of image signals from an image sensor. A first one or more image signals of the plurality of image signals are indicative of different polarizations of the incident light in a first pre-determined wavelength range. Additionally, a second one or more image signals of the plurality of image signals are indicative of different polarizations of the incident light in a second pre-determined wavelength range. The first pre-determined wavelength range and the second pre-determined wavelength range are different from each other.
  • the set of operations further includes processing the plurality of image signals to generate an image that is based on a combination of the plurality of image signals.
  • desired examination can be favorably performed.
  • Fig. 1 is a block diagram of a configuration example of one embodiment of a vegetation examination device to which the present technology has been applied.
  • Fig. 2 is a view of an example of pixel arrangement in a detection device.
  • Fig. 3 is a view for describing the processing of generating a wide output image.
  • Fig. 4 is a block diagram of a configuration example of a first image processing unit.
  • Fig. 5 is a block diagram of a configuration example of a second image processing unit.
  • Fig. 6 is a flowchart for describing the processing of acquiring a wide high-resolution image.
  • Fig. 7 is a view for describing an arrangement rule of minimum detection regions of pixels.
  • Fig. 1 is a block diagram of a configuration example of one embodiment of a vegetation examination device to which the present technology has been applied.
  • Fig. 2 is a view of an example of pixel arrangement in a detection device.
  • Fig. 3 is a view for describing the processing of generating
  • Fig. 8 is a view of a pixel arrangement example according to another arrangement rule of the minimum detection regions.
  • Fig. 9 is a view of a first variation of pixel arrangement of the detection device.
  • Fig. 10 is a view of a second variation of pixel arrangement of the detection device.
  • Fig. 11 is a view of a third variation of pixel arrangement of the detection device.
  • Fig. 12 is a view of a fourth variation of pixel arrangement of the detection device.
  • Fig. 13 is a view for describing an example application of a vegetation examination device.
  • Fig. 14 is a view for describing another example application of the vegetation examination device.
  • Fig. 15 is a block diagram of a configuration example of one embodiment of a computer to which the present technology has been applied.
  • FIG. 16 is another view for describing processing of producing an output image having a wide range.
  • Fig. 17 is a block diagram of another exemplary configuration of a first image processing unit.
  • Fig. 18 is a block diagram of another exemplary configuration of a second image processing unit.
  • Fig. 19 is a block diagram of an exemplary embodiment of an unmanned aerial vehicle.
  • Fig. 1 is a block diagram of a configuration example of one embodiment of a vegetation examination device to which the present technology has been applied.
  • a vegetation examination device 11 includes a detection device 12 and a signal processing device 13.
  • the vegetation examination device 11 is utilized for examining a growing status including, e.g., the state and activity of vegetation of an examination target such as grass or crops.
  • the detection device 12 is, for example, an image sensor configured such that a plurality of pixels (sensor elements) are arranged in a matrix on a light receiving surface, and is configured to detect, for each pixel, the amount of light reflected on a surface of the examination target to acquire an image of the examination target. Moreover, the detection device 12 is configured to detect, by each pixel, light in a particular polarization direction with a particular wavelength range. For example, the detection device 12 is configured such that a polarization filter through which light in a predetermined polarization direction is transmitted and an optical filter through which light with a predetermined wavelength range is transmitted are stacked on a sensor substrate provided with photodiodes forming the pixels.
  • the pixels for detection of light in different polarization directions are arranged adjacent to each other in the detection device 12. That is, a small square illustrated in Fig. 2 represents the pixel, and a number provided to each pixel represents the angle of the polarization direction.
  • the polarization direction is set every 45 degrees, and four pixels whose polarization directions are set at 0 degree, 45 degrees, 90 degrees, and 135 degrees are arranged adjacent to each other in a matrix of two rows ⁇ two columns.
  • these four pixels are arranged as each set.
  • the detection device 12 is not limited to detection of light in four polarization directions, and it may be configured such that light in at least three polarization directions is detected by three pixels arranged adjacent to each other.
  • the pixels for detection of light with the same wavelength range are collectively arranged in a detection region for each wavelength range, for example. That is, as illustrated in Fig. 2, in the detection device 12, the pixels for detection of light with a red wavelength range are arranged in a red detection region R, the pixels for detection of light with a green wavelength range are arranged in a green detection region G, the pixels for detection of light with a blue wavelength range are arranged in a blue detection region B, and the pixels for detection of light with a near-infrared wavelength range are arranged in a near-infrared detection region IR.
  • the red detection region R, the green detection region G, the blue detection region B, and the near-infrared detection region IR are each formed in an elongated rectangular shape along a column direction (an upper-to-lower direction in Fig. 2), and are arranged in a row direction (a right-to-left direction in Fig. 2).
  • the detection device 12 is configured such that the light receiving surface on which the plurality of pixels are arranged is divided into four regions of the red detection region R, the green detection region G, the blue detection region B, and the near-infrared detection region IR.
  • the detection device 12 can acquire, per exposure, an image (hereinafter referred to as a “divided image” if necessary) for each wavelength range by the red detection region R, the green detection region G, the blue detection region B, and the near-infrared detection region IR, the detection regions being divided in the rectangular shape elongated in the column direction.
  • an image hereinafter referred to as a “divided image” if necessary
  • the detection regions being divided in the rectangular shape elongated in the column direction.
  • the vegetation examination device 11 can continuously acquire multiple images at high speed in the detection device 12. These multiple images are used for examination of the examination target.
  • the row direction in Fig. 2 is a moving direction of the detection device 12 so that the examination target can be sequentially scanned by each of the red detection region R, the green detection region G, the blue detection region B, and the near-infrared detection region IR.
  • the vegetation examination device 11 moves at such a moving speed that the divided images continuously acquired by the red detection region R, the green detection region G, the blue detection region B, and the near-infrared detection region IR overlap with each other in the row direction by equal to or greater than a predetermined width, for example.
  • the detection device 12 can detect light in four polarization directions for each pixel set, and can acquire the divided images with the wavelength ranges for the red detection region R, the green detection region G, the blue detection region B, and the near-infrared detection region IR. Then, the detection device 12 inputs image data as input image data to the signal processing device 13, the image data containing a pixel value according to the amount of light in the polarization direction with the wavelength range as described above.
  • the signal processing device 13 includes an image data analysis unit 21, an image processing selection unit 22, a first image processing unit 23a, a second image processing unit 23b, and a stitching processing unit 24.
  • the image data analysis unit 21 is configured to analyze the input image data input from the detection device 12 to supply an analysis result to the image processing selection unit 22. For example, the image data analysis unit 21 obtains histogram of the pixel values in the input image data for a single image acquirable by the detection device 12, and obtains, for the detection region for each wavelength range, the number of pixels with pixel values smaller than a particular reference value. In this manner, the analysis result can be obtained.
  • the image processing selection unit 22 is configured to select, according to the analysis result supplied from the image data analysis unit 21, either one of image processing by the first image processing unit 23a or image processing by the second image processing unit 23b and supply the input image data from the detection device 12. For example, when images appear in the detection regions for all of the wavelength ranges, the image processing selection unit 22 selects the image processing by the first image processing unit 23a. When no image appears in any of the detection region for any of the wavelength ranges, the image processing selection unit 22 selects the image processing by the second image processing unit 23b.
  • the image processing selection unit 22 supplies the input image data to the first image processing unit 23a.
  • the image processing selection unit 22 supplies the input image data to the second image processing unit 23b.
  • the first image processing unit 23a and the second image processing unit 23b are configured to perform the image processing for the input image data. Then, the first image processing unit 23a and the second image processing unit 23b supplies the stitching processing unit 24 with divided image data obtained by division of the input image data according to the wavelength range and coordinate data indicating a feature point coordinate on the image acquired by the detection device 12.
  • the stitching processing unit 24 stitches, for each wavelength range, the continuously-supplied divided images, thereby generating an output image indicated by the pixel value for each wavelength range. That is, the stitching processing unit 24 performs, on the basis of the coordinate data indicating the feature point coordinate on the image, such synthesizing that shots common between adjacent divided images are superimposed on each other. In this manner, the stitching processing unit 24 generates an image larger than an image acquirable by single exposure in the detection device 12.
  • the stitching processing unit 24 estimates corresponding feature points of the divided images. Then, the stitching processing unit 24 performs the image processing of moving or deforming the divided images such that the feature points thereof overlap with each other, and performs the image processing of blending the pixel values of the overlapping portions of the divided images with the matched feature point.
  • the stitching processing unit 24 can generate a single output image of the examination target with a high resolution across a wide area when the images of the examination target are continuously acquired by the detection device 12 and image acquisition for the entire examination target region of the examination target is completed, for example. Then, the stitching processing unit 24 outputs, as output image data, data containing the wide high-resolution output image (the image acquired for a wider area than that of a single image acquired by the detection device 12).
  • a first image includes a divided image R1 corresponding to the red detection region R, a divided image G1 corresponding to the green detection region G, a divided image B1 corresponding to the blue detection region B, and a divided image IR1 corresponding to the near-infrared detection region IR.
  • second to fourth images are also configured as in the first image. Note that after these four images, the detection device 12 sequentially and continuously acquires multiple images while moving along the moving direction of Fig. 2, and these images are supplied to the signal processing device 13.
  • each image supplied from the detection device 12 is divided into divided images, and the divided images with the same wavelength range are sequentially stitched in the stitching processing unit 24.
  • the divided red image R1 from the first image, the divided red image R2 from the second image, the divided red image R3 from the third image, and the divided red image R4 from the fourth image are sequentially stitched in the stitching processing unit 24.
  • the divided red images from the images supplied from the detection device 12 after the fourth image are sequentially stitched in the stitching processing unit 24 during movement along the moving direction of Fig. 2.
  • divided images for other wavelength ranges are, according to the wavelength range, stitched in the stitching processing unit 24.
  • the signal processing device 13 can acquire a wide high-resolution output image R generated by stitching of the divided red images, a wide high-resolution output image G generated by stitching of the divided green images, a wide high-resolution output image B generated by stitching of the divided blue images, and a wide high-resolution output image IR generated by stitching of the divided near-infrared images. Then, as illustrated at the right end of Fig. 3, the signal processing device 13 may output, as output image data (color image data + near-infrared image data) in the form of collecting data as one, output image data containing the output image R, the output image G, the output image B, and the output image IR, for example.
  • output image data color image data + near-infrared image data
  • the vegetation examination device 11 is configured as described above, and can acquire the wide high-resolution output image for each predetermined wavelength range.
  • vegetation examination using a normalized difference vegetation index NDVI obtained from the output red image G and the output near-infrared image IR can be finely performed across a wide area such as a field, for example.
  • Fig. 4 is a block diagram of a configuration example of the first image processing unit 23a of Fig. 1.
  • the first image processing unit 23a includes a polarization parameter extraction unit 31a, a specular reflection component removing unit 32a, an image division unit 33a, a first feature point detection unit 34a, and a second feature point detection unit 35a.
  • the polarization parameter extraction unit 31a is configured to extract, on the basis of the input image data supplied from the detection device 12, a polarization parameter indicating a light polarization state on the surface of the examination target, thereby supplying the polarization parameter to the specular reflection component removing unit 32a and the second feature point detection unit 35a.
  • the polarization parameter includes, for example, a polarization degree indicating the degree of polarization when light is reflected on the surface of the examination target, and a normal vector indicating the angle of the normal line of the surface of the examination target with respect to the detection device 12.
  • the detection device 12 is configured such that adjacent four pixels detect light in the polarization directions set every 45 degrees.
  • the polarization parameter extraction unit 31a can extract, on the basis of polarization information (a pixel value difference corresponding to a difference in the polarization direction among the pixels) obtained from pixel values of these four pixels, the parameter of polarization on the surface of the examination target detected by these four pixels.
  • the specular reflection component removing unit 32a is configured to remove, on the basis of the polarization parameter supplied from the polarization parameter extraction unit 31a, a specular reflection component as a component of light specularly-reflected on the surface of the examination target from the input image data supplied from the detection device 12.
  • a specular reflection component as a component of light specularly-reflected on the surface of the examination target from the input image data supplied from the detection device 12.
  • light reflected on the surface of the examination target typically contains a polarized specular reflection component and a non-polarized diffuse reflection component.
  • the specular reflection component removing unit 32a can remove the specular reflection component by a technique called “independent component analysis (ICA),” for example. Then, the specular reflection component removing unit 32a acquires, from the image acquired from the detection device 12, an image from which influence of the specular reflection component has been eliminated, and then, supplies such image data to the image division unit 33a.
  • ICA independent component analysis
  • the image division unit 33a is configured to divide, according to the detection regions for the wavelength ranges detected by the detection device 12, the image data supplied from the specular reflection component removing unit 32a, thereby supplying the first feature point detection unit 34a and the stitching processing unit 24 (Fig. 1) with the divided image data for each wavelength range.
  • the first feature point detection unit 34a is configured to detect a feature point indicating a characteristic portion of an object of the image based on the divided image data, thereby supplying the stitching processing unit 24 with the coordinate data indicating the coordinate of the feature point. For example, an edge of a portion with a greater change in brightness or color on the image may be used as the feature point.
  • the second feature point detection unit 35a is configured to detect a feature point indicating a characteristic portion of an object of the image on which the polarization parameter supplied from the polarization parameter extraction unit 31a is mapped, thereby supplying the stitching processing unit 24 with the coordinate data indicating the coordinate of the feature point.
  • the first image processing unit 23a is configured as described above, and can supply the stitching processing unit 24 with the divided image data from which the specular reflection component is removed and which is divided for each wavelength range, the coordinate data indicating the coordinate of the feature point obtained from the divided image for each wavelength range, and the coordinate data indicating the coordinate of the feature point on the image acquired on the basis of the polarization parameter.
  • Fig. 5 is a block diagram of a configuration example of the second image processing unit 23b of Fig. 1.
  • the second image processing unit 23b includes, as in the first image processing unit 23a of Fig. 2, a polarization parameter extraction unit 31b, a specular reflection component removing unit 32b, an image division unit 33b, a first feature point detection unit 34b, and a second feature point detection unit 35b.
  • the second image processing unit 23b is configured such that a processing order is different from that of the first image processing unit 23a of Fig. 2.
  • the input image data is supplied from the detection device 12 to the image division unit 33b in the second image processing unit 23b, and the image division unit 33b divides such image data according to the detection regions for the wavelength ranges in the detection device 12. Then, the image division unit 33b supplies the polarization parameter extraction unit 31b and the specular reflection component removing unit 32b with the divided image data for each wavelength range.
  • the polarization parameter extraction unit 31b extracts the polarization parameter from the divided image data for each wavelength range
  • the specular reflection component removing unit 32b removes the specular reflection component from the divided image data for each wavelength range.
  • the first feature point detection unit 34b and the second feature point detection unit 35b extract the above-described feature points, and supply the stitching processing unit 24 with the coordinate data indicating the coordinate of each feature point.
  • the second image processing unit 23b configured as described above can supply the stitching processing unit 24 with the divided image data from which the specular reflection component is removed and which is divided for each wavelength range, the coordinate data indicating the coordinate of the feature point obtained from the divided image for each wavelength range, and the coordinate data indicating the coordinate of the feature point on the image acquired on the basis of the polarization parameter.
  • the stitching processing unit 24 can stitch the divided images on the basis of the coordinate data indicating the coordinate of the feature point obtained from the divided image for each wavelength range and the coordinate data indicating the coordinate of the feature point on the image acquired on the basis of the polarization parameter. As described above, the stitching processing unit 24 can use more feature points to improve stitch accuracy.
  • the polarization parameter does not typically depend on an object color.
  • the stitching processing unit 24 can use, without influence of a color filter, the feature point based on the polarization parameter for positioning within the entire size of the detection device 12. This allows the stitching processing unit 24 to perform stitching with a higher accuracy.
  • Fig. 6 is a flowchart for describing the processing of acquiring the wide high-resolution image by the vegetation examination device 11.
  • the processing begins when the vegetation examination device 11 arrives at a start point for examination of the examination target, and the vegetation examination device 11 moves in the moving direction as illustrated in Fig. 2. Then, at a step S11, the detection device 12 acquires a single image by single exposure, and supplies the signal processing device 13 with input image data on such an image.
  • the image data analysis unit 21 of the signal processing device 13 analyzes the input image supplied from the detection device 12 at the step S11, and supplies the image processing selection unit 22 with such an analysis result.
  • the image processing selection unit 22 determines, according to the analysis result supplied from the image data analysis unit 21 at the step S12, whether the image processing by the first image processing unit 23a or the image processing by the second image processing unit 23b is to be performed as the image processing for the input image.
  • step S13 when the image processing selection unit 22 determines that the image processing by the first image processing unit 23a is to be performed for the input image, the image processing selection unit 22 supplies the input image to the first image processing unit 23a, and the processing proceeds to a step S14.
  • the polarization parameter extraction unit 31a of the first image processing unit 23a extracts, on the basis of pixel values of adjacent four pixels different from each other in the polarization direction, the polarization parameter from the image acquired by the detection device 12.
  • the specular reflection component removing unit 32a removes, on the basis of the polarization parameter extracted by the polarization parameter extraction unit 31a at the step S14, the specular reflection component from the image acquired by the detection device 12.
  • the image division unit 33a divides the image according to the wavelength range detected by the detection device 12, the specular reflection component being removed from the image by the specular reflection component removing unit 32a at the step S15. Then, the image division unit 33a supplies the first feature point detection unit 34a and the stitching processing unit 24 with the divided image for each wavelength range.
  • the first feature point detection unit 34a detects a feature point indicating a characteristic portion of an object of the divided image supplied from the image division unit 33a at the step S16. Then, the first feature point detection unit 34a supplies the stitching processing unit 24 with the coordinate data indicating the coordinate of the feature point detected from each divided image.
  • the second feature point detection unit 35a detects, on the basis of the polarization parameter supplied from the polarization parameter extraction unit 31a, a feature point indicating a characteristic portion of an object of the image on which the polarization parameter is mapped. Then, the second feature point detection unit 35a supplies the stitching processing unit 24 with the coordinate data indicating the coordinate of the feature point detected for the entire image acquired by the detection device 12 on the basis of the polarization parameter.
  • the stitching processing unit 24 stitches the divided images on the basis of the feature points indicated by the coordinate data supplied at the steps S17 and S18, the divided images being supplied from the image division unit 33a at the step S16.
  • the image processing selection unit 22 determines, at the step S13, that the image processing by the second image processing unit 23b is to be performed for the input image, the image processing selection unit 22 supplies the input image to the second image processing unit 23b, and the processing proceeds to a step S20.
  • the image division unit 33b of the second image processing unit 23b divides the image acquired by the detection device 12 according to the wavelength range detected by the detection device 12. Then, the image division unit 33b supplies the polarization parameter extraction unit 31b and the specular reflection component removing unit 32b with the divided image for each wavelength range.
  • the polarization parameter extraction unit 31b extracts, for each image divided by the image division unit 33b, the polarization parameter on the basis of pixel values of adjacent four pixels different from each other in the polarization direction.
  • the specular reflection component removing unit 32b removes, on the basis of the polarization parameter extracted by the polarization parameter extraction unit 31b at the step S21, the specular reflection component from each image divided by the image division unit 33b. Then, the specular reflection component removing unit 32b supplies the first feature point detection unit 34b and the stitching processing unit 24 with the divided image from which the specular reflection component is removed.
  • the first feature point detection unit 34b detects a feature point indicating a characteristic portion of an object of the divided image supplied from the specular reflection component removing unit 32b at the step S22. Then, the first feature point detection unit 34b supplies the stitching processing unit 24 with the coordinate data indicating the coordinate of the feature point detected from each divided image.
  • the second feature point detection unit 35b detects, on the basis of the polarization parameter supplied from the polarization parameter extraction unit 31b, a feature point indicating a characteristic portion of an object of the image on which the polarization parameter is mapped. Then, the second feature point detection unit 35b supplies the stitching processing unit 24 with the coordinate data indicating the coordinate of the feature point detected for the entire image acquired by the detection device 12 on the basis of the polarization parameter.
  • the processing proceeds to the step S19.
  • the stitching processing unit 24 stitches the divided images on the basis of the feature points indicated by the coordinate data supplied at the steps S23 and S24, the divided images being supplied from the image division unit 33a at the step S20.
  • the processing proceeds to a step S25, and the detection device 12 determines, across the entire area of the examination target, whether or not a necessary image has been acquired.
  • the detection device 12 can determine as the necessary image having been acquired when the processing is performed from the start point for examination of the examination target and the vegetation examination device 11 has reached an end point.
  • step S25 when the detection device 12 determines that the necessary image has not been acquired, i.e., when the vegetation examination device 11 does not reach the end point, the processing returns to the step S11, and similar processing is repeated thereafter.
  • the processing proceeds to a step S26.
  • the stitching processing unit 24 generates a wide high-resolution image across the entire area of the examination target.
  • the signal processing device 13 outputs, as an output image, the image generated by the stitching processing unit 24, and then, the processing is terminated.
  • the vegetation examination device 11 can acquire, for each wavelength range detectable by the detection device 12, a wide high-resolution image across the entire area of the examination target.
  • pixel arrangement in the detection device 12 the above-described arrangement example of Fig. 2 is schematically illustrated for the sake of easy understanding of description.
  • millions or tens of millions of minute pixels are actually arranged on the light receiving surface.
  • these pixels are, as illustrated in Fig. 2, arranged such that the light receiving surface is divided into four detection regions according to the wavelength range.
  • pixel arrangement in the detection device 12 is not limited to the example illustrated in Fig. 2.
  • Fig. 7 is a view for describing the rule of arrangement of minimum detection regions of the pixels in the detection device 12.
  • 16 pixels including four pixels in the row direction and four pixels in the column direction are collectively arranged as the pixels configured to detect light with the same wavelength range to form the minimum detection region in the detection device 12.
  • the detection device 12 four pixels whose polarization directions are set every 45 degrees are, as described above, arranged adjacent to each other in 2 ⁇ 2, and 16 pixels form such a minimum detection region that the pixel sets each including four pixels are arranged in 2 ⁇ 2.
  • the minimum red detection region R, the minimum green detection region G, the minimum blue detection region B, and the minimum near-infrared detection region IR are, in the detection device 12, arranged along the moving direction (the row direction in Fig. 7) as the direction in which the detection device 12 moves relative to the examination target. That is, the minimum red detection region R, the minimum green detection region G, the minimum blue detection region B, and the minimum near-infrared detection region IR are arranged according to such an arrangement rule that these regions are surely arranged as viewed in the moving direction of the detection device 12. With this configuration, when the detection device 12 performs single-line scanning of the examination target, divided images of the examination target for all of the wavelength ranges can be acquired for such a single line, for example.
  • the minimum detection region is set to have a size twice as large as a polarization filter pattern cycle (2 ⁇ 2) in the row direction and the column direction.
  • the minimum detection region is set as described above, and the detection device 12 continuously acquires images such that these images overlap with each other by at least a width corresponding to two pixels while moving relative to the examination target, for example.
  • the signal processing device 13 can stitch the divided images by the stitching processing unit 24, and can output a wide high-resolution output image for each wavelength range detectable by the detection device 12.
  • Fig. 8 is a view of a pixel arrangement example of the minimum detection regions according to another arrangement rule.
  • the minimum red detection region R, the minimum green detection region G, the minimum blue detection region B, and the minimum near-infrared detection region IR can be arranged according to an arrangement rule of a matrix of 2 rows ⁇ 2 columns in the detection device 12.
  • the vegetation examination device 11 moves to sequentially scan the examination target by each minimum detection region so that a wide high-resolution output image for each wavelength range detectable by the detection device 12 can be output.
  • Fig. 9 is a view of a first variation of pixel arrangement.
  • the pixels are arranged in the detection device 12 such that the red detection region R, the green detection region G, the blue detection region B, and the near-infrared detection region IR are each in a rectangular shape more elongated in the column direction as compared to pixel arrangement illustrated in Fig. 2.
  • Fig. 10 is a view of a second variation of pixel arrangement.
  • the pixels are, in the detection device 12, arranged according to such an arrangement rule that the red detection region R, the green detection region G, the blue detection region B, and the near-infrared detection region IR are surely arranged as viewed in the row direction and the column direction. That is, in a pixel arrangement example illustrated in Fig. 10, the detection regions for all of the wavelength ranges are arranged when 16 detection regions are viewed in the row direction and the column direction, the detection regions being arranged in a matrix of four rows ⁇ four columns.
  • each detection region may have a larger size.
  • the entire light receiving surface of the detection device 12 may be divided into 16 detection regions.
  • a detection region including more pixels may be repeatedly disposed in a pattern as illustrated in Fig. 10.
  • Fig. 11 is a view of a third variation of pixel arrangement.
  • a detection region including pixels configured to detect non-polarized light with all wavelength ranges can be, in the detection device 12, disposed in addition to the red detection region R, the green detection region G, the blue detection region B, and the near-infrared detection region IR. That is, the detection device 12 may have the detection region where no polarization filter and no color filter are provided. On the basis of pixel values of the pixels arranged in such a detection region, the signal processing device 13 can acquire a white (black-and-white) image with light in any polarization directions.
  • Fig. 12 is a view of a fourth variation of the pixel arrangement.
  • a detection region including pixels configured to detect non-polarized light with three primary colors can be, in the detection device 12, disposed in addition to the red detection region R, the green detection region G, the blue detection region B, and the near-infrared detection region IR. That is, the detection device 12 may have the detection region where no polarization filter is provided and a color filter with a Bayer array of three primary colors is provided for each pixel. On the basis of pixel values of the pixels arranged in such a detection region, the signal processing device 13 can acquire a color image with light in any polarization directions.
  • the vegetation examination device 11 is mounted on, e.g., an unmanned aerial vehicle (UAV) 51 so that the unmanned aerial vehicle 51 can examine the examination target while moving.
  • UAV unmanned aerial vehicle
  • Fig. 13 illustrates an example application in which the vegetation examination device 11 is fixed to the unmanned aerial vehicle 51 with the detection device 12 facing downward and acquires, from above, a planar output image of crops across a wide area of a field right below the vegetation examination device 11, for example.
  • Fig. 14 shows an example application in which the vegetation examination device 11 is fixed to the unmanned aerial vehicle 51 with the detection device 12 facing a lateral side and acquires, while moving on a footpath, an output image of a growing status such as the height of crops across a wide area, for example.
  • solid rectangles indicate multiple images acquired per exposure by the detection device 12, and a dashed rectangle indicates an output image generated by stitching of these images.
  • white arrows indicate a moving path of the unmanned aerial vehicle 51.
  • the unmanned aerial vehicle 51 equipped with the vegetation examination device 11 continuously acquires multiple images while moving, and therefore, the vegetation examination device 11 can acquire a single output image of the examination target with a high resolution across a wide area.
  • an output image can be used for detailed examination of vegetation of crops in a wide area such as a field.
  • the vegetation examination device 11 can obtain information on a sensor provided at the unmanned aerial vehicle 51
  • stitching is also performed by the stitching processing unit 24 on the basis of information on the position and attitude of the unmanned aerial vehicle 51, and therefore, an output image stitched with a high accuracy can be acquired.
  • the size of the detection region for each wavelength range can be properly selected according to, e.g., the size of the detection device 12 or the speed of movement of the vegetation examination device 11.
  • the necessary number of wavelength ranges can be, in the vegetation examination device 11, properly selected according to applications of examination by the vegetation examination device 11.
  • each detection region is preferably increased (i.e., each detection region preferably includes more pixels) to reliably stitch the divided images.
  • the size of the detection region may be decreased.
  • the present technology is further applicable not only to a vegetation examination system including only a device such as the vegetation examination device 11, but also to a vegetation examination system connected via a network, for example.
  • a vegetation examination system including only a device such as the vegetation examination device 11, but also to a vegetation examination system connected via a network, for example.
  • it can be configured such that the detection device 12 and the signal processing device 13 are connected together via the network and that an image output from the signal processing device 13 is transmitted to a display device or an analysis device via the network.
  • each type of processing described with reference to the above-described flowchart is not necessarily executed in chronological order as described in the flowchart, and includes processing (e.g., parallel processing or object processing) executed in parallel or individually.
  • processing e.g., parallel processing or object processing
  • a single CPU may process a program, or distributed processing may be performed for the program by a plurality of CPUs.
  • the system indicates an entire device including a plurality of devices.
  • the above-described series of processing can be executed by hardware, or can be executed by software.
  • a program forming the software is, from a program recording medium configured to record the program, installed in a computer built in the dedicated hardware or a general-purpose personal computer configured to execute various functions by installation of various programs, for example.
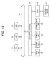
  • Fig. 15 is a block diagram of a configuration example of the hardware of the computer configured to execute the above-described series of processing by the program.
  • a central processing unit (CPU) 101 a read only memory (ROM) 102, and a random access memory (RAM) 103 are connected together via a bus 104.
  • CPU central processing unit
  • ROM read only memory
  • RAM random access memory
  • the bus 104 is further connected to an input/output interface 105.
  • the following units are connected to the input/output interface 105: an input unit 106 including a keyboard, a mouse, a microphone, etc.; an output unit 107 including a display, a speaker, etc.; a storage unit 108 including a hard disk, a non-volatile memory, etc.; a communication unit 109 including a network interface etc.; and a drive 110 configured to drive a removable medium 111 such as a magnetic disk, an optical disk, a magneto optical disk, or a semiconductor memory.
  • the CPU 101 loads and executes a program in the RAM 103 via the input/output interface 105 and the bus 104, the program being stored in the storage unit 108, for example. In this manner, the above-described series of processing is performed.
  • the program executed by the computer is stored in the removable medium 111 as a package medium including, e.g., a magnetic disk (including a flexible disk), an optical disk (e.g., a compact disc-read only memory (CD-ROM) or a digital versatile disc (DVD)), a magneto optical disk, or a semiconductor memory, or is provided via a wired or wireless transmission medium such as a local area network, the Internet, or digital satellite broadcasting.
  • a package medium including, e.g., a magnetic disk (including a flexible disk), an optical disk (e.g., a compact disc-read only memory (CD-ROM) or a digital versatile disc (DVD)), a magneto optical disk, or a semiconductor memory, or is provided via a wired or wireless transmission medium such as a local area network, the Internet, or digital satellite broadcasting.
  • the removable medium 111 is attached to the drive 110 so that the program can be installed in the storage unit 108 via the input/output interface 105.
  • the program can be received by the communication unit 109 via the wired or wireless transmission medium, and then, can be installed in the storage unit 108.
  • the program can be installed in advance in the ROM 102 or the storage unit 108.
  • Fig. 16 is another view for describing processing of producing an output image having a wide range.
  • pluralities of images (each plurality having four image sets of four images for a total of sixteen images in the example of Fig. 16) computed from image data that is captured in a time series, the image data being acquired by the detection device 12, are illustrated in descending order at a left end of Fig. 16.
  • the detection device 12 can sequentially capture a plurality of image data.
  • Each of the image sets captured at a particular exposure includes information for different polarization angles for each of the wavelength strips.
  • a first exposure is performed to capture part of an object to be inspected, as the vegetation inspection device 11 is moved along the moving direction of FIG. 2.
  • a first image set has four images, shown as stacked images on the top left end of FIG. 16, represent the image data captured at the first exposure.
  • the four images of the first image set corresponds to four polarization angles of 0°, 45°, 90°, and 135° and is computed by the signal processing device 12, based on the image data acquired from the first exposure.
  • a second exposure is performed to capture another part of the object to be inspected.
  • a second image set with four other images stacked one over the other, shown below the first image set and slightly shifted to the right in FIG. 16 represent the image data captured at the second exposure.
  • the four images of the second image set corresponds to four polarization angles of 0°, 45°, 90°, and 135° and is computed by the signal processing device 12, based on the image data acquired from the second exposure.
  • the vegetation inspection device 12 is further moved along the moving direction and third and fourth image sets, each with four images, are shown in the left end of FIG. 16.
  • the signal processing device 13 divides the image data supplied from the detection device 12 into pluralities of divided images based on the wavelength band and the polarization angle.
  • the stitching processing unit 24 sequentially stitches each plurality of the pluralities of divided images in the same wavelength band together. For example, based on the red wavelength band and the polarization angle of zero degrees, a red divided image R1 is divided from the first image set of the first plurality of images, a red divided image R2 is divided from the first image set of the second plurality of images, a red divided image R3 is divided from the first image set of the third plurality of images, and a red divided image R4 is divided from the first image set of the fourth plurality of images, are sequentially stitched by the stitching processing unit 24.
  • the stitching processing unit 24 stitches red divided images divided from the second image sets (polarization angle of forty-five degrees), the third image sets (polarization angle of ninety degrees), and the fourth image sets (polarization angle of one-hundred and thirty-five degrees) of the pluralities of images. Note that, the stitching processing unit 24 stitches divided images with the same polarization angle in the other wavelength bands, for each wavelength band.
  • the signal processing device 13 can acquire a plurality of output red images R (polarization angles of 0°, 45°, 90°, and 135°) including the red divided images stitched with a wide range and high resolution, a plurality of output green images G (polarization angles of 0°, 45°, 90°, and 135°) including the green divided images stitched with a wide range and high resolution, a plurality of output blue images B (polarization angles of 0°, 45°, 90°, and 135°) including the blue divided images stitched with a wide range and high resolution, and a plurality of output near-infrared images IR (polarization angles of 0°, 45°, 90°, and 135°) including the near-infrared divided images stitched with a wide range and high resolution.
  • R polarization angles of 0°, 45°, 90°, and 135°
  • a plurality of output green images G polarization angles of 0°, 45°, 90°, and 135
  • the signal processing device 13 may use the plurality of output red images R (polarization angles of 0°, 45°, 90°, and 135°) and a polarization fitting process to generate a single output red image at any polarization angle.
  • the signal processing device 13 may use the plurality of output green images G (polarization angles of 0°, 45°, 90°, and 135°) and the polarization fitting process to generate a single output green image at any polarization angle.
  • the signal processing device 13 may use the plurality of output blue images B (polarization angles of 0°, 45°, 90°, and 135°) and the polarization fitting process to generate a single output blue image at any polarization angle.
  • the signal processing device 13 may use the plurality of output near-infrared images IR (polarization angles of 0°, 45°, 90°, and 135°) and the polarization fitting process to generate a single output near-infrared image at any polarization angle.
  • the signal processing device 13 may select one of the plurality of output red images R (polarization angles of 0°, 45°, 90°, and 135°) as a single output red image at a pre-determined polarization angle (for example, 0°, 45°, 90°, or 135°).
  • the signal processing device 13 may select one of the plurality of output green images G (polarization angles of 0°, 45°, 90°, and 135°) as a single output green image at a pre-determined polarization angle (for example, 0°, 45°, 90°, or 135°).
  • the signal processing device 13 may select one of the plurality of output blue images B (polarization angles of 0°, 45°, 90°, and 135°) as a single output blue image at a pre-determined polarization angle (for example, 0°, 45°, 90°, or 135°).
  • the signal processing device 13 may select one of the plurality of output near-infrared images IR (polarization angles of 0°, 45°, 90°, and 135°) as a single output near-infrared image at a pre-determined polarization angle (for example, 0°, 45°, 90°, or 135°).
  • the signal processing device 13 may output image data included in the single output red image, the single output green image, the single output blue image, and the single output near-infrared image, as output image data in an integrated format (color image data + near-infrared image data), as illustrated at a right end of Fig. 16.
  • the vegetation inspection device 11 has the configuration, and can acquire an output image having a wide range and high resolution for each predetermined wavelength band at any polarization angle.
  • Fig. 17 is a block diagram of another exemplary configuration of the first image processing unit 23a of Fig. 1.
  • the first image processing unit 23a includes a polarization parameter extraction unit 31a, a specular reflection component removing unit 32a, a first image division unit 33a, a first feature point detection unit 34a, a second feature point detection unit 35a, and a second image division unit 36a.
  • the polarization parameter extraction unit 31a extracts a polarization parameter indicating a polarization state of light on the surface of the object to be inspected, so as to supply the polarization parameter to the specular reflection component removing unit 32a and the second feature point detection unit 35a, on the basis of the input image data supplied from the detection device 12.
  • the polarization parameter includes a polarization level indicating the degree of polarization when the light reflects from the surface of the object to be inspected and a normal vector indicating the angle of a normal of the surface of the object to be inspected with respect to the detection device 12.
  • the detection device 12 detects the light in a polarization direction every 45° with four pixels adjacent to each other.
  • the polarization parameter extraction unit 31a can extract the polarization parameter on the surface of the object to be inspected, detected through the four pixels, on the basis of polarization information acquired from the pixel values of the four pixels (the difference between the pixel values in response to the different polarization directions of the respective pixels).
  • the specular reflection component removing unit 32a removes a specular reflection component being a component including the light specularly reflecting from the surface of the object to be inspected, from the input image data supplied from the detection device 12, on the basis of the polarization parameter supplied from the polarization parameter extraction unit 31a.
  • the light reflecting from the surface of the object to be inspected typically includes a polarized specular reflection component and a non-polarized diffuse reflection component.
  • the specular reflection component removing unit 32a can remove the specular reflection component, for example, with a method of independent component analysis (ICA), on the basis of an assumption that the diffuse reflection component and the specular reflection component are statistically independent. Then, the specular reflection component removing unit 32a acquires an image excluding the influence of the specular reflection component from an image acquired by the detection device 12, so as to supply image data thereof to the first image division unit 33a.
  • ICA independent component analysis
  • the first image division unit 33a divides the image data supplied from the specular reflection component removing unit 32a, in accordance with the detection areas of the wavelength bands detected by the detection device 12, so as to supply divided image data for each wavelength band to the first feature point detection unit 34a.
  • the first feature point detection unit 34a detects a feature point indicating a distinctive point of a subject captured in the image based on the divided image data from the first image division unit 33a, so as to supply coordinate data indicating the coordinates of the feature point, to the stitching processing unit 24.
  • a feature point indicating a distinctive point of a subject captured in the image based on the divided image data from the first image division unit 33a, so as to supply coordinate data indicating the coordinates of the feature point, to the stitching processing unit 24.
  • the second feature point detection unit 35a detects a feature point indicating a distinctive point of a subject captured in the image including the polarization parameter supplied from the polarization parameter extraction unit 31a, mapped, so as to supply coordinate data indicating the coordinates of the feature point to the stitching processing unit 24.
  • the second image division unit 36a divides the input image data supplied from the detection device 12, in accordance with the polarization angle associated with each pixel of the detection device 12, so as to supply divided image data for each polarization angle to the stitching processing unit 24 (Fig. 1).
  • the first image processing unit 23a has the configuration, and can supply the divided image data based on polarization angles of the pixels of the detection device 12, and the divided image data includes the specular reflection component to the stitching processing unit 24.
  • the first image processing unit 23 has the configuration, and can supply the coordinate data indicating the coordinates of the feature point acquired from the divided image data that includes the specular reflection component removed and has been divided for each wavelength band, and the coordinate data indicating the coordinates of the feature point on the image acquired on the basis of the polarization parameter, to the stitching processing unit 24.
  • the stitching processing unit 24 may use one or both of the coordinate data from the first feature point detection unit 34a and the second feature point detection unit 35a.
  • the polarization angle of the divided image data to be stitched by the stitching processing unit 24 may be specified by a user or selected by the stitching processing unit 24 based on a result of image analysis.
  • the specular reflection component determined by the specular reflection component removal unit 32a may be used by the stitching processing unit 24 to select a polarization angle with the lowest reflection component.
  • the stitching processing unit 24 may use the divided image data (for example, color image data + near-infrared image data) with a polarization fitting process to generate a single output image at any polarization angle.
  • Fig. 18 is a block diagram of another exemplary configuration of the second image processing unit 23b of Fig. 1.
  • the second image processing unit 23b includes a polarization parameter extraction unit 31b, a specular reflection component removing unit 32b, an image division unit 33b, a first feature point detection unit 34b, and a second feature point detection unit 35b, similarly to the first image processing unit 23a of Fig. 17. Note that, the second image processing unit 23b has the sequence of performing the processing, different from that of the first image processing unit 23a of Fig. 17.
  • the detection device 12 supplies the input image data to the image division unit 33b.
  • the image division unit 33b divides the input image data supplied from the detection device 12, in accordance with the polarization angle associated with each pixel of the detection device 12, so as to supply divided image data for each polarization angle to the stitching processing unit 24 (Fig. 1).
  • the image division unit 33b further divides the divided image data corresponding to each of the polarized angles, in accordance with the detection areas of the wavelength bands in the detection device 12, in the second image processing unit 23b. Then, the image division unit 33b supplies divided image data for each wavelength band, to the polarization parameter extraction unit 31b and the specular reflection component removing unit 32b.
  • the polarization parameter extraction unit 31b extracts a polarization parameter from the divided image data divided for each wavelength band, and the specular reflection component removing unit 32b removes a specular reflection component from the divided image data divided for each wavelength band, in the second image processing unit 23b.
  • the first feature point detection unit 34b and the second feature point detection unit 35b each extract a feature point similar to those described above, so as to supply coordinate data indicating the feature point to the stitching processing unit 24.
  • the second image processing unit 23b having the configuration in this manner, can supply the divided image data based on polarization angles of the pixels of the detection device 12, and the divided image data includes the specular reflection component to the stitching processing unit 24.
  • the second image processing unit 23b can also supply the coordinate data indicating the coordinates of the feature point acquired from a divided image for each wavelength band, and the coordinate data indicating the coordinates of the feature point on the image acquired on the basis of the polarization parameter, to the stitching processing unit 24.
  • the stitching processing unit 24 may use one or both of the coordinate data from the first feature point detection unit 34b and the second feature point detection unit 35b.
  • the polarization angle of the divided image data to be stitched by the stitching processing unit 24 may be specified by a user or selected by the stitching processing unit 24 based on a result of image analysis.
  • the specular reflection component determined by the specular reflection component removal unit 32b may be used by the stitching processing unit 24 to select a polarization angle with the lowest reflection component.
  • the stitching processing unit 24 may use the divided image data (for example, color image data + near-infrared image data) with a polarization fitting process to generate a single output image at any polarization angle.
  • Fig. 19 is a block diagram of an exemplary embodiment of the unmanned aerial vehicle 51 of Figs. 13 and 14.
  • the unmanned aerial vehicle 51 is configured to include a vegetation inspection device 11, rotors 104a to 104d, motors 108a to 108d, a control unit 110, a communication unit 120, a sensor unit 130, a position information acquisition unit 132, a storage unit 140, and a battery 150.
  • the control unit 110 controls an operation of the unmanned aerial vehicle 51.
  • the control unit 110 can control an adjustment of the rotational speed of the rotors 104a to 104d by an adjustment of the rotational speed of the motors 108a to 108d, the imaging process by the vegetation inspection device 11, the transmission and reception processes of information to/from other devices (for example, a control terminal) through the communication unit 120, and storage and reading of information in and from the storage unit 140.
  • the control unit 110 controls a flight in which the rotational speed of the motors 108a to 108d is adjusted and execution of the imaging process of the still image by the imaging device 101 based on the flight information transmitted from the control terminal 200.
  • the control unit 110 controls the motors 108a to 108d or the vegetation inspection device 11 based on the flight information transmitted from the control terminal.
  • the control unit 110 can control the detection device 12 to consecutively capture one or more images, and provide the one or more images to the control terminal based on a request of the control terminal.
  • the control unit 110 can control the stitching processing unit 24 to stitch the captured images to provide an output image to the control terminal based on another request of the control terminal.
  • the rotors 104a to 104d cause the unmanned aerial vehicle 51 to fly by generating a lift force from rotation thereof. Rotation of the rotors 104a to 104d is caused by rotation of the motors 108a to 108d.
  • the motors 108a to 108d cause the rotors 104a to 104d to rotate. The rotation of the motors 108a to 108d can be controlled by the control unit 110.
  • the communication unit 120 performs transmission and reception processes of information to/from the control terminal through wireless communication.
  • the unmanned aerial vehicle 51 transmits image data captured by the vegetation inspection device 11 from the communication unit 120 to the control terminal.
  • the image data is one or more divided images.
  • the image data is one image, for example, a raw polarized image of one wavelength band.
  • the image data is an output image (a stitched image).
  • the unmanned aerial vehicle 51 receives instructions relating to flight from the control terminal using the communication unit 120.
  • the sensor unit 130 is a group of devices that acquire a state of the unmanned aerial vehicle 51, and may include, for example, an acceleration sensor, a gyro sensor, an ultrasonic sensor, a pneumatic sensor, an optical flow sensor, a laser range finder, or other suitable sensor.
  • the sensor unit 130 can convert an acquired state of the unmanned aerial vehicle 51 into a predetermined signal, and provide the signal to the control unit 110 when necessary.
  • the position information acquisition unit 132 acquires information of a current position of the unmanned aerial vehicle 51 using, for example, the GPS, a vision sensor, or other suitable positioning unit.
  • the position information acquisition unit 132 can provide the acquired information of the current position of the unmanned aerial vehicle 51 to the control unit 110 when necessary.
  • the control unit 110 executes control of the flight of the unmanned aerial vehicle 51 based on the flight information received from the control terminal using the information of the current position of the unmanned aerial vehicle 51 acquired by the position information acquisition unit 132.
  • the sensor unit 130 detects an obstacle that may interfere with a flight at the time of the flight. As the sensor unit 130 detects an obstacle, the unmanned aerial vehicle 51 can provide information related to the detected obstacle to the control terminal.
  • the storage unit 140 stores a variety of information. Examples of the information stored in the storage unit 140 include the flight information of the unmanned aerial vehicle 51 transmitted from the control terminal, and image data from the vegetation inspection device 11.
  • the image data is one or more divided images.
  • the image data is one image, for example, a raw polarized image of one wavelength band.
  • the image data is an output image (a stitched image).
  • the battery 150 accumulates electric power for operating the unmanned aerial vehicle 51.
  • the battery 150 may be a primary battery in which only discharging is possible or may be a secondary battery in which charging is also possible, but when the battery 150 is the secondary battery, for example, the battery 150 can be supplied with electric power from a charging station.
  • the unmanned aerial vehicle 51 may have the configuration illustrated in FIG. 19 and thus can perform an automatic flight based on the flight path included in the flight information transmitted from the control terminal and execute the imaging processes described herein.
  • the present technology may have several different applications other than as a vegetation inspection device. Indeed, the present technology is applicable to wide imaging ranges that require scanning and stitching of images. For example, one application of the present technology is factory automation when the object of interest requires more than one scan, and in particular, more than one robotic scan. Another application of the present technology is a microscope image analysis of mineral salts. Another application of the present technology is a measurement of stress strain (photo elasticity). Another application of the present technology is a fault detection of a transparent resin molded product. Another application of the present technology is detection of contaminants in glass. Yet another application of the present technology is a measurement of film thickness.
  • An imaging sensor comprising: a plurality of wavelength detection regions, the plurality of wavelength detection regions including at least a first wavelength detection region, wherein the first wavelength detection region comprises a plurality of pixels configured to detect light within a first pre-determined wavelength range, and detect the light at different pre-determined polarization directions.
  • the plurality of wavelength detection regions further includes a second wavelength detection region, the second wavelength detection region comprises a second plurality of pixels configured to detect the light within a second pre-determined wavelength range, and detect the light at different pre-determined polarization directions, the second pre-determined wavelength range is different than the first pre-determined wavelength range.
  • each wavelength detection region of the plurality of wavelength detection regions is formed in a rectangular shape elongated along a first direction, and when viewed in a second direction perpendicular to the first direction, the each wavelength detection region of the plurality of wavelength detection regions is arranged at one or more points.
  • each wavelength detection region of the plurality of wavelength detection regions is arranged at one or more points when viewed in a row direction and a column direction.
  • each wavelength detection region of the plurality of wavelength detection regions includes an array of at least sixteen pixels, the array of at least sixteen pixels including at least four row pixels and at least four column pixels.
  • the array of at least sixteen pixels is configured to detect the light in at least three or more polarization directions.
  • a first one of the plurality of wavelength detection regions is configured to detect the light within a red wavelength range
  • a second one of the plurality of wavelength detection regions is configured to detect the light within a green wavelength range
  • a third one of the plurality of wavelength detection regions is configured to detect the light within a blue wavelength range
  • a fourth one of the plurality of wavelength detection regions is configured to detect the light with a near-infrared wavelength range.
  • a detection region configured to detect non-polarized light in all wavelength ranges.
  • the imaging sensor according to (1) wherein four of the plurality of pixels are configured to detect the light in one of four different polarization directions, the four of the plurality of pixels are arranged as a single set, and the single set is disposed in a matrix of four rows ⁇ four columns.
  • the imaging sensor according to (1) further comprising: signal processing circuitry, wherein each wavelength region of the plurality of wavelength detection regions includes a different plurality of pixels, wherein the signal processing circuitry is configured to generate an image acquired for a wider area on a basis of a detection value detected by each pixel of the plurality of wavelength regions.
  • An imaging method comprising: detecting, with an imaging sensor, incident light; and outputting, with the imaging sensor, a plurality of image signals based on different polarizations of the incident light, wherein a first one or more image signals of the plurality of image signals are indicative of the different polarizations of the incident light in a first pre-determined wavelength range, wherein a second one or more image signals of the plurality of image signals are indicative of the different polarizations of the incident light in a second pre-determined wavelength range, wherein the first pre-determined wavelength range and the second pre-determined wavelength range are different from each other.
  • a non-transitory computer-readable medium storing a program that, when executed by electronic processor, causes the electronic processor to perform a set of operations comprising: receiving a plurality of image signals from an image sensor, wherein a first one or more image signals of the plurality of image signals are indicative of different polarizations of incident light in a first pre-determined wavelength range, wherein a second one or more image signals of the plurality of image signals are indicative of the different polarizations of the incident light in a second pre-determined wavelength range, wherein the first pre-determined wavelength range and the second pre-determined wavelength range are different from each other; and processing the plurality of image signals to generate an image that is based on a combination of the plurality of image signals.
  • An examination device including: for each of wavelength ranges, a plurality of detection regions, each including a plurality of sensor elements arranged in a matrix and configured to detect light with an identical wavelength range, in which the plurality of sensor elements are arranged such that adjacent ones of the sensor elements detect light in different polarization directions and are arranged as a set including sensor elements corresponding to the number of polarization directions.
  • each detection region is formed in a rectangular shape elongated along a first direction, and when viewed in a second direction perpendicular to the first direction, the detection regions for all of the detectable wavelength ranges are each arranged at at least one or more points.
  • the examination device according to (2) in which the second direction is a moving direction of movement relative to an examination target as an object targeted for examination.
  • the examination device according to any of (1) to (3) in which the detection regions for all of the detectable wavelength ranges are each arranged at at least one or more points when viewed in a row direction and a column direction.
  • each detection region including at least 16 sensor elements having four pixels in a row direction and four pixels in a column direction is a minimum detection region for each wavelength range.
  • the sensor elements detect light in at least three or more polarization directions.
  • the detection regions include a detection region configured to detect light with a red wavelength range, a detection region configured to detect light with a green wavelength range, a detection region configured to detect light with a blue wavelength range, and a detection region configured to detect light with a near-infrared wavelength range.
  • the examination device according to any of (1) to (7), further including: a detection region configured such that a sensor element configured to detect non-polarized light with the red wavelength range, a sensor element configured to detect non-polarized light with the green wavelength range, and a sensor element configured to detect non-polarized light with the blue wavelength range are arranged in a Bayer array.
  • a detection region configured such that a sensor element configured to detect non-polarized light with the red wavelength range, a sensor element configured to detect non-polarized light with the green wavelength range, and a sensor element configured to detect non-polarized light with the blue wavelength range are arranged in a Bayer array.
  • the examination device according to any of (1) to (10), further including: a signal processing unit configured to perform, on a basis of a detection value detected by each sensor element, a signal processing of generating an image acquired for a wider area than that detectable each time.
  • An examination method by an examination device configured to include, for each of wavelength ranges, a plurality of detection regions, each having a plurality of sensor elements arranged in a matrix and configured to detect light with an identical wavelength range, and configured such that the plurality of sensor elements are arranged such that adjacent ones of the sensor elements detect light in different polarization directions and are arranged as a set including sensor elements corresponding to the number of polarization directions, including: performing, on a basis of a detection value detected by each sensor element, a signal processing of generating an image acquired for a wider area than that detectable each time.
  • a program executable by an examination device configured to include, for each of wavelength ranges, a plurality of detection regions, each having a plurality of sensor elements arranged in a matrix and configured to detect light with an identical wavelength range, and configured such that the plurality of sensor elements are arranged such that adjacent ones of the sensor elements detect light in different polarization directions and are arranged as a set including sensor elements corresponding to the number of polarization directions, wherein the program causes a computer to execute processing including performing, on a basis of a detection value detected by each sensor element, a signal processing of generating an image acquired for a wider area than that detectable each time.
  • a signal processing device including: a feature point detection unit configured to detect, on the basis of output of a detection unit having, for each of wavelength ranges, a plurality of detection regions, each including a plurality of sensor elements configured such that adjacent ones of the sensor elements detect light in different polarization directions with an identical wavelength range, a feature point from an image acquired for each detection region; and an image processing unit configured to stitch the image for each detection region on the basis of the detected feature point, thereby generating an image larger than a single image acquirable by the detection unit.
  • the signal processing device further including: a polarization parameter extraction unit configured to extract a polarization parameter indicating a light polarization state on a surface of an examination target as an object targeted for examination; and a specular reflection component removing unit configured to remove, on the basis of the polarization parameter, a specular reflection component on the surface of the examination target from the image.
  • a polarization parameter extraction unit configured to extract a polarization parameter indicating a light polarization state on a surface of an examination target as an object targeted for examination
  • a specular reflection component removing unit configured to remove, on the basis of the polarization parameter, a specular reflection component on the surface of the examination target from the image.
  • the signal processing device according to (15) or (16), further including: a polarization parameter feature point detection unit configured to detect a feature point from an image on which the polarization parameter extracted by the polarization parameter extraction unit is mapped, in which the image processing unit stitches the image for each detection region on the basis of the feature point detected by the polarization parameter feature point detection unit.
  • a polarization parameter feature point detection unit configured to detect a feature point from an image on which the polarization parameter extracted by the polarization parameter extraction unit is mapped, in which the image processing unit stitches the image for each detection region on the basis of the feature point detected by the polarization parameter feature point detection unit.
  • a division unit configured to divide the image according to the detection regions.
  • the signal processing device in which division according to the detection regions by the division unit is performed after the polarization parameter has been extracted by the polarization parameter extraction unit.
  • the signal processing device in which extraction of the polarization parameter by the polarization parameter extraction unit is performed after the image has been divided according to the detection regions by the division unit.
  • the signal processing device further including: an analysis unit configured to analyze the image; and a processing selection unit configured to select, according to an analysis result obtained by the analysis unit, either one of the first processing of performing division according to the detection regions by the division unit after the polarization parameter has been extracted by the polarization parameter extraction unit or the second processing of performing extraction of the polarization parameter by the polarization parameter extraction unit after the image has been divided according to the detection regions by the division unit.
  • (22) The signal processing device according to (21), in which the analysis unit obtains histogram of pixel values for a single acquirable image, and obtains, for each detection region, the number of pixel values smaller than a particular reference value as an analysis result, and the processing selection unit selects the first processing when the number of pixel values smaller than the particular reference value is equal to or greater than a threshold in all of the detection regions, and selects the second processing when the number of pixel values smaller than the particular reference value is less than the threshold in any of the detection regions.
  • a signal processing method including: detecting, on the basis of output of a detection unit having, for each of wavelength ranges, a plurality of detection regions, each including a plurality of sensor elements configured such that adjacent ones of the sensor elements detect light in different polarization directions with an identical wavelength range, a feature point from an image acquired for each detection region; and stitching the image for each detection region on the basis of the detected feature point, thereby generating an image larger than a single image acquirable by the detection unit.
  • a program causing a computer to execute signal processing including detecting, on the basis of output of a detection unit having, for each of wavelength ranges, a plurality of detection regions, each including a plurality of sensor elements configured such that adjacent ones of the sensor elements detect light in different polarization directions with an identical wavelength range, a feature point from an image acquired for each detection region, and stitching the image for each detection region on the basis of the detected feature point, thereby generating an image larger than a single image acquirable by the detection unit.
  • Vegetation inspection device 12 Detection device 13 Signal processing device 21 Image data analysis unit 22 Image processing selection unit 23a First image processing unit 23b Second image processing unit 24 Stitching processing unit 31a and 31b Polarization parameter extraction unit 32a and 32b Specular reflection component removing unit 33a and 33b Image division unit 34a and 34b First feature point detection unit 35a and 35b Second feature point detection unit 36a Second image division unit 51 Unmanned aerial vehicle 104a, 104b, 104c, and 104d Rotor 108a, 108b, 108c, and 108d Motor 110 Control unit 120 Communication unit 130 Sensor unit 132 Position information acquisition unit 140 Storage unit 150 Battery

Landscapes

  • Engineering & Computer Science (AREA)
  • Multimedia (AREA)
  • Signal Processing (AREA)
  • Physics & Mathematics (AREA)
  • General Physics & Mathematics (AREA)
  • Theoretical Computer Science (AREA)
  • General Health & Medical Sciences (AREA)
  • Pathology (AREA)
  • Analytical Chemistry (AREA)
  • Biochemistry (AREA)
  • Life Sciences & Earth Sciences (AREA)
  • Health & Medical Sciences (AREA)
  • Immunology (AREA)
  • Chemical & Material Sciences (AREA)
  • Optics & Photonics (AREA)
  • Spectroscopy & Molecular Physics (AREA)
  • Investigating Or Analysing Materials By Optical Means (AREA)
  • Spectrometry And Color Measurement (AREA)
  • Optical Filters (AREA)
  • Polarising Elements (AREA)
  • Color Television Image Signal Generators (AREA)
  • Studio Devices (AREA)
PCT/JP2017/028290 2016-08-17 2017-08-03 Examination device, examination method, and program Ceased WO2018034167A1 (en)

Priority Applications (4)

Application Number Priority Date Filing Date Title
CN201780047672.XA CN109565578B (zh) 2016-08-17 2017-08-03 检查设备和检查方法
KR1020197003298A KR20190039110A (ko) 2016-08-17 2017-08-03 검사 장치, 검사 방법, 및 프로그램
US16/301,987 US10893221B2 (en) 2016-08-17 2017-08-03 Imaging sensor with wavelength detection regions and pre-determined polarization directions
EP17826593.0A EP3501169A1 (en) 2016-08-17 2017-08-03 Examination device, examination method, and program

Applications Claiming Priority (2)

Application Number Priority Date Filing Date Title
JP2016159854A JP6697681B2 (ja) 2016-08-17 2016-08-17 検査装置、検査方法、およびプログラム
JP2016-159854 2016-08-17

Publications (1)

Publication Number Publication Date
WO2018034167A1 true WO2018034167A1 (en) 2018-02-22

Family

ID=60953922

Family Applications (1)

Application Number Title Priority Date Filing Date
PCT/JP2017/028290 Ceased WO2018034167A1 (en) 2016-08-17 2017-08-03 Examination device, examination method, and program

Country Status (6)

Country Link
US (1) US10893221B2 (enExample)
EP (1) EP3501169A1 (enExample)
JP (1) JP6697681B2 (enExample)
KR (1) KR20190039110A (enExample)
CN (1) CN109565578B (enExample)
WO (1) WO2018034167A1 (enExample)

Cited By (1)

* Cited by examiner, † Cited by third party
Publication number Priority date Publication date Assignee Title
CN111161283A (zh) * 2019-12-26 2020-05-15 可牛网络技术(北京)有限公司 一种处理图片资源的方法、装置及电子设备

Families Citing this family (13)

* Cited by examiner, † Cited by third party
Publication number Priority date Publication date Assignee Title
US10750136B2 (en) * 2016-10-17 2020-08-18 Sony Corporation Image processing apparatus, image processing method, and image pickup device
JP6699802B2 (ja) * 2018-03-02 2020-05-27 Jfeスチール株式会社 炉の制御方法
CN113315934A (zh) * 2019-04-23 2021-08-27 Oppo广东移动通信有限公司 一种单色偏振式cis及图像处理方法、存储介质
JP7525119B2 (ja) * 2019-08-28 2024-07-30 兵庫県公立大学法人 試料測定装置および試料測定方法
EP3821267A4 (en) 2019-09-17 2022-04-13 Boston Polarimetrics, Inc. SYSTEMS AND METHODS FOR SURFACE MODELING USING POLARIZATION TRIGGERS
JP2022552833A (ja) 2019-10-07 2022-12-20 ボストン ポーラリメトリックス,インコーポレイティド 偏光による面法線計測のためのシステム及び方法
CN112629655B (zh) * 2019-10-09 2024-06-04 北京小米移动软件有限公司 移动终端
US11302012B2 (en) 2019-11-30 2022-04-12 Boston Polarimetrics, Inc. Systems and methods for transparent object segmentation using polarization cues
CN113835135B (zh) * 2020-06-23 2022-11-22 同方威视技术股份有限公司 太赫兹安检机器人
EP4172598A4 (en) 2020-06-24 2024-07-17 Rubens IP Pty Ltd DETECTION OF PROPERTIES OF A PLANT PRODUCT
CN115811935A (zh) 2020-07-03 2023-03-17 昕诺飞控股有限公司 用于确定植物的生长阶段的方法和系统
US12493146B2 (en) * 2020-07-17 2025-12-09 Sony Group Corporation Imaging processing system and 3D model generation method
JP2022098668A (ja) * 2020-12-22 2022-07-04 セイコーエプソン株式会社 分光測定方法、分光測定システム、及びコンピュータープログラム

Citations (5)

* Cited by examiner, † Cited by third party
Publication number Priority date Publication date Assignee Title
JPS4932978B1 (enExample) 1969-06-10 1974-09-04
EP2252069A2 (en) * 2009-05-11 2010-11-17 Sony Corporation Two-dimensional solid-state image capture device and polarization-light data processing method thereof
US20130070140A1 (en) * 2011-09-21 2013-03-21 Robert Gove Image sensors with multiple lenses of varying polarizations
US20150206912A1 (en) * 2013-07-29 2015-07-23 Panasonic Intellectual Property Management Co., Ltd. Optical filter and polarization imaging device using the same
US20160006954A1 (en) * 2014-07-03 2016-01-07 Snap Vision Technologies LLC Multispectral Detection and Processing From a Moving Platform

Family Cites Families (20)

* Cited by examiner, † Cited by third party
Publication number Priority date Publication date Assignee Title
JPS4932978A (enExample) 1972-07-26 1974-03-26
CN102316329B (zh) * 2007-05-31 2014-03-12 松下电器产业株式会社 彩色偏振摄像装置
US8463078B2 (en) * 2007-08-23 2013-06-11 Lockheed Martin Corporation Multi-bank TDI approach for high-sensitivity scanners
US8823848B2 (en) * 2009-06-11 2014-09-02 The Arizona Board Of Regents On Behalf Of The University Of Arizona Microgrid imaging polarimeters with frequency domain reconstruction
WO2012017600A1 (ja) 2010-08-04 2012-02-09 パナソニック株式会社 撮像素子および撮像装置
JP2013031054A (ja) * 2011-07-29 2013-02-07 Ricoh Co Ltd 撮像装置及びこれを備えた物体検出装置、並びに、光学フィルタ及びその製造方法
JP5764747B2 (ja) * 2011-09-02 2015-08-19 パナソニックIpマネジメント株式会社 偏光撮像素子および内視鏡
JP5820794B2 (ja) * 2012-10-05 2015-11-24 オリンパス株式会社 撮像装置
WO2014112393A1 (ja) * 2013-01-21 2014-07-24 パナソニック株式会社 測定装置および測定方法
WO2015015717A1 (ja) * 2013-07-30 2015-02-05 パナソニックIpマネジメント株式会社 撮像装置、並びにそれを用いた撮像システム、電子ミラーシステムおよび測距装置
US10051209B2 (en) * 2014-04-09 2018-08-14 Omnivision Technologies, Inc. Combined visible and non-visible projection system
US9686487B1 (en) * 2014-04-30 2017-06-20 Lockheed Martin Corporation Variable scan rate image generation
US9876972B1 (en) * 2014-08-28 2018-01-23 Lockheed Martin Corporation Multiple mode and multiple waveband detector systems and methods
JP2016049102A (ja) * 2014-08-29 2016-04-11 株式会社リコー 圃場管理システム、圃場管理方法、プログラム
EP3264754B1 (en) * 2015-02-27 2022-02-16 Sony Group Corporation Image processing device, image processing method and image capturing element
JP6750621B2 (ja) * 2015-06-26 2020-09-02 ソニー株式会社 検査装置、センシング装置、感度制御装置、検査方法、並びにプログラム
JP6957112B2 (ja) * 2015-07-30 2021-11-02 ソニーセミコンダクタソリューションズ株式会社 固体撮像装置及び電子機器
JP6750633B2 (ja) * 2015-11-10 2020-09-02 ソニー株式会社 画像処理装置と画像処理方法
JP6650839B2 (ja) * 2016-06-24 2020-02-19 日立造船株式会社 偏光カメラ及び画像処理方法
JP6697680B2 (ja) * 2016-08-17 2020-05-27 ソニー株式会社 信号処理装置、信号処理方法、およびプログラム

Patent Citations (5)

* Cited by examiner, † Cited by third party
Publication number Priority date Publication date Assignee Title
JPS4932978B1 (enExample) 1969-06-10 1974-09-04
EP2252069A2 (en) * 2009-05-11 2010-11-17 Sony Corporation Two-dimensional solid-state image capture device and polarization-light data processing method thereof
US20130070140A1 (en) * 2011-09-21 2013-03-21 Robert Gove Image sensors with multiple lenses of varying polarizations
US20150206912A1 (en) * 2013-07-29 2015-07-23 Panasonic Intellectual Property Management Co., Ltd. Optical filter and polarization imaging device using the same
US20160006954A1 (en) * 2014-07-03 2016-01-07 Snap Vision Technologies LLC Multispectral Detection and Processing From a Moving Platform

Non-Patent Citations (1)

* Cited by examiner, † Cited by third party
Title
XING-FEI HE: "Focus on Polarization", PHOTONICS SPECTRA, 1 July 2016 (2016-07-01), pages 1 - 4, XP055444872, Retrieved from the Internet <URL:https://info.teledynedalsa.com/acton/attachment/14932/f-070e/1/-/-/-/-/Focus%20on%20Polarization%20-%20Photonics%20Spectra_%20Xing-Fei%20He.pdf> [retrieved on 20180126] *

Cited By (2)

* Cited by examiner, † Cited by third party
Publication number Priority date Publication date Assignee Title
CN111161283A (zh) * 2019-12-26 2020-05-15 可牛网络技术(北京)有限公司 一种处理图片资源的方法、装置及电子设备
CN111161283B (zh) * 2019-12-26 2023-08-04 可牛网络技术(北京)有限公司 一种处理图片资源的方法、装置及电子设备

Also Published As

Publication number Publication date
CN109565578B (zh) 2022-03-11
JP2018029251A (ja) 2018-02-22
EP3501169A1 (en) 2019-06-26
US10893221B2 (en) 2021-01-12
US20190174077A1 (en) 2019-06-06
JP6697681B2 (ja) 2020-05-27
KR20190039110A (ko) 2019-04-10
CN109565578A (zh) 2019-04-02

Similar Documents

Publication Publication Date Title
US10893221B2 (en) Imaging sensor with wavelength detection regions and pre-determined polarization directions
EP3491817B1 (en) Signal processing device, signal processing method, and program
JP5715643B2 (ja) マルチスペクトルデータの幾何学的リファレンシング
US9648302B2 (en) RGB-D imaging system and method using ultrasonic depth sensing
US12032278B2 (en) Integrated spatial phase imaging
US12309521B2 (en) Image registration apparatus, image generation system, image registration method, and image registration program product
US10438365B2 (en) Imaging device, subject information acquisition method, and computer program
US11012607B2 (en) Imaging apparatus and image composition apparatus
KR102733622B1 (ko) 초분광 이미징 공간 분해능 향상이 가능한 광학 시스템 및 이를 이용한 광정렬 방법
US20170134650A1 (en) Surroundings detection device for a vehicle and method for detecting an image with the aid of a surroundings detection device
US20220086403A1 (en) Imaging system and method
EP3013047A1 (en) Multiple pixel pitch for super resolution
Liang et al. 3D plant modelling via hyperspectral imaging
JP2015049200A (ja) 計測装置、方法及びプログラム
US12363451B2 (en) Color interpolation method for multispectral filter array and image acquisition device
CN111239044A (zh) 细胞检测方法、装置与系统
Uto et al. Development of a low-cost, lightweight hyperspectral imaging system based on a polygon mirror and compact spectrometers
WO2015198758A1 (ja) 撮像装置、画像処理装置、画像処理方法及び顕微鏡
US20220046157A1 (en) Method and processing device for processing measured data of an image sensor
KR102156998B1 (ko) 비디오 시퀀스에서 모션을 감지하기 위한 방법
US10614275B2 (en) Position specifying apparatus and position specifying method
Müller-Rowold et al. Hyperspectral panoramic imaging
CN118317212A (zh) 一种校正图像动态坏点的方法及装置
CN113228629A (zh) 摄像装置
Huang et al. Sensor fusion calibration for driver asistance systems

Legal Events

Date Code Title Description
121 Ep: the epo has been informed by wipo that ep was designated in this application

Ref document number: 17826593

Country of ref document: EP

Kind code of ref document: A1

ENP Entry into the national phase

Ref document number: 20197003298

Country of ref document: KR

Kind code of ref document: A

NENP Non-entry into the national phase

Ref country code: DE

ENP Entry into the national phase

Ref document number: 2017826593

Country of ref document: EP

Effective date: 20190318