WO2017208978A1 - Print element board, liquid ejection head, and liquid ejection apparatus - Google Patents

Print element board, liquid ejection head, and liquid ejection apparatus Download PDF

Info

Publication number
WO2017208978A1
WO2017208978A1 PCT/JP2017/019624 JP2017019624W WO2017208978A1 WO 2017208978 A1 WO2017208978 A1 WO 2017208978A1 JP 2017019624 W JP2017019624 W JP 2017019624W WO 2017208978 A1 WO2017208978 A1 WO 2017208978A1
Authority
WO
WIPO (PCT)
Prior art keywords
peak
terminals
print element
element board
liquid ejection
Prior art date
Legal status (The legal status is an assumption and is not a legal conclusion. Google has not performed a legal analysis and makes no representation as to the accuracy of the status listed.)
Ceased
Application number
PCT/JP2017/019624
Other languages
English (en)
French (fr)
Inventor
Satoshi Kimura
Shingo Okushima
Ryo Kasai
Current Assignee (The listed assignees may be inaccurate. Google has not performed a legal analysis and makes no representation or warranty as to the accuracy of the list.)
Canon Inc
Original Assignee
Canon Inc
Priority date (The priority date is an assumption and is not a legal conclusion. Google has not performed a legal analysis and makes no representation as to the accuracy of the date listed.)
Filing date
Publication date
Application filed by Canon Inc filed Critical Canon Inc
Priority to US16/305,024 priority Critical patent/US10933669B2/en
Priority to CN201780033181.XA priority patent/CN109311322B/zh
Priority to EP17729562.3A priority patent/EP3463901B1/en
Publication of WO2017208978A1 publication Critical patent/WO2017208978A1/en
Anticipated expiration legal-status Critical
Ceased legal-status Critical Current

Links

Images

Classifications

    • BPERFORMING OPERATIONS; TRANSPORTING
    • B41PRINTING; LINING MACHINES; TYPEWRITERS; STAMPS
    • B41JTYPEWRITERS; SELECTIVE PRINTING MECHANISMS, i.e. MECHANISMS PRINTING OTHERWISE THAN FROM A FORME; CORRECTION OF TYPOGRAPHICAL ERRORS
    • B41J25/00Actions or mechanisms not otherwise provided for
    • B41J25/34Bodily-changeable print heads or carriages
    • BPERFORMING OPERATIONS; TRANSPORTING
    • B41PRINTING; LINING MACHINES; TYPEWRITERS; STAMPS
    • B41JTYPEWRITERS; SELECTIVE PRINTING MECHANISMS, i.e. MECHANISMS PRINTING OTHERWISE THAN FROM A FORME; CORRECTION OF TYPOGRAPHICAL ERRORS
    • B41J2/00Typewriters or selective printing mechanisms characterised by the printing or marking process for which they are designed
    • B41J2/005Typewriters or selective printing mechanisms characterised by the printing or marking process for which they are designed characterised by bringing liquid or particles selectively into contact with a printing material
    • B41J2/01Ink jet
    • B41J2/135Nozzles
    • B41J2/14Structure thereof only for on-demand ink jet heads
    • B41J2/14016Structure of bubble jet print heads
    • B41J2/14072Electrical connections, e.g. details on electrodes, connecting the chip to the outside...
    • BPERFORMING OPERATIONS; TRANSPORTING
    • B41PRINTING; LINING MACHINES; TYPEWRITERS; STAMPS
    • B41JTYPEWRITERS; SELECTIVE PRINTING MECHANISMS, i.e. MECHANISMS PRINTING OTHERWISE THAN FROM A FORME; CORRECTION OF TYPOGRAPHICAL ERRORS
    • B41J2/00Typewriters or selective printing mechanisms characterised by the printing or marking process for which they are designed
    • B41J2/005Typewriters or selective printing mechanisms characterised by the printing or marking process for which they are designed characterised by bringing liquid or particles selectively into contact with a printing material
    • B41J2/01Ink jet
    • B41J2/015Ink jet characterised by the jet generation process
    • B41J2/04Ink jet characterised by the jet generation process generating single droplets or particles on demand
    • B41J2/045Ink jet characterised by the jet generation process generating single droplets or particles on demand by pressure, e.g. electromechanical transducers
    • B41J2/04501Control methods or devices therefor, e.g. driver circuits, control circuits
    • B41J2/0458Control methods or devices therefor, e.g. driver circuits, control circuits controlling heads based on heating elements forming bubbles
    • BPERFORMING OPERATIONS; TRANSPORTING
    • B41PRINTING; LINING MACHINES; TYPEWRITERS; STAMPS
    • B41JTYPEWRITERS; SELECTIVE PRINTING MECHANISMS, i.e. MECHANISMS PRINTING OTHERWISE THAN FROM A FORME; CORRECTION OF TYPOGRAPHICAL ERRORS
    • B41J2/00Typewriters or selective printing mechanisms characterised by the printing or marking process for which they are designed
    • B41J2/005Typewriters or selective printing mechanisms characterised by the printing or marking process for which they are designed characterised by bringing liquid or particles selectively into contact with a printing material
    • B41J2/01Ink jet
    • B41J2/135Nozzles
    • B41J2/145Arrangement thereof
    • B41J2/155Arrangement thereof for line printing
    • BPERFORMING OPERATIONS; TRANSPORTING
    • B41PRINTING; LINING MACHINES; TYPEWRITERS; STAMPS
    • B41JTYPEWRITERS; SELECTIVE PRINTING MECHANISMS, i.e. MECHANISMS PRINTING OTHERWISE THAN FROM A FORME; CORRECTION OF TYPOGRAPHICAL ERRORS
    • B41J2202/00Embodiments of or processes related to ink-jet or thermal heads
    • B41J2202/01Embodiments of or processes related to ink-jet heads
    • B41J2202/20Modules

Definitions

  • the invention relates to a print element board for recording, a liquid ejection head provided with a print element board, and a liquid ejection apparatus.
  • a liquid ejection head includes a print element board provided with a printing element which generates energy for ejecting a liquid, and a wiring substrate for electrically connecting the print element board and a main body of the liquid ejection apparatus.
  • the print element board includes a terminal and is electrically connected with the wiring substrate via the terminal.
  • a printing element is driven based on a signal input from a control circuit of the main body of the liquid ejection apparatus via the wiring substrate, and a liquid is ejected, whereby an image is recorded.
  • U.S. Patent. No. 7407262 discloses a configuration in which terminals are arranged along a side of a print element board.
  • a print element board of which principal surface is rectangular in shape Besides a print element board of which principal surface is rectangular in shape, a print element board of which principal surface is substantially parallelogrammatic in shape as described in Japanese Patent Laid-Open No. 2015-174385 is proposed.
  • an angle at a first end of a side which forms a surface is smaller than an angle at a second end of the side as in a print element board of which surface is substantially parallelogrammatic in shape, the following issue may arise.
  • chips and cracks may be produced with high possibility at a first end with a relatively smaller angle near a portion including the first end than a second end with a relatively larger angle. Therefore, if terminals are provided near a first end with a small angle, an electrical failure, such as disconnection of wires extending from these terminals, may be caused, and electric reliability of the print element board may be impaired.
  • the angle is an acute angle, a possibility that chips and cracks may be produced near the angle is increased.
  • the invention reduces a decrease in electric reliability in a print element board in which an angle at a peak at a first end of a side which forms a surface of the print element board is smaller than an angle at a peak of a second end of the side.
  • a print element board of the invention includes a surface provided with a first side and a plurality of terminals arranged along the first side near the first side, in which an angle at a first peak located at a first end of the first side is smaller than an angle at a second peak located at a second end of the first side; and a printing element electrically connected with the plurality of terminals for recording, wherein a distance between the first peak and a first terminal disposed closest to the first peak among the plurality of terminals is longer than a distance between the second peak and a second terminal disposed closest to the second peak among the plurality of terminals.
  • Fig. 1 is a schematic configuration diagram illustrating an inkjet recording apparatus.
  • Fig. 2A is a perspective view illustrating an inkjet recording head.
  • Fig. 2B is a perspective view illustrating an inkjet recording head.
  • Fig. 3A is a perspective view illustrating an ejection module of an inkjet recording head of a first embodiment.
  • Fig. 3B is a perspective view illustrating an ejection module of an inkjet recording head of a first embodiment.
  • Fig. 4 is a plan view illustrating a print element board of the first embodiment.
  • Fig. 5 is a perspective view illustrating a cross section in a direction perpendicularly crossing ejection port arrays of a print element board.
  • Fig. 1 is a schematic configuration diagram illustrating an inkjet recording apparatus.
  • Fig. 2A is a perspective view illustrating an inkjet recording head.
  • Fig. 2B is a perspective view illustrating an inkjet recording head.
  • FIG. 6A is a perspective view illustrating an ejection module of an inkjet recording head of a second embodiment.
  • Fig. 6B is a perspective view illustrating an ejection module of an inkjet recording head of a second embodiment.
  • Fig. 7 is a plan view illustrating a print element board of the second embodiment.
  • the embodiments of the invention employ a thermal process in which heating elements are used as recording elements, and air bubbles are generated to eject a liquid.
  • a print element board employing a piezoelectric process or other various types of liquids ejecting processes may also be applied to the invention.
  • the invention is applicable also to a print element board of an industrial recording apparatus for manufacturing biochip, printing electronic circuits, and resist coating for forming a circuit pattern of a semiconductor wafer, for example.
  • the present embodiment is a linear head having a length corresponding to a width of a recording medium
  • the invention is applicable also to a serial liquid ejection head which records on a recording medium while moving the head.
  • An exemplary serial liquid ejection head includes both a print element board for black ink and a print element board for color ink.
  • FIG. 1 illustrates a schematic structure of the recording apparatus 1000.
  • the recording apparatus 1000 includes a conveyance unit 1 which conveys a recording medium 2, and a linear liquid ejection head 3 disposed to substantially perpendicularly cross a conveying direction of the recording medium 2.
  • the recording apparatus 1000 is a linear recording apparatus which continuously records on the recording medium 2 in one pass, while conveying a plurality of recording media 2 continuously or intermittently.
  • the recording medium 2 is not limited to a cut sheet, but may be continuous rolled paper.
  • the liquid ejection head 3 is capable of performing full color printing with cyan, magenta, yellow, and black (CMYK) ink.
  • the liquid ejection head 3 is electrically connected with a control unit of the recording apparatus 1000 for transmitting power and ejection control signals to the liquid ejection head 3.
  • Figs. 2A and 2B are perspective views of the liquid ejection head 3 according to the present embodiment.
  • the liquid ejection head 3 is a linear liquid ejection head in which 15 print element boards 10 are arranged linearly in sequence (in-line). Each print element board 10 is capable of ejecting four (CMYK) colors of ink.
  • the liquid ejection head 3 includes the print element boards 10, flexible wiring substrates 40, and an electric wiring board 90.
  • the electric wiring board 90 includes signal input terminals 91 and power supply terminals 92.
  • the signal input terminals 91 and the power supply terminals 92 are electrically connected with the control unit of the recording apparatus 1000, and ejection driving signals and power necessary for the ejection are supplied to the print element boards 10 via these terminals.
  • liquid connecting portions 130 provided at both ends of the liquid ejection head 3 are connected with a liquid supply system of the recording apparatus 1000. Therefore, ink of four (CMYK) colors is supplied to the liquid ejection head 3 from the supply system of the recording apparatus 1000, and ink passed inside of the liquid ejection head 3 is collected to the supply system of the recording apparatus 1000. Thus, ink of each color can be circulated through paths in the recording apparatus 1000 and paths in the liquid ejection head 3.
  • CMYK ink of four
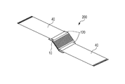
  • Fig. 3A is a perspective view and Fig. 3B is an exploded view of the ejection module 200.
  • the ejection module 200 includes a print element board 10, a flexible wiring substrate 40, and a support member 30 which supports the print element board 10 and the flexible wiring substrate 40.
  • the print element board 10 and the flexible wiring substrate 40 are bonded on the support member 30.
  • the support member 30 is a support which supports the print element board 10, and also is a flow path member capable of supplying a liquid to the print element board 10 via liquid communication ports 31.
  • a plurality of ejection modules are arranged in the liquid ejection head 3 of the present embodiment.
  • Terminals 16 provided in the print element board 10 and terminals 41 provided in the flexible wiring substrate 40 are electrically connected by wire bonding. An electrical connection portion formed by these terminals 16 and 41 and wires is covered with a sealing member 120. Terminals 42 of the flexible wiring substrate 40 provided on the opposite side of the terminals 41 connected with the print element board 10 are electrically connected with connection terminals of the electric wiring board 90.
  • Fig. 4 is a plan view of the print element board 10 seen from a side on which ejection ports 13 are provided.
  • Fig. 5 is a perspective view illustrating a cross section in a direction perpendicularly crossing ejection port arrays of the print element board 10 of Fig. 4.
  • the print element board 10 is constituted by a substrate 11 including a silicon substrate and an ejection port forming member 12 formed by photosensitive resin which are laminated.
  • a lid member 20 is joined to a back side of the substrate 11.
  • Four ejection port arrays in which the ejection ports 13 are arranged are provided in the ejection port forming member 12.
  • Printing elements 15 are provided on a surface 11a of the substrate 11 which constitutes the print element board 10 corresponding to the ejection ports 13, and four recording element arrays are provided corresponding to the four ejection port arrays.
  • Grooves for forming liquid supply paths 18 and liquid collection paths 19 extending along the ejection port arrays are provided on the back side of the substrate 11, and the liquid supply paths 18 and the liquid collection paths 19 are formed by the substrate 11 and the lid member 20.
  • a liquid (ink) which flows inside of the liquid supply paths 18 is supplied to pressure chambers 23 via supply ports 17a, generates energy used to eject the liquid by the printing element 15 when the printing element 15 is driven, whereby the supplied liquid is ejected.
  • the liquid which flows inside of the liquid supply path 18 flows into the liquid collection paths 19 via the supply ports 17a, the pressure chambers 23, and collection ports 17b. With this liquid flow, thickened ink, air bubbles, foreign substance, etc. generated by evaporation from the ejection ports 13 can be collected to the liquid collection paths 19 in the ejection ports 13 and the pressure chambers 23 in which no ejection of the liquid is performed. Further, thickening of ink in the ejection ports 13 and the pressure chambers 23 may be prevented.
  • the liquid collected to the liquid collection paths 19 passes openings 21 of the lid member 20 and liquid communication ports 31 (Fig. 3B) of the support member 30, and are collected to supply paths of the main body of the recording apparatus 1000 via the liquid connecting portions 130 (Fig. 2B).
  • the liquid can be circulated between the pressure chambers 23 provided with the printing elements 15 thereinside and the main body of the recording apparatus 1000 which is outside of the pressure chambers 23.
  • the surface 11a of the print element board 10 includes, near a side 110, an electric connection area 16a in which a plurality of terminals 16 are arranged along the side 110.
  • no ejection port forming member 12 is provided in the electric connection area 16a of the substrate 11.
  • the terminals 16 are electrically connected with the printing elements 15 via wires provided in the substrate 11.
  • the terminals 16 are connected with the terminals 41 of the flexible wiring substrate 40.
  • the printing elements 15 provided in the print element board 10 and the control circuit provided in the main body of the recording apparatus 1000 are electrically connected via the flexible wiring substrate 40 and the electric wiring board 90.
  • the printing elements 15 are driven based on a signal input from the control circuit, generate heat, and eject the liquid.
  • the print element board 10 is substantially parallelogrammatic in shape when seen from a side on which the ejection ports 13 are provided.
  • An angle ⁇ 1 at a first peak 111 at a first end of the side 110 which forms the surface 11a of the print element board 10 (the substrate 11) is less than 90°
  • an angle ⁇ 2 at a second peak 112 at a second end of the side 110 is greater than 90°.
  • An angle ⁇ 4 at a fourth peak 114 located diagonally across the first peak 111 is less than 90°
  • an angle ⁇ 3 at a third peak 113 located diagonally across the second peak 112 is greater than 90°. That is, the angle including the first peak 111 and the angle including the fourth peak 114 are acute angles, and the angle including the second peak 112 and the angle including the third peak 113 are obtuse angles.
  • the shortest distance T1 between the first peak 111 and the electric connection area 16a is longer than the shortest distance T2 between the second peak 112 and the electric connection area 16a.
  • the shortest distance T1 between the first peak 111 and the electric connection area 16a is also a distance between the first peak 111 and a first terminal 161 disposed closest to the first peak 111 among a plurality of terminals 16.
  • the shortest distance T2 between the second peak 112 and the electric connection area 16a is also a distance between the second peak 112 and a second terminal 162 disposed closest to the second peak 112 among a plurality of terminals 16.
  • the distance between the first end at which the inner angle is relatively smaller and the electric connection area 16a is set to be longer than a distance between the second end at which the inner angle is relatively larger and the electric connection area 16a.
  • a distance from the first peak 111 which is the side of both ends of the side 110 on which chips tend to be produced to the electric connection area 16a can be kept unused. Since it is unnecessary to dispose the terminals 16 and wires extending from the terminals 16 near the first peak 111, even if chips and cracks are produced in the print element board 10 at the first peak 111 or near the first peak 111, a possibility of occurrence of disconnection of the wires extending from the terminals 16 can be reduced. Therefore, a decrease in electrical reliability of the print element board 10 can be prevented.
  • the shortest distance between the first peak 111 and the electric connection area 16a and the shortest distance between the second peak 112 and the electric connection area 16a of the print element board 10 become shorter. Especially in this case, it is effective to set the shortest distance T1 between the first peak 111 and the electric connection area 16a to be longer than the shortest distance T2 between the second peak 112 and the electric connection area 16b as described above.
  • the electric connection area 16a is desirably provided nearer to the second peak 112 than an imaginary line L1 which passes the third peak 113 located diagonally across the second peak 112 and perpendicularly crosses the side 110. That is, the first terminal 161 disposed closest to the first peak 111 is desirably provided nearer to an arrow X than the imaginary line L1. Therefore, since the first peak 111 and the electric connection area 16a can be separated from each other, electric reliability can be further increased.
  • the surface 11a of the print element board 10 (the substrate 11) is parallelogrammatic in shape in the present embodiment, the invention is not limited to the same.
  • An angle at the peak at the first end of the side which forms the surface 11a of the print element board 10 may desirably be smaller than an angle at the peak at the second end of the side.
  • the invention is applicable also to a case where a print element board of trapezoid and polygon in shape is employed, for example.
  • Fig. 6A is a perspective view and Fig. 6B is an exploded view of the ejection module 200.
  • a plurality of terminals 16 are disposed at both sides along ejection port arrays of a print element board 10 (each long side of the print element board 10), and two flexible wiring substrates 40 which are electrically connected with the terminals 16 are provided with respect to a single print element board 10. This is because twenty ejection port arrays, which are significantly greater in number than those of the first embodiment, are provided in the print element board 10.
  • an object of the present embodiment if to control the longest distance from the terminals 16 to printing elements 15 provided corresponding to the ejection port arrays to be short, whereby a voltage drop caused in a wiring portion and signal transmission delay in the print element board 10 is to be reduced.
  • Fig. 7 is a plan view of the print element board 10 seen from a side on which ejection ports 13 are provided. Twenty ejection port arrays are formed in the ejection port forming member 12 of the print element board 10.
  • the print element board 10 is substantially parallelogrammatic in shape when seen from a side on which the ejection ports 13 are provided.
  • An angle ⁇ 1 at a first peak 111 at a first end of the side 110 which forms the surface 11a of the print element board 10 (the substrate 11) is less than 90°
  • an angle ⁇ 2 at a second peak 112 at a second end of the side 110 is greater than 90°.
  • An angle ⁇ 4 at a fourth peak 114 located diagonally across the first peak 111 is less than 90°
  • an angle ⁇ 3 at a third peak 113 located diagonally across the second peak 112 is greater than 90°.
  • a surface 11a of the print element board 10 also has an electric connection area 16b in which a plurality of terminals 16 are arranged along a side 115 near the side 115 opposite to the side 110 besides an electric connection area 16a provided near the side 110.
  • the shortest distance T1 between the first peak 111 and the electric connection area 16a is longer than the shortest distance T2 between the second peak 112 and the electric connection area 16a.
  • the shortest distance T4 between a fourth peak 114 and the electric connection area 16b is longer than the shortest distance T3 between a third peak 113 and the electric connection area 16b.
  • the shortest distance T1 is also a distance between the first peak 111 and a first terminal 161 disposed closest to the first peak 111 among a plurality of terminals 16 disposed in the electric connection area 16a.
  • the shortest distance T2 is also a distance between the second peak 112 and a second terminal 162 disposed closest to the second peak 112 among a plurality of terminals 16 disposed in the electric connection area 16a.
  • the shortest distance T3 is also a distance between the third peak 113 and a third terminal 163 disposed closest to the third peak 113 among a plurality of terminals 16 disposed in the another electric connection area 16b.
  • the shortest distance T4 is also a distance between the fourth peak 114 and a fourth terminal 164 disposed closest to the fourth peak 114 among a plurality of terminals 16 disposed in the another electric connection area 16b.
  • a distance from the first peak 111 which is the side of both ends of the side 110 on which chips tend to be produced to the electric connection area 16a can be provided, and a distance from the fourth peak 114 which is the side of both ends of the side 115 on which chips tend to be produced to the electric connection area 16b can be kept unused. Therefore, it is unnecessary to dispose the terminals 16 and wires extending from the terminals 16 near the first peak 111 and the fourth peak 114. Even if chips and cracks are produced in the print element board 10 at the first peak 111 or near the first peak 111, at the fourth peak 114 or near the fourth peak 114, a possibility of occurrence of disconnection of the wires extending from the terminals 16 can be reduced. Therefore, a decrease in electrical reliability of the print element board 10 can be prevented.
  • the electric connection area 16a is desirably provided nearer to the second peak 112 than an imaginary line L1 which passes the third peak 113 located diagonally across the second peak 112 and perpendicularly crosses the side 110. That is, the first terminal 161 disposed closest to the first peak 111 is desirably provided nearer to the second peak 112 than the imaginary line L1. Similarly, the electric connection area 16b is desirably provided nearer to the third peak 113 than an imaginary line L2 which passes the second peak 112 located diagonally across the third peak 113 and perpendicularly crosses the side 115.
  • the fourth terminal 164 disposed closest to the fourth peak 114 is desirably provided nearer to the third peak 113 than the imaginary line L2. Therefore, since the first peak 111 and the electric connection area 16a can be separated from each other, and the fourth peak 114 and the electric connection area 16b can be separated from each other, electric reliability can be further increased.
  • a distance between a first end at which an inner angle is relatively smaller and the electric connection area 16 may desirably be set to be longer than a distance between a second end at which an inner angle is relatively larger and the electric connection area 16.
  • the terminals 16 are electrically connected with terminals 41 provided in the flexible wiring substrates 40, and are covered with sealing members 120.
  • the print element board 10 is affected by cure shrinkage or thermal expansion of the sealing members 120.
  • the sealing members 120 are disposed at opposite sides 110 and 115 of the print element board 10, an influence of positional misalignment caused by cure shrinkage and thermal expansion of the sealing member 120 is offset and reduced.
  • the print element board 10 is substantially parallelogrammatic in shape, since a bonding area between the print element board 10 and a support member 30 in a direction perpendicularly crossing the side 110 is smaller than other areas near the first peak 111 which is an acute angle side, bonding strength between the print element board 10 and the support member 30 is low. The same applies to an area near the fourth peak 114. Therefore, even if the sealing members 120 are disposed at opposite sides 110 and 115, if the sealing members 120 are disposed at the areas near the firs peak 111 and the fourth peak 114, positional misalignment may be caused in a direction in which the print element board 10 is rotated with force by contraction and expansion of the sealing members 120.
  • the shortest distance T1 between the first peak 111 and the electric connection area 16a is longer than the shortest distance T2 between the second peak 112 and the electric connection area 16a. Further, the shortest distance T4 between the fourth peak 114 and the electric connection area 16b is longer than the shortest distance T3 between the third peak 113 and the electric connection area 16b. Accordingly, the shortest distance between the first peak 111 and the sealing member 120 which covers the electric connection area 16a is longer than the shortest distance between the second peak 112 and the sealing member 120 which covers the electric connection area 16a.
  • the shortest distance between the fourth peak 114 and the sealing member 120 which covers the electric connection area 16b is longer than the shortest distance between the third peak 113 and the sealing member 120 which covers the electric connection area 16b. Therefore, since the first peak 111 and the sealing member 120 can be separated from each other, and the fourth peak 114 and the sealing member 120 can be separated from each other, occurrence of positional misalignment of the print element board 10 caused by contraction and expansion of the sealing members 120 can be prevented.
  • the electric connection area 16a and the sealing member 120 covering the electric connection area 16a may desirably be disposed nearer to the second peak 112 than the imaginary line L1, and the electric connection area 16b and the sealing member 120 covering the electric connection area 16b may desirably be provided nearer to the third peak 113 than the imaginary line L2. Therefore, an area to be affected by contraction and expansion of the sealing members 120 is limited to a rectangular area constituted by the side 110, the side 115, the imaginary line L1, and the imaginary line L2 of the print element board 10.
  • the sealing members 120 can be disposed substantially symmetrically on the side 110 and on the side 115, the same influence due to contraction and expansion of the sealing members 120 may be applied to the side 110 and the side 110, whereby occurrence of positional misalignment of the print element board 10 can be further prevented.

Landscapes

  • Particle Formation And Scattering Control In Inkjet Printers (AREA)
PCT/JP2017/019624 2016-05-30 2017-05-25 Print element board, liquid ejection head, and liquid ejection apparatus Ceased WO2017208978A1 (en)

Priority Applications (3)

Application Number Priority Date Filing Date Title
US16/305,024 US10933669B2 (en) 2016-05-30 2017-05-25 Print element board, liquid ejection head, and liquid ejection apparatus
CN201780033181.XA CN109311322B (zh) 2016-05-30 2017-05-25 打印元件板、液体喷射头和液体喷射设备
EP17729562.3A EP3463901B1 (en) 2016-05-30 2017-05-25 Print element board, liquid ejection head, and liquid ejection apparatus

Applications Claiming Priority (2)

Application Number Priority Date Filing Date Title
JP2016107911A JP6821331B2 (ja) 2016-05-30 2016-05-30 記録素子基板、液体吐出ヘッド、及び液体吐出装置
JP2016-107911 2016-05-30

Publications (1)

Publication Number Publication Date
WO2017208978A1 true WO2017208978A1 (en) 2017-12-07

Family

ID=59054161

Family Applications (1)

Application Number Title Priority Date Filing Date
PCT/JP2017/019624 Ceased WO2017208978A1 (en) 2016-05-30 2017-05-25 Print element board, liquid ejection head, and liquid ejection apparatus

Country Status (5)

Country Link
US (1) US10933669B2 (enExample)
EP (1) EP3463901B1 (enExample)
JP (1) JP6821331B2 (enExample)
CN (1) CN109311322B (enExample)
WO (1) WO2017208978A1 (enExample)

Families Citing this family (1)

* Cited by examiner, † Cited by third party
Publication number Priority date Publication date Assignee Title
JP7052640B2 (ja) * 2018-08-24 2022-04-12 ブラザー工業株式会社 液体吐出ヘッド

Citations (7)

* Cited by examiner, † Cited by third party
Publication number Priority date Publication date Assignee Title
JPH10202876A (ja) * 1997-01-23 1998-08-04 Seiko Epson Corp インクジェット式記録ヘッド
JP3552004B2 (ja) * 1996-09-24 2004-08-11 セイコーエプソン株式会社 インクジェット式ライン記録ヘッド、及び記録装置
US7407262B2 (en) 2004-01-21 2008-08-05 Silverbrook Research Pty Ltd Pagewidth printhead assembly having abutting integrated circuits arranged thereon
EP2436521A1 (en) * 2008-12-18 2012-04-04 Eastman Kodak Company Method of forming a buttable printhead module in a pagewide printhead
JP2015174385A (ja) 2014-03-17 2015-10-05 セイコーエプソン株式会社 液体噴射ヘッド及び液体噴射装置
US20150328894A1 (en) * 2014-05-13 2015-11-19 Canon Kabushiki Kaisha Liquid ejection head
US20160144631A1 (en) * 2014-11-21 2016-05-26 Canon Kabushiki Kaisha Liquid discharging substrate, printhead, and printing apparatus

Family Cites Families (4)

* Cited by examiner, † Cited by third party
Publication number Priority date Publication date Assignee Title
US6575560B2 (en) * 2000-07-10 2003-06-10 Canon Kabushiki Kaisha Liquid discharge recording head and liquid discharge recording apparatus
EP3012107B1 (en) * 2013-06-21 2020-02-26 Kyocera Corporation Liquid-discharging head and printing device
JP6976708B2 (ja) * 2017-04-21 2021-12-08 キヤノン株式会社 液体吐出ヘッド及びインクジェット記録装置
US10479075B2 (en) * 2017-05-09 2019-11-19 Canon Kabushiki Kaisha Print head substrate and method of manufacturing the same, and semiconductor substrate

Patent Citations (7)

* Cited by examiner, † Cited by third party
Publication number Priority date Publication date Assignee Title
JP3552004B2 (ja) * 1996-09-24 2004-08-11 セイコーエプソン株式会社 インクジェット式ライン記録ヘッド、及び記録装置
JPH10202876A (ja) * 1997-01-23 1998-08-04 Seiko Epson Corp インクジェット式記録ヘッド
US7407262B2 (en) 2004-01-21 2008-08-05 Silverbrook Research Pty Ltd Pagewidth printhead assembly having abutting integrated circuits arranged thereon
EP2436521A1 (en) * 2008-12-18 2012-04-04 Eastman Kodak Company Method of forming a buttable printhead module in a pagewide printhead
JP2015174385A (ja) 2014-03-17 2015-10-05 セイコーエプソン株式会社 液体噴射ヘッド及び液体噴射装置
US20150328894A1 (en) * 2014-05-13 2015-11-19 Canon Kabushiki Kaisha Liquid ejection head
US20160144631A1 (en) * 2014-11-21 2016-05-26 Canon Kabushiki Kaisha Liquid discharging substrate, printhead, and printing apparatus

Also Published As

Publication number Publication date
EP3463901B1 (en) 2022-05-25
CN109311322A (zh) 2019-02-05
US20200316971A1 (en) 2020-10-08
CN109311322B (zh) 2020-07-28
US10933669B2 (en) 2021-03-02
JP6821331B2 (ja) 2021-01-27
JP2017213730A (ja) 2017-12-07
EP3463901A1 (en) 2019-04-10

Similar Documents

Publication Publication Date Title
US10603911B2 (en) Printhead
JP4604608B2 (ja) 複合基板及びインクジェットプリンタ
US7237876B2 (en) Ink-jet head and method for manufacturing the same
EP2769846B1 (en) Liquid ejection apparatus and connection method for flexible wiring board
CN109130505B (zh) 液体喷出头
US8083331B2 (en) Piezoelectric actuator, liquid ejection head, and method for manufacturing piezoelectric actuator
US7213911B2 (en) Ink-jet head
KR100515498B1 (ko) 잉크젯 기록 장치
EP3463901B1 (en) Print element board, liquid ejection head, and liquid ejection apparatus
US11161351B2 (en) Liquid ejection head
JP7778627B2 (ja) 液体吐出ヘッド、及び液体吐出装置
JP2019107864A (ja) 液体噴射ヘッド、液体噴射装置および配線基板
US7797831B2 (en) Method for manufacturing recording apparatus
JP6375973B2 (ja) 液体吐出装置、及び、液体吐出装置の製造方法
US12275246B2 (en) Liquid ejection head and liquid ejection apparatus
JP7346148B2 (ja) 液体吐出ヘッド
US20230311500A1 (en) Liquid ejection head and liquid ejection apparatus
JP7056354B2 (ja) 記録装置、配線部材及び配線部材の製造方法
CN116890532A (zh) 液体喷射记录元件单元及其制造方法
JP2023152238A (ja) 液体吐出ヘッド及び液体吐出装置
CN120481457A (zh) 液体喷射头
JP2011253858A (ja) 配線基板ユニット

Legal Events

Date Code Title Description
121 Ep: the epo has been informed by wipo that ep was designated in this application

Ref document number: 17729562

Country of ref document: EP

Kind code of ref document: A1

NENP Non-entry into the national phase

Ref country code: DE

ENP Entry into the national phase

Ref document number: 2017729562

Country of ref document: EP

Effective date: 20190102