WO2016067866A1 - 血圧測定装置 - Google Patents

血圧測定装置 Download PDF

Info

Publication number
WO2016067866A1
WO2016067866A1 PCT/JP2015/078537 JP2015078537W WO2016067866A1 WO 2016067866 A1 WO2016067866 A1 WO 2016067866A1 JP 2015078537 W JP2015078537 W JP 2015078537W WO 2016067866 A1 WO2016067866 A1 WO 2016067866A1
Authority
WO
WIPO (PCT)
Prior art keywords
pressure
pulse wave
blood pressure
unit
detected
Prior art date
Legal status (The legal status is an assumption and is not a legal conclusion. Google has not performed a legal analysis and makes no representation as to the accuracy of the status listed.)
Ceased
Application number
PCT/JP2015/078537
Other languages
English (en)
French (fr)
Japanese (ja)
Inventor
北川 毅
新吾 山下
小椋 敏彦
正幸 福塚
大蔵 岡
直美 松村
森 健太郎
広幸 木下
祐之 若宮
Current Assignee (The listed assignees may be inaccurate. Google has not performed a legal analysis and makes no representation or warranty as to the accuracy of the list.)
Omron Healthcare Co Ltd
Original Assignee
Omron Healthcare Co Ltd
Priority date (The priority date is an assumption and is not a legal conclusion. Google has not performed a legal analysis and makes no representation as to the accuracy of the date listed.)
Filing date
Publication date
Application filed by Omron Healthcare Co Ltd filed Critical Omron Healthcare Co Ltd
Priority to CN201580059419.7A priority Critical patent/CN107072562B/zh
Priority to EP15855035.0A priority patent/EP3213678B1/en
Publication of WO2016067866A1 publication Critical patent/WO2016067866A1/ja
Priority to US15/499,295 priority patent/US10582861B2/en
Anticipated expiration legal-status Critical
Ceased legal-status Critical Current

Links

Images

Classifications

    • AHUMAN NECESSITIES
    • A61MEDICAL OR VETERINARY SCIENCE; HYGIENE
    • A61BDIAGNOSIS; SURGERY; IDENTIFICATION
    • A61B5/00Measuring for diagnostic purposes; Identification of persons
    • A61B5/02Detecting, measuring or recording for evaluating the cardiovascular system, e.g. pulse, heart rate, blood pressure or blood flow
    • A61B5/021Measuring pressure in heart or blood vessels
    • A61B5/022Measuring pressure in heart or blood vessels by applying pressure to close blood vessels, e.g. against the skin; Ophthalmodynamometers
    • AHUMAN NECESSITIES
    • A61MEDICAL OR VETERINARY SCIENCE; HYGIENE
    • A61BDIAGNOSIS; SURGERY; IDENTIFICATION
    • A61B5/00Measuring for diagnostic purposes; Identification of persons
    • A61B5/103Measuring devices for testing the shape, pattern, colour, size or movement of the body or parts thereof, for diagnostic purposes
    • A61B5/107Measuring physical dimensions, e.g. size of the entire body or parts thereof
    • A61B5/1072Measuring physical dimensions, e.g. size of the entire body or parts thereof measuring distances on the body, e.g. measuring length, height or thickness
    • AHUMAN NECESSITIES
    • A61MEDICAL OR VETERINARY SCIENCE; HYGIENE
    • A61BDIAGNOSIS; SURGERY; IDENTIFICATION
    • A61B5/00Measuring for diagnostic purposes; Identification of persons
    • A61B5/103Measuring devices for testing the shape, pattern, colour, size or movement of the body or parts thereof, for diagnostic purposes
    • A61B5/11Measuring movement of the entire body or parts thereof, e.g. head or hand tremor or mobility of a limb
    • AHUMAN NECESSITIES
    • A61MEDICAL OR VETERINARY SCIENCE; HYGIENE
    • A61BDIAGNOSIS; SURGERY; IDENTIFICATION
    • A61B5/00Measuring for diagnostic purposes; Identification of persons
    • A61B5/68Arrangements of detecting, measuring or recording means, e.g. sensors, in relation to patient
    • A61B5/6801Arrangements of detecting, measuring or recording means, e.g. sensors, in relation to patient specially adapted to be attached to or worn on the body surface
    • A61B5/6813Specially adapted to be attached to a specific body part
    • A61B5/6824Arm or wrist
    • AHUMAN NECESSITIES
    • A61MEDICAL OR VETERINARY SCIENCE; HYGIENE
    • A61BDIAGNOSIS; SURGERY; IDENTIFICATION
    • A61B5/00Measuring for diagnostic purposes; Identification of persons
    • A61B5/68Arrangements of detecting, measuring or recording means, e.g. sensors, in relation to patient
    • A61B5/6801Arrangements of detecting, measuring or recording means, e.g. sensors, in relation to patient specially adapted to be attached to or worn on the body surface
    • A61B5/6843Monitoring or controlling sensor contact pressure
    • AHUMAN NECESSITIES
    • A61MEDICAL OR VETERINARY SCIENCE; HYGIENE
    • A61BDIAGNOSIS; SURGERY; IDENTIFICATION
    • A61B5/00Measuring for diagnostic purposes; Identification of persons
    • A61B5/72Signal processing specially adapted for physiological signals or for diagnostic purposes
    • A61B5/7271Specific aspects of physiological measurement analysis
    • A61B5/7278Artificial waveform generation or derivation, e.g. synthesizing signals from measured signals
    • AHUMAN NECESSITIES
    • A61MEDICAL OR VETERINARY SCIENCE; HYGIENE
    • A61BDIAGNOSIS; SURGERY; IDENTIFICATION
    • A61B2560/00Constructional details of operational features of apparatus; Accessories for medical measuring apparatus
    • A61B2560/02Operational features
    • A61B2560/0223Operational features of calibration, e.g. protocols for calibrating sensors
    • AHUMAN NECESSITIES
    • A61MEDICAL OR VETERINARY SCIENCE; HYGIENE
    • A61BDIAGNOSIS; SURGERY; IDENTIFICATION
    • A61B2560/00Constructional details of operational features of apparatus; Accessories for medical measuring apparatus
    • A61B2560/02Operational features
    • A61B2560/0223Operational features of calibration, e.g. protocols for calibrating sensors
    • A61B2560/0238Means for recording calibration data

Definitions

  • the present invention relates to a blood pressure measurement device.
  • a biological information measuring device capable of measuring biological information such as pulse and blood pressure using information detected by the pressure sensor in a state where the pressure sensor is in direct contact with a biological part through which an artery such as the radial artery of the wrist passes.
  • biological information such as pulse and blood pressure using information detected by the pressure sensor in a state where the pressure sensor is in direct contact with a biological part through which an artery such as the radial artery of the wrist passes.
  • Patent Documents 1, 2, and 3 describe a blood pressure measurement device that measures blood pressure for each beat using only information detected by a pressure sensor brought into contact with a wrist without using a cuff.
  • Patent Documents 1, 2, and 3 since the blood pressure can be measured only with information detected by a pressure sensor brought into contact with a living body, the apparatus can be downsized.
  • the devices described in Patent Documents 1 and 2 calculate blood pressure by calibrating the pressure pulse wave detected by the pressure sensor in a state where the pressure sensor is pressed with the optimum pressing force.
  • the device described in Patent Document 3 calculates a blood pressure value based on a change in the pressure pulse wave amplitude detected in the step of continuously changing the pressing force of the pressure sensor, and uses this blood pressure value for calibration. Generate data. For this reason, it is possible to start continuous blood pressure measurement in a short time without annoying the user.
  • Patent Document 3 does not consider such a problem.
  • the present invention has been made in view of the above circumstances, can easily generate calibration data, and can be easily started by each user even when shared by a plurality of users.
  • An object of the present invention is to provide a blood pressure measurement device capable of improving blood pressure measurement accuracy.
  • the blood pressure measurement device of the present invention includes a pressing surface on which a pressure detection unit is formed, a pressing unit that presses the pressing surface against an artery under the skin of a living body, and a pressing control unit that controls the pressing force by the pressing unit;
  • the first blood pressure value in the artery is calculated based on the first pressure pulse wave detected by the pressure detecting unit in the process of increasing or decreasing the pressing force by the control of the pressing control unit.
  • a blood pressure calculator for generating calibration data based on the pressure pulse wave detected by the pressure detector and the first blood pressure value, and flattening a part of the artery
  • a second pressure pulse wave detected by the pressure detection unit in a state where the pressing surface is pressed against the artery with an optimal pressing force for deforming is calibrated using the calibration data, and the inside of the artery
  • a second blood pressure calculation unit for calculating a second blood pressure value;
  • a determination unit that determines whether or not the detection condition of the pressure pulse wave coincides with the detection condition of the pressure pulse wave used to generate the calibration data, and performs processing according to the determination result by the determination unit
  • a processing unit for generating calibration data based on the pressure pulse wave detected by the pressure detector and the first blood pressure value, and flattening a part of the artery
  • a second pressure pulse wave detected by the pressure detection unit in a state where the pressing surface is pressed against the artery with an optimal pressing force for deforming is calibrated using the calibration data, and the inside of the artery
  • calibration data can be easily generated, and even when shared by a plurality of users, each user can easily start use, and blood pressure measurement accuracy can be improved.
  • a blood pressure measuring device capable of being provided can be provided.
  • FIG. 2 is an enlarged view of a pressure pulse wave detection unit 100 shown in FIG. 1. It is the figure which looked at the pressure pulse wave detection part 100 in the mounting state shown in FIG. 1 from the fingertip side of the user. It is the figure which looked at the pressure pulse wave detection part 100 in the mounting state shown in FIG. 1 from the contact part side with a wrist. It is a figure which shows the block configuration of parts other than the pressure pulse wave detection part 100 of a blood pressure measurement apparatus. It is a flowchart for demonstrating operation
  • FIG. 6 is a diagram illustrating an example of an amplitude value of a pressure pulse wave detected by each pressure sensor of the sensor unit 6 when the pressure applied to the wrist by the sensor unit 6 is changed. It is a figure which shows the state which applies the pressure pulse wave detection part 100 to a wrist, and presses the sensor part 6 toward a wrist with the air bag 2.
  • FIG. It is the figure which showed an example of the change of the pressing force to a wrist, and the change of the pressure pulse wave detected by the optimal pressure sensor. It is a figure which shows an example of pulse wave envelope data.
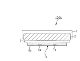
  • FIG. 1 is an external view showing a configuration of a pressure pulse wave detection unit 100 of a blood pressure measurement device for explaining an embodiment of the present invention.
  • the blood pressure measurement device of the present embodiment is attached to a living body part (the wrist of a user in the example of FIG. 1) in which an artery (radial artery T in the example of FIG. 1) is present by a belt (not shown). Is possible.
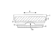
  • FIG. 2 is an enlarged view of the pressure pulse wave detector 100 shown in FIG.
  • FIG. 3 is a view of the pressure pulse wave detection unit 100 in the wearing state shown in FIG. 1 as viewed from the fingertip side of the user.
  • FIG. 4 is a view of the pressure pulse wave detection unit 100 in the wearing state shown in FIG. 1 as viewed from the contact part side with the wrist. 1 to 4 schematically show the pressure pulse wave detection unit 100, and the dimensions and arrangement of the respective parts are not limited.
  • the pressure pulse wave detection unit 100 includes a housing 1 containing an air bag 2, a flat plate portion 3 that is a flat member fixed to the air bag 2, and a two-axis rotation mechanism 5 a for the flat plate portion 3.
  • the rotating unit 5 is rotatably supported around each of the two shafts, and the sensor unit 6 is provided on a plane opposite to the flat plate unit 3 side of the rotating unit 5.
  • the air bag 2 serves as a pressing unit that presses the pressing surface 6 b of the sensor unit 6 against the artery under the skin of the living body part (wrist) with the blood pressure measurement device mounted on the wrist.
  • the pressing part may be anything as long as it can press the pressing surface 6b of the sensor part 6 against the artery, and is not limited to one using an air bag.
  • the air bag 2 has a direction in which the flat plate portion 3 fixed to the air bag 2 is perpendicular to the surface of the flat plate portion 3 (a plane on the rotating portion 5 side) by controlling the amount of air inside by a pump (not shown). Move to.
  • the pressing surface 6b of the sensor unit 6 included in the pressure pulse wave detection unit 100 contacts the skin of the user's wrist.
  • the internal pressure of the air bag 2 increases, and the sensor unit 6 is pressed toward the radial artery T below the wrist.
  • the pressing force applied to the radial artery T by the sensor unit 6 is equivalent to the internal pressure of the air bag 2.
  • the pressing surface 6 b has a direction B (one direction) intersecting (orthogonal in the example of FIG. 1) with the extending direction A of the radial artery T present at the mounting site in the mounting state shown in FIG. 1.
  • a plurality of pressure sensors 6a are formed as pressure detecting elements.
  • a plurality of pressure sensors 7a arranged in the direction B are formed on the pressing surface 6b.
  • Each pressure sensor 6a and the pressure sensor 6a and the pressure sensor 7a having the same position in the direction B constitute a pair, and the pressing surface 6b has a plurality of pairs arranged in the direction B.
  • the pressure sensors (the plurality of pressure sensors 6a and the plurality of pressure sensors 7a) included in the pressure pulse wave detection unit 100 constitute a pressure detection unit.
  • the pressing surface 6b is a surface of a semiconductor substrate made of single crystal silicon or the like, and the pressure sensors 6a and 7a are constituted by pressure sensitive diodes or the like formed on the surface of the semiconductor substrate.
  • the pressure sensor 6a (7a) is a pressure vibration generated from the radial artery T and transmitted to the skin by being pressed against the radial artery T so that the arrangement direction intersects (substantially orthogonal) the radial artery T.
  • a wave that is, a pressure pulse wave is detected.
  • the intervals in the arrangement direction of the pressure sensors 6a (7a) are sufficiently small so that a necessary and sufficient number is arranged on the radial artery T.
  • the arrangement length of each pressure sensor 6a (7a) is necessary and sufficiently larger than the radial dimension of the radial artery T.
  • the biaxial rotation mechanism 5 a is a mechanism for rotating the rotation unit 5 around each of the two rotation axes X and Y orthogonal to the pressing direction of the flat plate portion 3 by the air bag 2. is there.
  • the biaxial rotation mechanism 5a has two rotation axes X and Y set on the surface of the flat plate portion 3 and orthogonal to each other, and the rotation axes X and Y are respectively driven to rotate by a rotation drive unit 10 described later.
  • the rotation axis Y is a first axis extending in the arrangement direction of the plurality of pressure sensors 6a (7a) formed on the pressing surface 6b.
  • the rotation axis Y is set between the element array including the plurality of pressure sensors 6a and the element array including the plurality of pressure sensors 7a (in the example of FIG. 4) in the plan view of FIG.
  • the rotation axis X is a second axis extending in a direction orthogonal to the arrangement direction of the plurality of pressure sensors 6a (7a) formed on the pressing surface 6b.
  • the rotation axis X is set on a straight line that equally divides the element array composed of the plurality of pressure sensors 6 a and the element array composed of the plurality of pressure sensors 7 a.
  • the rotation surface 5 rotates about the rotation axis X, so that the pressing surface 6b rotates around the rotation axis X.
  • the rotation surface 5 rotates around the rotation axis Y, so that the pressing surface 6 b rotates around the rotation axis Y.
  • FIG. 5 is a diagram showing a block configuration of a portion other than the pressure pulse wave detection unit 100 of the blood pressure measurement device.
  • the blood pressure measurement device includes a pressure pulse wave detection unit 100, a rotation drive unit 10, an air bag drive unit 11, a control unit 12 that performs overall control of the entire device, a display unit 13, an operation unit 14, and a memory 15. .
  • the rotation drive unit 10 is an actuator connected to each of the rotation axes X and Y of the biaxial rotation mechanism 5a of the pressure pulse wave detection unit 100.
  • the rotation drive unit 10 rotates the rotation axes X and Y according to instructions from the control unit 12 to rotate the pressing surface 6b around the rotation axis X, or the pressing surface 6b around the rotation axis Y. Or rotate it.
  • the air bag drive unit 11 controls the amount of air injected into the air bag 2 (internal pressure of the air bag 2) under the instruction of the control unit 12.
  • the display unit 13 is for displaying various information such as a measured blood pressure value, and is configured by, for example, a liquid crystal.
  • the operation unit 14 is an interface for inputting an instruction signal to the control unit 12, and includes a button for instructing the start of various operations including blood pressure measurement.
  • the memory 15 stores various information such as a ROM (Read Only Memory) for storing a program and data for causing the control unit 12 to perform a predetermined operation, a RAM (Random Access Memory) as a work memory, and measured blood pressure data. Includes flash memory to store.
  • ROM Read Only Memory
  • RAM Random Access Memory
  • the control unit 12 executes a program stored in the ROM of the memory 15 to thereby execute a press control unit, a first blood pressure calculation unit, a rotation control unit, a second blood pressure calculation unit, a calibration data generation unit, and a determination unit. And function as a processing unit.
  • the pressing control unit controls the pressing force applied to the wrist by the pressing surface 6b by controlling the air bag driving unit 11 and adjusting the amount of air in the air bag 2.
  • the first blood pressure calculating unit presses the pressure surface 6b in the radial artery T based on the pressure pulse wave detected by the pressure sensors 6a and 7a formed on the pressing surface 6b in a state where the pressing surface 6b is pressed against the radial artery T.
  • One blood pressure value is calculated.
  • the first blood pressure calculating unit detects the pressure pulse detected by the pressure sensors 6a and 7a in the process in which the pressing force to the radial artery T is changed (increased or decreased) by the air bag driving unit 11. Based on the wave, a first blood pressure value in radial artery T is calculated.
  • the calibration data generation unit generates calibration data using the first blood pressure value calculated by the first blood pressure calculation unit.
  • the rotation control unit is configured to press the pressure surface 6b of the rotation driving unit 10 based on the pressure pulse wave detected by the pressure sensors 6a and 7a in the process in which the pressing force to the radial artery T is increased by the air bag driving unit 11. The necessity of rotation is determined. When the rotation control unit determines that the rotation is necessary, the rotation control unit 10 rotates the pressing surface 6b.
  • the second blood pressure calculation unit detects each beat by the pressure sensors 6a and 7a in a state where the pressing surface 6b is pressed against the radial artery T with an optimal pressing force for deforming a part of the radial artery T flatly.
  • the second blood pressure value in the radial artery T is calculated by calibrating the pressure pulse wave to be calibrated with the calibration data.
  • the determination unit determines whether or not the detection condition of the pressure pulse wave to be calibrated based on the calibration data matches the detection condition of the pressure pulse wave used to generate the calibration data.
  • the processing unit performs processing according to the determination result by the determination unit.
  • the blood pressure measurement device measures a blood pressure value (SBP (Systemic Blood Pressure), so-called systolic blood pressure, DBP (Diastrotic Blood pressure)), so-called diastolic blood pressure, and displays it on the display unit 13 every beat. Has a measurement mode.
  • SBP Systemic Blood Pressure
  • DBP Diastrotic Blood pressure
  • FIG. 6 is a flowchart for explaining the operation up to the generation of calibration data in the continuous blood pressure measurement mode of the blood pressure measurement device of the present embodiment.
  • the rotation unit 5 of the pressure pulse wave detection unit 100 has a rotation amount set to, for example, zero, and the pressing surface 6b is parallel to the flat plate part 3.
  • the state in which the rotation amount is zero is set as the initial state, but this is not restrictive.
  • the initial state is a state in which the rotation driving unit 10 rotates the pressing surface 6b so that the pressing surface 6b contacts the skin evenly according to the shape of the wrist. It is good also as a state.
  • control unit 12 controls the air bag driving unit 11 to start injecting air into the air bag 2 and increases the pressing force on the radial artery T by the pressing surface 6b (step S1). ).
  • the control unit 12 determines each pressure sensor 6a up to an arbitrary timing (for example, a periodic timing) after a sufficient time has elapsed to start the occlusion of the radial artery T.
  • a plurality of pressure pulse wave information I1 is acquired in order from the latest detection time among the pressure pulse waves (the pressure pulse wave information I1) detected and stored in the memory 15.
  • the control unit 12 detects the pressure pulse wave (the pressure pulse wave information I2) detected by each pressure sensor 7a and stored in the memory 15 at the above arbitrary timing in the order of detection time.
  • a plurality of pressure pulse wave information I2 is acquired (step S1A).
  • the control unit 12 calculates, for example, the average value Ave1 of the amplitude of the pressure pulse wave of each pressure sensor 6a detected at time t1 among the plurality of pressure pulse wave information I1 acquired in step S1A, and after time t1.
  • the average value Ave2 of the amplitude of the pressure pulse wave of each pressure sensor 6a detected at time t2 is calculated.
  • the control part 12 calculates the average value Ave3 of the amplitude of the pressure pulse wave of each pressure sensor 7a detected at time t1 among the plurality of pressure pulse wave information I2 acquired at step S1A, and detects it at time t2.
  • the average value Ave4 of the amplitude of the pressure pulse wave of each pressure sensor 7a is calculated.
  • the control part 12 calculates ratio ((Ave1 / Ave3) and (Ave2 / Ave4)) of the average value calculated with respect to the same time.
  • the control unit 12 determines whether or not the rotation unit 5 should be rotated by the rotation drive unit 10 based on the change in the ratio calculated for a plurality of timings. That is, the control unit 12 determines whether or not to rotate the rotating unit 5 based on the pressure pulse waves detected by the pressure sensors 6a and 7a at a plurality of timings in the increasing process of the pressing force (step S1B).
  • the element array composed of the pressure sensor 7a is directed in the direction of closing the radial artery T, but the element array composed of the pressure sensor 6a is the radial artery. It can be determined that T is not in the closing direction. For this reason, the control part 12 determines with rotation of the rotation part 5 being required.
  • the element array composed of the pressure sensor 6a is directed in the direction of closing the radial artery T, but the element array composed of the pressure sensor 7a is the radial artery. It can be determined that T is not in the closing direction. For this reason, the control part 12 determines with rotation of the rotation part 5 being required.
  • the control part 12 determines with the rotation of the rotation part 5 being unnecessary.
  • control unit 12 determines the necessity of rotation based on the variation in the ratio calculated for a plurality of timings. Instead of this ratio, a difference between the average value Ave1 (Ave2) and the average value Ave3 (Ave4) (a value considering the sign) may be used.
  • FIG. 7A is a diagram illustrating an example of a state in which the radial artery T is occluded by the element array including the pressure sensor 7a, but the radial artery T is not occluded by the element array including the pressure sensor 6a. .
  • the distance between the element array composed of the pressure sensor 6a and the radial artery T is larger than the distance between the element array composed of the pressure sensor 7a and the radial artery T.
  • step S1B determines that the rotation of the rotation unit 5 around the rotation axis Y is necessary
  • the control unit 12 determines the rotation axis Y of the rotation unit 5 according to the value of (6A / 7A) at the latest time.
  • the surrounding rotation is controlled (step S1C).
  • control unit 12 is a data table indicating the relationship between the value of (6A / 7A) and the rotation amount of the rotation unit 5 (obtained experimentally before product shipment and stored in the memory 15). , The rotation amount corresponding to the value of (6A / 7A) is read, and the read rotation amount is set.
  • control unit 12 determines which one of the average value 6A and the average value 7A is larger. If the average value 6A is large, the control unit 12 rotates to reduce the distance between the element array including the pressure sensor 6a and the radial artery T.
  • the rotation direction of the rotation unit 5 around the axis Y is set counterclockwise in FIG.
  • control unit 12 rotates the rotation direction of the rotation unit 5 around the rotation axis Y in the clockwise direction in FIG. 7 in order to reduce the distance between the element array including the pressure sensor 7a and the radial artery T.
  • the control unit 12 rotates the rotating unit 5 according to the rotation direction and the rotation amount set as described above. Thereby, as shown in FIG. 7B, the pressing surface 6b and the radial artery T can be made parallel, and the radial artery T can be closed by each of the two element rows.
  • step S ⁇ b> 2 the control unit 12 determines whether or not the pressing force has reached a pressure sufficient to close the radial artery T (necessary pressing force).
  • step S2: YES the control unit 12 controls the air bag driving unit 11 to stop the injection of air into the air bag 2 (step S3).
  • step S3 the control unit 12 returns the process to step S1A.
  • step S3 the control unit 12 determines between the amplitude of the pressure pulse wave detected by each pressure sensor 6a at the same time between step S1 and step S3, and the position on the pressing surface 6b of each pressure sensor 6a.
  • the control part 12 calculates
  • the control unit 12 generates a tonogram generated for the element array composed of the pressure sensors 6a from the identification information of the element array, the detection time of the pressure pulse wave, and the pressing force in the pressing direction by the air bag 2 at the detection time ( The pressure is stored in the memory 15 in association with the internal pressure of the air bag 2.
  • control unit 12 generates a tonogram generated for the element array including the pressure sensor 7a in the direction of pressing by the air bag 2 at the detection information of the element array, the detection time of the pressure pulse wave, and the detection time. It is stored in the memory 15 in association with the pressing force.
  • control part 12 calculates the moving amount
  • FIG. 8A and 8B are examples of the amplitude value of the pressure pulse wave detected by each pressure sensor 6a of the sensor unit 6 when the pressure applied to the wrist by the sensor unit 6 is changed.
  • FIG. 8A and 8B the horizontal axis indicates the position of each pressure sensor 6a in the direction B, and the vertical axis indicates the pressing force.
  • the amplitude of the pressure pulse wave detected by the pressure sensor 6a at each position is color-coded according to its magnitude.
  • Symbol A1 is a portion where the amplitude is greater than or equal to the threshold value TH1.
  • Symbol A2 is a portion where the amplitude is greater than or equal to threshold TH2 and less than threshold TH1.
  • Symbol A3 is a portion where the amplitude is greater than or equal to threshold TH3 and less than threshold TH2.
  • Symbol A4 is a portion where the amplitude is greater than or equal to threshold TH4 and less than threshold TH3.
  • Symbol A5 is a portion where the amplitude is less than the threshold value TH4. Note that threshold TH1> threshold TH2> threshold TH3> threshold TH4.
  • FIG. 8 (a) shows an example in which the position of the pressure sensor 6a that detects a pressure pulse wave having an amplitude greater than or equal to the threshold TH1 does not substantially change in the process of increasing the pressing force.
  • FIG. 8B shows an example in which the position of the pressure sensor 6a that detects a pressure pulse wave having an amplitude greater than or equal to the threshold TH1 is shifted to the left in the process of increasing the pressing force. Yes.
  • FIG. 9 is a diagram illustrating a state in which the pressure pulse wave detection unit 100 is applied to the wrist and the sensor unit 6 is pressed toward the wrist by the air bag 2.
  • the symbol TB indicates a rib
  • the symbol K indicates a tendon.
  • the radial artery T may move in the direction B as shown in FIG. 9 (b).
  • the distribution of amplitude values of the pressure pulse wave during pressing becomes as shown in FIG. 8B. That is, the position of the pressure sensor 6a that detected the amplitude value at the pressing force at which the amplitude value equal to or greater than the threshold TH1 was detected for the first time and the amplitude value at the pressure that was last detected as the amplitude value equal to or greater than the threshold TH1 were detected. A large deviation occurs from the position of the pressure sensor 6a.
  • the change in the position of the radial artery T in the direction B can be detected by looking at the change in the tonogram in the process of changing the pressing force. If the radial artery T is occluded by increasing the pressing force in the state shown in FIG. 9B, there is a possibility that an accurate tonogram cannot be obtained due to the influence of the living tissue such as the tendon K.
  • the control unit 12 detects the position of the pressure sensor 6a that has detected the amplitude value in the pressing force in which the amplitude value equal to or greater than the threshold value TH1 is first detected from the data in FIG. 8 showing the relationship between the pressing force and the tonogram, and the threshold value TH1.
  • the difference (that is, the amount of movement in the direction B of the radial artery T) with the position of the pressure sensor 6a that detected the amplitude value in the pressing force in which the above amplitude value was finally detected is calculated in step S6. It is determined whether or not the difference is greater than or equal to a threshold value THa (step S7).
  • step S7 If the difference between the two positions is equal to or greater than the threshold THa (step S7: YES), the control unit 12 obtains the vector indicated by the arrow in FIG. 8B in step S8. If the difference between the two positions is less than the threshold THa (step S7: NO), the process of step S9 is performed.
  • the direction and magnitude of the vector shown in FIG. 8 and information indicating in what direction and how much the rotating unit 5 should be rotated around the rotation axis X are obtained in advance and correlated. And remember.
  • control unit 12 acquires information about the rotation direction and the rotation amount corresponding to the obtained vector size and direction from the memory 15 and transmits the acquired information to the rotation drive unit 10. And the rotation drive part 10 rotates the rotation part 5 as shown in FIG.9 (c) according to the received information (step S8).
  • the control unit 12 determines the rotation unit based on the pressure pulse waves detected by the pressure sensors 6a and 7a at a plurality of timings in the process of increasing the pressing force by the air bag 2. Whether or not 5 needs to be rotated is determined in steps S1B and S7. And when it is necessary to rotate the rotation part 5 (step S1B: YES, step S7: YES), the control part 12 is based on the pressure pulse wave detected by each pressure sensor 6a, 7a. The moving part 5 is rotated.
  • step S9 following step S8, the control unit 12 controls the air bag drive unit 11 to discharge the air in the air bag 2 and starts to reduce the pressing force on the radial artery T.
  • the control unit 12 starts decreasing the pressing force in step S9, reduces the pressing force to the minimum value, and then determines an optimum pressure sensor from among all the pressure sensors 6a and 7a. For example, the control unit 12 determines the pressure sensor that has detected the pressure pulse wave having the maximum amplitude in the process of decreasing the pressing force as the optimum pressure sensor.
  • the pressure pulse wave detected by the pressure sensor located directly above the portion where the radial artery T is flat is not affected by the tension of the wall of the radial artery T and has the largest amplitude.
  • This pressure pulse wave has the highest correlation with the blood pressure value in the radial artery T. For this reason, the pressure sensor that detects the pressure pulse wave having the maximum amplitude is determined as the optimum pressure sensor.
  • the plurality of pressure sensors are treated as optimum pressure sensors, and the pressure pulses detected by each of the plurality of pressure sensors are detected.
  • an average of the waves may be handled as a pressure pulse wave detected by the optimum pressure sensor.
  • control part 12 produces
  • the pulse wave envelope data is detected by the optimal pressure sensor when the sensor 6 presses the radial artery T against the radial artery T (the internal pressure of the air bag 2) and the optimal pressure sensor is pressed against the radial artery T by the pressing force. It is the data which matched the amplitude of the pressure pulse wave to be performed.
  • FIG. 10 is a diagram showing an example of a change in the pressing force on the radial artery T and a change in the pressure pulse wave detected by the optimum pressure sensor.
  • the straight line indicated by the symbol P indicates the pressing force
  • the waveform indicated by the symbol M indicates the pressure pulse wave.
  • an enlarged view of one pressure pulse wave is shown.
  • the pressure at the rising point is referred to as the minimum value Mmin
  • the pressure at the falling point is referred to as the maximum value Mmax.
  • the amplitude of the pressure pulse wave is a value obtained by subtracting the minimum value Mmin from the maximum value Mmax.
  • the maximum value Mmax and the minimum value Mmin are each information that specifies the shape of the pressure pulse wave.
  • step S10 the control unit 12 generates pulse wave envelope data as shown in FIG. 11 from the relationship between the pressing force and the pressure pulse wave shown in FIG.
  • control unit 12 calculates SBP and DBP from the generated pulse wave envelope data (step S11).
  • the control unit 12 starts to decrease the pressing force when the pressure pulse wave amplitude starts to increase rapidly after the pressing force starts to decrease, that is, the pressing force starts to decrease. Thereafter, the pressing force at the time when the pressure pulse wave amplitude detected by the optimum pressure sensor first exceeds the threshold value THb that can be determined to be no longer in the arterial occlusion state is determined as SBP.
  • the control unit 12 calculates a difference between two adjacent amplitude values in the pulse wave envelope data, and determines the pressing force when the difference exceeds a threshold value as SBP.
  • control unit 12 determines the maximum value Mmax and the minimum value of any one of the pressure pulse waves (for example, the pressure pulse wave having the maximum amplitude) detected by the optimum pressure sensor determined in the pressure reduction process of step S9. Using the value Mmin and the SBP and DBP calculated in step S11, calibration data used at the time of continuous blood pressure measurement described later is generated and stored in the memory 15 (step S12).
  • the control unit 12 adds the SBP and DBP obtained in step S11 to the equations (1) and (2), and the maximum value Mmax and the minimum value of the pressure pulse wave having the maximum amplitude in the pulse wave envelope of FIG. Substituting Mmin, slope a and intercept b are calculated. The calculated coefficients a and b and equations (1) and (2) are stored in the memory 15 as calibration data.
  • FIG. 12 is a flowchart for explaining the continuous blood pressure measurement operation in the continuous blood pressure measurement mode of the blood pressure measurement device of the present embodiment.
  • control unit 12 controls the air bag drive unit 11 to increase the internal pressure of the air bag 2, and the pressing force to the radial artery T by the pressing surface 6 b Is increased (step S21).
  • control unit 12 determines the pressure sensor that detects the pressure pulse wave having the maximum amplitude in the process of increasing the pressing force among the pressure sensors 6a and 7a as the optimum pressure sensor. Moreover, the control part 12 determines the internal pressure of the air bag 2 at the time of detecting the pressure pulse wave of this maximum amplitude as an optimal pressing force (step S22).
  • control unit 12 releases the internal pressure of the air bag 2 and returns it to the initial state (step S23), and then increases the internal pressure of the air bag 2 to the optimum pressing force determined in step S22. The pressure is maintained (step S24).
  • control unit 12 acquires the pressure pulse wave detected by the optimal pressure sensor determined in step S22 in a state where the pressing surface 6b is pressed against the radial artery T with the optimal pressing force (step S25).
  • control unit 12 calibrates the acquired one pressure pulse wave using the calibration data generated in Step S12 of FIG. 6, and calculates SBP and DBP (Step S26).
  • control unit 12 calculates the SBP by substituting the maximum value Mmax of the pressure pulse wave acquired in step S25 and the coefficients a and b calculated in step S12 into the above-described equation (1).
  • the DBP is calculated by substituting the pressure minimum value Mmin of the pressure pulse wave acquired in S25 and the coefficients a and b calculated in step S12 into the above-described equation (2).
  • the control unit 12 displays the calculated SBP and DBP on the display unit 13, for example, and notifies the user.
  • the control unit 12 ends the process if there is an instruction to end continuous blood pressure measurement (step S27: YES), and returns the process to step S25 if there is no instruction to end (step S27: NO).
  • the control unit 12 generates calibration data using the first blood pressure value calculated based on the pressure pulse wave detected by the sensor unit 6 in the process of decreasing the pressing force. That is, the control unit 12 mainly uses the pressure pulse wave obtained in the process of changing the pressing force regardless of the pressure pulse wave detected in a state where the sensor unit 6 is pressed and held with the optimal pressing force. Can be calculated. Therefore, the blood pressure can be calculated without going through the three steps of increasing the internal pressure of the air bag 2, releasing the internal pressure of the air bag 2, and increasing the internal pressure of the air bag 2 to the optimum pressure.
  • the blood pressure measurement device of the present embodiment can also be provided with a mode for measuring blood pressure at an arbitrary timing and presenting it to the user.
  • this mode is set, the control unit 12 performs the processing from step S1 to step S11 in FIG. 6 so that the blood pressure can be measured and presented in a short time without bothering the user. It becomes possible.
  • data generation for calibrating the pressure pulse wave detected by the pressure sensor can be performed only by a device that is small enough to be worn on the wrist. For this reason, even when the blood pressure measurement device is shared by a plurality of users, it is easy to generate calibration data for each user. Therefore, even when a device is shared by a plurality of users, each user can easily start using the device.
  • step S1B when the determination in step S1B is never YES and the determination in step S7 is NO, that is, after the increase process of the pressing force and the end of the increase process, the rotating unit When the rotation 5 is not performed, the control unit 12 may perform the following operation.
  • the control unit 12 Based on the pressure pulse wave detected by each of the pressure sensors 6a and 7a in the process of increasing the pressing force in steps S1 to S3, the control unit 12 selects an optimum pressure sensor (for example, a pressure with a maximum amplitude) from the pressure sensors 6a and 7a. The pressure sensor that detects the pulse wave is determined. Then, the control unit 12 generates pulse wave envelope data from the pressure pulse wave detected by the optimum pressure sensor in the process of increasing the pressing force. The control unit 12 calculates SBP and DBP from the generated pulse wave envelope data.
  • an optimum pressure sensor for example, a pressure with a maximum amplitude
  • the control unit 12 optimizes the pressing force when the pressure pulse wave amplitude starts to decrease sharply after the pressing force starts increasing, that is, after the pressing force starts increasing.
  • the pressing force at the time when the pressure pulse wave amplitude detected by the pressure sensor becomes equal to or less than the threshold value THb is determined as SBP.
  • the DBP calculation method is the same as in step S11.
  • control unit 12 may generate calibration data used during continuous blood pressure measurement by the same method as in step S12. That is, among the pressure pulse waves detected by the optimum pressure sensor determined in the increasing process of the pressing force, for example, the maximum value Mmax and the minimum value Mmin of the pressure pulse wave having the maximum amplitude, the calculated SBP and DBP, Using the relational expressions (1) and (2), calibration data is generated and stored in the memory 15.
  • control unit 12 determines the pressure sensor that has detected the pressure pulse wave having the maximum amplitude in the process of increasing the pressing force in steps S1 to S3 in FIG. 6 as the optimum pressure sensor. For this reason, after generating the calibration data, the control unit 12 does not perform the processing of steps S21 to S23, and optimizes the internal pressure of the air bag 2 at the time when the pressure pulse wave having the maximum amplitude is detected. In step S24, the internal pressure of the air bladder 2 is controlled to the optimum pressing force, and thereafter, the processing after step S25 in FIG. 12 is performed.
  • step S1B The determination of step S1B is never YES, and the determination of step S7 is NO when the radial artery T is pressed in an ideal manner. For this reason, in this case, the time required for blood pressure calculation can be shortened by calculating SBP and DBP using the pressure pulse wave acquired in the process of increasing the pressing force.
  • the blood pressure for calibration is calculated from the pressure pulse wave obtained in the process of increasing the pressing force, it is not necessary to determine the optimum pressure sensor and the optimum pressing force again when performing continuous blood pressure measurement. For this reason, the time until the completion of blood pressure measurement at the first beat can be shortened. In addition, power consumption can be reduced.
  • step S1B when the apparatus is provided with a mode for measuring blood pressure at an arbitrary timing, when the control unit 12 determines that there is no significant change in the position of the radial artery T and the rotation of the rotation unit 5 is unnecessary ( If the determination in step S1B is never NO and step S7 is NO, the pressure sensor increases the pressing force applied to the living body part and the pressing force releasing process includes only two steps. The blood pressure measurement can be terminated. For this reason, it is possible to measure and present the blood pressure in a short time without bothering the user.
  • the optimum pressure sensor and the optimum pressing force are newly determined in step S22.
  • the control unit 12 determines the optimal pressure sensor and the optimal pressing force based on the pressure pulse wave detected by each of the pressure sensors 6a and 7a in the decreasing process of the pressing force started in step S9 in FIG.
  • the content determined here may be set as a pressure pulse wave detection condition at the time of continuous blood pressure measurement.
  • step S21 to step S23 in FIG. 12 are omitted, and the control unit 12 sets the optimum pressing force determined in the pressing force decreasing process after step S9 in step S24.
  • the control unit 12 In the state where the sensor unit 6 is pressed against the radial artery T by the optimum pressing force, the control unit 12 generates the pressure pulse wave detected from the optimum pressure sensor determined in the pressing force decreasing process after step S9. Obtained in step S25.
  • step S12 after the process of step S12 is completed, the process proceeds to step S21 while maintaining the rotation state of the rotating unit 5.
  • step S21 As a modified example, after step S12, the rotating unit 5 is returned to the initial state, and thereafter, instead of step S21, the processes of steps S1 to S8 in FIG. 6 are performed, and then the process of step S22 is performed. May be.
  • the pulse wave envelope data is obtained by detecting the pressure applied to the radial artery T by the sensor unit 6 and the pressure detected by the optimum pressure sensor in a state where the sensor unit 6 is pressed against the radial artery T by the pressing force.
  • the data is associated with the amplitude of the pulse wave, the present invention is not limited to this.
  • data correlating the amplitude of the pressure pulse wave detected by the optimum pressure sensor and the pressure maximum value of the pressure pulse wave may be used as the pulse wave envelope data.
  • the data which matched the amplitude of the pressure pulse wave detected by the optimal pressure sensor and the pressure minimum value of the pressure pulse wave may be used as the pulse wave envelope data.
  • data in which the amplitude of the pressure pulse wave detected by the optimum pressure sensor is associated with the average value of the maximum pressure value and the minimum pressure value of the pressure pulse wave may be used as the pulse wave envelope data.
  • the average value of the pressure maximum value and the pressure minimum value of the pressure pulse wave is one piece of information for specifying the shape of the pressure pulse wave.
  • the pulse wave envelope data specifies the amplitude value of the pressure pulse wave detected by the optimum pressure sensor in the process of changing the pressing force to the radial artery T by the pressing surface 6b and the shape of the pressure pulse wave.
  • Data that associates information (for example, Mmax, Mmin, or an average thereof) excluding the amplitude value among the information to be performed may be used.
  • the information on the pressure pulse wave used to generate the calibration data in step S12 of FIG. 6 are not limited to information on the pressure pulse wave having the maximum amplitude.
  • a portion where the amplitude in the pulse wave envelope is more or less flat is detected, and the information on the pressure pulse wave corresponding to this portion is used to generate calibration data. Also good.
  • the rotation unit 5 is configured to be rotatable about each of the rotation axis X and the rotation axis Y.
  • the rotation unit 5 has one of the rotation axis X and the rotation axis Y.
  • the structure which can be rotated centering may be sufficient.
  • the control unit 12 omits steps S1A to S1C in the flowchart of FIG. 6, and performs step S2 after step S1. Just do it. Even with such a configuration and operation, it is possible to calculate blood pressure with high accuracy because of the processing in steps S6 to S8.
  • the rotation part 5 is a structure which can rotate centering only on the rotating shaft X, it is good also as a structure which abbreviate
  • Two element rows are preferable because the probability that the artery can be occluded is increased, but even with only one element row, blood pressure can be controlled by performing rotation control around the rotation axis X following the movement of the radial artery T. It is possible to improve the calculation accuracy.
  • step S1A to step S1C can increase the amount of information necessary for determining the optimum pressure sensor in the subsequent pressing force reduction process, for example. Can be determined more accurately.
  • the pressure pulse wave detection unit 100 is configured to form an element array including a plurality of pressure sensors 6a and an element array including a plurality of pressure sensors 7a on one pressing surface.
  • line on the surface may be sufficient.
  • the rotation axis Y is set between the element array composed of the plurality of pressure sensors 6 a and the element array composed of the plurality of pressure sensors 7 a, but is not limited thereto.
  • the rotation axis Y may be set to the outside of the element array composed of the plurality of pressure sensors 6a and the element array composed of the plurality of pressure sensors 7a.
  • FIG. 4 there may be a rotation axis Y on the left side of the element array composed of the plurality of pressure sensors 6a.
  • the rotation axis Y may be on the right side of the element array including the plurality of pressure sensors 7 a.
  • the rotation axis X is at a position that divides each of the two element rows in half, but this is not restrictive.
  • the rotation axis X may be at an arbitrary position on each element row.
  • the pressing surface 6b can rotate around the rotation axes X and Y.
  • the pressure pulse wave detection unit 100A in FIG. It may be a fixed configuration.
  • FIG. 14 is a flowchart for explaining an example of the operation until the generation of calibration data of the blood pressure measurement device in which the pressure pulse wave detection unit 100 is changed to the pressure pulse wave detection unit 100A.
  • control unit 12 controls the air bag driving unit 11 to start injecting air into the air bag 2 to increase the pressing force on the radial artery T by the pressing surface 6b (step S1). S31).
  • control unit 12 acquires the pressure pulse wave of the nth beat (n is a natural number equal to or greater than 1; the initial value is 1) detected by the pressure sensors 6a and 7a (step S32).
  • the control unit 12 determines an optimum pressure sensor from among all the pressure sensors 6a and 7a based on the acquired pressure pulse wave of the nth beat (Step S33). For example, the pressure sensor that detects the pressure pulse wave having the maximum amplitude among the pressure pulse waves acquired in step S32 is determined as the optimum pressure sensor.
  • the plurality of pressure sensors may be handled as the optimum pressure sensor.
  • an average of the pressure pulse waves detected by each of the plurality of pressure sensors may be handled as a pressure pulse wave detected by the optimum pressure sensor.
  • this pressure sensor even if there is one pressure sensor that detects the pressure pulse wave having the maximum amplitude among the pressure pulse waves acquired in step S32, this pressure sensor and the pressure in the vicinity (for example, both adjacent) of this pressure sensor. You may handle as an optimal pressure sensor including a sensor. Also in this case, for example, an average of pressure pulse waves detected by each of the plurality of pressure sensors may be handled as a pressure pulse wave detected by the optimum pressure sensor.
  • control unit 12 determines the value of n, the identification ID of the determined optimum pressure sensor, the pressure pulse wave of the nth beat detected by the optimum pressure sensor, and the time when this pressure pulse wave is detected. Are stored in the memory 15 in association with each other (step S34).
  • the identification ID of the pressure sensor is information for identifying the element row to which the pressure sensor belongs and the position of the pressure sensor in the element row.
  • control unit 12 determines whether or not the pressing force has reached the necessary pressing force necessary for the occlusion of the radial artery T. If the pressing force has not reached the necessary pressing force (step S35: NO), n is calculated. (N + 1) is updated (step S36), and the process returns to step S32.
  • step S35 If the pressing force has reached the necessary pressing force (step S35: YES), the controller 12 detects the pressure pulse wave detected by the optimum pressure sensor corresponding to each of the n beats based on the information stored in the memory 15. Is generated and pulse wave envelope data indicating the relationship between the pressure pulse wave and the internal pressure of the air bladder 2 at the time of detection of the pressure pulse wave is generated (step S37).
  • control unit 12 calculates SBP and DBP from the generated pulse wave envelope data by the same method as step S11 (step S38).
  • control unit 12 calculates the SBP and DBP calculated, the maximum value Mmax and the minimum value Mmin of the pressure pulse wave having the maximum amplitude in the pulse wave envelope data generated in step S37, and equations (1) and ( 2), the coefficients a and b are calculated, and the equations (1) and (2) and the coefficients a and b are generated as calibration data and stored in the memory 15 (step S39).
  • control unit 12 After releasing the internal pressure of the air bladder 2 after step S39, the control unit 12 performs the processing after step S21 in FIG. 12 to calculate the second blood pressure value for each beat.
  • the control unit 12 selects the optimum pressure sensor that has detected the pressure pulse wave having the maximum amplitude among the identification IDs of the optimum pressure sensors for n beats stored in the memory 15 as the optimum for continuous blood pressure measurement.
  • the pressure is determined as a pressure sensor, and the pressing force at the time of detecting the pressure pulse wave detected by the optimum pressure sensor for continuous blood pressure measurement is determined as the optimum pressure for continuous blood pressure measurement.
  • control unit 12 sets the pressure pulse wave detected by the optimum pressure sensor for continuous blood pressure measurement in a state where the internal pressure of the air bag 2 is set to be the optimum pressing force for continuous blood pressure measurement, in step S39. Calibration is performed using the calibration data generated in step 1, and blood pressure is measured every beat.
  • the blood pressure value for generating calibration data is calculated based on the pressure pulse wave detected by the pressure sensor in the process of increasing the pressing force.
  • the pulse wave envelope is based on the pressure pulse wave detected by the pressure sensor in the process of decreasing the pressing force. It is also possible to generate data and calculate a blood pressure value for generating calibration data from the pulse wave envelope data.
  • the blood pressure is calculated based on the pressure pulse wave detected by the pressure sensor in the process of increasing or decreasing the pressing force.
  • the blood pressure can be calculated in a short time while reducing the burden on the user.
  • the pressure sensor having the maximum pulse wave amplitude is determined as the optimum pressure sensor among all the pressure sensors 6 a and 7 a at different timings in the increase or decrease process of the pressing force.
  • the optimum pressure sensor changes following this movement. Therefore, it is possible to calculate blood pressure with high accuracy following the movement of the radial artery T.
  • Such an effect can be realized in the pressure pulse wave detection unit 100A without using the rotation unit 5 and the biaxial rotation mechanism 5a. For this reason, a blood pressure measuring device can be made smaller.
  • the pressure pulse wave detection unit 100A may have a configuration in which one of the two element arrays is deleted. Moreover, it is good also as a structure which formed two element rows in the separate press surface.
  • FIG. 15 is a diagram showing a modification of the block configuration of the blood pressure measurement device shown in FIG.
  • the blood pressure measurement device shown in FIG. 15 has the same configuration as that of FIG. 5 except that a height detection unit 16 and a body motion detection unit 17 are added.
  • the height detection unit 16 detects the height of the living body part on which the blood pressure measurement device is mounted with respect to the reference position.
  • the height detection unit 16 is configured by, for example, an acceleration sensor or an atmospheric pressure sensor, and the reference position is, for example, a position at an altitude of 0 m.
  • the body movement detection unit 17 detects the movement of the living body part to which the blood pressure measurement device is attached.
  • the body motion detection unit 17 detects the movement of the living body in detail by combining, for example, a triaxial acceleration sensor, a triaxial angular velocity sensor, and a triaxial geomagnetic sensor.
  • the body motion detection unit 17 may use an appropriate sensor according to the motion detection accuracy.
  • control unit 12 stores the following three pieces of information in the memory 15 after calculating SBP and DBP in step S11.
  • the three pieces of information include the height detected by the height detector 16 during the period in which the pressure pulse wave used for generating the pulse wave envelope data generated in step S10 is detected (the pressure used for generating the calibration data).
  • the body motion detecting unit 17 detects the information on the height of the device mounting part at the time of detecting the pulse wave and the pressure pulse wave used for generating the pulse wave envelope data generated in step S10. Information on the movement (the movement of the device mounting part at the time of detecting the pressure pulse wave used for generating the calibration data) and the optimum pressure pulse wave used for generating the pulse wave envelope data generated in step S10 This is the identification ID of the pressure sensor (the pressure sensor that is the output source of the pressure pulse wave used to generate the calibration data).
  • FIG. 16 is a flowchart for explaining the operation (operation after generation of calibration data) at the time of continuous blood pressure measurement of the blood pressure measurement device shown in FIG.
  • the control unit 12 controls the air bag drive unit 11 so that the optimal pressing force determined after step S9 in FIG. 6 is obtained, and increases the internal pressure of the air bag 2 to the optimal pressing force and holds it (step S41).
  • control unit 12 determines the pressure sensor that detects the pressure pulse wave having the maximum amplitude among the pressure sensors 6a and 7a as the optimum pressure sensor (step S42).
  • control unit 12 compares the identification ID of the optimum pressure sensor stored in step S11 of FIG. 6 with the identification ID of the optimum pressure sensor determined in step S42, and if both match (step S44: YES) ), The process of step S46 is performed, and if the two do not match (step S44: NO), the process returns to step S42.
  • step S46 when the pressure pulse wave is detected by the optimum pressure sensor, the control unit 12 acquires it.
  • the control part 12 compares the height memorize
  • the control unit 12 performs the process of step S48 when the two match (step S47: YES), and performs the process of step S50 when the two do not match (step S47: NO).
  • step S48 the control unit 12 compares the movement information stored in step S11 of FIG. 6 with the movement information detected by the body motion detection unit 17 at the time of detection of the pressure pulse wave acquired in step S46. .
  • the control unit 12 performs the process of step S49 when the two match (step S48: YES), and performs the process of step S50 when the two do not match (step S48: NO).
  • the two heights coincide with each other means that the two heights are substantially the same, and the difference in height is equal to or less than a threshold value THc.
  • the two movements coincide with each other means that the two movement amounts are substantially the same and the difference between the movement amounts is equal to or less than a threshold value THd.
  • the threshold THc and the threshold THd may be appropriately set according to the measurement accuracy required for the blood pressure value calculated in step S49.
  • step S49 the control unit 12 calibrates one pressure pulse wave acquired in step S46 using the calibration data generated in step S12 of FIG. 6, and calculates SBP and DBP.
  • step S50 the control unit 12 ends the process if there is an instruction to end continuous blood pressure measurement, and returns the process to step S42 if there is no end instruction.
  • the blood pressure measurement device in FIG. 15 is a calibration target only when the detection condition of the pressure pulse wave to be calibrated matches the detection condition of the pressure pulse wave used for generating calibration data.
  • the pressure pulse wave is calibrated to calculate SBP and DBP.
  • the pressure pulse wave detection condition used for the calibration data generation includes the above three pieces of information.
  • the pressure pulse wave detection condition to be calibrated includes the identification ID of the optimum pressure sensor that detects the pressure pulse wave to be calibrated, and the device mounting site at the time when the pressure pulse wave to be calibrated is detected. It includes the height and the movement of the device mounting part when the pressure pulse wave to be calibrated is detected.
  • the pressure pulse wave to be calibrated is calibrated to calculate blood pressure.
  • the calibration accuracy can be increased, and the blood pressure measurement accuracy can be improved.
  • three conditions pressure sensor identification ID, height, movement
  • the detection conditions only need to include at least one of the three conditions.
  • the height information of the device mounting part at the time of detecting the pressure pulse wave used for the calibration data generation which is one of the above conditions is the height at the time of detecting each pressure pulse wave used for the calibration data generation.
  • the representative value (for example, average value) of the height detected by the detection unit 16 is used.
  • the information on the movement of the device mounting part at the time of detecting the pressure pulse wave used for the calibration data generation is detected by the body motion detection unit 17 at the time of detecting each pressure pulse wave used for the calibration data generation. It is set as a representative value (for example, average value) of movement.
  • the pressure pulse wave detection unit 100 of the blood pressure measurement device shown in FIG. 15 may be changed to the pressure pulse wave detection unit 100A of FIG.
  • the operation up to the generation of calibration data in this case is almost the same as that shown in FIG.
  • the controller 12 calculates SBP and DBP in step S38, the height detected by the height detector 16 at the time of detection of each pressure pulse wave in the pulse wave envelope data generated in step S37.
  • step S37 Information on the motion detected by the body motion detector 17 at the time of detection of each pressure pulse wave in the pulse wave envelope data generated in step S37 (average motion), and step S37
  • the identification ID of the optimum pressure sensor that has detected the pressure pulse wave having the maximum amplitude among the pressure pulse waves in the pulse wave envelope data generated in step S3, and the pressing force when the pressure pulse wave with the maximum amplitude is detected May be stored in the memory 15 as a pressure pulse wave detection condition used for generating calibration data.
  • step S41 of FIG. 16 the control part 12 should just hold
  • FIG. 17 is a flowchart showing a modified example of the operation of the blood pressure measurement device shown in FIG. 15 during continuous blood pressure measurement. In FIG. 17, the same processes as those in FIG. 17
  • step S47 the controller 12 calibrates the pressure pulse wave detected by the optimum pressure sensor determined in step S42 with the calibration data, and calculates SBP and DBP (step S51).
  • control unit 12 determines the difference between the height stored in step S11 of FIG. 6 or step S38 of FIG. 14 and the height detected by the height detection unit 16 at the time of detection of the pressure pulse wave acquired in step S46. Accordingly, the SBP and DBP calculated in step S51 are corrected (step S52), and then the process of step S50 is performed.
  • the pressure pulse wave detected by the optimum pressure sensor is calibrated to calculate blood pressure. For this reason, if the height of the device mounting part differs between when the calibration data is generated and when the pressure pulse wave acquired in step S46 is detected, an error is included in the blood pressure after calibration due to the difference in height. there is a possibility.
  • step S52 the control unit 12 determines the height of the device mounting portion when the calibration data is generated and the height of the device mounting portion when the pressure pulse wave is detected by the optimum pressure sensor during continuous blood pressure measurement.
  • the blood pressure is corrected by adding or subtracting the value obtained by multiplying the difference ⁇ H by the hydraulic head pressure to SBP and DBP calculated in step S51.
  • the blood pressure value obtained by calibrating this pressure pulse wave is used as the wrist at the time of calibration data generation.
  • one element row may be provided in the pressure pulse wave detection unit 100.
  • column was each formed in two press surfaces may be sufficient.
  • the modification described with reference to FIGS. 15 to 17 can achieve the effect even when the pressure pulse wave detector 100 has only one pressure sensor.
  • the blood pressure measurement is not performed when the determination in step S44 is NO.
  • the process returns to step S1 in FIG. 6, that is, calibration data generation.
  • a configuration may be adopted in which the processing in steps S1 to S12 is performed again. Since the blood pressure measurement device of the present embodiment can easily generate calibration data, it is possible to perform continuous blood pressure measurement with high accuracy by performing calibration data generation again.
  • step S47 when the determination of step S47 is NO or when the determination of step S47 is repeated a predetermined number of times, the process returns to step S1 of FIG. Also good.
  • step S48 when the determination in step S48 is NO, or when the determination in step S48 is repeated for a predetermined number of times, the process returns to step S1 in FIG. Also good.
  • the control unit 12 of this embodiment can also be provided as a program for causing a computer to execute the steps shown in FIGS. 6, 12, 14, 16, and 17.
  • a program is recorded on a non-transitory recording medium in which the program can be read by a computer.
  • Such “computer-readable recording medium” includes, for example, an optical medium such as a CD-ROM (Compact Disc-ROM), a magnetic recording medium such as a memory card, and the like. Such a program can also be provided by downloading via a network.
  • an optical medium such as a CD-ROM (Compact Disc-ROM)
  • a magnetic recording medium such as a memory card, and the like.
  • Such a program can also be provided by downloading via a network.
  • the disclosed blood pressure measurement device includes a pressing surface on which a pressure detection unit is formed, a pressing unit that presses the pressing surface against an artery under the skin of a living body, and a pressing control unit that controls the pressing force by the pressing unit;
  • the first blood pressure value in the artery is calculated based on the first pressure pulse wave detected by the pressure detecting unit in the process of increasing or decreasing the pressing force by the control of the pressing control unit.
  • a blood pressure calculator for generating calibration data based on the pressure pulse wave detected by the pressure detector and the first blood pressure value, and flattening a part of the artery
  • a second pressure pulse wave detected by the pressure detection unit in a state where the pressing surface is pressed against the artery with an optimal pressing force for deforming is calibrated using the calibration data, and the inside of the artery
  • a second blood pressure calculation unit for calculating a second blood pressure value
  • a determination unit that determines whether or not the detection condition of the second pressure pulse wave and the detection condition of the pressure pulse wave used to generate the calibration data match, and processing according to the determination result by the determination unit
  • a processing unit to perform
  • the pressure detection unit may have either a configuration including a plurality of pressure detection elements or a configuration including only one pressure detection element.
  • the pressure detection unit includes an element array including a plurality of pressure detection elements arranged in a direction intersecting a direction in which the artery extends in a state where the pressing surface is pressed by the artery.
  • the second blood pressure calculation unit includes at least one of the at least one element row in a state where the pressing surface is pressed against the artery with an optimal pressing force for flatly deforming a part of the artery.
  • the second pressure pulse wave detected by one pressure detection element selected from among is calibrated using the calibration data to calculate the second blood pressure value, and the calibration data generation unit Generating the calibration data based on the pressure pulse wave detected in the increase or decrease process of the pressing force by the one pressure detection element selected from at least one element row and the first blood pressure value;
  • the processing unit is the second When the pressure detection element selected by the blood pressure calculation unit and the pressure detection element that is the output source of the pressure pulse wave used to generate the calibration data do not match, the second detected by the selected pressure detection element
  • the processing for calculating the second blood pressure value from the pressure pulse wave is stopped by the second blood pressure calculation unit, or the calibration data generation unit is made to update the calibration data.
  • the disclosed blood pressure measurement device further includes a motion detection unit that detects a movement of a living body part pressed by the pressing surface, and the processing unit is detected by the motion detection unit when detecting the second pressure pulse wave.
  • the processing unit is detected by the motion detection unit when detecting the second pressure pulse wave.
  • the disclosed blood pressure measurement apparatus further includes a height detection unit that detects a height of a living body part pressed against the pressing surface with respect to a reference position, and the processing unit detects the second pressure pulse wave when the second pressure pulse wave is detected.
  • the second pressure pulse wave When the height detected by the height detector and the height detected by the height detector when detecting the pressure pulse used to generate the calibration data do not match, the second pressure pulse wave
  • the second blood pressure calculation unit is caused to stop the process of calculating the second blood pressure value from the above, or the calibration data generation unit is made to update the calibration data.
  • the disclosed blood pressure measurement apparatus further includes a height detection unit that detects a height of a living body part pressed against the pressing surface with respect to a reference position, and the processing unit detects the second pressure pulse wave when the second pressure pulse wave is detected.
  • a height detection unit that detects a height of a living body part pressed against the pressing surface with respect to a reference position
  • the processing unit detects the second pressure pulse wave when the second pressure pulse wave is detected.
  • calibration data can be easily generated, and even when shared by a plurality of users, each user can easily start use, and blood pressure measurement accuracy can be improved.
  • a blood pressure measuring device capable of being provided can be provided.

Landscapes

  • Health & Medical Sciences (AREA)
  • Life Sciences & Earth Sciences (AREA)
  • Engineering & Computer Science (AREA)
  • General Health & Medical Sciences (AREA)
  • Veterinary Medicine (AREA)
  • Biophysics (AREA)
  • Biomedical Technology (AREA)
  • Heart & Thoracic Surgery (AREA)
  • Medical Informatics (AREA)
  • Molecular Biology (AREA)
  • Surgery (AREA)
  • Animal Behavior & Ethology (AREA)
  • Physics & Mathematics (AREA)
  • Public Health (AREA)
  • Pathology (AREA)
  • Physiology (AREA)
  • Vascular Medicine (AREA)
  • Cardiology (AREA)
  • Dentistry (AREA)
  • Oral & Maxillofacial Surgery (AREA)
  • Ophthalmology & Optometry (AREA)
  • Artificial Intelligence (AREA)
  • Computer Vision & Pattern Recognition (AREA)
  • Psychiatry (AREA)
  • Signal Processing (AREA)
  • Measuring Pulse, Heart Rate, Blood Pressure Or Blood Flow (AREA)
PCT/JP2015/078537 2014-10-31 2015-10-07 血圧測定装置 Ceased WO2016067866A1 (ja)

Priority Applications (3)

Application Number Priority Date Filing Date Title
CN201580059419.7A CN107072562B (zh) 2014-10-31 2015-10-07 血压测量装置
EP15855035.0A EP3213678B1 (en) 2014-10-31 2015-10-07 Blood pressure measurement device
US15/499,295 US10582861B2 (en) 2014-10-31 2017-04-27 Blood pressure measurement device

Applications Claiming Priority (2)

Application Number Priority Date Filing Date Title
JP2014-223248 2014-10-31
JP2014223248A JP6366462B2 (ja) 2014-10-31 2014-10-31 血圧測定装置

Related Child Applications (1)

Application Number Title Priority Date Filing Date
US15/499,295 Continuation US10582861B2 (en) 2014-10-31 2017-04-27 Blood pressure measurement device

Publications (1)

Publication Number Publication Date
WO2016067866A1 true WO2016067866A1 (ja) 2016-05-06

Family

ID=55857209

Family Applications (1)

Application Number Title Priority Date Filing Date
PCT/JP2015/078537 Ceased WO2016067866A1 (ja) 2014-10-31 2015-10-07 血圧測定装置

Country Status (5)

Country Link
US (1) US10582861B2 (enExample)
EP (1) EP3213678B1 (enExample)
JP (1) JP6366462B2 (enExample)
CN (1) CN107072562B (enExample)
WO (1) WO2016067866A1 (enExample)

Cited By (3)

* Cited by examiner, † Cited by third party
Publication number Priority date Publication date Assignee Title
JP2020513919A (ja) * 2017-01-24 2020-05-21 ヴェリリー ライフ サイエンシズ エルエルシー 指動脈血圧監視装置
EP3565460A4 (en) * 2017-01-05 2020-08-26 Livemetric (Medical) S.A. SYSTEM AND METHOD FOR PROVIDING USER FEEDBACK ON BLOOD PRESSURE SENSOR PLACEMENT AND CONTACT QUALITY
US12419527B2 (en) 2021-09-29 2025-09-23 Verily Life Sciences Llc Comprehensive wearable vital signs monitor

Families Citing this family (11)

* Cited by examiner, † Cited by third party
Publication number Priority date Publication date Assignee Title
JP6662166B2 (ja) * 2016-04-15 2020-03-11 オムロンヘルスケア株式会社 脈波検出装置、生体情報測定装置、脈波検出装置の制御方法、及び、脈波検出装置の制御プログラム
JP6798135B2 (ja) * 2016-04-15 2020-12-09 オムロンヘルスケア株式会社 脈波検出装置及び生体情報測定装置
JP6636872B2 (ja) * 2016-06-30 2020-01-29 京セラ株式会社 電子機器及び推定システム
JP6800759B2 (ja) 2017-01-04 2020-12-16 オムロン株式会社 ユーザ端末
JP6707179B2 (ja) * 2017-03-15 2020-06-10 オムロン株式会社 生体情報測定装置、方法及びプログラム
JP6837881B2 (ja) * 2017-03-15 2021-03-03 オムロン株式会社 生体情報測定装置、方法及びプログラム
JP2019048009A (ja) 2017-09-12 2019-03-28 オムロンヘルスケア株式会社 血圧推定装置
EP3915469B1 (en) * 2017-10-18 2025-09-24 Samsung Electronics Co., Ltd. Apparatus for estimating cardiovascular information
CN107960998B (zh) * 2018-01-02 2021-12-07 广东乐心医疗电子股份有限公司 血压测量装置
EP3566640A1 (en) * 2018-05-08 2019-11-13 Koninklijke Philips N.V. Apparatus for determining a blood pressure measurement
CN110897616A (zh) * 2019-12-05 2020-03-24 中国科学院微电子研究所 寸关尺脉位的检测装置和方法

Citations (4)

* Cited by examiner, † Cited by third party
Publication number Priority date Publication date Assignee Title
JPH0296104U (enExample) * 1989-01-18 1990-07-31
JPH07124130A (ja) * 1993-11-08 1995-05-16 Nippon Colin Co Ltd 連続血圧測定装置
WO2002039893A1 (en) * 2000-11-14 2002-05-23 Omron Corporation Electronic sphygmomanometer
JP2002325739A (ja) * 2001-04-27 2002-11-12 Nippon Colin Co Ltd 血圧波形モニタ装置

Family Cites Families (6)

* Cited by examiner, † Cited by third party
Publication number Priority date Publication date Assignee Title
JP2664926B2 (ja) 1988-03-23 1997-10-22 コーリン電子株式会社 血圧測定装置
JP2798698B2 (ja) 1989-04-03 1998-09-17 コーリン電子株式会社 血圧モニタ装置
JP3587793B2 (ja) * 2001-03-21 2004-11-10 コーリンメディカルテクノロジー株式会社 連続血圧監視装置
US7455643B1 (en) * 2003-07-07 2008-11-25 Nellcor Puritan Bennett Ireland Continuous non-invasive blood pressure measurement apparatus and methods providing automatic recalibration
JP2007319343A (ja) 2006-05-31 2007-12-13 Shibuya Kogyo Co Ltd 圧力検出装置
KR101577342B1 (ko) * 2009-05-07 2015-12-15 삼성전자주식회사 혈압 측정 장치 및 방법

Patent Citations (4)

* Cited by examiner, † Cited by third party
Publication number Priority date Publication date Assignee Title
JPH0296104U (enExample) * 1989-01-18 1990-07-31
JPH07124130A (ja) * 1993-11-08 1995-05-16 Nippon Colin Co Ltd 連続血圧測定装置
WO2002039893A1 (en) * 2000-11-14 2002-05-23 Omron Corporation Electronic sphygmomanometer
JP2002325739A (ja) * 2001-04-27 2002-11-12 Nippon Colin Co Ltd 血圧波形モニタ装置

Non-Patent Citations (1)

* Cited by examiner, † Cited by third party
Title
See also references of EP3213678A4 *

Cited By (5)

* Cited by examiner, † Cited by third party
Publication number Priority date Publication date Assignee Title
EP3565460A4 (en) * 2017-01-05 2020-08-26 Livemetric (Medical) S.A. SYSTEM AND METHOD FOR PROVIDING USER FEEDBACK ON BLOOD PRESSURE SENSOR PLACEMENT AND CONTACT QUALITY
JP2020513919A (ja) * 2017-01-24 2020-05-21 ヴェリリー ライフ サイエンシズ エルエルシー 指動脈血圧監視装置
US10874307B2 (en) 2017-01-24 2020-12-29 Verily Life Sciences Llc Digital artery blood pressure monitor
US12268484B2 (en) 2017-01-24 2025-04-08 Verily Life Sciences Llc Digital artery blood pressure monitor
US12419527B2 (en) 2021-09-29 2025-09-23 Verily Life Sciences Llc Comprehensive wearable vital signs monitor

Also Published As

Publication number Publication date
EP3213678A4 (en) 2018-06-06
JP6366462B2 (ja) 2018-08-01
US10582861B2 (en) 2020-03-10
CN107072562B (zh) 2019-09-27
EP3213678B1 (en) 2022-02-23
CN107072562A (zh) 2017-08-18
EP3213678A1 (en) 2017-09-06
US20170224226A1 (en) 2017-08-10
JP2016087002A (ja) 2016-05-23

Similar Documents

Publication Publication Date Title
JP6366462B2 (ja) 血圧測定装置
JP6385244B2 (ja) 血圧測定装置
JP6366463B2 (ja) 血圧測定装置
JP6366464B2 (ja) 血圧測定装置
CN109069021B (zh) 压力脉搏波检测装置和生物信息测量装置
JP6662166B2 (ja) 脈波検出装置、生体情報測定装置、脈波検出装置の制御方法、及び、脈波検出装置の制御プログラム
JP6672975B2 (ja) 脈波検出装置及び生体情報測定装置
JP6631376B2 (ja) 脈波検出装置、生体情報測定装置、脈波検出装置の制御方法、及び、脈波検出装置の制御プログラム
WO2016136865A1 (ja) 血圧測定装置及び血圧表示制御方法
JP6786856B2 (ja) 脈波検出装置、生体情報測定装置、脈波検出装置の制御方法、及び、脈波検出装置の制御プログラム
JP6627631B2 (ja) 脈波検出装置、生体情報測定装置、脈波検出装置の制御方法、及び、脈波検出装置の制御プログラム

Legal Events

Date Code Title Description
121 Ep: the epo has been informed by wipo that ep was designated in this application

Ref document number: 15855035

Country of ref document: EP

Kind code of ref document: A1

DPE2 Request for preliminary examination filed before expiration of 19th month from priority date (pct application filed from 20040101)
REEP Request for entry into the european phase

Ref document number: 2015855035

Country of ref document: EP

NENP Non-entry into the national phase

Ref country code: DE