WO2016021177A1 - コネクタおよび当該コネクタに用いられるヘッダならびにソケット - Google Patents

コネクタおよび当該コネクタに用いられるヘッダならびにソケット Download PDF

Info

Publication number
WO2016021177A1
WO2016021177A1 PCT/JP2015/003896 JP2015003896W WO2016021177A1 WO 2016021177 A1 WO2016021177 A1 WO 2016021177A1 JP 2015003896 W JP2015003896 W JP 2015003896W WO 2016021177 A1 WO2016021177 A1 WO 2016021177A1
Authority
WO
WIPO (PCT)
Prior art keywords
socket
header
power supply
terminal
housing
Prior art date
Legal status (The legal status is an assumption and is not a legal conclusion. Google has not performed a legal analysis and makes no representation as to the accuracy of the status listed.)
Ceased
Application number
PCT/JP2015/003896
Other languages
English (en)
French (fr)
Japanese (ja)
Inventor
公輔 吉岡
Current Assignee (The listed assignees may be inaccurate. Google has not performed a legal analysis and makes no representation or warranty as to the accuracy of the list.)
Panasonic Intellectual Property Management Co Ltd
Original Assignee
Panasonic Intellectual Property Management Co Ltd
Priority date (The priority date is an assumption and is not a legal conclusion. Google has not performed a legal analysis and makes no representation as to the accuracy of the date listed.)
Filing date
Publication date
Application filed by Panasonic Intellectual Property Management Co Ltd filed Critical Panasonic Intellectual Property Management Co Ltd
Priority to EP15828990.0A priority Critical patent/EP3179568B1/en
Priority to US15/314,576 priority patent/US9843117B2/en
Priority to CN201580031833.7A priority patent/CN106663888B/zh
Publication of WO2016021177A1 publication Critical patent/WO2016021177A1/ja
Anticipated expiration legal-status Critical
Priority to US15/808,678 priority patent/US10305205B2/en
Ceased legal-status Critical Current

Links

Images

Classifications

    • HELECTRICITY
    • H01ELECTRIC ELEMENTS
    • H01RELECTRICALLY-CONDUCTIVE CONNECTIONS; STRUCTURAL ASSOCIATIONS OF A PLURALITY OF MUTUALLY-INSULATED ELECTRICAL CONNECTING ELEMENTS; COUPLING DEVICES; CURRENT COLLECTORS
    • H01R12/00Structural associations of a plurality of mutually-insulated electrical connecting elements, specially adapted for printed circuits, e.g. printed circuit boards [PCB], flat or ribbon cables, or like generally planar structures, e.g. terminal strips, terminal blocks; Coupling devices specially adapted for printed circuits, flat or ribbon cables, or like generally planar structures; Terminals specially adapted for contact with, or insertion into, printed circuits, flat or ribbon cables, or like generally planar structures
    • H01R12/70Coupling devices
    • H01R12/71Coupling devices for rigid printing circuits or like structures
    • H01R12/712Coupling devices for rigid printing circuits or like structures co-operating with the surface of the printed circuit or with a coupling device exclusively provided on the surface of the printed circuit
    • H01R12/716Coupling device provided on the PCB
    • HELECTRICITY
    • H01ELECTRIC ELEMENTS
    • H01RELECTRICALLY-CONDUCTIVE CONNECTIONS; STRUCTURAL ASSOCIATIONS OF A PLURALITY OF MUTUALLY-INSULATED ELECTRICAL CONNECTING ELEMENTS; COUPLING DEVICES; CURRENT COLLECTORS
    • H01R12/00Structural associations of a plurality of mutually-insulated electrical connecting elements, specially adapted for printed circuits, e.g. printed circuit boards [PCB], flat or ribbon cables, or like generally planar structures, e.g. terminal strips, terminal blocks; Coupling devices specially adapted for printed circuits, flat or ribbon cables, or like generally planar structures; Terminals specially adapted for contact with, or insertion into, printed circuits, flat or ribbon cables, or like generally planar structures
    • H01R12/70Coupling devices
    • H01R12/7005Guiding, mounting, polarizing or locking means; Extractors
    • H01R12/7011Locking or fixing a connector to a PCB
    • H01R12/707Soldering or welding
    • HELECTRICITY
    • H01ELECTRIC ELEMENTS
    • H01RELECTRICALLY-CONDUCTIVE CONNECTIONS; STRUCTURAL ASSOCIATIONS OF A PLURALITY OF MUTUALLY-INSULATED ELECTRICAL CONNECTING ELEMENTS; COUPLING DEVICES; CURRENT COLLECTORS
    • H01R12/00Structural associations of a plurality of mutually-insulated electrical connecting elements, specially adapted for printed circuits, e.g. printed circuit boards [PCB], flat or ribbon cables, or like generally planar structures, e.g. terminal strips, terminal blocks; Coupling devices specially adapted for printed circuits, flat or ribbon cables, or like generally planar structures; Terminals specially adapted for contact with, or insertion into, printed circuits, flat or ribbon cables, or like generally planar structures
    • H01R12/70Coupling devices
    • H01R12/71Coupling devices for rigid printing circuits or like structures
    • H01R12/72Coupling devices for rigid printing circuits or like structures coupling with the edge of the rigid printed circuits or like structures
    • H01R12/73Coupling devices for rigid printing circuits or like structures coupling with the edge of the rigid printed circuits or like structures connecting to other rigid printed circuits or like structures
    • HELECTRICITY
    • H01ELECTRIC ELEMENTS
    • H01RELECTRICALLY-CONDUCTIVE CONNECTIONS; STRUCTURAL ASSOCIATIONS OF A PLURALITY OF MUTUALLY-INSULATED ELECTRICAL CONNECTING ELEMENTS; COUPLING DEVICES; CURRENT COLLECTORS
    • H01R13/00Details of coupling devices of the kinds covered by groups H01R12/70 or H01R24/00 - H01R33/00
    • H01R13/40Securing contact members in or to a base or case; Insulating of contact members
    • H01R13/405Securing in non-demountable manner, e.g. moulding, riveting

Definitions

  • the present invention relates to a connector and a header and a socket used for the connector.
  • a connector having a socket in which a plurality of socket side terminals are arranged in a socket body and a header in which a plurality of header side terminals are arranged in a header body is known as a connector (see, for example, Patent Document 1). ).
  • Patent Document 1 a socket and a header are fitted to each other so that corresponding terminals are brought into contact with each other, and circuit patterns on a circuit board to which each terminal is connected are electrically connected to each other. .
  • a plurality of sets of terminals are generally used as signal terminals to which signal lines are connected, but a part of the plurality of sets of terminals is used as power supply terminals to which power lines are connected.
  • the connector according to the present disclosure includes a socket having a substantially rectangular socket housing in which a socket-side signal terminal and a socket-side power supply terminal are disposed, and a header-side signal terminal and a header-side power supply terminal.
  • a header having a rectangular header housing. By fitting the socket housing and the header housing, the socket-side signal terminal and the header-side signal terminal are in contact with each other, and the socket-side power supply terminal and the header-side power supply terminal are in contact with each other.
  • the socket housing is provided with a socket side holding metal fitting, and the socket side holding metal fitting has a fixed terminal to be soldered to a circuit pattern formed on a circuit board.
  • the terminal has a base portion soldered to a circuit pattern formed on the circuit board, and the fixed terminal and the base portion are soldered to a common circuit pattern.
  • a connector capable of further improving heat dissipation and a header and a socket used for the connector are obtained.
  • another connector of the present disclosure includes a socket having a substantially rectangular socket housing in which socket-side signal terminals and socket-side power supply terminals are disposed, and header-side signal terminals and header-side power supply terminals.
  • a header having a substantially rectangular header housing.
  • the header housing is provided with a header-side holding metal fitting, and the header-side holding metal fitting has a fixed terminal that is soldered to a circuit pattern formed on a circuit board.
  • the terminal has a base portion soldered to a circuit pattern formed on the circuit board, and the fixed terminal and the base portion are soldered to a common circuit pattern.
  • Still another connector of the present disclosure includes a socket having a substantially rectangular socket housing in which a socket-side signal terminal and a socket-side power supply terminal are disposed, a header-side signal terminal, and a header-side power supply terminal. And a header having a substantially rectangular header housing.
  • the socket-side signal terminal and the header-side signal terminal are in contact with each other, and the socket-side power supply terminal and the header-side power supply terminal are in contact with each other.
  • the header housing is provided with a header-side holding metal fitting, and the header-side holding metal fitting has a fixed terminal that is soldered to a circuit pattern formed on a circuit board.
  • the terminal has a base portion soldered to a circuit pattern formed on the circuit board, and the fixed terminal and the base portion are soldered to a common circuit pattern.
  • the connector of the present disclosure and the header and socket used in the connector can further improve heat dissipation.
  • FIG. 1 is a perspective view of a header of a connector according to an embodiment of the present invention as viewed from the back side.
  • FIG. 2 is a perspective view of the header of the connector according to the embodiment of the present invention as viewed from the front side.
  • FIG. 3 is a view showing the header of the connector according to the embodiment of the present invention.
  • FIG. 4 is a perspective view of the header housing of the connector according to the embodiment of the present invention as viewed from the back side.
  • FIG. 5 is a perspective view of the header housing of the connector according to the embodiment of the present invention as viewed from the front side.
  • FIG. 6 is a view showing the header housing of the connector according to the embodiment of the present invention.
  • FIG. 1 is a perspective view of a header of a connector according to an embodiment of the present invention as viewed from the back side.
  • FIG. 2 is a perspective view of the header of the connector according to the embodiment of the present invention as viewed from the front side.
  • FIG. 3 is a view
  • FIG. 7A is a first perspective view of a header-side signal terminal of the connector according to one embodiment of the present invention.
  • FIG. 7B is a second perspective view of the header-side signal terminal of the connector according to the embodiment of the present invention.
  • FIG. 7C is a third perspective view of the header-side signal terminal of the connector according to the embodiment of the present invention.
  • FIG. 7D is a fourth perspective view of the header-side signal terminal of the connector according to the embodiment of the present invention.
  • FIG. 8 is a view showing header-side signal terminals of the connector according to the embodiment of the present invention.
  • FIG. 9A is a side sectional view of a header-side signal terminal of the connector according to one embodiment of the present invention.
  • FIG. 9B is a horizontal sectional view of the header-side signal terminal of the connector according to the embodiment of the present invention.
  • FIG. 10A is a first perspective view of the header-side power supply terminal of the connector according to the embodiment of the present invention.
  • FIG. 10B is a second perspective view of the header-side power supply terminal of the connector according to the embodiment of the present invention.
  • FIG. 10C is a third perspective view of the header-side power supply terminal of the connector according to the embodiment of the present invention.
  • FIG. 10D is a fourth perspective view of the header-side power supply terminal of the connector according to the embodiment of the present invention.
  • FIG. 11 is a view showing a header-side power supply terminal of the connector according to the embodiment of the present invention.
  • FIG. 12A is a side sectional view of a header-side power supply terminal of the connector according to one embodiment of the present invention.
  • FIG. 12B is a horizontal sectional view of the header-side power supply terminal of the connector according to the embodiment of the present invention.
  • FIG. 13A is a first perspective view of the header side holding metal fitting of the connector according to the embodiment of the present invention.
  • FIG. 13B is a second perspective view of the header side holding metal fitting of the connector according to the embodiment of the present invention.
  • FIG. 13C is a third perspective view of the header-side holding metal fitting of the connector according to the embodiment of the present invention.
  • FIG. 13D is a fourth perspective view of the header side holding metal fitting of the connector according to the embodiment of the present invention.
  • FIG. 14 is a view showing the header side holding metal fitting of the connector according to the embodiment of the present invention.
  • FIG. 15 is a perspective view of the socket of the connector according to the embodiment of the present invention as viewed from the front side.
  • FIG. 16 is a perspective view of the socket of the connector according to the embodiment of the present invention as viewed from the back side.
  • FIG. 17 is a view showing a socket of a connector according to an embodiment of the present invention.
  • FIG. 18 is a perspective view of the socket housing of the connector according to one embodiment of the present invention as viewed from the front side.
  • FIG. 19 is a perspective view of the socket housing of the connector according to one embodiment of the present invention as viewed from the back side.
  • FIG. 15 is a perspective view of the socket of the connector according to the embodiment of the present invention as viewed from the front side.
  • FIG. 16 is a perspective view of the socket of the connector according to the embodiment of the present invention as viewed from the back side.
  • FIG. 17 is a
  • FIG. 20 is a view showing a socket housing of a connector according to an embodiment of the present invention.
  • FIG. 21A is a first perspective view of a socket-side signal terminal of the connector according to one embodiment of the present invention.
  • FIG. 21B is a second perspective view of the socket-side signal terminal of the connector according to one embodiment of the present invention.
  • FIG. 21C is a third perspective view of the socket-side signal terminal of the connector according to the embodiment of the present invention.
  • FIG. 21D is a fourth perspective view of the socket-side signal terminal of the connector according to one embodiment of the present invention.
  • FIG. 22 is a view showing socket-side signal terminals of the connector according to one embodiment of the present invention.
  • FIG. 23A is a side sectional view of the socket-side signal terminal of the connector according to the embodiment of the present invention.
  • FIG. 23B is a horizontal sectional view of the socket-side signal terminal of the connector according to the embodiment of the present invention.
  • FIG. 24A is a first perspective view of a socket-side power supply terminal of the connector according to one embodiment of the present invention.
  • FIG. 24B is a second perspective view of the socket-side power terminal of the connector according to the embodiment of the present invention.
  • FIG. 24C is a third perspective view of the socket-side power terminal of the connector according to the embodiment of the present invention.
  • FIG. 24D is a fourth perspective view of the socket-side power terminal of the connector according to the embodiment of the present invention.
  • FIG. 24A is a side sectional view of the socket-side signal terminal of the connector according to the embodiment of the present invention.
  • FIG. 23B is a horizontal sectional view of the socket-side signal terminal of the connector according to the embodiment of the present invention.
  • FIG. 25 is a diagram showing socket-side power supply terminals of the connector according to one embodiment of the present invention.
  • FIG. 26A is a side sectional view of the socket-side power supply terminal of the connector according to one embodiment of the present invention.
  • FIG. 26B is a horizontal sectional view of the socket-side power supply terminal of the connector according to one embodiment of the present invention.
  • FIG. 27A is a first perspective view of the socket-side holding metal fitting of the connector according to one embodiment of the present invention.
  • FIG. 27B is a second perspective view of the socket-side holding metal fitting of the connector according to one embodiment of the present invention.
  • FIG. 27C is a third perspective view of the socket-side holding metal fitting of the connector according to one embodiment of the present invention.
  • FIG. 27D is a fourth perspective view of the socket-side holding metal fitting of the connector according to one embodiment of the present invention.
  • FIG. 28 is a view showing the socket side holding metal fitting of the connector according to one embodiment of the present invention.
  • FIG. 29 is a view showing a state immediately before the header and the socket according to the embodiment of the present invention are fitted, and is a cross-sectional view cut at a portion where the header-side signal terminal and the socket-side signal terminal are arranged. It is.
  • FIG. 30 is a view showing a state in which the header and the socket according to the embodiment of the present invention are fitted, and is a cross-sectional view cut at a portion where the header-side signal terminal and the socket-side signal terminal are arranged. .
  • FIG. 28 is a view showing the socket side holding metal fitting of the connector according to one embodiment of the present invention.
  • FIG. 29 is a view showing a state immediately before the header and the socket according to the embodiment of the present invention are fitted, and is a cross-
  • FIG. 31 is a view showing a state immediately before the header and socket according to the embodiment of the present invention are fitted, and is a cross-sectional view cut at a portion where the header-side power supply terminal and the socket-side power supply terminal are arranged. It is.
  • FIG. 32 is a view showing a state in which the header and the socket according to the embodiment of the present invention are fitted, and is a cross-sectional view cut at a portion where the header-side power supply terminal and the socket-side power supply terminal are arranged.
  • FIG. 33A is a horizontal sectional view schematically showing a contact state between terminals according to an embodiment of the present invention, and is a horizontal section schematically showing a contact state between a header-side signal terminal and a socket-side signal terminal.
  • FIG. 33B is a horizontal cross-sectional view schematically showing a contact state between terminals according to an embodiment of the present invention, and a horizontal cross-section schematically showing a contact state between the header-side power supply terminal and the socket-side power supply terminal.
  • FIG. FIG. 34 is a perspective view schematically showing an example of a connection state between each terminal of the header and the circuit pattern according to the embodiment of the present invention.
  • FIG. 35 is a perspective view schematically showing an example of a connection state between each terminal of the socket and the circuit pattern according to the embodiment of the present invention.
  • FIG. 36 is a perspective view schematically showing another example of a connection state between each terminal of the header and the circuit pattern according to the embodiment of the present invention.
  • FIG. 37 is a perspective view schematically showing another example of a connection state between each terminal of the socket and the circuit pattern according to the embodiment of the present invention.
  • the current supplied from the power supply line is larger than the current supplied from the signal line. Therefore, if some of the terminals are used as power supply terminals, the amount of heat generated increases. . Therefore, it is necessary to suppress the heat from being accumulated in the connector by releasing the generated heat. At this time, it is preferable that more heat can be released.
  • the longitudinal direction of the connector is the X direction
  • the width direction (short side direction) of the connector is the Y direction
  • the vertical direction of the connector will be described as the Z direction.
  • the socket and header will be described with the upper side in the state shown in FIGS. 29 to 32 as the upper side in the vertical direction (front side) and the lower side as the lower side in the vertical direction (back side).
  • the connector 10 includes a header 20 and a socket 30 that are fitted to each other, as shown in FIGS.
  • the header 20 has a header housing 21 in which header-side signal terminals 22 and header-side power supply terminals 23 are disposed.
  • the socket 30 has a socket housing 31 in which socket-side signal terminals 32 and socket-side power supply terminals 33 are disposed.
  • the header-side signal terminal 22 and the socket-side signal terminal 32 are brought into contact with each other, and the header-side power supply terminal 23 and the socket-side power supply terminal 33 are Are in contact with each other.
  • socket 30 is attached to the second circuit board 40, and the header 20 is attached to the first circuit board 60.
  • the second circuit board 40 with the header 20 attached and the first circuit board 60 with the socket 30 attached are electrically connected.
  • the header-side signal terminals 22 and the header-side power supply terminals 23 are circuit patterns on the second circuit board 40. 41 is electrically connected.
  • a printed circuit board Printed Circuit Board
  • FPC Flexible Printed Circuit
  • the socket-side signal terminal 32 and the socket-side power supply terminal 33 are electrically connected to the circuit pattern 61 on the first circuit board 60.
  • the first circuit board 60 a printed circuit board (Printed Circuit Board), an FPC (Flexible Printed Circuit), or the like can be used.
  • the connector 10 concerning this embodiment is used in order to electrically connect the circuit boards in the electronic device as portable terminals, such as a smart phone.
  • the connector of the present invention may be used for electrical connection between any components as long as it is used in an electronic device.
  • the header 20 includes the header housing 21 as described above.
  • the header housing 21 is formed into an overall rectangular (rectangular) shape in plan view with an insulating synthetic resin (see FIGS. 1 to 6).
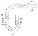
  • the header housing 21 is provided with a metal header-side signal terminal 22 and a metal header-side power supply terminal 23.
  • the header-side signal terminal 22 is a terminal that is electrically connected to the signal line and used to transmit a signal.
  • the header-side power supply terminal 23 is a terminal that is electrically connected to a power supply line and used to supply power.
  • one header side signal terminal 22 and two header side power supply terminals 23 are arranged in parallel along one long side of the header housing 21 so as to be separated from each other.
  • the header-side terminal group G1 is configured by one header-side signal terminal 22 and two header-side power supply terminals 23 arranged side by side in the width direction (short direction) Y of the header housing 21. Yes.
  • one header-side signal terminal 22 and two header-side power terminals 23 are arranged in parallel so as to be separated from each other.
  • One header side signal terminal 22 and two header side power supply terminals 23 arranged in parallel on the other side in the width direction (short direction) Y of the header housing 21 also constitute the header side terminal group G1. Yes.
  • the header housing 21 includes a header-side terminal including the header-side signal terminal 22 and the header-side power supply terminal 23 arranged along the longitudinal direction X of the header housing 21.
  • the group G1 is arranged in two rows (a plurality of rows).
  • header-side power supply terminals 23 are arranged at both ends of the header-side signal terminal 22, respectively.
  • the header-side power terminals 23 are disposed at both ends in the longitudinal direction X of the header housing 21, and the header-side signal terminals 22 are disposed between the header-side power terminals 23.
  • the header-side power supply terminal 23 is disposed outside the header-side signal terminal 22 in the longitudinal direction X of the header housing 21.
  • maintenance metal fittings 24 are arrange
  • the header side holding metal fitting 24 is used to increase the strength of the header housing 21 and to attach and fix the fixing terminal 24a included in the header side holding metal fitting 24 to the second circuit board 40 described above.
  • the header housing 21 is formed in a substantially box shape in which one side (the lower side in FIG. 5) is opened by a plate-like wall portion 21a and a peripheral wall portion 21b continuously formed in a substantially rectangular ring shape along the peripheral edge portion.
  • a recess 21c (see FIG. 1) is formed inside the peripheral wall portion 21b.
  • the taper part 21d which inclined so that it may be located in the upper part (plate-shaped wall part 21a side) toward the outer side is formed in the outer peripheral side lower end of the surrounding wall part 21b.
  • This taper part 21d is formed in the longitudinal direction both ends of the longitudinal direction wall part 21e of the surrounding wall part 21b, and the whole width direction Y of the transversal direction wall part 21f of the surrounding wall part 21b.
  • both ends of the header housing 21 the short-side wall portion 21f and the long-side end portion of the long-side wall portion 21e continuous to both ends in the width direction Y of the short-side wall portion 21f are seen in a plan view.
  • a substantially U-shaped tapered portion 21d is formed (as viewed from the back).
  • the peripheral wall portion 21b between the adjacent header-side signal terminal 22 and header-side power supply terminal 23 is curved in an R shape (inverted U shape).
  • the length in the width direction Y of the short-side wall portion 21f is formed to be larger than the distance between the two opposing longitudinal-direction wall portions 21e, and the header housing 21 is entirely viewed in plan view. It is formed in a substantially I shape.
  • FIGS. 7A to 7D FIG. 8, FIG. 9A, and FIG. 9B.
  • the header-side signal terminal 22 is manufactured by metal forming and is a conductor.
  • the header-side signal terminal 22 includes a base portion 22 a that protrudes from the side surface of the header housing 21.
  • the base portion 22 a is a portion that is fixed to the circuit pattern 41 of the second circuit board 40 with solder 50. Further, as can be seen from FIG. 29, the upper surface of the base portion 22a extends substantially parallel to the upper surface of the header housing 21 (the outer surface of the plate-like wall portion 21a).
  • the header-side signal terminal 22 includes an inner portion 22b that is continuous with the base portion 22a.
  • the inner portion 22b passes through the joint portion between the plate-like wall portion 21a and the longitudinal wall portion 21e of the header housing 21 while bending, and extends to the distal end portion of the longitudinal wall portion 21e along the inner surface of the longitudinal wall portion 21e. It extends.
  • a recess 22c is formed on the inner surface of the inner portion 22b of the header-side signal terminal 22.
  • the recess 22c is connected to both the flat back surface 22g, the inclined surfaces 22h connected to both sides of the back surface 22g in the longitudinal direction X, and both sides of the back surface 22g in the vertical direction Z.
  • the inclined surface 22i is formed in a substantially square frustum shape.
  • An arcuate protrusion 32k of a socket-side signal terminal 32, which will be described later, is fitted into the recess 22c.
  • the header-side signal terminal 22 includes a tip portion 22d continuous with one end of the inner portion 22b.
  • the distal end portion 22d is bent along the shape of the distal end of the longitudinal wall portion 21e of the header housing 21.
  • the header-side signal terminal 22 includes a locked portion 22e continuous to the tip portion 22d.
  • the locked portion 22e is formed from one end to the other end of the header-side signal terminal 22 in the longitudinal direction X of the header housing 21. That is, a stepped locked portion 22 e is formed over the entire width direction of the header-side signal terminal 22.
  • the locked portion 22 e is more than the locking portion 32 d as the stepped portion when the header-side signal terminal 22 is fitted into the socket-side signal terminal 32. It is inserted in the back. Therefore, the locked portion 22e contacts the locking portion 32d when the header-side signal terminal 22 is pulled out from the socket-side signal terminal 32. That is, the locked portion 22 e of the header side signal terminal 22 is locked by the locking portion 32 d of the socket side signal terminal 32. Accordingly, the withdrawal of the header-side signal terminal 22 from the socket-side signal terminal 32 is suppressed. That is, the header-side signal terminal 22 cannot be pulled out from the socket-side signal terminal 32 only by applying an external force smaller than a predetermined value.
  • the header-side signal terminal 22 can be pulled out from the socket-side signal terminal 32 when a large external force of a predetermined value or more is applied.
  • the locked portion 22e of the header-side signal terminal 22 and the locking portion 32d of the socket-side signal terminal 32 can be unlocked by applying an external force of a predetermined value or more.
  • the mechanism is configured.
  • the locked portion 22e may be manufactured by rolling a base material that partially varies the thickness of the header-side signal terminal 22, but is formed by bending the base material of the header-side signal terminal 22 in the thickness direction. May be manufactured.
  • the header-side signal terminal 22 includes an outer portion 22f that is continuous with the distal end portion 22d through the locked portion 22e and extends along the outer surface of the longitudinal wall portion 21e.
  • the distal end of the outer side portion 22f of the header-side signal terminal 22 is positioned by the protruding wall portion 21g protruding from the outer periphery of the longitudinal wall portion 21e (the peripheral wall portion 21b).
  • Such a header-side signal terminal 22 can be formed by bending a band-shaped metal material having a predetermined thickness.
  • the header-side signal terminal 22 is arranged in the header housing 21 by insert molding.
  • the header-side signal terminals 22 may be disposed in the header housing 21 by press-fitting the header-side signal terminals 22 into the header housing 21.
  • FIGS. 10A to 10D FIG. 11, FIG. 12A, and FIG. 12B.
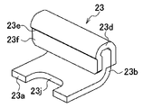
  • the header-side power supply terminal 23 is manufactured by metal forming and is a conductor.
  • the header-side power supply terminal 23 includes a base portion 23 a that protrudes from the side surface of the header housing 21.
  • the base portion 23 a is a portion that is fixed to the circuit pattern 41 of the second circuit board 40 by the solder 50. Further, as can be seen from FIG. 31, the upper surface of the base portion 23a extends substantially parallel to the upper surface of the header housing 21 (the outer surface of the plate-like wall portion 21a).
  • the header-side power supply terminal 23 includes an inner portion 23b that is continuous with the base portion 23a.
  • the inner side part 23b penetrates the joining part of the plate-like wall part 21a and the longitudinal wall part 21e of the header housing 21 while bending, and extends to the front end part of the longitudinal wall part 21e along the inner surface of the longitudinal wall part 21e. It extends.
  • a recess 23c is formed on the inner surface of the inner portion 23b of the header-side power supply terminal 23.
  • the recess 23c is connected to both sides of the flat back surface 23g, the inclined surfaces 23h connected to both sides of the back surface 23g in the longitudinal direction X, and the back surface 23g in the vertical direction Z.
  • the inclined surface 23i is formed in a substantially quadrangular pyramid shape.
  • An arc-shaped protrusion 33k of a socket-side power supply terminal 33 to be described later is fitted into the recess 23c.
  • the header-side power supply terminal 23 includes a distal end portion 23d continuous with one end of the inner side portion 23b.
  • the distal end portion 23 d is bent along the shape of the distal end of the longitudinal wall portion 21 e of the header housing 21.
  • the header-side power supply terminal 23 includes a locked portion 23e continuous to the tip portion 23d.
  • the locked portion 23e is deeper than the locking portion 33d as a step when the header-side power supply terminal 23 is fitted into the socket-side power supply terminal 33. Is inserted. Therefore, the locked portion 23e comes into contact with the locking portion 33d when the header-side power supply terminal 23 is pulled out from the socket-side power supply terminal 33. That is, the locked portion 23 e of the header-side power supply terminal 23 is locked by the locking portion 33 d of the socket-side power supply terminal 33. Accordingly, pulling out of the header side power supply terminal 23 from the socket side power supply terminal 33 is suppressed.
  • the header-side power supply terminal 23 cannot be pulled out from the socket-side power supply terminal 33 only by applying an external force smaller than a predetermined value.
  • the header-side power supply terminal 23 can be pulled out from the socket-side power supply terminal 33 when a large external force of a predetermined value or more is applied. That is, the locked portion 23e of the header-side power supply terminal 23 and the locking portion 33d of the socket-side power supply terminal 33 can be unlocked by applying an external force of a predetermined value or more.
  • the mechanism is configured.
  • the locked portion 23e may be manufactured by rolling a base material that partially varies the thickness of the header-side power supply terminal 23, but is formed by bending the base material of the header-side power supply terminal 23 in the thickness direction. May be manufactured.
  • the header-side power supply terminal 23 includes an outer portion 23f that is continuous with the distal end portion 23d through the locked portion 23e and extends along the outer surface of the longitudinal wall portion 21e. Furthermore, in the present embodiment, the distal end of the outer side portion 23f of the header-side power supply terminal 23 is positioned by the protruding wall portion 21h that protrudes from the outer periphery of the longitudinal wall portion 21e (the peripheral wall portion 21b).
  • the side cross-sectional shape of the header-side signal terminal 22 and the side cross-sectional shape of the header-side power supply terminal 23 have substantially the same shape (see FIGS. 9A and 12A).
  • the header-side signal terminal 22 and the header-side power supply terminal 23 are arranged along the longitudinal direction X of the header housing 21.
  • the header-side power supply terminal 23 is formed such that the width along the longitudinal direction X of the header housing 21 is wider than the width along the longitudinal direction X of the header-side signal terminal 22. ing.
  • the header-side signal terminal 22 is narrower in the longitudinal direction X of the header housing 21 than the header-side power supply terminal 23.
  • all header-side signal terminals 22 are narrower in the longitudinal direction X of the header housing 21 than the header-side power terminals 23.
  • the concave portion having a concave shape at the center in the longitudinal direction X of the base portion 23a. 23j is formed.
  • the concave portion 23j it is possible to increase the length of the contour line in contact with the circuit pattern of the base portion 23a while suppressing an increase in the protruding amount of the base portion 23a.
  • the shape of the contour line can be made more complicated. In this way, compared to the case where the recess 23j is not formed, the base 23a and the circuit pattern 41 when the wide header-side power supply terminal 23 is fixed to the circuit pattern 41 of the second circuit board 40 by the solder 50 are used. The fixing strength by the solder 50 increases.
  • two concave portions 23c are formed along the longitudinal direction X, and two arc-shaped protrusions of the socket-side power supply terminal 33 described later. Each of the portions 33k is fitted.
  • the locked portion 23e is formed from one end to the other end in the longitudinal direction X of the header housing 21 in the header-side power terminal 23. That is, a stepped locked portion 23e is formed over the entire width direction of the wide header-side power supply terminal 23. By doing so, the locking force by the locked portion 23e of the header-side power supply terminal 23 and the locking portion 33d of the socket-side power supply terminal 33 can be improved. In addition, when the insertion and removal of the header 20 and the socket 30 are repeated, the locked portion 23e is less likely to be worn, so that the product life can be extended.
  • Such a header-side power supply terminal 23 can be formed by bending a band-shaped metal material having a predetermined thickness.
  • the header-side power supply terminal 23 is arranged in the header housing 21 by insert molding.
  • the header-side power supply terminal 23 may be disposed in the header housing 21 by press-fitting the header-side power supply terminal 23 into the header housing 21.
  • the header side holding metal fitting 24 is manufactured by metal forming similarly to the header side signal terminal 22 and the header side power supply terminal 23.
  • the header-side holding bracket 24 includes a fixed terminal 24 a that protrudes from the side surface of the header housing 21.
  • the fixed terminal 24 a is a part that is fixed to the circuit pattern 41 of the second circuit board 40 by the solder 50.
  • the upper surface of the fixed terminal 24a also extends substantially parallel to the upper surface of the header housing 21 (the outer surface of the plate-like wall portion 21a).
  • the header side holding metal fitting 24 includes an inner portion 24b continuous with the fixed terminal 24a.
  • the inner portion 24b is formed with a notch 24c opened on one side in the longitudinal direction X.
  • the header side holding metal fitting 24 is arranged in the header housing 21 by insert molding.
  • the header side holding metal fitting 24 may be disposed in the header housing 21 by press-fitting the header side holding metal fitting 24 into the header housing 21.
  • the socket 30 includes the socket housing 31 as described above.
  • the socket housing 31 is formed into an overall rectangular (rectangular) shape in plan view with an insulating synthetic resin (see FIGS. 15 to 20).
  • the socket housing 31 is provided with a metal socket-side signal terminal 32 and a metal socket-side power supply terminal 33.
  • the socket-side signal terminal 32 is a terminal that is electrically connected to a signal line and used to transmit a signal.
  • the socket-side power supply terminal 33 is a terminal that is electrically connected to a power supply line and used to supply power.
  • one socket side signal terminal 32 and two socket side power supply terminals 33 are juxtaposed along one long side of the socket housing 31 so as to be separated from each other.
  • the socket-side terminal group G2 is composed of one socket-side signal terminal 32 and two socket-side power supply terminals 33 arranged in parallel on one side in the width direction (short direction) Y of the socket housing 31. Yes.
  • one socket-side signal terminal 32 and two socket-side power terminals 33 are arranged in parallel so as to be separated from each other.
  • One socket-side signal terminal 32 and two socket-side power terminals 33 arranged in parallel on the other side in the width direction (short direction) Y of the socket housing 31 also constitute the socket-side terminal group G2. Yes.
  • the socket housing 31 includes the socket-side signal terminal 32 and the socket-side power supply terminal 33 arranged along the longitudinal direction X of the socket housing 31.
  • the group G2 is arranged in two rows (a plurality of rows).
  • socket side power supply terminals 33 are arranged at both ends of the socket side signal terminal 32, respectively.
  • the socket-side power terminals 33 are disposed at both ends in the longitudinal direction X of the socket housing 31, and the socket-side signal terminals 32 are disposed between the socket-side power terminals 33.
  • the socket-side power supply terminal 33 is disposed outside the socket-side signal terminal 32 in the longitudinal direction X of the socket housing 31.
  • the socket-side signal terminal 32 and the socket-side power supply terminal 33 come into contact with the corresponding header-side signal terminal 22 and header-side power supply terminal 23 when the header 20 and the socket 30 are fitted.
  • the socket housing 31 is disposed.
  • metal socket side holding metal fittings 34 are disposed at both ends in the longitudinal direction X of the socket housing 31.
  • the socket side holding metal fitting 34 is used to increase the strength of the socket housing 31 and to attach and fix the fixing terminal 34d of the socket side holding metal fitting 34 to the first circuit board 60 described above.
  • the socket housing 31 is formed in a substantially box shape in which one side (the upper side in FIG. 15) is opened by a plate-like wall portion 31a and a peripheral wall portion 31b continuously formed in a substantially rectangular annular shape along the peripheral edge portion. ing. Furthermore, in this embodiment, the substantially rectangular island part 31c is formed in the center part of the plate-shaped wall part 31a at predetermined intervals from the surrounding wall part 31b. A substantially frame-shaped fitting groove 31d for fitting the peripheral wall 21b of the header 20 is formed between the peripheral wall 31b and the island 31c. In addition, the island part 31c is fitted by the recessed part 21c.
  • the fitting groove portion 31d is formed so that both end portions in the longitudinal direction Y are wide. .
  • the taper part 31e inclined so that it may be located below is formed in the inner peripheral side upper end of the surrounding wall part 31b as it goes inside.
  • This taper part 31e is formed in the longitudinal direction both ends of the longitudinal direction wall part 31h of the surrounding wall part 31b, and the transversal direction wall part 31i of the surrounding wall part 31b.
  • a tapered portion 31e is also formed on the peripheral wall portion 31b between the adjacent socket-side signal terminal 32 and the socket-side power supply terminal 33.
  • the taper part 31e is formed over the perimeter of the surrounding wall part 31b.
  • the socket housing 31 is formed with a socket-side signal terminal accommodating portion 31f for accommodating the socket-side signal terminal 32 so as to penetrate the plate-like wall portion 31a (from FIG. 18). FIG. 20).
  • the socket housing 31 is formed with a socket-side power supply terminal accommodating portion 31g for accommodating the socket-side power supply terminal 33 so as to penetrate the plate-like wall portion 31a.
  • the socket-side signal terminal accommodating portion 31f is formed in the longitudinal wall portion 31h so that the socket-side signal terminal accommodating recess portion 31j communicates with the fitting groove portion 31d, and the socket-side signal terminal accommodating recess portion 31m in the island portion 31c. Is formed so as to communicate with the fitting groove 31d.
  • the socket-side power terminal accommodating portion 31g is formed so that the socket-side power terminal accommodating recess 31k communicates with the fitting groove 31d in the longitudinal wall portion 31h, and the socket-side power terminal accommodating in the island portion 31c.
  • the recess 31n is formed so as to communicate with the fitting groove 31d.
  • the socket-side signal terminal 32 and the socket-side power supply terminal 33 are press-fitted into the socket-side signal terminal accommodating portion 31f and the socket-side power supply terminal accommodating portion 31g from the back side of the socket housing 31, respectively.
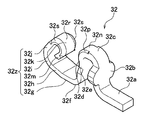
  • FIGS. 21A to 21D FIG. 22, FIG. 23A, and FIG. 23B.
  • the socket-side signal terminal 32 is manufactured by metal forming and is a conductor.
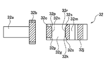
  • the socket-side signal terminal 32 includes a base portion 32 a that protrudes from the side surface of the socket housing 31.
  • the base portion 32 a is a portion that is fixed to the circuit pattern 61 of the first circuit board 60 by the solder 70.
  • the bottom surface of the base portion 32a extends along the main surface M of the first circuit board 60 and is positioned in the same plane as the bottom surface of the socket housing 31 (the back surface of the plate-like wall portion 31a).
  • the socket-side signal terminal 32 includes a rising portion 32 b that rises from the base portion 32 a and extends away from the first circuit board 60.
  • the rising portion 32b is bent from the base portion 32a, enters the socket-side signal terminal accommodating recess 31j, and extends along the inner surface of the longitudinal wall portion 31h.
  • the socket-side signal terminal 32 includes an inverted U-shaped portion 32c whose one end is continuous with the upper end of the rising portion 32b.
  • the inverted U-shaped portion 32c has a shape in which the letter “U” is arranged upside down.
  • the inverted U-shaped part 32c has a tip surface 32n and inclined surfaces 32p provided on both sides in the longitudinal direction X of the tip surface 32n, and protrudes in a substantially trapezoidal shape in a horizontal sectional view. (See FIG. 23B).
  • the socket-side signal terminal 32 includes a locking portion 32d continuous with the other end of the inverted U-shaped portion 32c.
  • the locking portion 32 d is formed from one end to the other end in the longitudinal direction X of the socket housing 31 in the socket-side signal terminal 32. That is, a stepped locking portion 32 d is formed over the entire width direction of the socket-side signal terminal 32.
  • the locking portion 32d functions as a portion that suppresses the movement of the locked portion 22e when the header-side signal terminal 22 is pulled out from the socket-side signal terminal 32 as described above. That is, the locking portion 32d of the socket-side signal terminal 32 can abut on the locked portion 22e of the header-side signal terminal 22 to lock the locked portion 22e.
  • the locking portion 32d of the socket-side signal terminal 32 and the locked portion 22e of the header-side signal terminal 22 constitute a locking mechanism that can be unlocked by applying an external force of a predetermined value or more. ing.
  • the locking portion 32d may be manufactured by rolling a base material that partially varies the thickness of the socket-side signal terminal 32, but is formed by bending the base material of the socket-side signal terminal 32 in the thickness direction. May be manufactured.
  • the socket-side signal terminal 32 has a falling portion 32e that is continuous with the locking portion 32d and extends substantially parallel to the rising portion 32b.
  • the socket-side signal terminal 32 includes a first arc-shaped portion 32f continuous to the lower end of the falling portion 32e.
  • the socket-side signal terminal 32 includes a facing portion 32z that is continuous with the first arc-shaped portion 32f.
  • the facing part 32z includes a flat part 32g, a first oblique part 32h, a second arcuate part 32i, a second oblique part 32j, an arcuate protrusion 32k, and a tip part 32m, which will be described next.
  • the facing portion 32z is as follows.
  • the facing portion 32z includes a flat portion 32g continuous to the lower end of the arc-shaped portion 32f. As shown in FIG. 29, the flat portion 32g extends along the main surface M of the first circuit board 60 so as to be separated from the falling portion 32e. However, the flat portion 32g does not need to be parallel to the main surface M.
  • the flat portion 32g is provided to increase the spring length of a spring portion described later.
  • the facing portion 32 z includes a first oblique portion 32 h that is continuous with the flat portion 32 g and extends obliquely with respect to the main surface M of the first circuit board 60.
  • the first oblique portion 32h extends away from the falling portion 32e as it is away from the first circuit board 60.
  • the first oblique portion 32h is continuous with the second arc-shaped portion 32i.
  • the second arcuate portion 32i is a curved portion that protrudes away from the falling portion 32e.
  • the second arcuate portion 32 i is continuous with the second oblique portion 32 j extending in the oblique direction with respect to the main surface M of the first circuit board 60.
  • the second oblique portion 32j extends so as to approach the falling portion 32e as the distance from the first circuit board 60 increases. Therefore, the second oblique portion 32j is positioned above the first oblique portion 32h.
  • the facing portion 32z includes an arc-shaped protrusion 32k having one end continuous at the upper end of the second oblique portion 32j.
  • the arc-shaped protruding portion 32k has a tip surface 32r and inclined surfaces 32s provided on both sides in the longitudinal direction X of the tip surface 32r, and is formed in a protruding shape that protrudes in a substantially trapezoidal shape in a horizontal sectional view. (See FIG. 26B).
  • the arcuate protrusion 32k is fitted into the recess 22c of the header signal terminal 22 as shown in FIG.
  • the other end of the arcuate protrusion 32k is continuous with the tip 32m.
  • the distal end portion 32m extends substantially parallel to the second oblique portion 32j.
  • the facing portion 32z (32g, 32h, 32i, 32j, 32k, 32m) is continuous with the lower end of the arc-shaped portion 32f and faces the falling portion 32e as a whole.
  • the header-side signal terminal 22 is inserted between the inverted U-shaped portion 32c and the arc-shaped protruding portion 32k. Is done. At this time, the falling part 32e, the arcuate part 32f, the flat part 32g, the first oblique part 32h, the arcuate part 32i, the second oblique part 32j, the arcuate protrusion part 32k, and the tip part 32m are integrally formed. It functions as a spring part.
  • the spring portions (32e, 32f, 32g, 32h, 32i, 32j, 32k, 32m) are elastically deformed when the convex portion of the header-side signal terminal 22 is inserted into the concave portion of the socket-side signal terminal 32.
  • the distance between the two portions of the falling portion 32e and the inverted U-shaped portion 32c and the arc-shaped protruding portion 32k is increased.
  • the locked portion 22 e of the header side signal terminal 22 is inserted below the locking portion 32 d of the socket side signal terminal 32.
  • the arc-shaped protrusion 32 k of the socket-side signal terminal 32 is fitted into the recess 22 c of the header-side signal terminal 22.
  • the header side signal terminal 22 In the state where the header side signal terminal 22 is fitted to the socket side signal terminal 32, a restoring force is generated in the elastically deformed spring portion. Due to this restoring force, the arc-shaped protrusion 32k presses the header-side signal terminal 22 against each of the falling portion 32e and the inverted U-shaped portion 32c. Thereby, the header-side signal terminal 22 is sandwiched between the socket-side signal terminals 32. At this time, the header-side signal terminal 22 comes into contact with each of the inverted U-shaped portion 32c, the falling portion 32e, and the arc-shaped protruding portion 32k of the socket-side signal terminal 32.
  • the leading end portion 22d of the header-side signal terminal 22 is connected to the falling portion 32e of the socket-side signal terminal 32.
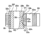
  • the contact portion R1 of the socket-side signal terminal 32 and the contact portion R1 of the header-side signal terminal 22 come into contact with each other.
  • the recess 22c of the header signal terminal 22 contacts the arcuate protrusion 32k of the socket signal terminal 32. That is, the contact part R2 of the socket-side signal terminal 32 and the contact part R2 of the header-side signal terminal 22 come into contact with each other.
  • the header-side signal terminal 22 and the socket-side signal terminal 32 are in contact with each other at a plurality of contacts (contact portion R1 and contact portion R2) separated in the width direction Y. Therefore, the reliability of the electrical connection between the header-side signal terminal 22 and the socket-side signal terminal 32 is high.
  • the contact portion of the header-side signal terminal 22 that is one of the contact portion R2 of the socket-side signal terminal 32 and the contact portion R2 of the header-side signal terminal 22 that are in contact with each other.
  • a recess 22c is formed in R2.
  • the contact portion R2 of the socket-side signal terminal 32, which is the other contact portion, is in contact with both ends in the longitudinal direction X of the socket housing 31 in the recess 22c.
  • the contact portion R2 of the socket-side signal terminal 32 is in contact with the contact portion R2 of the header-side signal terminal 22 at two points (contact C1 and contact C2).
  • the boundary portion between the flat portion 32g and the first oblique portion 32h contacts the first circuit board 60 at the contact portion R5 in addition to the contact portion R1 and the contact portion R2. In some cases.
  • header-side signal terminal 22 and the socket-side signal terminal 32 of the present embodiment are in contact with each other at a plurality of contacts spaced in the width direction Y.
  • the header-side signal terminal and the socket-side signal terminal of the present invention are, for example, in contact with only one contact point between the inner side surface of the header-side signal terminal and the facing portion of the socket-side signal terminal. Also good.
  • the spring portions (32e, 32f, 32g, 32h, 32i, 32j, 32k, 32m) are formed of a U-shaped portion (32e, 32f, 32g, 32h, 32i, 32j) and the U-shaped portion (32e, 32j, 32j).
  • a contact portion R2 of the socket-side signal terminal 32 is provided on the arc-shaped protrusion 32k of the free end (32k, 32m).
  • the socket-side signal terminal 32 has U-shaped portions (32e, 32f, 32g, 32h, 32i, 32j), and the U-shaped portions (32e, 32f, 32g, 32h, 32i). , 32j) is connected to a free end portion (32k, 32m) provided with a contact portion R2 at one end (32j side).
  • Such a socket-side signal terminal 32 can be formed by bending a band-shaped metal material having a predetermined thickness.
  • the socket-side signal terminal 32 is inserted (press-fitted) into the socket-side signal terminal accommodating portion 31f from the back surface side (the lower side in FIG. 15) of the socket housing 31, thereby 31 is attached.
  • socket-side signal terminal 32 may be attached to the socket housing 31 by insert molding the socket-side signal terminal 32 into the socket housing 31 or the like.
  • the socket-side power supply terminal 33 is manufactured by metal forming and is a conductor.
  • the socket-side power supply terminal 33 includes a root portion 33 a that protrudes from the side surface of the socket housing 31.
  • the base portion 33 a is a portion that is fixed to the circuit pattern 61 of the first circuit board 60 by the solder 70.
  • the bottom surface of the base portion 33a extends along the main surface M of the first circuit board 60 and is positioned in the same plane as the bottom surface of the socket housing 31 (the back surface of the plate-like wall portion 31a).
  • the socket-side power supply terminal 33 includes a rising portion 33 b that rises from the base portion 33 a and extends away from the first circuit board 60.
  • the rising portion 33b is bent from the base portion 33a, enters the socket-side power terminal accommodating recess 31k, and extends along the inner surface of the longitudinal wall portion 31h.
  • the socket-side power supply terminal 33 includes an inverted U-shaped portion 33c whose one end is continuous with the upper end of the rising portion 33b.
  • the inverted U-shaped portion 33c has a shape in which the letter “U” is arranged upside down.
  • the inverted U-shaped portion 33c has a tip surface 33r and inclined surfaces 33s provided on both sides in the longitudinal direction X of the tip surface 33r, and protrudes in a substantially trapezoidal shape in a horizontal sectional view. (See FIG. 26B).
  • the socket-side power supply terminal 33 includes a locking portion 33d that is continuous with the other end of the inverted U-shaped portion 33c. As described above, the locking portion 33d functions as a portion that suppresses the movement of the locked portion 23e when the header-side power supply terminal 23 is pulled out from the socket-side power supply terminal 33. That is, the locking portion 33 d of the socket-side power supply terminal 33 can abut on the locked portion 23 e of the header-side power supply terminal 23 to lock the locked portion 23 e.
  • the locking portion 33d of the socket-side power supply terminal 33 and the locked portion 23e of the header-side power supply terminal 23 constitute a lock mechanism that can be released from being locked by applying an external force of a predetermined value or more. ing.
  • the locking portion 33d may be manufactured by rolling a base material that partially varies the thickness of the socket-side power supply terminal 33, but is formed by bending the base material of the socket-side power supply terminal 33 in the thickness direction. May be manufactured.
  • the socket-side power supply terminal 33 has a falling portion 33e that is continuous with the locking portion 33d and extends substantially parallel to the rising portion 33b.
  • the socket-side power supply terminal 33 includes a first arc-shaped portion 33f continuous to the lower end of the falling portion 33e.
  • the socket-side power supply terminal 33 includes a facing portion 33 z that is continuous with the first arc-shaped portion 33 f.
  • the facing part 33z includes a flat part 33g, a first oblique part 33h, a second arcuate part 33i, a second oblique part 33j, an arcuate protrusion 33k, and a tip part 33m, which will be described next.
  • the facing portion 33z is specifically as follows.
  • the facing portion 33z includes a flat portion 33g continuous to the lower end of the arc-shaped portion 33f. As shown in FIG. 31, the flat portion 33g extends along the main surface M of the first circuit board 60 so as to be separated from the falling portion 33e. However, the flat portion 33g does not need to be parallel to the main surface M.
  • the flat portion 33g is provided to increase the spring length of a spring portion described later.
  • the facing portion 33 z includes a first inclined portion 33 h that is continuous with the flat portion 33 g and extends in an oblique direction with respect to the main surface M of the first circuit board 60.
  • the first oblique portion 33h extends away from the falling portion 33e as the distance from the first circuit board 60 increases.
  • the first oblique portion 33h is continuous with the second arc-shaped portion 33i.
  • the second arc-shaped portion 33i is a curved portion that protrudes away from the falling portion 33e.
  • the second arcuate portion 33 i is continuous with the second oblique portion 33 j extending in the oblique direction with respect to the main surface M of the first circuit board 60.
  • the second oblique portion 33j extends so as to approach the falling portion 33e as the distance from the first circuit board 60 increases. Therefore, the second oblique portion 33j is positioned above the first oblique portion 33h.
  • the opposing portion 33z includes an arc-shaped protrusion 33k having one end continuous at the upper end of the second oblique portion 33j.
  • the arc-shaped protrusion 33k has a tip surface 33v and inclined surfaces 33w provided on both sides in the longitudinal direction X of the tip surface 33v, and is formed in a protruding shape that protrudes in a substantially trapezoidal shape in a horizontal sectional view. (See FIG. 26B).
  • the arcuate protrusion 33k is fitted into the recess 23c of the header power supply terminal 23 as shown in FIG.
  • the other end of the arc-shaped protrusion 33k is continuous with the tip 33m.
  • the distal end portion 33m extends substantially parallel to the second oblique portion 33j.
  • the facing portion 33z (33g, 33h, 33i, 33j, 33k, 33m) is continuous with the lower end of the arc-shaped portion 33f and faces the falling portion 33e as a whole.
  • the header-side power supply terminal 23 is inserted between the inverted U-shaped portion 33c and the arc-shaped protruding portion 33k. Is done. At this time, the falling part 33e, the arcuate part 33f, the flat part 33g, the first oblique part 33h, the arcuate part 33i, the second oblique part 33j, the arcuate projection part 33k, and the tip part 33m are integrally formed. It functions as a spring part.
  • the spring portions (33e, 33f, 33g, 33h, 33i, 33j, 33k, 33m) are elastically deformed when the convex portion of the header-side power supply terminal 23 is inserted into the concave portion of the socket-side power supply terminal 33.
  • the distance between the two portions of the falling portion 33e and the inverted U-shaped portion 33c and the arc-shaped protruding portion 33k is increased.
  • the locked portion 23 e of the header-side power supply terminal 23 is inserted below the locking portion 33 d of the socket-side power supply terminal 33.
  • the arc-shaped protrusion 33 k of the socket-side power supply terminal 33 fits into the recess 23 c of the header-side power supply terminal 23.
  • the leading end portion 23d of the header-side power supply terminal 23 contacts the falling portion 33e of the socket-side power supply terminal 33. That is, the contact portion R3 of the socket-side power supply terminal 33 and the contact portion R3 of the header-side power supply terminal 23 come into contact with each other.
  • the concave portion 23 c of the header-side power supply terminal 23 comes into contact with the arc-shaped protrusion 33 k of the socket-side power supply terminal 33. That is, the contact part R4 of the socket-side power supply terminal 33 and the contact part R4 of the header-side power supply terminal 23 come into contact with each other.
  • the header-side power supply terminal 23 and the socket-side power supply terminal 33 are in contact with each other at a plurality of contacts (contact part R3 and contact part R4) spaced in the width direction Y. Therefore, the reliability of the electrical connection between the header-side power supply terminal 23 and the socket-side power supply terminal 33 is high.
  • the side cross-sectional shape of the socket-side signal terminal 32 and the side cross-sectional shape of the socket-side power supply terminal 33 have substantially the same shape (see FIGS. 23A and 26A).
  • the socket-side signal terminal 32 and the socket-side power supply terminal 33 are disposed along the longitudinal direction X of the socket housing 31.
  • the socket-side power supply terminal 33 is formed so that the width along the longitudinal direction X of the socket housing 31 is wider than the width along the longitudinal direction X of the socket-side signal terminal 32. ing.
  • the socket-side signal terminal 32 is narrower in the longitudinal direction X of the socket housing 31 than the socket-side power supply terminal 33.
  • all the socket-side signal terminals 32 are narrower in the longitudinal direction X of the socket housing 31 than the socket-side power terminals 33.
  • the width along the longitudinal direction X of the socket housing 31 in the socket-side power terminal 33 is widened, a concave portion that is cut into a concave shape at the central portion in the longitudinal direction X of the base portion 33a. 33n is formed.
  • the recess 33n By forming the recess 33n, the length of the contour line in contact with the circuit pattern of the base portion 33a can be increased while suppressing an increase in the protruding amount of the base portion 33a.
  • the shape of the contour line can be made more complicated.
  • the base portion 33a and the circuit pattern 61 when the wide socket-side power supply terminal 33 is fixed to the circuit pattern 61 of the first circuit board 60 by the solder 70 are used.
  • the fixing strength by the solder 70 is increased.
  • a hole 33p is formed in the central portion in the longitudinal direction X from the rising portion 33b to the inverted U-shaped portion 33c.
  • locking part 33d is formed from the one end of the longitudinal direction X of the socket housing 31 in the socket side power supply terminal 33 to the other end. That is, a step-shaped locking portion 33 d is formed over the entire width direction of the wide socket-side power supply terminal 33. By doing so, the locking force by the locked portion 23e of the header-side power supply terminal 23 and the locking portion 33d of the socket-side power supply terminal 33 can be improved. In addition, when the insertion and removal of the header 20 and the socket 30 are repeated, the engaging portion 33d is less likely to be worn, so that the product life can be extended.
  • the spring portion (33e, 33f, 33g, 33h, 33i, 33j, 33k, 33m) is formed of a U-shaped portion (33e, 33f, 33g, 33h, 33i, 33j) and the U shape. It is comprised with the free end part (33k, 33m) provided in a row by the one end (33j side) of a shape part (33e, 33f, 33g, 33h, 33i, 33j).
  • a contact portion R4 of the socket-side signal terminal 32 is provided on the arc-shaped protrusion 33k of the free ends (33k, 33m).
  • the socket-side power supply terminal 33 has U-shaped portions (33e, 33f, 33g, 33h, 33i, 33j), and the U-shaped portions (33e, 33f, 33g, 33h, 33i). , 33j) is connected to one end (33j side) of a free end portion (33k, 33m) provided with a contact portion R4.
  • two (plurality) are formed by forming a groove 33t that is notched in a band shape in a part of the spring portion (33e, 33f, 33g, 33h, 33i, 33j, 33k, 33m). ) Are provided.
  • the two (plural) pieces 35 and 36 have flexibility and can be bent independently.
  • a contact portion R4 is provided on each of the two pieces 35, 36.
  • the socket-side power supply terminal 33 and the header-side power supply terminal 23 are provided with a plurality of contact portions R4 that come into contact with each other.
  • contact portions R ⁇ b> 4 are provided at two locations along the longitudinal direction X of the socket housing 31.
  • the inner portion 33u of the groove 33t is located in the middle of the falling portion 33e. That is, the inner portion 33u of the groove portion 33t is located closer to the free end portion (33k, 33m) than the locking portion 33d.
  • the free end portions (33k, 33m) can be provided with a spring property without reducing the locking force by the locking portion 33d.
  • a partition wall 31r is formed in the socket-side power terminal accommodating recess 31n.
  • the partition wall 31r is inserted into the groove 33t, and the two (plural) pieces 35, 36 are formed. Interference with each other is suppressed.
  • the contact portion of the header-side power supply terminal 23 that is one of the contact portion R4 of the socket-side power supply terminal 33 and the contact portion R4 of the header-side power supply terminal 23 that are in contact with each other.
  • a recess 23c is formed in R4.
  • the contact portion R4 of the socket-side power supply terminal 33, which is the other contact portion, is in contact with both ends in the longitudinal direction X of the socket housing 31 in the recess 23c.
  • the contact portion R4 of the socket-side power supply terminal 33 is in contact with the contact portion R4 of the header-side power supply terminal 23 at two points (contact C1 and contact C2).
  • any of the two contact portions R4 formed so as to be separated from each other in the longitudinal direction X is in contact at two points (contact C1 and contact C2).
  • the boundary portion between the flat portion 33g and the first oblique portion 33h contacts the first circuit board 60 at the contact portion R5 in addition to the contact portion R3 and the contact portion R4. In some cases.
  • Such a socket-side power supply terminal 33 can be formed by bending a strip-shaped metal material having a predetermined thickness.
  • the socket-side power supply terminal 33 is inserted (press-fitted) into the socket-side power supply terminal accommodating portion 31 g from the back surface side (lower side in FIG. 15) of the socket housing 31, thereby 31 is attached.
  • socket-side power supply terminal 33 may be attached to the socket housing 31 by insert molding the socket-side power supply terminal 33 in the socket housing 31 or the like.
  • the socket side holding metal fitting 34 can be formed by bending a holding metal plate formed by press-molding a metal plate having a predetermined thickness, and the side plate portion extending in the width direction Y of the connector 10. 34a and a bottom plate portion 34c that is bent at a substantially right angle on the lower side of the side plate portion 34a toward the center in the longitudinal direction X. And the 1st fixed terminal 34j as the fixed terminal 34d is formed by making the both ends of the baseplate part 34c protrude outside from the width direction Y both sides of the connector 10. As shown in FIG.
  • extended portions 34 b are formed by bending both ends in the width direction Y of the side plate portion 34 a toward the center side in the longitudinal direction X of the connector 10.
  • a second fixed terminal 34k as a fixed terminal 34d that extends downward and is fixed to the first circuit board 60 with solder 70 is provided at the end portion 34g in the extending direction of the extended portion 34b. Is provided.
  • a set of fixed terminals formed by the first fixed terminal 34j and the second fixed terminal 34k disposed in the vicinity is disposed at both ends in the longitudinal direction X of the pair of long sides of the connector 10, A total of four sets are provided so as to be juxtaposed with the socket-side terminal group G2.
  • the socket-side holding metal fitting 34 is formed separately from the first fixed terminal 34j fixed on the first circuit board 60 and the first fixed terminal 34j. And a second fixed terminal 34k fixed on the circuit board 60. The second fixed terminal 34k extends from the extending portion 34b of the socket-side holding metal fitting 34.
  • the second fixed terminal 34k is provided at a position where the distance on the socket-side holding bracket 34 (distance along the outer surface of the socket-side holding bracket 34) from the paired first fixed terminal 34j is maximum. I am trying to do it.
  • the socket side holding metal fitting 34 is mounted (arranged) on the socket housing 31 by insert molding. At this time, at least a part of the socket-side holding metal fitting 34 is exposed along the socket housing 31.
  • a part of the outer surface 31s of the peripheral wall part 31b and the plate-like wall part 31a and a part of the outer wall surface 34e of the socket-side holding metal fitting 34 are substantially flush with each other.
  • the socket side holding metal fitting 34 is integrally formed with the socket housing 31 so that a part of the outer wall surface 34e of the socket side holding metal fitting 34 is substantially flush with the outer surface 31s of the peripheral wall portion 31b.
  • the upper part of the outer surface 34f of the side plate portion 34a is exposed in a flush manner with respect to the side surface (longitudinal end surface) 31t extending to the outermost end in the X direction (longitudinal direction) of the socket housing 31. Yes.
  • the socket side holding metal fitting 34 is exposed along at least one of the side surface 31t and the bottom surface 31u of the socket housing 31.
  • the outer surface 34i of the bottom plate portion 34c is not flush with the bottom surface 31u (outer surface 31s) of the socket housing 31, the outer surface 34i of the bottom plate portion 34c is exposed to the bottom surface 31u ( It is also possible to expose the outer surface 31s) in a flush state. Further, the outer wall surface 34e of the socket-side holding metal fitting 34 does not need to be exposed on the outer surface of the peripheral wall portion 31b (the outer surface 31s of the short-side wall portion 31i), and even if it is exposed, It is not necessary to expose the outer surface (the outer surface 31s of the short-side wall portion 31i) in a flush state.
  • outer wall surface 34e (outer surface 34h) of the extending portion 34b can be exposed from the outer surface of the peripheral wall portion 31b (the outer surface 31s of the longitudinal wall portion 31h). At this time, it may be exposed in a flush state or may be exposed so as not to be in a flush state.
  • the header 20 is fitted into the socket 30 by inserting and fitting the peripheral wall portion 21b of the header housing 21 into the fitting groove portion 31d of the socket housing 31.
  • the taper portion 31e and the taper portion 21d formed on the long side portion on one end side in the Y direction are overlapped, and Y It can be made to fit, shifting in the direction (width direction: short direction) other end side. If it carries out like this, the taper part 31e and the taper part 21d can be functioned as a lead-in part, and the header 20 can be more easily fitted now in the socket 30.
  • FIG. 1 the taper part 31e and the taper portion 21d formed on the long side portion on one end side in the Y direction (width direction: short direction) are overlapped, and Y It can be made to fit, shifting in the direction (width direction: short direction) other end side. If it carries out like this, the taper part 31e and the taper part 21d can be functioned as a lead-in part, and the header 20 can be more easily fitted now in the socket 30.
  • the contact portion R2 of the socket side signal terminal 32 and the contact portion R2 of the header side signal terminal 22 come into contact with each other.
  • the contact portion R4 of the socket-side power supply terminal 33 and the contact portion R4 of the header-side power supply terminal 23 come into contact with each other.
  • the socket-side signal terminal 32 and the header-side signal terminal 22 are electrically connected, and the socket-side power supply terminal 33 and the header-side power supply terminal 23 are electrically connected.
  • circuit pattern 61 of the first circuit board 60 and the circuit pattern 41 of the second circuit board 40 are electrically connected to each other.
  • the spring portions (33e, 33f, 33g, 33h, 33i, 33j, 33k, 33m) is elastically deformed, and the locking between the locking portion 33d and the locked portion 23e is released. At this time, the fitting of the arcuate protrusion 33k into the recess 23c is also released.
  • the header 20 and the socket 30 can be separated.
  • the header side holding metal fittings 24 are arranged at both ends in the longitudinal direction X of the header housing 21, and the socket side holding metal fittings 34 are arranged at both ends in the longitudinal direction X of the socket housing 31. ing.
  • the header-side holding metal fitting 24 and the socket-side holding metal fitting 34 are used for increasing the strength of the header housing 21 and the socket housing 31 and for mounting and fixing to the circuit board described above.
  • the header 20 is firmly bonded to the second circuit board 40 by soldering the fixed terminals 24a of the header-side holding metal fitting 24 to the second circuit board 40.
  • the socket 30 is firmly bonded to the first circuit board 60 by soldering the fixed terminals 34d of the socket-side holding metal fitting 34 to the first circuit board 60.
  • the header 20 and the socket 30 firmly coupled to each circuit board can be fitted to each other.
  • the header-side signal terminal 22 and the socket-side signal terminal 32 are brought into contact with each other, and the header-side power supply terminal 23 and the socket-side power supply terminal 33 are brought into contact with each other.
  • the structure for fixing each terminal and each holding bracket to the circuit pattern is not limited to the structure shown in FIGS.
  • the header-side signal terminal 22, the header-side power supply terminal 23 and the header-side holding metal fitting 24 can be fixed to the circuit pattern 41 as shown in FIG.
  • the base portion 22a of the header-side signal terminal 22 disposed in the central portion in the longitudinal direction X is fixed to the signal circuit pattern 41a by the solder 50, respectively.
  • the header-side power supply terminals 23 arranged on both sides in the longitudinal direction X are fixed to the circuit pattern 41b having a common base portion 23a with solder 50.
  • the header side holding metal fitting 24 is also fixed to the circuit pattern 41b with the fixed terminal 24a with the solder 50.
  • the header-side power supply terminals 23 and the header-side holding metal fittings 24 that are arranged adjacent to each other are soldered to a common circuit pattern 41b. That is, the header-side power supply terminal 23 and the header-side holding metal fitting 24 that are arranged adjacent to each other share the circuit pattern 41b.
  • the two header-side power supply terminals 23 disposed on one side of the longitudinal direction X are composed of the circuit pattern 41b disposed on one side of the longitudinal direction X and the header disposed on one side of the longitudinal direction X. It is electrically connected through the side holding metal fitting 24.
  • the two header-side power supply terminals 23 disposed on the other side of the longitudinal direction X are also provided with the circuit pattern 41b disposed on the other side of the longitudinal direction X and the header disposed on the other side of the longitudinal direction X. It is electrically connected through the side holding metal fitting 24.
  • the socket-side signal terminal 32, the socket-side power supply terminal 33, and the socket-side holding metal fitting 34 can be fixed to the circuit pattern 61 as shown in FIG.
  • the base 32a of the socket-side signal terminal 32 disposed at the center in the longitudinal direction X is fixed to the signal circuit pattern 61a with solder 70, respectively.
  • the socket-side power supply terminals 33 arranged on both sides in the longitudinal direction X are fixed with solder 70 to a circuit pattern 61b having a common base 33a.
  • the socket-side holding metal fitting 34 is also fixed to the circuit pattern 61b having the fixed terminal 34d by the solder 70.
  • the socket-side power supply terminals 33 and the socket-side holding metal fittings 34 arranged adjacent to each other are soldered to a common circuit pattern 61b.
  • the two socket-side power supply terminals 33 disposed on one side of the longitudinal direction X are composed of the circuit pattern 61b disposed on one side of the longitudinal direction X and the socket disposed on one side of the longitudinal direction X. It is electrically connected via the side holding metal fitting 34.
  • the two socket-side power supply terminals 33 disposed on the other side of the longitudinal direction X are also provided with the circuit pattern 61b disposed on the other side of the longitudinal direction X and the socket disposed on the other side of the longitudinal direction X. It is electrically connected via the side holding metal fitting 34.
  • the first fixed terminal 34j and the second fixed terminal 34k that are paired with each other are soldered to the circuit pattern 61b to which the root portion 33a is soldered.
  • header side signal terminal 22, the header side power supply terminal 23, and the header side holding metal fitting 24 can be fixed to the circuit pattern 41 as shown in FIG.
  • the base portion 22a of the header-side signal terminal 22 disposed in the central portion in the longitudinal direction X is fixed to the signal circuit pattern 41a by the solder 50, respectively.
  • header-side power supply terminals 23 arranged on both sides in the longitudinal direction X are fixed at the base 23a to the power supply circuit pattern 41c with solder 50.
  • the fixed terminal 24a is fixed to the circuit pattern 41d for metal fitting with the solder 50.
  • the fixed terminal 24a and the base 23a are soldered to different circuit patterns 41, respectively.
  • the socket-side signal terminal 32, the socket-side power supply terminal 33, and the socket-side holding metal fitting 34 can also be fixed to the circuit pattern 61 as shown in FIG.
  • the base 32a of the socket-side signal terminal 32 disposed at the center in the longitudinal direction X is fixed to the signal circuit pattern 61a with solder 70, respectively.
  • socket-side power supply terminals 33 arranged on both sides in the longitudinal direction X are fixed at the base portion 33a to the power supply circuit pattern 61c with the solder 70.
  • the fixed terminal 34d is fixed to the circuit pattern 61d for fixing the metal fitting with the solder 70.
  • FIG. 34 and FIG. 36 is selected as the fixing structure on the socket side, and any one of FIG. 35 and FIG. 37 is selected as the fixing structure on the header side, and they are combined to obtain the circuit of the connector 10.
  • a fixed structure to the pattern can be obtained.
  • the connector 10 of the present embodiment includes the socket 30 having the substantially rectangular socket housing 31 in which the socket-side signal terminal 32 and the socket-side power supply terminal 33 are disposed, and the header-side signal.
  • a header 20 having a substantially rectangular header housing 21 in which a terminal 22 and a header-side power supply terminal 23 are disposed.
  • the socket-side signal terminal 32 and the socket-side power supply terminal 33 are arranged along the longitudinal direction X of the socket housing 31, and the width of the socket housing 31 in the longitudinal direction X is larger than the socket-side power supply terminal 33. Has a narrow socket-side signal terminal 32.
  • the longitudinal direction X of the socket 30 can be reduced in size. Is possible.
  • the cross-sectional shape of the socket-side signal terminal 32 and the cross-sectional shape of the socket-side power supply terminal 33 are substantially the same. As a result, parts workability is improved and assembly workability is improved.
  • the socket housing 31 has a plurality of rows of socket-side terminal groups G2 including socket-side signal terminals 32 and socket-side power supply terminals 33 arranged along the longitudinal direction X of the socket housing 31. ing.
  • the terminal cross-sectional area can be increased, so that the current capacity can be increased.
  • the socket-side power terminal 33 has a stepped locking part 33 d that is locked to the header-side power terminal 23, and the locking part 33 d is a socket housing 31 in the socket-side power terminal 33. Are formed from one end to the other end in the longitudinal direction X.
  • the socket side power terminal 33 is provided outside the socket side signal terminal 32 in the longitudinal direction X of the socket housing 31.
  • the socket-side power terminal 33 having a large heat generation amount is disposed outside the socket housing 31 in the longitudinal direction X, the heat radiation efficiency can be further improved.
  • socket-side power supply terminal 33 and the header-side power supply terminal 23 are provided with a plurality of contact portions R4 that are in contact with each other along the longitudinal direction X of the socket housing 31.
  • the socket-side power supply terminal 33 is formed with a plurality of pieces 35 and 36, and a contact portion R4 is provided on each of the pieces 35 and 36.
  • the plurality of pieces 35 and 36 have flexibility and can be bent independently.
  • the contact resistance can be reduced while further improving the contact reliability of the terminal.
  • the socket-side power supply terminal 33 has U-shaped portions (33e, 33f, 33g, 33h, 33i, 33j).
  • a free end portion (33k, 33m) provided with a contact portion R4 is connected to one end (33j side) of the U-shaped portion (33e, 33f, 33g, 33h, 33i, 33j).
  • a plurality of pieces 35, 36 are formed at least at the free ends (33k, 33m).
  • one of the contact portions R4 of the socket-side power supply terminal 33 and the contact portion R4 of the header-side power supply terminal 23 that are in contact with each other has a recess 23c. Is formed.
  • the other contact portion contacts at both ends (contacts C1, C2) in the longitudinal direction X of the socket housing 31 in the recess 23c.
  • the socket housing 31 is provided with a socket side holding metal fitting 34, and at least a part (34a, 34c) of the socket side holding metal fitting 34 is exposed along the outer surface 31s of the socket housing 31.
  • the socket housing and the socket-side holding metal fitting can be more firmly fixed while reducing the size of the socket housing.
  • socket side holding metal fitting 34 is exposed along at least one of the side surface 31t and the bottom surface 31u of the socket housing 31.
  • socket side holding metal fitting 34 is disposed in the socket housing 31 by insert molding.
  • the socket housing and the socket-side holding metal fitting can be more firmly fixed, and the contact area with the socket housing can be increased as compared with the case of press-fitting, so that heat dissipation can be improved. It becomes like this.
  • the socket side holding metal fitting 34 has a fixed terminal 34 d to be soldered to the circuit pattern 61 formed on the first circuit board 60.
  • the socket-side power supply terminal 33 has a base portion 33 a that is soldered to the circuit pattern 61 formed on the circuit board 60.
  • the fixed terminal 34d and the base 33a are soldered to the common circuit pattern 61b.
  • the circuit pattern to which the socket side holding metal fitting 34 is fixed can also be used as a heat radiating plate for the heat generated by the socket side power supply terminal 33, and the heat dissipation can be further improved.
  • socket-side holding metal fitting 34 and the socket-side power supply terminal 33 are arranged so as to be adjacent to each other.
  • the fixed terminal 34d has a first fixed terminal 34j and a second fixed terminal 34k formed separately from the first fixed terminal 34j.
  • the socket side holding metal fitting 34 and the first circuit board 60 can be more firmly fixed.
  • header-side signal terminal 22 and the header-side power supply terminal 23 are arranged along the longitudinal direction X of the header housing 21, and the width in the longitudinal direction X of the header housing 21 is larger than the header-side power supply terminal 23. Has a narrow header-side signal terminal 22.
  • the longitudinal direction X of the header 20 can be reduced in size. Is possible.
  • the cross-sectional shape of the header-side signal terminal 22 and the cross-sectional shape of the header-side power supply terminal 23 are substantially the same, the parts workability is improved and the assembly workability is improved.
  • the header housing 21 includes a plurality of rows of header-side terminal groups G1 including header-side signal terminals 22 and header-side power supply terminals 23 disposed along the longitudinal direction X of the header housing 21. ing.
  • the cross-sectional area of the terminal can be increased, the current capacity can be increased.
  • the header-side power supply terminal 23 has a stepped locked portion 23e that is locked to the socket-side power supply terminal 33, and the locked portion 23e is a header in the header-side power supply terminal 23.
  • the housing 21 is formed from one end to the other end in the longitudinal direction X.
  • header-side power supply terminal 23 disposed outside the header-side signal terminal 22 in the longitudinal direction X of the header housing 21.
  • the header housing 21 is provided with a header-side holding metal fitting 24.
  • the header holding metal 24 has a fixed terminal 24 a that is soldered to a circuit pattern 41 formed on the second circuit board 40.
  • the header-side power supply terminal 23 has a base portion 23 a that is soldered to the circuit pattern 41 formed on the second circuit board 40.
  • the fixed terminal 24a and the base portion 23a are soldered to the common circuit pattern 41b.
  • the circuit pattern to which the header side holding metal fitting 24 is fixed can also be used as a heat radiating plate for the heat generated by the header side power supply terminal 23, and the heat dissipation can be further improved.
  • header side holding metal fitting 24 and the header side power supply terminal 23 are arranged so as to be adjacent to each other.
  • the header 20 is formed so as to be point-symmetric with respect to the center of the header 20 in plan view, and the socket 30 is pointed with respect to the center of the socket 30 in plan view.
  • the thing formed so that it might become symmetrical (connector without polarity) was illustrated.
  • the present invention can also be applied to a connector having polarity (a connector that does not have the same shape when rotated 180 degrees).
  • header-side holding metal fitting and the socket-side holding metal fitting are engaged in a state where the header 20 and the socket 30 are fitted.
  • socket side housing can be changed as appropriate.

Landscapes

  • Coupling Device And Connection With Printed Circuit (AREA)
PCT/JP2015/003896 2014-08-07 2015-08-03 コネクタおよび当該コネクタに用いられるヘッダならびにソケット Ceased WO2016021177A1 (ja)

Priority Applications (4)

Application Number Priority Date Filing Date Title
EP15828990.0A EP3179568B1 (en) 2014-08-07 2015-08-03 Connector and header and socket used in said connector
US15/314,576 US9843117B2 (en) 2014-08-07 2015-08-03 Connector, and header and socket which are used in connector
CN201580031833.7A CN106663888B (zh) 2014-08-07 2015-08-03 连接器以及在该连接器中使用的插头件及插口件
US15/808,678 US10305205B2 (en) 2014-08-07 2017-11-09 Connector, and header and socket which are used in connector

Applications Claiming Priority (2)

Application Number Priority Date Filing Date Title
JP2014161129A JP6473990B2 (ja) 2014-08-07 2014-08-07 コネクタおよび当該コネクタに用いられるソケット
JP2014-161129 2014-08-07

Related Child Applications (2)

Application Number Title Priority Date Filing Date
US15/314,576 A-371-Of-International US9843117B2 (en) 2014-08-07 2015-08-03 Connector, and header and socket which are used in connector
US15/808,678 Continuation US10305205B2 (en) 2014-08-07 2017-11-09 Connector, and header and socket which are used in connector

Publications (1)

Publication Number Publication Date
WO2016021177A1 true WO2016021177A1 (ja) 2016-02-11

Family

ID=55263472

Family Applications (1)

Application Number Title Priority Date Filing Date
PCT/JP2015/003896 Ceased WO2016021177A1 (ja) 2014-08-07 2015-08-03 コネクタおよび当該コネクタに用いられるヘッダならびにソケット

Country Status (5)

Country Link
US (2) US9843117B2 (enExample)
EP (1) EP3179568B1 (enExample)
JP (1) JP6473990B2 (enExample)
CN (2) CN110165446B (enExample)
WO (1) WO2016021177A1 (enExample)

Families Citing this family (9)

* Cited by examiner, † Cited by third party
Publication number Priority date Publication date Assignee Title
JP6712799B2 (ja) * 2016-02-05 2020-06-24 パナソニックIpマネジメント株式会社 コネクタおよび当該コネクタに用いられるヘッダならびにソケット
JP6512210B2 (ja) * 2016-12-21 2019-05-15 第一精工株式会社 コネクタ装置
JP6894320B2 (ja) * 2017-08-21 2021-06-30 ヒロセ電機株式会社 回路基板用電気コネクタ
JP1625950S (enExample) * 2018-06-22 2019-03-04
KR102606247B1 (ko) * 2018-07-30 2023-11-27 삼성전자주식회사 도전성 핀의 적어도 일부를 지지하기 위한 지지 부분을 포함하는 커넥터 및 이를 포함하는 전자 장치
JP7411882B2 (ja) * 2019-08-08 2024-01-12 パナソニックIpマネジメント株式会社 コネクタ
JP1656955S (enExample) * 2019-11-11 2020-04-06
JP1656956S (enExample) * 2019-11-11 2020-04-06
US12283208B2 (en) * 2021-06-03 2025-04-22 Samsung Electronics Co., Ltd. Connector structure and electronic device including the same

Citations (4)

* Cited by examiner, † Cited by third party
Publication number Priority date Publication date Assignee Title
JPH1050410A (ja) * 1996-05-29 1998-02-20 Kel Corp コネクタ
JP2005019144A (ja) * 2003-06-25 2005-01-20 Matsushita Electric Works Ltd コネクタ
JP2012182110A (ja) * 2011-02-07 2012-09-20 Panasonic Corp 保持金具、コネクタ接続体およびコネクタ
JP2013101909A (ja) * 2011-10-14 2013-05-23 Molex Inc コネクタ

Family Cites Families (12)

* Cited by examiner, † Cited by third party
Publication number Priority date Publication date Assignee Title
US5685729A (en) * 1995-06-02 1997-11-11 General Motors Corporation Electrical connector and vent tube assembly with connector position assurance
JP2005294034A (ja) * 2004-03-31 2005-10-20 Matsushita Electric Works Ltd コネクタ
JP4219308B2 (ja) * 2004-08-18 2009-02-04 ヒロセ電機株式会社 ロック機能付き補強金具及びそれを備えたコネクタ
JP2008270085A (ja) * 2007-04-24 2008-11-06 Matsushita Electric Works Ltd コネクタ
JP5623694B2 (ja) * 2008-05-12 2014-11-12 オムロン株式会社 コネクタ
SG166707A1 (en) * 2009-06-03 2010-12-29 3M Innovative Properties Co Connector
CN103050805B (zh) * 2011-10-14 2014-12-10 莫列斯公司 连接器
JP5638026B2 (ja) * 2012-05-01 2014-12-10 ヒロセ電機株式会社 電気コネクタ組立体
JP6245964B2 (ja) 2013-12-02 2017-12-13 モレックス エルエルシー コネクタ
JP5887326B2 (ja) * 2013-12-12 2016-03-16 モレックス エルエルシー コネクタ
KR20150084563A (ko) * 2014-01-14 2015-07-22 삼성디스플레이 주식회사 커넥터 어셈블리 및 이를 갖는 표시장치
US9420658B2 (en) * 2014-12-05 2016-08-16 Xenio Corporation Inrush energy control for a light emitter

Patent Citations (4)

* Cited by examiner, † Cited by third party
Publication number Priority date Publication date Assignee Title
JPH1050410A (ja) * 1996-05-29 1998-02-20 Kel Corp コネクタ
JP2005019144A (ja) * 2003-06-25 2005-01-20 Matsushita Electric Works Ltd コネクタ
JP2012182110A (ja) * 2011-02-07 2012-09-20 Panasonic Corp 保持金具、コネクタ接続体およびコネクタ
JP2013101909A (ja) * 2011-10-14 2013-05-23 Molex Inc コネクタ

Non-Patent Citations (1)

* Cited by examiner, † Cited by third party
Title
See also references of EP3179568A4 *

Also Published As

Publication number Publication date
CN110165446B (zh) 2021-07-09
JP2016039017A (ja) 2016-03-22
US20170194727A1 (en) 2017-07-06
US20180069332A1 (en) 2018-03-08
EP3179568B1 (en) 2020-03-11
CN110165446A (zh) 2019-08-23
EP3179568A1 (en) 2017-06-14
US10305205B2 (en) 2019-05-28
US9843117B2 (en) 2017-12-12
EP3179568A4 (en) 2017-07-26
CN106663888A (zh) 2017-05-10
CN106663888B (zh) 2019-06-28
JP6473990B2 (ja) 2019-02-27

Similar Documents

Publication Publication Date Title
JP6388152B2 (ja) コネクタおよび当該コネクタに用いられるヘッダならびにソケット
JP6473990B2 (ja) コネクタおよび当該コネクタに用いられるソケット
JP6712794B2 (ja) コネクタおよび当該コネクタに用いられるヘッダならびにソケット
JP6712799B2 (ja) コネクタおよび当該コネクタに用いられるヘッダならびにソケット
JP6655797B2 (ja) コネクタ、ヘッダおよびソケット
JP6681577B2 (ja) コネクタおよび当該コネクタに用いられるヘッダならびにソケット
CN113224564B (zh) 连接器连接体以及连接器
JP6643641B2 (ja) コネクタ、ソケットおよびソケットと回路基板との接続構造
JP7300632B2 (ja) コネクタ接続体およびコネクタ
JP7033737B2 (ja) コネクタ接続体およびコネクタ

Legal Events

Date Code Title Description
121 Ep: the epo has been informed by wipo that ep was designated in this application

Ref document number: 15828990

Country of ref document: EP

Kind code of ref document: A1

REEP Request for entry into the european phase

Ref document number: 2015828990

Country of ref document: EP

WWE Wipo information: entry into national phase

Ref document number: 2015828990

Country of ref document: EP

WWE Wipo information: entry into national phase

Ref document number: 15314576

Country of ref document: US

NENP Non-entry into the national phase

Ref country code: DE