WO2015198619A1 - 冷蔵庫 - Google Patents

冷蔵庫 Download PDF

Info

Publication number
WO2015198619A1
WO2015198619A1 PCT/JP2015/053289 JP2015053289W WO2015198619A1 WO 2015198619 A1 WO2015198619 A1 WO 2015198619A1 JP 2015053289 W JP2015053289 W JP 2015053289W WO 2015198619 A1 WO2015198619 A1 WO 2015198619A1
Authority
WO
WIPO (PCT)
Prior art keywords
light
transparent
laminated sheet
refrigerator according
operation display
Prior art date
Legal status (The legal status is an assumption and is not a legal conclusion. Google has not performed a legal analysis and makes no representation as to the accuracy of the status listed.)
Ceased
Application number
PCT/JP2015/053289
Other languages
English (en)
French (fr)
Japanese (ja)
Inventor
広明 横尾
前田 剛
和貴 鈴木
仁志 筧
康成 大和
Current Assignee (The listed assignees may be inaccurate. Google has not performed a legal analysis and makes no representation or warranty as to the accuracy of the list.)
Mitsubishi Electric Corp
Original Assignee
Mitsubishi Electric Corp
Priority date (The priority date is an assumption and is not a legal conclusion. Google has not performed a legal analysis and makes no representation as to the accuracy of the date listed.)
Filing date
Publication date
Application filed by Mitsubishi Electric Corp filed Critical Mitsubishi Electric Corp
Priority to AU2015282309A priority Critical patent/AU2015282309B2/en
Priority to RU2017101960A priority patent/RU2653098C1/ru
Priority to SG11201609736WA priority patent/SG11201609736WA/en
Priority to TW104105995A priority patent/TWI616630B/zh
Priority to CN201520363743.5U priority patent/CN204923677U/zh
Priority to CN201510290017.XA priority patent/CN105318645B/zh
Publication of WO2015198619A1 publication Critical patent/WO2015198619A1/ja
Priority to HK16107981.8A priority patent/HK1219998B/xx
Anticipated expiration legal-status Critical
Ceased legal-status Critical Current

Links

Images

Classifications

    • GPHYSICS
    • G09EDUCATION; CRYPTOGRAPHY; DISPLAY; ADVERTISING; SEALS
    • G09FDISPLAYING; ADVERTISING; SIGNS; LABELS OR NAME-PLATES; SEALS
    • G09F13/00Illuminated signs; Luminous advertising
    • G09F13/04Signs, boards or panels, illuminated from behind the insignia
    • FMECHANICAL ENGINEERING; LIGHTING; HEATING; WEAPONS; BLASTING
    • F25REFRIGERATION OR COOLING; COMBINED HEATING AND REFRIGERATION SYSTEMS; HEAT PUMP SYSTEMS; MANUFACTURE OR STORAGE OF ICE; LIQUEFACTION SOLIDIFICATION OF GASES
    • F25DREFRIGERATORS; COLD ROOMS; ICE-BOXES; COOLING OR FREEZING APPARATUS NOT OTHERWISE PROVIDED FOR
    • F25D23/00General constructional features
    • HELECTRICITY
    • H01ELECTRIC ELEMENTS
    • H01HELECTRIC SWITCHES; RELAYS; SELECTORS; EMERGENCY PROTECTIVE DEVICES
    • H01H36/00Switches actuated by change of magnetic field or of electric field, e.g. by change of relative position of magnet and switch, by shielding

Definitions

  • the touch operation part of the operation display part is also provided with a power saving function such that it is turned off when not normally operated and turned on only when operated.
  • the touch operation portion, the icon, and the character display portion need a light emitting area of a certain size, and many light guide plates are used for surface light emission in many cases. (For example, refer to Patent Document 1).
  • the present invention has been made in order to solve the above-described problems. Even when the operation display unit emits light, the number of parts of the operation display unit is reduced, thereby improving productivity and reducing costs. And it aims at providing the refrigerator which enabled stabilization of quality.
  • the refrigerator according to the present invention by adopting the above-described configuration for the operation display unit, it is possible to greatly reduce the number of components of the operation display unit, thereby improving productivity, reducing costs, and improving quality. Stabilization is realized.
  • FIG. 4 is a detailed view of components of the operation display panel of FIG. 3, (a) showing a transparent electrode sheet and a supporting component, and (b) showing a supporting component and an electronic substrate. It is an external view of the transparent electrode sheet of FIG. It is sectional drawing of the transparent electrode sheet of FIG. It is sectional drawing of the operation display panel of FIG. It is an external view of the transparent electrode sheet which concerns on Embodiment 2 of this invention. It is an external view of the transparent electrode sheet which concerns on the modification of FIG.
  • FIG. 13 is a detailed view of a connector connection portion of the operation display panel of FIG. 12. It is a disassembled perspective view of the operation display panel which concerns on Embodiment 5 of this invention. It is a front view of the refrigerator which concerns on Embodiment 5 of this invention.
  • FIG. 1 is a front view of a refrigerator according to Embodiment 1 of the present invention.
  • the refrigerator 1 includes a refrigerating room 100, a switching room 200, an ice making room 300, a freezing room 400, and a vegetable room 500.
  • the refrigerator compartment 100 includes an open / close door and is disposed at the top.
  • the switching chamber 200 has a drawer door and is disposed below the refrigeration chamber 100.
  • Each of the switching chambers 200 includes a refrigeration temperature range ( ⁇ 18 ° C.), a refrigeration (3 ° C.), a chilled (0 ° C.), a soft freezing ( ⁇ 7 ° C.) It can be switched to a temperature zone.
  • the ice making chamber 300 includes a drawer door and is disposed in parallel with the switching chamber 200.
  • the freezer compartment 400 includes a drawer door and is disposed below the switching chamber 200 and the ice making chamber 300.
  • the vegetable compartment 500 is provided with a drawer door and is arranged at the bottom.
  • FIG. 2 is a side sectional view of the refrigerator 1 of FIG.
  • the refrigerator 1 includes a compressor 2, a cooler 3, and a blower fan 4.
  • the blower fan 4 blows the cool air cooled by the cooler 3 to each room in the refrigerator 1 through the air path 5.
  • the air path 5 is an air path for introducing the cold air cooled by the cooler 3 into each room. That is, the cold air cooled by the cooler 3 passes through the air passage 5 and is blown to the freezing room 400, the switching room 200, the ice making room 300, and the refrigerating room 100 to cool each room.
  • the return cold air of the refrigerator compartment 100 circulates through a return air passage (not shown) for the refrigerator compartment and is cooled, and then returned to the cooler 3 from the return air passage for the vegetable compartment (not shown). .
  • the temperature of each room is detected by a thermistor (not shown) installed in each room, and the opening degree of a damper (not shown) installed in the air passage 5, the capacity of the compressor 2, and the air blow so that the temperature becomes a preset temperature. It is controlled by adjusting the air flow rate of the fan 4.
  • a storage case 401 is installed in the freezer compartment 400 and can store food.
  • a storage case 201 is also installed in the switching chamber 200 and can store food.
  • the vegetable compartment 500 is also provided with a storage case 501 and can store food.
  • the number of cases in each room may be one, but there may be two or more cases when the capacity of the entire refrigerator 1 improves the organization.
  • FIG. 3 is an exploded perspective view of the operation display panel 6.
  • FIG. 4 is a detailed view of the operation display panel 6 of FIG. 3, (a) shows the transparent electrode sheet 12 and the support component 13, and (b) shows the support component 13 and the electronic substrate 14.
  • the operation display panel 6 is composed of a capacitive touch sensor that operates by detecting the amount of change in capacitance.
  • the transparent electrode sheet 12 is composed of a laminated sheet in which layers having various functions are laminated, and corresponds to the “laminated sheet” of the present invention.
  • the operation display panel 6 includes a transparent member 11, a transparent electrode sheet 12, a support component 13 that supports the transparent electrode sheet 12, an electronic board 14 that includes a microcomputer and a light source 25, and holds them.
  • the holding component 15 is divided into five elements.
  • the material of the transparent member 11 is not particularly limited as long as it is transparent and can transmit light, such as glass or resin, and may be decorated by printing or the like as long as the light emitted from the light source 25 is transmitted.
  • the support component 13 also has a function as a light shielding wall that shields light of adjacent icons. Further, an inexpensive light emitting diode is often used as the light source 25, but another light source may be used.
  • the transparent member 11 constitutes a part of the door of the refrigerator 1 and corresponds to the “transparent plate member” of the present invention.
  • the support component 13 supports the transparent electrode sheet 12 and corresponds to a “support member” of the present invention.
  • the microcomputer (not shown) takes in a signal detected by the transparent electrode sheet 12 as an operation signal and controls lighting of the plurality of light emitting sources 25, and corresponds to a “control device” of the present invention.
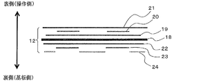
  • FIG. 5 is an external view of the transparent electrode sheet 12, and FIG. 6 is a cross-sectional view of the transparent electrode sheet 12.
  • FIG. 5 shows a state in which all the display elements of the transparent electrode sheet 12 are displayed, but only the start button 16 is displayed in the initial state. When the start button 16 of the transparent electrode sheet 12 is touched, the operation icon 17 is displayed (lighted). Note that FIG. 5 is shown in a state where black and white are reversed for the sake of drawing. This also applies to FIGS. 8 and 9 described later.
  • the configuration cross section of the transparent electrode sheet 12 has a pattern wiring layer 19, a transparent conductive ink layer 20, and an insulating ink layer 21 formed on the front side (operation side) with a transparent substrate 18 as the center, and an icon on the back side (substrate side).
  • a printing layer (light-shielding layer) 22, a light diffusion printing layer 23, and a paste printing layer 24 are formed.
  • the transparent electrode sheet 12 is supported by sticking the transparent electrode sheet 12 having such a configuration to the support component 13.
  • a transparent conductive ink layer 20 is printed on the start button 16 portion, and a transparent conductive ink layer 20, an icon print layer 22 and a light diffusion print layer 23 are printed on the operation icon portion.
  • the pattern wiring layer 19 is a colored wiring pattern that connects the transparent conductive ink layer 20 and the electronic substrate 14.
  • the pattern wiring layer 19 includes a plurality of conductive wirings arranged in parallel and corresponds to “a plurality of conductive wirings” of the present invention, and the transparent conductive ink layer 20 detects a change in capacitance.
  • the icon print layer (light shielding layer) 22 has a pattern for displaying a plurality of shapes such as characters and symbols (see FIG. 5), and corresponds to the “light shielding layer” of the present invention.
  • the light diffusion printing layer 23 diffuses the light irradiated from the light source 25 and corresponds to the “light diffusion layer” of the present invention.
  • FIG. 7 is a cross-sectional view of the operation display panel 6 and shows the entire components of the operation display panel 6.
  • the operation icon 17 When the operation icon 17 is displayed (when lit), the light emission source 25 is lit, and this light passes through the transparent conductive ink layer 20, the icon print layer 22, the light diffusion print layer 23, and the transparent member 11. The icon is displayed and visually recognized.
  • the operation icon 17 When the operation icon 17 is touched, the operation is accepted.
  • the light emission source 25 is arranged for each of the start button 16, the operation icon 17, and the word (character group) formed on the icon print layer 22, and the light diffusion print layer 23 also emits light for each icon or word. It is configured as follows.
  • the reflected light of the light source 25 can be effectively used for the icon part, and the visibility is further enhanced.
  • a transparent member such as a white member
  • a part of the light from the light emission source 25 may be transmitted through the support component 13 and the adjacent icon may be mistakenly illuminated.
  • a double wall 26 is formed on the support part 13. Thereby, transmission of light can be suppressed.
  • the double wall 26 corresponds to the “light-shielding wall” of the present invention.
  • the transparent conductive ink layer 20 that senses a change in capacitance is transmitted to the electronic substrate 14.
  • the pattern wiring layer 19, the icon print layer 22 that changes the light emitted from the light emission source 25 into an icon, and the light diffusion print layer 23 that changes the light into a surface emission are integrated into one transparent base material (film base material) 18.
  • the transparent member 11 since the icons and characters (words) are displayed through the transparent member 11 with the light emitting source 25 turned on, the visibility is very excellent, and the operation display panel 6 is easy to use for users of any age. It has become. Furthermore, by devising the shapes of the transparent electrode sheet 12 and the support component 13, it is possible to realize surface emission equal to or higher than that when using the light guide plate, and further increase the visibility without increasing the number of components. It has become. In addition, you may make it the transparent member 11 comprise a part of door of the refrigerator 1 as a decorated design component.
  • FIG. FIG. 8 is an external view of the transparent electrode sheet 12 according to Embodiment 2 of the present invention.
  • the start button 16 For each wiring pattern of the pattern wiring layer 19, there are many ways to route the wiring pattern. For example, how to wire the start button 16 will be described. If the wiring of the start button 16 is drawn like the single wiring 27, when the finger touches the wiring portion, the start button 16 reacts, which may lead to a malfunction. When this is a single wiring, the parasitic capacitance is reduced, and not only the transparent conductive ink layer 20 but also the wiring portion is in a highly sensitive state, and as a result, the start button 16 reacts.
  • the pattern wiring is gathered together on one side together with another pattern wiring group 29 in which a plurality of wirings are gathered in parallel.
  • the parasitic capacitance of the wiring of the button 16 is lower than that of the single wiring as a result.
  • the sensitivity of the wiring portion becomes dull, and malfunction of the start button 16 can be prevented. Therefore, it is possible to prevent malfunction of each button by collecting the wiring group.
  • Such a wiring structure may be applied to operation buttons other than the start button 16.
  • FIG. 9 is a view showing a modification of the transparent electrode sheet 12 of FIG. 8, and FIG. 10 is a cross-sectional view of the operation display panel 6 including the transparent electrode sheet 12 of FIG.
  • the shape of the transparent electrode sheet 12 (and the transparent substrate 18) is partially extended to the left.
  • the individual wiring 27 of the start button 16 is placed over the extended part.
  • the extended portion of the transparent electrode sheet 12 is curved along the support component 13 and attached to the support component 13, and the air gap 30 is interposed between the transparent member 11 and the transparent electrode sheet 12.
  • an inlay structure 31 is formed in the holding component 15, and the transparent electrode sheet 12 in a curved state is accommodated in the inlay structure 31.
  • the transparent electrode sheet 12 is curved and attached to the support component 13, and the adhesive force may weaken and peel off. However, even if the transparent electrode sheet 12 is peeled off, the transparent electrode sheet 12 remains curved with the inlay structure 31. As a result, the state in which the air gap 30 is formed can be maintained.
  • any location where the air gap 30 is formed is effective for preventing malfunctions as long as it is a wiring portion, and can be arbitrarily set according to the order of the peripheral structure and icon arrangement.
  • the air gap 30 may be formed in the portion of the composite wiring 28.
  • FIG. 11 is a cross-sectional view of the operation display panel 6 according to Embodiment 3 of the present invention.
  • a light shielding wall 13a that shields light from the light source 25 adjacent to the support component 13 is formed, and a tapered surface 32 is provided on the light shielding wall 13a.
  • a tapered surface is formed in the light guide portion formed between the adjacent light shielding walls 13a and the light shielding wall 13a, thereby blocking the light emitted from the light emitting source 25.
  • the light can be delivered to the icon print layer 22 of the transparent electrode sheet 12.
  • the angle of the taper surface 32 is larger than the irradiation range 33 of the light emitting source 25, there is a restriction on the structure. Therefore, the visibility can be improved without necessarily using such an angle.
  • the color of the support component 13 (the light shielding wall 13a) is set to white or a color similar thereto, the reflected light of the light source 25 can be effectively used for the icon print layer 22 and visually recognized. Sexuality further increases.
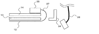
  • FIG. 12 is an exploded perspective view of the operation display panel according to Embodiment 4 of the present invention
  • FIG. 13 is a detailed view of the connector connecting portion of FIG.
  • a partition plate 34 is formed on the support component 13
  • a transparent electrode sheet connection connector 35 and a main body lead wire connection connector 36 are provided on the electronic substrate 14, respectively.
  • the transparent electrode sheet connecting portion 37 is formed as a part of the transparent electrode sheet 12 so as to be continuous with the composite wiring 28 in FIG.
  • the transparent electrode sheet connection part 37 is connected to the transparent electrode sheet connection connector 35 through the opening 13 b formed in the support component 13.
  • the main body lead wire 38 drawn from the door of the refrigerator 1 is connected to the main body lead wire connector 36.
  • the partition plate 34 is provided so that the transparent electrode sheet connecting portion 37 and the main body lead wire 38 are not in close contact with the support component 13. That is, the partition plate 34 protects the transparent electrode sheet connection part 37 by partitioning the transparent electrode sheet connection part 37 and the main body lead wire 38 so as not to contact each other. As a result, an unintended operation of the operation display panel 6 can be prevented.
  • the transparent electrode sheet connecting portion 37 corresponds to the “strip-shaped portion where a plurality of conductive wirings are formed” of the present invention formed on the transparent electrode sheet 12.
  • FIG. 14 is an exploded perspective view of the operation display panel according to Embodiment 5 of the present invention, showing the entire components of the operation display panel, and FIG. 15 is attached with the operation display panel of FIG. It is a front view of a refrigerator. 14 and 15, the same reference numerals as those in FIGS. 3 and 1 denote the same or corresponding parts.
  • the operation display panel 6 includes a transparent member 11, a transparent electrode sheet 12, a light guide component 41, an outer component 42, an electronic substrate 14 and a holding component 15, and is roughly divided into six elements.
  • the light guide component 41 and the outer component 42 have the function of the support component 13 in FIG.
  • the light guide component 41 is for guiding light from the light emitting source 25 to the transparent electrode sheet 12, and the outer component 42 is for supporting the light guide component 41.
  • the operation display panel 6 is configured as described above, after the transparent electrode sheet 12 is attached to the outer part 42, the transparent electrode sheet 12 and the electronic substrate 14 are connected by a connector, and then the light guide part 41 Can be incorporated. For this reason, since the transparent electrode sheet 12 is attached to the outer shell part 42 and is connected to the electronic substrate 14 by the connector, workability is improved and productivity is improved.

Landscapes

  • Engineering & Computer Science (AREA)
  • Physics & Mathematics (AREA)
  • Chemical & Material Sciences (AREA)
  • Combustion & Propulsion (AREA)
  • Mechanical Engineering (AREA)
  • Thermal Sciences (AREA)
  • General Engineering & Computer Science (AREA)
  • General Physics & Mathematics (AREA)
  • Theoretical Computer Science (AREA)
  • Cold Air Circulating Systems And Constructional Details In Refrigerators (AREA)
  • Illuminated Signs And Luminous Advertising (AREA)
  • Switches That Are Operated By Magnetic Or Electric Fields (AREA)
PCT/JP2015/053289 2014-06-24 2015-02-05 冷蔵庫 Ceased WO2015198619A1 (ja)

Priority Applications (7)

Application Number Priority Date Filing Date Title
AU2015282309A AU2015282309B2 (en) 2014-06-24 2015-02-05 Refrigerator
RU2017101960A RU2653098C1 (ru) 2014-06-24 2015-02-05 Холодильник
SG11201609736WA SG11201609736WA (en) 2014-06-24 2015-02-05 Refrigerator
TW104105995A TWI616630B (zh) 2014-06-24 2015-02-25 refrigerator
CN201520363743.5U CN204923677U (zh) 2014-06-24 2015-05-29 冰箱
CN201510290017.XA CN105318645B (zh) 2014-06-24 2015-05-29 冰箱
HK16107981.8A HK1219998B (en) 2014-06-24 2016-07-08 Refrigerator

Applications Claiming Priority (2)

Application Number Priority Date Filing Date Title
JP2014129408A JP6198682B2 (ja) 2014-06-24 2014-06-24 冷蔵庫
JP2014-129408 2014-06-24

Publications (1)

Publication Number Publication Date
WO2015198619A1 true WO2015198619A1 (ja) 2015-12-30

Family

ID=54937723

Family Applications (1)

Application Number Title Priority Date Filing Date
PCT/JP2015/053289 Ceased WO2015198619A1 (ja) 2014-06-24 2015-02-05 冷蔵庫

Country Status (8)

Country Link
JP (1) JP6198682B2 (enExample)
CN (2) CN204923677U (enExample)
AU (1) AU2015282309B2 (enExample)
MY (1) MY174807A (enExample)
RU (1) RU2653098C1 (enExample)
SG (1) SG11201609736WA (enExample)
TW (1) TWI616630B (enExample)
WO (1) WO2015198619A1 (enExample)

Cited By (2)

* Cited by examiner, † Cited by third party
Publication number Priority date Publication date Assignee Title
JPWO2017149680A1 (ja) * 2016-03-01 2018-07-05 三菱電機株式会社 静電容量式タッチパネル
JPWO2020255245A1 (ja) * 2019-06-18 2021-11-18 三菱電機株式会社 冷蔵庫

Families Citing this family (4)

* Cited by examiner, † Cited by third party
Publication number Priority date Publication date Assignee Title
JP6198682B2 (ja) * 2014-06-24 2017-09-20 三菱電機株式会社 冷蔵庫
JP6188668B2 (ja) * 2014-11-27 2017-08-30 三菱電機株式会社 冷蔵庫
JP7080677B2 (ja) * 2018-03-07 2022-06-06 株式会社オカムラ 表面構成部材
EP4510113A4 (en) * 2022-06-20 2025-07-16 Wuxi Little Swan Electric Co Ltd DIAPHRAGM, DISPLAY PANEL, DISPLAY DEVICE AND HOUSEHOLD APPLIANCE

Citations (4)

* Cited by examiner, † Cited by third party
Publication number Priority date Publication date Assignee Title
JPS50146072U (enExample) * 1974-05-22 1975-12-03
JP2009043473A (ja) * 2007-08-07 2009-02-26 Kojima Press Co Ltd スイッチ
JP2010015557A (ja) * 2008-06-30 2010-01-21 Seoul Semiconductor Co Ltd 電子装置及び電子装置用タッチセンサーフィルム
JP2011058696A (ja) * 2009-09-09 2011-03-24 Hitachi Appliances Inc 冷蔵庫

Family Cites Families (10)

* Cited by examiner, † Cited by third party
Publication number Priority date Publication date Assignee Title
KR101237564B1 (ko) * 2006-11-18 2013-02-26 엘지전자 주식회사 냉장고용 디스플레이부
JP2010067551A (ja) * 2008-09-12 2010-03-25 Koha Co Ltd バックライト装置
JP2012018465A (ja) * 2010-07-06 2012-01-26 Tokai Rika Co Ltd 操作入力装置及びその制御方法
JP2012099438A (ja) * 2010-11-05 2012-05-24 Sharp Corp タッチスイッチ
JP5779485B2 (ja) * 2011-09-08 2015-09-16 日立アプライアンス株式会社 冷蔵庫
JP5996174B2 (ja) * 2011-09-27 2016-09-21 東芝ライフスタイル株式会社 冷蔵庫
CN102707487B (zh) * 2012-06-04 2014-11-19 青岛海信电器股份有限公司 透明显示装置及具有透明显示装置的电子设备
JP2014031956A (ja) * 2012-08-03 2014-02-20 Panasonic Corp 冷蔵庫及び表示装置
JP5881554B2 (ja) * 2012-08-09 2016-03-09 三菱電機株式会社 操作装置及び冷凍冷蔵庫
JP6198682B2 (ja) * 2014-06-24 2017-09-20 三菱電機株式会社 冷蔵庫

Patent Citations (4)

* Cited by examiner, † Cited by third party
Publication number Priority date Publication date Assignee Title
JPS50146072U (enExample) * 1974-05-22 1975-12-03
JP2009043473A (ja) * 2007-08-07 2009-02-26 Kojima Press Co Ltd スイッチ
JP2010015557A (ja) * 2008-06-30 2010-01-21 Seoul Semiconductor Co Ltd 電子装置及び電子装置用タッチセンサーフィルム
JP2011058696A (ja) * 2009-09-09 2011-03-24 Hitachi Appliances Inc 冷蔵庫

Cited By (3)

* Cited by examiner, † Cited by third party
Publication number Priority date Publication date Assignee Title
JPWO2017149680A1 (ja) * 2016-03-01 2018-07-05 三菱電機株式会社 静電容量式タッチパネル
JPWO2020255245A1 (ja) * 2019-06-18 2021-11-18 三菱電機株式会社 冷蔵庫
JP7195429B2 (ja) 2019-06-18 2022-12-23 三菱電機株式会社 冷蔵庫

Also Published As

Publication number Publication date
RU2653098C1 (ru) 2018-05-07
AU2015282309B2 (en) 2017-11-02
HK1219998A1 (zh) 2017-04-21
CN105318645A (zh) 2016-02-10
CN105318645B (zh) 2017-09-15
MY174807A (en) 2020-05-15
CN204923677U (zh) 2015-12-30
JP6198682B2 (ja) 2017-09-20
SG11201609736WA (en) 2016-12-29
AU2015282309A1 (en) 2016-12-15
TWI616630B (zh) 2018-03-01
TW201600821A (zh) 2016-01-01
JP2016009586A (ja) 2016-01-18

Similar Documents

Publication Publication Date Title
JP6198682B2 (ja) 冷蔵庫
JP5667805B2 (ja) 冷蔵庫
KR102011019B1 (ko) 냉장고
KR101921263B1 (ko) 냉장고
CN105650995B (zh) 冰箱
CN106461315A (zh) 冰箱
KR101883320B1 (ko) 냉장고
US20100225499A1 (en) Device for inputting control commands
JP7178771B2 (ja) 冷蔵庫
JP2019027759A (ja) 冷蔵庫
JP7195429B2 (ja) 冷蔵庫
HK1219998B (en) Refrigerator
US10527344B2 (en) Appliance user interface and display
JP2019045136A (ja) 冷蔵庫
HK1224727B (en) Refrigerator
HK1224727A (en) Refrigerator
HK1224727A1 (zh) 冰箱

Legal Events

Date Code Title Description
121 Ep: the epo has been informed by wipo that ep was designated in this application

Ref document number: 15810819

Country of ref document: EP

Kind code of ref document: A1

ENP Entry into the national phase

Ref document number: 2015282309

Country of ref document: AU

Date of ref document: 20150205

Kind code of ref document: A

NENP Non-entry into the national phase

Ref country code: DE

ENP Entry into the national phase

Ref document number: 2017101960

Country of ref document: RU

Kind code of ref document: A

122 Ep: pct application non-entry in european phase

Ref document number: 15810819

Country of ref document: EP

Kind code of ref document: A1