WO2015166843A1 - 内視鏡装置 - Google Patents

内視鏡装置 Download PDF

Info

Publication number
WO2015166843A1
WO2015166843A1 PCT/JP2015/062126 JP2015062126W WO2015166843A1 WO 2015166843 A1 WO2015166843 A1 WO 2015166843A1 JP 2015062126 W JP2015062126 W JP 2015062126W WO 2015166843 A1 WO2015166843 A1 WO 2015166843A1
Authority
WO
WIPO (PCT)
Prior art keywords
light
region
wavelength
color sensitivity
narrowband
Prior art date
Legal status (The legal status is an assumption and is not a legal conclusion. Google has not performed a legal analysis and makes no representation as to the accuracy of the status listed.)
Ceased
Application number
PCT/JP2015/062126
Other languages
English (en)
French (fr)
Japanese (ja)
Inventor
伊藤 毅
宏幸 亀江
Current Assignee (The listed assignees may be inaccurate. Google has not performed a legal analysis and makes no representation or warranty as to the accuracy of the list.)
Olympus Corp
Original Assignee
Olympus Corp
Priority date (The priority date is an assumption and is not a legal conclusion. Google has not performed a legal analysis and makes no representation as to the accuracy of the date listed.)
Filing date
Publication date
Application filed by Olympus Corp filed Critical Olympus Corp
Priority to DE112015001710.0T priority Critical patent/DE112015001710T5/de
Priority to CN201580021920.4A priority patent/CN106231988A/zh
Publication of WO2015166843A1 publication Critical patent/WO2015166843A1/ja
Priority to US15/334,887 priority patent/US10368728B2/en
Anticipated expiration legal-status Critical
Ceased legal-status Critical Current

Links

Images

Classifications

    • AHUMAN NECESSITIES
    • A61MEDICAL OR VETERINARY SCIENCE; HYGIENE
    • A61BDIAGNOSIS; SURGERY; IDENTIFICATION
    • A61B1/00Instruments for performing medical examinations of the interior of cavities or tubes of the body by visual or photographical inspection, e.g. endoscopes; Illuminating arrangements therefor
    • A61B1/06Instruments for performing medical examinations of the interior of cavities or tubes of the body by visual or photographical inspection, e.g. endoscopes; Illuminating arrangements therefor with illuminating arrangements
    • A61B1/0638Instruments for performing medical examinations of the interior of cavities or tubes of the body by visual or photographical inspection, e.g. endoscopes; Illuminating arrangements therefor with illuminating arrangements providing two or more wavelengths
    • AHUMAN NECESSITIES
    • A61MEDICAL OR VETERINARY SCIENCE; HYGIENE
    • A61BDIAGNOSIS; SURGERY; IDENTIFICATION
    • A61B1/00Instruments for performing medical examinations of the interior of cavities or tubes of the body by visual or photographical inspection, e.g. endoscopes; Illuminating arrangements therefor
    • A61B1/00002Operational features of endoscopes
    • A61B1/00004Operational features of endoscopes characterised by electronic signal processing
    • A61B1/00006Operational features of endoscopes characterised by electronic signal processing of control signals
    • AHUMAN NECESSITIES
    • A61MEDICAL OR VETERINARY SCIENCE; HYGIENE
    • A61BDIAGNOSIS; SURGERY; IDENTIFICATION
    • A61B1/00Instruments for performing medical examinations of the interior of cavities or tubes of the body by visual or photographical inspection, e.g. endoscopes; Illuminating arrangements therefor
    • A61B1/00002Operational features of endoscopes
    • A61B1/00004Operational features of endoscopes characterised by electronic signal processing
    • A61B1/00009Operational features of endoscopes characterised by electronic signal processing of image signals during a use of endoscope
    • AHUMAN NECESSITIES
    • A61MEDICAL OR VETERINARY SCIENCE; HYGIENE
    • A61BDIAGNOSIS; SURGERY; IDENTIFICATION
    • A61B1/00Instruments for performing medical examinations of the interior of cavities or tubes of the body by visual or photographical inspection, e.g. endoscopes; Illuminating arrangements therefor
    • A61B1/00002Operational features of endoscopes
    • A61B1/00043Operational features of endoscopes provided with output arrangements
    • A61B1/00045Display arrangement
    • AHUMAN NECESSITIES
    • A61MEDICAL OR VETERINARY SCIENCE; HYGIENE
    • A61BDIAGNOSIS; SURGERY; IDENTIFICATION
    • A61B1/00Instruments for performing medical examinations of the interior of cavities or tubes of the body by visual or photographical inspection, e.g. endoscopes; Illuminating arrangements therefor
    • A61B1/00064Constructional details of the endoscope body
    • A61B1/00071Insertion part of the endoscope body
    • A61B1/0008Insertion part of the endoscope body characterised by distal tip features
    • A61B1/00096Optical elements
    • AHUMAN NECESSITIES
    • A61MEDICAL OR VETERINARY SCIENCE; HYGIENE
    • A61BDIAGNOSIS; SURGERY; IDENTIFICATION
    • A61B1/00Instruments for performing medical examinations of the interior of cavities or tubes of the body by visual or photographical inspection, e.g. endoscopes; Illuminating arrangements therefor
    • A61B1/04Instruments for performing medical examinations of the interior of cavities or tubes of the body by visual or photographical inspection, e.g. endoscopes; Illuminating arrangements therefor combined with photographic or television appliances
    • A61B1/05Instruments for performing medical examinations of the interior of cavities or tubes of the body by visual or photographical inspection, e.g. endoscopes; Illuminating arrangements therefor combined with photographic or television appliances characterised by the image sensor, e.g. camera, being in the distal end portion
    • A61B1/051Details of CCD assembly
    • AHUMAN NECESSITIES
    • A61MEDICAL OR VETERINARY SCIENCE; HYGIENE
    • A61BDIAGNOSIS; SURGERY; IDENTIFICATION
    • A61B1/00Instruments for performing medical examinations of the interior of cavities or tubes of the body by visual or photographical inspection, e.g. endoscopes; Illuminating arrangements therefor
    • A61B1/06Instruments for performing medical examinations of the interior of cavities or tubes of the body by visual or photographical inspection, e.g. endoscopes; Illuminating arrangements therefor with illuminating arrangements
    • A61B1/063Instruments for performing medical examinations of the interior of cavities or tubes of the body by visual or photographical inspection, e.g. endoscopes; Illuminating arrangements therefor with illuminating arrangements for monochromatic or narrow-band illumination
    • AHUMAN NECESSITIES
    • A61MEDICAL OR VETERINARY SCIENCE; HYGIENE
    • A61BDIAGNOSIS; SURGERY; IDENTIFICATION
    • A61B1/00Instruments for performing medical examinations of the interior of cavities or tubes of the body by visual or photographical inspection, e.g. endoscopes; Illuminating arrangements therefor
    • A61B1/06Instruments for performing medical examinations of the interior of cavities or tubes of the body by visual or photographical inspection, e.g. endoscopes; Illuminating arrangements therefor with illuminating arrangements
    • A61B1/0655Control therefor
    • AHUMAN NECESSITIES
    • A61MEDICAL OR VETERINARY SCIENCE; HYGIENE
    • A61BDIAGNOSIS; SURGERY; IDENTIFICATION
    • A61B1/00Instruments for performing medical examinations of the interior of cavities or tubes of the body by visual or photographical inspection, e.g. endoscopes; Illuminating arrangements therefor
    • A61B1/06Instruments for performing medical examinations of the interior of cavities or tubes of the body by visual or photographical inspection, e.g. endoscopes; Illuminating arrangements therefor with illuminating arrangements
    • A61B1/0661Endoscope light sources
    • A61B1/0669Endoscope light sources at proximal end of an endoscope
    • AHUMAN NECESSITIES
    • A61MEDICAL OR VETERINARY SCIENCE; HYGIENE
    • A61BDIAGNOSIS; SURGERY; IDENTIFICATION
    • A61B1/00Instruments for performing medical examinations of the interior of cavities or tubes of the body by visual or photographical inspection, e.g. endoscopes; Illuminating arrangements therefor
    • A61B1/06Instruments for performing medical examinations of the interior of cavities or tubes of the body by visual or photographical inspection, e.g. endoscopes; Illuminating arrangements therefor with illuminating arrangements
    • A61B1/07Instruments for performing medical examinations of the interior of cavities or tubes of the body by visual or photographical inspection, e.g. endoscopes; Illuminating arrangements therefor with illuminating arrangements using light-conductive means, e.g. optical fibres
    • GPHYSICS
    • G02OPTICS
    • G02BOPTICAL ELEMENTS, SYSTEMS OR APPARATUS
    • G02B23/00Telescopes, e.g. binoculars; Periscopes; Instruments for viewing the inside of hollow bodies; Viewfinders; Optical aiming or sighting devices
    • G02B23/24Instruments or systems for viewing the inside of hollow bodies, e.g. fibrescopes
    • G02B23/2407Optical details
    • G02B23/2461Illumination
    • G02B23/2469Illumination using optical fibres
    • GPHYSICS
    • G02OPTICS
    • G02BOPTICAL ELEMENTS, SYSTEMS OR APPARATUS
    • G02B23/00Telescopes, e.g. binoculars; Periscopes; Instruments for viewing the inside of hollow bodies; Viewfinders; Optical aiming or sighting devices
    • G02B23/24Instruments or systems for viewing the inside of hollow bodies, e.g. fibrescopes
    • G02B23/2476Non-optical details, e.g. housings, mountings, supports
    • G02B23/2484Arrangements in relation to a camera or imaging device
    • GPHYSICS
    • G06COMPUTING OR CALCULATING; COUNTING
    • G06TIMAGE DATA PROCESSING OR GENERATION, IN GENERAL
    • G06T7/00Image analysis
    • G06T7/90Determination of colour characteristics
    • HELECTRICITY
    • H04ELECTRIC COMMUNICATION TECHNIQUE
    • H04NPICTORIAL COMMUNICATION, e.g. TELEVISION
    • H04N23/00Cameras or camera modules comprising electronic image sensors; Control thereof
    • HELECTRICITY
    • H04ELECTRIC COMMUNICATION TECHNIQUE
    • H04NPICTORIAL COMMUNICATION, e.g. TELEVISION
    • H04N23/00Cameras or camera modules comprising electronic image sensors; Control thereof
    • H04N23/50Constructional details
    • H04N23/54Mounting of pick-up tubes, electronic image sensors, deviation or focusing coils
    • HELECTRICITY
    • H04ELECTRIC COMMUNICATION TECHNIQUE
    • H04NPICTORIAL COMMUNICATION, e.g. TELEVISION
    • H04N23/00Cameras or camera modules comprising electronic image sensors; Control thereof
    • H04N23/50Constructional details
    • H04N23/555Constructional details for picking-up images in sites, inaccessible due to their dimensions or hazardous conditions, e.g. endoscopes or borescopes
    • HELECTRICITY
    • H04ELECTRIC COMMUNICATION TECHNIQUE
    • H04NPICTORIAL COMMUNICATION, e.g. TELEVISION
    • H04N23/00Cameras or camera modules comprising electronic image sensors; Control thereof
    • H04N23/56Cameras or camera modules comprising electronic image sensors; Control thereof provided with illuminating means
    • HELECTRICITY
    • H04ELECTRIC COMMUNICATION TECHNIQUE
    • H04NPICTORIAL COMMUNICATION, e.g. TELEVISION
    • H04N23/00Cameras or camera modules comprising electronic image sensors; Control thereof
    • H04N23/80Camera processing pipelines; Components thereof
    • H04N23/84Camera processing pipelines; Components thereof for processing colour signals
    • H04N23/843Demosaicing, e.g. interpolating colour pixel values
    • HELECTRICITY
    • H04ELECTRIC COMMUNICATION TECHNIQUE
    • H04NPICTORIAL COMMUNICATION, e.g. TELEVISION
    • H04N25/00Circuitry of solid-state image sensors [SSIS]; Control thereof
    • H04N25/10Circuitry of solid-state image sensors [SSIS]; Control thereof for transforming different wavelengths into image signals
    • H04N25/11Arrangement of colour filter arrays [CFA]; Filter mosaics
    • H04N25/13Arrangement of colour filter arrays [CFA]; Filter mosaics characterised by the spectral characteristics of the filter elements
    • H04N25/134Arrangement of colour filter arrays [CFA]; Filter mosaics characterised by the spectral characteristics of the filter elements based on three different wavelength filter elements
    • GPHYSICS
    • G06COMPUTING OR CALCULATING; COUNTING
    • G06TIMAGE DATA PROCESSING OR GENERATION, IN GENERAL
    • G06T2207/00Indexing scheme for image analysis or image enhancement
    • G06T2207/10Image acquisition modality
    • G06T2207/10024Color image
    • GPHYSICS
    • G06COMPUTING OR CALCULATING; COUNTING
    • G06TIMAGE DATA PROCESSING OR GENERATION, IN GENERAL
    • G06T2207/00Indexing scheme for image analysis or image enhancement
    • G06T2207/10Image acquisition modality
    • G06T2207/10068Endoscopic image

Definitions

  • the present invention relates to an endoscope apparatus.
  • This fiber light source is suitable for use as an illumination optical system of an observation apparatus that observes an observation object from the tip of a thin structure, for example, an endoscope apparatus.
  • Japanese Patent Application Laid-Open No. 10-286235 proposes an endoscope apparatus in which R, G, and B three-color laser light sources and a fiber light source in which an optical fiber and a diffusion plate are combined are mounted.
  • the endoscope apparatus disclosed in Japanese Patent Laid-Open No. 10-286235 discloses three primary colors (white) that simultaneously oscillate three primary colors of 441.6 nm blue laser light, 537.8 nm green laser light, and 636.0 nm red laser light.
  • the laser light from the He-Cd laser, which is a laser, and the He-Ne laser that emits light of red wavelength of 632.8 nm is guided to the tip of the endoscope with a light guide, and is passed through a diffusion plate and an illuminance distribution adjustment filter.
  • the living body as the observation object is irradiated.
  • Japanese Patent Laid-Open No. 10-286235 proposes to solve this problem by improving the color reproducibility by adding 632.8 nm red light, and further combining a plurality of red wavelength laser beams. is suggesting.
  • the width of the wavelength region in which illumination light exists in the example of Japanese Patent Laid-Open No. 10-286235 can be obtained by combining one blue color, one green color, and two red colors. It is approximately 4 nm or less.
  • a visible light region which is a region in which an imaging element used for observation of an endoscope or the like has a light receiving sensitivity, generally extends in a range of 400 nm to 700 nm and has a width of about 300 nm. Therefore, in the example of Japanese Patent Laid-Open No. 10-286235, the wavelength region where the illumination light exists is 1.3% or less of the visible light region, and there is actually no illumination light in the wavelength region of 98% or more. .
  • the endoscope apparatus disclosed in Japanese Patent Application Laid-Open No. 10-286235 uses a total of four laser beams for illumination light, two red laser beams, one green laser beam, and one blue laser beam. Illumination light does not exist in substantially 98% or more of the region where the element has light receiving sensitivity. Therefore, the color information of the living body which is the observation target in the wavelength region of 98% or more cannot be obtained, and the color reproducibility is poor.
  • the present invention has been made in view of the above circumstances, and achieves improved color reproducibility in an endoscope apparatus that uses, as illumination light, narrow band light having a plurality of discrete wavelengths typified by laser light.
  • the purpose is to do.
  • An endoscope apparatus includes an insertion portion having a distal end portion that is inserted into an internal space of an observation object, a light emitting portion provided at the distal end portion that emits illumination light to the surface of the internal space, and the internal An image sensor provided at the tip for detecting reflected and scattered light from the surface of the space and outputting an image signal; an image processing circuit for processing the image signal and outputting an image signal; and an image according to the image signal And a display unit for displaying.
  • the illumination light is composed of a plurality of narrow band lights.
  • the wavelength region that can be detected by the imaging device includes a plurality of narrowband light regions in which the plurality of narrowband lights respectively exist, and a first wavelength missing region that is a region between two adjacent narrowband light regions, It is comprised by the 2nd wavelength missing area
  • the imaging device has a large number of light detection elements including a plurality of types of light detection elements that respectively detect light in a plurality of color sensitivity regions.
  • the image processing circuit includes, for each color sensitivity region, the peak wavelength of narrowband light included in the color sensitivity region, and the intensity of reflected and scattered light from the surface of the internal space detected by the light detection element corresponding to the color sensitivity region.
  • a wavelength missing region spectral intensity information estimation unit for estimating wavelength missing region spectral intensity information, which is the intensity information of the wavelength.
  • the image processing circuit also has a wavelength missing so as to be close to an image signal obtained when illumination light having no wavelength missing region is irradiated based on the narrowband light spectral intensity information and the wavelength missing region spectral intensity information.
  • a wavelength missing region correction processing unit for performing region correction processing is provided.
  • an improvement in color reproducibility is achieved in an endoscope apparatus that uses narrowband light having a plurality of discrete wavelengths as illumination light.
  • FIG. 1 schematically shows an observation apparatus according to the first embodiment.
  • FIG. 2 is an example of an emission spectrum of a semiconductor laser that emits light having a wavelength of 450 nm.
  • FIG. 3 shows a connection portion of an optical fiber type optical combiner.
  • FIG. 4 shows an optical fiber type optical combiner in which an incident side port and an output side port are integrated.
  • FIG. 5 shows a cross-sectional structure of the light emitting part.
  • FIG. 6 shows the relationship among the color sensitivity region, the narrow band light region, and the wavelength loss region in the first embodiment.
  • FIG. 7 shows the first wavelength missing region spectral intensity information estimated as narrowband light emission information and narrowband light spectral information in the first embodiment.
  • FIG. 1 schematically shows an observation apparatus according to the first embodiment.
  • FIG. 2 is an example of an emission spectrum of a semiconductor laser that emits light having a wavelength of 450 nm.
  • FIG. 3 shows a connection portion of an optical fiber type optical combiner.
  • FIG. 4 shows
  • FIG. 8 shows an example of how to obtain a correction value for the color sensitivity region 1 based on the estimated first wavelength missing region spectral intensity information.
  • FIG. 9 shows a 2 ⁇ 2 4-pixel region, which is the smallest unit in an image sensor having a Bayer array.
  • FIG. 10 shows the entire imaging screen and a 10 ⁇ 10 pixel area to be estimated.
  • FIG. 11 shows a captured image including a region where the amount of incident light is too weak or too strong in the dynamic range of the image sensor.
  • FIG. 12 shows an estimation example of the narrowband light emission information and the first wavelength missing region spectral intensity information in the modification of the first embodiment.
  • FIG. 13 schematically shows an observation apparatus according to the second embodiment.
  • FIG. 14 shows the relationship among the color sensitivity region, the narrow band light region, and the wavelength loss region in the second embodiment.
  • FIG. 15 shows first-wavelength missing region spectral intensity information estimated as narrowband light emission information and narrowband light spectral information in the second embodiment.
  • FIG. 16 shows the relationship between each semiconductor laser and the frame timing in the third embodiment.
  • FIG. 17 shows the first wavelength missing region spectral intensity information estimated as narrowband light emission information and narrowband light spectral information in the third embodiment.
  • FIG. 18 shows an estimation example of narrowband light emission information and first wavelength missing region spectral intensity information in a modification of the third embodiment.
  • FIG. 19 shows first-wavelength missing region spectral intensity information estimated as narrowband light emission information and narrowband light spectral information in illumination light in which the narrowband light 2 is omitted in the first embodiment.
  • FIG. 20 shows an example of illumination light in which three LED elements are combined.
  • FIG. 21 shows spectral reflectance spectra of test colors 1, 2, 3, 4, 5, and 6.
  • FIG. 22 shows spectral reflectance spectra of test colors 7, 8, and 15.
  • FIG. 1 schematically shows an observation apparatus according to this embodiment.
  • the present observation device is, for example, an endoscope device, and includes a main body portion 12 including a light source portion, and an insertion portion 14 having a distal end portion 18 inserted into an internal space 92 of an observation object 90.
  • the display unit 20 displays an image of the surface of the internal space of the observation object 90.
  • the main body 12 includes three semiconductor lasers (LD) 22A, 22B, and 22C having different emission wavelengths, driving circuits 26A, 26B, and 26C that drive the corresponding semiconductor lasers 22A, 22B, and 22C, and a driving circuit, respectively.
  • a light source control circuit 30 that controls the semiconductor lasers 22A, 22B, and 22C via 26A, 26B, and 26C, and three optical fibers 32A that guide laser beams emitted from the semiconductor lasers 22A, 22B, and 22C, respectively.
  • the light source control circuit 30 and the drive circuits 26A, 26B, and 26C are connected by a control signal line 28, and the drive circuits 26A, 26B, and 26C and the semiconductor lasers 22A, 22B, and 22C are connected by an electric wiring 24, respectively.
  • the light source control circuit 30 controls the amount of laser light emitted from each of the semiconductor lasers 22A, 22B, and 22C, and lighting / extinguishing of the semiconductor lasers 22A, 22B, and 22C via the drive circuits 26A, 26B, and 26C. Control is possible. Although both the control signal line 28 and the electrical wiring 24 are shown as a single straight line, a plurality of lines may be actually arranged. Further, power supply cables and other necessary items are omitted.
  • the optical fiber 46 extends to the inside of the insertion portion 14 via the connection portion 16 between the insertion portion 14 and the main body portion 12 and is provided at the distal end portion 18 of the insertion portion 14 located on the opposite side of the main body portion 12.
  • the light emitting unit 48 is optically connected.
  • the light emitting unit 48 has a function of irradiating the surface of the internal space 92 of the observation object 90 with the laser light guided by the optical fiber 46.
  • the optical fiber 46 is configured to be attachable / detachable, but the attaching / detaching mechanism is omitted for convenience, and both the body portion 12 side and the inserting portion 14 side of the attaching / detaching mechanism provided near the connecting portion 16 are optical fibers. It shall be called 46.
  • the distal end portion 18 of the insertion portion 14 is further provided with an imaging element 58 that detects reflected / scattered light from the surface of the internal space 92 of the observation object 90 and outputs an imaging signal (an electrical signal of imaging information).
  • the imaging device 58 has a large number of light detection elements including a plurality of types of light detection elements that respectively detect light in a plurality of color sensitivity regions.
  • a signal line 60 for transmitting an imaging signal output from the image sensor 58 is connected to the image sensor 58, and the signal line 60 is connected to the main body portion via the connection portion 16 between the insertion portion 14 and the main body portion 12. 12 extends to the inside. Also for the signal lines, the attachment / detachment mechanism is omitted, and a signal line for transmitting a common signal is referred to as a signal line 60.
  • the insertion portion 14 has a light emitting portion 48 and an image sensor 58 provided at the distal end portion 18, and is connected to the optical fiber 46 connected to the light emitting portion 48 and the image sensor 58.
  • a signal line 60 is partially included.
  • the signal line 60 extending inside the main body 12 is connected to an image processing circuit 62 that processes an image signal output from the image sensor 58 and outputs an image signal. That is, the main body 12 further includes a part of the signal line 60 and the image processing circuit 62.
  • the image processing circuit 62 includes a wavelength missing region spectral intensity information estimation unit 64 and a wavelength missing region correction processing unit 66 described later.
  • the image processing circuit 62 is connected to the display unit 20 by a signal line 68.
  • the image signal output from the image processing circuit 62 is transmitted to the display unit 20 via the signal line 68.
  • the display unit 20 displays an image according to the received image signal.
  • an input unit 70 for inputting information for image processing is connected to the image processing circuit 62 by an electrical wiring 72.
  • the signal line 68 and the electric wiring 72 are both shown as a single straight line, a plurality of the signal lines 68 and the electric wiring 72 may actually be arranged.
  • the insertion portion 14 has an elongated and substantially cylindrical appearance, and has a shape that can be easily inserted into the internal space 92 of the observation object 90.
  • the insertion portion 14 has a shape that is difficult to observe with a general observation apparatus and that allows the inside of the internal space 92 of the observation object 90 having a narrow entrance to be easily observed.
  • the internal space 92 of the observation object 90 may be a space that is slightly widened behind the narrow entrance. It is difficult for outside light to enter.
  • the insertion portion 14 further closes the narrow entrance, and external light hardly enters the inside.
  • the observation apparatus is suitable for observing such an internal space 92 in which external light is almost negligible compared to illumination light.
  • a semiconductor laser is a solid-state light source that emits laser light by passing a current through a semiconductor element, and lasers having various wavelengths from ultraviolet light to infrared light have been put into practical use.
  • Semiconductor lasers have features such as small size and power saving, and in recent years, development has been actively conducted for higher brightness and wavelength diversification.
  • Laser light is generally light having a wavelength characteristic of a line spectrum having a very narrow wavelength width. In the case of a semiconductor laser, the width of a spectral line (spectral line width) is generally 1 nm or less.
  • Semiconductor lasers include an edge-emitting type (striped laser) that emits light from a cleaved surface of a wafer and a surface-emitting type (vertical cavity surface emitting laser; VCSEL) that emits light from the surface of a wafer. Furthermore, a composite semiconductor laser represented by a double harmonic type (SHG semiconductor laser) or the like that combines a nonlinear crystal with the emitting portion of the semiconductor laser and halves the oscillation wavelength of the semiconductor laser has been put into practical use. .
  • striped laser that emits light from a cleaved surface of a wafer
  • VCSEL vertical cavity surface emitting laser
  • a composite semiconductor laser represented by a double harmonic type (SHG semiconductor laser) or the like that combines a nonlinear crystal with the emitting portion of the semiconductor laser and halves the oscillation wavelength of the semiconductor laser has been put into practical use. .
  • the main body 12 in the present embodiment includes three semiconductor lasers 22A, 22B, and 22C in order from the shortest oscillation wavelength.
  • the semiconductor laser 22A is a multimode semiconductor laser that emits blue laser light having a wavelength of about 450 nm.
  • the semiconductor laser 22B is a multimode semiconductor laser that emits green laser light having a wavelength of about 540 nm.
  • the semiconductor laser 22C is a multimode semiconductor laser that emits red laser light having a wavelength of about 640 nm.
  • Each of the semiconductor lasers is a multimode laser.
  • the laser oscillates at a plurality of wavelengths, but the shortest to the longest of the oscillation wavelengths are included in the wavelength range of 1 nm or less.
  • FIG. 2 is an example of an emission spectrum of the semiconductor laser 22A that emits light having a wavelength of 450 nm.
  • the emission spectrum has several tens of line spectrum components, and the ratio and the number of line spectra change with time.
  • the width of the wavelength region of the emission spectrum has a spread of about 1 nm as a whole.
  • the peak wavelength ⁇ peak as the narrow band light when the multimode laser light having such a spectrum is used as the narrow band light is defined as the wavelength having the highest light intensity.
  • the peak wavelength ⁇ peak of the semiconductor laser 22A is 450 nm.
  • the peak wavelength lambda peak 540 nm of the semiconductor laser 22B
  • the peak wavelength lambda peak 640 nm of the semiconductor laser 22C.
  • a region that can be detected by the image sensor 58 and has almost no laser light is defined as a wavelength missing region, and in particular, a region between two laser beams that are adjacent in wavelength. Is defined as the first wavelength missing region, and the region on the shorter wavelength side than the shortest wavelength laser light and the region on the longer wavelength side than the longest wavelength laser light are defined as the second wavelength missing region.
  • the region between two adjacent narrow-band light regions of the laser light is defined as the first wavelength missing region
  • the shortest A region on the short wavelength side of the narrow-band light region of the laser beam having the wavelength and a region on the long-wavelength side of the narrow-band light region of the longest wavelength laser light are defined as the second wavelength missing region.
  • a region having an intensity greater than 1/2 with respect to the peak intensity of the laser light is defined as a narrow band light region.
  • the wavelength region that can be detected by the image sensor 58 is a wavelength region having a wavelength width of about 300 nm from 400 nm to 700 nm, and three narrow-band lights having a width of 1 nm or less in this wavelength region. There is a region, and other regions of 297 nm or more are wavelength-missing regions. That is, 99% or more of the wavelength region that can be detected by the image sensor 58 is a wavelength missing region.
  • the drive circuits 26A, 26B, and 26C have a function of applying an appropriate current to the respective semiconductor lasers 22A, 22B, and 22C, and control signals that are output from the light source control circuit 30 via the control signal line 28.
  • the semiconductor lasers 22A, 22B, and 22C have a function of controlling the light emission state, such as switching the on / off state of the semiconductor lasers or causing pulsed light emission. Further, it has a function of preventing the semiconductor lasers 22A, 22B, and 22C from being electrically destroyed by sudden increase in current and application of non-standard current amount and voltage.
  • a general semiconductor laser drive circuit has various functions that a general semiconductor laser drive circuit has.
  • the light source control circuit 30 has a function of controlling the semiconductor lasers 22A, 22B, and 22C in association with each other and controlling them alone.
  • the light source control circuit 30 in the present embodiment can increase or decrease the amounts of light of all the laser beams of the three semiconductor lasers 22A, 22B, and 22C while maintaining the ratio of the light intensity of the laser beams constant. is there. In addition, it is possible to increase or decrease only the amount of specific laser light alone, and to turn it on / off.
  • the light source control circuit 30 controls to increase or decrease the total light amount while keeping the light amount ratio of the semiconductor lasers 22A, 22B and 22C constant, the color of the illumination light does not change and only the brightness is increased or decreased. Can be made. Moreover, the color of illumination light can be variously adjusted by adjusting the light quantity of semiconductor laser 22A, 22B, 22C separately. Furthermore, if all the semiconductor lasers 22A, 22B, and 22C are simultaneously flashed, a light source unit that flashes in a desired color can be realized, and a light source unit that sequentially changes the color of illumination light by sequentially flashing at different timings. Can be realized.
  • the light source control circuit 30 it is possible to configure the light source control circuit 30 so that various controls are possible depending on the application.
  • optical fibers 32A, 32B, 32C and 46 are used. Further, as the optical combiner 34, an optical fiber type optical combiner 34 as described later is used.
  • optical fibers 32A, 32B, 32C, and 46 various optical fibers that have been put into practical use can be used.
  • the optical fibers 32A, 32B, 32C, and 46 are used to efficiently enter and guide the multimode laser light.
  • a multimode type optical fiber is used.
  • a multimode type optical fiber generally has a core diameter of about several tens to 200 ⁇ m.
  • the core diameter of the optical fiber is preferably thick in order to improve the incident light rate of the laser light emitted from the semiconductor lasers 22A, 22B, and 22C, whereas it is thin in order to bend easily and reduce the diameter of the insertion portion 14.
  • the optical structure of the connecting portion that optically connects the semiconductor lasers 22A, 22B, and 22C and the optical fibers 32A, 32B, and 32C, and the spread of the laser light emitted from the semiconductor lasers 22A, 22B, and 22C to be used.
  • the thickness is selected based on the thickness of the insertion portion 14 and the optical input / output requirements of the optical combiner 34 described later.
  • an optical fiber having a core diameter of about 50 ⁇ m and a cladding diameter of about 125 ⁇ m is used as the optical fiber 46 that is mounted on the insertion portion 14 and guides the laser light to the light emitting portion 48.
  • optical fibers with various characteristics have been put into practical use for each application.
  • NA the numerical aperture NA based on the refractive index difference between the core and the clad, the clad diameter and the outer covering structure that affects the ease of bending and the strength, etc. can be selected appropriately.
  • optical fibers can be made of various materials.
  • plastic cores and plastic clads that are widely used for short-distance optical transmission can also be used.
  • a composite type optical fiber combining a glass core and a plastic clad can also be used.
  • a quartz core or glass clad optical fiber having relatively high light durability is used because of the intensity and wavelength of light to be used.
  • the optical combiner 34 is an optical element having a function of combining light incident from a plurality of input ends into one exit end.
  • a spatial optical system combining a cross prism, a dichroic mirror, etc., or an optical fiber type in which a core portion of a plurality of thin optical fibers is connected to a core portion of a single thick optical fiber
  • a laser beam capable of coupling laser beams from a plurality of lasers to one optical fiber can be used.
  • FIG. 3 shows an example of an optical fiber type optical combiner 34.
  • FIG. 3 shows a connection portion of an optical fiber type optical combiner 34.
  • three incident-side optical fibers 32A to 32C connected to three input ports and an output-side optical fiber 46 connected to one output port are pressed so that their end faces face each other.
  • This is an example of a three-input one-output optical combiner 34 optically connected.
  • FIG. 3 is an image diagram giving priority to easy understanding, but in reality, the vicinity of the connecting portion is fixed by fusion or adhesive, etc., and for improving the mechanical strength of the connecting portion. The whole is covered with a cover or the like. In the case of such an optical fiber type optical combiner 34, as shown in FIG.
  • the optical fibers 36A, 36B, 36C as the incident side ports and the optical fiber 42 as the outgoing side port are integrated with the optical combiner 40. It may be. In such a case, only the portion in the vicinity of the connecting portion (covered with a cover or the like) may be referred to as an optical combiner, and includes the connectors 38A, 38B, 38C on the incident side port and the connector 44 on the outgoing side port. Sometimes called an optical combiner.
  • the optical combiner 34 shown in FIG. 3 has a configuration in which the diameter of the output side optical fiber 46 is larger than the diameter of the incident side optical fibers 32A to 32C.
  • the light source portion with the diameters differently as described above, and it is also possible to process the output side optical fiber 46 so as to be gradually narrowed so as to have a gentle taper.
  • 3 and 4 show examples of the optical combiner 34 having three inputs and one output (meaning three incident ends and one exit end) in accordance with the configuration of the present embodiment, but is not limited thereto.
  • the one with many inputs and one output that couples a large number of input side optical fibers with one optical fiber has been put into practical use, and such various optical combiners are used. be able to.
  • a plurality of optical combiners can be connected in series to adjust the incident fraction according to the purpose.
  • a three-input one-output optical combiner can be configured as a whole by connecting the exit end of another two-input one-output optical combiner to one incident end of a two-input one-output optical combiner. It becomes possible.
  • various types of optical combiners can be configured by connecting various optical combiners in series or in parallel.
  • the present invention is not limited to this.
  • a 2 ⁇ 2 optical coupler in which the side surfaces of the cores of the optical fibers are optically connected, a plurality of light emitting portions 48 can be provided at the distal end portion 18.
  • various optical couplers such as 3 ⁇ 3 or more optical couplers can be used alone or in combination with an optical combiner.
  • the light emitting section 48 emits three narrow-band light beams having different wavelengths, which are emitted from the three semiconductor lasers 22A, 22B, and 22C and incident on one optical fiber 46 by the optical combiner 34, for illumination use. It also has a function of adjusting the optical characteristics and emitting it as illumination light. That is, it has the function of adjusting the optical characteristics of the laser light that is the primary light emitted from the light source unit to produce illumination light and emitting it.
  • the laser beam is emitted as it is, it may be dangerous to the human body depending on the radiation angle and light intensity per unit angle, so the laser beam can be expanded to a safe level and the emission point size can be increased. It needs to be bigger.
  • speckle noise is generated in which a bright spot is randomly generated. Speckle noise not only gives an observer an unpleasant feeling such as flickering, but also becomes an obstructive factor for detail observation of an observation object. For this reason, it is necessary to reduce coherency.
  • NA which is an index based on the difference in refractive index between the core and clad of the optical fiber
  • NA has wavelength dependence as well as the refractive index. Since the radiation angle of the laser light emitted from the exit end of the optical fiber depends on this NA, the radiation angle also has wavelength dependency. If the radiation angle is different for each wavelength, concentric color unevenness occurs, and there is a problem that the color appearance changes depending on the position of the illumination object. In order to eliminate the difference in the radiation angle for each wavelength, it is necessary to adjust the radiation angle and the light distribution.
  • the light emitting unit 48 is equipped with a function of adjusting optical characteristics such as a radiation angle, a light distribution angle, coherency, and a light emitting point for the various reasons described above.
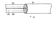
  • the light emission part 48 has a structure shown in FIG. FIG. 5 shows a cross section of the light emitting portion 48 broken along a plane passing through the central axis of the tip portion of the optical fiber 46.
  • the light emitting portion 48 has a holder 50 having a truncated conical through hole.
  • a reflection mirror 54 is provided on the inner surface of the through hole to define the cavity 52.
  • the cavity 52 is filled with a resin that is transparent to the laser light emitted from the semiconductor lasers 22A, 22B, and 22C.
  • An optical fiber 46 is connected to one end on the small diameter side of the cavity 52, and a diffusion plate 56 is attached to the opening of the through hole of the holder 50 on the opposite side in a lid shape.
  • the optical fiber 46 and the holder 50 are assembled so as to maintain an optical positional relationship by a member (not shown) such as a ferrule or a sleeve.
  • the laser light guided by the optical fiber 46 and emitted from the optical fiber 46 enters the transparent resin in the cavity 52, and changes the NA of the optical fiber 46, the refractive index of the resin in the cavity 52, the wavelength of the laser light, and the like.
  • the light travels while spreading at a corresponding spread angle and enters the diffusion plate 56.
  • the diffusing plate 56 is obtained by dispersing particles having a large refractive index, such as alumina, in a transparent resin, or by diffusing a structure having a small refractive index, such as fine bubbles, and has fine irregularities on the surface. Ground glass and the like, and composites thereof can be used. In addition, various members known as diffusion plates can be applied.
  • a part of the laser light incident on the diffusion plate 56 passes through the diffusion plate 56 and is emitted to the outside, and another part is reflected and scattered backward.
  • the laser light reflected and scattered rearward is reflected by the frustoconical reflection mirror 54 and travels forward again, part of which is emitted to the outside, and another part is emitted backward again. While repeating these series of operations, the laser light which is the primary light incident on the light emitting unit 48 is adjusted by the light emitting unit 48 in terms of its optical characteristics such as radiation angle, light distribution, coherency, etc. Proceed to the outside as.
  • the size of the light emitting point is the size of the core portion of the fiber when there is no light emitting portion 48, but after passing through the light emitting portion 48, it becomes the size of the outer surface of the diffusion plate 56. That is, the size of the light emitting point is larger than that of the light emitting unit 48.
  • the light distribution of the laser light emitted from the semiconductor lasers 22A, 22B, and 22C is made almost uniform, and there is no color unevenness, and the coherency is low. Good illumination light can be realized.
  • FIG. 6 shows an image diagram of the spectrum of illumination light emitted from the light emitting unit 48 in the present embodiment.
  • the wavelength and the intensity ratio of each laser beam are three narrow-band lights having substantially the same wavelength and intensity ratio without largely changing from those emitted from the semiconductor lasers 22A, 22B, and 22C.
  • Laser light is emitted as illumination light. That is, the primary light and the illumination light have substantially the same wavelength and the intensity ratio of the three laser lights.
  • the structure of the light emission part 48 shown here is only an example, and various deformation
  • the entire light emitting unit 48 is vibrated minutely, or another speckle countermeasure optical system according to the prior art is provided downstream of the light emitting unit 48.
  • two or more diffusion plates 56 may be provided, or another diffusion plate 56 may be provided after the light emitting unit 48.
  • an optical system such as a lens can be used to finely adjust the light distribution and the radiation angle.
  • the image pickup system includes an imager that is an image pickup device 58 provided at the distal end of the insertion portion 14 and an image processing circuit 62 provided inside the main body portion 12.
  • the imager and the image pickup processing circuit include a signal line 60. (Fig. 1).
  • the observation apparatus is used in an environment in which the insertion portion 14 is inserted into the internal space 92 of the observation object 90 and the amount of external light such as natural light or room light is negligible compared to the amount of illumination light. Is assumed. Therefore, the image sensor 58 acquires an image of the surface of the internal space 92 of the observation object 90 by the reflected and scattered light of the illumination light emitted from the light emitting unit 48 toward the observation object 90.
  • the image sensor 58 has a function of separately acquiring light in three wavelength regions of a red region (R region), a green region (G region), and a blue region (B region), respectively.
  • the image pickup device 58 includes three types of light detection elements: an R light detection element that detects light in the R region, a G light detection element that detects light in the G region, and a B light detection element that detects light in the B region.
  • Each of the R light detection element, the G light detection element, and the B light detection element is a light detection element provided with R, G, and B filters having spectral characteristics as shown in the upper part of FIG.
  • FIG. 6 shows an example of a general primary color filter for the image sensor 58.
  • a number of R light detection elements, G light detection elements, and B light detection elements are arranged in a matrix, as in a general imaging device 58 that is widely used. For example, a Bayer array is provided (not shown).
  • the image sensor 58 has three types of light detection elements having different wavelength characteristics.
  • each RGB filter As shown in the upper part of FIG. 6, the characteristics of each RGB filter include a region having a high transmittance, and the transmittance gradually decreases from there. Also, there is almost no region with a transmittance of 0%, and each filter has a transmittance of several percent to about 10% in a wide region of visible light. In other words, each filter has a transmittance of approximately 5 to 20% in a region other than the wavelength region intended to be detected by the image sensor 58. That is, it can be said that this level of transmittance is negligible for the purpose of color image photography. Therefore, a region having a transmittance of 20% or more excluding these regions is defined as a sensitivity region of each light detection element.
  • the sensitivity region of each light detection element in this embodiment is the visible region
  • the sensitivity region of the B light detection element is 400 nm to 525 nm
  • the sensitivity region of the G light detection element is 470 nm to 625 nm
  • R light detection The sensitivity region of the element is from 570 nm to 700 nm.
  • the sensitivity overlapping region 1 (BG) is a region of 470 nm to 525 nm
  • the sensitivity overlapping region 2 (GR) is a region of 570 nm to 625 nm. The light having the wavelength included in the sensitivity overlapping region is detected with sensitivity that cannot be ignored by the two light detection elements adjacent in wavelength.
  • the general image pickup device 58 is provided with an infrared cut filter for the purpose of removing unnecessary infrared rays.
  • an infrared cut filter that removes light having a wavelength of 700 nm or more is provided.
  • the R filter characteristic in the color sensitivity region 3 shown in FIG. 6 shows high transmittance near 700 nm, but the limit on the long wavelength side of the region that can be detected by the image sensor 58 is 700 nm.
  • the lower limit wavelength that can be detected by the material constituting the image sensor 58 is determined for the general image sensor 58.
  • the image sensor 58 used in the present embodiment is a CCD or C-MOS imager using a silicon semiconductor.
  • the detection limit on the short wavelength side of the imaging element 58 using a silicon semiconductor is approximately 400 nm. For this reason, the limit on the short wavelength side of the region that can be detected by the image sensor 58 in this embodiment is 400 nm.
  • FIG. 6 shows the wavelength relationship between the color sensitivity region, the sensitivity overlap region, the wavelength of the laser light emitted from the three semiconductor lasers 22A, 22B, and 22C, the narrow-band light region, and the wavelength loss region in this embodiment. ing.
  • the blue light having a wavelength of 450 nm emitted from the semiconductor laser 22A is included in the blue color sensitivity region 1 transmitted by the B filter, and the green light having a wavelength of 540 nm emitted from the semiconductor laser 22B.
  • the light is included in the green color sensitivity region 2 where the G filter transmits, and the red light having a wavelength of 640 nm emitted from the semiconductor laser 22C is included in the color sensitivity region 3 where the R filter transmits.
  • none of the light from the semiconductor laser 22A, the light from the semiconductor laser 22B, or the light from the semiconductor laser 22C is included in the sensitivity overlapping region.
  • the light detection element corresponding to the color sensitivity region 1 detects only blue light having a wavelength of 450 nm from the semiconductor laser 22A, and does not detect other light.
  • the light detection element corresponding to the color sensitivity region 2 detects only green light having a wavelength of 540 nm from the semiconductor laser 22B and does not detect other light
  • the light detection element corresponding to the color sensitivity region 3 is Only red light having a wavelength of 640 nm from the semiconductor laser 22C is detected, and other light is not detected.
  • each of the color sensitivity regions 1, 2, and 3 is a single narrowband. This is a light color sensitivity region.
  • the image sensor 58 is supplied with electric power through an electrical wiring (not shown), and is instructed to start and end imaging. In accordance with an instruction to start imaging, the imaging device 58 starts imaging and receives illumination light reflected and scattered by the surface of the internal space 92 of the observation object 90. Each light detection element of the image sensor 58 detects an image signal for each color sensitivity region based on the wavelength characteristics of the combined filter, and transmits the image signal to the image processing circuit 62 through the signal line 60.
  • the image processing circuit 62 has a function of converting the received imaging signal into image information by performing appropriate image processing and outputting the image information to the display unit 20 as an image signal.
  • the illumination light emitted from the light emitting section 48 is only three laser beams as shown in the lower part of FIG. 6, and all the areas that can be detected by the image sensor 58 are wavelength-missing areas. For this reason, the image processing circuit 62 corrects the wavelength missing region and is obtained when illumination light having no wavelength missing region (broadband light whose wavelength band extends over the entire wavelength region detectable by the image sensor 58) is used. Image processing is performed so as to approach the image.
  • the image processing circuit 62 Based on the received imaging signal, the image processing circuit 62 has a wavelength missing region spectral intensity information estimation unit 64 that estimates spectral intensity information of the wavelength missing region, and no wavelength missing region from the estimated wavelength missing region spectral intensity information.
  • a wavelength missing region correction processing unit 66 for performing correction close to an image when used for illumination light.
  • the wavelength-missing region spectral intensity information estimation unit 64 generates reflected / scattered light from the observation object 90 in the wavelength-missing region from the information on the light reflected and scattered by the observation object 90 from the illumination light composed of the three laser beams. presume. This flow will be described in order based on FIG.
  • the spectrum of the illumination light in this embodiment is composed of three narrow-band lights as shown in the upper part of FIG. That is, narrowband light emission intensity information ( ⁇ , I) is determined from the peak wavelength of each laser beam and its intensity.
  • the narrow-band light emission intensity information (wavelength ⁇ , light emission intensity I) can be appropriately set according to the purpose of use of the observation apparatus.
  • narrow-band light spectral intensity information (wavelength ⁇ , received light intensity P) that is an imaging signal is obtained.
  • a method for deriving narrowband light spectral intensity information ( ⁇ , P) in an actual scene will be described later.
  • the wavelength missing region spectral intensity information estimation unit 64 calculates wavelength missing region spectral intensity information based on the narrowband light spectral intensity information ( ⁇ 1 , P 1 ), ( ⁇ 2 P 2 ), ( ⁇ 3 , P 3 ). To do.
  • first wavelength missing region spectral intensity information which is wavelength missing region spectral intensity information for only the first wavelength missing region, is estimated. That is, in the hypothetical graph in which the wavelength missing region spectral intensity information estimation unit 64 has the wavelength ⁇ on the horizontal axis and the received light intensity P on the vertical axis, as shown in the lower part of FIG. A virtual curve that smoothly and continuously connects the coordinates of the three points is calculated by interpolation.
  • the curve is calculated using a smoothing technique based on function approximation.
  • function approximation for example, various commonly used smoothing techniques such as approximation by the least square method, approximation by a higher-order function, approximation by a power function, and the like can be used.
  • the curve of the first wavelength missing region spectral intensity information obtained in this way is obtained by separating the reflected scattered light with the spectroscope when irradiating the observation object 90 with broad illumination light that is broadband light having no wavelength missing region. It can be said that the spectrum when detected is estimated.
  • the spectroscope here refers to a photodetector capable of separating and detecting the light intensity per unit wavelength with respect to a predetermined wavelength region.
  • the narrow-band light spectral intensity information ( ⁇ , P) is connected so as to be smoothly continuous, and the first wavelength-missing region spectral intensity information is estimated, which is close to the case where broad illumination light is used.
  • First wavelength missing region spectral intensity information can be obtained. This is because an object existing in nature such as a living body is not a spectral reflectance that has a sharp point like a line graph or a linear spectral reflectance, but has a smooth unevenness and some irregularities. This is because most of them have a spectral reflectance.
  • the wavelength missing region spectral intensity information estimation unit 64 estimates the first wavelength missing region spectral intensity information so that the narrow band spectral intensity information ( ⁇ , P) is connected smoothly and continuously.
  • the wavelength missing region correction processing unit 66 uses the first wavelength missing region spectral intensity information estimated by the wavelength missing region spectral intensity information estimation unit 64 and uses the illumination light having no wavelength missing region to detect each color sensitivity of the image sensor 58.
  • the light amount information P 1 and estimate that the light detection element corresponding to the region will receive is estimated for each color sensitivity region.
  • the wavelength missing area correction processing unit 66 compares the received light intensity P 1 and detect actually received by the light detection element corresponding to the color sensitivity area of the image sensor 58 with the estimated light quantity P 1 and estimate and calculates a correction value. .
  • the wavelength missing region correction processing unit 66 processes the received imaging signal based on the calculated correction value, and transmits it to the display unit 20 as an image signal that is the corrected received light amount information PP.
  • the corrected received light amount information PP which is an image signal close to that observed when illuminating illumination light having no wavelength loss region
  • the estimated light amounts P 1 and estimate may be used as they are, or P 1 , detect and P 2 , A coefficient obtained from comparison of estimate and P 1 and detect may be used as a pair.
  • the former case a simple configuration with almost no processing load on the display unit 20 is possible, and in the latter case, further fine adjustment can be performed on the display unit 20 side.
  • FIG. 8 is an image diagram showing a flow of calculating the above-described correction value based on the first wavelength missing region spectral intensity information estimated by the wavelength missing region spectral intensity information estimation unit 64.
  • the second and third stages are image diagrams showing an example of how to obtain correction values for the color sensitivity region 1.
  • the wavelength missing area correction processing unit 66 has the same area as the area of the substantially trapezoidal shape indicated by the oblique lines, and the width in the wavelength direction is the same as the area of the substantially trapezoidal shape, and is hatched at the third row in FIG.
  • the rectangle shown is calculated, and its height is obtained as the corrected light quantity P1 , estimate .
  • the image processing apparatus may transmit this value as it is to the display unit 20 as an image signal.
  • the value of P1 , estimate / P1 detect may be calculated as a correction value and used for an image captured at another timing or another color area of the image captured at the same time. Is possible.
  • the first wavelength missing region spectral intensity information which is a spectral reflection spectrum
  • the second wavelength missing region spectral intensity information is estimated based on the same method. be able to.
  • the spectral reflectance of this region can be obtained by extrapolation. That is, extrapolation is performed by the above-described smoothing by function approximation, and the spectral reflection spectrum may be estimated for the entire second wavelength missing region (the bottom stage in FIG. 8).
  • the sensitivity of the imager, the characteristics of the filter, and the emission spectrum of the light source may be taken into consideration.
  • the observation target 90 is irradiated with illumination light having a wavelength missing region configured by three laser beams, illumination light having no wavelength missing region is obtained.
  • the light intensity that the light detection element will detect when illuminated can be estimated.
  • a narrowband light intensity deriving region which is an image region for estimating wavelength missing region spectral intensity information.
  • the above-described series of estimation of the wavelength missing region spectral intensity information is performed by detecting the light detection element corresponding to the color sensitivity region 1 of the image sensor 58, the light detection element corresponding to the color sensitivity region 2, and the light corresponding to the color sensitivity region 3.
  • Any minimal unit that includes a sensing element can be implemented.
  • the minimum unit refers to a unit that includes all the color pixels of the image sensor 58 and can form the entire image screen of the image sensor 58 by spreading the unit.
  • 2 ⁇ 2 four pixels which are a combination of one B pixel, one R pixel, and two G pixels, are the minimum unit. That is, 2 ⁇ 2 4 pixels can be used as the narrowband light intensity deriving region.
  • the entire imaging screen of the imaging element 58 is also possible to use as a narrow band light intensity deriving region. That is, a representative value is extracted by a method such as an average for each light receiving intensity P value of the light detection elements corresponding to the color sensitivity regions 1, 2, and 3 over the entire imaging screen of the imaging element 58, and the value is used. It is also possible to estimate the wavelength missing region spectral intensity information.
  • the estimation is performed for the smallest unit, fine correction can be made for the entire imaging screen, so the rate of improvement in color reproducibility is high, and it is closer to the image when using illumination light with no wavelength loss region. Is possible.
  • the estimation is performed in units of the entire imaging screen, the load on the image processing circuit 62 can be reduced, so that high-speed processing and a small image processing circuit 62 can be realized.
  • an intermediate region as a narrow-band light intensity derivation region.
  • a blackened area or an overexposed area that is, an area where the amount of incident light is too weak or too strong in the dynamic range of the image sensor 58, in other words, near the upper limit of the dynamic range of the image sensor 58 and By excluding the region near the lower limit, it is possible to perform appropriate correction (FIG. 11). Further, when the expected ratio of the color sensitivity regions 1, 2, and 3 of the narrow-band light spectral intensity information (wavelength ⁇ , received light intensity P) of the observation object 90 is known, the ratio is close to this. It is also possible to automatically extract only the image area and perform image correction only on that area.
  • the operator can specify a region where image correction is desired via the input unit 70 during observation.
  • a region for which color reproducibility is to be improved and performing image correction using only the estimated portion the load on the image processing circuit 62 is reduced, and high-speed image processing is performed while performing high-speed image processing. It is possible to improve the color reproducibility of the observation object 90.
  • the basic configuration of the observation apparatus described above is not changed, but the narrowband light spectral intensity information (wavelength ⁇ , light reception) performed by the image processing circuit 62 is not changed.
  • the extraction method of intensity P) is different.
  • calculation of the received light intensity P with respect to the wavelength information ⁇ will be described for the narrowband light spectral intensity information.
  • the received light intensity P takes an average value in the estimated image region. That is, as shown in FIG. 9, when the image sensor 58 having the Bayer array is estimated for 2 ⁇ 2 pixels, which are the minimum unit, the color sensitivity region 1 (B pixel) and the color sensitivity region 3 ( For the R pixel, the detected value is directly received light intensity P 1, detect , P 3, detect .
  • each pixel of the color sensitivity area 1, color sensitivity area 2, and color sensitivity area 3 in the entire imaging screen receives light.
  • An average of the received light intensity for each color sensitivity region may be calculated and obtained as received light intensity P1 , detect , P2 , detect , P3, detect .
  • the entire imaging screen described above is divided into several intermediate areas (for example, a plurality of areas of 10 ⁇ 10 pixels shown in FIG. 10) and the average value is obtained for each of the intermediate areas. Accordingly, the received light intensity can be obtained by a similar method.
  • a method other than obtaining the average value as a method of obtaining the representative value.
  • a value having the highest occurrence frequency in a predetermined area can be used as a representative value. That is, in the histogram in which the light reception intensity of each pixel is on the horizontal axis and the number of pixels is on the vertical axis, the light reception intensity with the largest number of pixels can be used as a representative value. According to this method, since the light reception intensity of the largest number of pixels, that is, the widest region, can be used as a representative value in a predetermined region of the entire imaging screen, the color reproducibility of the widest region can be improved.
  • the value of a pixel having the highest received light intensity in a specific color sensitivity region can be used as a representative value.
  • the inner surface of the living body that is the observation object 90 is almost red, so that the color reproducibility of the red region is important. For this reason, it is possible to further improve the color reproducibility of the red observation object 90 by using the value of the pixel having the highest received light intensity in the color sensitivity region 3 (R pixel) as a representative value (FIG. 11).
  • R pixel color sensitivity region 3
  • FIG. 11 for the sake of convenience, the grid-like lines that image the pixels do not coincide with the lines indicating the boundary between the incident light amount and the color region. However, in an actual scene, the lines that set such boundaries are also described above. It goes without saying that it matches the smallest unit.
  • a representative value can be obtained by combining the above.
  • a representative value can be obtained by extracting a pixel having the highest received light intensity in a specific color sensitivity region, for example, a red region, and obtaining an average value of the pixels. According to such a method, it becomes possible to improve the color reproducibility of the observation object 90 that looks reddish, including the reddish region other than red.
  • the semiconductor lasers 22A, 22B, and 22C are connected to a single light source control circuit 30 with drive circuits 26A, 26B, and 26C interposed therebetween.
  • the light source control circuit 30 sends control signals to the drive circuits 26A, 26B via the control signal line 28 connected to the drive circuits 26A, 26B, 26C according to external input (not shown) or information of the image processing circuit 62. , 26C.
  • the drive circuits 26A, 26B, and 26C supply power corresponding to the control signal from the light source control circuit 30 to the semiconductor lasers 22A, 22B, and 22C, respectively.
  • Each of the semiconductor lasers 22A, 22B, and 22C emits a laser beam having a specific wavelength at a light amount and timing according to a request from the light source control circuit 30 by using the obtained power.
  • the laser light is incident on the optical combiner 34 via the optical fibers 32A, 32B, and 32C connected to the semiconductor lasers 22A, 22B, and 22C.
  • the laser beams of three different wavelengths incident on the optical combiner 34 are optically combined here and incident on one optical fiber 46.
  • the laser light of three wavelengths incident on one optical fiber 46 propagates through the optical fiber 46 and enters a light emitting portion 48 provided at the end of the optical fiber.
  • the light emitting section 48 is configured as shown in FIG.
  • the light source control circuit 30 sets the light quantity ratio and timing of the light emission of each of the semiconductor lasers 22A, 22B, and 22C according to the characteristics required for the illumination light irradiated toward the surface of the internal space 92 of the observation object 90. be able to. For example, the light can be emitted in the order of red, green, and blue. Moreover, a specific combination of light can be emitted at a specific timing.
  • Illumination light emitted from the light emitting unit 48 is three narrow-band lights in terms of wavelength, which are blue laser light, green laser light, and red laser light, and the light distribution is sufficiently diffused to provide coherency. Is diffused light that is sufficiently low. Such illumination light is applied to the observation object 90 and becomes reflected and scattered light corresponding to the spectral reflectance of the observation object 90. Of this reflected and scattered light, a component that travels toward the image sensor 58 provided at the distal end portion 18 of the insertion portion 14 enters the image sensor 58 and is detected as an image signal.
  • the imaging device 58 has three wavelength sensitivity bands as shown in FIG. 6, that is, an R light sensitivity region, a G light sensitivity region, and a B light sensitivity region.
  • the relationship between the photosensitivity region of the image sensor 58 and the wavelengths of the three narrow-band lights is as described above. For this reason, the red laser light from the semiconductor laser 22C is reflected and incident on the light detection element corresponding to the R light sensitivity region according to the spectral reflectance of the observation object 90 with respect to the red light. Similarly, the green laser light from the semiconductor laser 22B is incident on the light detection element corresponding to the G light sensitivity region, and the blue laser light from the semiconductor laser 22A is incident on the light detection element corresponding to the B sensitivity region. To do. That is, one narrow band light is incident on each of the R light detection element, the G light detection element, and the B light detection element.
  • the intensity ratios of the three narrow-band lights of the illumination light emitted from the semiconductor lasers 22A, 22B, and 22C and emitted from the light emitting unit 48 are substantially equal as shown in FIG. ing. Accordingly, when the spectral reflectance of the observation object 90 is flat, the amount of light incident on each light detection element is configured to have substantially the same intensity. Further, when the spectral reflectance is not flat, the amount of light incident on each light detection element is applied to each light detection element at an intensity ratio according to the spectral reflectance at the wavelength of the narrowband light ⁇ 1 to ⁇ 3 incident on each light detection element. Received light.
  • the reflected and scattered light of the illumination light incident on the image sensor 58 is converted into an image signal by the image sensor 58 and an electric circuit (not shown) and transmitted to the image processing circuit 62 via the signal line 60.
  • the wavelength missing region spectral intensity information estimation unit 64 estimates the spectral intensity of the wavelength missing region for each unit unit that estimates the spectral intensity of the wavelength missing region (FIG. 7).
  • a Bayer array image sensor 58 is assumed, and a unit unit for estimating the spectral intensity is a minimum unit of 2 ⁇ 2 pixels.
  • the image processing circuit 62 calculates narrowband light spectral intensity information ( ⁇ , P) for each minimum unit of 2 ⁇ 2 pixels.
  • the illumination light emitted from the light emitting unit 48 is reflected and scattered according to the spectral reflectance that is the reflectance for each wavelength of the observation object 90, and a part thereof enters the image sensor 58.
  • the coordinates are ( ⁇ 1 , P 1 ) and ( ⁇ 3 , P 3 ), respectively.
  • the intensity of light incident on the first G pixel is P 2a
  • the intensity of light incident on the second G pixel is P 2b .
  • the image processing circuit 62 uses the narrowband light spectral intensity information generation unit that estimates the narrowband light spectral intensity information ( ⁇ , P) to generate the narrowband light spectral intensity information ( ⁇ 1 , P 1 ), ( ⁇ 2 , P 2 ), ( ⁇ 3 , P 3 ).
  • the image processing circuit estimates the spectral intensity information of the wavelength missing region by the wavelength missing region spectral intensity information estimation unit 64.
  • the wavelength missing region spectral intensity information estimation unit 64 estimates the spectral intensity information of the first wavelength missing region from the information of the three coordinates that are the narrowband light spectral intensity information using a function approximation technique.
  • the function approximation technique any technique may be used as long as it is a technique for storing the coordinates used in various technical fields. In the present embodiment, as shown in FIG. 7, only the first wavelength missing region, which is a region between two adjacent laser beams, is estimated among the wavelength missing regions.
  • the wavelength missing region correction processing unit 66 Based on the first wavelength missing region spectral intensity information estimated by the wavelength missing region spectral intensity information estimation unit 64, the wavelength missing region correction processing unit 66 performs image correction to illuminate light having no wavelength missing region (the imaging element 58 has Image correction processing for approximating the image when using broadband light whose wavelength band is spread over the entire detectable wavelength region is performed.
  • the wavelength missing region correction processing unit 66 uses illumination light having no wavelength missing region based on the first wavelength missing region spectral intensity information in the color sensitivity region which is a wavelength range in which each color sensitivity region of the image sensor 58 can be detected.
  • the light intensity information P1 estimate that each color sensitivity region of the image sensor 58 will receive is estimated. That is, a correction value for correcting light intensity information P 1, detect that is actually incident on the color sensitivity area 1 of the image sensor 58 with illumination light having a wavelength-missing area to light intensity information P 1, estimate is obtained. .
  • the wavelength missing region correction processing unit 66 integrates the estimated first wavelength missing region spectral intensity information for the region within the color sensitivity region 1 and between the wavelength of the semiconductor laser 22A and the wavelength of the semiconductor laser 22B. The area is obtained (FIG. 8). Next, the height of a virtual rectangle that has the same area as the obtained area is obtained. This height is P1 , estimate .
  • the estimated wavelength missing region spectral intensity information is integrated to obtain the corrected light intensity information P 1 and estimate , but the present invention is not limited to this.
  • the average value of the light intensity may be obtained in the wavelength range of the wavelength missing region spectral intensity information effective in each color sensitivity region. According to this method, P 1 and estimate can be obtained more easily than the method using integration. Further, an average of the minimum value and the maximum value in the same wavelength range may be obtained. According to this method, P 1 and estimate can be obtained more simply.
  • the image processing circuit 62 transmits the image signal corrected based on P 1 and estimate thus obtained to the display unit 20 as corrected received light amount information PP.
  • the wavelength missing region spectral intensity information is estimated and corrected only for the first wavelength missing region which is the wavelength missing region between the narrowband lights is shown, but the present invention is not limited to this.
  • the wavelength missing region spectral intensity information can be estimated by extrapolation, and the corrected light intensity information P 1 and estimate can be obtained by the above-described method. By doing in this way, it becomes possible to estimate wavelength missing area spectral intensity information in a wider wavelength range and to use it for P 1 and estimate . This is effective when the number of narrowband lights is two, or even when the number of narrowband lights is three or more, the light is concentrated in some wavelength regions such as the green to red region.
  • correction may be performed in consideration of sensitivity characteristics of the image sensor 58.
  • the image sensor 58 has unique characteristics due to the difference in the material system of the image sensor 58. In the case of the image sensor 58 made of silicon semiconductor, the detection sensitivity in the wavelength region of 400 nm or less is extremely low. On the other hand, the detection sensitivity on the long wavelength side is high, and the detection sensitivity is good even in the near infrared region. Further, in order to determine the width of the color sensitivity region, the image sensor 58 has a filter having a wavelength characteristic as shown in the upper part of FIG. Further, an infrared cut filter (not shown) and other various filters are used in combination for each application.
  • the characteristics of such a filter affect the intensity of the received light intensity P of the spectrum of illumination light ⁇ the narrow-band light spectral intensity information ( ⁇ , P) in FIG. Since the characteristics of the image sensor 58 and the wavelength characteristics of the filter are known in advance, P 1 , detect and real incident on the image sensor 58 are estimated from the actually detected light intensities P 1 and detect so as to correct them. May be. By performing such processing, more accurate spectral intensity information of the wavelength missing region can be estimated, and color reproducibility can be further improved.
  • the configuration of the present embodiment improves the color reproducibility of the observation apparatus using the illumination light having the wavelength missing region, and the observation apparatus using the illumination light without the wavelength loss region. It becomes possible to approximate the image obtained by the above. In particular, even in an observation apparatus in which most of the region that can be detected by the image sensor 58 is a wavelength missing region, such as using a laser beam having a particularly narrow wavelength width as illumination light as narrowband light, there is no wavelength missing region. An image close to an image using illumination light can be realized by adding a function to the image processing circuit 62.
  • the function of the wavelength missing region spectral intensity information estimation unit 64 included in the image processing circuit 62 is different from that of the first embodiment.
  • the first embodiment as shown in FIG. 7, three points of narrowband light spectral intensity information (wavelength ⁇ , received light intensity P) corresponding to three narrowband lights are obtained by a smoothing technique using function approximation. We showed how to calculate a virtual curve that smoothly and continuously connects the coordinates of the two by interpolation.
  • This modification is different from the first embodiment in that the wavelength missing region spectral intensity information estimation unit 64 estimates the wavelength missing spectral intensity information so as to be a discontinuous straight line as shown in FIG. .
  • the modification shown in the middle stage of FIG. 12 is an example in which it is estimated that the received light intensity received by the light detection element corresponding to each color sensitivity region of the image sensor 58 is a constant light intensity over the entire wavelength region (estimation 4). ).
  • the received light intensity P is at the point of the wavelength ⁇ 1 , it is assumed that light having a constant light intensity is irradiated to the entire wavelength region received by the color sensitivity region 1 and the spectral intensity of the wavelength missing region is estimated. To do. With this configuration, it is possible to estimate spectral intensity information in the wavelength missing region with a very simple configuration.
  • the filter characteristics of the image sensor 58 and the light receiving sensitivity characteristics of the image sensor 58 which were impossible with only one point of information, are corrected, and the illumination light having no wavelength missing region is observed. It is possible to estimate spectral information of incident light reflected and scattered at 90 and incident on the image sensor 58.
  • the color sensitivity region of the image sensor 58 shown in the first embodiment has an overlap with the adjacent color sensitivity region.
  • the spectral intensity information is estimated to be different for each color sensitivity region on both sides of the sensitivity overlapping regions 1 and 2.
  • the example of “Estimation 2” shown in the lower part of FIG. 12 in the sensitivity overlap region of the adjacent color sensitivity regions in the wavelength loss region, the light detection elements corresponding to the two color sensitivity regions receive light.
  • An example in which wavelength missing region spectral intensity information is estimated based on an average value of received light intensity P is shown.
  • the color reproducibility is improved without greatly impairing the calculation speed of the estimation, and the image obtained when using illumination light having no wavelength-missing region is approximated. Is possible.
  • the configuration of the present modification is only the estimation method of the wavelength missing region spectral intensity information estimation unit 64 in the image processing circuit 62 is changed, and other configurations are shown in the first embodiment.
  • Various configurations can be used.
  • such a modification can be realized by changing only the software of the image processing circuit 62. Therefore, the modification is used only at a timing at which calculation speed is prioritized over color reproducibility, and at other timings. It is also preferable to use a smoothing technique by function approximation that is smoothly continuous as shown in the first embodiment.
  • the number of color sensitivity regions and the number of narrow-band lights are equal to each other, and three narrow-band lights 1, 2, and 3 are respectively provided for the three color sensitivity regions 1, 2, and 3.
  • the arranged example is shown.
  • This embodiment is different from the first embodiment in that four narrow band lights 1, 2, 3-1, 3-2 are arranged for three color sensitivity regions.
  • the main body 12 includes four semiconductor lasers 22A, 22B, 22D, and 22E, drive circuits 26A, 26B, 26D, and 26E combined therewith, and lasers emitted from the semiconductor lasers 22A, 22B, 22D, and 22E. It has four optical fibers 32A, 32B, 32D, 32E that guide light respectively.
  • the light source control circuit 30 is electrically connected to the drive circuits 26A, 26B, 26D, and 26E via the control signal line 28, and the semiconductor lasers 22A, 22B, 22D, and 22D are connected via the drive circuits 26A, 26B, 26D, and 26E. 22E can be freely controlled.
  • the semiconductor lasers 22A, 22B, 22D, and 22E are coupled to the optical combiner 34 by optical fibers 32A, 32B, 32D, and 32E, respectively.
  • the optical combiner 34 combines the laser beams guided by the four optical fibers 32 ⁇ / b> A, 32 ⁇ / b> B, 32 ⁇ / b> D, and 32 ⁇ / b> E and outputs the combined light to one optical fiber 46.
  • the four lasers used in this embodiment are as follows.
  • the semiconductor laser 22A is a multimode semiconductor laser that emits blue laser light, which is the narrow-band light 1 having a wavelength of about 450 nm.
  • the semiconductor laser 22B is a multimode semiconductor laser that emits green laser light, which is narrowband light 2 having a wavelength of about 540 nm.
  • the semiconductor laser 22D is a multimode semiconductor laser that emits red laser light, which is narrowband light 3-1, having a wavelength of about 630 nm.
  • the semiconductor laser 22E is a multimode semiconductor laser that emits red laser light, which is narrowband light 3-2 having a wavelength of about 680 nm.
  • the semiconductor lasers 22A and 22B are the same multimode semiconductor laser as in the first embodiment.
  • the semiconductor laser 22D is a multimode semiconductor laser having a peak wavelength of 630 nm that emits light having a peak wavelength that is shorter by 10 nm than the semiconductor laser 22C of the first embodiment.
  • the semiconductor laser 22E is a multimode semiconductor laser having a peak wavelength of 680 nm. Narrow band lights 3-1 and 3-2 respectively emitted from the semiconductor lasers 22D and 22E are included only in the color sensitivity region 3 as shown in FIG.
  • the basic operation is the same as that of the first embodiment, and the operation of the image processing circuit 62 is slightly different.
  • the semiconductor lasers 22A, 22B, 22D, and 22E each emit laser light having a predetermined wavelength and light amount.
  • Narrow band light which is laser light emitted from each of the semiconductor lasers 22A, 22B, 22D, and 22E, is multiplexed by the optical combiner 34, guided by the single optical fiber 46, and is observed from the light emitting unit 48. The light is irradiated as illumination light toward the surface of 90 internal spaces 92.
  • Part of the illumination light reflected and scattered by the observation object 90 enters the image sensor 58 and is transmitted to the image processing circuit 62 as an image signal.
  • the image sensor 58 having a Bayer array is assumed, and the unit unit for estimating the spectral intensity is the minimum unit of 2 ⁇ 2 pixels.
  • the light incident on the pixels of the color sensitivity region 1 and the pixels of the color sensitivity region 2 of the image sensor 58 are blue laser light and green laser light, respectively, which is the same as in the first embodiment. That is, the color sensitivity region 1 and the color sensitivity region 2 are single narrow band light color sensitivity regions.
  • the light incident on the pixels in the color sensitivity region 3 is two narrow-band lights of red laser light (630 nm) and red laser light (680 nm).
  • the light detection element corresponding to the color sensitivity region 3 of the image sensor 58 receives the red laser light having these two wavelengths without distinguishing them, and outputs a corresponding image signal to the image processing circuit 62. That is, the image processing circuit 62 receives the red laser light (630 nm) and the red laser light (680 nm) emitted from the semiconductor laser 22D as information from the pixels in the color sensitivity region 3 that is one color sensitivity region.
  • the color sensitivity region 3 is a plurality of narrowband light color sensitivity regions that receive two narrowband lights of the narrowband light 3-1 and the narrowband light 3-2.
  • the image processing circuit 62 derives narrowband light spectral intensity information ( ⁇ , P) based on the information of the three color sensitivity regions 1, 2, and 3. That is, in a certain unit unit, the light intensities output from the light detection elements corresponding to the color sensitivity regions 1, 2, and 3 are P 1 , P 2a , P 2b , and P 3 , respectively.
  • the narrowband light spectral intensity information of the color sensitivity region 3 (R pixel) is (( ⁇ 4 + ⁇ 5 ) / 2, P 3 ).
  • light incident on the pixel of the color sensitivity range 3 is a mixed light of a narrow band light 3-2 narrow band 3-1 and wavelength lambda 5 wavelengths lambda 4, corresponding to the color sensitivity range 3 Since the light detection element cannot distinguish and detect the light of ⁇ 4 and the light of ⁇ 5 , it is assumed that a single narrowband light of ( ⁇ 4 + ⁇ 5 ) / 2 is incident. Thus, the narrowband light spectral intensity information is derived as (( ⁇ 4 + ⁇ 5 ) / 2, P 3 ).
  • the order is equal intensity I 5 of the narrow band light of intensity I 4 and lambda 5 narrow band of lambda 4 is a virtual wavelength as ( ⁇ 4 + ⁇ 5) / 2 as a simple arithmetic average
  • I 4 ⁇ I 5 the narrow-band light spectral intensity information is expressed as (I 4 ⁇ ⁇ 4 + I 5 ⁇ ⁇ 5 ) / (I 4 + I 5 ), P 3 )
  • the narrow band light color sensitivity region 3 needs to have narrow band light spectral intensity information of (I 4 ⁇ ⁇ 4 + I 5 ⁇ ⁇ 5 ) / (I 4 + I 5 ), P 3 ).
  • the operation after deriving the narrow-band light spectral intensity information is the same as in the first embodiment.
  • the two narrow band lights are included in one color sensitivity region, but are not included in the sensitivity overlap region where the two color sensitivity regions overlap, but the present invention is not limited to this.
  • a virtual wavelength can be calculated when narrowband light is present in a region where the color sensitivity regions overlap, which are included in a plurality of color sensitivity regions. At this time, it is necessary to use the narrow-band light existing in the region where the color sensitivity regions overlap to calculate the virtual wavelength of each of the two color sensitivity regions.
  • the transmission characteristics of the filter may not be sufficiently high as shown in FIG. In such a case, it is desirable to calculate a virtual wavelength including the transmission characteristics of the filter.
  • the semiconductor laser 22A of the present embodiment , 22B, and 22D are turned on, the method of the first embodiment is used.
  • the method of the second embodiment is used. For example, it is easy to switch between them depending on the observation object 90, the purpose of observation, and the like.
  • the light source control circuit 30 is electrically connected to the drive circuits 26A, 26B, 26D, and 26E, and the semiconductor lasers 22A, 22B, 22D, and 22E It is configured so that it can be turned on / off at a desired timing. Further, the wavelength relationship between the image sensor 58 of this embodiment and the semiconductor lasers 22A, 22B, 22D, and 22E is the same as that of the second embodiment shown in FIG.
  • the four multimode semiconductor lasers 22A, 22B, 22D, and 22E have the same emission wavelength as in the second embodiment, and the blue laser light of the semiconductor laser 22A is included only in the color sensitivity region 1, and the semiconductor laser 22B
  • the green laser beam is included only in the color sensitivity region 2
  • the red laser beam (630 nm) of the semiconductor laser 22D and the red laser beam (680 nm) of the semiconductor laser 22E are included only in the color sensitivity region 3.
  • the color sensitivity region 1 and the color sensitivity region 2 are single narrow band light color sensitivity regions
  • the color sensitivity region 3 is a plurality of narrow band light color sensitivity regions.
  • This embodiment is different from the second embodiment in that the timing for emitting the semiconductor laser 22D and the timing for emitting the semiconductor laser 22E are different. That is, in the first embodiment and the second embodiment, an example in which three and four semiconductor lasers are simultaneously and continuously emitted has been shown. However, in the third embodiment, the image sensor 58 has one image. The semiconductor lasers 22A, 22B, 22D, and 22E are switched on / off at every frame timing for performing the imaging operation. FIG. 16 shows the relationship between the semiconductor lasers 22A, 22B, 22D, and 22E and the frame timing in this embodiment.
  • the semiconductor lasers 22A and 22D are turned on and the semiconductor lasers 22B and 22E are turned off (even numbered frames in the figure), and the semiconductor lasers 22B and 22E are turned on.
  • the light source control circuit 30 drives the semiconductor lasers 22A, 22B, 22D, and 22E so as to alternately repeat the frames for turning off the semiconductor lasers 22A and 22D (the odd-numbered frames in the drawing).
  • the frame timing information of the image sensor 58 is transmitted to the light source control circuit 30 by a frame timing information transmission means (not shown), and the light source control circuit 30 transmits each semiconductor laser 22A, at an appropriate timing according to the frame timing information. Switching on / off of 22B, 22D, and 22E.
  • the image signal transmitted from the image sensor 58 includes an image signal from the blue laser in the color sensitivity region 1 and an image signal from the red laser (630 nm) in the color sensitivity region 3 in even frames.
  • a black imaging signal is output.
  • an image pickup signal from the green laser in the color sensitivity region 2 and an image pickup signal from the red laser (680 nm) in the color sensitivity region 3 are output, and the color sensitivity region 1 has no illumination light in the corresponding wavelength region. Therefore, a black imaging signal is output.
  • the narrowband light included in the multiple narrowband light color sensitivity regions is turned on at different timings, and each image is captured independently, so that each narrowband light is detected separately, and the narrowband light independently Optical spectral intensity information ( ⁇ , P) can be obtained.
  • the narrow-band light spectral intensity information ( ⁇ , P) in this embodiment can be set to 4 which is the same as the number of semiconductor lasers, exceeding 3 which is the number of color sensitivity regions (FIG. 17).
  • the method described in the first embodiment can be used for the operation of the image processing circuit 62 after the narrow-band light spectral intensity information is derived. Thereby, it is possible to estimate the light intensity information of the wavelength missing region.
  • the example in which the semiconductor lasers 22A, 22B, 22D, and 22E are made to emit light at the timing shown in FIG. 16 corresponding to the frame timing of the image sensor 58 is not limited to this.
  • the semiconductor lasers 22A, 22B, 22D, and 22E included in the same color sensitivity region may be switched on / off at different frame timings. That is, the two semiconductor lasers 22A and 22B may be continuously turned on, and the sum of the outputs of the even and odd frames may be used as the light intensity information P 1 and P 2 . At this time, the emission intensities I 1 and I 2 of the illumination light may be halved. As a result, the load on the light source control circuit 30 can be reduced.
  • FIG. 18 shows an example of estimation when narrowband light spectral intensity information ( ⁇ , P) is obtained for the four narrowband lights described in the third embodiment.
  • “Estimation 4” shown in the third row of FIG. 18 shows an example in which the wavelength missing region is estimated by linear approximation.
  • the linear approximation method various commonly used methods can be used. For example, the square of the difference between the light intensity P of the obtained narrowband light spectral intensity information ( ⁇ , P) and the intersection of the straight line represented by a certain formula and the wavelength ⁇ is calculated for all narrowband light.
  • a least-square method may be used in which a function representing a straight line is obtained so that the sum of the values is minimized.
  • the load on the image processing circuit 62 can be reduced by estimating the wavelength missing region by linear approximation.
  • the arithmetic expression handled by the wavelength loss region correction processing unit is simplified, it is possible to obtain an image with relatively high color reproducibility with a relatively small circuit configuration and program configuration.
  • the number of narrow-band light spectral intensity information ( ⁇ , P) is small or scattered, it is difficult to perform smoothing, and the wavelength missing region light intensity information that is significantly different from the actual is obtained as an estimation result. There is a risk to be gained.
  • the method using the linear approximation is particularly suitable in such a case because there is little possibility that the deviation from the actual wavelength missing region light intensity information becomes large.
  • the spectrum of the illumination light has a narrowband light 1 having narrowband light emission intensity information ( ⁇ 1 , I 1 ) and a narrow band having narrowband light emission intensity information ( ⁇ 3 , I 3 ). It is composed of two narrow band lights with the band light 3.
  • the narrowband light 1 is included only in the color sensitivity region 1, the narrowband light 3 is included only in the color sensitivity region 3, and the narrowband light included in the color sensitivity region 2 does not exist.
  • the wavelength missing region spectral intensity information estimation unit 64 estimates wavelength missing region spectral intensity information. As a method for estimating the wavelength missing region spectral intensity information, it can be performed based on any of the estimation methods described in the first to third embodiments.
  • the wavelength missing region correction processing unit 66 performs the wavelength missing region correction processing according to the above-described method.
  • the color sensitivity region 1 and the color sensitivity region 3 have the received light intensity P 1 and detect actually received by the light detection element corresponding to the color sensitivity region of the image sensor 58, but the color sensitivity region 2 has P 2 , detect will not exist.
  • the corrected received light amount information PP output from the wavelength loss region correction processing unit 66 is P 1 and estimate itself for at least the color sensitivity region 2.
  • leading- out procedure of P , estimate it can carry out, for example according to the procedure demonstrated in FIG. 9 regarding 1st Embodiment.
  • the present invention is not limited to this. Even when narrow band light equal to or more than the color sensitivity area is used, the present invention can be applied when there is a color sensitivity area not including narrow band light. For example, when the first color sensitivity region includes two narrowband lights, the third color sensitivity region includes one narrowband light, and the second color sensitivity region does not include narrowband light.
  • the wavelength missing region correction processing unit can derive the corrected received light amount information PP.
  • the present invention is not limited to this.
  • a composite semiconductor laser combined with various solid-state lasers, gas lasers, SHG elements, or the like can be used.
  • SLD super luminescent diode
  • LED etc.
  • a light source in which an LED, a laser, and a phosphor are combined, and a light source having a wavelength missing region is also suitable.
  • the peak wavelength of the narrowband light is stably determined as one point, so that the value of ⁇ of the narrowband light spectral intensity information ( ⁇ , P) is stabilized, and the accuracy of spectral estimation is improved.
  • a multimode laser when a multimode laser is used, bright narrow-band light can be emitted, which is effective when illuminating a wide space.
  • FIG. 20 shows an example of illumination light in which three LED elements are combined. As shown in the figure, the wavelength missing region exists even in a plurality of LEDs, but it is possible to estimate the light intensity information of the wavelength missing region by the technique described in the embodiment.
  • a light source that emits only one narrow band light from one light source is described as an example, but the present invention is not limited to this.
  • Simultaneously emits multiple narrow-band lights such as 441.6 nm blue laser light, 537.8 nm green laser light, and He-Cd laser, which is a three-primary (white) laser that simultaneously oscillates 636.0 nm red laser light.
  • the light source part which can be used can be used.
  • the number of semiconductor lasers 22A, 22B,... That are light sources arranged in the light source unit differs from the number of narrowband light emitted from the light source unit. Therefore, the number of narrow-band lights is always larger than the number of light sources.
  • optical fiber Furthermore, in the embodiment, only the multimode single-line optical fiber is used as the optical fiber, but the present invention is not limited to this.
  • a single mode fiber can be used.
  • various optical fibers such as those having a step index or graded index, a plastic fiber or a composite optical fiber having a plastic clad and a glass core can be used.
  • a bundle fiber in which a plurality of these optical fibers are bundled, or a general film type or slab type waveguide in which a light guide is formed by providing a refractive index distribution on a resin substrate or a semiconductor substrate. It is.
  • the present invention is suitable for observing the inside of a closed space where external light is almost negligible.
  • it is suitable for use in endoscopes used for digestive organs, respiratory organs, ear nose and urinary organs for medical purposes.
  • Medical endoscopes have relatively few types of spectral reflection spectra of observation objects, and can easily estimate spectral reflection spectra of wavelength-missing regions using various wavelength-missing region estimation techniques described in the embodiments.
  • it is suitable for an endoscope used for various inspections and investigations used for industrial applications.
  • the average color rendering index Ra is used as an index for quantifying the color reproducibility.
  • the average color rendering index is defined in Japanese Industrial Standard JIS Z 8726 “Evaluation Method for Color Rendering of Light”.
  • JIS Z 8726 Evaluation Method for Color Rendering of Light.
  • Test colors 1 to 8 corresponding to R1 to R8 are spectral reflectances assuming natural existence, and test colors corresponding to R9 to R14 are set as spectral reflectances assuming relatively high saturation. Has been.
  • the test color 15 corresponding to R15 is assumed to be a Japanese skin color.
  • the average color rendering index that is most widely used as an index of color reproducibility is an average value from R1 to R8, and is widely used as a value expressing color reproducibility.
  • FIG. 21 shows the spectral reflectance spectra of the test colors 1, 2, 3, 4, 5, and 6, and FIG. 22 shows the spectral reflectance spectra of the test colors 7, 8, and 15.
  • the spectral reflectance referred to here is a ratio of how much light is reflected when light hits an object as a reflectance (%) for each wavelength.
  • the horizontal wavelength range is shown from 350 nm in the ultraviolet region to 800 nm in the infrared region, but when viewed in the general visible light range of 400 nm to 700 nm, the spectral reflectance is the wavelength. There is no sample that changes stepwise. Even in the vicinity of 610 nm of the test color 8 and the vicinity of 590 nm of the test color 15 where the spectral reflectance changes most steeply in the visible light region, the change rate of the spectral reflectance remains at about 1% / nm. As shown in Japanese Patent Application Laid-Open No. 10-286235, it can be seen that the degree of improvement in color reproducibility is slight even when a plurality of laser beams having different wavelengths by several nm are used.
  • the change in the spectral reflectance in the test colors 1 to 8 and 15 is the largest change in ⁇ k in the test colors 8 and 15, but the change rate is approximately 1% / Except for these two regions, the change is about 0.5% / nm or less. That is, it is estimated that there are few observation objects 90 whose spectral reflection spectrum changes extremely, and even if the wavelength missing region is interpolated by smoothing or the like as described in the embodiment, the effect of improving color reproducibility is obtained. I can expect.
  • the peak wavelength ⁇ peak may be arranged so that the wavelength of the laser serving as the narrow-band light source sandwiches the wavelength ⁇ k at which the spectral reflection spectrum changes greatly. desirable.
  • an observation apparatus that can emit more laser light has higher color reproducibility. That is, if 100 or more laser beams can be arranged in the visible light region every several nm, the color reproducibility can be considerably improved.
  • the wavelength of the laser light source that is generally distributed is limited to a specific region, and other wavelength regions are not available or are expensive even if they can.
  • the use of a large number of laser light sources tends to be costly, and causes various problems such as high power consumption and large size. Therefore, it is desirable that the number of laser light sources is as small as possible.
  • the number of laser light sources is limited to a maximum of four, which is the minimum number necessary to obtain color reproducibility. Needless to say, the number may be two or more.
  • An observation device for observing the internal space of an observation object, An insertion portion having a tip portion inserted into the internal space; A light emitting part provided at the tip part for emitting illumination light to the surface of the internal space; An image sensor provided at the tip for detecting reflected and scattered light from the surface of the internal space and outputting an image signal; An image processing circuit that processes the imaging signal and outputs an image signal; A display unit for displaying an image according to the image signal,
  • the illumination light is composed of a plurality of narrowband lights,
  • the wavelength region that can be detected by the imaging device includes a plurality of narrowband light regions in which the plurality of narrowband lights respectively exist, and a first wavelength missing region that is a region between two adjacent narrowband light regions, It is constituted by a second wavelength missing region which is an outer region of the two endmost narrow-band light regions,
  • the imaging device has a number of light detection elements including a plurality of types of light detection elements that respectively detect light in a plurality of color sensitivity regions,
  • n is a natural number of 2 or more
  • k is a natural number from 1 to n
  • the number of the plurality of narrowband lights and the number of the plurality of color sensitivity regions are both n
  • One color sensitivity area is configured to contain one narrow band light
  • the plurality of narrowband lights are first, second,..., Nth narrowband light from the short wavelength side toward the long wavelength side
  • the plurality of color sensitivity regions are the first, second,..., Nth color sensitivity regions from the short wavelength side to the long wavelength side
  • the kth narrowband light is included in the kth color sensitivity region
  • the peak wavelength of the kth narrowband light is ⁇ k and the intensity of the reflected scattered light from the inner space surface detected by the light detection element corresponding to the kth color sensitivity region is Pk
  • the narrow band light spectral intensity information (wavelength ⁇ , received light intensity P) is derived as ( ⁇ k , P k ), the observation apparatus according to [1].
  • n and m are natural numbers of 2 or more, i and j are natural numbers from 1 to n, and l is a natural number from 1 to m.
  • the number of the plurality of color sensitivity regions is n, The number of the plurality of narrowband lights is greater than n,
  • a color sensitivity region containing only one narrowband light is a single narrowband light color sensitivity region
  • a color sensitivity region including a plurality of the narrowband light is a plurality of narrowband light color sensitivity regions
  • the color sensitivity region included in the single narrow band light color sensitivity region is defined as a jth color sensitivity region,
  • the color sensitivity region included in the plurality of narrow-band light color sensitivity regions is the i-th (i ⁇ j) color sensitivity region,
  • the peak wavelength of the j-th narrowband light is ⁇ j
  • the intensity of the reflected scattered light from the inner space surface detected by the light detection element corresponding to the j-th color sensitivity region is P j
  • the peak wavelength of the il-th narrowband light is ⁇ il
  • the intensity of the reflected scattered light from the surface of the internal space detected by the light detection element corresponding to the i-th color sensitivity region is P i
  • the narrowband light spectral intensity information (wavelength ⁇ , received light intensity P) is: In the j-th color sensitivity region, it is derived as ( ⁇ j , P j ),
  • the observation apparatus according to [1], wherein the ith color sensitivity region is derived as (( ⁇ i ⁇ 1 ) / m, P i ).
  • n and m are natural numbers of 2 or more, i and j are natural numbers from 1 to n, and l is a natural number from 1 to m.
  • the number of the plurality of color sensitivity regions is n, The number of the narrowband lights is greater than n;
  • a color sensitivity region containing only one narrowband light is a single narrowband light color sensitivity region,
  • a color sensitivity region including a plurality of the narrowband light is a plurality of narrowband light color sensitivity regions,
  • the color sensitivity region included in the single narrow band light color sensitivity region is defined as a jth color sensitivity region,
  • the color sensitivity region included in the plurality of narrow-band light color sensitivity regions is the i-th (i ⁇ j) color sensitivity region,
  • the narrow-band light region is a region having a light amount of half or more of the peak intensity among the light-emitting regions of the narrow-band light
  • the second wavelength missing region is in a wavelength region that can be detected by the imaging device, and is a region on a longer wavelength side than a narrowband light region on the longest wavelength side and a narrowband light region on the shortest wavelength side
  • the observation apparatus according to any one of [1] to [4], including a region on the shorter wavelength side.
  • the wavelength region that can be detected by the image sensor is a so-called visible light region from about 400 nm to 700 nm
  • the short wavelength side boundary is determined by the sensitivity limit of the image sensor
  • the long wavelength side boundary is infrared.
  • the observation apparatus according to [6] which is determined by a lower limit wavelength of infrared rays cut by the cut filter.
  • the image processing circuit uses only the information of the narrowband light intensity derivation area among the information of the imaging signal output from the imaging device, and uses the narrowband light spectral intensity information (wavelength ⁇ , received light intensity P). ) Is derived as an average of the entire narrow-band light intensity deriving region of the intensity information of the reflected scattered light corresponding to each wavelength ⁇ , according to any one of [1] to [4].
  • the narrowband light intensity derivation region is a region obtained by excluding regions near an upper limit and a lower limit of the dynamic range of the image sensor from the entire imaging screen.
  • the narrowband light intensity deriving region is a region in which a combination of a plurality of narrowband light spectral intensity information (wavelength ⁇ , received light intensity P) is in a predetermined ratio range or a ratio range having the largest number on the imaging screen.
  • the observation device according to [8], further including an input unit for designating the narrowband light intensity derivation region.
  • the image processing circuit uses the information of the plurality of narrowband light intensity derivation areas among the information of the image signal output from the imaging device, and outputs light for each of the plurality of narrowband light intensity derivation areas.
  • the intensity P of the band light spectral intensity information (wavelength ⁇ , received light intensity P) is derived as an average for each narrowband light intensity deriving region of the intensity information of the reflected scattered light corresponding to each wavelength ⁇ .
  • the wavelength missing region spectral intensity information estimation unit estimates spectral intensity information of the first wavelength missing region based on the narrowband light spectral intensity information (wavelength ⁇ , received light intensity P). [1] Or the observation apparatus as described in any one of [4].
  • the wavelength missing region spectral intensity information estimation unit is configured to smoothly continue over the entire first wavelength missing region based on a plurality of narrowband light spectral intensity information (wavelength ⁇ , received light intensity P).
  • the wavelength missing region spectral intensity information estimation unit estimates the wavelength missing region spectral intensity information so as to connect adjacent narrowband light spectral intensity information (wavelength ⁇ , received light intensity P) with a straight line. 16].
  • the plurality of color sensitivity regions overlap each other, and when the overlap region between the kth color sensitivity region and the (k + 1) th color sensitivity region is defined as a sensitivity overlap region k, the overlap sensitivity region k. for, as the image pickup signal of the k-th color sensitive region with P k, the image signal of the (k + 1) th color sensitive region using P k +1, observation device according to [20].
  • the plurality of color sensitivity regions overlap each other, and when the overlap region between the kth color sensitivity region and the (k + 1) th color sensitivity region is defined as a sensitivity overlap region k, the sensitivity overlap region k.
  • the wavelength missing region spectral intensity information estimation unit estimates the wavelength missing region spectral intensity information by extrapolation for the second wavelength missing region, according to any one of [14] to [22] Observation device.
  • the wavelength missing region correction processing unit calculates corrected light amount information PP for each color sensitivity region from the wavelength missing region spectral intensity information estimated by the wavelength missing region spectral intensity information estimation unit.
  • the observation device according to any one of [4].
  • the wavelength missing region correction processing unit receives light of the estimated wavelength missing region spectral intensity information
  • the wavelength missing region correction processing unit estimates the amount of light received by the light detection element corresponding to the corresponding color sensitivity region, and corrects the amount of light.
  • the wavelength missing region correction processing unit integrates the estimated wavelength missing region spectral intensity information, and estimates a value obtained by dividing the integrated value by the width of the corresponding wavelength region as the amount of received light. The observation apparatus described.
  • the wavelength missing region correction processing unit is based on the wavelength missing region spectral intensity information, the transmission spectrum information of the wavelength filter in the corresponding color sensitivity region, and / or the wavelength spectrum light receiving sensitivity information of the image sensor.
  • the observation device according to any one of [24] to [26], wherein the amount of light received by the light detection element corresponding to the color sensitivity region is estimated and output as image information.
  • n and m are natural numbers of 2 or more, i and j are natural numbers from 1 to n, and l is a natural number from 1 to m.
  • the number of the plurality of color sensitivity regions is n, The number of the plurality of narrowband lights is greater than n,
  • a color sensitivity region containing only one narrowband light is a single narrowband light color sensitivity region
  • a color sensitivity region including a plurality of the narrowband light is a plurality of narrowband light color sensitivity regions
  • the color sensitivity region included in the single narrow band light color sensitivity region is defined as a jth color sensitivity region,
  • the color sensitivity region included in the plurality of narrow-band light color sensitivity regions is the i-th (i ⁇ j) color sensitivity region,
  • the peak wavelength of the j-th narrowband light is ⁇ j
  • the intensity of the reflected scattered light from the inner space surface detected by the light detection element corresponding to the j-th color sensitivity region is P j
  • the narrowband light spectral intensity information (wavelength ⁇ , received light intensity P) is: In the j-th color sensitivity region, it is derived as ( ⁇ j , P j ), The observation apparatus according to [1], wherein the ith color sensitivity region is derived as ( ⁇ ( ⁇ i ⁇ 1 ⁇ I i ⁇ 1) ) / ( ⁇ I i ⁇ 1 ), P i ).

Landscapes

  • Life Sciences & Earth Sciences (AREA)
  • Health & Medical Sciences (AREA)
  • Engineering & Computer Science (AREA)
  • Physics & Mathematics (AREA)
  • Surgery (AREA)
  • Optics & Photonics (AREA)
  • Heart & Thoracic Surgery (AREA)
  • General Health & Medical Sciences (AREA)
  • Nuclear Medicine, Radiotherapy & Molecular Imaging (AREA)
  • Veterinary Medicine (AREA)
  • Pathology (AREA)
  • Radiology & Medical Imaging (AREA)
  • Biophysics (AREA)
  • Biomedical Technology (AREA)
  • Public Health (AREA)
  • Medical Informatics (AREA)
  • Molecular Biology (AREA)
  • Animal Behavior & Ethology (AREA)
  • Signal Processing (AREA)
  • Multimedia (AREA)
  • General Physics & Mathematics (AREA)
  • Astronomy & Astrophysics (AREA)
  • Computer Vision & Pattern Recognition (AREA)
  • Theoretical Computer Science (AREA)
  • Spectroscopy & Molecular Physics (AREA)
  • Endoscopes (AREA)
  • Image Processing (AREA)
  • Studio Devices (AREA)
  • Image Analysis (AREA)
  • Instruments For Viewing The Inside Of Hollow Bodies (AREA)
PCT/JP2015/062126 2014-05-01 2015-04-21 内視鏡装置 Ceased WO2015166843A1 (ja)

Priority Applications (3)

Application Number Priority Date Filing Date Title
DE112015001710.0T DE112015001710T5 (de) 2014-05-01 2015-04-21 Endoskopvorrichtung
CN201580021920.4A CN106231988A (zh) 2014-05-01 2015-04-21 内窥镜装置
US15/334,887 US10368728B2 (en) 2014-05-01 2016-10-26 Endoscope apparatus

Applications Claiming Priority (2)

Application Number Priority Date Filing Date Title
JP2014094844A JP2015211727A (ja) 2014-05-01 2014-05-01 内視鏡装置
JP2014-094844 2014-05-01

Related Child Applications (1)

Application Number Title Priority Date Filing Date
US15/334,887 Continuation US10368728B2 (en) 2014-05-01 2016-10-26 Endoscope apparatus

Publications (1)

Publication Number Publication Date
WO2015166843A1 true WO2015166843A1 (ja) 2015-11-05

Family

ID=54358574

Family Applications (1)

Application Number Title Priority Date Filing Date
PCT/JP2015/062126 Ceased WO2015166843A1 (ja) 2014-05-01 2015-04-21 内視鏡装置

Country Status (5)

Country Link
US (1) US10368728B2 (enExample)
JP (1) JP2015211727A (enExample)
CN (1) CN106231988A (enExample)
DE (1) DE112015001710T5 (enExample)
WO (1) WO2015166843A1 (enExample)

Cited By (1)

* Cited by examiner, † Cited by third party
Publication number Priority date Publication date Assignee Title
CN106308731A (zh) * 2016-08-31 2017-01-11 北京数字精准医疗科技有限公司 一种内窥式多光谱激发成像系统

Families Citing this family (16)

* Cited by examiner, † Cited by third party
Publication number Priority date Publication date Assignee Title
JP6966095B2 (ja) * 2016-04-20 2021-11-10 株式会社ソフイア 遊技機
CN109068956B (zh) * 2016-05-27 2021-01-12 奥林巴斯株式会社 物镜光学系统以及具备物镜光学系统的内窥镜装置
JP6969550B2 (ja) * 2016-06-24 2021-11-24 日本電気株式会社 画像処理装置、画像処理システム、画像処理方法及びプログラム
JP7208150B2 (ja) * 2016-12-27 2023-01-18 デピュイ・シンセス・プロダクツ・インコーポレイテッド 内視鏡撮像環境において照明を提供するためのシステム、方法、及びデバイス
WO2018142658A1 (ja) * 2017-02-01 2018-08-09 オリンパス株式会社 画像処理装置、画像処理装置の作動方法、及び画像処理装置の作動プログラム
US11576555B2 (en) * 2017-03-29 2023-02-14 Sony Corporation Medical imaging system, method, and computer program
CN110475504B (zh) * 2017-03-29 2023-04-07 索尼公司 医学成像装置和内窥镜
WO2018216118A1 (ja) 2017-05-23 2018-11-29 オリンパス株式会社 照明装置
WO2018221430A1 (ja) * 2017-05-29 2018-12-06 住友電気工業株式会社 観察容器及び微小粒子計測装置
LT3711122T (lt) 2017-11-17 2024-03-12 Uab Brolis Semiconductors Daugybės daugiamodžių puslaidininkių lazerinių diodų spinduliuočių derinimas, skirtas kryptinės lazerio spinduliuotės paskirstymo priemonėms
US11388323B2 (en) * 2018-02-05 2022-07-12 Sony Corporation Imaging apparatus and imaging method
JP7015384B2 (ja) * 2018-04-23 2022-02-02 富士フイルム株式会社 医療画像処理システム
EP4443120A3 (en) 2020-02-13 2024-12-25 Hamamatsu Photonics K.K. Imaging unit and measurement device
WO2022009480A1 (ja) * 2020-07-08 2022-01-13 富士フイルム株式会社 内視鏡システム
CN114680799B (zh) * 2020-12-30 2025-01-17 深圳迈瑞生物医疗电子股份有限公司 内窥镜用光源主机及内窥镜系统
CN117152362B (zh) * 2023-10-27 2024-05-28 深圳市中安视达科技有限公司 内窥镜多光谱的多路成像方法、装置、设备及存储介质

Citations (4)

* Cited by examiner, † Cited by third party
Publication number Priority date Publication date Assignee Title
JP2012020130A (ja) * 2010-07-13 2012-02-02 Carestream Health Inc 歯色調マッピング
WO2012098798A1 (ja) * 2011-01-17 2012-07-26 オリンパスメディカルシステムズ株式会社 生体内観察装置およびカプセル型内視鏡装置
JP5362149B1 (ja) * 2012-03-30 2013-12-11 オリンパスメディカルシステムズ株式会社 内視鏡装置
JP5427318B1 (ja) * 2012-03-30 2014-02-26 オリンパスメディカルシステムズ株式会社 内視鏡装置

Family Cites Families (7)

* Cited by examiner, † Cited by third party
Publication number Priority date Publication date Assignee Title
JPH10286235A (ja) 1997-04-14 1998-10-27 Fuji Photo Film Co Ltd 内視鏡装置
JP4343594B2 (ja) * 2003-06-23 2009-10-14 オリンパス株式会社 内視鏡装置
KR101050874B1 (ko) * 2006-04-12 2011-07-20 올림푸스 메디칼 시스템즈 가부시키가이샤 내시경 장치
WO2010143692A1 (ja) * 2009-06-10 2010-12-16 オリンパスメディカルシステムズ株式会社 カプセル型内視鏡装置
JP5541914B2 (ja) * 2009-12-28 2014-07-09 オリンパス株式会社 画像処理装置、電子機器、プログラム及び内視鏡装置の作動方法
JP5485191B2 (ja) * 2011-01-19 2014-05-07 富士フイルム株式会社 内視鏡装置
ITFI20130255A1 (it) * 2013-10-23 2015-04-24 Insono S R L "dispositivo per la rilevazione non invasiva di predeterminate strutture biologiche"

Patent Citations (4)

* Cited by examiner, † Cited by third party
Publication number Priority date Publication date Assignee Title
JP2012020130A (ja) * 2010-07-13 2012-02-02 Carestream Health Inc 歯色調マッピング
WO2012098798A1 (ja) * 2011-01-17 2012-07-26 オリンパスメディカルシステムズ株式会社 生体内観察装置およびカプセル型内視鏡装置
JP5362149B1 (ja) * 2012-03-30 2013-12-11 オリンパスメディカルシステムズ株式会社 内視鏡装置
JP5427318B1 (ja) * 2012-03-30 2014-02-26 オリンパスメディカルシステムズ株式会社 内視鏡装置

Cited By (1)

* Cited by examiner, † Cited by third party
Publication number Priority date Publication date Assignee Title
CN106308731A (zh) * 2016-08-31 2017-01-11 北京数字精准医疗科技有限公司 一种内窥式多光谱激发成像系统

Also Published As

Publication number Publication date
JP2015211727A (ja) 2015-11-26
US20170042414A1 (en) 2017-02-16
CN106231988A (zh) 2016-12-14
US10368728B2 (en) 2019-08-06
DE112015001710T5 (de) 2017-01-19

Similar Documents

Publication Publication Date Title
WO2015166843A1 (ja) 内視鏡装置
CN104981199B (zh) 光源装置
US12232706B2 (en) Endoscopic light source and imaging system
US10617287B2 (en) Endoscope system and endoscope light source apparatus
US7646002B2 (en) Fluorescence detecting system
US8553077B2 (en) Endoscope system
US20110172492A1 (en) Medical apparatus and endoscope apparatus
JP6987724B2 (ja) 光分配コネクタ、および内視鏡システム
JP6304953B2 (ja) 観察装置
US20120053420A1 (en) Endoscopic light guide and endoscope having the same
US11147438B2 (en) Endoscope apparatus
US20160302652A1 (en) Fluorescence observation apparatus
US20210278658A1 (en) Endoscope light source device, endoscope apparatus, operating method of endoscope light source device, and light amount adjusting method
JP2019521798A (ja) 同調可能色温度の白色光源
JP6732029B2 (ja) 電子スコープ及び電子内視鏡システム
CN114047623A (zh) 多光谱荧光内镜
CN106231984B (zh) 图像形成装置

Legal Events

Date Code Title Description
121 Ep: the epo has been informed by wipo that ep was designated in this application

Ref document number: 15785320

Country of ref document: EP

Kind code of ref document: A1

WWE Wipo information: entry into national phase

Ref document number: 112015001710

Country of ref document: DE

122 Ep: pct application non-entry in european phase

Ref document number: 15785320

Country of ref document: EP

Kind code of ref document: A1