WO2014104095A1 - 被検体観察システム及び方法、カプセル型内視鏡システム - Google Patents

被検体観察システム及び方法、カプセル型内視鏡システム Download PDF

Info

Publication number
WO2014104095A1
WO2014104095A1 PCT/JP2013/084667 JP2013084667W WO2014104095A1 WO 2014104095 A1 WO2014104095 A1 WO 2014104095A1 JP 2013084667 W JP2013084667 W JP 2013084667W WO 2014104095 A1 WO2014104095 A1 WO 2014104095A1
Authority
WO
WIPO (PCT)
Prior art keywords
region
light
wavelength
observation
emission spectrum
Prior art date
Legal status (The legal status is an assumption and is not a legal conclusion. Google has not performed a legal analysis and makes no representation as to the accuracy of the status listed.)
Ceased
Application number
PCT/JP2013/084667
Other languages
English (en)
French (fr)
Japanese (ja)
Inventor
和昭 田村
伊藤 毅
駒崎 岩男
Current Assignee (The listed assignees may be inaccurate. Google has not performed a legal analysis and makes no representation or warranty as to the accuracy of the list.)
Olympus Corp
Original Assignee
Olympus Corp
Priority date (The priority date is an assumption and is not a legal conclusion. Google has not performed a legal analysis and makes no representation as to the accuracy of the date listed.)
Filing date
Publication date
Application filed by Olympus Corp filed Critical Olympus Corp
Priority to CN201380068349.2A priority Critical patent/CN104883949A/zh
Priority to EP13869001.1A priority patent/EP2939587A4/en
Publication of WO2014104095A1 publication Critical patent/WO2014104095A1/ja
Priority to US14/752,188 priority patent/US10264975B2/en
Anticipated expiration legal-status Critical
Ceased legal-status Critical Current

Links

Images

Classifications

    • AHUMAN NECESSITIES
    • A61MEDICAL OR VETERINARY SCIENCE; HYGIENE
    • A61BDIAGNOSIS; SURGERY; IDENTIFICATION
    • A61B5/00Measuring for diagnostic purposes; Identification of persons
    • A61B5/0059Measuring for diagnostic purposes; Identification of persons using light, e.g. diagnosis by transillumination, diascopy, fluorescence
    • A61B5/0071Measuring for diagnostic purposes; Identification of persons using light, e.g. diagnosis by transillumination, diascopy, fluorescence by measuring fluorescence emission
    • AHUMAN NECESSITIES
    • A61MEDICAL OR VETERINARY SCIENCE; HYGIENE
    • A61BDIAGNOSIS; SURGERY; IDENTIFICATION
    • A61B1/00Instruments for performing medical examinations of the interior of cavities or tubes of the body by visual or photographical inspection, e.g. endoscopes; Illuminating arrangements therefor
    • A61B1/04Instruments for performing medical examinations of the interior of cavities or tubes of the body by visual or photographical inspection, e.g. endoscopes; Illuminating arrangements therefor combined with photographic or television appliances
    • A61B1/041Capsule endoscopes for imaging
    • AHUMAN NECESSITIES
    • A61MEDICAL OR VETERINARY SCIENCE; HYGIENE
    • A61BDIAGNOSIS; SURGERY; IDENTIFICATION
    • A61B1/00Instruments for performing medical examinations of the interior of cavities or tubes of the body by visual or photographical inspection, e.g. endoscopes; Illuminating arrangements therefor
    • A61B1/06Instruments for performing medical examinations of the interior of cavities or tubes of the body by visual or photographical inspection, e.g. endoscopes; Illuminating arrangements therefor with illuminating arrangements
    • A61B1/0638Instruments for performing medical examinations of the interior of cavities or tubes of the body by visual or photographical inspection, e.g. endoscopes; Illuminating arrangements therefor with illuminating arrangements providing two or more wavelengths
    • AHUMAN NECESSITIES
    • A61MEDICAL OR VETERINARY SCIENCE; HYGIENE
    • A61BDIAGNOSIS; SURGERY; IDENTIFICATION
    • A61B1/00Instruments for performing medical examinations of the interior of cavities or tubes of the body by visual or photographical inspection, e.g. endoscopes; Illuminating arrangements therefor
    • A61B1/06Instruments for performing medical examinations of the interior of cavities or tubes of the body by visual or photographical inspection, e.g. endoscopes; Illuminating arrangements therefor with illuminating arrangements
    • A61B1/0653Instruments for performing medical examinations of the interior of cavities or tubes of the body by visual or photographical inspection, e.g. endoscopes; Illuminating arrangements therefor with illuminating arrangements with wavelength conversion
    • AHUMAN NECESSITIES
    • A61MEDICAL OR VETERINARY SCIENCE; HYGIENE
    • A61BDIAGNOSIS; SURGERY; IDENTIFICATION
    • A61B5/00Measuring for diagnostic purposes; Identification of persons
    • A61B5/0059Measuring for diagnostic purposes; Identification of persons using light, e.g. diagnosis by transillumination, diascopy, fluorescence
    • A61B5/0082Measuring for diagnostic purposes; Identification of persons using light, e.g. diagnosis by transillumination, diascopy, fluorescence adapted for particular medical purposes
    • A61B5/0084Measuring for diagnostic purposes; Identification of persons using light, e.g. diagnosis by transillumination, diascopy, fluorescence adapted for particular medical purposes for introduction into the body, e.g. by catheters
    • AHUMAN NECESSITIES
    • A61MEDICAL OR VETERINARY SCIENCE; HYGIENE
    • A61BDIAGNOSIS; SURGERY; IDENTIFICATION
    • A61B5/00Measuring for diagnostic purposes; Identification of persons
    • A61B5/07Endoradiosondes
    • A61B5/073Intestinal transmitters

Definitions

  • the present invention relates to an object observation system for performing a plurality of observations such as normal observation with white light, light with a wavelength different from the wavelength in this normal observation, for example, observation with special light for observing a specific object, and the like
  • the present invention relates to a method and a capsule endoscope system.
  • an object observation system such as an endoscope includes a light emitting device for irradiating the object with white light or the like.
  • a light-emitting device a wavelength conversion member is currently disposed at the tip of an optical fiber, and the light output from a small solid light source is wavelength-converted by the wavelength conversion member, thereby changing the light into a desired irradiation pattern or color.
  • Patent Document 1 discloses a light emitting device capable of emitting various colors by combining a pumping light source and a wavelength conversion member disposed at the tip of an optical fiber, and an endoscope device using the light emitting device.
  • Patent Document 1 a plurality of wavelength conversion members are arranged at the tip of an optical fiber, and these wavelength conversion members are excited by excitation light output from an excitation light source to white light having a spectral component over a wide range in the visible light region.
  • the normal light observation in the living body is realized by emitting as a mirror light source and irradiating the in-vivo subject with the white light.
  • Patent Document 1 when light having a wavelength different from that of normal observation light is emitted from a light emitting device, different types of wavelength conversion members are excited by an excitation light source.
  • Patent Document 1 when performing a plurality of observations of normal light observation using white light and observation using light having a wavelength different from that of white light, two wavelength conversion members having different emission characteristics are arranged at the tip of the optical fiber. There is a need.
  • a plurality of light guide members for guiding the excitation light output from the excitation light source to the wavelength conversion member and a plurality of excitation light sources are necessary depending on the case, and it is difficult to reduce the size of the light emitting device or the like.
  • a combination of one excitation light source that emits light in a specific wavelength band and a wavelength conversion unit can be used for a plurality of observations such as normal light observation and special light observation.
  • An object is to provide an object observation system and method using a small observation light source that can be used, and a capsule endoscope system.
  • the subject observation system emits observation light including a spectral component of a predetermined wavelength, and the subject observation light source that irradiates the subject with the observation light, and the observation light irradiated with the observation light
  • An image acquisition unit that captures reflected light from the irradiation region of the subject and acquires at least two observation images having different wavelength regions based on a plurality of image signals corresponding to the blue region, the green region, and the red region;
  • the observation light includes emission spectrum components in the blue region, the green region, and the red region, and the emission spectrum of the blue region has a relative absorption intensity of a specific observation target in the subject. Small in the low wavelength region compared to other regions.
  • An object observation method is a method for generating observation light including a spectral component having a predetermined wavelength by light emission using an object observation light source, irradiating the observation light on the object, and irradiating the observation light.
  • the reflected light from the irradiation region of the subject is imaged by the imaging unit, and at least the wavelength regions differ based on a plurality of image signals corresponding to the blue region, the green region, and the red region output from the imaging unit.
  • Two observation images are acquired, and the observation light includes emission spectrum components in the blue region, the green region, and the red region, and the emission spectrum of the blue region is absorbed by a specific observation target in the subject. In the wavelength region where the intensity is relatively low, it is small compared to other regions.
  • a capsule endoscope system includes the subject observation system.
  • the combination of one excitation light source that emits light in a specific wavelength band and the wavelength conversion unit enables both normal light observation and special light observation.
  • An object observation system and method using a small observation light source that can be used, and a capsule endoscope system can be provided.
  • FIG. 1 is a block diagram showing a first embodiment of a subject observation system according to the present invention.
  • FIG. 2 is a specific configuration diagram showing an object observation light source in the system.
  • FIG. 3 is a diagram showing the absorption / fluorescence characteristics of the wavelength conversion member (first phosphor) in the system.
  • FIG. 4 is a diagram showing sensitivity characteristics of a general CCD in the imaging unit in the system.
  • FIG. 5 is a diagram showing the spectral characteristics of the observation light emitted from the subject observation light source in the system.
  • FIG. 6 is a diagram showing an absorption coefficient serving as an index of hemoglobin absorption intensity in blood vessels in a subject observed by the system.
  • FIG. 7 is a configuration diagram showing a modification of the wavelength conversion unit in the system.
  • FIG. 1 is a block diagram showing a first embodiment of a subject observation system according to the present invention.
  • FIG. 2 is a specific configuration diagram showing an object observation light source in the system.
  • FIG. 3 is
  • FIG. 8 is a diagram showing the absorption / fluorescence characteristics of the first phosphor in a modification of the wavelength conversion unit.
  • FIG. 9 is a diagram showing the absorption / fluorescence characteristics of the second phosphor in a modification of the wavelength conversion unit.
  • FIG. 10 is a configuration diagram showing a capsule endoscope to which the second embodiment of the subject observation system of the present invention is applied.
  • FIG. 11 is a structural diagram showing an object observation light source in the system.
  • FIG. 12 is a diagram showing the spectral shape of the observation light respectively emitted from the subject observation light source in the system.
  • the blue region has a wavelength region of 380 nm to 500 nm
  • the green region has a wavelength region of 500 nm to 600 nm
  • the red region has a wavelength region of 600 nm to 720 nm.
  • the wavelength regions when the sensitivity of the blue pixel, the green pixel, and the red pixel of the imaging unit are maximized are a blue region, a green region, and a red region, respectively.
  • the subject Q is, for example, a human body or the like, and is a living tissue J including a blood vessel K. Blood flows in the blood vessel K, and this blood contains hemoglobin.
  • FIG. 1 shows a block configuration diagram of a subject observation system 100.
  • the subject observation system 100 includes a subject observation light source 1 that irradiates a subject Q such as a human body with observation light P, and an image acquisition unit 2 that acquires image information of the subject Q.
  • the subject observation light source 1 emits observation light P including a spectral component of a predetermined wavelength and irradiates the subject Q with the observation light P.
  • the excitation light source 3, the light source controller 4, and the light guide 5 And a wavelength converter 6.
  • the excitation light source 3 emits excitation light H that is a first emission spectrum component having an emission peak wavelength in a wavelength region of 400 nm to 440 nm (or 400 nm to 415 nm) included in the blue region.
  • the light source control unit 4 controls driving of the excitation light source 3.
  • the light guide unit 5 guides the excitation light H emitted from the excitation light source 3 to the wavelength conversion unit 6.
  • the wavelength converter 6 absorbs a part of the excitation light H, converts it into wavelength converted light in a wavelength region longer than the excitation light H, and is an observation light that is a mixed light of the excitation light H and the wavelength converted light. Light P is emitted.
  • FIG. 2 shows a specific configuration diagram of the subject observation light source 1.
  • the excitation light source 3 is, for example, a semiconductor laser that emits excitation light H that is a first spectral component, specifically a laser diode (LD).
  • the excitation light source 3 emits the first emission spectrum including the emission peak wavelength in the wavelength region 400 nm to 440 nm (or 400 nm to 415 nm) included in the blue region as described above.
  • the semiconductor laser 3 emits excitation light H in a blue region having an emission peak of a wavelength of 420 nm ( ⁇ 1) and a half width of a wavelength of several nm or less, that is, a blue laser beam that is a first spectral component.
  • the light source control unit 4 controls the drive of the semiconductor laser 3 to emit the excitation light H from the semiconductor laser 3, and controls the drive current and drive system of the semiconductor laser 3, such as pulse drive and continuous drive (CW). To do.
  • the light guide unit 5 guides the excitation light H emitted from the excitation light source 3 to the wavelength conversion unit 6.
  • a coupling lens (not shown) for converging the excitation light H emitted from the semiconductor laser 3 and coupling it to the optical fiber 5 is provided between the semiconductor laser 3 and the optical fiber 5.
  • the wavelength conversion unit 6 transmits a part of the blue region excitation light H emitted from the excitation light source 3 and absorbs a part of the blue region excitation light H, and has a longer wavelength side than the excitation light H. Wavelength conversion is performed on light in a wavelength region, for example, light in a yellow region, and observation light P that is a mixed light of excitation light H and wavelength conversion light is emitted.
  • the wavelength converter 6 is disposed on the exit end side of the optical fiber 5.
  • the wavelength conversion unit 6 includes a wavelength conversion unit 10 in which a first phosphor 7 as a wavelength conversion member, a light transmission member 8, and a holder 9 are integrally formed.
  • the observation light P includes emission spectrum components in a blue region, a green region, and a red region.
  • the emission spectrum in the blue region is small in a wavelength region in which light of an absorption intensity of a specific observation target such as hemoglobin is relatively difficult to absorb.
  • the peak wavelength of the emission spectrum in the blue region is a wavelength region having an absorption coefficient of 1/5 or more with respect to the absorption coefficient value of the absorption peak wavelength that maximizes the absorption coefficient of the specific observation target such as hemoglobin in the visible light region. Exists within.
  • the maximum intensity of the emission spectrum in the blue region is greater than the maximum intensity of each emission spectrum in the green region and the red region.
  • the peak wavelength of the emission spectrum in the green region is 2 minutes with respect to the absorption coefficient value at the absorption peak wavelength at which the absorption coefficient of the specific observation target such as hemoglobin in the wavelength region 525 nm to 555 nm included in the green region is maximum. In the wavelength region having an absorption coefficient of 1 or more.
  • the wavelength converter 6 absorbs part of the blue laser light (first emission spectrum) emitted from the semiconductor laser 3. At the same time, the wavelength converter 6 converts the wavelength into a fluorescent light (second emission spectrum) in a broad yellow region including the wavelength region 525 nm to 555 nm included in the green region, and the first emission spectrum and the second emission spectrum The emission spectrum is superimposed and emitted as observation light P.
  • the wavelength conversion unit 6 mixes the first emission spectrum and the second emission spectrum at a predetermined ratio and emits substantially white light as the observation light P, so that the first emission spectrum and the second emission spectrum are emitted.
  • the component ratio with the spectrum is set.
  • the first phosphor 7 includes Eu (europium) activated silicate phosphor (hereinafter referred to as silicate phosphor).
  • the silicate fluorescent material absorbs blue laser light having a wavelength of 420 nm emitted from the semiconductor laser 3 and emits yellow fluorescence (hereinafter referred to as yellow fluorescence).
  • the silicate fluorescent material absorbs a first emission spectrum of excitation light H (blue laser light that is the first spectrum component) emitted from a laser diode that is the excitation light source 3, for example, to a wavelength of 525 nm or more.
  • a second emission spectrum (yellow fluorescence) including the peak wavelength is emitted.
  • the first phosphor 7 generally has the following optical properties.
  • FIG. 3 shows the absorption / fluorescence spectral characteristics of the first phosphor 7. If a region where the absorption intensity is half or more of the peak value is defined as an absorption region of the absorption spectrum, the absorption region of the first phosphor 7 in the visible light region having a wavelength of 380 nm to 780 nm is approximately 380 nm to 480 nm.
  • the fluorescence spectrum has a fluorescence peak at a wavelength of 565 nm ( ⁇ 2), and the half width thereof includes a broad fluorescence spectrum (second emission spectrum) having a wavelength of 95 nm.
  • the waveform of the fluorescence spectrum includes a characteristic that the long wavelength side is more gently inclined than the short wavelength side with respect to the fluorescence peak wavelength.
  • the short wavelength end of the fluorescence half width is a wavelength of 521 nm ( ⁇ 2-44 nm), and the long wavelength end of the fluorescence half width is a wavelength of 616 nm ( ⁇ 2 + 51 nm).
  • Fluorescence in the yellow region (second emission spectrum) emitted from the first phosphor 7 includes a continuous emission spectrum component in the wavelength region 525 nm to 600 nm included in the red region from the green region.
  • the minimum intensity in the wavelength region of 525 nm to 600 nm of the fluorescence (second emission spectrum) in the yellow region is 1/5 or more of the peak intensity of the second emission spectrum.
  • the manufacturing method of the first phosphor 7 is formed by dispersing a powdery silicate fluorescent material in a sealing material such as silicone resin or glass and solidifying the sealing material.
  • the thickness of the phosphor 7 and the concentration condition of the silicate phosphor mixed with the sealing material are determined based on the excitation light absorption rate and the wavelength conversion efficiency of the silicate phosphor. Predetermined conditions for converting to desired fluorescence, for example, yellow fluorescence, are set.
  • the light transmitting member 8 is made of glass or silicone resin having a high transmittance.
  • the light transmission member 8 has a property of transmitting the excitation light H emitted from the emission end of the optical fiber 5 and the wavelength converted light (yellow fluorescence) emitted from the first phosphor 7.
  • the holder 9 holds the light transmitting member 8 and the first phosphor 7 and includes an incident part where the excitation light H is incident and an emission part which emits a part of the excitation light H and yellow fluorescence.
  • the inside of the holder 9 is formed in a taper shape.
  • a reflective member that regularly reflects or diffusely reflects the excitation light H and yellow fluorescent light is formed on the inner peripheral surface of the taper shape.
  • the first phosphor 7 is disposed on the optical path axis of the excitation light H incident from the incident portion of the holder 9.
  • the image acquisition unit 2 captures the reflected light F from the irradiation region S of the subject Q irradiated with the observation light P, and based on a plurality of image signals corresponding to the blue region, the green region, and the red region. It acquires at least two observation images of a subject having different wavelength regions, for example, a normal light observation image and a special light observation image, and includes an imaging unit 11, an image processing unit 12, and an image output unit 13.
  • the image processing unit 12 includes a first image generation unit 12-1 and a second image generation unit 12-2.
  • the imaging unit 11 captures an image of the reflected light F from the region (irradiation region) S of the subject Q irradiated by the subject observation light source 1, and includes, for example, a solid-state imaging device (CCD).
  • the CCD includes a blue pixel (B pixel), a green pixel (G pixel), and a red pixel (R pixel), and transmits a pixel signal output from the BGR pixel to the image processing unit 12.
  • Fig. 4 shows the sensitivity characteristics of a typical CCD.
  • the CCD has a B pixel having a sensitivity peak at a wavelength of 460 nm ( ⁇ b) in the blue region, a G pixel having a sensitivity peak at a wavelength of 540 nm ( ⁇ g) in the green region, and a wavelength of 630 nm ( ⁇ r in the red region).
  • the excitation light H blue laser light
  • the excitation light H that is the first spectral component exists in the blue region.
  • the sensitivity region of the B pixel exists up to a wavelength of 540 nm on the long wavelength side, and the sensitivity region of the R pixel exists up to a wavelength of 540 nm on the short wavelength side. Therefore, the B pixel and the G pixel, and the G pixel and the R pixel include a wavelength region in which the sensitivity overlaps in the adjacent wavelength region.
  • the light reception sensitivity characteristic of the B pixel with respect to the wavelength ⁇ is defined as b ( ⁇ )
  • the light reception sensitivity characteristic of the G pixel is defined as g ( ⁇ )
  • the light reception sensitivity characteristic of the R pixel is defined as r ( ⁇ ).
  • the image processing unit 12 receives the B, G, and R pixel signals output from the CCD of the imaging unit 11 and receives the first signal of the subject Q from the pixel signals by the first image generation unit 12-1.
  • a normal light observation image as an image is generated, and a special light observation image is generated as a second image by the second image generation unit 12-2.
  • the first image generation unit 12-1 detects the subject Q based on the pixel signals corresponding to the blue region, the green region, and the red region acquired when the reflected light F is imaged by the imaging unit 11.
  • a normal light observation image is generated. That is, the first image generation unit 12-1 generates the normal light observation image based on the level of each pixel signal of the B pixel, the G pixel, and the R pixel output from the CCD of the imaging unit 11.
  • the second image generation unit 12-2 performs a specific observation target on the subject Q based on the level of each pixel signal of the B pixel and the G pixel among the pixel signals of the B pixel, the G pixel, and the R pixel output from the CCD. For example, a special light observation image that emphasizes hemoglobin flowing in the blood vessel K is generated.
  • the first image generation unit 12-1 and the second image generation unit 12-2 generate images in parallel within one frame period, and generate two images, a normal light observation image and a special light observation image. Including the function to Specifically, the first image generation unit 12-1 and the second image generation unit 12-2 are subject to the image signals for one frame acquired by the B pixel, G pixel, and R pixel of the imaging unit 11, respectively. A normal light observation image and a special light observation image of the same part of the specimen Q are acquired.
  • the image processing unit 12 includes a white balance coefficient that determines color information when generating the normal light observation image and the special light observation image.
  • the white balance coefficient is, for example, P ( ⁇ ) that is a light emission intensity characteristic with respect to the wavelength ⁇ of the observation light P, and b ( ⁇ ), g ( ⁇ ), and r ( ⁇ ) that are light reception sensitivity characteristics of the CCD of the imaging unit 11. Is set using a white plate that is substantially flat in the visible light region.
  • the blue, green, and red color components B, G, and R obtained by multiplying P ( ⁇ ) of the observation light P by b ( ⁇ ), g ( ⁇ ), and r ( ⁇ ) of the CCD of the imaging unit 11 are It is calculated as follows.
  • B / G is the B white balance coefficient Wb with respect to G
  • R / G is the R white balance coefficient Wr with respect to G. It becomes.
  • each of B, G, and R is obtained by multiplying the spectral characteristics of the observation light P and the sensitivity characteristics of each pixel of the CCD. It shows that the balance of the ingredients is good. Even if the spectrum of the observation light P is different from that of white light, the normal light observation image and the special light observation image can be generated by the correction using the white balance coefficients Wb and Wr.
  • the white balance coefficients Wb and Wb are extremely small or large, the noise of a specific pixel is amplified when the color balance is set and the noise of the generated image becomes large. Therefore, the white balance coefficients Wb and Wr A range of 3 is preferred.
  • the red light quantity having a wavelength of 600 nm or more in which the R pixel included in the red area includes the maximum sensitivity is a green light quantity in which the green pixel includes the maximum sensitivity, for example, a wavelength of 525 nm to 555 nm. It is preferable that it is 1/3 or more.
  • the image output unit 13 outputs the normal light observation image and the special light observation image generated by the image processing unit 12, and outputs them to, for example, a CRT display or a liquid crystal display (not shown).
  • the image output unit 13 may include a storage unit that stores an image in a memory card or a hard disk.
  • the operation when the observation light P is emitted from the subject observation light source 1 is as follows.
  • the light source control unit 4 turns on the semiconductor laser as the excitation light source 3 based on the input setting information from the outside.
  • the semiconductor laser 3 emits blue laser light having a wavelength of 420 nm.
  • the blue laser light emitted from the semiconductor laser 3 enters the optical fiber 5, is guided to the optical fiber 5, and enters the wavelength conversion unit 10 on the emission end side of the optical fiber 5.
  • the blue laser light having a wavelength of 420 nm includes the wavelength of the absorption region of the silicate fluorescent material included in the first phosphor 7.
  • a part of the blue laser light incident on the wavelength conversion unit 10 is wavelength-converted by the first phosphor 7 into a broad spectrum yellow fluorescence having a peak in the vicinity of a wavelength of 565 nm.
  • the light is emitted as observation light P from the emission end of the wavelength conversion unit 10 as shown in FIG.
  • FIG. 5 shows the spectral characteristic P ( ⁇ ) of the observation light P.
  • the spectral component included in each wavelength region is defined as a region having an intensity greater than 1/20 with respect to the maximum intensity of each color region, and is 1/20 or less with respect to the maximum intensity. It is assumed that the intensity does not include a spectral component.
  • the observation light (mixed light) P mainly includes a narrow-band blue laser beam (first spectral component) having a peak at a wavelength of 420 nm, and yellow fluorescence (second spectral component) having a peak near a wavelength of 565 nm. It consists of.
  • the observation light (mixed light) P is set to have a component ratio of blue laser light and yellow fluorescence that is near white light.
  • the maximum intensity at a wavelength of 450 nm to 480 nm between the blue laser light and the yellow fluorescence in the observation light P is 1/20 or less with respect to the intensity of the peak wavelength ( ⁇ 1) of the blue laser light.
  • the amount of light with a wavelength of 450 nm to 480 nm in the observation light P is 1/20 or less of the amount of light with a wavelength of 400 nm to 440 nm.
  • the light quantity ratio of the blue region, the green region, and the red region of the observation light P is, for example, approximately 5 (blue): 3 (green): 2 (red).
  • the wavelength difference between the peak wavelength ⁇ 1 of the blue laser light and the wavelength ⁇ 2 of the fluorescence peak is approximately 150 nm.
  • the wavelength difference between the full width at half maximum of blue laser light and the full width at half maximum of yellow fluorescence is about 80 nm.
  • the observation light P emitted from the wavelength conversion unit 10 has a predetermined light distribution angle.
  • the observation light P forms an irradiation region S for irradiating the subject P as shown in FIG. 1 depending on the light distribution angle and the distance between the exit end of the wavelength conversion unit 10 and the subject Q.
  • FIG. 6 shows an absorption coefficient serving as an index of the absorption intensity of hemoglobin in the blood vessel K in the subject Q.
  • hemoglobin In the visible light region having a wavelength of 380 nm to 780 nm, hemoglobin has absorption intensity peaks at different wavelengths near the wavelength 415 nm ( ⁇ h1), the wavelength 540 nm ( ⁇ h2), and the wavelength 580 nm ( ⁇ h3), and the wavelength 415 nm ( ⁇ h1). It has the property of the greatest absorption intensity in the vicinity.
  • NBI observation of an endoscope is performed by using light of two wavelengths including a wavelength region of approximately 415 nm ( ⁇ h1) and a wavelength of approximately 540 nm ( ⁇ h2), approximately 400 nm to 440 nm, and approximately 525 nm to 555 nm.
  • ⁇ h1 a wavelength region of approximately 415 nm
  • ⁇ h2 a wavelength of approximately 540 nm
  • ⁇ h2 approximately 400 nm to 440 nm
  • 525 nm to 555 nm approximately 525 nm to 555 nm.
  • the observation light P in the present embodiment includes a component that becomes white light by blue laser light having a wavelength of 420 nm and yellow fluorescence having a peak near the wavelength of 565 nm. Since the blue laser light having a wavelength of 420 nm is absorbed and scattered by the relatively surface layer portion of the biological tissue J, it is effective for observing the blood vessel K near the surface of the biological tissue J.
  • yellow fluorescence has a broad spectrum and includes light having a wavelength near 540 nm ( ⁇ h2).
  • the light in the vicinity of the wavelength of 540 nm travels deeper into the skin than the light of the wavelength of 420 nm, while being scattered to some extent when irradiating the living tissue J.
  • light in the vicinity of a wavelength of 540 nm is absorbed and scattered by the subcutaneous blood vessel K and the like, which is effective for observing the blood vessel K in the subcutaneous tissue.
  • the peak wavelength ⁇ 2 of the fluorescent component exists in the wavelength band of the absorption coefficient that is 1/2 or more of the absorption coefficient of the absorption peak wavelength 540 nm ( ⁇ h2) of hemoglobin in the green region, so that the blood vessel of the subcutaneous tissue The increase in the proportion absorbed by the observation of K and the sensitivity of the green pixel increase. Thereby, an image with high contrast can be obtained at the peak wavelength ⁇ 2 of the fluorescent component.
  • the absorption characteristics of hemoglobin show a tendency that the absorption intensity rapidly decreases as the wavelength increases from the vicinity of the wavelength of 415 nm ( ⁇ h1).
  • the absorption characteristic of hemoglobin decreases to approximately 1/5 at a wavelength difference of 35 nm.
  • the biological tissue J in the subject Q often shows red from the skin color.
  • the absorption coefficient gradually decreases from the blue region to the red region.
  • the living tissue J in the subject Q is smaller than the absorption coefficient of hemoglobin near the wavelength 415 nm ( ⁇ h1) in the blue region.
  • the biological tissue J in the subject Q includes a tissue larger than the absorption coefficient of hemoglobin near the wavelength of 450 nm.
  • the amount of light near the wavelength 415 nm ( ⁇ h1) where the absorption coefficient of hemoglobin is larger than that of the living tissue J is greater than the amount of light near the wavelength of 460 nm where the absorption coefficient of hemoglobin is smaller than that of the living tissue J.
  • ⁇ h1 the amount of light near the wavelength 415 nm
  • 460 nm the amount of light near the wavelength of 460 nm where the absorption coefficient of hemoglobin is smaller than that of the living tissue J.
  • the B pixel of the CCD of the image pickup unit 11 used for image acquisition has a sensitivity in the vicinity of a wavelength of 450 nm about twice as high as that in the vicinity of a wavelength of 415 nm ( ⁇ h1).
  • the blood vessel (hemoglobin) near the surface of the biological tissue J is less likely to be absorbed than the wavelength 415 nm ( ⁇ h1).
  • the wavelength region 450 nm to 480 nm which is the blue region from the wavelength 450 nm to the long wavelength side, is about a half of the light amount in the wavelength region 400 nm to 440 nm near the wavelength 415 nm ( ⁇ h1), the wavelength region 450 nm.
  • a light amount of ⁇ 480 nm affects image noise when increasing the contrast.
  • the observation light P for normal light observation is desirably white light.
  • the observation light P is considered to be effective to have a continuous flat spectral component from the green to the red wavelength region in order to observe red from the skin color that is often present in the living tissue J.
  • a part of the observation light P is absorbed by the absorption characteristics of the blood vessel K and the living tissue J in the irradiation region S.
  • the remaining part of the observation light P is scattered and reflected, and is received by the CCD of the imaging unit 11 having R pixels, G pixels, and B pixels. Since the light receiving sensitivity characteristic of the B pixel exists in the wavelength region of 380 nm to 540 nm, the reflected light F of the observation light P received by the B pixel becomes a short wavelength region of blue laser light and yellow fluorescence. However, since the sensitivity of the B pixel in the vicinity of the wavelength of 520 nm is low, the component mainly received by the B pixel is blue laser light.
  • the light receiving sensitivity characteristic of the G pixel exists in the wavelength region of 460 nm to 640 nm. It is effective for reducing image noise of the G pixel that the G pixel does not receive the spectrum component in the blue region.
  • the blue component in the wavelength region 450 nm to 480 nm included in the observation light P may be reduced, or the blue component and the green component may be wavelength-separated. preferable. That is, the component having a wavelength of 450 nm to 480 nm has a region that is 1/20 or less of the peak intensity of the wavelength of 400 to 440 nm and is 5 nm or more.
  • the observation light is set such that, for example, in the P wavelength region of 450 nm to 480 nm, a wavelength region having an intensity of 1/20 or less of the peak intensity of the first emission spectrum is continuously present at 5 nm or more.
  • the reflected light F of the observation light P also includes a red region component having a wavelength of 580 nm or more.
  • the R pixel mainly receives the red fluorescent component in the sensitivity region of the wavelength region of 540 nm to 720 nm.
  • the imaging unit 11 transmits the received light signals of the RGB pixels received by the CCD to the image processing unit 12.
  • the first image generation unit 12-1 of the image processing unit 12 generates a normal light observation image based on the level of each pixel signal of the B pixel, the G pixel, and the R pixel output from the CCD of the imaging unit 11. That is, the first image generation unit 12-1 is based on the light reception signals of the B, G, and R pixels and predetermined image processing (white balance, noise reduction, structure enhancement, gamma correction, etc.) A normal light observation image at the time of observation light irradiation is generated. The normal light observation image is generated using all the spectral components included in the observation light P.
  • the second image generation unit 12-2 of the image processing unit 12 generates a special light observation image based on the level of each pixel signal of the B pixel and the G pixel output from the CCD of the imaging unit 11. That is, the second image generation unit 12-2 assigns the light reception signal of the B pixel as the light reception signal of the B pixel and the G pixel, assigns the light reception signal of the G pixel as the light reception signal of the R pixel, and a predetermined image Based on the processing, a special light observation image at the time of observation light irradiation is generated.
  • the special light observation image is generated using only the blue region and the green region among the components included in the observation light.
  • the image output unit 13 outputs the normal light observation image and the special light observation image generated by the image processing unit 12 to, for example, a CRT display or a liquid crystal display. With the above operation, it is possible to irradiate the subject Q with one observation light P and acquire two images of normal light observation and special light observation in which the blood vessel contrast is highlighted.
  • the subject observation light source 1 that irradiates the subject Q with the observation light P and the image acquisition that acquires the image of the irradiation region S irradiated by the subject observation light source 1 are obtained.
  • the image acquisition unit 2 includes a plurality of different observation images, for example, a normal light observation image and a special light observation image, in consideration of the absorption characteristics of the subject Q to be observed,
  • the object observation system 100 using a small observation light source that can be used for both normal light observation and special light observation can be realized. .
  • the spectral components of the observation light P include blue laser light having a wavelength of 420 nm near the absorption peak of hemoglobin and an absorption peak of 540 nm of hemoglobin in the green region. Special light observation using only the blue region and the green region can be realized.
  • the blue light contained in the observation light P is a narrow-band blue laser light, and the blue light and the green light are separated, so that an image expressing the blood vessel K on the surface of the living tissue J with high contrast is obtained. be able to.
  • the second image generation unit 12-2 assigns the light reception signal of the B pixel as the light reception signal of the B pixel and the G pixel, assigns the light reception signal of the G pixel as the light reception signal of the R pixel, and a predetermined image Based on the processing, a special light observation image at the time of observation light irradiation can be generated.
  • the spectral components of the observation light P white light including red light is realized, so that normal light observation combined with a predetermined image acquisition unit can be realized. Since the spectrum of the observation light P is configured by using only one excitation light source 3 and one phosphor 7 as a wavelength conversion member, the region where the excitation light source 3 and the wavelength conversion unit 10 are disposed is limited. For example, it is particularly effective for a nasal endoscope.
  • the first embodiment may be modified as follows.
  • the excitation light source 3 is a wavelength between the wavelength at which the absorption spectrum of the first phosphor 7 in the wavelength region 400 nm to 440 nm is maximum and the absorption peak wavelength of the specific observation target (hemoglobin) in the wavelength region 400 nm to 440 nm.
  • the peak wavelength of the first emission spectrum of the excitation light H may exist in the region. That is, the blue laser light (first emission spectrum of the excitation light H) emitted from the semiconductor laser 3 may have a peak wavelength between wavelengths 400 nm to 440 nm where the absorption coefficient of hemoglobin is large.
  • the peak wavelength of the blue laser light should be between 415 nm and 440 nm of the absorption peak of hemoglobin. This is preferable because the contrast of the blood vessel K is high and a bright image can be easily obtained.
  • the fluorescent material included in the first phosphor 7 is not limited to a silicate fluorescent material (Eu-activated oxide fluorescent material), and may be a fluorescent material that absorbs light having a wavelength of 400 nm to 440 nm and emits yellow broad fluorescence. Good. Eu-activated oxynitride fluorescent materials and Eu-activated sulfide fluorescent materials can also be used.
  • an oxide fluorescent material (YAG, TAG) having a Ce (cerium) activated garnet crystal structure may be used as the fluorescent material contained in the first phosphor 7, an oxide fluorescent material (YAG, TAG) having a Ce (cerium) activated garnet crystal structure may be used.
  • the Ce-activated garnet fluorescent material is a material capable of emitting yellow fluorescence by absorbing light having a wavelength of 430 nm to 470 nm, and can be used in combination with, for example, blue laser light having a peak at a wavelength of 430 nm to 440 nm.
  • the excitation light source 3 for exciting the first phosphor 7 a light source that emits laser light having a peak wavelength of the first emission spectrum in the wavelength region 415 nm to 440 nm may be used.
  • the amount of light in the wavelength region of 450 nm to 480 nm in the observation light P is 1/5 or less compared to the amount of light in the wavelength of 400 nm to 440 nm, the blue light component received by the G pixel is small and the noise of the special light image There is little influence as an ingredient. Desirably, it is 1/10 or less.
  • FIG. 7 shows a configuration diagram of the wavelength conversion unit 10.
  • the wavelength conversion unit 10 emits fluorescence having two wavelengths.
  • the wavelength conversion unit 10 is formed by adding the second phosphor 7-2 to the first phosphor 7-1 and laminating the first phosphor 7-1 and the second phosphor 7-2. .
  • the second phosphor 7-2 absorbs the first emission spectrum or the second emission spectrum and emits a third emission spectrum having a peak wavelength longer than the peak wavelength of the second emission spectrum.
  • the first emission spectrum, the second emission spectrum, and the third emission spectrum are mixed at a predetermined ratio so that substantially white light is emitted as the observation light P, and the first emission spectrum and the second emission spectrum are emitted.
  • a component ratio between the emission spectrum and the third emission spectrum is set.
  • the first phosphor 7-1 absorbs light having a wavelength of 420 nm and emits green region fluorescence, and includes an Eu-activated oxynitride phosphor.
  • FIG. 8 shows the absorption / fluorescence characteristics of the first phosphor 7-1.
  • the second phosphor 7-2 emits fluorescence in the red region and includes a Eu-activated nitride phosphor.
  • FIG. 9 shows the absorption / fluorescence characteristics of the second phosphor 7-2.
  • the second phosphor 7-2 may be a phosphor material that absorbs green fluorescence and emits light without absorbing a wavelength of 420 nm.
  • the wavelength conversion unit 10 emits white light observation light P in which blue laser light having a wavelength of 420 nm, green fluorescence, and red fluorescence are mixed at a predetermined ratio.
  • the observation light P becomes white light having a flat spectrum from the green region to the red region, and the color rendering properties during normal light observation are improved.
  • the wavelength conversion unit 10 has a spectral component in the red region up to the long wavelength side, so that the appearance of the red tissue present in the living tissue J in the subject Q is reproduced. It can be realized with high performance.
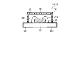
  • FIG. 10 shows a configuration diagram of a capsule endoscope 20 to which the subject observation system 100 of the present invention is applied.
  • the subject observation system 100 includes a plurality of subject observation light sources, for example, six subject observation light sources 1-1, 1-2 and the like mounted on the capsule endoscope 20.
  • FIG. 10 shows two object observation light sources 1-1 and 1-2 from the relationship shown.
  • the subject observation system 100 includes an imaging unit 11 that is introduced into the subject Q and acquires image information in the subject Q. Similar to the configuration shown in FIG.
  • the subject observation system 100 is disposed outside the subject Q, the capsule endoscope 20 that transmits the image information acquired by the imaging unit 11 to the outside of the subject Q, An image processing unit 12 that receives image information from the capsule endoscope 20 and generates a plurality of different images in the subject Q, for example, a normal light observation image and a special light observation image, and an image processing unit 12 An image output unit 13 that displays the generated normal light observation image and special light observation image is included.
  • the capsule endoscope 20 includes two object observation light sources 1-1 and 1-2 that emit observation light P irradiated into the subject Q, and reflected light of the observation light P irradiated into the subject Q. And an imaging device (imaging unit) 10 that receives F.
  • the capsule endoscope 20 includes a hemispherical housing 21 formed of a light transmissive member. In the housing 21, a substrate 22 having a hollow central portion and formed in a ring shape is provided. On the substrate 22, for example, six object observation light sources are provided as the plurality of object observation light sources 1-1, 1-2 and the like as described above. On the substrate 22, a lens 23 that collects the reflected light F from the subject Q is provided on the imaging device 10. The image sensor 10 and the lens 23 are provided on the same optical axis.
  • FIG. 11 shows a structural diagram of the object observation light sources 1-1, 1-2, and the like.
  • Each of the subject observation light sources 1-1 and 1-2 includes a substrate 22, a blue LED 31 as an excitation light source mounted on the substrate 22, and a phosphor 32 provided so as to cover the blue LED 31.
  • Electrodes 33-1 and 33-2 are provided at both ends of the substrate 22, respectively.
  • Each of the electrodes 33-1 and 33-2 is connected to a battery (not shown) and is electrically connected to the blue LED 31 via the wires 34-1 and 34-2, respectively. Therefore, the blue LED 31 emits light upon receiving power supply from a battery (not shown).
  • a first resin 35 is provided so as to cover the blue LED 31.
  • the first resin 35 is made of a light transmissive resin.
  • a space between the first resin 35 and the blue LED 31 is filled with a second resin 36.
  • the second resin 36 is made of a light transmissive resin.
  • the blue LED 31 has a peak at a wavelength of 420 nm and emits blue LED light (excitation light H) having a half width of about 20 nm.
  • the phosphor 32 is, for example, a silicate powder phosphor material, and is sealed in the first resin 35. The phosphor 32 may be sealed in the second resin 36 on the LED element.
  • FIG. 12 shows the spectral shape of the observation light P emitted from each of the subject observation light sources 1-1, 1-2, and the like.
  • the observation light P emitted from each of the subject observation light sources 1-1 and 1-2 has a peak at a wavelength of 420 nm, and is emitted as white light depending on the ratio of blue LED light and yellow fluorescence.
  • the amount of light in the wavelength region 450 nm to 480 nm is 1/10 or less compared to the wavelength region 440 nm to 440 nm.
  • the blue LED 31 emits blue LED light (excitation light H) having a peak at a wavelength of 420 nm and a half-value width of about 20 nm when emitting light by receiving power supply from the battery.
  • the blue LED light passes through the second resin 36 and is applied to the phosphor 32 that is sealed in the first resin 35.
  • the phosphor 32 absorbs a part of the blue LED light emitted from the blue LED 31 and converts the wavelength of the blue LED light into the yellow region fluorescence included in the green region, and superimposes the blue LED light and the yellow region fluorescence. And emitted as white observation light P.
  • the observation light P has a peak at a wavelength of 420 nm as described above, and is emitted as white light depending on the ratio of blue LED light and yellow fluorescence.
  • the amount of light in the wavelength region 450 nm to 480 nm is 1/10 or less compared to the wavelength region 440 nm to 440 nm.
  • a part of the observation light P is absorbed by the absorption characteristics of the blood vessel K and the living tissue J in the irradiation region S.
  • the remaining part of the observation light P is scattered and reflected, and is received by the CCD of the imaging unit 11 having R pixels, G pixels, and B pixels.
  • the imaging unit 11 outputs light reception signals of RGB pixels received by the CCD.
  • the light reception signals of the RGB pixels are transmitted to the image processing unit 12.
  • the first image generation unit 12-1 of the image processing unit 12 generates a normal light observation image based on the level of each pixel signal of the B pixel, the G pixel, and the R pixel output from the CCD of the imaging unit 11. That is, the first image generation unit 12-1 is based on the light reception signals of the B, G, and R pixels and predetermined image processing (white balance, noise reduction, structure enhancement, gamma correction, etc.) A normal light observation image at the time of observation light irradiation is generated. The normal light observation image is generated using all the spectral components included in the observation light P.
  • the second image generation unit 12-2 generates a special light observation image based on the level of each pixel signal of the B pixel and the G pixel output from the CCD of the imaging unit 11. That is, the second image generation unit 12-2 assigns the light reception signal of the B pixel as the light reception signal of the B pixel and the G pixel, assigns the light reception signal of the G pixel as the light reception signal of the R pixel, and a predetermined image Based on the processing, a special light observation image at the time of observation light irradiation is generated. The special light observation image is generated using only the blue region and the green region among the components included in the observation light.
  • the image output unit 13 outputs the normal light observation image and the special light observation image generated by the image processing unit 12 to, for example, a CRT display or a liquid crystal display.
  • the observation light P is emitted from the subject observation light sources 1-1, 1-2 and the like on which the blue LED 31 is mounted, and the subject Q
  • the scattered light and reflected light from the irradiation region S are received by the imaging unit 11 and the received light signal is output, and the first image generation unit 12-1 performs the normal light observation image based on the level of each pixel signal of the BGR pixel. Since the special light observation image is generated based on the level of each pixel signal of the BG pixel by the second image generation unit 12-2, the same effect as in the first embodiment can be obtained.
  • One type of observation light source combining a blue LED with a wavelength of 420 nm and a yellow fluorescent light can be used for both normal light observation and special light observation, and it is necessary to arrange a plurality of color LEDs for a plurality of observation applications. And can be downsized.
  • the observation light P can be emitted with an LED driving current with a low current consumption of several mA. Therefore, the present embodiment is effective for application to a device having a small structure that is driven by a battery such as the capsule endoscope 20 and emits the observation light P.
  • the present invention is not limited to the above-described embodiment as it is, and can be embodied by modifying constituent elements without departing from the scope of the invention in the implementation stage.
  • various inventions can be formed by appropriately combining a plurality of components disclosed in the embodiment. For example, some components may be deleted from all the components shown in the embodiment.
  • constituent elements over different embodiments may be appropriately combined.

Landscapes

  • Health & Medical Sciences (AREA)
  • Life Sciences & Earth Sciences (AREA)
  • Surgery (AREA)
  • Medical Informatics (AREA)
  • Biophysics (AREA)
  • Engineering & Computer Science (AREA)
  • Biomedical Technology (AREA)
  • Heart & Thoracic Surgery (AREA)
  • Physics & Mathematics (AREA)
  • Molecular Biology (AREA)
  • Pathology (AREA)
  • Animal Behavior & Ethology (AREA)
  • General Health & Medical Sciences (AREA)
  • Public Health (AREA)
  • Veterinary Medicine (AREA)
  • Nuclear Medicine, Radiotherapy & Molecular Imaging (AREA)
  • Optics & Photonics (AREA)
  • Radiology & Medical Imaging (AREA)
  • Endoscopes (AREA)
PCT/JP2013/084667 2012-12-27 2013-12-25 被検体観察システム及び方法、カプセル型内視鏡システム Ceased WO2014104095A1 (ja)

Priority Applications (3)

Application Number Priority Date Filing Date Title
CN201380068349.2A CN104883949A (zh) 2012-12-27 2013-12-25 被检体观察系统以及方法、胶囊型内窥镜系统
EP13869001.1A EP2939587A4 (en) 2012-12-27 2013-12-25 SYSTEM AND METHOD FOR SUBJECT OBSERVATION AND CAPSULE ENDOSCOPE SYSTEM
US14/752,188 US10264975B2 (en) 2012-12-27 2015-06-26 Subject observation system and method, and capsule-type endoscope system

Applications Claiming Priority (2)

Application Number Priority Date Filing Date Title
JP2012-285556 2012-12-27
JP2012285556A JP6253231B2 (ja) 2012-12-27 2012-12-27 被検体観察システム及びその方法、カプセル型内視鏡システム

Related Child Applications (1)

Application Number Title Priority Date Filing Date
US14/752,188 Continuation US10264975B2 (en) 2012-12-27 2015-06-26 Subject observation system and method, and capsule-type endoscope system

Publications (1)

Publication Number Publication Date
WO2014104095A1 true WO2014104095A1 (ja) 2014-07-03

Family

ID=51021173

Family Applications (1)

Application Number Title Priority Date Filing Date
PCT/JP2013/084667 Ceased WO2014104095A1 (ja) 2012-12-27 2013-12-25 被検体観察システム及び方法、カプセル型内視鏡システム

Country Status (5)

Country Link
US (1) US10264975B2 (enExample)
EP (1) EP2939587A4 (enExample)
JP (1) JP6253231B2 (enExample)
CN (1) CN104883949A (enExample)
WO (1) WO2014104095A1 (enExample)

Cited By (2)

* Cited by examiner, † Cited by third party
Publication number Priority date Publication date Assignee Title
CN106537906A (zh) * 2014-07-15 2017-03-22 夏普株式会社 摄像装置和分析装置
JP2021013764A (ja) * 2020-11-04 2021-02-12 富士フイルム株式会社 内視鏡システム

Families Citing this family (8)

* Cited by examiner, † Cited by third party
Publication number Priority date Publication date Assignee Title
JP6507182B2 (ja) * 2014-12-25 2019-04-24 オリンパス株式会社 光源装置
CN108135454B (zh) * 2015-09-30 2020-03-13 奥林巴斯株式会社 摄像装置、内窥镜以及内窥镜系统
JPWO2017104047A1 (ja) * 2015-12-17 2018-10-04 オリンパス株式会社 照明装置と内視鏡システム
EP3480903B1 (en) * 2016-07-04 2020-09-30 Panasonic Intellectual Property Management Co., Ltd. Fiber light source, endoscope, and endoscope system
JP6944104B2 (ja) * 2016-11-30 2021-10-06 日亜化学工業株式会社 発光装置
US11197603B2 (en) * 2017-03-10 2021-12-14 Sony Olympus Medical Solutions Inc. Endoscope apparatus
JP7059353B2 (ja) * 2018-03-05 2022-04-25 オリンパス株式会社 内視鏡システム
CN119791570A (zh) * 2024-12-30 2025-04-11 深圳市星辰海医疗科技有限公司 一种内窥镜成像系统及其控制方法

Citations (3)

* Cited by examiner, † Cited by third party
Publication number Priority date Publication date Assignee Title
JP2005205195A (ja) 2003-12-22 2005-08-04 Nichia Chem Ind Ltd 発光装置及び内視鏡装置
JP2012016545A (ja) * 2010-07-09 2012-01-26 Fujifilm Corp 内視鏡装置
JP2012228443A (ja) * 2011-04-27 2012-11-22 Fujifilm Corp 内視鏡装置及びその操作支援方法

Family Cites Families (9)

* Cited by examiner, † Cited by third party
Publication number Priority date Publication date Assignee Title
WO2010143692A1 (ja) * 2009-06-10 2010-12-16 オリンパスメディカルシステムズ株式会社 カプセル型内視鏡装置
WO2011010534A1 (ja) * 2009-07-23 2011-01-27 オリンパスメディカルシステムズ株式会社 透過率調整装置、観察装置、及び観察システム
JP5606120B2 (ja) * 2010-03-29 2014-10-15 富士フイルム株式会社 内視鏡装置
JP2012143397A (ja) * 2011-01-12 2012-08-02 Fujifilm Corp 内視鏡システム及び内視鏡システムの光源装置
JP5274591B2 (ja) 2011-01-27 2013-08-28 富士フイルム株式会社 内視鏡システム、内視鏡システムのプロセッサ装置、及び内視鏡システムの作動方法
JP5550574B2 (ja) * 2011-01-27 2014-07-16 富士フイルム株式会社 電子内視鏡システム
JP5485215B2 (ja) * 2011-04-01 2014-05-07 富士フイルム株式会社 内視鏡装置
JP5508339B2 (ja) * 2011-05-25 2014-05-28 富士フイルム株式会社 内視鏡用投光ユニット
JP5554288B2 (ja) * 2011-06-13 2014-07-23 富士フイルム株式会社 内視鏡システム、プロセッサ装置及び画像補正方法

Patent Citations (3)

* Cited by examiner, † Cited by third party
Publication number Priority date Publication date Assignee Title
JP2005205195A (ja) 2003-12-22 2005-08-04 Nichia Chem Ind Ltd 発光装置及び内視鏡装置
JP2012016545A (ja) * 2010-07-09 2012-01-26 Fujifilm Corp 内視鏡装置
JP2012228443A (ja) * 2011-04-27 2012-11-22 Fujifilm Corp 内視鏡装置及びその操作支援方法

Non-Patent Citations (1)

* Cited by examiner, † Cited by third party
Title
See also references of EP2939587A4 *

Cited By (4)

* Cited by examiner, † Cited by third party
Publication number Priority date Publication date Assignee Title
CN106537906A (zh) * 2014-07-15 2017-03-22 夏普株式会社 摄像装置和分析装置
CN106537906B (zh) * 2014-07-15 2019-03-29 夏普株式会社 摄像装置和分析装置
JP2021013764A (ja) * 2020-11-04 2021-02-12 富士フイルム株式会社 内視鏡システム
JP7159261B2 (ja) 2020-11-04 2022-10-24 富士フイルム株式会社 内視鏡システム

Also Published As

Publication number Publication date
JP2014124490A (ja) 2014-07-07
JP6253231B2 (ja) 2017-12-27
US10264975B2 (en) 2019-04-23
CN104883949A (zh) 2015-09-02
US20150289764A1 (en) 2015-10-15
EP2939587A1 (en) 2015-11-04
EP2939587A4 (en) 2016-08-17

Similar Documents

Publication Publication Date Title
JP6253231B2 (ja) 被検体観察システム及びその方法、カプセル型内視鏡システム
US9814375B2 (en) Light source device and subject observation apparatus as well as light source control method
CN105025774B (zh) 被检体观察系统以及方法
US10582842B2 (en) Observation image acquiring system and observation image acquiring method
EP2133021B1 (en) Light source device, imaging apparatus and endoscope apparatus
US8337400B2 (en) Illumination device for use in endoscope
JP5858752B2 (ja) 内視鏡用光源装置
JP5285967B2 (ja) 光源装置およびこれを用いた内視鏡装置
US20120200687A1 (en) Light source apparatus, electronic image acquiring apparatus, electronic image observation apparatus, endoscope apparatus, capsule endoscope apparatus
WO2015016013A1 (ja) 内視鏡用光源装置、およびこれを用いた内視鏡システム
JP2020018914A (ja) 内視鏡システム
JP6438062B2 (ja) 内視鏡システム
JP2009291347A (ja) 光源装置およびこれを用いた内視鏡装置
JP2009297313A (ja) 光源装置およびこれを用いる内視鏡システム
JP5600569B2 (ja) 内視鏡装置
JP2012070839A (ja) 光源装置および内視鏡診断装置
JP6115967B2 (ja) 内視鏡システム
JP2014132918A (ja) 光源装置、およびこれを用いた内視鏡システム

Legal Events

Date Code Title Description
121 Ep: the epo has been informed by wipo that ep was designated in this application

Ref document number: 13869001

Country of ref document: EP

Kind code of ref document: A1

WWE Wipo information: entry into national phase

Ref document number: 2013869001

Country of ref document: EP

NENP Non-entry into the national phase

Ref country code: DE