WO2014069289A1 - ガスタービン燃焼器及びガスタービン - Google Patents

ガスタービン燃焼器及びガスタービン Download PDF

Info

Publication number
WO2014069289A1
WO2014069289A1 PCT/JP2013/078618 JP2013078618W WO2014069289A1 WO 2014069289 A1 WO2014069289 A1 WO 2014069289A1 JP 2013078618 W JP2013078618 W JP 2013078618W WO 2014069289 A1 WO2014069289 A1 WO 2014069289A1
Authority
WO
WIPO (PCT)
Prior art keywords
cooling
air
burner
cylinder
gas turbine
Prior art date
Legal status (The legal status is an assumption and is not a legal conclusion. Google has not performed a legal analysis and makes no representation as to the accuracy of the status listed.)
Ceased
Application number
PCT/JP2013/078618
Other languages
English (en)
French (fr)
Japanese (ja)
Inventor
斉藤 圭司郎
智志 瀧口
敏彦 齋藤
赤松 真児
Current Assignee (The listed assignees may be inaccurate. Google has not performed a legal analysis and makes no representation or warranty as to the accuracy of the list.)
Mitsubishi Heavy Industries Ltd
Original Assignee
Mitsubishi Heavy Industries Ltd
Priority date (The priority date is an assumption and is not a legal conclusion. Google has not performed a legal analysis and makes no representation as to the accuracy of the date listed.)
Filing date
Publication date
Application filed by Mitsubishi Heavy Industries Ltd filed Critical Mitsubishi Heavy Industries Ltd
Priority to DE112013005209.1T priority Critical patent/DE112013005209B4/de
Priority to US14/438,723 priority patent/US9989258B2/en
Priority to CN201380056168.8A priority patent/CN104755843B/zh
Priority to KR1020157010871A priority patent/KR101676975B1/ko
Publication of WO2014069289A1 publication Critical patent/WO2014069289A1/ja
Anticipated expiration legal-status Critical
Ceased legal-status Critical Current

Links

Images

Classifications

    • FMECHANICAL ENGINEERING; LIGHTING; HEATING; WEAPONS; BLASTING
    • F23COMBUSTION APPARATUS; COMBUSTION PROCESSES
    • F23RGENERATING COMBUSTION PRODUCTS OF HIGH PRESSURE OR HIGH VELOCITY, e.g. GAS-TURBINE COMBUSTION CHAMBERS
    • F23R3/00Continuous combustion chambers using liquid or gaseous fuel
    • F23R3/28Continuous combustion chambers using liquid or gaseous fuel characterised by the fuel supply
    • F23R3/286Continuous combustion chambers using liquid or gaseous fuel characterised by the fuel supply having fuel-air premixing devices
    • FMECHANICAL ENGINEERING; LIGHTING; HEATING; WEAPONS; BLASTING
    • F23COMBUSTION APPARATUS; COMBUSTION PROCESSES
    • F23RGENERATING COMBUSTION PRODUCTS OF HIGH PRESSURE OR HIGH VELOCITY, e.g. GAS-TURBINE COMBUSTION CHAMBERS
    • F23R3/00Continuous combustion chambers using liquid or gaseous fuel
    • F23R3/28Continuous combustion chambers using liquid or gaseous fuel characterised by the fuel supply
    • F23R3/283Attaching or cooling of fuel injecting means including supports for fuel injectors, stems, or lances
    • FMECHANICAL ENGINEERING; LIGHTING; HEATING; WEAPONS; BLASTING
    • F23COMBUSTION APPARATUS; COMBUSTION PROCESSES
    • F23RGENERATING COMBUSTION PRODUCTS OF HIGH PRESSURE OR HIGH VELOCITY, e.g. GAS-TURBINE COMBUSTION CHAMBERS
    • F23R2900/00Special features of, or arrangements for continuous combustion chambers; Combustion processes therefor
    • F23R2900/03042Film cooled combustion chamber walls or domes

Definitions

  • the present invention relates to a premixed combustion type gas turbine combustor and a gas turbine including the gas turbine combustor.
  • a premixed combustion type gas turbine combustor in which a premixed gas in which fuel and combustion air are mixed in advance is burned (see, for example, Patent Document 1).
  • This gas turbine combustor has a main burner through which premixed gas flows, and the main burner includes a burner outer cylinder and an extension pipe downstream thereof.
  • flashback which is a phenomenon of backfire (combustion)
  • film-like air film air is caused to flow along the inner wall surface of the extension pipe from the gap between the burner outer cylinder and the extension pipe.
  • the amount of air taken into the gas turbine combustor is distributed as cooling air in addition to the combustion air and film air described above.
  • the amount of air taken into the gas turbine combustor is defined in advance according to the output performance of the gas turbine. For this reason, if there are many amounts of air used as film air and cooling air, the amount of air used as combustion air will decrease that much. In this case, since the fuel component of the premixed gas becomes rich, it is difficult to reduce NOx generated during combustion.
  • an object of the present invention is to provide a gas turbine combustor and a gas turbine capable of reducing NOx generated during combustion while suppressing flashback.
  • the premixed gas in which the fuel and the combustion air are mixed in advance is combusted so that the premixed gas flows in the gas turbine combustor in which the combustion region is formed.
  • a mixture air supply passage, a film air supply port provided in the premixture supply passage, for supplying film-like film air along the inner wall surface of the premixture supply passage, and opposed to the combustion region to be formed And a cooling passage through which cooling air for cooling the inner wall surface flows.
  • the cooling passage is connected to the film air supply port on the outflow side.
  • the cooling air can be used as the film air
  • the amount of air to be used can be reduced as compared with the case where the cooling air and the film air are respectively used.
  • the amount of air used as working air can be increased. Therefore, since the fuel component of the premixed gas can be diluted, the inner wall surface of the combustion chamber can be cooled while suppressing flashback, and NOx generated by burning the premixed gas can be reduced. Can do.
  • the cooling passage is formed along the inner surface which is the surface opposite to the combustion region with the inner wall surface interposed therebetween.
  • the inner wall surface can be suitably cooled.
  • an impingement member including an impingement hole formed so as to penetrate the cooling air so as to blow the cooling air onto the inner surface is interposed in the cooling passage.
  • the cooling air flowing through the cooling passage can be blown to the inner surface by passing the impingement member, the inner wall surface facing the combustion region can be suitably cooled.
  • the air that has passed through the impingement hole can increase its flow velocity and improve the cooling efficiency of the inner surface, so that the amount of air used as cooling air can be reduced.
  • the film air supply port is preferably an opening formed between the upstream inner wall surface of the premixed gas supply passage and the downstream inner wall surface provided outside the upstream inner wall surface.
  • the film air supplied from the film air supply port can be suitably circulated along the inner wall surface of the premixed gas supply passage.
  • the film air supply port is preferably a slit opening formed on the inner wall surface of the premixed gas supply passage.
  • the film air supplied from the film air supply port can be supplied from the inner wall surface of the premixed gas supply passage, the inner wall surface can be made the same surface.
  • a gas turbine according to the present invention includes the gas turbine combustor described above and a turbine that is rotated by combustion gas generated by burning a premixed gas in the gas turbine combustor.
  • the turbine can be rotated by combustion with low NOx while suppressing flashback.
  • FIG. 1 is a schematic configuration diagram of a gas turbine according to a first embodiment.
  • FIG. 2 is an enlarged view of the gas turbine combustor of FIG.
  • FIG. 3 is a diagram schematically showing the internal configuration of the gas turbine combustor.
  • FIG. 4 is a schematic diagram showing a configuration around the cooling passage of the pilot cone.
  • FIG. 5 is a schematic diagram illustrating a configuration around the cooling passage of the pilot cone of the gas turbine combustor according to the second embodiment.
  • FIG. 6 is a schematic diagram illustrating a configuration around the cooling passage of the burner of the gas turbine combustor according to the third embodiment.
  • FIG. 1 is a schematic configuration diagram of a gas turbine according to a first embodiment.
  • FIG. 2 is an enlarged view of the gas turbine combustor of FIG.
  • FIG. 3 is a diagram schematically showing the internal configuration of the gas turbine combustor.
  • FIG. 4 is a schematic diagram showing a configuration around the cooling passage of the pilot cone.
  • FIG. 7 is a schematic diagram illustrating a configuration around a cooling passage of a burner of a gas turbine combustor according to a modification of the third embodiment.
  • FIG. 8 is a schematic diagram illustrating a configuration around the cooling passage of the burner of the gas turbine combustor according to the fourth embodiment.
  • FIG. 9 is a schematic diagram illustrating a configuration around a cooling passage of a burner of a gas turbine combustor according to a modification of the fourth embodiment.
  • FIG. 1 is a schematic configuration diagram of a gas turbine according to the first embodiment.
  • the gas turbine 1 includes a compressor 11, a gas turbine combustor (hereinafter referred to as a combustor) 12, a turbine 13, and an exhaust chamber 14, and a generator (not shown) is connected to the turbine 13.
  • a compressor 11 a gas turbine combustor (hereinafter referred to as a combustor) 12
  • a turbine 13 a turbine 13
  • an exhaust chamber 14 a generator (not shown) is connected to the turbine 13.
  • a generator not shown
  • the compressor 11 has an air intake 15 for taking in air, and a plurality of stationary blades 17 and a plurality of moving blades 18 are alternately arranged in the compressor casing 16.
  • the combustor 12 is combustible by supplying fuel to the compressed air (combustion air) compressed by the compressor 11 and igniting it with a burner.
  • a plurality of stationary blades 21 and a plurality of moving blades 22 are alternately arranged in a turbine casing 20.
  • the exhaust chamber 14 has an exhaust diffuser 23 that is continuous with the turbine 13.
  • a rotor (turbine shaft) 24 is positioned so as to pass through the center of the compressor 11, the combustor 12, the turbine 13, and the exhaust chamber 14, and an end portion on the compressor 11 side is freely rotatable by a bearing portion 25.
  • the end portion on the exhaust chamber 14 side is rotatably supported by the bearing portion 26.
  • a plurality of disk plates are fixed to the rotor 24, the rotor blades 18 and 22 are connected, and a drive shaft of a generator (not shown) is connected to the end on the exhaust chamber 14 side.
  • the air taken in from the air intake port 15 of the compressor 11 passes through the plurality of stationary blades 21 and the plurality of moving blades 22 and is compressed into high-temperature and high-pressure compressed air.
  • the fuel is burned by supplying a predetermined fuel to the compressed air.
  • the high-temperature and high-pressure combustion gas that is the working fluid generated by the combustor 12 passes through the plurality of stationary blades 21 and the plurality of moving blades 22 constituting the turbine 13 to drive and rotate the rotor 24. Then, the generator connected to the rotor 24 is driven.
  • the exhaust gas that is the combustion gas after driving and rotating the rotor 24 is converted into a static pressure by the exhaust diffuser 23 in the exhaust chamber 14 and then released to the atmosphere.
  • FIG. 2 is an enlarged view of the gas turbine combustor of FIG.
  • the combustor 12 has a combustor casing 30.
  • the combustor casing 30 includes an inner cylinder 32 disposed inside the outer cylinder 31, and a tail cylinder 33 connected to the tip of the inner cylinder 32, and a center inclined with respect to the rotation axis L of the rotor 24. It extends along the axis S.
  • the outer cylinder 31 is fastened to a casing housing 27 that forms a casing 34 into which compressed air from the compressor 11 flows.
  • the base end of the inner cylinder 32 is supported by the outer cylinder 31, and is arranged inside the outer cylinder 31 at a predetermined interval from the outer cylinder 31.
  • a pilot burner 40 is disposed along the central axis S at the center of the inner cylinder 32.
  • a plurality of main burners 50 are arranged around the pilot burner 40 at equal intervals and in parallel with the pilot burner 40 so as to surround the pilot burner 40.
  • the tail tube 33 has a base end formed in a cylindrical shape and is connected to the tip of the inner tube 32.
  • the transition piece 33 is formed to have a small cross-sectional area and bend toward the tip side, and is open toward the first stage stationary blade 21 of the turbine 13.
  • the transition piece 33 forms a combustion chamber inside.
  • FIG. 3 is a diagram schematically showing the internal configuration of the gas turbine combustor.
  • the pilot burner 40 includes a pilot cone 41, a pilot nozzle 42 disposed inside the pilot cone 41 and along the center axis S, and a pilot swirler 43 provided on the outer periphery of the pilot nozzle 42.
  • the main burner 50 includes a burner cylinder 51 and a main nozzle 52 disposed inside the burner cylinder 51 and parallel to the central axis S. Fuel is supplied to the pilot nozzle 42 from a pilot combustion line (not shown) via a fuel port 44 (FIG. 2). Fuel is supplied to the main nozzle 52 from a main fuel line (not shown) via a fuel port 54 (FIG. 2).
  • the high-temperature and high-pressure compressed air from the compressor 11 flows into the passenger compartment 34 around the combustor 12.
  • the compressed air flows outside the tail cylinder 33 and the inner cylinder 32 from the tail cylinder 33 side to the inner cylinder 32 side, and flows into the inner cylinder 32 from the base end side of the inner cylinder 32.
  • the compressed air that has flowed into the inner cylinder 32 is mixed with fuel by the pilot burner 40 and the main burner 50 and burns to become combustion gas.
  • the compressed air flowing into the inner cylinder 32 is mixed with the fuel injected from the main nozzle 52 and flows into the tail cylinder 33 from the burner cylinder 51 as a swirling flow of premixed air.
  • the burner cylinder 51 functions as a premixed gas supply passage for supplying the premixed gas toward the tail cylinder 33.
  • the compressed air flowing into the inner cylinder 32 is swirled by the pilot swirler 43, mixed with the fuel injected from the pilot nozzle 42, and flows into the tail cylinder 33 as premixed air.
  • the premixed gas from the pilot nozzle 42 is ignited and burned by a not-shown seed fire, and is burned into the tail cylinder 33 as combustion gas.
  • flame diffusion for stable combustion of the lean premixed fuel from the main nozzle 52 can be performed by diffusing flame with the fuel injected from the pilot nozzle 42. Further, by premixing the fuel from the main nozzle 52 and the compressed air with the main burner 50, the fuel concentration is made uniform and NOx can be reduced.
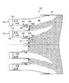
  • FIG. 4 is a schematic diagram showing a configuration around the cooling passage of the pilot cone.
  • the unburned region R ⁇ b> 2 where the premixed gas does not burn is a region including the inside of the main burner 50.
  • the combustion region R1 in which the premixed gas burns is a region downstream of the pilot nozzle 42 and includes the inside of the pilot cone 41 and the inside of the transition piece 33. For this reason, the combustion gas combusted by the premixed gas flows inside the tail cylinder 33.
  • the combustion region R ⁇ b> 1 is formed from the inside of the inner cylinder 32 to the inside of the tail cylinder 33.
  • the flow velocity of the premixed gas flowing in the burner cylinder 51 is decreased on the inner wall surface side of the burner cylinder 51 downstream of the main nozzle 52.
  • backfire flashback
  • film air is supplied to the burner cylinder 51 of the main burner 50 along the inner wall surface of the burner cylinder 51 in order to suppress flashback from the combustion area R1 to the unburned area R2.
  • the combustion region R1 since the combustion region R1 is at a high temperature, it is necessary to cool the inner wall surface facing the combustion region R1.
  • the inner wall surface facing the combustion region R1 includes an inner wall surface of the pilot cone 41 and a back step surface 65 described later. Cooling air is supplied to the inside of the pilot cone 41 in order to cool the inner wall surface and the back step surface 65 of the pilot cone 41.
  • the air taken in from the air intake 15 of the compressor 11 is used as combustion air, film air, and cooling air.
  • the amount of air taken in is defined in advance according to the output performance of the gas turbine 1. For this reason, if there are many amounts of air used as film air and cooling air, the amount of air used as combustion air will decrease that much. Therefore, in the first embodiment, the following configuration is used to suppress a reduction in the amount of combustion air.
  • the configuration around the pilot cone 41 and the burner cylinder 51 will be described with reference to FIG.
  • the burner cylinder 51 includes a first burner cylinder 56 and a second burner cylinder 57.
  • the front end portion 56 a of the first burner cylinder 56 extends to the downstream side in the flow direction of the premixed gas from the main nozzle 52.
  • the base end portion 57a of the second burner cylinder 57 is disposed outside the distal end portion 56a so as to cover the distal end portion 56a with a gap in the radial direction from the distal end portion 56a.
  • the inner peripheral surface of the base end portion 57 a of the second burner cylinder 57 is larger in diameter than the outer peripheral surface of the distal end portion 56 a of the first burner cylinder 56, and the outer peripheral surface of the first burner cylinder 56 and the second burner cylinder 57.
  • An annular opening is formed between the inner peripheral surface of each of the two. This annular opening is a film air supply port 61 for supplying film air.
  • the pilot cone 41 has a tapered shape with a tip portion 41a extending toward the downstream side in the flow direction of the premixed gas.
  • the front end portion 41 a of the inner peripheral surface (inner wall surface) of the pilot cone 41 and the front end portion 57 b of the inner peripheral surface of the second burner cylinder 57 (burner cylinder 51) are connected by a back step surface 65.
  • the back step surface 65 is a surface orthogonal to the central axis S and is a surface facing the combustion region R1.
  • the pilot cone 41 has a cooling passage 71 through which cooling air flows.
  • the cooling passage 71 is formed between the outer peripheral surface of the pilot cone 41 and the outer peripheral surface of the burner cylinder 51.
  • the cooling passage 71 has one end connected to the vehicle compartment 34 into which compressed air flows and the other end connected to the film air supply port 61.
  • the cooling passage 71 includes an upstream side cooling passage 71a, a midstream side cooling passage 71b, a downstream side cooling passage 71c, and a film air supply passage 71d.
  • the upstream side cooling passage 71 a is a cooling passage along the outer peripheral surface of the pilot cone 41, and the cooling air flows from the base end side of the pilot cone 41 toward the tip end side.
  • the middle flow side cooling passage 71 b is a cooling passage along the inner side (opposite side) surface (inner surface) of the back step surface 65, and the cooling air flows from the pilot cone 41 toward each second burner cylinder 57.
  • the downstream side cooling passage 71 c is a cooling passage along the outer peripheral surface of the second burner cylinder 57, and the cooling air flows from the distal end side to the proximal end side of the second burner cylinder 57.
  • the film air supply passage 71d is a cooling passage between the outer peripheral surface of the first burner cylinder 56 and the inner peripheral surface of the second burner cylinder 57, and cools from the proximal end side to the distal end side of the second burner cylinder 57. Air flows and cooling air is discharged from the film air supply port 61.
  • the film air discharged from the film air supply port 61 flows along the inner peripheral surface of the second burner cylinder 57 and merges with the premixed gas flowing in the second burner cylinder 57 downstream of the film air supply port 61. To do.
  • Example 1 since cooling air can be used as film air, compared with the case where cooling air and film air are each used, the amount of air to be used is reduced. Thus, the amount of air used as fuel air can be increased. Therefore, since the fuel component of the premixed gas can be thinned, the surface facing the combustion region R1, that is, the back step surface 65 can be cooled while suppressing the flashback, and the premixed gas is burned. Thus, NOx generated can be reduced.
  • FIG. 5 is a schematic diagram illustrating a configuration around the cooling passage of the pilot cone of the gas turbine combustor according to the second embodiment.
  • a plurality of main burners 50 are provided around the pilot burner 40.
  • the gas turbine combustor according to the second embodiment is a so-called annular combustor in which an annular main burner 105 is provided around the pilot burner 40.
  • the film air supply port 61 includes an inner film air supply port 61a provided on the inner inner peripheral surface and an outer film air supply port 61b provided on the outer inner peripheral surface.
  • the inner film air supply port 61 a is a slit opening that is opened in a slit shape on the inner peripheral surface of the annular burner cylinder 106.
  • the inner film air supply port 61 a serving as the slit opening is formed to be inclined from the upstream side to the downstream side of the burner cylinder 106.
  • the cooling passage 71 for cooling the pilot cone 41 of the pilot burner 40 is connected to the inner film air supply port 61a.
  • the outer film air supply port 61 b is connected to the passenger compartment 34. Therefore, the cooling passage 71 includes an upstream side cooling passage 71a, a midstream side cooling passage 71b, and a downstream side cooling passage 71c.
  • the upstream side cooling passage 71a, the midstream side cooling passage 71b, and the downstream side cooling passage 71c are the same as in the first embodiment.
  • the inner film air supply port 61a is connected to the downstream side cooling passage 71c.
  • the film air discharged from the inner film air supply port 61a flows along the inner peripheral surface of the burner tube 106, and merges with the premixed gas flowing in the burner tube 106 downstream of the inner film air supply port 61a. .
  • the cooling air can be used as the film air. Therefore, compared with the case where the cooling air and the film air are used, respectively. Thus, the amount of air to be used can be reduced, whereby the amount of air to be used as fuel air can be increased. Therefore, since the fuel component of the premixed gas can be thinned, the surface facing the combustion region R1, that is, the back step surface 65 can be cooled while suppressing the flashback, and the premixed gas is burned. Thus, NOx generated can be reduced.
  • FIG. 6 is a schematic diagram illustrating a configuration around the cooling passage of the burner of the gas turbine combustor according to the third embodiment.
  • the gas turbine combustor 12 of the first embodiment a plurality of main burners 50 are provided around the pilot burner 40.
  • the gas turbine combustor 110 according to the third embodiment includes an inner burner 111 having an inner annular shape around the central axis S, and an annular outer burner 112 provided around the outer side of the inner burner 111. It becomes a combustor.
  • the inner burner 111 includes an annular inner cylinder 114 and an inner fuel nozzle 115 provided inside the inner cylinder 114.
  • the outer burner 112 has an annular outer cylinder 116 and an outer fuel nozzle 117 provided inside the outer cylinder 116. Fuel is supplied to the inner fuel nozzle 115 and the outer fuel nozzle 117 from a combustion line (not shown).
  • the inner fuel nozzle 115 and the outer fuel nozzle 117 function as a swirler that generates a swirling flow.
  • Compressed air flows into the inner cylinder 114 of the inner burner 111.
  • the compressed air flowing into the inner cylinder 114 is mixed with the fuel injected from the inner fuel nozzle 115 and flows into the tail cylinder 33 from the inner cylinder 114 as a swirling flow of the premixed gas.
  • the inner cylinder 114 functions as a premixed gas supply passage for supplying the premixed gas toward the tail cylinder 33.
  • the compressed air flows into the outer cylinder 116 of the outer burner 112.
  • the compressed air flowing into the outer cylinder 116 is mixed with the fuel injected from the outer fuel nozzle 117 and flows into the tail cylinder 33 from the outer cylinder 116 as a swirling flow of premixed air.
  • the outer cylinder 116 also functions as a premixed gas supply passage for supplying the premixed gas toward the tail cylinder 33.
  • the premixed gas from the inner cylinder 114 of the inner burner 111 is ignited and burned by unillustrated seed fire, and is burned into the tail cylinder 33 as combustion gas. At this time, a part of the combustion gas is ejected so as to diffuse into the tail tube 33 with a flame. As a result, the premixed gas flowing into the tail cylinder 33 from the outer cylinder 116 of the outer burner 112 is ignited and burned.
  • an unburned region R ⁇ b> 2 where the premixed gas does not burn is formed on the downstream side of the inner cylinder 114 and the outer cylinder 116.
  • the combustion region R1 in which the premixed gas burns is a region extending from the downstream side of the back step surface 65 to the inside of the tail tube 33 inside the inner tube 114, and a back step between the inner tube 114 and the outer tube 116. The region extends from the downstream side of the surface 65 to the inside of the transition piece 33.
  • an inner film air supply port 125 is provided on the inner peripheral surface inside the inner tube 114
  • an outer film air supply port 126 is provided on the inner peripheral surface inside the outer tube 116.
  • the inner film air supply port 125 is a slit opening that is opened in a slit shape on the inner peripheral surface of the annular inner cylinder 114.
  • the outer film air supply port 126 is a slit opening that is opened in a slit shape on the inner peripheral surface of the inner side of the annular outer cylinder 116.
  • the inner cooling passage 121 for cooling the back step surface 65 inside the inner cylinder 114 is connected to the inner film air supply port 125.
  • the outer cooling passage 122 that cools the back step surface 65 between the inner cylinder 114 and the outer cylinder 116 is connected to the outer film air supply port 126.
  • the inner cooling passage 121 includes an upstream inner cooling passage 121a and a downstream inner cooling passage 121b.
  • the upstream inner cooling passage 121 a is a cooling passage along the inner side (opposite side) surface (inner surface) of the back step surface 65 inside the inner cylinder 114, and the cooling air flows from the central axis S toward the inner cylinder 114.
  • the downstream inner cooling passage 121b is a cooling passage along the inner side (opposite side) surface (inner surface) of the inner peripheral surface of the inner cylinder 114, and cools from the distal end side to the proximal end side of the inner cylinder 114. Air flows.
  • the inner film air supply port 125 is connected to the downstream inner cooling passage 121b.
  • the outer cooling passage 122 includes an upstream outer cooling passage 122a and a downstream outer cooling passage 122b.
  • the upstream outer cooling passage 122 a is a cooling passage along the inner side (opposite side) surface (inner surface) of the back step surface 65 between the inner tube 114 and the outer tube 116, and extends from the inner tube 114 to the outer tube 116. Cooling air flows toward it.
  • the downstream side outer cooling passage 122b is a cooling passage along the inner side (opposite side) surface (inner surface) of the inner peripheral surface of the outer cylinder 116, and cools from the distal end side to the proximal end side of the outer cylinder 116. Air flows. At this time, the outer film air supply port 126 is connected to the downstream outer cooling passage 122b.
  • the cooling air flows along the inner surface of the back step surface 65 inside the inner cylinder 114 by flowing through the upstream inner cooling passage 121 a, thereby cooling the back step surface 65.
  • the cooling air flows along the inner surface of the inner cylinder 114 by flowing through the downstream inner cooling passage 121 b, thereby cooling the inner peripheral surface of the inner cylinder 114.
  • the cooling air is discharged as film air from the inner film air supply port 125 connected to the downstream inner cooling passage 121b.
  • the cooling air flows along the inner surface of the back step surface 65 between the inner cylinder 114 and the outer cylinder 116 by flowing through the upstream outer cooling passage 122 a, thereby The step surface 65 is cooled. Then, the cooling air flows along the inner surface of the outer cylinder 116 by flowing through the downstream outer cooling passage 122b, thereby cooling the inner peripheral surface of the outer cylinder 116. Subsequently, the cooling air is discharged as film air from the outer film air supply port 126 connected to the downstream outer cooling passage 122b.
  • the film air discharged from the inner film air supply port 125 flows along the inner peripheral surface on the inner side of the inner tube 114, and merges with the premixed gas flowing in the inner tube 114 downstream of the inner film air supply port 125. To do.
  • the film air discharged from the outer film air supply port 126 flows along the inner peripheral surface of the inner side of the outer tube 116 and also flows in the outer tube 116 downstream of the outer film air supply port 126. To join.
  • the cooling air can be used as the film air, compared to the case where the cooling air and the film air are used, respectively.
  • the amount of air used can be reduced, and the amount of air used as fuel air can be increased. Therefore, since the fuel component of the premixed gas can be thinned, the surface facing the combustion region R1, that is, the back step surface 65 can be cooled while suppressing the flashback, and the premixed gas is burned. Thus, NOx generated can be reduced.
  • FIG. 7 is a schematic diagram illustrating a configuration around a cooling passage of a burner of a gas turbine combustor according to a modification of the third embodiment.
  • an impingement member 131 is interposed in the inner cooling passage 121 and the outer cooling passage 122.
  • a plurality of impingement holes 132 are formed in the impingement member 131. Each impingement hole 132 is formed so as to penetrate cooling air against the back step surface 65.
  • the cooling air that has passed through the impingement member 131 flows into the upstream inner cooling passage 121 a of the inner cooling passage 121.
  • the cooling air that has passed through the impingement member 131 in the outer cooling passage 122 flows into the upstream outer cooling passage 122 a of the outer cooling passage 122.
  • the cooling air flowing through the inner cooling passage 121 and the outer cooling passage 122 can be blown against the inner surface of the back step surface 65 by passing the impingement member 131. It can cool suitably. At this time, the cooling air that has passed through the impingement hole 132 can increase its flow velocity and improve the cooling efficiency of the backstep surface 65, and therefore the amount of air used as cooling air can be further reduced.
  • FIG. 8 is a schematic diagram illustrating a configuration around the cooling passage of the burner of the gas turbine combustor according to the fourth embodiment.
  • the fourth embodiment only parts different from the first embodiment will be described in order to avoid overlapping with the first embodiment.
  • the gas turbine combustor 12 of the first embodiment a plurality of main burners 50 are provided around the pilot burner 40.
  • the gas turbine combustor 110 according to the fourth embodiment is a combustor in which a plurality of burners 141 are arranged at predetermined intervals in the circumferential direction with the central axis S as a center.
  • the burner 141 includes a burner cylinder 142, a fuel nozzle 143 disposed inside the burner cylinder 142, and parallel to the central axis S.
  • Have Fuel is supplied to the fuel nozzle 143 from a main fuel line (not shown).
  • the fuel nozzle 143 functions as a swirler that generates a swirling flow.
  • Compressed air flows into the burner cylinder 142 of the burner 141.
  • the compressed air flowing into the burner cylinder 142 is mixed with the fuel injected from the fuel nozzle 143 and flows into the tail cylinder 33 from the burner cylinder 142 as a swirling flow of premixed air.
  • the burner cylinder 142 functions as a premixed gas supply passage for supplying the premixed gas toward the tail cylinder 33.
  • the premixed gas from the burner cylinder 142 of the plurality of burners 141 is ignited and burned by unillustrated seed fire, and is burned into the tail cylinder 33 as combustion gas.
  • an unburned region R ⁇ b> 2 where the premixed gas does not burn is formed on the downstream side of the burner cylinder 142.
  • the combustion region R ⁇ b> 1 where the premixed gas burns is a region extending from the downstream side of the back step surface 65 connecting the tip portions 57 b of the burner tubes 142 to the inside of the tail tube 33.
  • a film air supply port 146 is provided on the inner peripheral surface of the burner tube 142.
  • the film air supply port 146 is a slit opening that is opened in a slit shape on the inner peripheral surface.
  • the cooling passage 145 for cooling the back step surface 65 is connected to the film air supply port 146.
  • the cooling passage 145 includes an upstream side cooling passage 145a and a downstream side cooling passage 145b.
  • the upstream side cooling passage 145a includes a cooling passage along a surface (inner surface) on the inner side (opposite side) of the back step surface 65 on the inner peripheral side of the central axis S and an inner side of the back step surface 65 on the outer peripheral side of the central axis S. And a cooling passage along the side (opposite side) surface (inner surface). For this reason, in the upstream side cooling passage 145a, the cooling air flows from the center side of the central axis S toward the burner cylinder 142, and the cooling air flows from the outer peripheral side of the central axis S toward the burner cylinder 142.
  • the downstream side cooling passage 145 b is a cooling passage along the outer peripheral surface of the burner tube 142, and the cooling air flows from the front end side to the base end side of the burner tube 142. At this time, the film air supply port 146 is connected to the downstream side cooling passage 145b.
  • the film air discharged from the film air supply port 146 flows along the inner peripheral surface of the burner tube 142 and merges with the premixed gas flowing in the burner tube 142 downstream of the film air supply port 146.
  • the cooling air can be used as the film air, compared to the case of using the cooling air and the film air, respectively.
  • the amount of air used can be reduced, and the amount of air used as fuel air can be increased. Therefore, since the fuel component of the premixed gas can be thinned, the surface facing the combustion region R1, that is, the back step surface 65 can be cooled while suppressing the flashback, and the premixed gas is burned. Thus, NOx generated can be reduced.
  • FIG. 9 is a schematic diagram illustrating a configuration around a cooling passage of a burner of a gas turbine combustor according to a modification of the fourth embodiment.
  • an impingement member 151 is interposed in the cooling passage 145.
  • a plurality of impingement holes 152 are formed in the impingement member 151.
  • Each impingement hole 152 is formed to penetrate the cooling air against the back step surface 65. Then, the cooling air that has passed through the impingement member 151 in the cooling passage 145 flows into the upstream side cooling passage 145 a of the cooling passage 145.
  • the cooling air flowing through the cooling passage 145 can be blown against the inner surface of the back step surface 65 by passing the impingement member 151, the back step surface 65 can be suitably cooled. it can.
  • the cooling air that has passed through the impingement hole 152 can increase its flow velocity and improve the cooling efficiency of the backstep surface 65, so that the amount of air used as cooling air can be further reduced.

Landscapes

  • Engineering & Computer Science (AREA)
  • Chemical & Material Sciences (AREA)
  • Combustion & Propulsion (AREA)
  • Mechanical Engineering (AREA)
  • General Engineering & Computer Science (AREA)
  • Gas Burners (AREA)
PCT/JP2013/078618 2012-10-31 2013-10-22 ガスタービン燃焼器及びガスタービン Ceased WO2014069289A1 (ja)

Priority Applications (4)

Application Number Priority Date Filing Date Title
DE112013005209.1T DE112013005209B4 (de) 2012-10-31 2013-10-22 Gasturbinenbrennkammer und Gasturbine
US14/438,723 US9989258B2 (en) 2012-10-31 2013-10-22 Premixed-combustion gas turbine combustor
CN201380056168.8A CN104755843B (zh) 2012-10-31 2013-10-22 燃气轮机燃烧器以及燃气轮机
KR1020157010871A KR101676975B1 (ko) 2012-10-31 2013-10-22 가스 터빈 연소기 및 가스 터빈

Applications Claiming Priority (2)

Application Number Priority Date Filing Date Title
JP2012240829A JP6012407B2 (ja) 2012-10-31 2012-10-31 ガスタービン燃焼器及びガスタービン
JP2012-240829 2012-10-31

Publications (1)

Publication Number Publication Date
WO2014069289A1 true WO2014069289A1 (ja) 2014-05-08

Family

ID=50627200

Family Applications (1)

Application Number Title Priority Date Filing Date
PCT/JP2013/078618 Ceased WO2014069289A1 (ja) 2012-10-31 2013-10-22 ガスタービン燃焼器及びガスタービン

Country Status (6)

Country Link
US (1) US9989258B2 (enExample)
JP (1) JP6012407B2 (enExample)
KR (1) KR101676975B1 (enExample)
CN (1) CN104755843B (enExample)
DE (1) DE112013005209B4 (enExample)
WO (1) WO2014069289A1 (enExample)

Cited By (1)

* Cited by examiner, † Cited by third party
Publication number Priority date Publication date Assignee Title
CN110651154A (zh) * 2017-08-21 2020-01-03 三菱日立电力系统株式会社 燃烧器及具备该燃烧器的燃气涡轮

Families Citing this family (8)

* Cited by examiner, † Cited by third party
Publication number Priority date Publication date Assignee Title
JP6840468B2 (ja) 2016-03-29 2021-03-10 三菱重工業株式会社 ガスタービン燃焼器
JP6634658B2 (ja) * 2016-12-20 2020-01-22 三菱重工業株式会社 メインノズル、燃焼器及びメインノズルの製造方法
DE102017101167A1 (de) 2017-01-23 2018-07-26 Man Diesel & Turbo Se Brennkammer einer Gasturbine, Gasturbine und Verfahren zum Betreiben derselben
CN108072053B (zh) * 2017-11-28 2020-12-01 中国航发沈阳发动机研究所 一种旋流雾化装置
JP6692847B2 (ja) * 2018-03-26 2020-05-13 三菱重工業株式会社 ガスタービン燃焼器及びこれを備えたガスタービン機関
US12055299B2 (en) 2020-02-19 2024-08-06 Mitsubishi Heavy Industries Engine & Turbocharger, Ltd. Combustor and gas turbine
EP3910238A1 (de) 2020-05-15 2021-11-17 Siemens Aktiengesellschaft Pilotkonus
KR102736829B1 (ko) * 2022-11-22 2024-12-03 두산에너빌리티 주식회사 연료 노즐 모듈, 연소기 및 이를 포함하는 가스 터빈

Citations (2)

* Cited by examiner, † Cited by third party
Publication number Priority date Publication date Assignee Title
JP2010281483A (ja) * 2009-06-03 2010-12-16 Japan Aerospace Exploration Agency ステージング型燃料ノズル
JP2012154618A (ja) * 2011-01-26 2012-08-16 United Technologies Corp <Utc> ガスタービンエンジンのミキサーアッセンブリ

Family Cites Families (20)

* Cited by examiner, † Cited by third party
Publication number Priority date Publication date Assignee Title
US5076062A (en) 1987-11-05 1991-12-31 General Electric Company Gas-cooled flameholder assembly
US5127221A (en) 1990-05-03 1992-07-07 General Electric Company Transpiration cooled throat section for low nox combustor and related process
JP2954480B2 (ja) 1994-04-08 1999-09-27 株式会社日立製作所 ガスタービン燃焼器
US6269646B1 (en) 1998-01-28 2001-08-07 General Electric Company Combustors with improved dynamics
JP3337427B2 (ja) * 1998-09-17 2002-10-21 三菱重工業株式会社 ガスタービン用燃焼器
JP2000146183A (ja) 1998-11-12 2000-05-26 Mitsubishi Heavy Ind Ltd ガスタービン燃焼器
CA2537926C (en) 2003-09-05 2011-01-11 Delavan Inc. Pilot combustor for stabilizing combustion in gas turbine engines
JP2005114193A (ja) 2003-10-03 2005-04-28 Mitsubishi Heavy Ind Ltd ガスタービン燃焼器
US7007477B2 (en) * 2004-06-03 2006-03-07 General Electric Company Premixing burner with impingement cooled centerbody and method of cooling centerbody
JP4070758B2 (ja) 2004-09-10 2008-04-02 三菱重工業株式会社 ガスタービン燃焼器
US20090019854A1 (en) * 2007-07-16 2009-01-22 General Electric Company APPARATUS/METHOD FOR COOLING COMBUSTION CHAMBER/VENTURI IN A LOW NOx COMBUSTOR
US8312722B2 (en) * 2008-10-23 2012-11-20 General Electric Company Flame holding tolerant fuel and air premixer for a gas turbine combustor
EP2230455B1 (en) 2009-03-16 2012-04-18 Alstom Technology Ltd Burner for a gas turbine and method for locally cooling a hot gases flow passing through a burner
US8215950B2 (en) * 2009-04-07 2012-07-10 Genral Electric Company Low emission and flashback resistant burner tube and apparatus
US20100293956A1 (en) * 2009-05-21 2010-11-25 General Electric Company Turbine fuel nozzle having premixer with auxiliary vane
US8607569B2 (en) * 2009-07-01 2013-12-17 General Electric Company Methods and systems to thermally protect fuel nozzles in combustion systems
US20130219899A1 (en) * 2012-02-27 2013-08-29 General Electric Company Annular premixed pilot in fuel nozzle
US9423135B2 (en) * 2013-11-21 2016-08-23 General Electric Company Combustor having mixing tube bundle with baffle arrangement for directing fuel
CN106133446B (zh) * 2014-05-23 2019-01-29 三菱日立电力系统株式会社 燃气涡轮燃烧器以及燃气涡轮
US11015809B2 (en) * 2014-12-30 2021-05-25 General Electric Company Pilot nozzle in gas turbine combustor

Patent Citations (2)

* Cited by examiner, † Cited by third party
Publication number Priority date Publication date Assignee Title
JP2010281483A (ja) * 2009-06-03 2010-12-16 Japan Aerospace Exploration Agency ステージング型燃料ノズル
JP2012154618A (ja) * 2011-01-26 2012-08-16 United Technologies Corp <Utc> ガスタービンエンジンのミキサーアッセンブリ

Cited By (2)

* Cited by examiner, † Cited by third party
Publication number Priority date Publication date Assignee Title
CN110651154A (zh) * 2017-08-21 2020-01-03 三菱日立电力系统株式会社 燃烧器及具备该燃烧器的燃气涡轮
CN110651154B (zh) * 2017-08-21 2022-03-29 三菱动力株式会社 燃烧器及具备该燃烧器的燃气涡轮

Also Published As

Publication number Publication date
CN104755843B (zh) 2016-09-21
JP6012407B2 (ja) 2016-10-25
KR20150064125A (ko) 2015-06-10
US20150300648A1 (en) 2015-10-22
DE112013005209B4 (de) 2021-06-24
US9989258B2 (en) 2018-06-05
DE112013005209T5 (de) 2015-08-27
KR101676975B1 (ko) 2016-11-16
JP2014092286A (ja) 2014-05-19
CN104755843A (zh) 2015-07-01

Similar Documents

Publication Publication Date Title
JP6012407B2 (ja) ガスタービン燃焼器及びガスタービン
JP5611450B2 (ja) ノズル及びガスタービン燃焼器、ガスタービン
JP2014092286A5 (enExample)
JP5924618B2 (ja) 燃料噴射装置
JP6177187B2 (ja) ガスタービン燃焼器、ガスタービン、制御装置及び制御方法
US8950190B2 (en) Gas turbine combustor having contraction member on inner wall surface
CN101368739A (zh) 燃气涡轮发动机内的燃料的燃烧方法和装置
WO2012124467A1 (ja) ガスタービン燃焼器およびガスタービン
JP6723768B2 (ja) バーナアセンブリ、燃焼器、及びガスタービン
JP6564872B2 (ja) 燃焼用筒、ガスタービン燃焼器及びガスタービン
CN104937344B (zh) 燃烧器以及燃气轮机
WO2015178149A1 (ja) ガスタービン燃焼器及びガスタービン
JP2012154588A (ja) ガスタービン燃焼器
WO2016063791A1 (ja) 燃焼器、ガスタービン
JP5606346B2 (ja) ガスタービン燃焼器
JP2013145077A (ja) ガスタービン燃焼器
WO2023140180A1 (ja) 燃焼器及びガスタービン
JP6832137B2 (ja) ガスタービン
JP2010190540A (ja) 燃焼器及びガスタービン

Legal Events

Date Code Title Description
121 Ep: the epo has been informed by wipo that ep was designated in this application

Ref document number: 13850543

Country of ref document: EP

Kind code of ref document: A1

ENP Entry into the national phase

Ref document number: 20157010871

Country of ref document: KR

Kind code of ref document: A

WWE Wipo information: entry into national phase

Ref document number: 14438723

Country of ref document: US

WWE Wipo information: entry into national phase

Ref document number: 1120130052091

Country of ref document: DE

Ref document number: 112013005209

Country of ref document: DE

122 Ep: pct application non-entry in european phase

Ref document number: 13850543

Country of ref document: EP

Kind code of ref document: A1