WO2014054654A1 - スイッチ装置 - Google Patents

スイッチ装置 Download PDF

Info

Publication number
WO2014054654A1
WO2014054654A1 PCT/JP2013/076734 JP2013076734W WO2014054654A1 WO 2014054654 A1 WO2014054654 A1 WO 2014054654A1 JP 2013076734 W JP2013076734 W JP 2013076734W WO 2014054654 A1 WO2014054654 A1 WO 2014054654A1
Authority
WO
WIPO (PCT)
Prior art keywords
contact
state
switch device
control button
fixed contact
Prior art date
Legal status (The legal status is an assumption and is not a legal conclusion. Google has not performed a legal analysis and makes no representation as to the accuracy of the status listed.)
Ceased
Application number
PCT/JP2013/076734
Other languages
English (en)
French (fr)
Japanese (ja)
Inventor
承錫 白
桐生 幸一
柚場 誉嗣
政俊 則竹
圭一 廣瀬
Current Assignee (The listed assignees may be inaccurate. Google has not performed a legal analysis and makes no representation or warranty as to the accuracy of the list.)
Fujitsu Component Ltd
NTT Facilities Inc
Original Assignee
Fujitsu Component Ltd
NTT Facilities Inc
Priority date (The priority date is an assumption and is not a legal conclusion. Google has not performed a legal analysis and makes no representation as to the accuracy of the date listed.)
Filing date
Publication date
Application filed by Fujitsu Component Ltd, NTT Facilities Inc filed Critical Fujitsu Component Ltd
Priority to US14/430,951 priority Critical patent/US9607793B2/en
Priority to CN201380052771.9A priority patent/CN104704591B/zh
Publication of WO2014054654A1 publication Critical patent/WO2014054654A1/ja
Anticipated expiration legal-status Critical
Ceased legal-status Critical Current

Links

Images

Classifications

    • HELECTRICITY
    • H01ELECTRIC ELEMENTS
    • H01HELECTRIC SWITCHES; RELAYS; SELECTORS; EMERGENCY PROTECTIVE DEVICES
    • H01H3/00Mechanisms for operating contacts
    • H01H3/54Mechanisms for coupling or uncoupling operating parts, driving mechanisms, or contacts
    • H01H3/58Mechanisms for coupling or uncoupling operating parts, driving mechanisms, or contacts using friction, toothed, or other mechanical clutch
    • HELECTRICITY
    • H01ELECTRIC ELEMENTS
    • H01HELECTRIC SWITCHES; RELAYS; SELECTORS; EMERGENCY PROTECTIVE DEVICES
    • H01H23/00Tumbler or rocker switches, i.e. switches characterised by being operated by rocking an operating member in the form of a rocker button
    • H01H23/02Details
    • H01H23/12Movable parts; Contacts mounted thereon
    • HELECTRICITY
    • H01ELECTRIC ELEMENTS
    • H01HELECTRIC SWITCHES; RELAYS; SELECTORS; EMERGENCY PROTECTIVE DEVICES
    • H01H23/00Tumbler or rocker switches, i.e. switches characterised by being operated by rocking an operating member in the form of a rocker button
    • H01H23/02Details
    • H01H23/12Movable parts; Contacts mounted thereon
    • H01H23/16Driving mechanisms
    • H01H23/20Driving mechanisms having snap action
    • HELECTRICITY
    • H01ELECTRIC ELEMENTS
    • H01HELECTRIC SWITCHES; RELAYS; SELECTORS; EMERGENCY PROTECTIVE DEVICES
    • H01H23/00Tumbler or rocker switches, i.e. switches characterised by being operated by rocking an operating member in the form of a rocker button
    • H01H23/02Details
    • HELECTRICITY
    • H01ELECTRIC ELEMENTS
    • H01HELECTRIC SWITCHES; RELAYS; SELECTORS; EMERGENCY PROTECTIVE DEVICES
    • H01H23/00Tumbler or rocker switches, i.e. switches characterised by being operated by rocking an operating member in the form of a rocker button
    • H01H23/02Details
    • H01H23/04Cases; Covers
    • HELECTRICITY
    • H01ELECTRIC ELEMENTS
    • H01HELECTRIC SWITCHES; RELAYS; SELECTORS; EMERGENCY PROTECTIVE DEVICES
    • H01H23/00Tumbler or rocker switches, i.e. switches characterised by being operated by rocking an operating member in the form of a rocker button
    • H01H23/24Tumbler or rocker switches, i.e. switches characterised by being operated by rocking an operating member in the form of a rocker button with two operating positions
    • HELECTRICITY
    • H01ELECTRIC ELEMENTS
    • H01HELECTRIC SWITCHES; RELAYS; SELECTORS; EMERGENCY PROTECTIVE DEVICES
    • H01H2221/00Actuators
    • H01H2221/008Actuators other then push button
    • H01H2221/016Lever; Rocker
    • HELECTRICITY
    • H01ELECTRIC ELEMENTS
    • H01HELECTRIC SWITCHES; RELAYS; SELECTORS; EMERGENCY PROTECTIVE DEVICES
    • H01H2221/00Actuators
    • H01H2221/036Return force
    • H01H2221/044Elastic part on actuator or casing
    • HELECTRICITY
    • H01ELECTRIC ELEMENTS
    • H01HELECTRIC SWITCHES; RELAYS; SELECTORS; EMERGENCY PROTECTIVE DEVICES
    • H01H2239/00Miscellaneous
    • H01H2239/03Avoiding erroneous switching
    • HELECTRICITY
    • H01ELECTRIC ELEMENTS
    • H01HELECTRIC SWITCHES; RELAYS; SELECTORS; EMERGENCY PROTECTIVE DEVICES
    • H01H2239/00Miscellaneous
    • H01H2239/044High voltage application
    • HELECTRICITY
    • H01ELECTRIC ELEMENTS
    • H01HELECTRIC SWITCHES; RELAYS; SELECTORS; EMERGENCY PROTECTIVE DEVICES
    • H01H23/00Tumbler or rocker switches, i.e. switches characterised by being operated by rocking an operating member in the form of a rocker button
    • H01H23/02Details
    • H01H23/12Movable parts; Contacts mounted thereon
    • H01H23/16Driving mechanisms
    • H01H23/164Driving mechanisms with rectilinearly movable member carrying the contacts
    • HELECTRICITY
    • H01ELECTRIC ELEMENTS
    • H01HELECTRIC SWITCHES; RELAYS; SELECTORS; EMERGENCY PROTECTIVE DEVICES
    • H01H23/00Tumbler or rocker switches, i.e. switches characterised by being operated by rocking an operating member in the form of a rocker button
    • H01H23/02Details
    • H01H23/12Movable parts; Contacts mounted thereon
    • H01H23/16Driving mechanisms
    • H01H23/168Driving mechanisms using cams
    • HELECTRICITY
    • H01ELECTRIC ELEMENTS
    • H01HELECTRIC SWITCHES; RELAYS; SELECTORS; EMERGENCY PROTECTIVE DEVICES
    • H01H5/00Snap-action arrangements, i.e. in which during a single opening operation or a single closing operation energy is first stored and then released to produce or assist the contact movement
    • H01H5/04Energy stored by deformation of elastic members
    • H01H5/045Energy stored by deformation of elastic members making use of cooperating spring loaded wedging or camming parts between operating member and contact structure
    • HELECTRICITY
    • H01ELECTRIC ELEMENTS
    • H01HELECTRIC SWITCHES; RELAYS; SELECTORS; EMERGENCY PROTECTIVE DEVICES
    • H01H9/00Details of switching devices, not covered by groups H01H1/00 - H01H7/00
    • H01H9/30Means for extinguishing or preventing arc between current-carrying parts
    • H01H9/44Means for extinguishing or preventing arc between current-carrying parts using blow-out magnet
    • H01H9/443Means for extinguishing or preventing arc between current-carrying parts using blow-out magnet using permanent magnets

Definitions

  • the present invention relates to a switch device.
  • waveform switch as a switch that controls on / off of the power supply.
  • the surface to be a pressed portion is formed in a waveform, and on / off control can be performed by pressing one end or the other end of the pressed portion of the surface formed in the waveform. Is.
  • Such a waveform switch is often used as a switch for a power supply because it is easy to operate.
  • a fixed contact part including a fixed contact
  • a movable contact part including a movable contact
  • a control button part including a hook part and supporting a part of the movable contact part
  • a switch device including an operation unit including a first end and a second end on a surface, and a lock unit including a first projection and a second projection.
  • the perspective view of the switch apparatus in 1st Embodiment Top view of the switch device according to the first embodiment The side view of the switch apparatus in 1st Embodiment
  • the perspective view (1) inside the switch apparatus in 1st Embodiment Structure diagram of the inside of the switch device according to the first embodiment The perspective view (2) inside the switch device in the first embodiment Structural diagram (1) showing the inside of the ON state of the switch device in the first embodiment Structural diagram (2) showing the inside of the ON state of the switch device in the first embodiment Explanatory drawing (1) of the ON state of the switch apparatus in 1st Embodiment Explanatory drawing (2) of the ON state of the switch apparatus in 1st Embodiment Explanatory drawing (3) of the ON state of the switch apparatus in 1st Embodiment Explanatory drawing (1) of the state which transfers to ON from the switch apparatus in 1st Embodiment Explanatory drawing (2) of the state which transfers to ON from the switch apparatus in 1st Embodiment Structural diagram (1) showing the inside of the OFF state of the
  • FIG. 1 is a perspective view of a switch device according to the present embodiment
  • FIG. 2 is a top view
  • FIG. 3 is a side view.
  • the switch device in the present embodiment is a waveform switch, and has an operation unit 10 whose surface is formed in a waveform shape.
  • the switch device according to the present embodiment is entirely covered with the casing unit 20, and the waveform operation unit 10 is projected from an opening provided in the casing unit 20.
  • two power cables 31 and 32 are connected to the switch device in the present embodiment, and power, for example, DC 400V power or the like is supplied from one power cable 31.
  • the switch can be turned on or off by pressing down one end 10a or the other end 10b of the waveform on the surface. Specifically, when one end 10a of the operation unit 10 is pressed with a finger or the like from the off state, the power unit 31 is turned on, and one power cable 31 and the other power cable 32 are electrically connected, and one power cable is connected. Power is supplied from 31 to the other power cable 32. At this time, the other end portion 10b of the operation unit 10 rises upward. Further, when the other end portion 10b of the operation unit 10 is pressed with a finger or the like from the on state, the off state is established, and the electrical connection between the one power cable 31 and the other power cable 32 is cut off, and the one power cable 31 is disconnected. Supply of power to the other power cable 32 is stopped. At this time, one end 10a of the operation unit 10 rises upward.
  • FIG. 4 is a perspective view showing a state in which the casing unit 20 is removed from the switch device according to the present embodiment
  • FIG. 5 is a side view partially transmitting
  • FIG. 6 is a further operation from FIG. It is a perspective view which shows the state which removed the part 10.
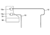
  • one movable contact portion 12 and one fixed contact portion 13 constitute one set of switches, and two sets of such switches are provided. Specifically, one movable contact portion 12 and one fixed contact portion 13 constitute a set of switches, and the other movable contact portion 12 and the other fixed contact portion 13 constitute another set of switches. It has become.
  • a movable contact 12 a is provided at the end of the movable contact portion 12, and a fixed contact 13 a is provided at the end of the fixed contact portion 13.
  • the movable contact portion 12 and the fixed contact portion 13 are formed of a metal material such as plate-like copper (Cu) having conductivity, except for the movable contact 12a and the fixed contact 13a.
  • Cu plate-like copper
  • the contact portion 12 has a spring property.
  • the movable contact 12a and the fixed contact 13a are made of silver (Ag) or the like or a material containing silver or the like.
  • components including the movable contact portion 12, the fixed contact portion 13 and the like are disposed on the substrate 40 at predetermined positions.
  • the movable terminal 12a of the movable contact portion 12 is turned on when it contacts the fixed contact 13a of the fixed contact portion 13, and is turned off when it is separated.
  • the power cables 31 and 32 are connected to the switch device in the present embodiment.
  • the power cable 31 includes a positive (+) electric wire 31a, a negative ( ⁇ ) electric wire 31b, and an electric wire 31c having a ground potential (GND).
  • the power cable 32 includes a positive (+) electric wire 32a, a negative ( ⁇ ) electric wire 32b, and an electric wire 32c having a ground potential (GND).
  • the positive (+) electric wire 31 a of the power cable 31 is connected to one of the two movable contact portions 12, and the negative ( ⁇ ) electric wire 31 b is connected to the other of the two movable contact portions 12. Yes. Further, the positive (+) electric wire 32 a of the power cable 32 is connected to one of the two fixed contact portions 13, and the negative ( ⁇ ) electric wire 32 b is connected to the other of the two fixed contact portions 13. Has been. Note that the ground potential (GND) wire 31c of the power cable 31 and the ground potential (GND) wire 32c of the power cable 32 are connected in the switch device.
  • a control button unit 11 is provided below the operation unit 10 of the switch device according to the present embodiment.
  • the operation unit centering on the operation unit rotating shaft 10c is provided. 10 is rotated, and the control button unit 11 is pushed by the operation unit 10, and the control button unit 11 is rotated about the control button unit rotation shaft 11a.
  • the movable terminal support part 11b of the control button part 11 supports a part of the movable contact part 12, and when the control button part 11 rotates around the control button part rotation shaft 11a, the movable terminal support part 11b
  • the supported movable contact portion 12 approaches the fixed contact portion 13, and the movable contact portion 12a of the movable contact portion 12 and the fixed contact portion 13a of the fixed contact portion 13 come into contact with each other as shown in FIG. .
  • the two movable contacts 12a and the fixed contact 13a come into contact with each other, so that the plus (+) electric wire 31a in the power cable 31 and the plus (+) electric wire 32a in the power cable 32 are electrically connected.
  • the minus ( ⁇ ) electric wire 31b in the power cable 31 and the minus ( ⁇ ) electric wire 32b in the power cable 32 are electrically connected.
  • power is supplied from the power cable 31 to the power cable 32.
  • FIG. 7 is a cross-sectional view of the switch device when the switch device is in the on state
  • FIG. 8 is a cross-sectional view of the switch device of a portion different from FIG. 7 when the switch device is in the on state
  • FIG. 9 is a cross-sectional view of a main part showing an internal state when the switch device is in an on state
  • FIG. 10 is a cross-sectional view of a main part of a part different from FIG. 9 in the on state
  • FIG. 11 is a perspective view.
  • the switch device is turned on by depressing one end 10a of the operation unit 10 from the off state, and the on state is maintained by the force of the operation unit spring 14.
  • the operation portion spring 14 is straight.
  • the operation portion spring 14 is bent into a reverse “ ⁇ ” shape, and the ON state is Maintained.
  • the lock portion 15 is pushed by the restoring force of the lock portion spring 16 and moves in the left direction in the drawing substantially parallel to the substrate 40, and the first protrusion 15 a at the tip portion of the lock portion 15 is moved to the control button portion 11. Engages with the L-shaped hook 11c. In this state, as shown in FIG.
  • the control button portion 11 is fixed by the first protrusion 15a engaged with the hook portion 11c, so that the operation portion 10 is centered on the operation portion rotation shaft 10c. Even if it is slightly rotated, the contact state between the movable contact 12a and the fixed contact 13a is maintained, and the ON state is maintained.
  • a return spring 17 connected to the control button unit 11 is provided, and in the on state, the control button unit 11 or the operation unit as shown in FIGS. 10, the return spring 17 is pushed and contracted.
  • FIG. 12 is a cross-sectional view of the main part showing an internal state in the middle of the transition of the switch device from the on state to the off state
  • FIG. 13 is a cross section of the main part of the part different from FIG. 12 at this stage.
  • the operation unit 10 rotates around the operation unit rotation shaft 10c, which is in a transitional state.
  • the state shown in FIGS. 12 and 13 is obtained.
  • the force that the operation unit 10 has pushed the control button unit 11 disappears, the first protrusion 15a of the lock unit 15 is caught by the hook unit 11c of the control button unit 11 as shown in FIG. Since the part 11 is in a fixed state, the control button part 11 does not rotate around the control button part rotation shaft 11a, and the contact state between the movable contact 12a and the fixed contact 13a is maintained. Therefore, the on state is maintained.
  • FIGS. 14 is a cross-sectional view of a cross section when the switch device is in an OFF state
  • FIG. 15 is a cross-sectional view of a portion different from FIG. 16 is a cross-sectional view of a main part showing an internal state when the switch device is in an ON state
  • FIG. 17 is a cross-sectional view of a portion different from FIG. 16,
  • FIG. 18 is a perspective view.
  • the switch device in the present embodiment is turned off by further pressing the other end 10b of the operation unit 10 from the state shown in FIGS.
  • the off state is maintained by the force of the operation portion spring 14.
  • the operation portion spring 14 is shown straight, but actually, when the other end portion 10b of the operation portion 10 is pressed, the operation portion spring 14 is bent into a " ⁇ " shape and the off state is maintained. Is done.
  • the operation unit 10 is further rotated around the operation unit rotation shaft 10 c.
  • the convex unlocking unit 10 d provided on the operation unit 10 is connected to the second protrusion 15 b provided on the operation unit 10 side of the lock unit 15.
  • the second protrusion 15b is provided with an inclination, and the lock part 15 resists the restoring force of the lock part spring 16 by moving the end of the unlocking part 10d in the operation part 10 along the inclination. Then, it moves in the right direction from the state shown in FIG.
  • the first protrusion 15 a of the lock portion 15 is separated from the hook portion 11 c of the control button portion 11 and the control button portion 11 is unlocked, and the control button portion 11 is pushed by the restoring force of the return spring 17.
  • the control button portion is pivoted upward about the rotation shaft 11a.
  • the movable contact portion 12 supported by the movable terminal support portion 11b moves away from the fixed contact portion 13 side. Therefore, as shown in FIG. Contact with 13a can be released.
  • the on-state can be changed to the off-state by the restoring force of the return spring 17, so that the off-state can be set in a short time.
  • the restoring force of the return spring 17 can be turned from the on-state to the off-state in a very short time, so that no arc is generated or generated between the movable contact 12a and the fixed contact 13a. Even in a very short time. Therefore, the switch device is not destroyed by melting the movable contact portion 12 or the like.
  • the switch device according to the present embodiment is provided with a function for instantaneously interrupting an arc generated between the movable contact 12a and the fixed contact 13a.
  • the switch device according to the present embodiment is provided with a permanent magnet 50 below the fixed contact 13 a, and the movable contact 12 a and the fixed contact are generated by the magnetic field generated by the permanent magnet 50.
  • the arc generated between the terminals 13a is extinguished instantaneously. Since the arc is a flow of electrons, if a magnetic field is present, a force is applied to the electrons by the magnetic field, so that the generated arc can be extinguished so as to blow away.
  • two yokes 51 in contact with the permanent magnet 50 are provided so that a magnetic field is efficiently applied between the movable contact 12a and the fixed contact 13a.
  • the two yokes 51 are installed on both sides of the permanent magnet 50, the movable contact 12a, and the fixed contact 13a.
  • a magnetic field can be applied between the movable contact 12a and the fixed contact 13a, and more specifically, a magnetic field is applied in a direction substantially perpendicular to a line connecting the movable contact 12a and the fixed contact 13a.
  • 19 is a perspective view showing the arrangement of the permanent magnet 50 and the yoke 51
  • FIG. 20 is a cross-sectional view.
  • the switch device according to the present embodiment is provided with a mountain-shaped convex portion 120 on both sides of the operation portion 10 in the housing portion 20.
  • the convex portions 120 are provided on both sides of the central portion of the operation unit 10 whose surface is formed in a corrugated shape.
  • 21 is a perspective view of the switch device according to the present embodiment
  • FIG. 22 is a top view
  • FIG. 23 is a side view.
  • the states shown in FIGS. 12 and 13 are transient, they are on, and the states shown in FIGS. 14 to 18 are off. Therefore, when the state shown in FIGS. 12 and 13 is shifted to the state shown in FIGS. 14 to 18, the movable contact 12a is separated from the fixed contact 13a.
  • the operation of the operation unit 10 is performed by bringing the finger directly into contact with the operation unit 10
  • the arc is caused multiple times by chattering. May occur or an arc may occur for a long time. For this reason, the switch device may be destroyed by an arc generated between the movable contact 12a and the fixed contact 13a.
  • the switch device by providing the convex portions 120 on both sides of the operation unit 10 in the casing unit 20, the operation with a finger can be stopped halfway before and after the movable contact 12a is separated from the fixed contact 13a. It has a structure to prevent. As a result, the operation unit 10 can be more reliably brought into either the on state or the off state in a short time, and the switch device can be further prevented from being destroyed.
  • operation portion convex portions 110a and 110b are provided in the vicinity of one end portion 10a and the other end portion 10b of the operation portion 10. As described above, by providing the operation portion convex portions 110a and 110b, it is possible to prevent a finger operating the operation portion 10 from slipping on the surface of the operation portion 10, and before and after the movable contact 12a is separated from the fixed contact 13a. It is possible to prevent the operation with the finger from being stopped.
  • the configuration other than the above is the same as that of the first embodiment.
  • FIGS. 24 is a perspective view of the switch device according to the present embodiment
  • FIG. 25 is a top view
  • FIG. 26 is a side view.
  • the switch device in the present embodiment is a waveform switch as in the first embodiment, and includes a waveform operation unit 210.
  • the switch device according to the present embodiment is entirely covered with the casing unit 220, and the operation unit 210 protrudes from an opening provided in the casing unit 220.
  • two power cables 231 and 232 are connected to the switch device in the present embodiment, and power, for example, DC 400V power or the like is supplied from one power cable 231.
  • the switch By pressing one end 210a or the other end 210b of the operation unit 210, the switch can be controlled to be turned on or off.
  • the operation unit 210 When one end 210a of the operation unit 210 is pressed from the off state, the operation unit 210 is turned on, and one power cable 231 and the other power cable 232 are electrically connected to supply power. At this time, the other end 210b of the operation unit 210 goes up.
  • the operation unit 210 is turned off, the electrical connection between the one power cable 231 and the other power cable 232 is cut off, and the supply of power is stopped. At this time, one end 210a of the operation unit 210 rises upward.
  • mountain-shaped convex portions 320 are provided on both sides of the central portion of the operation unit 210 in the casing unit 220 of the switch device in the present embodiment.
  • the operation of the operation unit 210 is performed by bringing the finger into contact with the operation unit 210. Therefore, when the operation is stopped halfway while the movable contact is separated from the fixed contact, an arc is generated several times by chattering or the arc is generated. It may occur for a long time. For this reason, the switch device may be destroyed by an arc generated between the movable contact and the fixed contact.
  • convex portions 320 are provided on both sides of the operation unit 210 in the housing unit 220, and a structure that prevents a finger operation from being stopped halfway before and after the movable contact is separated from the fixed contact. It has become. As a result, the operation unit 210 can be more reliably brought into either the on state or the off state in a short time, and the switch device can be prevented from being destroyed.
  • operation portion convex portions 310a and 310b are provided in the vicinity of one end portion 210a and the other end portion 210b of the operation portion 210.
  • FIGS. 27 to 29 are perspective views of a structure in which the switch device according to the present embodiment is disassembled
  • FIG. 28 is a cross-sectional view of a portion where the operation unit 210 is provided
  • FIG. 29 is provided with a fixed contact and a movable contact.
  • the housing part 220 is formed by an upper plate part 221 and a lower case 222.
  • the operation of the operation unit inner cover 262, the inner box 263, and the operation unit 210 having an opening in the portion where the operation unit 210 is installed is transmitted to the movable contact unit 212 inside the housing unit 220.
  • An operation unit spring support member 264, a lock unit 215 and a lock unit spring 216 for maintaining the ON state, and a permanent magnet 250 are provided.
  • one movable contact portion 212 and two fixed contact portions 213 and 214 constitute one set of switches, and two such sets of switches are provided. Specifically, one set of switches is formed by one movable contact portion 212, one fixed contact portion 213, and one fixed contact portion 214, and the other movable contact portion 212, the other fixed contact portion 213, The other fixed contact portion 214 forms another set of switches.
  • Each movable contact portion 212 is provided with two movable contacts 212a and 212b.
  • the fixed contact portion 213 is provided with one fixed contact 213a
  • the fixed contact portion 214 is provided with one fixed contact 214a.
  • the fixed contact 213a of the fixed contact 213 contacts the movable contact 212a of the movable contact 212
  • the fixed contact 214a of the fixed contact 214 contacts the movable contact 212b of the movable contact 212.
  • the fixed contact portion 213 and the fixed contact portion 214 are electrically connected via the movable contact portion 212. Thereby, electric power can be supplied from the side where the fixed contact portion 213 is provided to the side where the fixed contact portion 214 is provided.
  • the movable contact portion 212 and the fixed contact portions 213 and 214 are made of a conductive plate-like copper (Cu) or a metal material containing copper or the like, except for the movable contacts 212a and 212b and the fixed contacts 213a and 214a.
  • the movable contacts 212a and 212b and the fixed contacts 213a and 214a are made of silver (Ag) or the like or a material containing silver or the like.
  • the switch device is turned on when the movable terminal 212a of the movable contact portion 212 contacts the fixed contact 213a of the fixed contact portion 213 and the movable terminal 212b contacts the fixed contact 214a of the fixed contact portion 214.
  • the contact portion is separated, it is turned off.
  • the movable contact portion 212 does not have to have a spring property and can be formed thick, and the entire movable contact portion 212 can be formed with low resistance and high heat capacity. . For this reason, even if an arc is generated when supplying high-voltage power, the movable contact portion 212 is not deformed or melted by the heat generated by the arc.
  • the power cables 231 and 232 are connected to the switch device of the present embodiment.
  • the power cable 231 includes a plus (+) electric wire 231a, a minus ( ⁇ ) electric wire 231b, and an electric wire 231c having a ground potential (GND).
  • the power cable 232 includes a plus (+) electric wire 232a, a minus ( ⁇ ) electric wire 232b, and an electric wire 232c having a ground potential (GND).
  • the positive (+) electric wire 231a of the power cable 231 is connected to one of the two fixed contact portions 213, and the negative ( ⁇ ) electric wire 231b is connected to the other of the two fixed contact portions 213. ing.
  • the positive (+) electric wire 232 a of the power cable 232 is connected to one of the two fixed contact portions 214, and the negative ( ⁇ ) electric wire 232 b is connected to the other of the two fixed contact portions 214. It is connected.
  • the ground potential (GND) electric wire 231c in the power cable 231 and the ground potential (GND) electric wire 232c in the power cable 232 are connected by a connecting member 234 formed of a metal material or the like.
  • the switch device in order to cope with the DC high voltage, the plus (+) electric wire 231a and the minus ( ⁇ ) electric wire 231b of the power cable 231 and the plus (+) electric wire of the power cable 232 are used.
  • the 232a and the minus ( ⁇ ) electric wire 232b conductors having a cross-sectional area of 3.5 mm 2 are used.
  • the cross-sectional area of the movable contact portion 212 in the direction perpendicular to the direction of current flow is It is preferable that the cross-sectional area of the conductor portion of the power cable 231 such as the plus (+) electric wire 231a, that is, 3.5 mm 2 or more. Therefore, when the width of the movable contact portion 212 in a cross section perpendicular to the direction in which the current flows is 7 mm, the thickness of the movable contact portion is preferably 0.5 mm or more. In the switch device according to the present embodiment, the cross section perpendicular to the direction in which the current flows through the movable contact portion 212 is formed in a shape having a width of 7 mm and a thickness of 1 mm.
  • FIG. 30 is a cross-sectional view of the switch device in the off state
  • FIG. 31 ( ⁇ no explanation of the downward arrow) is a cross-sectional view of a portion where the operation unit 210 of the switch device in the on state is provided
  • 32 is a cross-sectional view of a portion where the movable contact portion 212 and fixed contact portions 213 and 214 of the switch in the on state are provided
  • FIG. 33 is a cross section of a portion where the lock portion 215 of the switch in the on state is provided.
  • the operation unit 210 By depressing one end 210a of the operation unit 210, the operation unit 210 rotates around the rotation axis of the operation unit, the control button unit 211 is pushed by the operation unit 210, and the control button unit 211 moves downward. To do. That is, when the one end portion 210a of the operation unit 210 is pressed from the off state shown in FIG. 30, the switch device is turned on as shown in FIGS.
  • the control button portion 211 supports the movable contact portion 212.
  • the operation portion 210 rotates around the operation portion rotation axis, and the control button
  • the control button unit 211 is pushed in the direction of the arrow in FIG. 31 by the pressing unit 210d, and the control button unit 211 moves downward.
  • the movable contact portion 212 also moves downward, and as shown in FIG. 32, the movable contact 212a of the movable contact portion 212 contacts the fixed contact 213a of the fixed contact portion 213, and similarly, the movable contact 212b is fixed contact 214a. Contact with.
  • the fixed contact part 213 and the fixed contact part 214 are electrically connected via the movable contact part 212, and it will be in an ON state.
  • the plus (+) wire 231a of the power cable 231 and the plus (+) wire 232a of the power cable 232 are electrically connected, and the minus ( ⁇ ) wire 231b of the power cable 231 is connected to the power source.
  • the minus ( ⁇ ) electric wire 232b of the cable 232 is electrically connected.
  • power is supplied from the power cable 231 to the power cable 232.
  • FIG. 34 is a perspective view of a cross section when the switch device is in an on state
  • FIG. 35 is a perspective view of a cross section in a portion different from FIG. 34 when the switch device is in an on state
  • FIG. 36 is a perspective view of the main part including the operation unit when the switch device is in the ON state.
  • the switch device according to the present embodiment is turned on as shown in FIGS. 31 to 33 by depressing one end 210a of the operation unit 210 from the off state shown in FIG. 30, and is turned on by the force of the operation unit spring 218. Is maintained.
  • the operating portion spring 218 is shown straight for convenience, but when the one end portion 210a of the operating portion 210 is pressed, the operating portion spring 218 bends in a reverse “ ⁇ ” shape. The on state of the switch device is maintained. At this time, since the contact between the lock portion contact portion 215a of the lock portion 215 shown in FIG.
  • the switch device is provided with return springs 217a and 217b connected to the control button unit 211.
  • the return springs 217a and 217b are pushed by the control button unit 211. It is in a contracted state.
  • the operation unit 210 rotates around the operation unit rotation axis, and a transitional state is established.
  • the state shown in FIG. 37 is obtained.
  • the control button pressing unit 210d of the operation unit 210 and the control button unit 211 are not in contact, but the protrusion 215b of the lock unit 215 that is biased to the left in FIG. Since the control button portion 211 is fixed and does not move upward because it is engaged with the portion 211b, the contact between the movable contact 212a and the fixed contact 213a and the contact between the movable contact 212b and the fixed contact 214a.
  • FIG. 38 is a cross-sectional view of a portion where the movable contact portion 212 and the fixed contact portions 213 and 214 of the switch device in the off state are provided
  • FIG. 39 is a diagram illustrating the case where the lock portion 215 of the switch device in the off state is provided.
  • FIG. 40 is a perspective view of a cross section when the switch device is in an off state
  • FIG. 41 is a perspective view of a cross section in a portion different from that in FIG. 40 when the switch device is in an off state.
  • FIG. 42 is a perspective view of the main part including the operation unit when the switch device is in the OFF state.
  • the switch device according to the present embodiment is turned off by further pressing the other end 210b of the operation unit 210 from the state shown in FIG.
  • the off state is maintained by the force of the operation portion spring 218.
  • the operating portion spring 218 is shown straight for convenience. However, when the other end portion 210b of the operating portion 210 is pressed, the operating portion spring 218 is bent into a " ⁇ " shape and the off state is maintained. .
  • the operation unit 210 when the other end 210b of the operation unit 210 is further pressed from the transitional state shown in FIG. 37, the operation unit 210 further rotates about the operation unit rotation axis.
  • the side surface contact part 210 e of the operation unit 210 and the lock part contact part 215 a of the lock part 215 come into contact with each other and resist the restoring force of the lock part spring 216.
  • the lock portion contact portion 215a is pushed to the right side in FIG. 30 by the side surface contact portion 210e. As a result, the lock portion 215 moves in the right direction in FIG.
  • the control button portion 211 is lifted in the arrow direction shown in FIG. 39 by the restoring force of the return springs 217a and 217b.
  • the movable contact portion 212 is separated from the fixed contact portions 213 and 214 in the direction of the arrow in FIG. 38, the movable contact 212a of the movable contact portion 212 and the fixed contact 213a of the fixed contact portion 213 are separated and movable.
  • the movable contact 212b of the contact portion 212 and the fixed contact 214a of the fixed contact portion 214 are separated. In this way, the switch is turned from the on state to the off state by the restoring force of the return springs 217a and 217b, so that the switch can be turned off in a short time.
  • the restoring force of the return springs 217a and 217b can be changed from the on state to the off state in an extremely short time, and therefore, between the movable contact 212a and the fixed contact 213a and between the movable contact 212b and the fixed contact 214a. An arc does not occur between them, or even if it occurs, it is a very short time. Therefore, the switch device is not destroyed by melting the movable contact portion 12 or the like.
  • the switch device is provided with a function of instantaneously interrupting an arc generated between the movable contact 212a and the fixed contact 213a or between the movable contact 212b and the fixed contact 214a.
  • a permanent magnet 250 is provided below the movable contact portion 212 and between the fixed contact portion 213 and the fixed contact portion 214, and is movable by a magnetic field generated by the permanent magnet 250. The arc generated between the contact 212a and the fixed contact 213a and the arc generated between the movable contact 212b and the fixed contact 214a can be extinguished instantaneously.
  • a magnetic field is efficiently applied between the movable contact 212a and the fixed contact 213a and between the movable contact 212b and the fixed contact 214a.
  • a permanent magnet 250 is provided between the fixed contact portion 213 and the fixed contact portion 214.

Landscapes

  • Tumbler Switches (AREA)
  • Push-Button Switches (AREA)
PCT/JP2013/076734 2012-10-04 2013-10-01 スイッチ装置 Ceased WO2014054654A1 (ja)

Priority Applications (2)

Application Number Priority Date Filing Date Title
US14/430,951 US9607793B2 (en) 2012-10-04 2013-10-01 Switch
CN201380052771.9A CN104704591B (zh) 2012-10-04 2013-10-01 开关装置

Applications Claiming Priority (2)

Application Number Priority Date Filing Date Title
JP2012-222552 2012-10-04
JP2012222552A JP5961517B2 (ja) 2012-10-04 2012-10-04 スイッチ装置

Publications (1)

Publication Number Publication Date
WO2014054654A1 true WO2014054654A1 (ja) 2014-04-10

Family

ID=50434978

Family Applications (1)

Application Number Title Priority Date Filing Date
PCT/JP2013/076734 Ceased WO2014054654A1 (ja) 2012-10-04 2013-10-01 スイッチ装置

Country Status (4)

Country Link
US (1) US9607793B2 (enExample)
JP (1) JP5961517B2 (enExample)
CN (1) CN104704591B (enExample)
WO (1) WO2014054654A1 (enExample)

Families Citing this family (7)

* Cited by examiner, † Cited by third party
Publication number Priority date Publication date Assignee Title
US10163586B2 (en) * 2016-11-04 2018-12-25 Honeywell International Inc. Momentary structure for mini toggle switch
TWI676200B (zh) * 2018-07-03 2019-11-01 易湘雲 熱破壞斷電的開關及具有該開關的插座
TWI674612B (zh) * 2018-07-03 2019-10-11 易湘雲 開關或用電設備的過熱破壞式斷電方法
TWI677146B (zh) * 2018-07-03 2019-11-11 易湘雲 熱破壞斷電的開關及具有該開關的插座
TWI676201B (zh) * 2018-07-03 2019-11-01 易湘雲 熱破壞斷電的開關及具有該開關的插座
TWI674610B (zh) * 2018-07-03 2019-10-11 易湘雲 按壓開關及其導電片構造
TWI681432B (zh) * 2018-07-03 2020-01-01 易湘雲 過熱破壞開關及插座

Citations (3)

* Cited by examiner, † Cited by third party
Publication number Priority date Publication date Assignee Title
JPS53139185A (en) * 1977-05-11 1978-12-05 Ellenberger & Poensgen Breaker
JPS5681453U (enExample) * 1979-11-28 1981-07-01
JPH0160430U (enExample) * 1987-10-09 1989-04-17

Family Cites Families (5)

* Cited by examiner, † Cited by third party
Publication number Priority date Publication date Assignee Title
DE9401785U1 (de) * 1994-02-03 1995-07-20 Klöckner-Moeller GmbH, 53115 Bonn Schaltschloß mit einem Sperrmechanismus
ES2164322T3 (es) * 1997-09-15 2002-02-16 Signal Lux Italia Spa Dispositivo de conmutacion para conexiones entre circuitos electricos.
DE19819242B4 (de) * 1998-04-29 2005-11-10 Ge Power Controls Polska Sp.Z.O.O. Thermomagnetischer Leistungsschalter
JP3704021B2 (ja) 2000-04-18 2005-10-05 アルプス電気株式会社 スイッチ装置
CN202650936U (zh) * 2012-07-09 2013-01-02 上汽依维柯红岩商用车有限公司 翘板开关

Patent Citations (3)

* Cited by examiner, † Cited by third party
Publication number Priority date Publication date Assignee Title
JPS53139185A (en) * 1977-05-11 1978-12-05 Ellenberger & Poensgen Breaker
JPS5681453U (enExample) * 1979-11-28 1981-07-01
JPH0160430U (enExample) * 1987-10-09 1989-04-17

Also Published As

Publication number Publication date
CN104704591A (zh) 2015-06-10
JP2014075290A (ja) 2014-04-24
US9607793B2 (en) 2017-03-28
US20150287558A1 (en) 2015-10-08
CN104704591B (zh) 2016-12-07
JP5961517B2 (ja) 2016-08-02

Similar Documents

Publication Publication Date Title
WO2014054654A1 (ja) スイッチ装置
CN103545153B (zh) 保护开关装置和磁轭
KR102327043B1 (ko) 전기 접점 시스템
MX2012015027A (es) Disyuntor modular de interrupcion cuadruple.
CN102947914A (zh) 高压开关装置
JP2012164653A (ja) 真空回路遮断器の真空インタラプタ
US5351024A (en) Electrical contactor and interrupter employing a rotary disc
CN104903985B (zh) 开关装置
CN221596320U (zh) 一种开关电器
EP3631829A1 (en) Electrical contact system
JP2012138173A (ja) 回路遮断器
KR101036485B1 (ko) 한류형 배선용 차단기의 접촉자 어셈블리
CN118431037A (zh) 一种动触头系统
CN101409159A (zh) 在不同运行状态下具有不同接触力的接触装置
CN102623265A (zh) 电路中断装置和组装方法
CN213936096U (zh) 一种断路器
KR101704989B1 (ko) 회로차단기의 가동접촉자
CN106128874B (zh) 断路器
CN215644154U (zh) 用于开关设备的弧触头装置和开关设备
CN220491761U (zh) 开合闸结构和接电设备
KR101721106B1 (ko) 회로 차단기
JP5566251B2 (ja) 継電器
US20180019553A1 (en) Connector
CN209708929U (zh) 低压断路器的触头系统
JP7187272B2 (ja) 回路遮断器

Legal Events

Date Code Title Description
121 Ep: the epo has been informed by wipo that ep was designated in this application

Ref document number: 13843720

Country of ref document: EP

Kind code of ref document: A1

WWE Wipo information: entry into national phase

Ref document number: 14430951

Country of ref document: US

NENP Non-entry into the national phase

Ref country code: DE

122 Ep: pct application non-entry in european phase

Ref document number: 13843720

Country of ref document: EP

Kind code of ref document: A1