WO2012091258A1 - Power supply - Google Patents
Power supply Download PDFInfo
- Publication number
- WO2012091258A1 WO2012091258A1 PCT/KR2011/007533 KR2011007533W WO2012091258A1 WO 2012091258 A1 WO2012091258 A1 WO 2012091258A1 KR 2011007533 W KR2011007533 W KR 2011007533W WO 2012091258 A1 WO2012091258 A1 WO 2012091258A1
- Authority
- WO
- WIPO (PCT)
- Prior art keywords
- voltage
- light emission
- power supply
- switching element
- resistor
- Prior art date
- Legal status (The legal status is an assumption and is not a legal conclusion. Google has not performed a legal analysis and makes no representation as to the accuracy of the status listed.)
- Ceased
Links
Images
Classifications
-
- H—ELECTRICITY
- H05—ELECTRIC TECHNIQUES NOT OTHERWISE PROVIDED FOR
- H05B—ELECTRIC HEATING; ELECTRIC LIGHT SOURCES NOT OTHERWISE PROVIDED FOR; CIRCUIT ARRANGEMENTS FOR ELECTRIC LIGHT SOURCES, IN GENERAL
- H05B45/00—Circuit arrangements for operating light-emitting diodes [LED]
- H05B45/50—Circuit arrangements for operating light-emitting diodes [LED] responsive to malfunctions or undesirable behaviour of LEDs; responsive to LED life; Protective circuits
- H05B45/58—Circuit arrangements for operating light-emitting diodes [LED] responsive to malfunctions or undesirable behaviour of LEDs; responsive to LED life; Protective circuits involving end of life detection of LEDs
-
- H—ELECTRICITY
- H02—GENERATION; CONVERSION OR DISTRIBUTION OF ELECTRIC POWER
- H02M—APPARATUS FOR CONVERSION BETWEEN AC AND AC, BETWEEN AC AND DC, OR BETWEEN DC AND DC, AND FOR USE WITH MAINS OR SIMILAR POWER SUPPLY SYSTEMS; CONVERSION OF DC OR AC INPUT POWER INTO SURGE OUTPUT POWER; CONTROL OR REGULATION THEREOF
- H02M1/00—Details of apparatus for conversion
- H02M1/32—Means for protecting converters other than automatic disconnection
-
- H—ELECTRICITY
- H05—ELECTRIC TECHNIQUES NOT OTHERWISE PROVIDED FOR
- H05B—ELECTRIC HEATING; ELECTRIC LIGHT SOURCES NOT OTHERWISE PROVIDED FOR; CIRCUIT ARRANGEMENTS FOR ELECTRIC LIGHT SOURCES, IN GENERAL
- H05B45/00—Circuit arrangements for operating light-emitting diodes [LED]
- H05B45/30—Driver circuits
- H05B45/37—Converter circuits
- H05B45/3725—Switched mode power supply [SMPS]
-
- H—ELECTRICITY
- H05—ELECTRIC TECHNIQUES NOT OTHERWISE PROVIDED FOR
- H05B—ELECTRIC HEATING; ELECTRIC LIGHT SOURCES NOT OTHERWISE PROVIDED FOR; CIRCUIT ARRANGEMENTS FOR ELECTRIC LIGHT SOURCES, IN GENERAL
- H05B47/00—Circuit arrangements for operating light sources in general, i.e. where the type of light source is not relevant
- H05B47/20—Responsive to malfunctions or to light source life; for protection
- H05B47/23—Responsive to malfunctions or to light source life; for protection of two or more light sources connected in series
-
- Y—GENERAL TAGGING OF NEW TECHNOLOGICAL DEVELOPMENTS; GENERAL TAGGING OF CROSS-SECTIONAL TECHNOLOGIES SPANNING OVER SEVERAL SECTIONS OF THE IPC; TECHNICAL SUBJECTS COVERED BY FORMER USPC CROSS-REFERENCE ART COLLECTIONS [XRACs] AND DIGESTS
- Y02—TECHNOLOGIES OR APPLICATIONS FOR MITIGATION OR ADAPTATION AGAINST CLIMATE CHANGE
- Y02B—CLIMATE CHANGE MITIGATION TECHNOLOGIES RELATED TO BUILDINGS, e.g. HOUSING, HOUSE APPLIANCES OR RELATED END-USER APPLICATIONS
- Y02B20/00—Energy efficient lighting technologies, e.g. halogen lamps or gas discharge lamps
- Y02B20/30—Semiconductor lamps, e.g. solid state lamps [SSL] light emitting diodes [LED] or organic LED [OLED]
Definitions
- the present disclosure relates to a power supply.
- LCDs include two display substrates where an electric field applying electrode is displayed, and a liquid crystal layer that has dielectric anisotropy and is disposed between the two substrates. LCDs apply a voltage to an electric field applying electrode to generate an electric field in a liquid crystal layer, change the voltage to adjust intensity of the electric field, and thus adjust a transmittance of light passing through the liquid crystal layer, thereby displaying a desired image.
- LCDs cannot self emit light, the LCDs require a separate light source called a backlight, and the light source is being replaced by Light Emitting Diodes (LEDs).
- LEDs Light Emitting Diodes
- LEDs are semiconductor devices, LEDs have long service life, fast lighting speed, low consumption power, and excellent color reproductivity. Moreover, LEDs are robust to impact, and facilitate the miniaturizing and thinning of LEDs. Therefore, a backlight using LEDs are being mounted on medium and large LCDs such as computer monitors and televisions (TVs), in addition to small LCDs mounted on mobile phones, etc.
- TVs computer monitors and televisions
- Embodiments provide a power supply with a new openness detection circuit.
- Embodiments also provide a power supply which detects a circuit-opened state of at least one LED included in a light emission unit having a plurality of LEDs, thereby regulating a supplied power.
- Embodiments also provide a power supply which automatically varies a supplied current according to a circuit-opened state of an arbitrary LED in a light emission unit.
- a power supply includes: at least one light emission unit including a plurality of serially connected Light Emitting Diodes (LEDs); a power source supplying a Direct Current (DC) voltage to the light emission unit; an openness detection circuit varying a reference potential with a voltage which is detected from both ends of at least one of the LEDs in the light emission unit; and a feedback control unit regulating an output current of the power source according to the reference potential of the openness detection circuit.
- LEDs Light Emitting Diodes
- DC Direct Current
- a light emission unit including LEDs and a lighting system such as a light unit including the light emission unit can be improved in reliability.
- a normally driven LED can be protected.
- an openness detection circuit corresponding to a circuit-opened state of a light emission unit.
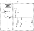
- FIG. 1 is a circuit diagram illustrating a power supply according to an embodiment.
- FIG. 2 is a circuit diagram illustrating an example of a constant current control method according to an embodiment.
- FIG. 3 is a circuit diagram illustrating the flow of a current based on the opening of a light emission unit in the circuit diagram of FIG. 2.
- FIG. 4 is a graph showing a relationship between a voltage and a current which flow in a light emission unit.
- FIG. 5 is a circuit diagram illustrating an example of a power supply for detecting an opened state of each light emission unit according to an embodiment.
- FIG. 6 is a circuit diagram illustrating another example of a power supply for detecting an opened state of each light emission unit according to an embodiment.
- FIG. 7 is a circuit diagram illustrating a power supply for detecting opened states of a plurality of light emission units according to an embodiment.
- FIG. 8 is a diagram illustrating a light emitting device according to an embodiment.
- a power supply includes a power source 101, a light emission module 120 including at least one light emission unit 121, and a feedback control unit 110.
- the power source 101 may supply a Direct Current (DC) voltage, for example, include a switched-mode power supply (SMPS).
- DC Direct Current
- SMPS switched-mode power supply
- the power supply includes a filter 102 that is connected to an output terminal of the power source 101 in parallel.
- the filter 102 includes a capacitor C1, and removes a ripple included in the DC voltage.
- the light emission module 120 includes at least one board, which includes at least one light emission unit 121.
- the board may be a flexible substrate, a rigid substrate, or a metal core Printed Circuit Board (PCB), a material of which may be resin or ceramic, but the embodiment is not limited thereto.
- PCB Printed Circuit Board
- Each board includes at least one light emission unit 121, each of which includes a plurality of light emitting diodes LD1 to LDn.
- the light emitting diodes LD1 to LDn may be connected in series.
- the light emission units 121 may be connected in parallel.
- Each of the light emitting diodes LD1 to LDn is LED is an LED, and may emit light of a visible light band such as blue, red, green, and white or emit light of a ultraviolet (UV) band.
- a visible light band such as blue, red, green, and white or emit light of a ultraviolet (UV) band.
- UV ultraviolet
- the embodiment is not limited thereto.
- Input terminals of the respective light emission units 121 are connected to a positive polarity terminal of the power source 101 in common, and output terminals of respective light emission units 121 are connected to a negative polarity terminal of the power source 101 in common.
- the number of LEDs LD1 to LDn in each light emission unit 121 may vary according to a voltage supplied from the power source 101, but the embodiment is not limited thereto.
- a current flowing through each light emission unit 121 is transferred to the power source 101 through a current regulator 111 of the feedback control unit 110.
- the light emission module 120 may include an openness detection circuit 125, which may be disposed on each board or a main board, but the embodiment is not limited thereto.
- the openness detection circuit 125 includes a voltage detector 126, a reference voltage regulator 127, a voltage comparator 128, a switch 129, and a load detector 130.
- the openness detection circuit 125 detects whether each light emission unit 11 is circuit-opened and outputs a control voltage.
- the feedback control unit 110 includes a reference potential unit 112 and a comparator 113.
- the feedback control unit 110 may change an output of the comparator 113 to disconnect an output of the power source 101 or regulate an output current, according to the control voltage.
- the reference voltage regulator 127 may be connected to an input terminal of each light emission unit 121 to operate according to a voltage inputted to each light emission unit 121. As another example, the reference voltage regulator 125 may receive another voltage to operate.
- the voltage detector 126 is connected to both ends of at least one LED LDn, namely, an anode and cathode thereof. The voltage detector 126 may check a voltage that is applied across both ends of the LED LDn, and detect a voltage when the LED LDn is in an opened state or a normal state.
- the voltage comparator 128 compares a voltage detected by the voltage detector 126 with a reference voltage of the reference voltage regulator 127, and outputs a control signal according to the compared result.
- the voltage comparator 128 turns on/off the switch 129 with the voltage detected by the voltage detector 126, thereby varying reference potential V1.
- the voltage comparator 128 turns on/off the switch 129 with the voltage detected by the voltage detector 126, thereby varying reference potential V1.
- the LEDs LD1 to LDn of the light emission unit 121 may be divided into a first group of the LEDs LD1 to LDm and a second group including the LED LDn.
- the LEDs LD1 to LDm of the first group are LEDs other than the LED LDn connected to both ends of the voltage detector 126, and the LED LDn of the second group is an LED other than those of the first group
- the LEDs LD1 to LDn are divided into the first and second groups, but the embodiment is not limited thereto.
- the LEDs LD1 to LDn may be divided into two or more groups.
- the second group may be connected to detect a voltage across both ends of a plurality of LEDs.
- the voltage comparator 128 may output a first voltage of the voltage detector 126 or a second voltage of the reference voltage regulator 127.
- the switch 129 is turned on/off according to the control signal of the voltage comparator 128 such as the first or second voltage.
- the load detector 130 varies the reference potential V1 according to the turn-on/off of the switch 129.
- the reference potential unit 112 of the feedback control unit 110 outputs a reference potential of the load detector 130.
- the comparator 113 compares the reference potential V1 inputted to a first terminal(-) and a voltage V3 inputted to a second terminal(+) and outputs a signal V4 to the power source 101 according to the compared result.
- the voltage V3 inputted to a second terminal(+) of the comparator 113 is a voltage applied to an output terminal of the light emission unit 121 or a voltage applied to the current regulator 111.
- the current regulator 111 includes a resistor, and senses the fine change of a current flowing in the current regulator 111, thereby allowing a constant current to flow in the LEDs LD1 to LDn of the light emission unit 121.
- An output of the comparator 113 varies according to the change of the reference potential V1, and an output V4 of the comparator 113 controls an output current of the power source 101.
- the feedback control unit 110 may disconnect, increase or decrease the output current of the power source 101. For example, the feedback control unit 110 increases the output V4 of the comparator 113 when the reference potential V1 outputted from the openness detection circuit 125 is reduced, but the output V4 of the comparator 113 decreases when the reference potential V1 increases.
- the power source 101 regulates a current value of the DC power source according to the output V4 of the comparator 113. For example, when the output V4 of the comparator 113 increases, the power source 101 decreases a supply current. Also, the power source 101 increases the supply current in inverse proportion to the decrease in the output V4 of the comparator 113.
- the power source 101 may disconnect or decrease a current according to the reference potential V1 that is supplied from the feedback control unit 110 based on an opened state.
- the power supply may detect an opened state of any one of the LEDs LD1 to LDn in the light emission unit 121, and feed back the control signal to the power source 101 to regulate the output current of the power source 101 according to whether the one LED is opened.
- the openness detection circuit 125 of the one light emission module 120 has been described above, but respective openness detection circuits125 of the plurality of light emission modules 120 may be disposed.
- a reference potential V1 of each openness detection circuit 125 may vary. Therefore, the feedback control unit 110 may disconnect, increase or decrease the output current of the power source 101 according to the reference potential V1 of each openness detection circuit 125.
- a plurality of LEDs in each of light emission units 121 to 124 are connected in series.
- An input current I is distributed to the light emission units 121 to 124, and thus, the same level of currents I1 to I4 flow in the light emission units 121 to 124, respectively.
- the currents I1 to I4 OF about 250 mA flow in the light emission units 121 to 124, respectively.
- the currents of the respective light emission units 121 to 124 are summed in output terminals of the respective light emission units 121 to 124, and thus, an output current I of about 1000 mA is sensed.
- the reference output current is controlled as a constant current.
- Heating in LEDs of the normal light emission units 121 and 124 more increases by an increased current. This accelerates the deterioration of LEDs and shortens the service life of the LEDs. When the LEDs of the light emission units 121 and 124 are opened, an overcurrent exceeding a rated current may be generated. Also, the heating of LEDs may more increases, and a soldering crack being a soldered portion may occur. Due to this reason, electrical spark occurs, causing fire.
- the power supply detects an opened state to decrease or disconnect a current outputted from the power source 101, thus protecting LEDs.
- voltage-current characteristics of an LED show that an input current is largely changed even when an input voltage is slightly changed. As a voltage becomes higher, a change slope increases sharply. Therefore, even when an LED circuit of a light emission unit is opened, the power supply controls or disconnects a current with the openness detection circuit such that a constant current flowing in each light emission unit is maintained without abnormal increase. Accordingly, constant brightness can be controlled, and LEDs can be protected.
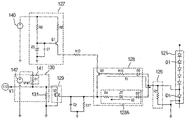
- FIG. 5 is a circuit diagram illustrating in detail the openness detection circuit of FIG. 1.
- both ends of the light emission unit 121 are respectively connected to both ends of the power source 101 of FIG. 1, and receives a DC voltage.
- the input terminal of the light emission unit 121 may be connected to a voltage terminal 140 of the reference voltage regulator 127, and its description refers to the above description of FIG. 1.
- the voltage detector 126 includes a resistor R7, and is connected to both ends of the LED LDn of the second group.
- the resistor R7 is connected to an anode and cathode of the LED LDn of the second group in parallel.
- the voltage detected by the voltage detector 126 is a high voltage, for example, is higher than a voltage that is applied to the LED LDm of the first group in a normal operation.
- the voltage detected by the voltage detector 126 as a low voltage is lower than a voltage that is applied to the LED LDn of the second group in a normal operation, for example, is detected as 0 V.
- the reference voltage regulator 127 receives a voltage supplied from the power source 101 to each light emission unit 121 or receives a separate voltage 140 to operate.
- the reference voltage regulator 127 includes a first switch element Q1.
- the first switch element Q1 has a base that is connected to the voltage 140 through a resistor R9, and a collector that is connected to the voltage 140 through a resistor R8.
- a Zener diode Z3 and a capacitor C1 are connected in parallel between the base and a ground terminal.
- the first switching element Q1 is turned on/off by a second switching element Q2 of the voltage comparator 128.
- An emitter of the first switching element Q1 is connected to an emitter of the second switching element Q2.
- the second switching element Q2 When the second switching element Q2 is turned on, the first switching element Q1 is turned on. On the contrary, when the second switching element Q2 is turned off, the first switching element Q1 is turned off.
- At least one of the first and second switching elements Q1 and Q2 may be configured with a Bipolar Junction Transistor (BJT) or a Metal Oxide Semiconductor Field Effect Transistor (MOSFET).
- BJT Bipolar Junction Transistor
- MOSFET Metal Oxide Semiconductor Field Effect Transistor
- a resistor R15 is connected to a base of the second switching element Q2, an anode of a diode D6 is connected to the resistor R15, and a cathode of the diode D6 is connected to one end of the resistor R7 of the voltage detector 126.
- the switch 128 includes a first voltage output unit 128A. The first voltage output unit 128A outputs a first voltage when the voltage detector 126 detects a high voltage, but a current I2 is disconnected when a voltage lower than the high voltage is inputted thereto.
- the first voltage output unit 128A includes a resistor R4 connected to a collector of the second switching element Q2, a Zener diode Z2 having an anode connected to the resistor R4, and a diode D2 having a cathode connected to a cathode of the Zener diode Z2.
- An anode of the diode D2 is connected to one end of the resistor R7.
- the Zener diode Z22 can disconnect an abnormal voltage and thus prevent an abnormal operation of a switch 129.
- the first voltage output unit 128A outputs the voltage detected by the voltage detector 126 when the LED LDn of the second group is opened, in which case the first voltage is a voltage in which drop voltages of diodes are not reflected and may be lower than the voltage detected by the voltage detector 126.
- the second switching element Q2 serves as a second voltage output unit.
- the voltage applied to the voltage detector 126 becomes a low voltage, which is applied to the base of the second switching element Q2, and thus, the second switching element Q2 is turned on.
- the second switching element Q2 outputs a voltage, inputted to the first switching element Q1, as a second voltage through a collector thereof.
- the second switching element Q2 of the voltage comparator 128 is driven by an abnormal voltage detected by the voltage detector 126.
- a resistor R11 and a capacitor C2 are connected to the output terminal of the voltage comparator 128 in parallel to serve as a filter.
- the switch 129 includes a third switching element Q3.
- the third switching element Q3 has a gate connected to the voltage comparator 128, a drain connected to a first node N1, and a source connected to a second node N2 connected to the ground terminal.
- the third switching element Q3 may be configured with a BJT or a MOSFET.
- the load detector 130 is connected to an output terminal of the switch 129, and controls the reference potential V1 according to the turn-on/off of the switch 129.
- a drain of the third switching element Q3 is connected to a load resistor 131 and reference resistor Rf of the load detector 130. Another end of the load resistor 131 is connected to the ground terminal, and another end of the reference resistor Rf is connected to a reference voltage (Vref) 142.
- Vref reference voltage
- the reference resistor Rf and the reference voltage 142 are not included in the load detector 130, but may be included in the feedback control unit 110 (see FIG. 1). However, the embodiment is not limited thereto.
- a first node N1 being the drain of the third switching element Q3 and a second node N2 being a source of the third switching element Q3 are connected to the load resistor 131, which outputs a reference potential V1 to a reference potential unit 112 according to the turn-on/off of the third switching element Q3.
- the third switching element Q3 is turned on/off by an input voltage of the gate thereof. When at least one group among the LEDs LD1 to LDn of the light emission unit 121 is opened, the third switching element Q3 is turned on. When at least one group among the LEDs LD1 to LDn of the light emission unit 121 is not opened, the third switching element Q3 is turned off.
- the third switching element Q3 When the third switching element Q3 is turned on, the reference potential V1 applied to the load resistor 131 becomes a low voltage. When the third switching element Q3 is turned off, the reference potential V1 applied to the load resistor 131 becomes a high voltage or a normal voltage.
- the reference potential V1 is inputted to the second terminal(-) of the comparator 113 through the reference potential unit 112 of the feedback control unit 110 of FIG. 1, and thus varies the output V4 of the comparator 113. Since the output V4 of the comparator 113 varies, an output current of the power source 101 is disconnected or reduced.
- the first node N1 is connected to a first node N1 of another light emission module
- the second node N2 is connected to a second node N2 of the other light emission module. Therefore, the load resistor 131 may be connected to nodes N1 and N2 of each of a plurality of light emission modules in parallel, and detect whether openness occurs in the light emission modules by a parallel resistance value. Also, since the reference potential V1 varies according to a parallel resistance value of the load resistor 131, currents respectively flowing in the light emission units can be regulated.
- FIG. 6 is a circuit diagram illustrating a circuit for detecting an output current and opened state of each light emission unit, as another example of FIG. 5.
- an openness detection circuit 125A is a modified example of a switch 129A.
- the switch 129A includes third and fourth switching elements Q3 and Q3.
- a gate of the third switching element Q3 is connected to the voltage comparator 128, a drain of the third switching element Q3 is connected to a base of a first switching element Q1 of the reference voltage regulator 127, and a source of the third switching element Q3 is connected to a ground terminal.
- a gate of the fourth switching element Q4 is connected to the drain of the third switching element Q3 and a base of the first switching element Q1, a drain of the fourth switching element Q4 is connected to the load resistor 131, and a source of the fourth switching element Q4 is connected to the ground terminal.
- the third switching element Q3 of the switch 129A is turned on, and the fourth switching element Q4 is turned off.
- a reference potential V1 applied to the load resistor 131 of the load detector 130 is outputted as a high voltage.
- the third switching element Q3 is turned off, and the fourth switching element Q4 is turned on.
- the reference potential V1 applied to the load resistor 131 of the load detector 130 is outputted as a low voltage.
- the switch 129A is turned on by a voltage when the LEDs of each light emission unit 121 are opened, the reference potential V1 of the load detector 130 is outputted as a high voltage. Also, the switch 129A is turned off when the LEDs of each light emission unit 121 are normal, the reference potential V1 of the load detector 130 is outputted as a low voltage.
- the feedback control unit 110 of FIG. 1 outputs a low signal to the power source 101 when the reference potential V1 of the load detector 130 is high. At this point, the power source 101 decreases or disconnects an output current according to the low signal of the feedback control unit 110.
- the load resistor 131 of the load detector 130 may be connected to a plurality of load resistors 132 to 13n in each light emission unit in parallel.
- the reference potential V1 varies according to a parallel resistance value of the load resistors in the load detector 131, and thus, an output current inputted to each of the light emission units 121 to 12n is regulated according to the change of the reference potential V1. That is, the feedback control unit 110 may vary the output current of the power source 101 according to the reference potential V1 of the load detector 130. For example, when a current of about 1000 mA is distributed to four light emission units, about 250 mA is supplied to each of the fourth light emission units. Furthermore, when five light emission units are connected, the feedback control unit 110 increases the output current to about 1250 mA such that about 250 mA instead of 200 mA is supplied to each of the five light emission units.
- a load detector of an openness detection circuit connected to one light emission unit detects a load state from the load resistor 131.
- a load detector 130A may detect the opened states of all light emission units from a plurality of load resistors 131 to 13n, and an output current supplied to all the light emission units are regulated.
- the load resistors 131 to 13n are connected to an openness detection circuit of each light emission unit, and connected to each other in parallel. That is, each of the load resistors 131 to 13n is a load resistor of an openness detection circuit connected to each light emission unit.
- the load resistors 131 to 13n may be connected to the first and second nodes N1 and N2 of the load detector 130 in parallel.
- the openness detection circuit of each light emission module may use a reference voltage 142 and a reference resistor 141 in common.
- the feedback control unit 110 of FIG. 1 may detect an opened state of an LED from the load detector 130A to disconnect a current supplied to each light emission unit, and regulate a current supplied to each light emission unit according to a parallel resistance value.
- the power source 101 and one board B1 may be connected through connectors 151 and 152, and a plurality of boards B1 to Bn may be connected through connectors 152 and 153.
- a plurality of light emission units 121 to 12n respectively disposed in the boards B1 to Bn may be connected to each other in parallel, in which case the connection may be implemented as wiring of the boards B1 to Bn.
- a plurality of LEDs are connected in series.
- the respective boards B1 to Bn, the respective light emission units 121 to 12n, and the respective openness detection circuits 125 may be defined as the respective light emission modules 120 to 12n.
- the openness detection circuit 125 may be disposed in the light emission unit of each of the boards B1 to Bn. Such a structure is an example. As another example, the openness detection circuit 125 may be disposed on a main board instead of the boards B1 to Bn, but the embodiment is not limited thereto.
- a voltage (which is detected by each of a plurality of openness detection units 125) based on whether each light emission unit is opened varies a reference potential of an integrated load detector 130A, which varies the output of the feedback control unit 110, and thus, the output current of the power source 101 is disconnected, decreased, increased.
- the integrated load detector 130A is disposed to be separated from the openness detection circuit 125. This is an exemplary configuration for convenience.
- the feedback control unit 110 may detect whether the light emission units 121 to 12n are opened with a reference potential value of the integrated load detector 130A.
- the openness detection circuit 125 may detect the increase or decrease in the number of the boards B1 to Bn with a parallel resistance value of each board and regulate an output current suitable for the number of boards. That is, one load resistor is disposed in each board, and when load resistors of respective boards are connected in parallel, a load resistance value is changed in the circuit diagrams of FIGS. 6 and 7. Whether the number of boards increases or decreases according to the change of a reference potential may be checked with the changed load resistance value, and thus, the output current of the power source 101 may increase or decrease.
- the changed of an individual board is sensed with the change of an individual load resistance value, and thus, the output current of the feedback control unit 110 is changed in proportion to a board increment or decrement.
- Connectors between the boards B1 to Bn may be directly or indirectly connected to each other, but the embodiment is not limited thereto.
- the above-described power supply may be applied to a plurality of lighting systems such as backlight units, various kinds of display devices, headlamps, streetlamps, indoor lamps, outdoor lamps, signal lights, and lighting lamps.
- lighting systems such as backlight units, various kinds of display devices, headlamps, streetlamps, indoor lamps, outdoor lamps, signal lights, and lighting lamps.
- a light emission unit including LEDs and a lighting system such as a light unit including the light emission unit can be improved in reliability.
- a normally driven LED can be protected.
- an openness detection circuit corresponding to a circuit-opened state of a light emission unit.
Landscapes
- Engineering & Computer Science (AREA)
- Power Engineering (AREA)
- Circuit Arrangement For Electric Light Sources In General (AREA)
- Dc-Dc Converters (AREA)
Priority Applications (4)
| Application Number | Priority Date | Filing Date | Title |
|---|---|---|---|
| CN201180068589.3A CN103392382B (zh) | 2010-12-27 | 2011-10-11 | 电力供给装置 |
| JP2013547283A JP5840225B2 (ja) | 2010-12-27 | 2011-10-11 | 電源供給装置 |
| US13/976,810 US9301370B2 (en) | 2010-12-27 | 2011-10-11 | Power supply for light emitting diodes (LEDs) |
| EP11852309.1A EP2659745B1 (en) | 2010-12-27 | 2011-10-11 | Power supply |
Applications Claiming Priority (2)
| Application Number | Priority Date | Filing Date | Title |
|---|---|---|---|
| KR1020100136074A KR101189434B1 (ko) | 2010-12-27 | 2010-12-27 | 전원 공급 장치 |
| KR10-2010-0136074 | 2010-12-27 |
Publications (1)
| Publication Number | Publication Date |
|---|---|
| WO2012091258A1 true WO2012091258A1 (en) | 2012-07-05 |
Family
ID=46383309
Family Applications (1)
| Application Number | Title | Priority Date | Filing Date |
|---|---|---|---|
| PCT/KR2011/007533 Ceased WO2012091258A1 (en) | 2010-12-27 | 2011-10-11 | Power supply |
Country Status (7)
| Country | Link |
|---|---|
| US (1) | US9301370B2 (enExample) |
| EP (1) | EP2659745B1 (enExample) |
| JP (1) | JP5840225B2 (enExample) |
| KR (1) | KR101189434B1 (enExample) |
| CN (1) | CN103392382B (enExample) |
| TW (1) | TWI450629B (enExample) |
| WO (1) | WO2012091258A1 (enExample) |
Cited By (2)
| Publication number | Priority date | Publication date | Assignee | Title |
|---|---|---|---|---|
| CN103687186A (zh) * | 2012-09-07 | 2014-03-26 | 英飞凌科技奥地利有限公司 | 用于驱动led的电路和方法 |
| CN106304509A (zh) * | 2016-10-14 | 2017-01-04 | 上海晶丰明源半导体有限公司 | 发光电路及其应用的控制器和控制方法 |
Families Citing this family (17)
| Publication number | Priority date | Publication date | Assignee | Title |
|---|---|---|---|---|
| TWI451810B (zh) * | 2012-09-21 | 2014-09-01 | Vastview Tech Inc | 基於發光二極體的多數個照明單位之驅動裝置 |
| DE102014009567B4 (de) * | 2014-06-27 | 2016-01-14 | Diehl Aerospace Gmbh | Beleuchtungsvorrichtung für eine Wechselspannungsversorgung sowie Flugzeug mit der Beleuchtungsvorrichtung |
| TW201607372A (zh) * | 2014-08-01 | 2016-02-16 | Color Chip Technology Co Ltd | 發光二極體之多段電源控制電路 |
| CN107006107B (zh) | 2014-12-12 | 2019-03-29 | 罗姆股份有限公司 | 照明装置 |
| CN104729779A (zh) * | 2015-01-23 | 2015-06-24 | 哈尔滨工业大学 | 一种基于gprs的电气化铁路线索张力监测系统 |
| US10830831B2 (en) * | 2015-06-30 | 2020-11-10 | Signify Holding B.V. | Status derivation of load circuit via capacitance |
| KR101725640B1 (ko) * | 2015-06-30 | 2017-04-11 | 한국광기술원 | Led 전원공급장치 |
| TWI576815B (zh) | 2015-12-10 | 2017-04-01 | 矽創電子股份有限公司 | 電源供應系統及方法 |
| CN108075445B (zh) * | 2016-11-14 | 2019-06-28 | 伟诠电子股份有限公司 | 电源供应器用的控制治具装置及相关方法 |
| KR102345096B1 (ko) * | 2017-03-21 | 2021-12-30 | 현대자동차주식회사 | 전류 제어 장치, 그를 가지는 차량 |
| TWI662391B (zh) | 2017-05-08 | 2019-06-11 | 群光電能科技股份有限公司 | 電源供應裝置 |
| KR102373176B1 (ko) * | 2017-07-03 | 2022-03-11 | 에스엘 주식회사 | 차량용 엘이디 구동 장치 |
| KR102539962B1 (ko) | 2017-09-05 | 2023-06-05 | 삼성전자주식회사 | Led 구동 장치 및 조명 장치 |
| TWI706395B (zh) * | 2019-01-25 | 2020-10-01 | 友達光電股份有限公司 | 畫素電路及其檢測方法 |
| KR102705546B1 (ko) * | 2019-01-31 | 2024-09-10 | 쑤저우 레킨 세미컨덕터 컴퍼니 리미티드 | 발광 다이오드의 구동 회로 및 구동방법 |
| TWI723350B (zh) * | 2019-03-12 | 2021-04-01 | 振華電腦有限公司 | 電源供應器的發光裝置及其發光控制方法 |
| CN110677043B (zh) * | 2019-09-12 | 2021-05-28 | 无锡江南计算技术研究所 | 一种输出电压自适应调节的多相dcdc电源控制电路 |
Citations (5)
| Publication number | Priority date | Publication date | Assignee | Title |
|---|---|---|---|---|
| KR100728465B1 (ko) * | 2006-05-24 | 2007-06-13 | 엘지이노텍 주식회사 | 램프 병렬구동 인버터의 보호회로 구동장치 |
| US20070170876A1 (en) | 2006-01-24 | 2007-07-26 | Koito Manufacturing Co., Ltd. | Lighting control apparatus for vehicle lighting device |
| KR20090017145A (ko) * | 2007-08-14 | 2009-02-18 | 엘지이노텍 주식회사 | 램프 보호회로 |
| US20100091220A1 (en) | 2008-10-09 | 2010-04-15 | Samsung Electronics Co., Ltd. | Backlight unit, method of operating the same and liquid crystal display device having the same |
| JP2010124614A (ja) * | 2008-11-20 | 2010-06-03 | Cosel Co Ltd | スイッチング電源装置 |
Family Cites Families (9)
| Publication number | Priority date | Publication date | Assignee | Title |
|---|---|---|---|---|
| US6734639B2 (en) * | 2001-08-15 | 2004-05-11 | Koninklijke Philips Electronics N.V. | Sample and hold method to achieve square-wave PWM current source for light emitting diode arrays |
| JP2005109025A (ja) * | 2003-09-29 | 2005-04-21 | Fuji Photo Film Co Ltd | 発光素子駆動回路 |
| JP4125686B2 (ja) * | 2004-03-15 | 2008-07-30 | 埼玉日本電気株式会社 | 消費電力低減回路及び消費電力低減方法 |
| CN1798468B (zh) | 2004-12-30 | 2011-02-02 | 鸿富锦精密工业(深圳)有限公司 | 一种具有开路保护电路的气体放电灯照明电路 |
| US7420337B2 (en) | 2006-05-31 | 2008-09-02 | Monolithic Power Systems, Inc. | System and method for open lamp protection |
| US7902771B2 (en) * | 2006-11-21 | 2011-03-08 | Exclara, Inc. | Time division modulation with average current regulation for independent control of arrays of light emitting diodes |
| US7504783B2 (en) * | 2007-03-23 | 2009-03-17 | National Semiconductor Corporation | Circuit for driving and monitoring an LED |
| KR101005199B1 (ko) | 2010-09-02 | 2010-12-31 | (주)상지기술 | 엘이디 조명기구의 엘이디 부하 비정상상태 발생시 엘이디 보호장치 |
| US8890417B2 (en) * | 2012-11-22 | 2014-11-18 | Shenzhen China Star Optoelectronics Technology Co., Ltd | LED backlight driving circuit, backlight module, and LCD device |
-
2010
- 2010-12-27 KR KR1020100136074A patent/KR101189434B1/ko not_active Expired - Fee Related
-
2011
- 2011-10-03 TW TW100135777A patent/TWI450629B/zh not_active IP Right Cessation
- 2011-10-11 CN CN201180068589.3A patent/CN103392382B/zh not_active Expired - Fee Related
- 2011-10-11 US US13/976,810 patent/US9301370B2/en not_active Expired - Fee Related
- 2011-10-11 JP JP2013547283A patent/JP5840225B2/ja not_active Expired - Fee Related
- 2011-10-11 EP EP11852309.1A patent/EP2659745B1/en not_active Not-in-force
- 2011-10-11 WO PCT/KR2011/007533 patent/WO2012091258A1/en not_active Ceased
Patent Citations (6)
| Publication number | Priority date | Publication date | Assignee | Title |
|---|---|---|---|---|
| US20070170876A1 (en) | 2006-01-24 | 2007-07-26 | Koito Manufacturing Co., Ltd. | Lighting control apparatus for vehicle lighting device |
| KR100728465B1 (ko) * | 2006-05-24 | 2007-06-13 | 엘지이노텍 주식회사 | 램프 병렬구동 인버터의 보호회로 구동장치 |
| KR20090017145A (ko) * | 2007-08-14 | 2009-02-18 | 엘지이노텍 주식회사 | 램프 보호회로 |
| US20100091220A1 (en) | 2008-10-09 | 2010-04-15 | Samsung Electronics Co., Ltd. | Backlight unit, method of operating the same and liquid crystal display device having the same |
| KR20100039969A (ko) * | 2008-10-09 | 2010-04-19 | 삼성전자주식회사 | 백라이트 유닛, 이의 구동방법 및 이를 갖는 액정표시장치 |
| JP2010124614A (ja) * | 2008-11-20 | 2010-06-03 | Cosel Co Ltd | スイッチング電源装置 |
Cited By (3)
| Publication number | Priority date | Publication date | Assignee | Title |
|---|---|---|---|---|
| CN103687186A (zh) * | 2012-09-07 | 2014-03-26 | 英飞凌科技奥地利有限公司 | 用于驱动led的电路和方法 |
| CN103687186B (zh) * | 2012-09-07 | 2016-02-03 | 英飞凌科技奥地利有限公司 | 用于驱动led的电路和方法 |
| CN106304509A (zh) * | 2016-10-14 | 2017-01-04 | 上海晶丰明源半导体有限公司 | 发光电路及其应用的控制器和控制方法 |
Also Published As
| Publication number | Publication date |
|---|---|
| JP5840225B2 (ja) | 2016-01-06 |
| TWI450629B (zh) | 2014-08-21 |
| EP2659745B1 (en) | 2019-01-09 |
| CN103392382B (zh) | 2015-01-21 |
| TW201230860A (en) | 2012-07-16 |
| US20130278154A1 (en) | 2013-10-24 |
| EP2659745A1 (en) | 2013-11-06 |
| US9301370B2 (en) | 2016-03-29 |
| KR20120074115A (ko) | 2012-07-05 |
| KR101189434B1 (ko) | 2012-10-10 |
| EP2659745A4 (en) | 2016-06-22 |
| JP2014509170A (ja) | 2014-04-10 |
| CN103392382A (zh) | 2013-11-13 |
Similar Documents
| Publication | Publication Date | Title |
|---|---|---|
| WO2012091258A1 (en) | Power supply | |
| WO2012115323A1 (en) | Current regulation apparatus | |
| WO2014025159A2 (ko) | 발광소자를 이용한 조명장치의 디밍 시스템 | |
| WO2010095813A2 (ko) | 절전형 led 조명장치 | |
| WO2012091259A1 (en) | Power supply | |
| WO2011021850A2 (en) | Led driving circuit | |
| WO2012074304A2 (ko) | Led 조명시스템 | |
| WO2013100733A1 (en) | Backlight driving apparatus | |
| WO2015041393A1 (ko) | 발광 다이오드 조명 장치의 제어 회로 | |
| WO2014030895A1 (ko) | 전류원의 시간지연 기능을 갖는 엘이디 구동회로 | |
| WO2018143582A1 (ko) | 디스플레이 장치 및 디스플레이 장치의 제어 방법 | |
| WO2015142042A1 (ko) | 형광등 호환형 엘이디 조명장치와 이를 위한 감전보호장치 | |
| WO2014092499A1 (ko) | 발광 다이오드 조명등 및 발광 다이오드 조명 장치 | |
| WO2019017649A1 (ko) | Led 조명 장치, 그리고 그의 조광 제어 방법 | |
| WO2017086674A1 (ko) | 발광 다이오드 조명 장치 | |
| WO2016122182A1 (ko) | 발광 다이오드 조명 장치의 제어 회로 및 제어 방법 | |
| WO2014157997A1 (ko) | 조명 모듈 | |
| WO2014133328A1 (ko) | 발광 다이오드 조명 장치 및 그의 제어 회로 | |
| WO2016126030A1 (ko) | 발광 소자 구동 장치 및 이를 포함하는 발광 모듈 | |
| WO2013095055A1 (ko) | 백라이트 모듈과 그 구동 방법 및 이를 이용하는 디스플레이 장치 | |
| WO2011021836A2 (ko) | 상시 발광 다이오드 전류의 제어가 가능한 발광 다이오드 구동 회로 | |
| WO2014010889A1 (ko) | 발광 다이오드 조명 장치 | |
| KR101241648B1 (ko) | 전원 공급 장치 | |
| WO2015060623A1 (ko) | 엘이디 전원 전류 제어장치 | |
| WO2010120066A2 (ko) | 전류원 배열 에너지 공급 시스템과 전류피드백 회로장치 |
Legal Events
| Date | Code | Title | Description |
|---|---|---|---|
| 121 | Ep: the epo has been informed by wipo that ep was designated in this application |
Ref document number: 11852309 Country of ref document: EP Kind code of ref document: A1 |
|
| ENP | Entry into the national phase |
Ref document number: 2013547283 Country of ref document: JP Kind code of ref document: A |
|
| NENP | Non-entry into the national phase |
Ref country code: DE |
|
| WWE | Wipo information: entry into national phase |
Ref document number: 13976810 Country of ref document: US |
|
| WWE | Wipo information: entry into national phase |
Ref document number: 2011852309 Country of ref document: EP |