WO2011118241A1 - 生体インピーダンス測定装置 - Google Patents

生体インピーダンス測定装置 Download PDF

Info

Publication number
WO2011118241A1
WO2011118241A1 PCT/JP2011/050349 JP2011050349W WO2011118241A1 WO 2011118241 A1 WO2011118241 A1 WO 2011118241A1 JP 2011050349 W JP2011050349 W JP 2011050349W WO 2011118241 A1 WO2011118241 A1 WO 2011118241A1
Authority
WO
WIPO (PCT)
Prior art keywords
housing
electrode
bioimpedance
measuring apparatus
film
Prior art date
Legal status (The legal status is an assumption and is not a legal conclusion. Google has not performed a legal analysis and makes no representation as to the accuracy of the status listed.)
Ceased
Application number
PCT/JP2011/050349
Other languages
English (en)
French (fr)
Japanese (ja)
Inventor
伸彦 小副川
仁大 北川
Current Assignee (The listed assignees may be inaccurate. Google has not performed a legal analysis and makes no representation or warranty as to the accuracy of the list.)
Omron Healthcare Co Ltd
Original Assignee
Omron Healthcare Co Ltd
Priority date (The priority date is an assumption and is not a legal conclusion. Google has not performed a legal analysis and makes no representation as to the accuracy of the date listed.)
Filing date
Publication date
Application filed by Omron Healthcare Co Ltd filed Critical Omron Healthcare Co Ltd
Priority to CN201180014251XA priority Critical patent/CN102811661A/zh
Priority to DE112011100992.5T priority patent/DE112011100992B4/de
Publication of WO2011118241A1 publication Critical patent/WO2011118241A1/ja
Priority to US13/565,548 priority patent/US20120296231A1/en
Anticipated expiration legal-status Critical
Ceased legal-status Critical Current

Links

Images

Classifications

    • AHUMAN NECESSITIES
    • A61MEDICAL OR VETERINARY SCIENCE; HYGIENE
    • A61BDIAGNOSIS; SURGERY; IDENTIFICATION
    • A61B5/00Measuring for diagnostic purposes; Identification of persons
    • A61B5/05Detecting, measuring or recording for diagnosis by means of electric currents or magnetic fields; Measuring using microwaves or radio waves
    • A61B5/053Measuring electrical impedance or conductance of a portion of the body
    • A61B5/0537Measuring body composition by impedance, e.g. tissue hydration or fat content
    • AHUMAN NECESSITIES
    • A61MEDICAL OR VETERINARY SCIENCE; HYGIENE
    • A61BDIAGNOSIS; SURGERY; IDENTIFICATION
    • A61B2505/00Evaluating, monitoring or diagnosing in the context of a particular type of medical care
    • A61B2505/07Home care

Definitions

  • the present invention relates to a bioimpedance measuring apparatus for measuring the impedance of a living body.
  • Examples of a bioimpedance measuring apparatus that measures the impedance of a living body include Japanese Patent Application Laid-Open No. 2006-230700 (Patent Document 1) and Japanese Patent Application Laid-Open No. 2007-117624 (Patent Document 2).
  • Patent Document 1 Japanese Patent Application Laid-Open No. 2006-230700
  • Patent Document 2 Japanese Patent Application Laid-Open No. 2007-117624
  • an electrode using a metal plate is brought into contact with a living body for current application and voltage measurement to the living body.
  • the shape of the electrode itself into a complicated shape rich in design, it leads to an increase in the cost of the bioimpedance measuring device.
  • the user's limb directly touches the metal plate of the electrode, the user may feel the bioimpedance measuring device cold.
  • the casing of the bioimpedance measurement device is integrally molded using an insulating resin and a conductive resin. A cover is adopted.
  • this bioimpedance measuring apparatus uses a conductive resin that is a special resin material, it is limited in the grade selection of the conductive resin material in order to obtain a desired moldability and color tone.
  • a dedicated mold facility for integral multicolor molding
  • the conductive resin material is required, which increases the cost of the equipment and leads to an increase in the cost of the bioimpedance measuring apparatus.
  • the part serving as the cover of the conductive terminal has a shape that protrudes to the surface side of the electrode surface, which greatly affects the design of the bioimpedance measuring device. . Further, when directly touching the electrode surface with a limb, the protrusion may hit the limb and interfere with the user.
  • the problem to be solved by the present invention is that, when an electrode using a metal plate is adopted in the bioimpedance measuring device, it has a great influence on the design of the bioimpedance measuring device. It is in the point that feels cold. On the other hand, when a special material such as a conductive resin material or glass is used for the casing of the bioimpedance measurement apparatus, the cost of the bioimpedance measurement apparatus is increased.
  • An object of the present invention is to solve the above-described problems, and allows the adoption of a shape having a high designability of a bioimpedance measuring device and a structure that does not cause an increase in cost of the bioimpedance measuring device. It is providing a bioimpedance measuring apparatus provided with.
  • an impedance measuring apparatus for measuring the impedance of a living body is provided on a surface of the housing that houses an electronic component and the living body.
  • An electrode that comes into contact with the living body when measuring the impedance of the housing, and the base portion of the housing on which the electrode is provided is a resin molded product, and the electrode is a membrane electrode.
  • the film electrode is a transparent conductive film or a mesh conductive film.
  • the membrane electrode is preferably formed on a film.
  • the film on which the membrane electrode is formed is integrated on the surface of the casing by an insert molding method when the casing is resin-molded.
  • the film electrode is an electrode film formed on the surface of the casing by a sputtering method.
  • the film electrode is an electrode film formed on the surface of the casing by painting.
  • the film electrode is an electrode film formed on the surface of the casing by printing.
  • a concave region provided on the surface of the housing and a cap that covers the concave portion, and the membrane electrode has an extended region provided in the concave region, The extended region is electrically connected to the electronic component housed in the housing.
  • the casing includes a first casing and a second casing
  • the membrane electrode is provided on a surface of the first casing
  • the membrane electrode is the first casing.
  • An extension region is provided on the back side of the housing, and the extension region is electrically connected to the electronic component housed in the housing on the back side of the first housing.
  • an impedance measuring apparatus for measuring the impedance of a living body is provided on a casing in which an electronic component is accommodated and on the surface of the casing,
  • An electrode that contacts the living body when measuring the impedance of the living body, and the surface of the housing on which the membrane electrode is provided has a curved surface portion, and the electrode is a membrane electrode.
  • the bioimpedance measurement device based on the present invention, it is possible to easily adopt a shape with a rich design of the bioimpedance measurement device, and to provide a living body having a structure that does not cause an increase in cost of the bioimpedance measurement device.
  • An impedance measuring device can be provided.
  • FIG. 1 is a first perspective view showing an external configuration of a bioelectrical impedance measuring apparatus according to Embodiment 1.
  • FIG. It is (A) top view, (B) front view, and (C) right side view which show the external appearance structure of the bioelectrical impedance measuring apparatus in Embodiment 1.
  • FIG. It is a figure which shows the measurement attitude
  • FIG. 1 is a block diagram of a bioimpedance measurement apparatus in Embodiment 1.
  • FIG. FIG. 3 is a second perspective view showing an external configuration of the bioimpedance measuring apparatus in the first embodiment.
  • FIG. 6 is a cross-sectional view taken along line VI-VI in FIG. FIG.
  • FIG. 7 is a partially enlarged perspective view of a region surrounded by VII in FIG. 5. It is the elements on larger scale of the area
  • FIG. 7 is a partially enlarged perspective view of a portion corresponding to a region surrounded by VII in FIG. 5 in a bioimpedance measuring apparatus of another form in the first embodiment.
  • It is a 1st perspective view which shows the external appearance structure of the bioimpedance measuring apparatus in Embodiment 2.
  • It is the (A) top view which shows the external appearance structure of the bioimpedance measuring apparatus in Embodiment 2, (B) The front view, and (C) The right view.
  • It is a 2nd perspective view which shows the external appearance structure of the bioimpedance measuring apparatus in Embodiment 2.
  • FIG. 13 is a cross-sectional view taken along line XIII-XIII in FIG.
  • FIG. 14 is a partially enlarged perspective view of a region surrounded by XIV in FIG. 12. It is a partial expanded sectional view of the area
  • FIG. 10 is a first perspective view showing an external configuration of a bioimpedance measuring apparatus according to Embodiment 3. It is the (A) top view which shows the external appearance structure of the bioimpedance measuring apparatus in Embodiment 3, (B) The front view, and (C) The right view. It is a 2nd perspective view which shows the external appearance structure of the bioelectrical impedance measuring apparatus in Embodiment 3.
  • FIG. 10 is a first perspective view showing an external configuration of a bioimpedance measuring apparatus according to Embodiment 3. It is the (A) top view which shows the external appearance structure of the bioimpedance measuring apparatus in Embodiment 3, (B) The front view, and (C) The right view. It is a
  • FIG. 19 is a partially enlarged perspective view of a region surrounded by XIX in FIG. 18.
  • FIG. 18 is a cross-sectional view taken along line XX-XX in FIG. It is a partial expanded sectional view of the area
  • It is a 1st perspective view which shows the external appearance structure of the bioimpedance measuring apparatus in Embodiment 4. It is the (A) top view which shows the external appearance structure of the bioimpedance measuring apparatus in Embodiment 4, (B) The front view, and (C) The right view. It is a figure which shows the measurement attitude
  • FIG. 18 is a cross-sectional view taken along line XX-XX in FIG. It is a partial expanded sectional view of the area
  • It is a 1st perspective view which shows the external appearance structure of the bioimpedance measuring apparatus in Em
  • FIG. 27 is a partially enlarged perspective view of a region surrounded by XXVII in FIG. 26.
  • FIG. 10 is a partially enlarged perspective view showing a conduction state between a membrane electrode and an electronic component in a bioimpedance measurement apparatus according to Embodiment 4.
  • FIG. 1 is a first perspective view showing the external configuration of the bioimpedance measuring apparatus 100
  • FIG. 2 is a plan view showing the external configuration of the bioimpedance measuring apparatus 100
  • (B) a front view
  • ( C) Right side view
  • FIG. 3 is a diagram showing a measurement posture of the user using the bioimpedance measuring apparatus 100
  • FIG. 4 is a block diagram of the bioimpedance measuring apparatus 100
  • FIG. 5 is an external view of the bioimpedance measuring apparatus 100. It is a 2nd perspective view which shows a structure.
  • This bioimpedance measuring apparatus 100 has a first housing 110 located on the front surface side and a second housing 120 located on the bottom surface side.
  • the first housing 110 and the second housing 120 have a rectangular shape with rounded corners in plan view. Further, the surface of the first housing 110 has a curved shape so as to have an upwardly convex shape, as often appears in FIGS. 2 (A), (B), and (C).
  • the display unit 20 is provided on the surface of the first housing 110.
  • a liquid crystal display (LCD) or the like is used as the display unit 20.
  • electrodes 13, 14, 17, and 18 are provided on the surface of the first housing 110 so that the surface is divided into four.
  • film electrodes are used as the electrodes 13, 14, 17, and 18 in the present embodiment. Electrodes 13, 14, 17, and 18 are provided in the shaded portions in FIG.
  • the electrode 13 located at the lower left side of the bioelectrical impedance measuring apparatus 100 is an electrode for measuring a voltage during impedance measurement
  • the electrode 17 located at the upper left side is an electrode for applying a current during impedance measurement. is there. These electrodes 13 and 17 are in contact with the back side of the user's left foot.
  • the electrode 14 located at the lower right side of the bioimpedance measuring apparatus 100 is an electrode for measuring a voltage during impedance measurement
  • the electrode 18 located at the upper right side is an electrode for applying a current during impedance measurement. is there. These electrodes 14 and 18 are in contact with the back side of the user's right foot.
  • a removable cap 111 is provided at two locations on the periphery of the first housing 110.
  • the surface of the cap 111 is molded so as to be flush with the surface of the first housing 110. The use of the cap 111 will be described later.
  • a film electrode in which an electrode film is formed on a transparent film is used. Further, the film on which the film-like electrode is formed is integrated on the surface of the first housing 110 by an insert molding method when the first housing 110 is resin-molded.
  • the transparency of the transparent film is not particularly problematic as long as the color of the resin used for the first housing 110 can be seen through. It is also possible to use a non-transparent film.
  • acrylic resin for example, polymethyl methacrylate resin (PMMA)
  • polycarbonate acrylonitrile butadiene styrene resin (ABS resin), or the like
  • ABS resin acrylonitrile butadiene styrene resin
  • the material of the second housing 120 is basically the same material as that of the first housing 110, but other materials can be used depending on the application.
  • ITO indium tin oxide
  • ZnO zinc oxide
  • Ag silver
  • conductive polymer polyacetylene-based, polythiophene-based, polyethylenedioxythiophene-based, etc.
  • PET polyethylene terephthalate
  • polyimide polyimide
  • the thickness of the film is about 10 ⁇ m to about 500 ⁇ m.
  • the injection molding conditions in the insert molding method are as follows.
  • PMMA polymethyl methacrylate resin
  • the resin temperature is about 200 ° C. to about 270 ° C.
  • the injection pressure is about 60 MPa.
  • mold temperature is about 40 ° C. to about 80 ° C.
  • the optimum conditions are appropriately determined depending on the heat resistant temperature of the film used for the membrane electrode, the shape of the molded product, and other factors.
  • the film electrode is not limited to the transparent conductive film, and a net-like conductive film may be used.
  • the method is not limited to the method of integrating the film by the insert molding method, but as the electrode, a method of forming an electrode film on the surface of the first housing 110 by a sputtering method, or an electrode film on the surface of the first housing 110 by painting. It is also possible to form an electrode film on the surface of the first housing 110 by printing or printing.
  • the bioimpedance measurement apparatus 100 In the use state of the bioimpedance measurement apparatus 100, as shown in FIG. 3, the bioimpedance measurement apparatus 100 is placed on a flat mounting surface, and a user 1000 rides on the bioimpedance measurement apparatus 100.
  • the user's left foot 1013 is in contact with the electrodes 13 and 17, and the user's right foot 1014 is in contact with the electrodes 14 and 18, whereby the user's impedance is measured.
  • this bioimpedance measurement apparatus 100 includes the plurality of electrodes 13, 14, 17, 18, the display unit 20, the operation unit 30, the body weight measurement unit 32, and the bioimpedance measurement apparatus 100.
  • a microcomputer (abbreviation of microcomputer) 10 is provided for performing overall control and processing such as various calculations.
  • the high frequency constant current generating circuit 41 that generates a high frequency constant current of a predetermined frequency
  • the current application electrodes 17 and 18, and the voltage information obtained from the voltage measurement electrodes 13 and 14 and the body weight measurement unit 32 An input switching circuit 44 for switching input to any one of the weight information, and A (analog) / D (digital) conversion for converting voltage information and weight information obtained from the input switching circuit 44 from an analog signal to a digital signal A circuit 45.
  • a power supply unit 31 for supplying power to the microcomputer 10 by operating a power switch included in the operation unit 30 and an external memory 33 for storing information such as measurement results are provided.
  • the microcomputer 10 includes an internal memory 133 using an EEPROM (Electrically Erasable Programmable Read-Only Memory) or the like in order to store various control programs.
  • the microcomputer 10 includes an impedance measuring unit 101, a resistivity calculating unit 102, and a body composition calculating unit 103, and according to a program stored in the internal memory 133, impedance measurement, resistivity calculation, and body composition calculation To do.
  • the microcomputer 10 measures the weight by a known method based on a signal from the weight measurement unit 32, for example, a weight sensor, acquired through the A / D conversion circuit 45. In addition, a signal for displaying the measurement result in the body composition calculation unit 103 on the display unit 20 is generated. Further, writing to and reading from the external memory 33 are performed.
  • Examples of the body composition that can be measured by the bioimpedance measuring apparatus 100 in the present embodiment include body fat mass, lean mass, muscle mass, bone mass, body fat percentage, muscle percentage, visceral fat level, and the like. These body compositions are all known by the body composition calculation unit 103 from the body impedance value obtained by the impedance measurement unit 101 and personal data such as the height, weight, age, and gender of the user recorded in the internal memory. It is calculated by the method.
  • FIGS. 5 to 8 the electronic component 140 housed between the first housing 110 and the second housing 120, and the electrodes 13 provided on the surface of the first housing 110, The conduction structure with 14, 17, 18 will be described.
  • 5 is a second perspective view showing the external configuration of the bioimpedance measuring apparatus 100
  • FIG. 6 is a cross-sectional view taken along line VI-VI in FIG. 2A
  • FIG. 7 is VII in FIG.
  • FIG. 8 is a partially enlarged cross-sectional view of a region surrounded by VIII in FIG. 6.
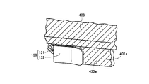
  • Two recessed regions 112 are provided for securing a conductive structure with the electrodes 13, 14, 17, and 18 provided on the substrate, and a removable cap 111 is provided to cover each recessed region 112.
  • a semicircular recess region 112 is formed on the surface of the first housing 110 so as to straddle the electrode 13 and the electrode 14. Overhang regions 113 and 114 that define the bottom surface are formed in the recessed region 112.
  • An extension region 13 a of the electrode 13 is formed so as to extend to the extension region 113 of the recess region 112, and an extension region 14 a of the electrode 14 is formed so as to extend to the extension region 114.
  • the electrodes 13, 14, 17, and the like extend from the peripheral edge to the overhanging regions 113 and 114 of the recessed region 112 (ranges indicated by R) on the surface of the first housing 110. 18 is formed.
  • the electronic component 140 is provided with a connector 130 for conducting to the extended regions 13a and 14a.
  • the connector 130 has a cable 131 and a clip 132.
  • the clip 132 of the connector 130 sandwiches the overhang area 113 of the first housing 110, whereby the clip 132 and the extended area 13 a are electrically connected. become.
  • This conductive structure is the same for the electrode 14, the electrode 17, and the electrode 18.
  • the cap 111 By adopting a well-known engagement structure (not shown) between the cap 111 and the recessed area 112, the cap 111 is normally maintained in an engaged state with the recessed area 112, and an external force is applied. The cap 111 can be removed from the recessed area 112.
  • FIG. 9 shows another conductive structure.
  • Slits 113 s and 114 s are provided in the overhanging regions 113 and 114, and the cable 131 is engaged with the slits 113 s and 114 s, so that the extension region 13 a and the cable 131 are connected, and the extension region 14 a and the cable 131 are connected.
  • the plate 141 is fixed to the second housing 120 using the screws 150. Further, the plate 141 and the screw 150 are blinded by the cap 111.
  • the surface of the cap 111 is formed to be flush with the surface of the first housing 11.
  • the film-like electrode is provided on the surface of the resin casing, so that it has a shape with a rich design without causing an increase in manufacturing cost. Adoption is possible.
  • the resin used for the housing can be a commonly used resin, a grade with a desired moldability can be selected as compared with the case where a conductive resin that is a special material is used.
  • Existing knowledge and experience can be applied to dealing with various problems such as sink marks and weld line occurrences.
  • the mold structure can be simplified and an increase in manufacturing cost can be suppressed. It becomes possible.
  • the film can be selected from commercially available products, it is easy to introduce, and from this point, it is possible to suppress an increase in manufacturing cost.
  • a three-dimensional shape that is difficult with a metal electrode or a glass casing can be easily realized with a resin casing, and a membrane electrode that is in contact with the human body of the bioimpedance measuring apparatus 100 can be realized.
  • a shape of the surface of the body conform to the shape of the foot of the human body, reliable contact with the human body becomes possible.
  • the color tone of the first housing appears on the surface, and the color variation of the bioimpedance measuring apparatus 100 can be easily increased.
  • a transparent resin such as acrylic for the housing the entire housing can be made transparent.
  • the electrode when the electrode is integrally formed with respect to the housing using an insert molding method or the like, the three-dimensional shape of the electrode is compared with the case where the membrane electrode is bonded using an adhesive or the like. Realization is also easy, and the possibility of problems such as electrode peeling can be reduced.
  • the extending areas 13a and 14a of the electrodes 13 and 14 can be formed up to the overhang areas 113 and 114 that define the bottom surface of the recessed area 112.
  • a conduction structure with the component 140 can be easily realized. Further, by covering the recessed area 112 with the cap 111, it is possible to make the surface of the casing flush with each other, and it is possible to improve the design of the bioimpedance measuring apparatus 100.
  • the electrode when the film-like electrode is formed by sputtering or painting, the electrode can be directly formed on the surface of the casing, so that the number of parts can be reduced and the increase in manufacturing cost can be suppressed.
  • FIG. 10 is a first perspective view showing the external configuration of the bioimpedance measuring apparatus 200
  • FIG. 11 is a plan view showing the external configuration of the bioimpedance measuring apparatus 200
  • (B) a front view is a front view
  • ( C) Right side view is a first perspective view showing the external configuration of the bioimpedance measuring apparatus 200
  • the basic configuration of the bioimpedance measurement apparatus 200 in the present embodiment is the same as that of the bioimpedance measurement apparatus 100 in the first embodiment.
  • the differences are the difference in the surface shape and the position where the conduction structure is provided. is there.
  • the difference in position where the conductive structure is provided will be described in detail.
  • This bioimpedance measuring apparatus 200 has a first housing 210 located on the front surface side and a second housing 220 located on the bottom surface side.
  • the first casing 210 and the second casing 220 have a rectangular shape with rounded corners in plan view. Further, the surface of the first housing 210 has a curved shape so as to form an upwardly convex shape, as is often seen in FIGS. 10 and 11A, 11B, 11C, and further in the center.
  • the portion has a shape recessed in an elliptical shape.
  • the display unit 20 is provided on the surface of the first housing 210.
  • electrodes 13, 14, 17, and 18 are provided on the surface of the first housing 210 so that the surface is divided into four. Electrodes 13, 14, 17, and 18 are provided at the shaded portions in FIG. 11.
  • the same membrane electrode as that of the bioimpedance measurement apparatus 100 in the first embodiment is used.
  • the first casing 210 and the second casing 220 are also made of the same material as the bioimpedance measurement apparatus 100 in the first embodiment.
  • FIGS. 12 to 15 are second perspective views showing the external configuration of the bioimpedance measuring apparatus 200
  • FIG. 13 is a cross-sectional view taken along line XIII-XIII in FIG. 11A
  • FIG. 14 is XIV in FIG.
  • FIG. 15 is a partial enlarged cross-sectional view of the region surrounded by XV in FIG. 13.
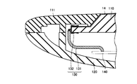
  • the surface of the substantially central region of the first housing 210 (the region where the electrodes 13, 14, 17, and 18 are close to each other) is inside the first housing 210 and the second housing 220.
  • One recessed area 212 is provided for securing a conductive structure between the accommodated electronic component 140 and the electrodes 13, 14, 17, and 18 provided on the surface of the first housing 210.
  • a removable cap 211 is provided for covering.
  • a circular concave region 212 is formed on the surface of the first housing 210 so as to straddle the electrodes 13, 14, 17, and 18.
  • an overhang area 213 having an opening area in the center is formed.
  • the extending region 13a of the electrode 13, the extending region 14a of the electrode 14, the extending region 17a of the electrode 17, and the extending region 18a of the electrode 18 are formed so as to extend to the overhanging region 213 of the recessed region 212. ing.
  • the electronic component 140 is provided with a connector 130 that is electrically connected to each extending region 13a, 14a, 17a, 18a.
  • the connector 130 has a cable 131 and a clip 132.
  • the clip 132 of the connector 130 sandwiches the overhang area 213 of the first housing 210, whereby the clip 132 and the extended area 13a are electrically connected. become.
  • This conductive structure is the same for the electrode 14, the electrode 17, and the electrode 18.
  • cap 211 By adopting a well-known engagement structure (not shown) between the cap 211 and the recess region 212, the cap 211 is normally maintained in the engagement state with the recess region 212, and an external force is applied. Cap 211 can be removed from recessed area 212.
  • FIG. 16 is a first perspective view showing the external configuration of the bioimpedance measuring apparatus 300
  • FIG. 17 is a plan view showing the external configuration of the bioimpedance measuring apparatus 300
  • (B) a front view is a front view
  • ( C) Right side view is a first perspective view showing the external configuration of the bioimpedance measuring apparatus 300
  • bioimpedance measuring apparatus 300 in the present embodiment is the same as bioimpedance measuring apparatus 100 in the first embodiment.
  • the difference is the difference in the surface shape and the position where the conduction structure is provided. is there.
  • the difference in position where the conductive structure is provided will be described in detail.
  • This bioimpedance measuring apparatus 300 has a first housing 310 located on the front surface side and a second housing 320 located on the bottom surface side.
  • the first housing 310 and the second housing 320 have a rectangular shape with rounded corners in plan view. Further, the surface of the first housing 310 has a curved shape so as to have an upwardly convex shape as often appears in FIGS. 16 and 17A, 17B, and 17C.
  • the display unit 20 is provided on the surface of the first housing 310.
  • electrodes 13, 14, 17, and 18 are provided on the surface of the first housing 310 so that the surface is divided into four. Electrodes 13, 14, 17, and 18 are provided on the shaded portions in FIG. 17.
  • the same membrane electrode as that of the bioimpedance measurement apparatus 100 in the first embodiment is used.
  • the first casing 310 and the second casing 320 are also made of the same material as that of the bioimpedance measurement apparatus 100 in the first embodiment.
  • FIG. 18 is a second perspective view showing the external configuration of the bioimpedance measuring apparatus 300
  • FIG. 19 is a partially enlarged view of a region surrounded by XIX in FIG. 18, and FIG. 20 is in FIG.
  • FIG. 21 is a partially enlarged sectional view of a region surrounded by XXI in FIG.
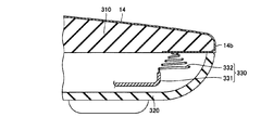
  • the electrodes 13, 14, 17, and 18 are extended regions 13 b, 14 b, and 17 b that are wound on the back side of the first housing 310 on the surface of the central region of the peripheral portion of the first housing 310. , 18b are provided.
  • the extension region 13b and the extension region 17b are arranged close to each other, and the extension region 14b and the extension region 18b are arranged close to each other.
  • the electronic component 140 is provided with a connector 330 for conducting to the extended regions 13b, 14b, 17b, 18b.
  • the connector 330 includes a cable 331 and a conical coil spring-shaped contact terminal 332.
  • the contact terminal 332 of the connector 330 abuts on the extension region 14 b wound around the back surface side of the first housing 310, so that the contact terminal 332 and the extension region 14 b are electrically connected. Will be connected.
  • This conductive structure is the same for the electrode 13, the electrode 17, and the electrode 18.
  • the extension regions 13b, 14b, 17b, and 18b are easily formed. As shown in the present embodiment, it is possible to employ a structure in which the extension regions 13b, 14b, 17b, and 18b are wound around the back surface side using the periphery of the first housing 310.
  • FIG. 4 the bioimpedance measuring apparatus 400 in the fourth embodiment
  • the bioimpedance measurement apparatuses 100 to 300 shown in the first to third embodiments described above measure the bioimpedance of the user when the user rides on the bioimpedance measurement apparatus.
  • the bioimpedance measuring apparatus 400 in the present embodiment measures the bioimpedance of the user using both hands of the user.
  • FIGS. 22 is a first perspective view showing the external configuration of the bioimpedance measurement apparatus 400
  • FIG. 23 is a plan view showing the external configuration of the bioimpedance measurement apparatus 400
  • (B) a front view
  • FIG. 24 is a diagram showing a measurement posture of the user using the bioimpedance measurement device 400
  • FIG. 25 is a block diagram of the bioimpedance measurement device 400
  • FIG. It is a 2nd perspective view which shows an external appearance structure.
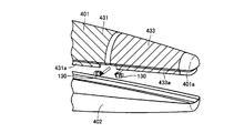
  • This bioimpedance measuring apparatus 400 has a substantially cylindrical shape as a whole, and includes a first housing 401 located on the front surface side (side on which a display unit 428 (described later) is provided) and a second housing located on the bottom surface side. 402.
  • the first housing 401 and the second housing 402 have a substantially conical shape in which the central region is slightly narrowed in plan view and the outer diameter gradually decreases toward both ends.
  • the right-hand end is provided with a right-hand grip 411 for gripping with the right hand
  • the left-hand end is provided with a left-hand grip 412 for gripping with the left hand.
  • a display unit 428 is provided in the central region of the first housing 401.
  • As the display unit 428 for example, a liquid crystal display (LCD) or the like is used.
  • Electrodes 431, 432, 433, and 434 are provided in the shaded portions in FIG. Electrodes 431 and 433 are provided at predetermined positions on the outer surface of the right-hand grip 411. Among these electrodes 431 and 433, the electrode 431 located on the central portion side of the bioimpedance measurement device 400 is an electrode for measuring a voltage during impedance measurement, and is located on the right end portion side of the bioimpedance measurement device 400. The electrode 433 is an electrode for applying a current during impedance measurement. These electrodes 431 and 433 are in contact with the inner side of the user's right hand.
  • Electrodes 432 and 434 are provided at predetermined positions on the outer surface of the left hand grip 412. Of these electrodes 432 and 434, the electrode 432 located on the center side of the bioimpedance measuring apparatus 400 is an electrode for measuring voltage during impedance measurement, and is located on the left end side of the bioimpedance measuring apparatus 400. The electrode 434 is an electrode for applying a current during impedance measurement. These electrodes 432 and 434 are in contact with the inside of the user's left hand.
  • the same membrane electrodes as those of the bioimpedance measurement apparatus 100 in the first embodiment are used.
  • the first casing 401 and the second casing 402 are also made of the same material as the bioimpedance measurement apparatus 100 in the first embodiment.
  • the user 1000 holds the right hand grip portion 411 of the bioimpedance measurement device 100 with the right hand 1011 and the left hand grip portion 412 in an upright posture. Each of them is held with the left hand 1012. At this time, the elbows of both arms are extended, and both arms are maintained at approximately shoulder height so that the bioimpedance measuring apparatus 100 is positioned in front of the body, so that the arms and the trunk are substantially at right angles.
  • the bioimpedance measurement apparatus 400 includes, in addition to the electrodes 431 to 434, the display unit 428, the operation unit 420, and the battery 451, the overall control of the bioimpedance measurement apparatus and various A voltage for measuring voltage information obtained from a microcomputer 441 for processing such as computation, a high-frequency constant current generation circuit 452 for generating a high-frequency constant current of a predetermined frequency, and electrodes 431 and 432 for voltage measurement A measurement circuit 453 and an A / D (analog / digital) conversion circuit 454 for converting voltage information obtained from the voltage measurement circuit 453 from an analog signal to a digital signal are provided.
  • the microcomputer 441 includes an impedance measuring unit 442 that measures body impedance from digitalized voltage information, a body composition calculating unit 443 that calculates body composition by performing arithmetic processing on the obtained impedance, In order to store various control programs, an internal memory 444 using an EEPROM (Electrically Erasable Programmable Read-Only Memory) or the like is included.
  • EEPROM Electrically Erasable Programmable Read-Only Memory
  • the body composition that can be measured by the bioimpedance measurement apparatus 400 in the present embodiment includes, for example, body fat mass, lean mass, muscle mass, bone mass, body fat percentage, muscle percentage, visceral fat level, and the like. It is done. These body compositions are all known by the body composition calculation unit 443 from the body impedance value obtained by the impedance measurement unit 442 and personal data such as the user's height, weight, age, and sex recorded in the internal memory. It is calculated by the method.
  • FIG. 26 is a second perspective view showing an external configuration of the bioimpedance measuring apparatus 400
  • FIG. 27 is a partially enlarged perspective view of a region surrounded by XXVII in FIG. 26
  • FIG. 28 is a part showing a conduction structure. It is an enlarged view.
  • a rib 401a extending from the position recessed inward to the second housing 402 side is provided.
  • the electrodes 431 and 433 are provided with extension regions 431a and 433a that are wound up to the surface of the rib 401a of the first housing 401.
  • the electronic component (not shown) is provided with a connector 130 for conducting to the extended regions 431a and 433a.
  • the connector 130 has a cable 131 and a clip 132.
  • the clip 132 of the connector 130 sandwiches the rib 401a of the first housing 401 on the back side of the first housing 401, so that the clip 132 and the extension region 433a of the electrode 433 are electrically connected. Will be connected to.
  • This conductive structure is the same for the electrode 431, the electrode 432, and the electrode 434.
  • the same operational effects as those of the bioimpedance measurement apparatus 100 according to the first embodiment can be obtained.
  • the electrodes 431, 432, 433, and 434 use the same membrane electrode as that of the bioimpedance measurement apparatus 100 in the first embodiment, it is possible to easily form an extension region. As shown in the embodiment, it is possible to employ a structure in which the extension region is wound up to the rib provided on the back surface side of the first housing 410.
  • bioimpedance measurement apparatus described in the first to third embodiments and the bioimpedance measurement apparatus described in the fourth embodiment can be used in appropriate combination. Further, in each embodiment, the case where a resin material is used as the material for the casing on which the membrane electrode is provided is described from the viewpoint that a curved surface shape can be easily formed. It is also possible to form a curved surface on the surface of glass, wood or the like instead of the resin material, and add a film electrode on the surface.
  • Microcomputer (microcomputer), 13b, 14b, 17b, 18b extension area, 13, 14, 17, 18, 431, 432, 433, 434 electrode, 13a, 14a, 17a, 18a extension area, 20 display section , 30 operation unit, 31 power supply unit, 32 weight measurement unit, 33 external memory, 41, 452, high frequency constant current generation circuit, 44 input switching circuit, 45, 454 A / D (analog / digital) conversion circuit, 100, 200, 300,400 bioimpedance measuring device, 101,442 impedance measuring unit, 102 resistivity calculating unit, 103,443 body composition calculating unit, 110,210,310,401 first housing, 1111,211 cap, 133,444 inside Memory, 112, 212 recess area, 113, 114, 213 Overhang area, 113s, 114s slit, 120, 220, 320, 402 second housing, 130, 330 connector, 131, 331 cable, 132 clip, 140 electronic parts, 141 plate, 150 screw, 332 contact terminal,

Landscapes

  • Health & Medical Sciences (AREA)
  • Life Sciences & Earth Sciences (AREA)
  • Biomedical Technology (AREA)
  • Molecular Biology (AREA)
  • Radiology & Medical Imaging (AREA)
  • Biophysics (AREA)
  • Pathology (AREA)
  • Engineering & Computer Science (AREA)
  • Nuclear Medicine, Radiotherapy & Molecular Imaging (AREA)
  • Heart & Thoracic Surgery (AREA)
  • Medical Informatics (AREA)
  • Physics & Mathematics (AREA)
  • Surgery (AREA)
  • Animal Behavior & Ethology (AREA)
  • General Health & Medical Sciences (AREA)
  • Public Health (AREA)
  • Veterinary Medicine (AREA)
  • Measurement And Recording Of Electrical Phenomena And Electrical Characteristics Of The Living Body (AREA)
  • Measurement Of Resistance Or Impedance (AREA)
PCT/JP2011/050349 2010-03-23 2011-01-12 生体インピーダンス測定装置 Ceased WO2011118241A1 (ja)

Priority Applications (3)

Application Number Priority Date Filing Date Title
CN201180014251XA CN102811661A (zh) 2010-03-23 2011-01-12 生体阻抗测定装置
DE112011100992.5T DE112011100992B4 (de) 2010-03-23 2011-01-12 Körperimpedanzmessvorrichtung
US13/565,548 US20120296231A1 (en) 2010-03-23 2012-08-02 Body impedance measurement apparatus

Applications Claiming Priority (2)

Application Number Priority Date Filing Date Title
JP2010-066327 2010-03-23
JP2010066327A JP5678448B2 (ja) 2010-03-23 2010-03-23 生体インピーダンス測定装置

Related Child Applications (1)

Application Number Title Priority Date Filing Date
US13/565,548 Continuation US20120296231A1 (en) 2010-03-23 2012-08-02 Body impedance measurement apparatus

Publications (1)

Publication Number Publication Date
WO2011118241A1 true WO2011118241A1 (ja) 2011-09-29

Family

ID=44672819

Family Applications (1)

Application Number Title Priority Date Filing Date
PCT/JP2011/050349 Ceased WO2011118241A1 (ja) 2010-03-23 2011-01-12 生体インピーダンス測定装置

Country Status (5)

Country Link
US (1) US20120296231A1 (enExample)
JP (1) JP5678448B2 (enExample)
CN (1) CN102811661A (enExample)
DE (1) DE112011100992B4 (enExample)
WO (1) WO2011118241A1 (enExample)

Cited By (1)

* Cited by examiner, † Cited by third party
Publication number Priority date Publication date Assignee Title
CN104970792A (zh) * 2014-05-30 2015-10-14 株式会社百利达 测量装置

Families Citing this family (2)

* Cited by examiner, † Cited by third party
Publication number Priority date Publication date Assignee Title
KR20160143102A (ko) 2015-06-04 2016-12-14 삼성전자주식회사 휴대용 생체 정보 측정 장치
CN112971758B (zh) * 2021-03-31 2025-08-19 广东乐心医疗电子股份有限公司 人体成分分析设备

Citations (7)

* Cited by examiner, † Cited by third party
Publication number Priority date Publication date Assignee Title
JP2000237254A (ja) * 1999-02-22 2000-09-05 Ya Man Ltd 体脂肪測定機能付き足裏マッサージ装置
JP2003519522A (ja) * 2000-01-12 2003-06-24 メジャメント スペシャリティーズ インク 生体電気インピーダンス測定装置及び測定方法
JP3717368B2 (ja) * 2000-04-19 2005-11-16 積水化成品工業株式会社 電極
JP3719649B2 (ja) * 2000-12-08 2005-11-24 株式会社タニタ 生体電気インピーダンス測定装置用樹脂カバー
JP2005348803A (ja) * 2004-06-08 2005-12-22 Nippon Seimitsu Sokki Kk 健康指標測定用電子機器
JP2006230700A (ja) * 2005-02-24 2006-09-07 Omron Healthcare Co Ltd 体組成計
JP3159881U (ja) * 2010-03-23 2010-06-03 オムロンヘルスケア株式会社 生体インピーダンス測定装置

Family Cites Families (5)

* Cited by examiner, † Cited by third party
Publication number Priority date Publication date Assignee Title
JPH0975315A (ja) * 1995-09-08 1997-03-25 Sekisui Chem Co Ltd インピーダンス測定用フィルム状電極
CN2623167Y (zh) * 2002-11-14 2004-07-07 精量电子(深圳)有限公司 带有透明电极之人体脂肪秤
JP2007117624A (ja) 2005-10-31 2007-05-17 Omron Healthcare Co Ltd 体組成測定装置
JP5146161B2 (ja) * 2008-07-02 2013-02-20 オムロンヘルスケア株式会社 体重体組成計
JP5200703B2 (ja) * 2008-07-03 2013-06-05 オムロンヘルスケア株式会社 体重体組成計の組立方法及び体重体組成計

Patent Citations (7)

* Cited by examiner, † Cited by third party
Publication number Priority date Publication date Assignee Title
JP2000237254A (ja) * 1999-02-22 2000-09-05 Ya Man Ltd 体脂肪測定機能付き足裏マッサージ装置
JP2003519522A (ja) * 2000-01-12 2003-06-24 メジャメント スペシャリティーズ インク 生体電気インピーダンス測定装置及び測定方法
JP3717368B2 (ja) * 2000-04-19 2005-11-16 積水化成品工業株式会社 電極
JP3719649B2 (ja) * 2000-12-08 2005-11-24 株式会社タニタ 生体電気インピーダンス測定装置用樹脂カバー
JP2005348803A (ja) * 2004-06-08 2005-12-22 Nippon Seimitsu Sokki Kk 健康指標測定用電子機器
JP2006230700A (ja) * 2005-02-24 2006-09-07 Omron Healthcare Co Ltd 体組成計
JP3159881U (ja) * 2010-03-23 2010-06-03 オムロンヘルスケア株式会社 生体インピーダンス測定装置

Cited By (1)

* Cited by examiner, † Cited by third party
Publication number Priority date Publication date Assignee Title
CN104970792A (zh) * 2014-05-30 2015-10-14 株式会社百利达 测量装置

Also Published As

Publication number Publication date
DE112011100992B4 (de) 2023-05-04
DE112011100992T5 (de) 2013-02-07
CN102811661A (zh) 2012-12-05
JP5678448B2 (ja) 2015-03-04
JP2011194132A (ja) 2011-10-06
US20120296231A1 (en) 2012-11-22

Similar Documents

Publication Publication Date Title
Weigel et al. Iskin: flexible, stretchable and visually customizable on-body touch sensors for mobile computing
US10103764B2 (en) Wearable device and method for information delivery
US20090033635A1 (en) Instruments, Touch Sensors for Instruments, and Methods or Making the Same
US20150105671A1 (en) Biological information measurement device
JP7535842B2 (ja) センサ装置及び方法
JP6863385B2 (ja) センサ、バンド、電子機器および腕時計型電子機器
CN104570716B (zh) 便携式电子物体
US6243651B1 (en) Healthcare data acquisition device
US10095192B2 (en) Portable touch electronic object
KR20180135083A (ko) 전자 디바이스용 촉각 스위치
JP5678448B2 (ja) 生体インピーダンス測定装置
TW200915369A (en) Fingertip tactile-sense input device
EP2467768A1 (en) Apparatus comprising an optically transparent sheet and related methods
US9949649B2 (en) Biological information measurement device
JP3159881U (ja) 生体インピーダンス測定装置
JP3931641B2 (ja) 健康管理指針アドバイス装置
CN103330558B (zh) 卡片式心电测量装置
JPH10174680A (ja) 健康管理指針アドバイス装置
JP2016003868A (ja) 生体情報測定装置
JP2011194132A5 (enExample)
CN103330560B (zh) 心电测量仪
RU190175U1 (ru) Перчатка с датчиками давления
JP6090826B2 (ja) 眼瞼圧センサ
JP4069500B2 (ja) 体脂肪測定装置
JP4423833B2 (ja) 生体情報測定装置

Legal Events

Date Code Title Description
WWE Wipo information: entry into national phase

Ref document number: 201180014251.X

Country of ref document: CN

121 Ep: the epo has been informed by wipo that ep was designated in this application

Ref document number: 11759050

Country of ref document: EP

Kind code of ref document: A1

DPE2 Request for preliminary examination filed before expiration of 19th month from priority date (pct application filed from 20040101)
WWE Wipo information: entry into national phase

Ref document number: 112011100992

Country of ref document: DE

Ref document number: 1120111009925

Country of ref document: DE

122 Ep: pct application non-entry in european phase

Ref document number: 11759050

Country of ref document: EP

Kind code of ref document: A1