WO2011108603A1 - 面状照明装置およびこれを備えた液晶表示装置 - Google Patents

面状照明装置およびこれを備えた液晶表示装置 Download PDF

Info

Publication number
WO2011108603A1
WO2011108603A1 PCT/JP2011/054789 JP2011054789W WO2011108603A1 WO 2011108603 A1 WO2011108603 A1 WO 2011108603A1 JP 2011054789 W JP2011054789 W JP 2011054789W WO 2011108603 A1 WO2011108603 A1 WO 2011108603A1
Authority
WO
WIPO (PCT)
Prior art keywords
sheet
support member
liquid crystal
crystal display
lighting device
Prior art date
Legal status (The legal status is an assumption and is not a legal conclusion. Google has not performed a legal analysis and makes no representation as to the accuracy of the status listed.)
Ceased
Application number
PCT/JP2011/054789
Other languages
English (en)
French (fr)
Japanese (ja)
Inventor
昌広 横田
健 高橋
修 小野
秀三 松田
孝幸 益永
悠 久保
真也 谷川
Current Assignee (The listed assignees may be inaccurate. Google has not performed a legal analysis and makes no representation or warranty as to the accuracy of the list.)
Toshiba Corp
Original Assignee
Toshiba Corp
Priority date (The priority date is an assumption and is not a legal conclusion. Google has not performed a legal analysis and makes no representation as to the accuracy of the date listed.)
Filing date
Publication date
Application filed by Toshiba Corp filed Critical Toshiba Corp
Publication of WO2011108603A1 publication Critical patent/WO2011108603A1/ja
Anticipated expiration legal-status Critical
Ceased legal-status Critical Current

Links

Images

Classifications

    • GPHYSICS
    • G02OPTICS
    • G02BOPTICAL ELEMENTS, SYSTEMS OR APPARATUS
    • G02B5/00Optical elements other than lenses
    • G02B5/02Diffusing elements; Afocal elements
    • G02B5/0205Diffusing elements; Afocal elements characterised by the diffusing properties
    • G02B5/021Diffusing elements; Afocal elements characterised by the diffusing properties the diffusion taking place at the element's surface, e.g. by means of surface roughening or microprismatic structures
    • G02B5/0226Diffusing elements; Afocal elements characterised by the diffusing properties the diffusion taking place at the element's surface, e.g. by means of surface roughening or microprismatic structures having particles on the surface
    • GPHYSICS
    • G02OPTICS
    • G02FOPTICAL DEVICES OR ARRANGEMENTS FOR THE CONTROL OF LIGHT BY MODIFICATION OF THE OPTICAL PROPERTIES OF THE MEDIA OF THE ELEMENTS INVOLVED THEREIN; NON-LINEAR OPTICS; FREQUENCY-CHANGING OF LIGHT; OPTICAL LOGIC ELEMENTS; OPTICAL ANALOGUE/DIGITAL CONVERTERS
    • G02F1/00Devices or arrangements for the control of the intensity, colour, phase, polarisation or direction of light arriving from an independent light source, e.g. switching, gating or modulating; Non-linear optics
    • G02F1/01Devices or arrangements for the control of the intensity, colour, phase, polarisation or direction of light arriving from an independent light source, e.g. switching, gating or modulating; Non-linear optics for the control of the intensity, phase, polarisation or colour 
    • G02F1/13Devices or arrangements for the control of the intensity, colour, phase, polarisation or direction of light arriving from an independent light source, e.g. switching, gating or modulating; Non-linear optics for the control of the intensity, phase, polarisation or colour  based on liquid crystals, e.g. single liquid crystal display cells
    • G02F1/133Constructional arrangements; Operation of liquid crystal cells; Circuit arrangements
    • G02F1/1333Constructional arrangements; Manufacturing methods
    • G02F1/1335Structural association of cells with optical devices, e.g. polarisers or reflectors
    • G02F1/1336Illuminating devices
    • G02F1/133602Direct backlight
    • G02F1/133606Direct backlight including a specially adapted diffusing, scattering or light controlling members
    • GPHYSICS
    • G02OPTICS
    • G02FOPTICAL DEVICES OR ARRANGEMENTS FOR THE CONTROL OF LIGHT BY MODIFICATION OF THE OPTICAL PROPERTIES OF THE MEDIA OF THE ELEMENTS INVOLVED THEREIN; NON-LINEAR OPTICS; FREQUENCY-CHANGING OF LIGHT; OPTICAL LOGIC ELEMENTS; OPTICAL ANALOGUE/DIGITAL CONVERTERS
    • G02F1/00Devices or arrangements for the control of the intensity, colour, phase, polarisation or direction of light arriving from an independent light source, e.g. switching, gating or modulating; Non-linear optics
    • G02F1/01Devices or arrangements for the control of the intensity, colour, phase, polarisation or direction of light arriving from an independent light source, e.g. switching, gating or modulating; Non-linear optics for the control of the intensity, phase, polarisation or colour 
    • G02F1/13Devices or arrangements for the control of the intensity, colour, phase, polarisation or direction of light arriving from an independent light source, e.g. switching, gating or modulating; Non-linear optics for the control of the intensity, phase, polarisation or colour  based on liquid crystals, e.g. single liquid crystal display cells
    • G02F1/133Constructional arrangements; Operation of liquid crystal cells; Circuit arrangements
    • G02F1/1333Constructional arrangements; Manufacturing methods
    • G02F1/1335Structural association of cells with optical devices, e.g. polarisers or reflectors
    • G02F1/1336Illuminating devices
    • G02F1/133602Direct backlight
    • G02F1/133603Direct backlight with LEDs
    • GPHYSICS
    • G02OPTICS
    • G02FOPTICAL DEVICES OR ARRANGEMENTS FOR THE CONTROL OF LIGHT BY MODIFICATION OF THE OPTICAL PROPERTIES OF THE MEDIA OF THE ELEMENTS INVOLVED THEREIN; NON-LINEAR OPTICS; FREQUENCY-CHANGING OF LIGHT; OPTICAL LOGIC ELEMENTS; OPTICAL ANALOGUE/DIGITAL CONVERTERS
    • G02F1/00Devices or arrangements for the control of the intensity, colour, phase, polarisation or direction of light arriving from an independent light source, e.g. switching, gating or modulating; Non-linear optics
    • G02F1/01Devices or arrangements for the control of the intensity, colour, phase, polarisation or direction of light arriving from an independent light source, e.g. switching, gating or modulating; Non-linear optics for the control of the intensity, phase, polarisation or colour 
    • G02F1/13Devices or arrangements for the control of the intensity, colour, phase, polarisation or direction of light arriving from an independent light source, e.g. switching, gating or modulating; Non-linear optics for the control of the intensity, phase, polarisation or colour  based on liquid crystals, e.g. single liquid crystal display cells
    • G02F1/133Constructional arrangements; Operation of liquid crystal cells; Circuit arrangements
    • G02F1/1333Constructional arrangements; Manufacturing methods
    • G02F1/1335Structural association of cells with optical devices, e.g. polarisers or reflectors
    • G02F1/1336Illuminating devices
    • G02F1/133602Direct backlight
    • G02F1/133606Direct backlight including a specially adapted diffusing, scattering or light controlling members
    • G02F1/133607Direct backlight including a specially adapted diffusing, scattering or light controlling members the light controlling member including light directing or refracting elements, e.g. prisms or lenses

Definitions

  • Embodiments of the present invention relate to a planar illumination device that includes a light source disposed immediately below a light emitting surface and a diffusion member that diffuses the light source image, and emits light on a flat surface or a curved surface, and a liquid crystal display device using the same.
  • a planar illumination device is a device that emits light emitted from a light source from a planar light emitting surface. Such a planar lighting device is used as a lighting device by itself, and is also used in a liquid crystal display device in combination with a liquid crystal display panel.
  • the structure of the lighting device includes a direct type in which light sources such as light emitting diodes (LEDs) and cold cathode fluorescent lamps (CCFLs) are arranged in a plane directly under a planar light emitting surface, and a light source on the side of a plate-shaped light guide.
  • LEDs light emitting diodes
  • CCFLs cold cathode fluorescent lamps
  • side type side type.
  • the direct type is excellent in light use efficiency and is mainly used for illumination
  • the side type is excellent in thinness and is mainly used as a backlight unit of a small and medium-sized liquid crystal display device.
  • a direct illumination device is used for a backlight unit that is large and requires high image quality and power saving.
  • an LED is used as a light source, and a local dimming technique for adjusting the amount of light according to an image and outputting it for each LED or a plurality of LED groups is mounted. As a result, it is possible to suppress black display deterioration due to leaked light and to reduce power consumption.
  • Japanese Patent No. 2582644 Japanese Patent No. 4349442 Japanese Patent No. 3875247 Japanese Patent Laid-Open No. 2001-6416
  • the side type lighting device as described above has a problem in light use efficiency and weight.
  • the light utilization efficiency occurs because the light loss absorbed in the middle increases as the path of the guided light beam becomes longer and complicated. This leads to insufficient light quantity of the product, an increase in light source cost, and a complicated heat generation structure.
  • the weight mainly depends on the thickness of the light guide plate. However, when the thickness is reduced, the above-described light utilization efficiency deteriorates, so that a thickness of about 4 mm is mainly used at present. In the 50-inch class, the light guide plate alone reaches about 4 kg, so that the structure for securing the strength becomes complicated and long, and there is a problem in the weight of the apparatus and the material cost.
  • the problem of light utilization efficiency as in the side type is improved, but the weight problem remains because the thick diffuser is used.
  • the lighting device itself becomes thick, and new problems such as complicated assembly and deterioration of strength reliability due to the installation of the support columns have been caused.
  • the light guide plate is made of a rigid and thick plate member, and the light guide plate is supported and fixed by the support columns. This increases the weight and makes the assembly complicated.
  • the present invention has been made for a direct type lighting device in view of the above points, and its purpose is to first reduce the weight of the lighting device and related problems by a new support means. Secondly, the assembly of the lighting device is simplified and the problem relating to the strength is reduced, and thirdly, an optical auxiliary means is provided to improve the characteristics according to the application.
  • the object of the present invention is to provide a technology that enables a lightweight high-strength backlight unit connected to a wall-mounted TV and a thin high-strength planar lighting device that can be used on the floor or on a desk in the lighting field.
  • An illumination device has a plurality of light sources, at least one optical characteristic of diffusion, refraction, and reflection, an optical member facing the light source, a plurality of irregularities, and the optical member And a sheet-like support member having optical transparency to support.
  • a liquid crystal display device includes a liquid crystal display panel, and the illumination device that is disposed to face the liquid crystal display panel and irradiates the liquid crystal display panel with light.
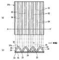
  • FIG. 1 is a cross-sectional view illustrating a liquid crystal display device including a planar illumination device according to the first embodiment.
  • FIG. 2A is a plan view showing a part of a support member in the planar illumination device
  • FIG. 2B is a cross-sectional view taken along line AA ′ in FIG.
  • FIG. 3 is a plan view showing a part of a transmission / reflection layer in the planar illumination device.
  • FIG. 4 is an enlarged plan view showing a part of a support member according to a first modification.
  • FIG. 5 is an enlarged plan view showing a part of a support member according to a second modification.
  • FIG. 6 is a perspective view showing a support member according to the second modification.
  • FIG. 1 is a cross-sectional view illustrating a liquid crystal display device including a planar illumination device according to the first embodiment.
  • FIG. 2A is a plan view showing a part of a support member in the planar illumination device
  • FIG. 2B is
  • FIG. 7 is a sectional view showing a liquid crystal display device provided with a planar illumination device according to the second embodiment of the present invention.
  • FIG. 8 is a cross-sectional view showing a lower support member and a mounting board in the planar lighting device according to the second embodiment.
  • FIG. 9 is a plan view and a cross-sectional view showing an upper support member in the planar illumination device according to the second embodiment.
  • FIG. 10 is a cross-sectional view showing a support member according to a third modification.
  • FIG. 11 is a cross-sectional view showing a support member according to a fourth modification.
  • FIG. 12 is a cross-sectional view showing a support member according to a fifth modification.
  • FIG. 13 is sectional drawing which shows the liquid crystal display device provided with the planar illuminating device which concerns on 3rd Embodiment.
  • FIG. 14 is a cross-sectional view showing a liquid crystal display device provided with the planar illumination device according to the fourth embodiment.
  • FIG. 15 is sectional drawing which shows the liquid crystal display device provided with the planar illuminating device which concerns on 5th Embodiment.
  • FIG. 16 is a cross-sectional view illustrating a liquid crystal display device including the planar illumination device according to the sixth embodiment.
  • FIG. 17 is a cross-sectional view illustrating a planar illumination device according to a seventh embodiment.
  • FIG. 18 is a cross-sectional view illustrating a planar illumination device according to an eighth embodiment.
  • FIG. 19 is a cross-sectional view showing a planar lighting device according to a ninth embodiment of the invention.
  • FIG. 20 is a cross-sectional view showing a planar illumination device according to the tenth embodiment.
  • FIG. 21 is a cross-sectional view illustrating a planar illumination device according to an eleventh embodiment.
  • FIG. 22 is a sectional view showing a liquid crystal display device according to a twelfth embodiment.
  • FIG. 23 is a plan view and a sectional view showing a surface illumination device according to a thirteenth embodiment.
  • FIG. 1 is a cross-sectional view of a liquid crystal display device provided with a planar illumination device according to the first embodiment of the present invention.
  • the liquid crystal display device 90 includes a rectangular liquid crystal display panel 91, and a planar illumination device 92 as a backlight unit disposed facing the back side of the liquid crystal display panel 91.
  • the liquid crystal display panel 91 includes a rectangular array substrate 91a, a rectangular counter substrate 91b arranged to face the array substrate 91a with a gap, and a liquid crystal layer 91c sealed between the array substrate and the counter substrate. I have.
  • Each of the front and back surfaces of the liquid crystal display panel 91 is provided with a polarizing filter.
  • the planar illumination device 92 is provided adjacent to and facing the array substrate 91 a of the liquid crystal display panel 91.
  • the planar lighting device 92 has a size corresponding to the liquid crystal display panel 91, and includes a flat rectangular box-shaped frame 11 having an opening on the upper surface, and a plurality of members provided with the frame 11 as a base. Yes. That is, a plurality of mounting boards 17 are placed side by side on the bottom surface of the frame 11, and a plurality of light sources 12 made of, for example, LEDs are mounted on these mounting boards 17, and are placed side by side at intervals of, for example, 10 to 50 mm. Has been. In addition, a reflective sheet 15 having a thickness of 0.2 mm is disposed on the mounting substrate 17. These reflection sheets 15 are continuously arranged with each other except the portion of the light source 12. Thereby, the several light source 12 is provided in the planar radiation
  • a lower spacer sheet 31 a made of an acrylic transparent sheet having a thickness of 0.3 mm formed in a bellows shape is placed as a sheet-like support member having light transmittance and a large number of irregularities. , Facing the light source 12.
  • the peripheral edge portion of the lower spacer sheet 31 a is supported on the step portion of the frame 11.
  • the light guide sheet 24 made of, for example, an acrylic transparent sheet having a thickness of 0.2 mm is disposed on the lower spacer sheet 31a, and is opposed to the reflective sheet 15 with a predetermined gap by the lower spacer sheet 31a. It is supported by.
  • a transmission / reflection layer 25 is formed over substantially the entire top surface of the light guide sheet 24.
  • An upper spacer sheet 31b made of an acrylic transparent sheet having a thickness of 0.3 mm, for example, formed in a bellows shape is placed on the transmission / reflection layer 25 as a sheet-like support member having optical transparency and a large number of irregularities. Yes.
  • the upper spacer sheet 31b has the same structure as the lower spacer sheet 31a and is formed to have a slightly larger outer diameter than the lower spacer sheet 31a.
  • the peripheral edge portion of the upper spacer sheet 31 b is supported on the peripheral edge portion of the frame 11.
  • a rectangular diffusion sheet 16 having substantially the same size as the liquid crystal display panel 91 is disposed on the upper spacer sheet 31b, and is opposed to the light guide sheet 24 with a predetermined gap by the upper spacer sheet 31b. Is supported.
  • a directivity improving sheet 18 and a polarization selective reflection sheet 19 are laminated in order.
  • the diffusing sheet 16, the directivity improving sheet 18 and the polarization selective reflection sheet 19 constitute a planar radiation surface.
  • optical sheets 18 and 19 above the diffusion sheet 16 have a configuration unique to the liquid crystal display device. When the lighting device is applied to a general lighting device, these optical sheets are omitted, and instead a thick diffusion plate. 16 can be used.
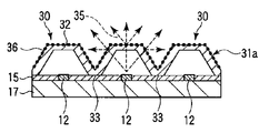
  • FIG. 2A is an enlarged plan view showing a part of the lower spacer sheet 31a
  • FIG. 2B is a view of the spacer sheet and the mounting substrate along the line AA ′ in FIG. It is sectional drawing.
  • the lower spacer sheet 31a and the upper spacer sheet 31b have the same configuration.
  • the lower spacer sheet 31a will be described as a representative.
  • the lower spacer sheet 31a is a 0.3 mm acrylic transparent sheet that has been processed to be uneven according to the arrangement of the light sources 12 by vacuum molding.
  • a plurality of frustoconical convex portions 30 are formed on a flat sheet, They are arranged vertically and horizontally.
  • the lower spacer sheet 31a has a substantial volume of 50% or less with respect to the volume covered with the uneven surface.
  • the lower spacer sheet 31a includes a flat contact region 33 on the lower side (reflection sheet 15 side), a plurality of flat contact regions 32 on the upper side (on the diffusion sheet 16 side), and a plurality of conical side regions connecting them. 34.
  • the upper contact region 32 is formed by the upper surface of each convex portion 30.
  • the side surface region 34 is inclined so that the light beam 35 emitted from the light source 12 approaches vertical incidence, and has a substantially circular curved boundary portion when viewed from above so as to have sufficient strength against the force applied from above and below.
  • the side regions 34 are formed at a light source array interval (10 to 50 mm), and each have a function corresponding to a support column.
  • the lower spacer sheet 31 a is disposed such that the contact region 33 is in contact with the reflection sheet 15 and the plurality of convex portions 30 are coaxially overlapped with the light source 12.
  • the upper spacer sheet 31b having the same configuration is arranged such that the convex portions 31 are coaxially overlapped with the convex portions 30 of the lower spacer sheet 31a.
  • the spacer sheet 31a and the upper spacer sheet 31b since the interval in which the columns, that is, the side regions 34 are arranged is extremely narrow (10 to 50 mm) as compared with the prior art, the adjacently stacked members (light guides) Even if the sheet 24 and the diffusion sheet 16) are thin, these members can be supported stably without causing positional shift due to bending.
  • the intervals between the protrusions 30 serving as support columns are uniform and high in density, uniform strength can be ensured over the entire spacer sheet without worrying about the installation position of the spacer sheet against pressure from above and below. . For the same reason, even if a lighting device with a curved surface is configured, the spacer sheet can support gaps uniformly across the entire surface and ensure the strength.
  • the lower and upper spacer sheets 31a and 31b are made of transparent and uniform sheets, there is basically no refraction and concentration due to absorption or prism action. Therefore, the lower and upper spacer sheets 31a and 31b themselves have a small optical influence, and the luminance distribution change due to the spacer sheet itself is very small.
  • FIG. 3 shows an opening pattern of the transmissive reflection layer 25 formed on the light guide sheet 24.
  • the transmission / reflection layer 25 is formed on the light guide sheet 24 by a printing process using a printing paste containing particles to be reflected and scattered.
  • the transmission / reflection layer 25 includes a transmission part having a plurality of transmission holes 26 formed in a predetermined opening pattern so as to give a predetermined transmittance distribution, and a reflection part that reflects a part of the light.
  • the transmission / reflection layer 25 is formed so that the transmission ratio of light in the upper part (center part) of the light source 12 is smaller than that in the part (end part) away from the light source 12.
  • the transmission / reflection layer 25 is adjusted so as to strongly reflect the strong light on the upper part of the LED 12 and make the luminance of the planar illumination device 10 uniform as a whole.
  • the transmission / reflection layer 25 was printed on a plate-like member in the prior art, it was cut after being set in the printing device one by one, but in the configuration of the present embodiment, the light guide sheet 24 became thin, A roll-like sheet can be handled and formed at a time from printing to cutting in a roll-to-roll process. Further, the uneven shape and material of the spacer sheet 31 can be arbitrarily changed according to the required performance.
  • an optical member that has at least one function of diffusion, refraction, and reflection and faces the planar radiation surface here
  • the light guide sheet 24, the transmission / reflection layer 25, and the diffusion sheet 16 are supported by the lower spacer sheet 31a and the upper spacer sheet 31b having light transmittance and a plurality of irregularities, respectively, so that the optical member is thinned. Even if they are formed, they can be stably supported without displacement. Thereby, an optical member and a structural member can be formed thinly, and the weight of an illuminating device can be reduced.
  • the weight of the resin component in the conventional configuration is 5 kg, but in this embodiment, the weight is reduced to less than 2 kg.
  • the structure and assembly of the lighting device can be simplified. Since the interval between the constituent members is ensured by the light source arrangement interval, it is possible to design a uniform strength over the entire surface of the planar illumination device, and it can also be applied to an illumination device having a curved surface. From the above, it is possible to provide a planar lighting device that is lightweight and has high strength and can be thinned, and a liquid crystal display device including the planar lighting device.
  • 0.3 mm thick sheets are used as the spacer sheets 31a and 31b that function as sheet-like support members.
  • the thickness of the sheets may be increased.
  • seat with uniform board thickness was formed by vacuum forming, when forming by injection molding etc., it is good also as a spacer sheet
  • the diffusion sheet 16 may be a diffusion plate having a thickness.
  • the pressure received can be dispersed over a wide range due to the rigidity of the diffusion plate, and the strength of the lighting device can be ensured by using a thinner spacer sheet. it can.
  • the light guide sheet 24 on which the transmissive reflection layer 25 is formed can also reduce the production cost.
  • the material of the lower and upper spacer sheets 31a and 31b is an acrylic transparent sheet.
  • the material may be selected in consideration of not only the transmittance but also the heat resistance and moisture resistance.
  • a sheet may be used.
  • vacuum forming that can be manufactured at low cost is used as a manufacturing method of the spacer sheet 31.
  • a sheet having unevenness may be manufactured by other manufacturing methods such as injection molding or extrusion molding.
  • FIG. 4 shows an enlarged part of the spacer sheet 31 according to the first modification.
  • circular protrusions 38 are provided between the plurality of convex portions 30 for the purpose of alleviating the bending strength deterioration in the BB ′ section of the spacer sheet 31b shown in FIG. Yes.
  • the bending strength is improved by the bellows structure even in the B-B ′ cross section, and the handling property and the yield of the spacer sheet during assembly are improved.
  • a substantially circular protrusion is used here, the same effect may be obtained by a linear rib, and the arrangement interval of the protrusions is not matched with the light source 12, and may be finer or rougher than the light source arrangement.
  • FIG. 5 shows an enlarged part of the spacer sheet 31 according to the second modification.
  • the spacer sheet 31 according to the second modification is configured so as not to have a bellows structure in the B-B ′ section extending between the adjacent protrusions 30, and is easily bent in the same section. That is, the spacer sheet 31 has a bending moment that is extremely small in the cross section formed by a predetermined straight line or closed curve as compared with other cross sections.
  • Such a configuration is effective in a lighting device formed in a cylindrical curved surface as shown in FIG. 6, and the spacer sheet 31 is bent along a predetermined straight line or a closed curved surface.
  • a region having a low bending moment is arranged in a circle, it can be used for a lighting device formed in a spherical curved surface.
  • FIG. 7 is a cross-sectional view of a liquid crystal display device provided with a planar illumination device according to the second embodiment
  • FIG. 8 is a cross-sectional view of a lower spacer sheet
  • FIGS. 9 (a) and 9 (b) are upper views. It is the top view and sectional drawing of a spacer sheet.
  • the other configurations of the liquid crystal display device are the same as those of the first embodiment described above, and different parts will be described in detail. The same reference numerals as those of the embodiment are attached and detailed description thereof is omitted.
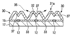
  • the lower spacer sheet 31a has the same shape as that of the first embodiment, but is not a transparent sheet but an opaque sheet including diffusing particles 36.
  • the diffusion particles 36 are particles having a refractive index of about 10 ⁇ m which are different from those of the acrylic base material, and are mixed in the acrylic base material.
  • the mean free path of scattering of the diffusing particles 36 is adjusted to about 0.002 to 0.2 mm, and the transmittance of the 0.3 mm thick sheet is set to about 50 to 90%. Thereby, the light beam 35 emitted from the light source 12 is scattered to the periphery by the lower spacer sheet 31a, and the burden on the transmission / reflection layer 25 is reduced.
  • the upper spacer sheet 31b is provided with a plurality of rib-shaped protrusions 30 extending in the same direction on an acrylic transparent sheet having a thickness of 0.3 mm.
  • the inclination accuracy of each convex portion 30 is made uniform at about 20 to 70 degrees, the height is set to 1 to 4 mm, and the interval between the convex portions is set to about 1 to 4 mm.
  • the upper spacer sheet 31b having a uniform thickness does not collect light due to the prism action, and thus uneven brightness does not occur.
  • the upper spacer sheet 31b has a configuration in which the side region 34 having a uniform inclination angle is increased as much as possible and the upper and lower plane regions are reduced as much as possible. Therefore, the reflectance does not change depending on the angle of incidence on the upper spacer sheet 31b, and the difference in reflectance due to the inclination of the convex portion 30 is eliminated between the side surface region and the upper and lower planar regions, and luminance unevenness between both regions is eliminated. Can be reduced. Further, the pitch of the unevenness is made as fine as about 4 mm so as to make it inconspicuous by the diffusion sheet 16 or the like.
  • the reason why the upper spacer sheet 31b is configured as a ridge is to increase the number of rays incident on the spacer sheet 31b in the vicinity of the Brewster angle and effectively use it on the front liquid crystal display panel 91 in addition to the purpose of increasing the side surface of the uniform inclination angle described above. This is to increase the light emitted.
  • light rays emitted from the lower light guide sheet 24 are directed in various directions, the vertical direction of the light guide sheet 24 is mainly strongest.
  • the light beam 35 emitted in the front is easily reflected by the spacer sheet 31b in parallel with the parallel light, and easily transmitted by the vertical polarized light.
  • the reflected parallel polarized light is reflected back to the back surface again, and returns with a vertical polarization component.
  • This effect is not as effective as the polarization selective reflection sheet 19 because the light emitted from the light guide sheet 24 has various directions, and the polarization is slightly disturbed by the diffusion sheet 16, but it causes a large loss.
  • the light emitted from the backlight unit can be polarized. Thereby, the ratio of the light beam reflected by the polarization selective reflection sheet can be reduced, and a liquid crystal display device with improved light utilization efficiency can be realized.
  • the lower spacer sheet 31a may be configured by coating the surface of a transparent sheet with diffusion particles 36 as in the third modification shown in FIG. Further, the surface of the transparent sheet may be subjected to fine uneven processing to disperse the refraction angle. In either case, light can be scattered by the spacer sheet 31a to reduce the burden on the transmission / reflection layer 25. Further, the scattering particle coating or surface treatment may be performed on one side or both sides of the spacer sheet.
  • a small concave portion 37 is provided in the contact region 32 of each convex portion 30 facing the light source 12, and just above the light source 12. It may be arranged.
  • the concave portion 37 can increase the incident angle of light on the lower spacer sheet 31 a by its shape itself, and has an effect of dispersing a strong light beam emitted directly above the light source 12 by increasing a reflection component.
  • the concave portion 37 is strong enough to increase the path length through which the light beam traveling directly above the light source 12 passes through the lower spacer sheet 31a. As a result, the burden on the transmission / reflection layer 25 can be reduced.
  • FIG. 13 is a cross-sectional view of a liquid crystal display device including the planar illumination device according to the third embodiment.
  • the third embodiment except for the configuration of the spacer sheet, other configurations of the liquid crystal display device are the same as those of the first embodiment described above, and different parts will be described in detail. The same reference numerals as those of the embodiment are attached and detailed description thereof is omitted.
  • the light guide sheet 24 on which the transmission / reflection layer 25 is formed is formed so as to also function as the spacer sheet 31.
  • the configuration and principle other than the light guide sheet 24 that also serves as the spacer sheet 31 are the same as those in the first embodiment.
  • the light guide sheet 24 has a plurality of protrusions 30a that protrude toward the reflection sheet 15 and a plurality of protrusions 30b that protrude toward the diffusion sheet 16, respectively. These convex portions 30a and 30b are provided so as to face a portion between the adjacent light sources 12 where the aperture ratio of the transmission / reflection layer 25 is high and the aperture ratio changes gently.
  • the bottom surface of each convex portion 30 a forms a lower contact region 33 and is in contact with the reflection sheet 15.
  • the upper surface of the upper convex portion 30 b forms a contact region 32 and is in contact with the diffusion sheet 16.
  • the diffusion sheet 16 is supported by the light guide sheet 24 serving also as the spacer sheet so as to face the reflection sheet 15 with a predetermined interval.
  • the number of sheets to be stacked can be reduced, and the lighting device can be further reduced in weight and thickness.
  • the effect similar to 1st Embodiment can be acquired.
  • the spacer sheet formation part of the light guide sheet 24, ie, a convex part, is provided in the upper and lower surfaces of the light guide sheet 24, it is not restricted to this, It is good also as a structure provided only in the single side
  • FIG. 14 is a cross-sectional view of a liquid crystal display device including the planar illumination device according to the fourth embodiment.
  • the spacer sheet 31 has a bellows configuration with an uneven height of about 50 mm.
  • the unevenness arrangement interval of the spacer sheet 31 corresponds to the arrangement pitch of the light sources 12.
  • the spacer sheet 31 is placed on the reflection sheet 15, and a thin diffusion sheet 16 is supported on the spacer sheet 31. Thick diffusers and struts are eliminated.
  • the transmission / reflection layer is not used, and the spacer sheet 31 as a support member is configured to support the diffusion sheet 16.
  • FIG. 15 is a cross-sectional view of a liquid crystal display device including the planar illumination device according to the fifth embodiment.
  • the uneven arrangement interval of the spacer sheet 31 is twice the arrangement pitch of the light sources 12. Thereby, the aspect ratio of the diaphragm at the time of vacuum forming of the spacer sheet 31 is halved, and the conditions under which the spacer sheet can be formed can be widened.
  • FIG. 16 is a cross-sectional view of a liquid crystal display device including the planar illumination device according to the sixth embodiment.
  • the spacer sheet 31 c having a large number of irregularities and the flat spacer sheet 31 d are disposed between the reflection sheet 15 and the diffusion sheet 16 so as to overlap each other. Thereby, the height of the unevenness
  • seat 31c is made low, and the amount of drawing at the time of vacuum forming is reduced.
  • the other configurations of the liquid crystal display device are the same as those of the first embodiment, and the same reference numerals as those of the first embodiment are given to the same portions. A detailed description thereof will be omitted.
  • FIG. 17 is a cross-sectional view of the planar illumination device according to the seventh embodiment.
  • the planar illumination device 92 includes a flat box-shaped frame 11 having an open top surface and a plurality of members provided with the frame 11 as a base. That is, a plurality of mounting boards 17 are placed side by side on the bottom surface of the frame 11, and a plurality of light sources 12 made of, for example, LEDs are mounted on these mounting boards 17, and are placed side by side at intervals of, for example, 10 to 50 mm. Has been.
  • a reflective sheet 15 having a thickness of 0.2 mm is disposed on the mounting substrate 17.
  • reflection sheets 15 are continuously arranged with each other except the portion of the light source 12. Thereby, the several light source 12 is provided in the planar radiation
  • the mounting substrate 17 is divided into a plurality of parts, the present invention is not limited to this, and the mounting board 17 may be composed of a single piece.
  • a rectangular diffusion plate 20 is disposed so as to close the upper opening of the frame 11 and is supported on the peripheral edge of the frame 11.
  • the diffusion plate 20 faces the light source 12 and the reflection sheet 15 substantially in parallel with a gap.
  • the diffusion plate 20 constitutes a planar radiation surface, and here, a flat rectangular radiation surface.
  • a rectangular light guide sheet 24 made of, for example, an acrylic transparent sheet having a thickness of 0.2 mm is disposed between the reflection sheet 15 and the diffusion plate 20 and faces the reflection sheet 15 with a gap.
  • a transmission / reflection layer 25 is formed over substantially the entire upper surface of the light guide sheet 24, that is, the surface on the diffusion plate 20 side.
  • a spacer sheet 31 made of an acrylic transparent sheet having a thickness of 0.3 mm formed in a bellows shape. Is arranged.
  • the spacer sheet 31 has a large number of protrusions 30 protruding toward the light guide sheet 24, and contact areas 32 formed by the upper surfaces of the protrusions 30 are fixed to the light guide sheet 24. Further, the contact regions 33 on the diffusion plate 30 side of the spacer sheet 31 are respectively fixed to the diffusion plate 30.
  • the peripheral edge of the spacer sheet 31 is supported by the frame 11. Thereby, the light guide sheet 24 is supported by the spacer sheet 31 so as to face the diffusion plate with a predetermined gap.
  • the lighting device 92 has a size of 500 mm or less, which is not required to be as large as the backlight unit, but rather has a strong demand for thinning.
  • a light guide sheet 24 on which a transmission / reflection layer 25 for thinning is formed is provided, and a spacer sheet 31 is used as a member for supporting the light guide sheet 24.
  • the spacer sheet 31, the light guide sheet 24, and the diffusion plate 20 are bonded and fixed to each other with a transparent adhesive, and the light guide sheet 24 is supported by the spacer sheet 31 at a predetermined interval.
  • FIG. 18 is a cross-sectional view of the planar illumination device according to the eighth embodiment.
  • the spacer sheet 31 is formed by the light guide sheet 24, and the light guide sheet has a support function. That is, the light guide sheet 24 has a large number of protrusions 30 protruding toward the diffusion plate 20, and a contact region 32 formed by the upper surface of each protrusion is fixed to the diffusion plate 20. According to such a configuration, the number of optical sheets can be reduced, and the configuration of the lighting device can be simplified and further thinned.
  • FIG. 19 is a cross-sectional view of a planar illumination device according to the ninth embodiment.
  • the spacer sheet 31 is disposed between the light guide sheet 24 and the reflection sheet 15, and is bonded and fixed to the light guide sheet 24 and the reflection sheet 15.
  • the light guide sheet 24 is supported by the spacer sheet 31 with a predetermined distance from the light source 12. Even in such a configuration, the same effects as those of the seventh embodiment can be obtained.
  • FIG. 20 is a cross-sectional view of the planar illumination device according to the tenth embodiment.
  • the light guide sheet 24 having the function of the spacer sheet 31 on the light guide sheet 24 and having the transmission / reflection layer 25 formed on the surface thereof is disposed on the light source 12 side, that is, on the reflection sheet 15. I support it.
  • a sparse light source illuminating device in which LED chips are aggregated is shown, but in the illuminating device having such a configuration, the original diffusion plate 20 has a certain degree of rigidity. Therefore, it is more important for the spacer sheet 31 to appropriately position the transmission / reflection layer 25 for thickness reduction than the function of supporting the diffusion member.
  • the structure in which the light guide sheet 24 that also serves as the sheet-like spacer sheet 31 is placed on the base material of the light source 12 can realize a reduction in thickness and increase productivity.
  • FIG. 21 is a cross-sectional view of the planar illumination device according to the eleventh embodiment.
  • the spacer sheet 31 that also serves as the transmission / reflection layer 25 may have a function of supporting the diffusion plate 20, and the diffusion plate may be thinned by supporting the spacer sheet 31.
  • the base material on the light source 12 side, here, the reflection sheet 15 is not limited to be flat, but as shown in FIG. 21, the spacer sheet 31 is installed on the reflection sheet 15 formed in an uneven shape. Also good.
  • FIG. 22 is a cross-sectional view of a liquid crystal display device including the planar illumination device according to the twelfth embodiment.
  • the planar illumination device 92 is placed on the reflection sheet 15 and is placed on the lower spacer sheet (support member) 31a that also serves as the transmission / reflection layer 25, and on the lower spacer sheet 31a.
  • the upper spacer sheet (support member) 31b is provided, and the diffusion sheet 16 is supported by the upper spacer sheet 31b.
  • a directivity improving sheet 18 and a polarization selective reflection sheet 19 are laminated in order.
  • the diffusing sheet 16, the directivity improving sheet 18 and the polarization selective reflection sheet 19 constitute a planar radiation surface.
  • the upper spacer sheet 31b is the same as the upper spacer sheet in the second embodiment shown in FIG.
  • the liquid crystal display device 90 is configured to adjust the lighting brightness by dividing the individual light sources 12 into a plurality of groups according to the display image.
  • the lower spacer sheet 31a has a plurality of regions that protrude toward the reflecting sheet 15a, and these regions constitute side walls 31d that divide the group according to the group of the light sources 12 that are collectively adjusted.
  • the transmission / reflection layer 25 has a region 25a that faces each normal light source 12 to make the light luminance uniform, and a region 25b that shields between groups of the light sources 12 that adjust the lighting luminance.
  • the region 25b is formed on the surface of the side wall 31d and functions to suppress and control light leaking from the adjacent lighting luminance region. Thereby, in the liquid crystal display device that adjusts the lighting luminance by dividing the light source 12 into groups, a luminance profile for each desired region can be formed.
  • the other configuration of the liquid crystal display device is the same as that of the above-described second embodiment, and the same portions are denoted by the same reference numerals and detailed description thereof is omitted.
  • FIG. 23A is a plan view of a planar illumination device according to the thirteenth embodiment
  • FIG. 23B is a cross-sectional view taken along line EE of FIG.
  • This embodiment is an illumination device that constitutes a two-color bulletin board.
  • This illuminating device does not display a pattern with a conventional color selective absorption filter, but displays two-color patterns 16a and 16b with transmission and reflection layers 25a and 25b formed on a spacer sheet 31 as a support member.
  • the surface diffusing plate 16 forming the planar radiation surface does not use any color selective absorption filter.
  • the spacer sheet 31 has a plurality of projections and depressions, is placed on the reflection sheet 15, and supports the diffusion plate 16 provided facing the light sources 12a and 12b.
  • the unevenness of the spacer sheet 31 has a delimiter portion 31c formed along the color boundary in accordance with the symbols 16a and 16b, and a high-shielding transmission / reflection layer 25b is formed on the delimiter portion 31c.
  • a transmission / reflection layer 25a is formed to make the light luminance uniform.
  • the transmission / reflection layers 25a and 25b are also formed on the surface of the spacer sheet 31 on the diffusion plate 16 side.
  • two types of light sources 12a and 12b having different wavelengths to be emitted are provided, one light source 12b is disposed in a region facing the region surrounded by the transmission / reflection layer 25b, and the other light source 12a is disposed. It arrange
  • the transmission / reflection layer 25b suppresses light leakage between these areas, and displays the desired symbols 16a and 16b. Thereby, it is possible to provide a simpler and power-saving bulletin board illumination device.
  • the other configuration of the lighting apparatus is the same as that of the second embodiment described above, and the same reference numerals are given to the same portions, and detailed description thereof is omitted.
  • the present invention is not limited to the above-described embodiment as it is, and can be embodied by modifying the constituent elements without departing from the scope of the invention in the implementation stage.
  • various inventions can be formed by appropriately combining a plurality of components disclosed in the embodiment. For example, some components may be deleted from all the components shown in the embodiment.
  • constituent elements over different embodiments may be appropriately combined.
  • the LED as the point light source may be white or monochromatic, and the type of LED is not limited.

Landscapes

  • Physics & Mathematics (AREA)
  • Nonlinear Science (AREA)
  • General Physics & Mathematics (AREA)
  • Optics & Photonics (AREA)
  • Mathematical Physics (AREA)
  • Chemical & Material Sciences (AREA)
  • Crystallography & Structural Chemistry (AREA)
  • Planar Illumination Modules (AREA)
  • Liquid Crystal (AREA)
  • Optical Elements Other Than Lenses (AREA)
PCT/JP2011/054789 2010-03-03 2011-03-02 面状照明装置およびこれを備えた液晶表示装置 Ceased WO2011108603A1 (ja)

Applications Claiming Priority (2)

Application Number Priority Date Filing Date Title
JP2010-047019 2010-03-03
JP2010047019A JP5127851B2 (ja) 2010-03-03 2010-03-03 面状照明装置およびこれを備えた液晶表示装置

Publications (1)

Publication Number Publication Date
WO2011108603A1 true WO2011108603A1 (ja) 2011-09-09

Family

ID=44542250

Family Applications (1)

Application Number Title Priority Date Filing Date
PCT/JP2011/054789 Ceased WO2011108603A1 (ja) 2010-03-03 2011-03-02 面状照明装置およびこれを備えた液晶表示装置

Country Status (2)

Country Link
JP (1) JP5127851B2 (enExample)
WO (1) WO2011108603A1 (enExample)

Cited By (4)

* Cited by examiner, † Cited by third party
Publication number Priority date Publication date Assignee Title
CN107238971A (zh) * 2017-06-16 2017-10-10 厦门天马微电子有限公司 组合导光板、背光组件和显示面板
CN108604026A (zh) * 2015-12-31 2018-09-28 纳米系统公司 用于显示器件的背光单元
CN112241087A (zh) * 2019-07-19 2021-01-19 船井电机株式会社 照明装置和显示装置
EP3767384A1 (en) * 2019-07-19 2021-01-20 Funai Electric Co., Ltd. Lighting device and display device

Families Citing this family (7)

* Cited by examiner, † Cited by third party
Publication number Priority date Publication date Assignee Title
TWI589962B (zh) * 2011-11-04 2017-07-01 奇菱光電股份有限公司 直下式背光模組
JP6065418B2 (ja) * 2012-06-12 2017-01-25 凸版印刷株式会社 有機el発光体
US20180299731A1 (en) * 2015-04-28 2018-10-18 Sharp Kabushiki Kaisha Direct-type backlight device and liquid crystal display device
JP2019075193A (ja) * 2016-03-10 2019-05-16 パナソニックIpマネジメント株式会社 バックライト装置及び液晶表示装置
US20200133074A1 (en) * 2017-04-27 2020-04-30 Sharp Kabushiki Kaisha Lighting device and display device
EP3978994B1 (en) * 2017-05-03 2023-10-25 Apple Inc. Backlight units with support posts and cavity height monitoring
JP2019153436A (ja) 2018-03-01 2019-09-12 シャープ株式会社 照明装置および表示装置

Citations (2)

* Cited by examiner, † Cited by third party
Publication number Priority date Publication date Assignee Title
WO2007148508A1 (ja) * 2006-06-21 2007-12-27 Idemitsu Kosan Co., Ltd. 光線反射用多層シート、これを用いた反射器、照明装置及び液晶表示装置
JP2008226636A (ja) * 2007-03-13 2008-09-25 Sharp Corp バックライトユニットおよび液晶表示装置

Patent Citations (2)

* Cited by examiner, † Cited by third party
Publication number Priority date Publication date Assignee Title
WO2007148508A1 (ja) * 2006-06-21 2007-12-27 Idemitsu Kosan Co., Ltd. 光線反射用多層シート、これを用いた反射器、照明装置及び液晶表示装置
JP2008226636A (ja) * 2007-03-13 2008-09-25 Sharp Corp バックライトユニットおよび液晶表示装置

Cited By (8)

* Cited by examiner, † Cited by third party
Publication number Priority date Publication date Assignee Title
CN108604026A (zh) * 2015-12-31 2018-09-28 纳米系统公司 用于显示器件的背光单元
JP2019503558A (ja) * 2015-12-31 2019-02-07 ナノシス・インク. 表示装置用のバックライトユニット
CN107238971A (zh) * 2017-06-16 2017-10-10 厦门天马微电子有限公司 组合导光板、背光组件和显示面板
CN112241087A (zh) * 2019-07-19 2021-01-19 船井电机株式会社 照明装置和显示装置
EP3767383A1 (en) * 2019-07-19 2021-01-20 Funai Electric Co., Ltd. Lighting device and display device
EP3767384A1 (en) * 2019-07-19 2021-01-20 Funai Electric Co., Ltd. Lighting device and display device
US10996513B2 (en) 2019-07-19 2021-05-04 Funai Electric Co., Ltd. Lighting device and display device
CN112241087B (zh) * 2019-07-19 2023-08-11 船井电机株式会社 照明装置和显示装置

Also Published As

Publication number Publication date
JP5127851B2 (ja) 2013-01-23
JP2011181464A (ja) 2011-09-15

Similar Documents

Publication Publication Date Title
JP5127851B2 (ja) 面状照明装置およびこれを備えた液晶表示装置
JP5154695B2 (ja) 照明装置、表示装置、及びテレビ受信装置
US9341766B2 (en) Lighting device, display device and television device
US20120013811A1 (en) Lighting device, display device and television receiver
US8506148B2 (en) Lighting device, display device and television receiver
JP4461197B1 (ja) 面状照明装置およびこれを備えた液晶表示装置
US20220113591A1 (en) Diffusion plate and backlight module
US20120075551A1 (en) Lighting device, display device and television receiver
US20120236213A1 (en) Lighting device, display device and television receiver
JP5138813B2 (ja) 照明装置、表示装置、及びテレビ受信装置
KR102266737B1 (ko) 렌즈, 렌즈를 포함하는 발광 장치, 및 발광 장치를 포함하는 백 라이트 유닛
US20130050587A1 (en) Lighting device, display device and television receiver
JP2010108601A (ja) 面状光源及び液晶表示装置
US8405796B2 (en) Illumination device, surface light source device, and liquid crystal display device
CN110632698A (zh) 照明装置和显示装置
JP2010102905A (ja) 面状光源及び液晶表示装置
KR20150066847A (ko) 광속 제어 부재, 발광 장치 및 표시장치
TWI701486B (zh) 背光模組及具有背光模組之顯示裝置
TW202131051A (zh) 配光控制元件
KR100813255B1 (ko) 고출력 도광판 및 이를 채용한 백라이트 유닛
KR20120052627A (ko) 액정표시장치
WO2019021952A1 (ja) 照明装置及び表示装置
CN205028004U (zh) 背光模组与显示装置
WO2011114790A1 (ja) 照明装置、表示装置及びテレビ受信装置
WO2013088594A1 (ja) バックライト装置および液晶表示装置

Legal Events

Date Code Title Description
121 Ep: the epo has been informed by wipo that ep was designated in this application

Ref document number: 11750712

Country of ref document: EP

Kind code of ref document: A1

NENP Non-entry into the national phase

Ref country code: DE

122 Ep: pct application non-entry in european phase

Ref document number: 11750712

Country of ref document: EP

Kind code of ref document: A1