USRE49167E1 - Passivation structure for semiconductor devices - Google Patents

Passivation structure for semiconductor devices Download PDF

Info

Publication number
USRE49167E1
USRE49167E1 US16/681,044 US201916681044A USRE49167E US RE49167 E1 USRE49167 E1 US RE49167E1 US 201916681044 A US201916681044 A US 201916681044A US RE49167 E USRE49167 E US RE49167E
Authority
US
United States
Prior art keywords
layer
silicon nitride
schottky
silicon
nitride layer
Prior art date
Legal status (The legal status is an assumption and is not a legal conclusion. Google has not performed a legal analysis and makes no representation as to the accuracy of the status listed.)
Active
Application number
US16/681,044
Inventor
Van Mieczkowski
Jonathan Young
Qingchun Zhang
John Williams Palmour
Current Assignee (The listed assignees may be inaccurate. Google has not performed a legal analysis and makes no representation or warranty as to the accuracy of the list.)
Wolfspeed Inc
Original Assignee
Wolfspeed Inc
Priority date (The priority date is an assumption and is not a legal conclusion. Google has not performed a legal analysis and makes no representation as to the accuracy of the date listed.)
Filing date
Publication date
Priority claimed from US13/644,506 external-priority patent/US8994073B2/en
Priority claimed from US13/804,126 external-priority patent/US9812338B2/en
Priority to US16/681,044 priority Critical patent/USRE49167E1/en
Application filed by Wolfspeed Inc filed Critical Wolfspeed Inc
Assigned to WOLFSPEED, INC. reassignment WOLFSPEED, INC. CHANGE OF NAME Assignors: CREE, INC.
Application granted granted Critical
Publication of USRE49167E1 publication Critical patent/USRE49167E1/en
Assigned to U.S. BANK TRUST COMPANY, NATIONAL ASSOCIATION reassignment U.S. BANK TRUST COMPANY, NATIONAL ASSOCIATION SECURITY INTEREST Assignors: WOLFSPEED, INC.
Assigned to U.S. BANK TRUST COMPANY, NATIONAL ASSOCIATION, AS COLLATERAL AGENT reassignment U.S. BANK TRUST COMPANY, NATIONAL ASSOCIATION, AS COLLATERAL AGENT NOTICE OF GRANT OF SECURITY INTEREST IN INTELLECTUAL PROPERTY Assignors: WOLFSPEED, INC.
Assigned to U.S. BANK TRUST COMPANY, NATIONAL ASSOCIATION, AS COLLATERAL AGENT reassignment U.S. BANK TRUST COMPANY, NATIONAL ASSOCIATION, AS COLLATERAL AGENT NOTICE OF GRANT OF SECURITY INTEREST IN INTELLECTUAL PROPERTY Assignors: WOLFSPEED, INC.
Assigned to WOLFSPEED, INC. reassignment WOLFSPEED, INC. RELEASE OF SECURITY INTEREST IN INTELLECTUAL PROPERTY COLLATERAL AT REEL/FRAME NO. 64185/0755 Assignors: U.S. BANK TRUST COMPANY, NATIONAL ASSOCIATION, AS COLLATERAL AGENT
Assigned to U.S. BANK TRUST COMPANY, NATIONAL ASSOCIATION, AS COLLATERAL AGENT reassignment U.S. BANK TRUST COMPANY, NATIONAL ASSOCIATION, AS COLLATERAL AGENT NOTICE OF GRANT OF SECURITY INTEREST IN INTELLECTUAL PROPERTY Assignors: WOLFSPEED, INC.
Assigned to U.S. BANK TRUST COMPANY, NATIONAL ASSOCIATION, AS COLLATERAL AGENT reassignment U.S. BANK TRUST COMPANY, NATIONAL ASSOCIATION, AS COLLATERAL AGENT NOTICE OF GRANT OF SECURITY INTEREST IN INTELLECTUAL PROPERTY Assignors: WOLFSPEED, INC.
Active legal-status Critical Current
Anticipated expiration legal-status Critical

Links

Images

Classifications

    • H01L29/872
    • HELECTRICITY
    • H10SEMICONDUCTOR DEVICES; ELECTRIC SOLID-STATE DEVICES NOT OTHERWISE PROVIDED FOR
    • H10DINORGANIC ELECTRIC SEMICONDUCTOR DEVICES
    • H10D8/00Diodes
    • H10D8/60Schottky-barrier diodes 
    • HELECTRICITY
    • H01ELECTRIC ELEMENTS
    • H01LSEMICONDUCTOR DEVICES NOT COVERED BY CLASS H10
    • H01L21/00Processes or apparatus adapted for the manufacture or treatment of semiconductor or solid state devices or of parts thereof
    • H01L21/02Manufacture or treatment of semiconductor devices or of parts thereof
    • H01L21/02104Forming layers
    • H01L21/02107Forming insulating materials on a substrate
    • H01L21/02109Forming insulating materials on a substrate characterised by the type of layer, e.g. type of material, porous/non-porous, pre-cursors, mixtures or laminates
    • H01L21/022Forming insulating materials on a substrate characterised by the type of layer, e.g. type of material, porous/non-porous, pre-cursors, mixtures or laminates the layer being a laminate, i.e. composed of sublayers, e.g. stacks of alternating high-k metal oxides
    • HELECTRICITY
    • H01ELECTRIC ELEMENTS
    • H01LSEMICONDUCTOR DEVICES NOT COVERED BY CLASS H10
    • H01L21/00Processes or apparatus adapted for the manufacture or treatment of semiconductor or solid state devices or of parts thereof
    • H01L21/02Manufacture or treatment of semiconductor devices or of parts thereof
    • H01L21/04Manufacture or treatment of semiconductor devices or of parts thereof the devices having potential barriers, e.g. a PN junction, depletion layer or carrier concentration layer
    • H01L21/0445Manufacture or treatment of semiconductor devices or of parts thereof the devices having potential barriers, e.g. a PN junction, depletion layer or carrier concentration layer the devices having semiconductor bodies comprising crystalline silicon carbide
    • H01L21/045Manufacture or treatment of semiconductor devices or of parts thereof the devices having potential barriers, e.g. a PN junction, depletion layer or carrier concentration layer the devices having semiconductor bodies comprising crystalline silicon carbide passivating silicon carbide surfaces
    • H01L29/0619
    • H01L29/0692
    • H01L29/1608
    • H01L29/6606
    • HELECTRICITY
    • H10SEMICONDUCTOR DEVICES; ELECTRIC SOLID-STATE DEVICES NOT OTHERWISE PROVIDED FOR
    • H10DINORGANIC ELECTRIC SEMICONDUCTOR DEVICES
    • H10D62/00Semiconductor bodies, or regions thereof, of devices having potential barriers
    • H10D62/10Shapes, relative sizes or dispositions of the regions of the semiconductor bodies; Shapes of the semiconductor bodies
    • H10D62/102Constructional design considerations for preventing surface leakage or controlling electric field concentration
    • H10D62/103Constructional design considerations for preventing surface leakage or controlling electric field concentration for increasing or controlling the breakdown voltage of reverse-biased devices
    • H10D62/105Constructional design considerations for preventing surface leakage or controlling electric field concentration for increasing or controlling the breakdown voltage of reverse-biased devices by having particular doping profiles, shapes or arrangements of PN junctions; by having supplementary regions, e.g. junction termination extension [JTE] 
    • H10D62/106Constructional design considerations for preventing surface leakage or controlling electric field concentration for increasing or controlling the breakdown voltage of reverse-biased devices by having particular doping profiles, shapes or arrangements of PN junctions; by having supplementary regions, e.g. junction termination extension [JTE]  having supplementary regions doped oppositely to or in rectifying contact with regions of the semiconductor bodies, e.g. guard rings with PN or Schottky junctions
    • HELECTRICITY
    • H10SEMICONDUCTOR DEVICES; ELECTRIC SOLID-STATE DEVICES NOT OTHERWISE PROVIDED FOR
    • H10DINORGANIC ELECTRIC SEMICONDUCTOR DEVICES
    • H10D62/00Semiconductor bodies, or regions thereof, of devices having potential barriers
    • H10D62/10Shapes, relative sizes or dispositions of the regions of the semiconductor bodies; Shapes of the semiconductor bodies
    • H10D62/124Shapes, relative sizes or dispositions of the regions of semiconductor bodies or of junctions between the regions
    • H10D62/126Top-view geometrical layouts of the regions or the junctions
    • HELECTRICITY
    • H10SEMICONDUCTOR DEVICES; ELECTRIC SOLID-STATE DEVICES NOT OTHERWISE PROVIDED FOR
    • H10DINORGANIC ELECTRIC SEMICONDUCTOR DEVICES
    • H10D62/00Semiconductor bodies, or regions thereof, of devices having potential barriers
    • H10D62/80Semiconductor bodies, or regions thereof, of devices having potential barriers characterised by the materials
    • H10D62/83Semiconductor bodies, or regions thereof, of devices having potential barriers characterised by the materials being Group IV materials, e.g. B-doped Si or undoped Ge
    • H10D62/832Semiconductor bodies, or regions thereof, of devices having potential barriers characterised by the materials being Group IV materials, e.g. B-doped Si or undoped Ge being Group IV materials comprising two or more elements, e.g. SiGe
    • H10D62/8325Silicon carbide
    • HELECTRICITY
    • H10SEMICONDUCTOR DEVICES; ELECTRIC SOLID-STATE DEVICES NOT OTHERWISE PROVIDED FOR
    • H10DINORGANIC ELECTRIC SEMICONDUCTOR DEVICES
    • H10D8/00Diodes
    • H10D8/01Manufacture or treatment
    • H10D8/051Manufacture or treatment of Schottky diodes
    • H10P14/662
    • H01L29/47
    • H01L29/7395
    • H01L29/744
    • HELECTRICITY
    • H10SEMICONDUCTOR DEVICES; ELECTRIC SOLID-STATE DEVICES NOT OTHERWISE PROVIDED FOR
    • H10DINORGANIC ELECTRIC SEMICONDUCTOR DEVICES
    • H10D12/00Bipolar devices controlled by the field effect, e.g. insulated-gate bipolar transistors [IGBT]
    • H10D12/411Insulated-gate bipolar transistors [IGBT]
    • H10D12/441Vertical IGBTs
    • HELECTRICITY
    • H10SEMICONDUCTOR DEVICES; ELECTRIC SOLID-STATE DEVICES NOT OTHERWISE PROVIDED FOR
    • H10DINORGANIC ELECTRIC SEMICONDUCTOR DEVICES
    • H10D18/00Thyristors
    • H10D18/60Gate-turn-off devices 
    • HELECTRICITY
    • H10SEMICONDUCTOR DEVICES; ELECTRIC SOLID-STATE DEVICES NOT OTHERWISE PROVIDED FOR
    • H10DINORGANIC ELECTRIC SEMICONDUCTOR DEVICES
    • H10D64/00Electrodes of devices having potential barriers
    • H10D64/60Electrodes characterised by their materials
    • H10D64/64Electrodes comprising a Schottky barrier to a semiconductor
    • H10W72/983

Definitions

  • the present disclosure relates to semiconductor devices, and in particular to passivation of such devices.
  • Semiconductor devices such as Schottky diodes and field effect transistors (FETs) are often used in systems that are exposed to a variety of harsh environmental conditions. In addition to being exposed to extreme temperature and humidity ranges as well as a host of environmental elements, such as water, oxygen, and hydrogen, the devices are often required to operate at or near their rated currents and voltages over extended periods of time. Operating in extreme environmental conditions and at elevated levels often leads to deterioration in performance and failure of the devices.
  • a Schottky diode that includes a silicon carbide substrate, a silicon carbide drift layer, a Schottky contact, and a passivation structure.
  • the silicon carbide drift layer provides an active region and an edge termination region about the active region.
  • the Schottky contact has sides and a top extending between the two sides and includes a Schottky layer over the active region and an anode contact over the Schottky layer.
  • the passivation structure covers the edge termination region, the sides of the Schottky contact, and at least a portion of the top of the Schottky contact.
  • the passivation structure includes a first silicon nitride layer, a silicon dioxide layer over the first silicon nitride layer, and a second silicon nitride layer over the silicon dioxide layer.
  • an oxide layer is provided between the passivation structure and the silicon carbide drift layer.
  • the oxide layer extends outward from the sides of the Schottky contact over the edge termination region.
  • the oxide layer may be silicon dioxide.
  • the oxide layer may be thermally grown while the first silicon nitride layer, the silicon dioxide layer, and the second silicon nitride layer of the passivation structure may be deposited over the thermally grown oxide layer during a single plasma enhanced chemical vapor deposition (PECVD) process.
  • PECVD plasma enhanced chemical vapor deposition
  • the thickness of the first silicon nitride layer is greater than the thickness of the second silicon nitride layer, and the thickness of the second silicon nitride layer is greater than the thickness of the silicon dioxide layer.
  • the thickness of the first silicon nitride layer may be between about 6400 and 9600 Angstroms
  • the thickness of the silicon dioxide layer may be between about 900 and 1100 Angstroms
  • the thickness of the second silicon nitride layer may be between about 2400 and 3600 Angstroms.
  • an index of refraction for the first silicon nitride layer may be between about 1.95 and 2.15
  • an index of refraction for the silicon dioxide layer may be between about 1.45 and 1.5
  • an index of refraction for the second silicon dioxide layer may be between about 1.95 and 2.15.
  • Schottky diodes have exceeded expectations. For example, Schottky diodes that have a rated reverse breakdown voltage of at least 600 volts are capable of operating at 80% of the rated reverse breakdown voltage, at 85% humidity, and at 85 Celsius for at least 1000 hours without failing. This represents a very spectacular order of magnitude improvement in longevity over state-of-the art devices.
  • FIG. 1 is a cross-sectional view of a Schottky diode, without the passivation structure, according to one embodiment of the disclosure.
  • FIG. 2 is a top view of a Schottky diode, without the Schottky layer and anode contact, according to one embodiment of the disclosure.
  • FIG. 3 is a top view of a Schottky diode, without the Schottky layer and anode contact, according to a second embodiment of the disclosure.
  • FIG. 4 is a top view of a Schottky diode, without the Schottky layer and anode contact, according to a third embodiment of the disclosure.
  • FIG. 5 is a top view of a Schottky diode, without the Schottky layer and anode contact, according to a fourth embodiment of the disclosure.
  • FIG. 6A is a partial cross-sectional view of a Schottky diode with a uniform JB array according to one embodiment of the disclosure.
  • FIG. 6B is a partial cross-sectional view of a Schottky diode with a non-uniform JB array according to another embodiment of the disclosure.
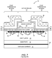
  • FIG. 7 is a cross-sectional view of a Schottky diode with a current passivation structure.
  • FIG. 8 is a cross-sectional view of a Schottky diode with an improved passivation structure, according to one embodiment of the disclosure.
  • FIGS. 9 through 23 illustrate select processing steps for fabricating a Schottky diode according to the embodiment illustrated in FIG. 8 .
  • the embodiments described herein reference various semiconductor layers or elements therein as being doped with an N-type or P-type doping material. Being doped with an N-type or P-type material indicates that the layer or element has either an N-type or P-type conductivity, respectively. N-type material has a majority equilibrium concentration of negatively charged electrons, and P-type material has a majority equilibrium concentration of positively charged holes.
  • the doping concentrations for the various layers or elements may be defined as being lightly, normally, or heavily doped. These terms are relative terms intended to relate doping concentrations for one layer or element to another layer or element.
  • the following description focuses on an N-type substrate and drift layer being used in a Schottky diode; however, the concepts provided herein equally apply to Schottky diodes with P-type substrates and drift layers. As such, the doping charge for each layer or element in the disclosed embodiments may be reversed to create Schottky diodes with P-type substrates and drift layers. Further, any of the layers described herein may be formed from one or more epitaxial layers using any available technique, and additional layers that are not described may be added between those described herein without necessarily departing from the concepts of the disclosure.
  • the passivation concepts disclosed herein are described as being applied to a Schottky diode that is formed on a silicon carbide (SiC) substrate.
  • these passivation concepts are applicable to virtually any type of semiconductor device, including non-Schottky-type diodes as well as bipolar and field effect transistors, which are implemented in a variety of material systems.
  • FIGS. 1 through 6A and 6B An exemplary state-of-the-art passivation technique is described in association with FIG. 7
  • an improved passivation technique is described in association with FIG. 8 . Details of the various structural and functional aspects of the improved passivation technique as well as an exemplary process for fabrication of the Schottky diode with the improved passivation technique are described in association with FIGS. 9 through 23 .
  • an exemplary Schottky diode 10 is formed on a substrate 12 and has an active region 14 that resides within an edge termination region 16 that may, but does not need to, completely or substantially surround the active region 14 .
  • a cathode contact 18 is formed and may extend below both the active region 14 and the edge termination region 16 .
  • a cathode ohmic layer 20 may be provided between the substrate 12 and the cathode contact 18 to facilitate a low impedance coupling therebetween.
  • a drift layer 22 extends along the top portion of the substrate 12 .
  • the drift layer 22 , the cathode contact 18 , and the cathode ohmic layer 20 may extend along both the active region 14 and the edge termination region 16 .
  • a Schottky layer 24 resides over the top surface of the drift layer 22 , and an anode contact 26 resides over the Schottky layer 24 .
  • a barrier layer 28 may be provided between the Schottky layer 24 and the anode contact 26 to prevent material of the Schottky layer 24 from diffusing into material of the anode contact 26 , and vice versa.
  • the active region 14 substantially corresponds to the region where the Schottky layer 24 of the Schottky diode 10 resides over the drift layer 22 .
  • the substrate 12 and the drift layer 22 are silicon carbide (SiC). Other materials for these and other layers of the Schottky diode 10 are discussed further below.
  • the substrate 12 is heavily doped and the drift layer 22 is relatively lightly doped with an N-type material.
  • the drift layer 22 may be substantially uniformly doped or doped in a graded fashion. For example, doping concentrations of the drift layer 22 may transition from being relatively more heavily doped near the substrate 12 to being more lightly doped near the top surface of the drift layer 22 that is proximate the Schottky layer 24 . Doping details are provided further below.
  • JB elements 30 are provided along the top surface of the drift layer 22 . Doping select regions in the drift layer 22 with P-type material forms these JB elements 30 . As such, each JB element 30 extends from the top surface of the drift layer 22 into the drift layer 22 . Together, the JB elements 30 form a JB array.
  • each JB element 30 may take on various shapes, as illustrated in FIGS. 2 through 5 .
  • each JB element 30 is a single, long, elongated stripe that extends substantially across the active region 14 , wherein the JB array is a plurality of parallel JB elements 30 .
  • each JB element 30 is a short, elongated dash, wherein the JB array has parallel rows of multiple dashes that are linearly aligned to extend across the active region 14 .
  • the JB elements 30 include a plurality of elongated stripes ( 30 ′) and a plurality of islands ( 30 ′′).
  • the elongated stripes and the islands may have substantially the same or substantially different doping concentrations.
  • the JB elements 30 include an array of smaller, circular islands with a plurality of larger, rectangular islands dispersed evenly with the array of smaller, circular islands.
  • Other shapes and configurations of the JB elements 30 and the ultimate JB array that is formed therefrom will be appreciated by those skilled in the art after reading the disclosure provide herein.
  • the edge termination region 16 includes a structure that is formed in the top surface of the drift layer 22 and substantially surrounds the active region 14 .
  • This structure is referred to as the edge termination structure 32 .
  • At least one well 34 is formed in a portion of the drift layer 22 that resides below the bottom surface of the edge termination structure 32 .
  • the well 34 is formed by lightly doping a portion of the drift layer 22 that extends into the drift layer 22 from the top surface of the drift layer 22 with a P-type material.
  • a plurality of concentric guard rings 36 are formed within the well 34 .
  • the guard rings 36 are formed by heavily doping the corresponding portions of the well 34 with a P-type doping material. As illustrated, the guard rings 36 are spaced apart from one another and may extend from the top surface of the drift layer 22 , through the well 34 , and past the bottom of the well 34 .
  • an edge guard ring 38 may be provided in the top surface of the drift layer 22 and around the periphery of the active region 14 .
  • the edge guard ring 38 effectively resides between the JB elements 30 of the active region 14 from the guard rings 36 of the edge termination structure 32 .
  • the edge guard ring 38 is formed by heavily doping the corresponding portions of the drift layer 22 with a P-type material, such that the edge guard ring 38 is formed about the periphery of the active region 14 and extends into the drift layer 22 . While illustrated as substantially rectangular in FIGS.
  • the edge termination structure 32 , the guard rings 36 , and the edge guard ring 38 may be of any shape and will generally correspond to the shape of the periphery of the active region 14 , which is rectangular in the illustrated embodiments.
  • Each of these three elements may provide a continuous or broken (i.e. dashed, dotted, or the like) loop about the active region 14 .
  • FIG. 6A provides an enlarged view of a portion of the active region 14 and is used to help identify the various p-n junctions that come into play during operation of the Schottky diode 10 .
  • the JB elements 30 are elongated stripes (as illustrated in FIG. 2 ). With the presence of the JB elements 30 , there are at least two types of junctions about the active region 14 . The first is referred to as a Schottky junction J 1 , and is any metal-semiconductor (m-s) junction between the Schottky layer 24 and those portions of the top surface of the drift layer 22 that do not have a JB element 30 .
  • m-s metal-semiconductor
  • the Schottky junction J 1 is a junction between the Schottky layer 24 and those portions of the top surface of the drift layer that are between two adjacent JB elements 30 or a JB element 30 and the edge guard ring 38 (not shown).
  • the second is referred to as a JB junction J 2 , and is any p-n junction between a JB element 30 and the drift layer 22 .
  • the Schottky diode 10 As the Schottky diode 10 is forward-biased, the Schottky junctions J 1 turn on before the JB junctions J 2 turn on. At low forward voltages, current transport in the Schottky diode 10 is dominated by majority carriers (electrons) injected across the Schottky junction J 1 . As such, the Schottky diode 10 acts like a traditional Schottky diode. In this configuration, there is little or no minority carrier injection, and thus no minority charge. As a result, the Schottky diode 10 is capable of fast switching speeds at normal operating voltages.
  • the Schottky diode 10 When the Schottky diode 10 is reverse-biased, depletion regions that form adjacent the JB junctions J 2 expand to block reverse current through the Schottky diode 10 . As a result, the expanded depletion regions function to both protect the Schottky junction J 1 and limit reverse leakage current in the Schottky diode 10 . With the JB elements 30 , the Schottky diode 10 behaves like a PIN diode.
  • FIG. 6B provides an enlarged view of a portion of the active region 14 and is used to help identify the various p-n junctions that come into play during operation of the Schottky diode 10 .
  • JB elements 30 there are two types of JB elements 30 : the striped, lower-doped JB elements 30 ′ and island-shaped, higher-doped JB elements 30 ′′ (as illustrated in FIG. 4 ).
  • the Schottky junction J 1 is any metal-semiconductor junction between the Schottky layer 24 and the those portions of the top surface of the drift layer that are between two adjacent JB elements 30 or a JB element 30 and the edge guard ring 38 (not shown).
  • the primary JB junction J 2 is any p-n junction between a stripe JB element 30 ′ and the drift layer 22 .
  • a secondary JB junction J 3 is any p-n junction between an island JB element 30 ′′ and the drift layer 22 .
  • the stripe JB elements 30 ′ are doped with a P-type material at a concentration that is the same or lower than the island JB elements 30 ′′.
  • the ratio of the surface area of the active region 14 of the Schottky diode 10 occupied by the lower-doped JB elements 30 ′ and the higher-doped JB elements 30 ′′ to the total surface area of the active region 14 may affect both the reverse leakage current and the forward voltage drop of the Schottky diode 10 .
  • the reverse leakage current may be reduced, but the forward voltage drop of the Schottky diode 10 may increase.
  • the selection of the ratio of the surface area of the active region 14 occupied by the lower- and higher-doped JB elements 30 ′ and 30 ′′ may entail a trade-off between reverse leakage current and forward voltage drop.
  • the ratio of the surface area of the active region 14 occupied by the lower- and higher-doped JB elements 30 ′, 30 ′′ to the total surface area of the active region 14 may be between about 2% and 40%.
  • the Schottky diode 10 As the Schottky diode 10 is forward biased past a first threshold, the Schottky junction J 1 turns on before the primary JB junctions J 2 and the secondary JB junctions J 3 , and the Schottky diode 10 exhibits traditional Schottky diode behavior at low forward-biased voltages. At low forward-biased voltages, the operation of the Schottky diode 10 is dominated by the injection of majority carriers across the Schottky junctions J 1 . Due to the absence of minority carrier injection under normal operating conditions, the Schottky diode 10 may have very fast switching capability, which is characteristic of Schottky diodes in general.
  • the turn-on voltage for the Schottky junctions J 1 is lower than the turn-on voltage for the primary and secondary JB Junctions J 2 , J 3 .
  • the lower- and higher-doped JB elements 30 ′, 30 ′′ may be designed such that the secondary JB junctions J 3 will begin to conduct if the forward-biased voltage continues to increase past a second threshold. If the forward biased voltage increases past the second threshold, such as in the case of a current surge through the Schottky diode 10 , the secondary JB junctions J 3 will begin to conduct. Once the secondary JB junctions J 3 begin to conduct, the operation of the Schottky diode 10 is dominated by the injection and recombination of minority carriers across the secondary junction J 3 . In this case, the on-resistance of the Schottky diode 10 may decrease, which in turn may decrease the amount of power dissipated by the Schottky diode 10 for a given level of current and may help prevent thermal runaway.
  • the depletion regions formed by the primary and secondary JB junctions J 2 , J 3 may expand to block reverse current through the Schottky diode 10 , thereby protecting the Schottky junction J 1 and limiting reverse leakage current in the Schottky diode 10 .
  • the Schottky diode 10 may function substantially like a PIN diode.
  • the voltage blocking ability of the Schottky diode 10 is determined by the thickness and doping of the lower-doped JB elements 30 ′.
  • the depletion regions in the lower-doped JB elements 30 ′ will punch through to the depletion region associated with the drift layer 22 .
  • a large reverse current is permitted to flow through the Schottky diode 10 .
  • this reverse breakdown may be uniformly distributed and controlled such that it does not damage the Schottky diode 10 .
  • the breakdown of the Schottky diode 10 is localized to a punch-through of the lower-doped JB elements 30 ′, which results in a breakdown current that is distributed evenly across the active region 14 .
  • the breakdown characteristic of the Schottky diode 10 may be controlled such that large reverse currents can be dissipated without damaging or destroying the Schottky diode 10 .
  • the doping of the lower-doped JB elements 30 ′ may be chosen such that the punch-through voltage is slightly less than the maximum reverse voltage that may otherwise be supported by the edge termination of the Schottky diode 10 .
  • the design of the edge termination region 16 shown in FIG. 1 further enhances both the forward and reverse current and voltage characteristics of the Schottky diode 10 .
  • electric fields tend to build about the periphery of the Schottky layer 24 , especially as the reverse voltage increases. As the electric fields increase, the reverse leakage current increases, the reverse breakdown voltage decreases, and the ability to control the avalanche current when the breakdown voltage is exceeded is decreased.
  • Each of these characteristics runs counter to the need to provide a Schottky diode 10 that has low reverse leakage currents, high reverse breakdown voltages, and controlled avalanche currents.
  • providing the guard rings 36 around the Schottky layer 24 , or active region 14 generally tends to reduce the buildup of the electric fields about the periphery of the Schottky layer 24 .
  • an existing passivation structure 40 is shown covering the edge termination region 16 as well as the sides and a portion of the top of the contact mesa.
  • the contact mesa resides over the active region 14 and is formed by the Schottky layer 24 , barrier layer 28 , and the anode contact 26 .
  • the passivation structure 40 is intended to protect the top surface of Schottky diode 10 from the deteriorating effects of various environmental elements, such as water, oxygen, and hydrogen.
  • an oxide layer 42 is generally formed over the top surface of the drift layer 22 in the edge termination region 16 . As such, the oxide layer 42 extends from the Schottky layer 24 outward past the edge termination structure 32 .
  • the oxide layer 42 is silicon dioxide SiO 2 and is thermally grown.
  • the passivation structure 40 includes first passivation layer 44 and a second passivation layer 46 .
  • the first passivation layer 44 is silicon nitride SiN, which is deposited through a sputtering process.
  • the second passivation layer 46 is also SiN, but is deposited using a plasma enhanced chemical vapor deposition (PECVD) process instead of using a sputtering process.
  • PECVD plasma enhanced chemical vapor deposition
  • Over the passivation structure 40 resides an encapsulation layer 48 , which is formed from a polyimide.
  • a polyimide generally refers to any polymer of imide monomers.
  • the encapsulation layer 48 provides yet another layer of protection from environmental elements.
  • the second passivation layer 46 is greater in thickness than the first passivation layer 44 .
  • the passivation structure 40 has proven to be susceptible to various environmental conditions over time.
  • the issue is that tiny paths often form in the SiN of the first and second passivation layers 44 and 46 . Paths in the first and second passivation layers 44 and 46 may align to allow water, oxygen, and hydrogen to reach and react with the oxide layer 42 , especially in those areas of the edge termination region 16 that are subjected to high electric fields.
  • the reaction results in the oxide layer 42 further oxidizing, which tends to raise and crack the passivation structure 40 .
  • the cracks further expose the oxide layer 42 and other parts of the Schottky diode to the environment to perpetuate a viscous cycle that leads to deteriorating performance and device failure.
  • FIG. 8 An improved passivation structure 50 is illustrated in FIG. 8 .
  • the passivation structure 50 is shown covering the edge termination region 16 as well as the sides and a portion of the top of the contact mesa.
  • the passivation structure 50 includes a first passivation layer 52 , a second passivation layer 54 , and a third passivation layer 56 , which may be deposited successively in a single deposition run using PECVD, atomic layer deposition (ALD), or like deposition process.
  • PECVD atomic layer deposition
  • the first passivation layer 52 is SiN
  • the second passivation layer 54 is SiO 2
  • the third passivation layer 56 is SiN.
  • the first passivation layer 52 is deposited using PECVD with a thickness between about 6400 and 9600 Angstroms with a relatively high index of refraction between about 1.85 and 2.25.
  • Alternative thickness ranges for the first passivation layer 52 are between about 7500 and 8500 Angstroms and between about 7800 and 8200 Angstroms.
  • An alternative index of fraction range is between about 1.95 and 2.15.
  • the second passivation layer 54 is deposited using PECVD with a thickness between about 750 and 1250 Angstroms with a relatively low index of refraction between about 1.4 and 1.6.
  • Alternative thickness ranges for the second passivation layer 54 are between about 800 and 1200 Angstroms and between about 900 and 1100 Angstroms.
  • An alternative index of fraction range is between about 1.45 and 1.5.
  • the third passivation layer 56 is deposited using PECVD with a thickness between about 2200 and 3800 Angstroms with a relatively high index of refraction between about 1.85 and 2.25.
  • Alternative thickness ranges for the third passivation layer 56 are between about 2400 and 3600 Angstroms and between about 2800 and 3200 Angstroms.
  • An alternative index of fraction range is between about 1.95 and 2.15.
  • the thickness of the first passivation layer 52 is greater than the thickness of the third passivation layer 56 , which is greater than the thickness of the second passivation layer 54 .
  • An encapsulation layer 58 is provided over the third passivation layer 56 .
  • the encapsulation layer 58 may be a polyimide, organic or polymer-based scratch protectant, or the like.
  • the cathode ohmic layer 20 is nickel (Ni).
  • the cathode contact 18 may be formed over the cathode ohmic layer 20 with consecutive layers of titanium (Ti), nickel (Ni), and silver (Ag).
  • Ti titanium
  • Ni nickel
  • Ag silver
  • Other constructions for the cathode ohmic layer 20 and the cathode contact 18 will be appreciated by those skilled in the art.
  • the Schottky diode 10 has proven to be surprisingly more resilient to adverse environmental conditions than existing structures.
  • the passivation structure 50 consistently allows high voltage Schottky diodes 10 to operate without failure at 80% (or greater) of the rated reverse-biased breakdown voltage, 85 Celsius (or greater), and 85% (or greater) humidity for at least 1000 consecutive hours, wherein the rated reverse breakdown voltage is at least 600 volts.
  • a Schottky diode 10 that employs the passivation structure 40 will typically fail in less than 100 hours.
  • the improved passivation structure 50 affords a longevity improvement for a high-voltage SiC Schottky diode 10 of an order of magnitude or more over the existing passivation structure 40 .
  • Exemplary ratings for the Schottky diode 10 include 600 volts at 1, 2, 3, 4, 6, 8, 10, and 50 amperes; 650 volts at 2, 3, 4, 6, 8, 10, 30, and 50 amperes; and 1200 volts at 2, 5, 8, 10, 15, 20, and 50 amperes.
  • the voltage ratings are for the reverse-biased breakdown voltage and the ampere ratings are for the forward biased current.
  • edge termination region 16 includes all types of field effect transistors (FETs), insulated gate bipolar transistors (IGBTs), and gate turn-off thyristors (GTOs).
  • FETs field effect transistors
  • IGBTs insulated gate bipolar transistors
  • GTOs gate turn-off thyristors
  • Another characteristic that affects both forward and reverse current and voltage characteristics of the Schottky diode 10 is the barrier height associated with the Schottky junction J 1 ( FIGS. 6A and 6B ), which again, is the metal-semiconductor junction between the metal Schottky layer 24 and the semiconductor drift layer 22 .
  • a metal layer such as the Schottky layer 24
  • a semiconductor layer such as the drift layer 22
  • the barrier height associated with the Schottky junction J 1 corresponds to the native potential barrier. Absent application of an external voltage, this native potential barrier prevents most charge carriers, either electrons or holes, from moving from one layer to another the other.
  • the native potential barrier from the semiconductor layer's perspective will effectively increase or decrease. Notably, the potential barrier from the metal layer's perspective will not change when the external voltage is applied.
  • the material used to form the Schottky layer 24 largely dictates the barrier height associated with the Schottky junction J 1 . In many applications, a low barrier height is preferred.
  • a lower barrier height allows one of the following. First, a lower barrier height device with a smaller active region 14 can be developed to have the same forward turn on and operating current and voltage ratings as a device having a larger active region 14 and a higher barrier height. In other words, the lower barrier height device with a smaller active region 14 can support the same forward voltage at a given current as a device that has a higher barrier height and a larger active region 14 .
  • a lower barrier height device may have lower forward turn on and operating voltages while handling the same or similar currents as a higher barrier height device when both devices have active regions 14 of the same size.
  • Lower barrier heights also lower the forward biased on-resistances of the devices, which help make the devices more efficient and generate less heat, which can be destructive to the device.
  • Exemplary metals (including alloys) that are associated with low barrier heights in Schottky applications that employ a SiC drift layer 22 include, but are not limited to tantalum (Ta), titanium (Ti), chromium (Cr), and aluminum (Al), where tantalum is associated with the lowest barrier height of the group. These metals are defined as low barrier height cable metals.
  • barrier height is a function of the metal used for the Schottky layer 24 , the material used for the drift layer 22 , and perhaps the extent of doping in the drift layer 22
  • exemplary barrier heights that may be achieved with certain embodiments are less than 1.2 election volts (eV), less than 1.1 eV, less than 1.0 eV, less than 0.9 eV, and less than about 0.8 eV.
  • FIGS. 9 through 23 an exemplary process for fabricating a Schottky diode 10 , such as the one illustrated in FIG. 8 , is provided.
  • the JB elements 30 are elongated stripes, as illustrated in FIG. 2 .
  • exemplary materials, doping types, doping levels, structure dimensions, and the selected alternatives are outlined. These aspects are merely illustrative, and the concepts disclosed herein and the claims that follow are not limited to these aspects.
  • the process starts by providing an N-doped, single crystal, 4H SiC substrate 12 , as shown in FIG. 9 .
  • the substrate 12 may have various crystalline polytypes, such as 2H, 4H, 6H, 3C and the like.
  • the substrate 12 may also be formed from other material systems, such as gallium nitride (GaN), gallium arsenide (GaAs), silicon (Si), germanium (Ge), SiGe, and the like.
  • the resistivity of the N-doped, SiC substrate 12 is between about 10 milliohm-cm and 30 milliohm-cm in one embodiment.
  • the initial substrate 12 may have a thickness between about 200 microns and 500 microns.
  • the drift layer 22 may be grown over the substrate 12 and doped in situ, wherein the drift layer 22 is doped as it is grown with an N-type doping material, as shown in FIG. 10 .
  • one or more buffer layers may be formed on the substrate 12 prior to forming the drift layer 22 .
  • the buffer layer may be used as a nucleation layer and be relatively heavily doped with an N-type doping material.
  • the buffer layer may range from 0.5 to 5 microns in certain embodiments.
  • the drift layer 22 may be relatively uniformly doped throughout or may employ graded doping throughout all or a portion thereof.
  • the doping concentration may be between about 2 ⁇ 10 15 cm ⁇ 3 and 1 ⁇ 10 16 cm ⁇ 3 in one embodiment. With graded doping, the doping concentration is highest at the bottom of the drift layer 22 near the substrate 12 and lowest at the top of the drift layer 22 near the Schottky layer 24 .
  • the doping concentration generally decreases in a stepwise or continuous fashion from a point at or near the bottom to a point at or near the top of the drift layer 22 .
  • the lower portion of the drift layer 22 may be doped at a concentration of about 1 ⁇ 10 15 cm ⁇ 3 and the upper portion of the drift layer 22 maybe doped at a concentration of about 5 ⁇ 10 16 cm ⁇ 3 .
  • the lower portion of the drift layer 22 may be doped at a concentration of about 5 ⁇ 10 15 cm ⁇ 3 and the upper portion of the drift layer 22 may be doped at a concentration of about 1 ⁇ 10 16 cm ⁇ 3 .
  • the drift layer 22 may be between four and ten microns thick in select embodiments, depending on the desired reverse breakdown voltage. In one embodiment, the drift layer 22 is about one micron thick per 100 volts of desired reverse breakdown voltage. For example, a Schottky diode 10 with a reverse breakdown voltage of 600 volts may have a drift layer 22 with a thickness of about six microns.
  • the well 34 is formed by selectively implanting a portion of the drift layer 22 with a P-type material, as shown in FIG. 11 .
  • a Schottky diode 10 with a reverse breakdown voltage of 600 volts and capable of handling a sustained forward current of 50 A may have a well 34 that is lightly doped at a concentration between about 5 ⁇ 10 16 cm ⁇ 3 and 2 ⁇ 10 17 cm ⁇ 3 .
  • the well 34 may be between about 0.1 and 0.5 microns deep and have a width substantially corresponding to the width of the edge termination structure 32 .
  • the JB elements 30 , the edge guard ring 38 , and the guard rings 36 are formed by selectively implanting the corresponding portions of the top surface of the drift layer 22 with a P-type material, as shown in FIG. 12 .
  • the JB elements 30 , the edge guard ring 38 , and the guard rings 36 are relatively heavily doped and may be formed at the same time using the same ion implantation process.
  • a Schottky diode 10 with a reverse breakdown voltage of 600 volts and capable of handling a sustained forward current of 50 A may have the JB elements 30 , the edge guard ring 38 , and the guard rings 36 all doped at a concentration between about 5 ⁇ 10 17 cm ⁇ 3 and 5 ⁇ 10 19 cm ⁇ 3 .
  • these elements may be doped at different concentrations using the same or different ion implantation process; for example, when the JB array of JB elements 30 includes different shapes or sizes, as provided in FIGS. 4 and 5 , or where the different JB elements 30 have different depths.
  • the depth and spacing between adjacent JB elements 30 , between the edge guard ring 38 and a JB element 30 , and between adjacent guard rings 36 may vary based on desired device characteristics. For example, the depth of these elements may range from 0.2 to greater than 1.5 microns, and the respective elements may be spaced apart from each other between about one and four microns.
  • a thermal oxide layer 42 is formed over the top surface of the drift layer 22 .
  • the oxide is silicon dioxide (SiO 2 ).
  • the portion of the thermal oxide layer 42 associated with the active region 14 is removed, as shown in FIG. 14 , to form a Schottky recess 60 in which the Schottky layer 24 will be formed.
  • the Schottky layer 24 is formed over the portion of drift layer 22 that was exposed by the Schottky recess 60 , as illustrated in FIG. 15 .
  • the thickness of the Schottky layer 24 will vary based on desired device characteristics and the metal used to form the Schottky layer 24 , but will generally be between about 100 and 4500 angstroms.
  • a Schottky layer 24 formed of titanium (Ti) may be between about 500 and 2500 angstroms; a Schottky layer 24 formed of tantalum (Ta) may be between about 200 and 1200 angstroms; and a Schottky layer 24 formed of aluminum (Al) may be between about 3500 and 4500 angstroms.
  • one or more barrier layers 28 may be formed over the Schottky layer 24 , as shown in FIG. 16 .
  • the barrier layer 28 may be formed of tantalum (Ta), titanium tungsten alloy (TiW), titanium nickel alloy (TiN), and any other suitable material, and may be between about 75 and 400 angstroms thick in select embodiments.
  • the barrier layer 28 helps prevent diffusion between the metals used to form the Schottky layer 24 and the to-be-formed anode contact 26 .
  • the barrier layer 28 is not used in certain embodiments where the Schottky layer 24 is tantalum (Ta) and the to-be-formed anode contact 26 is formed from aluminum (Al).
  • the barrier layer 28 is generally beneficial in embodiments where the Schottky layer 24 is titanium (Ti) and the to-be-formed anode contact 26 is formed from aluminum (Al). Tantalum (Ta) is a good material for the barrier layer in this configuration.
  • the anode contact 26 is formed over the Schottky layer 24 , or if present, the barrier layer 28 , as shown in FIG. 17 .
  • the anode contact 26 is generally relatively thick, formed from a metal, and acts as a bond pad for the anode of the Schottky diode 10 .
  • the anode contact 26 may be formed from aluminum (Al), gold (Au), Silver (Ag), and the like.
  • the first, second, and third passivation layers 52 , 54 , 56 may be sequentially formed in a single PECVD process.
  • the first passivation layer 52 is silicon nitride (SiN)
  • the second passivation layer 54 is silicon dioxide (SiO 2 )
  • the third passivation layer 56 is silicon nitride (SiN).
  • the encapsulation layer 58 is formed over the third passivation layer 56 .
  • the encapsulation layer 58 is a polyimide in one embodiment, and can be etched using photolithography. As such, an area of the encapsulation layer 58 that is over a central portion of the anode contact 26 is etched away to expose a portion of the third passivation layer 56 , as shown in FIG. 22 .
  • the remaining portion of the encapsulation layer 58 may at act as mask for etching away those portions of the first, second, and third passivation layers 52 , 54 , and 56 that reside over that central portion of the anode contact 26 . Once etched, the central portion of the anode contact 26 is exposed as shown in FIG. 23 . Ultimately, bond wires or the like may be soldered or otherwise connected to the top surface of the anode contact 26 through the opening that exposed the central portion of the anode contact 26 .
  • the substrate 12 is substantially thinned by removing a bottom portion of the substrate 12 though a grinding, etching, or like process.
  • the substrate 12 may be thinned to a thickness between about 50 and 200 microns in a first embodiment, and between about 75 and 125 microns in a second embodiment. Thinning the substrate 12 or otherwise employing a thin substrate 12 reduces the overall electrical and thermal resistance between the anode and cathode of the Schottky diode 10 and allows the device to handle higher current densities without overheating.
  • the cathode ohmic layer 20 is formed on the bottom of the thinned substrate 12 with an ohmic metal, such as nickel (Ni), nickel silicide (NiSi), and nickel aluminide (NiAl).
  • an ohmic metal such as nickel (Ni), nickel silicide (NiSi), and nickel aluminide (NiAl).
  • the cathode ohmic layer 20 may be laser annealed instead of baking the entire device at a high temperature to anneal the ohmic metal. Laser annealing allows the ohmic metal to be heated sufficiently for annealing, yet does not heat the rest of the device to temperatures that would otherwise damage or destroy the encapsulation layer 58 .
  • the cathode contact 18 is formed over the cathode ohmic layer 20 to provide a solder or like interface for the Schottky diode 10 .
  • the cathode contact 18 may be formed over the cathode ohmic layer 20 with consecutive layers of titanium (Ti), nickel (Ni), and silver (Ag) wherein silver (Ag) is the outermost layer.
  • very high performance Schottky diodes 10 may be designed for various applications that require various operation parameters.
  • the current density associated with DC forward-biased currents may exceed 440 amperes/cm in certain embodiments, and may exceed 500 amperes/cm in other embodiments.
  • Schottky diodes 10 may be constructed to have a ratio of DC forward-biased current density to reverse-biased anode-cathode capacitance greater than 0.275, 0.3, 0.325, 0.35, 0.375, and 0.4 ampere/pico-Farad (A/pF) in various embodiments, wherein the reverse-biased anode-cathode voltage is determined when the Schottky diode is reverse biased to a point where the active region is essentially fully depleted.
  • A/pF ampere/pico-Farad

Landscapes

  • Engineering & Computer Science (AREA)
  • Electrodes Of Semiconductors (AREA)
  • Physics & Mathematics (AREA)
  • Condensed Matter Physics & Semiconductors (AREA)
  • General Physics & Mathematics (AREA)
  • Manufacturing & Machinery (AREA)
  • Computer Hardware Design (AREA)
  • Microelectronics & Electronic Packaging (AREA)
  • Power Engineering (AREA)
  • Chemical & Material Sciences (AREA)
  • Crystallography & Structural Chemistry (AREA)

Abstract

A Schottky diode is disclosed that includes a silicon carbide substrate, a silicon carbide drift layer, a Schottky contact, and a passivation structure. The silicon carbide drift layer provides an active region and an edge termination region about the active region. The Schottky contact has sides and a top extending between the two sides and includes a Schottky layer over the active region and an anode contact over the Schottky layer. The passivation structure covers the edge termination region, the sides of the Schottky contact, and at least a portion of the top of the Schottky contact. The passivation structure includes a first silicon nitride layer, a silicon dioxide layer over the first silicon nitride layer, and a second silicon nitride layer over the silicon dioxide layer.

Description

CROSS-REFERENCE TO RELATED APPLICATIONS
The present application is a reissue of U.S. Pat. No. 9,991,399, entitled “PASSIVATION STRUCTURE FOR SEMICONDUCTOR DEVICES.”
This applicationU.S. Pat. No. 9,991,399 is related to U.S. Pat. No. 7,525,122, entitled PASSIVATION OF WIDE BAND-GAP BASED SEMICONDUCTOR DEVICES WITH HYDROGEN-FREE SPUTTERED NITRIDES; U.S. Pat. No. 7,855,401, entitled PASSIVATION OF WIDE BAND-GAP BASED SEMICONDUCTOR DEVICES WITH HYDROGEN-FREE SPUTTERED NITRIDES; U.S. Pat. No. 7,858,460, entitled PASSIVATION OF WIDE BAND-GAP BASED SEMICONDUCTOR DEVICES WITH HYDROGEN-FREE SPUTTERED NITRIDES; U.S. Pat. No. 7,598,576, entitled ENVIRONMENTALLY ROBUST PASSIVATION STRUCTURES FOR HIGH-VOLTAGE SILICON CARBIDE SEMICONDUCTOR DEVICES; U.S. Pat. No. 7,696,584, entitled REDUCED LEAKAGE POWER DEVICES BY INVERSION LAYER SURFACE PASSIVATION; U.S. patent application Ser. No. 13/644,506, filed Oct. 4, 2012, now U.S. Pat. No. 8,994,073, entitled HYDROGEN MITIGATION SCHEMES IN THE PASSIVATION OF ADVANCED DEVICES; and U.S. patent application Ser. No. 13/804,126, filed Mar. 14, 2013, now U.S. Pat. No. 9,812,338, entitled ENCAPSULATION OF ADVANCED DEVICES USING NOVEL PECVD AND ALD SCHEMES, the disclosures of which are incorporated herein by reference in their entireties.
FIELD OF THE DISCLOSURE
The present disclosure relates to semiconductor devices, and in particular to passivation of such devices.
BACKGROUND
Semiconductor devices, such as Schottky diodes and field effect transistors (FETs), are often used in systems that are exposed to a variety of harsh environmental conditions. In addition to being exposed to extreme temperature and humidity ranges as well as a host of environmental elements, such as water, oxygen, and hydrogen, the devices are often required to operate at or near their rated currents and voltages over extended periods of time. Operating in extreme environmental conditions and at elevated levels often leads to deterioration in performance and failure of the devices.
Surface passivation techniques are employed to encapsulate sensitive surfaces of the devices in an effort to reduce the deteriorating affects associated with being exposed to extreme environmental conditions and operating at elevated levels. While current passivation techniques have proven to be beneficial, there is substantial room for improvement. As such, there is a need for more effective passivation techniques in order to improve device reliability under extreme environmental conditions and elevated operating levels.
SUMMARY
A Schottky diode is disclosed that includes a silicon carbide substrate, a silicon carbide drift layer, a Schottky contact, and a passivation structure. The silicon carbide drift layer provides an active region and an edge termination region about the active region. The Schottky contact has sides and a top extending between the two sides and includes a Schottky layer over the active region and an anode contact over the Schottky layer. The passivation structure covers the edge termination region, the sides of the Schottky contact, and at least a portion of the top of the Schottky contact. The passivation structure includes a first silicon nitride layer, a silicon dioxide layer over the first silicon nitride layer, and a second silicon nitride layer over the silicon dioxide layer.
In one embodiment, an oxide layer is provided between the passivation structure and the silicon carbide drift layer. The oxide layer extends outward from the sides of the Schottky contact over the edge termination region. The oxide layer may be silicon dioxide. The oxide layer may be thermally grown while the first silicon nitride layer, the silicon dioxide layer, and the second silicon nitride layer of the passivation structure may be deposited over the thermally grown oxide layer during a single plasma enhanced chemical vapor deposition (PECVD) process.
In another embodiment, the thickness of the first silicon nitride layer is greater than the thickness of the second silicon nitride layer, and the thickness of the second silicon nitride layer is greater than the thickness of the silicon dioxide layer. For example, the thickness of the first silicon nitride layer may be between about 6400 and 9600 Angstroms, the thickness of the silicon dioxide layer may be between about 900 and 1100 Angstroms, and the thickness of the second silicon nitride layer may be between about 2400 and 3600 Angstroms. Further, an index of refraction for the first silicon nitride layer may be between about 1.95 and 2.15, an index of refraction for the silicon dioxide layer may be between about 1.45 and 1.5, and an index of refraction for the second silicon dioxide layer may be between about 1.95 and 2.15.
The performance of the disclosed Schottky diodes have exceeded expectations. For example, Schottky diodes that have a rated reverse breakdown voltage of at least 600 volts are capable of operating at 80% of the rated reverse breakdown voltage, at 85% humidity, and at 85 Celsius for at least 1000 hours without failing. This represents a very impressive order of magnitude improvement in longevity over state-of-the art devices.
Those skilled in the art will appreciate the scope of the disclosure and realize additional aspects thereof after reading the following detailed description in association with the accompanying drawings.
BRIEF DESCRIPTION OF THE DRAWINGS
The accompanying drawings incorporated in and forming a part of this specification illustrate several aspects of the disclosure, and together with the description serve to explain the principles of the disclosure.
FIG. 1 is a cross-sectional view of a Schottky diode, without the passivation structure, according to one embodiment of the disclosure.
FIG. 2 is a top view of a Schottky diode, without the Schottky layer and anode contact, according to one embodiment of the disclosure.
FIG. 3 is a top view of a Schottky diode, without the Schottky layer and anode contact, according to a second embodiment of the disclosure.
FIG. 4 is a top view of a Schottky diode, without the Schottky layer and anode contact, according to a third embodiment of the disclosure.
FIG. 5 is a top view of a Schottky diode, without the Schottky layer and anode contact, according to a fourth embodiment of the disclosure.
FIG. 6A is a partial cross-sectional view of a Schottky diode with a uniform JB array according to one embodiment of the disclosure.
FIG. 6B is a partial cross-sectional view of a Schottky diode with a non-uniform JB array according to another embodiment of the disclosure.
FIG. 7 is a cross-sectional view of a Schottky diode with a current passivation structure.
FIG. 8 is a cross-sectional view of a Schottky diode with an improved passivation structure, according to one embodiment of the disclosure.
FIGS. 9 through 23 illustrate select processing steps for fabricating a Schottky diode according to the embodiment illustrated in FIG. 8.
DETAILED DESCRIPTION
The embodiments set forth below represent the necessary information to enable those skilled in the art to practice the disclosure and illustrate the best mode of practicing the disclosure. Upon reading the following description in light of the accompanying drawings, those skilled in the art will understand the concepts of the disclosure and will recognize applications of these concepts not particularly addressed herein. It should be understood that these concepts and applications fall within the scope of the disclosure and the accompanying claims.
It will be understood that when an element such as a layer, region, or substrate is referred to as being “on” or extending “onto” another element, it can be directly on or extend directly onto the other element or intervening elements may also be present. In contrast, when an element is referred to as being “directly on” or extending “directly onto” another element, there are no intervening elements present. It will also be understood that when an element is referred to as being “connected” or “coupled” to another element, it can be directly connected or coupled to the other element or intervening elements may be present. In contrast, when an element is referred to as being “directly connected” or “directly coupled” to another element, there are no intervening elements present.
Relative terms such as “below” or “above” or “upper” or “lower” or “horizontal” or “vertical” may be used herein to describe a relationship of one element, layer, or region to another element, layer, or region as illustrated in the Figures. It will be understood that these terms and those discussed above are intended to encompass different orientations of the device in addition to the orientation depicted in the Figures.
Notably, the embodiments described herein reference various semiconductor layers or elements therein as being doped with an N-type or P-type doping material. Being doped with an N-type or P-type material indicates that the layer or element has either an N-type or P-type conductivity, respectively. N-type material has a majority equilibrium concentration of negatively charged electrons, and P-type material has a majority equilibrium concentration of positively charged holes. The doping concentrations for the various layers or elements may be defined as being lightly, normally, or heavily doped. These terms are relative terms intended to relate doping concentrations for one layer or element to another layer or element.
Further, the following description focuses on an N-type substrate and drift layer being used in a Schottky diode; however, the concepts provided herein equally apply to Schottky diodes with P-type substrates and drift layers. As such, the doping charge for each layer or element in the disclosed embodiments may be reversed to create Schottky diodes with P-type substrates and drift layers. Further, any of the layers described herein may be formed from one or more epitaxial layers using any available technique, and additional layers that are not described may be added between those described herein without necessarily departing from the concepts of the disclosure.
The passivation concepts disclosed herein are described as being applied to a Schottky diode that is formed on a silicon carbide (SiC) substrate. However, these passivation concepts are applicable to virtually any type of semiconductor device, including non-Schottky-type diodes as well as bipolar and field effect transistors, which are implemented in a variety of material systems. Initially, an overview of an exemplary Schottky diode is provided in association with FIGS. 1 through 6A and 6B. An exemplary state-of-the-art passivation technique is described in association with FIG. 7, and an improved passivation technique is described in association with FIG. 8. Details of the various structural and functional aspects of the improved passivation technique as well as an exemplary process for fabrication of the Schottky diode with the improved passivation technique are described in association with FIGS. 9 through 23.
With reference to FIG. 1, an exemplary Schottky diode 10 is formed on a substrate 12 and has an active region 14 that resides within an edge termination region 16 that may, but does not need to, completely or substantially surround the active region 14. Along the bottom side of the substrate 12, a cathode contact 18 is formed and may extend below both the active region 14 and the edge termination region 16. A cathode ohmic layer 20 may be provided between the substrate 12 and the cathode contact 18 to facilitate a low impedance coupling therebetween. A drift layer 22 extends along the top portion of the substrate 12. The drift layer 22, the cathode contact 18, and the cathode ohmic layer 20 may extend along both the active region 14 and the edge termination region 16.
In the active region 14, a Schottky layer 24 resides over the top surface of the drift layer 22, and an anode contact 26 resides over the Schottky layer 24. A barrier layer 28 may be provided between the Schottky layer 24 and the anode contact 26 to prevent material of the Schottky layer 24 from diffusing into material of the anode contact 26, and vice versa. Notably, the active region 14 substantially corresponds to the region where the Schottky layer 24 of the Schottky diode 10 resides over the drift layer 22. For purposes of illustration only, assume the substrate 12 and the drift layer 22 are silicon carbide (SiC). Other materials for these and other layers of the Schottky diode 10 are discussed further below.
In the illustrated embodiment, the substrate 12 is heavily doped and the drift layer 22 is relatively lightly doped with an N-type material. The drift layer 22 may be substantially uniformly doped or doped in a graded fashion. For example, doping concentrations of the drift layer 22 may transition from being relatively more heavily doped near the substrate 12 to being more lightly doped near the top surface of the drift layer 22 that is proximate the Schottky layer 24. Doping details are provided further below.
Beneath the Schottky layer 24, a plurality of junction-barrier (JB) elements 30 are provided along the top surface of the drift layer 22. Doping select regions in the drift layer 22 with P-type material forms these JB elements 30. As such, each JB element 30 extends from the top surface of the drift layer 22 into the drift layer 22. Together, the JB elements 30 form a JB array.
The JB elements 30 may take on various shapes, as illustrated in FIGS. 2 through 5. In FIG. 2, each JB element 30 is a single, long, elongated stripe that extends substantially across the active region 14, wherein the JB array is a plurality of parallel JB elements 30. In FIG. 3, each JB element 30 is a short, elongated dash, wherein the JB array has parallel rows of multiple dashes that are linearly aligned to extend across the active region 14. In FIG. 4, the JB elements 30 include a plurality of elongated stripes (30′) and a plurality of islands (30″). As described further below, the elongated stripes and the islands may have substantially the same or substantially different doping concentrations. In FIG. 5, the JB elements 30 include an array of smaller, circular islands with a plurality of larger, rectangular islands dispersed evenly with the array of smaller, circular islands. Other shapes and configurations of the JB elements 30 and the ultimate JB array that is formed therefrom will be appreciated by those skilled in the art after reading the disclosure provide herein.
With continued reference to FIGS. 1 through 5, the edge termination region 16 includes a structure that is formed in the top surface of the drift layer 22 and substantially surrounds the active region 14. This structure is referred to as the edge termination structure 32. At least one well 34 is formed in a portion of the drift layer 22 that resides below the bottom surface of the edge termination structure 32. The well 34 is formed by lightly doping a portion of the drift layer 22 that extends into the drift layer 22 from the top surface of the drift layer 22 with a P-type material. Within the well 34, a plurality of concentric guard rings 36 are formed. The guard rings 36 are formed by heavily doping the corresponding portions of the well 34 with a P-type doping material. As illustrated, the guard rings 36 are spaced apart from one another and may extend from the top surface of the drift layer 22, through the well 34, and past the bottom of the well 34.
In addition to the guard rings 36 that reside in the edge termination structure 32, an edge guard ring 38 may be provided in the top surface of the drift layer 22 and around the periphery of the active region 14. The edge guard ring 38 effectively resides between the JB elements 30 of the active region 14 from the guard rings 36 of the edge termination structure 32. The edge guard ring 38 is formed by heavily doping the corresponding portions of the drift layer 22 with a P-type material, such that the edge guard ring 38 is formed about the periphery of the active region 14 and extends into the drift layer 22. While illustrated as substantially rectangular in FIGS. 2 through 5, the edge termination structure 32, the guard rings 36, and the edge guard ring 38 may be of any shape and will generally correspond to the shape of the periphery of the active region 14, which is rectangular in the illustrated embodiments. Each of these three elements may provide a continuous or broken (i.e. dashed, dotted, or the like) loop about the active region 14.
FIG. 6A provides an enlarged view of a portion of the active region 14 and is used to help identify the various p-n junctions that come into play during operation of the Schottky diode 10. For this embodiment, assume the JB elements 30 are elongated stripes (as illustrated in FIG. 2). With the presence of the JB elements 30, there are at least two types of junctions about the active region 14. The first is referred to as a Schottky junction J1, and is any metal-semiconductor (m-s) junction between the Schottky layer 24 and those portions of the top surface of the drift layer 22 that do not have a JB element 30. In other words, the Schottky junction J1 is a junction between the Schottky layer 24 and those portions of the top surface of the drift layer that are between two adjacent JB elements 30 or a JB element 30 and the edge guard ring 38 (not shown). The second is referred to as a JB junction J2, and is any p-n junction between a JB element 30 and the drift layer 22.
As the Schottky diode 10 is forward-biased, the Schottky junctions J1 turn on before the JB junctions J2 turn on. At low forward voltages, current transport in the Schottky diode 10 is dominated by majority carriers (electrons) injected across the Schottky junction J1. As such, the Schottky diode 10 acts like a traditional Schottky diode. In this configuration, there is little or no minority carrier injection, and thus no minority charge. As a result, the Schottky diode 10 is capable of fast switching speeds at normal operating voltages.
When the Schottky diode 10 is reverse-biased, depletion regions that form adjacent the JB junctions J2 expand to block reverse current through the Schottky diode 10. As a result, the expanded depletion regions function to both protect the Schottky junction J1 and limit reverse leakage current in the Schottky diode 10. With the JB elements 30, the Schottky diode 10 behaves like a PIN diode.
In another embodiment, FIG. 6B provides an enlarged view of a portion of the active region 14 and is used to help identify the various p-n junctions that come into play during operation of the Schottky diode 10. For this embodiment, assume that there are two types of JB elements 30: the striped, lower-doped JB elements 30′ and island-shaped, higher-doped JB elements 30″ (as illustrated in FIG. 4). Again, the Schottky junction J1 is any metal-semiconductor junction between the Schottky layer 24 and the those portions of the top surface of the drift layer that are between two adjacent JB elements 30 or a JB element 30 and the edge guard ring 38 (not shown). The primary JB junction J2 is any p-n junction between a stripe JB element 30′ and the drift layer 22. A secondary JB junction J3 is any p-n junction between an island JB element 30″ and the drift layer 22. In this embodiment, assume that the stripe JB elements 30′ are doped with a P-type material at a concentration that is the same or lower than the island JB elements 30″.
The ratio of the surface area of the active region 14 of the Schottky diode 10 occupied by the lower-doped JB elements 30′ and the higher-doped JB elements 30″ to the total surface area of the active region 14 may affect both the reverse leakage current and the forward voltage drop of the Schottky diode 10. For example, if the area occupied by lower- and higher-doped JB elements 30′, 30″ is increased relative to the total area of the active region 14, the reverse leakage current may be reduced, but the forward voltage drop of the Schottky diode 10 may increase. Thus, the selection of the ratio of the surface area of the active region 14 occupied by the lower- and higher-doped JB elements 30′ and 30″ may entail a trade-off between reverse leakage current and forward voltage drop. In some embodiments, the ratio of the surface area of the active region 14 occupied by the lower- and higher-doped JB elements 30′, 30″ to the total surface area of the active region 14 may be between about 2% and 40%.
As the Schottky diode 10 is forward biased past a first threshold, the Schottky junction J1 turns on before the primary JB junctions J2 and the secondary JB junctions J3, and the Schottky diode 10 exhibits traditional Schottky diode behavior at low forward-biased voltages. At low forward-biased voltages, the operation of the Schottky diode 10 is dominated by the injection of majority carriers across the Schottky junctions J1. Due to the absence of minority carrier injection under normal operating conditions, the Schottky diode 10 may have very fast switching capability, which is characteristic of Schottky diodes in general.
As indicated, the turn-on voltage for the Schottky junctions J1 is lower than the turn-on voltage for the primary and secondary JB Junctions J2, J3. The lower- and higher-doped JB elements 30′, 30″ may be designed such that the secondary JB junctions J3 will begin to conduct if the forward-biased voltage continues to increase past a second threshold. If the forward biased voltage increases past the second threshold, such as in the case of a current surge through the Schottky diode 10, the secondary JB junctions J3 will begin to conduct. Once the secondary JB junctions J3 begin to conduct, the operation of the Schottky diode 10 is dominated by the injection and recombination of minority carriers across the secondary junction J3. In this case, the on-resistance of the Schottky diode 10 may decrease, which in turn may decrease the amount of power dissipated by the Schottky diode 10 for a given level of current and may help prevent thermal runaway.
Under reverse bias conditions, the depletion regions formed by the primary and secondary JB junctions J2, J3 may expand to block reverse current through the Schottky diode 10, thereby protecting the Schottky junction J1 and limiting reverse leakage current in the Schottky diode 10. Again, when reverse biased, the Schottky diode 10 may function substantially like a PIN diode.
Notably, the voltage blocking ability of the Schottky diode 10 according to some embodiments of the invention is determined by the thickness and doping of the lower-doped JB elements 30′. When a sufficiently large reverse voltage is applied to the Schottky diode 10, the depletion regions in the lower-doped JB elements 30′ will punch through to the depletion region associated with the drift layer 22. As a result, a large reverse current is permitted to flow through the Schottky diode 10. As the lower-doped JB elements 30′ are distributed across the active region 14, this reverse breakdown may be uniformly distributed and controlled such that it does not damage the Schottky diode 10.
In essence, the breakdown of the Schottky diode 10 is localized to a punch-through of the lower-doped JB elements 30′, which results in a breakdown current that is distributed evenly across the active region 14. As a result, the breakdown characteristic of the Schottky diode 10 may be controlled such that large reverse currents can be dissipated without damaging or destroying the Schottky diode 10. In some embodiments, the doping of the lower-doped JB elements 30′ may be chosen such that the punch-through voltage is slightly less than the maximum reverse voltage that may otherwise be supported by the edge termination of the Schottky diode 10.
The design of the edge termination region 16 shown in FIG. 1 further enhances both the forward and reverse current and voltage characteristics of the Schottky diode 10. Notably, electric fields tend to build about the periphery of the Schottky layer 24, especially as the reverse voltage increases. As the electric fields increase, the reverse leakage current increases, the reverse breakdown voltage decreases, and the ability to control the avalanche current when the breakdown voltage is exceeded is decreased. Each of these characteristics runs counter to the need to provide a Schottky diode 10 that has low reverse leakage currents, high reverse breakdown voltages, and controlled avalanche currents. Fortunately, providing the guard rings 36 around the Schottky layer 24, or active region 14, generally tends to reduce the buildup of the electric fields about the periphery of the Schottky layer 24.
In FIG. 7, an existing passivation structure 40 is shown covering the edge termination region 16 as well as the sides and a portion of the top of the contact mesa. The contact mesa resides over the active region 14 and is formed by the Schottky layer 24, barrier layer 28, and the anode contact 26. The passivation structure 40 is intended to protect the top surface of Schottky diode 10 from the deteriorating effects of various environmental elements, such as water, oxygen, and hydrogen.
Before forming the passivation structure 40, an oxide layer 42 is generally formed over the top surface of the drift layer 22 in the edge termination region 16. As such, the oxide layer 42 extends from the Schottky layer 24 outward past the edge termination structure 32. The oxide layer 42 is silicon dioxide SiO2 and is thermally grown.
The passivation structure 40 includes first passivation layer 44 and a second passivation layer 46. The first passivation layer 44 is silicon nitride SiN, which is deposited through a sputtering process. The second passivation layer 46 is also SiN, but is deposited using a plasma enhanced chemical vapor deposition (PECVD) process instead of using a sputtering process. Over the passivation structure 40 resides an encapsulation layer 48, which is formed from a polyimide. A polyimide generally refers to any polymer of imide monomers. The encapsulation layer 48 provides yet another layer of protection from environmental elements. The second passivation layer 46 is greater in thickness than the first passivation layer 44.
Unfortunately, the passivation structure 40 has proven to be susceptible to various environmental conditions over time. The issue is that tiny paths often form in the SiN of the first and second passivation layers 44 and 46. Paths in the first and second passivation layers 44 and 46 may align to allow water, oxygen, and hydrogen to reach and react with the oxide layer 42, especially in those areas of the edge termination region 16 that are subjected to high electric fields. The reaction results in the oxide layer 42 further oxidizing, which tends to raise and crack the passivation structure 40. The cracks further expose the oxide layer 42 and other parts of the Schottky diode to the environment to perpetuate a viscous cycle that leads to deteriorating performance and device failure.
An improved passivation structure 50 is illustrated in FIG. 8. The passivation structure 50 is shown covering the edge termination region 16 as well as the sides and a portion of the top of the contact mesa. The passivation structure 50 includes a first passivation layer 52, a second passivation layer 54, and a third passivation layer 56, which may be deposited successively in a single deposition run using PECVD, atomic layer deposition (ALD), or like deposition process.
In one embodiment, the first passivation layer 52 is SiN, the second passivation layer 54 is SiO2, and the third passivation layer 56 is SiN. The first passivation layer 52 is deposited using PECVD with a thickness between about 6400 and 9600 Angstroms with a relatively high index of refraction between about 1.85 and 2.25. Alternative thickness ranges for the first passivation layer 52 are between about 7500 and 8500 Angstroms and between about 7800 and 8200 Angstroms. An alternative index of fraction range is between about 1.95 and 2.15.
The second passivation layer 54 is deposited using PECVD with a thickness between about 750 and 1250 Angstroms with a relatively low index of refraction between about 1.4 and 1.6. Alternative thickness ranges for the second passivation layer 54 are between about 800 and 1200 Angstroms and between about 900 and 1100 Angstroms. An alternative index of fraction range is between about 1.45 and 1.5.
The third passivation layer 56 is deposited using PECVD with a thickness between about 2200 and 3800 Angstroms with a relatively high index of refraction between about 1.85 and 2.25. Alternative thickness ranges for the third passivation layer 56 are between about 2400 and 3600 Angstroms and between about 2800 and 3200 Angstroms. An alternative index of fraction range is between about 1.95 and 2.15. In this embodiment, the thickness of the first passivation layer 52 is greater than the thickness of the third passivation layer 56, which is greater than the thickness of the second passivation layer 54. An encapsulation layer 58 is provided over the third passivation layer 56. The encapsulation layer 58 may be a polyimide, organic or polymer-based scratch protectant, or the like.
The cathode ohmic layer 20 is nickel (Ni). The cathode contact 18 may be formed over the cathode ohmic layer 20 with consecutive layers of titanium (Ti), nickel (Ni), and silver (Ag). Other constructions for the cathode ohmic layer 20 and the cathode contact 18 will be appreciated by those skilled in the art.
With the above configuration for the passivation structure 50, the Schottky diode 10 has proven to be surprisingly more resilient to adverse environmental conditions than existing structures. In fact, the passivation structure 50 consistently allows high voltage Schottky diodes 10 to operate without failure at 80% (or greater) of the rated reverse-biased breakdown voltage, 85 Celsius (or greater), and 85% (or greater) humidity for at least 1000 consecutive hours, wherein the rated reverse breakdown voltage is at least 600 volts. By comparison, a Schottky diode 10 that employs the passivation structure 40 (of FIG. 7) will typically fail in less than 100 hours. As such, the improved passivation structure 50 affords a longevity improvement for a high-voltage SiC Schottky diode 10 of an order of magnitude or more over the existing passivation structure 40. Exemplary ratings for the Schottky diode 10 include 600 volts at 1, 2, 3, 4, 6, 8, 10, and 50 amperes; 650 volts at 2, 3, 4, 6, 8, 10, 30, and 50 amperes; and 1200 volts at 2, 5, 8, 10, 15, 20, and 50 amperes. The voltage ratings are for the reverse-biased breakdown voltage and the ampere ratings are for the forward biased current.
While the above embodiments are directed to Schottky diodes 10, all of the contemplated structures and designs are equally applicable to other semiconductor devices that suffer from adverse field effects about the periphery of an active region. Exemplary devices that may benefit from the contemplated structures and designs of the edge termination region 16 include all types of field effect transistors (FETs), insulated gate bipolar transistors (IGBTs), and gate turn-off thyristors (GTOs).
Another characteristic that affects both forward and reverse current and voltage characteristics of the Schottky diode 10 is the barrier height associated with the Schottky junction J1 (FIGS. 6A and 6B), which again, is the metal-semiconductor junction between the metal Schottky layer 24 and the semiconductor drift layer 22. When a metal layer, such as the Schottky layer 24, is in close proximity with a semiconductor layer, such as the drift layer 22, a native potential barrier develops between the two layers. The barrier height associated with the Schottky junction J1 corresponds to the native potential barrier. Absent application of an external voltage, this native potential barrier prevents most charge carriers, either electrons or holes, from moving from one layer to another the other. When an external voltage is applied, the native potential barrier from the semiconductor layer's perspective will effectively increase or decrease. Notably, the potential barrier from the metal layer's perspective will not change when the external voltage is applied.
When a Schottky diode 10 with an N-type drift layer 22 is forward biased, application of a positive voltage at the Schottky layer 24 effectively reduces the native potential barrier and causes electrons to flow from the semiconductor across the metal-semiconductor junction. The magnitude of the native potential barrier, and thus barrier height, bears on the amount of voltage necessary to overcome the native potential barrier and cause the electrons to flow from the semiconductor layer to the metal layer. In effect, the potential barrier is reduced when the Schottky diode is forward biased. When the Schottky diode 10 is reverse biased, the potential barrier is greatly increased and functions to block the flow of electrons.
The material used to form the Schottky layer 24 largely dictates the barrier height associated with the Schottky junction J1. In many applications, a low barrier height is preferred. A lower barrier height allows one of the following. First, a lower barrier height device with a smaller active region 14 can be developed to have the same forward turn on and operating current and voltage ratings as a device having a larger active region 14 and a higher barrier height. In other words, the lower barrier height device with a smaller active region 14 can support the same forward voltage at a given current as a device that has a higher barrier height and a larger active region 14.
Alternatively, a lower barrier height device may have lower forward turn on and operating voltages while handling the same or similar currents as a higher barrier height device when both devices have active regions 14 of the same size. Lower barrier heights also lower the forward biased on-resistances of the devices, which help make the devices more efficient and generate less heat, which can be destructive to the device.
Exemplary metals (including alloys) that are associated with low barrier heights in Schottky applications that employ a SiC drift layer 22 include, but are not limited to tantalum (Ta), titanium (Ti), chromium (Cr), and aluminum (Al), where tantalum is associated with the lowest barrier height of the group. These metals are defined as low barrier height cable metals. While the barrier height is a function of the metal used for the Schottky layer 24, the material used for the drift layer 22, and perhaps the extent of doping in the drift layer 22, exemplary barrier heights that may be achieved with certain embodiments are less than 1.2 election volts (eV), less than 1.1 eV, less than 1.0 eV, less than 0.9 eV, and less than about 0.8 eV.
Turning now to FIGS. 9 through 23, an exemplary process for fabricating a Schottky diode 10, such as the one illustrated in FIG. 8, is provided. In this example, assume that the JB elements 30 are elongated stripes, as illustrated in FIG. 2. Through the description of the process, exemplary materials, doping types, doping levels, structure dimensions, and the selected alternatives are outlined. These aspects are merely illustrative, and the concepts disclosed herein and the claims that follow are not limited to these aspects.
The process starts by providing an N-doped, single crystal, 4H SiC substrate 12, as shown in FIG. 9. The substrate 12 may have various crystalline polytypes, such as 2H, 4H, 6H, 3C and the like. The substrate 12 may also be formed from other material systems, such as gallium nitride (GaN), gallium arsenide (GaAs), silicon (Si), germanium (Ge), SiGe, and the like. The resistivity of the N-doped, SiC substrate 12 is between about 10 milliohm-cm and 30 milliohm-cm in one embodiment. The initial substrate 12 may have a thickness between about 200 microns and 500 microns.
The drift layer 22 may be grown over the substrate 12 and doped in situ, wherein the drift layer 22 is doped as it is grown with an N-type doping material, as shown in FIG. 10. Notably, one or more buffer layers (not shown) may be formed on the substrate 12 prior to forming the drift layer 22. The buffer layer may be used as a nucleation layer and be relatively heavily doped with an N-type doping material. The buffer layer may range from 0.5 to 5 microns in certain embodiments.
The drift layer 22 may be relatively uniformly doped throughout or may employ graded doping throughout all or a portion thereof. For a uniformly doped drift layer 22, the doping concentration may be between about 2×1015 cm−3 and 1×1016 cm−3 in one embodiment. With graded doping, the doping concentration is highest at the bottom of the drift layer 22 near the substrate 12 and lowest at the top of the drift layer 22 near the Schottky layer 24. The doping concentration generally decreases in a stepwise or continuous fashion from a point at or near the bottom to a point at or near the top of the drift layer 22. In one embodiment employing graded doping, the lower portion of the drift layer 22 may be doped at a concentration of about 1×1015 cm−3 and the upper portion of the drift layer 22 maybe doped at a concentration of about 5×1016 cm−3. In another embodiment employing graded doping, the lower portion of the drift layer 22 may be doped at a concentration of about 5×1015 cm−3 and the upper portion of the drift layer 22 may be doped at a concentration of about 1×1016 cm−3.
The drift layer 22 may be between four and ten microns thick in select embodiments, depending on the desired reverse breakdown voltage. In one embodiment, the drift layer 22 is about one micron thick per 100 volts of desired reverse breakdown voltage. For example, a Schottky diode 10 with a reverse breakdown voltage of 600 volts may have a drift layer 22 with a thickness of about six microns.
Next, the well 34 is formed by selectively implanting a portion of the drift layer 22 with a P-type material, as shown in FIG. 11. For example, a Schottky diode 10 with a reverse breakdown voltage of 600 volts and capable of handling a sustained forward current of 50 A may have a well 34 that is lightly doped at a concentration between about 5×1016 cm−3 and 2×1017 cm−3. The well 34 may be between about 0.1 and 0.5 microns deep and have a width substantially corresponding to the width of the edge termination structure 32.
Once the well 34 is formed, the JB elements 30, the edge guard ring 38, and the guard rings 36 are formed by selectively implanting the corresponding portions of the top surface of the drift layer 22 with a P-type material, as shown in FIG. 12. The JB elements 30, the edge guard ring 38, and the guard rings 36 are relatively heavily doped and may be formed at the same time using the same ion implantation process. In one embodiment, a Schottky diode 10 with a reverse breakdown voltage of 600 volts and capable of handling a sustained forward current of 50 A may have the JB elements 30, the edge guard ring 38, and the guard rings 36 all doped at a concentration between about 5×1017 cm−3 and 5×1019 cm−3.
In other embodiments, these elements may be doped at different concentrations using the same or different ion implantation process; for example, when the JB array of JB elements 30 includes different shapes or sizes, as provided in FIGS. 4 and 5, or where the different JB elements 30 have different depths. The depth and spacing between adjacent JB elements 30, between the edge guard ring 38 and a JB element 30, and between adjacent guard rings 36 may vary based on desired device characteristics. For example, the depth of these elements may range from 0.2 to greater than 1.5 microns, and the respective elements may be spaced apart from each other between about one and four microns.
As illustrated in FIG. 13, a thermal oxide layer 42 is formed over the top surface of the drift layer 22. For a SiC drift layer 22, the oxide is silicon dioxide (SiO2). Next, the portion of the thermal oxide layer 42 associated with the active region 14 is removed, as shown in FIG. 14, to form a Schottky recess 60 in which the Schottky layer 24 will be formed.
Once the Schottky recess 60 is formed, the Schottky layer 24 is formed over the portion of drift layer 22 that was exposed by the Schottky recess 60, as illustrated in FIG. 15. The thickness of the Schottky layer 24 will vary based on desired device characteristics and the metal used to form the Schottky layer 24, but will generally be between about 100 and 4500 angstroms. For the referenced 600V device, a Schottky layer 24 formed of titanium (Ti) may be between about 500 and 2500 angstroms; a Schottky layer 24 formed of tantalum (Ta) may be between about 200 and 1200 angstroms; and a Schottky layer 24 formed of aluminum (Al) may be between about 3500 and 4500 angstroms. Depending on the metal used for the Schottky layer 24 and the to-be-formed anode contact 26, one or more barrier layers 28 may be formed over the Schottky layer 24, as shown in FIG. 16. The barrier layer 28 may be formed of tantalum (Ta), titanium tungsten alloy (TiW), titanium nickel alloy (TiN), and any other suitable material, and may be between about 75 and 400 angstroms thick in select embodiments. The barrier layer 28 helps prevent diffusion between the metals used to form the Schottky layer 24 and the to-be-formed anode contact 26. Notably, the barrier layer 28 is not used in certain embodiments where the Schottky layer 24 is tantalum (Ta) and the to-be-formed anode contact 26 is formed from aluminum (Al). The barrier layer 28 is generally beneficial in embodiments where the Schottky layer 24 is titanium (Ti) and the to-be-formed anode contact 26 is formed from aluminum (Al). Tantalum (Ta) is a good material for the barrier layer in this configuration.
Next, the anode contact 26 is formed over the Schottky layer 24, or if present, the barrier layer 28, as shown in FIG. 17. The anode contact 26 is generally relatively thick, formed from a metal, and acts as a bond pad for the anode of the Schottky diode 10. The anode contact 26 may be formed from aluminum (Al), gold (Au), Silver (Ag), and the like.
As shown in FIGS. 18, 19, and 20, the first, second, and third passivation layers 52, 54, 56 may be sequentially formed in a single PECVD process. In one embodiment, the first passivation layer 52 is silicon nitride (SiN), the second passivation layer 54 is silicon dioxide (SiO2), and the third passivation layer 56 is silicon nitride (SiN). As shown in FIG. 21, the encapsulation layer 58 is formed over the third passivation layer 56. The encapsulation layer 58 is a polyimide in one embodiment, and can be etched using photolithography. As such, an area of the encapsulation layer 58 that is over a central portion of the anode contact 26 is etched away to expose a portion of the third passivation layer 56, as shown in FIG. 22.
The remaining portion of the encapsulation layer 58 may at act as mask for etching away those portions of the first, second, and third passivation layers 52, 54, and 56 that reside over that central portion of the anode contact 26. Once etched, the central portion of the anode contact 26 is exposed as shown in FIG. 23. Ultimately, bond wires or the like may be soldered or otherwise connected to the top surface of the anode contact 26 through the opening that exposed the central portion of the anode contact 26.
At this point, processing switches from the front side (top) of the Schottky diode 10 to the back side (bottom) of the Schottky diode 10. While not illustrated, the substrate 12 is substantially thinned by removing a bottom portion of the substrate 12 though a grinding, etching, or like process. For the 600V reference Schottky diode 10, the substrate 12 may be thinned to a thickness between about 50 and 200 microns in a first embodiment, and between about 75 and 125 microns in a second embodiment. Thinning the substrate 12 or otherwise employing a thin substrate 12 reduces the overall electrical and thermal resistance between the anode and cathode of the Schottky diode 10 and allows the device to handle higher current densities without overheating.
Finally, the cathode ohmic layer 20 is formed on the bottom of the thinned substrate 12 with an ohmic metal, such as nickel (Ni), nickel silicide (NiSi), and nickel aluminide (NiAl). In embodiments where the encapsulation layer 58 is employed, the cathode ohmic layer 20 may be laser annealed instead of baking the entire device at a high temperature to anneal the ohmic metal. Laser annealing allows the ohmic metal to be heated sufficiently for annealing, yet does not heat the rest of the device to temperatures that would otherwise damage or destroy the encapsulation layer 58. Once the cathode ohmic layer 20 is formed and annealed, the cathode contact 18 is formed over the cathode ohmic layer 20 to provide a solder or like interface for the Schottky diode 10. In one embodiment, the cathode contact 18 may be formed over the cathode ohmic layer 20 with consecutive layers of titanium (Ti), nickel (Ni), and silver (Ag) wherein silver (Ag) is the outermost layer.
With the concepts disclosed herein, very high performance Schottky diodes 10 may be designed for various applications that require various operation parameters. The current density associated with DC forward-biased currents may exceed 440 amperes/cm in certain embodiments, and may exceed 500 amperes/cm in other embodiments. Further, Schottky diodes 10 may be constructed to have a ratio of DC forward-biased current density to reverse-biased anode-cathode capacitance greater than 0.275, 0.3, 0.325, 0.35, 0.375, and 0.4 ampere/pico-Farad (A/pF) in various embodiments, wherein the reverse-biased anode-cathode voltage is determined when the Schottky diode is reverse biased to a point where the active region is essentially fully depleted.
Those skilled in the art will recognize improvements and modifications to the embodiments of the present disclosure. All such improvements and modifications are considered within the scope of the concepts disclosed herein and the claims that follow.

Claims (51)

What is claimed is:
1. A Schottky diode comprising:
a silicon carbide substrate;
a silicon carbide drift layer over the silicon carbide substrate and providing an active region and an edge termination region about the active region;
a Schottky contact having sides and a top extending between the sides and comprising a Schottky layer over the active region and an anode contact over the Schottky layer; and
a passivation structure comprising a first silicon nitride layer, a silicon dioxide layer over the first silicon nitride layer, and a second silicon nitride layer over the silicon dioxide layer, wherein the first silicon nitride layer, the silicon dioxide layer, and the second silicon nitride layer are plasma enhanced chemical vapor deposition layers such that a thickness of the first silicon nitride layer is greater than a thickness of the second silicon nitride layer and the passivation structure covers the edge termination region, the sides of the Schottky contact, and at least a portion of the top of the Schottky contact.
2. The Schottky diode of claim 1 further comprising an oxide layer between the passivation structure and the silicon carbide drift layer and extending outward from the sides of the Schottky contact over the edge termination region.
3. The Schottky diode of claim 2 wherein the oxide layer does not cover the top of the Schottky contact and portions of the sides of the Schottky contact that extend above the oxide layer.
4. The Schottky diode of claim 3 wherein the oxide layer is a thermally grown silicon dioxide layer.
5. The Schottky diode of claim 2 wherein the oxide layer is a thermally grown silicon dioxide layer.
6. The Schottky diode of claim 1 further comprising a cathode contact on a bottom side of the silicon carbide substrate opposite the silicon carbide drift layer.
7. The Schottky diode of claim 1 wherein the Schottky contact further comprises a tantalum barrier layer between the anode contact and the Schottky layer.
8. The Schottky diode of claim 1 further comprising an encapsulation layer over the passivation structure.
9. The Schottky diode of claim 8 wherein the encapsulation layer is a polyimide layer.
10. The Schottky diode of claim 1 wherein the thickness of the second silicon nitride layer is greater than a thickness of the silicon dioxide layer.
11. The Schottky diode of claim 1 wherein the thickness of the first silicon nitride layer is between about 6400 and 9600 Angstroms, a thickness of the silicon dioxide layer is between about 900 and 1100 Angstroms, and the thickness of the second silicon nitride layer is between about 2400 and 3600 Angstroms.
12. The Schottky diode of claim 11 wherein an index of refraction for the first silicon nitride layer is between about 1.95 and 2.15, an index of refraction for the silicon dioxide layer is between about 1.45 and 1.5, and an index of refraction for the second silicon nitride layer is between about 1.95 and 2.15.
13. The Schottky diode of claim 1 wherein an index of refraction for the first silicon nitride layer is between about 1.95 and 2.15, an index of refraction for the silicon dioxide layer is between about 1.45 and 1.5, and an index of refraction for the second silicon nitride layer is between about 1.95 and 2.15.
14. The Schottky diode of claim 1 further comprising an oxide layer that extends outward from the sides of the Schottky contact over the edge termination region, and wherein
for the passivation structure, the first silicon nitride layer is directly on the oxide layer, the silicon dioxide layer is directly on the first silicon nitride layer, and the second silicon nitride layer is directly on the silicon dioxide layer.
15. The Schottky diode of claim 14 wherein the oxide layer is a thermally grown silicon dioxide layer that does not cover the top of the Schottky contact and portions of the sides of the Schottky contact that extend above the silicon dioxide layer.
16. The Schottky diode of claim 1 wherein the Schottky diode has a rated reverse breakdown voltage and can operate at 80% of the rated reverse breakdown voltage, at 85% humidity, and at 85 Celsius for at least 1000 hours without failing.
17. The Schottky diode of claim 1 wherein the Schottky diode has a rated reverse breakdown voltage of at least 600 V.
18. A method for fabricating a Schottky diode comprising:
providing a silicon carbide substrate with a silicon carbide drift layer over the silicon carbide substrate, the silicon carbide drift layer having an active region and an edge termination region about the active region;
forming a Schottky contact over the active region, the Schottky contact having sides and a top extending between the sides and comprising a Schottky layer over the active region and an anode contact over the Schottky layer; and
forming a passivation structure comprising a first silicon nitride layer, a silicon dioxide layer over the first silicon nitride layer, and a second silicon nitride layer over the silicon dioxide layer, wherein the first silicon nitride layer, the silicon dioxide layer, and the second silicon nitride layer are plasma enhanced chemical vapor deposition layers such that a thickness of the first silicon nitride layer is greater than a thickness of the second silicon nitride layer and the passivation structure covers the edge termination region, the sides of the Schottky contact, and at least a portion of the top of the Schottky contact.
19. The method of claim 18 wherein the first silicon nitride layer, the silicon dioxide layer, and the second silicon nitride layer are successively formed during a single plasma enhanced chemical vapor deposition process.
20. The method of claim 18 further comprising forming an oxide layer that extends outward from the sides of the Schottky contact over the edge termination region prior to forming the passivation structure.
21. The method of claim 20 wherein the oxide layer does not cover the top of the Schottky contact and portions of the sides of the Schottky contact that extend above the oxide layer.
22. The method of claim 21 wherein the oxide layer is a thermally grown silicon dioxide layer.
23. The method of claim 20 wherein the oxide layer is a thermally grown silicon dioxide layer.
24. The method of claim 18 further comprising forming a cathode contact on a bottom side of the silicon carbide substrate opposite the silicon carbide drift layer.
25. The method of claim 24 wherein the thickness of the first silicon nitride layer is greater than a thickness of the silicon dioxide layer.
26. The method of claim 18 wherein the thickness of the first silicon nitride layer is between about 6400 and 9600 Angstroms, a thickness of the silicon dioxide layer is between about 900 and 1100 Angstroms, and the thickness of the second silicon nitride layer is between about 2400 and 3600 Angstroms.
27. The method of claim 26 wherein an index of refraction for the first silicon nitride layer is between about 1.95 and 2.15, an index of refraction for the silicon dioxide layer is between about 1.45 and 1.5, and an index of refraction for the second silicon nitride layer is between about 1.95 and 2.15.
28. The method of claim 18 wherein the Schottky diode has a rated reverse breakdown voltage and can operate at 80% of the rated reverse breakdown voltage, at 85% humidity, and at 85 Celsius for at least 1000 hours without failing.
29. The method of claim 18 wherein the Schottky diode has a rated reverse breakdown voltage of at least 600 V.
30. The method of claim 18 further comprising forming a polyimide layer over the passivation structure.
31. The method of claim 18 further comprising forming an oxide layer that extends outward from the sides of the Schottky contact over the edge termination region prior to forming the passivation structure, and wherein the first silicon nitride layer is directly on the oxide layer, the silicon dioxide layer is directly on the first silicon nitride layer, and the second silicon nitride layer is directly on the silicon dioxide layer.
32. The method of claim 18 wherein the oxide layer is a thermally grown silicon dioxide layer that does not cover the top of the Schottky contact and portions of the sides of the Schottky contact that extend above the silicon dioxide layer.
33. The method of claim 18 wherein the thickness of the second silicon nitride layer is greater than a thickness of the silicon dioxide layer.
34. The method of claim 18 wherein an index of refraction for the first silicon nitride layer is between about 1.95 and 2.15, an index of refraction for the silicon dioxide layer is between about 1.45 and 1.5, and an index of refraction for the second silicon nitride layer is between about 1.95 and 2.15.
35. The method of claim 18 further comprising forming a tantalum barrier layer between the anode contact and the Schottky layer.
36. A semiconductor device comprising:
a silicon carbide substrate;
a silicon carbide drift layer over the silicon carbide substrate;
a contact on the silicon carbide drift layer, the contact having sides and a top extending between the sides; and
a passivation structure covering the sides of the contact and at least a portion of the top of the contact, the passivation structure comprising a first silicon nitride layer, a silicon dioxide layer on the first silicon nitride layer, and a second silicon nitride layer on the silicon dioxide layer, wherein:
the first silicon nitride layer, the silicon dioxide layer, and the second silicon nitride layer are plasma enhanced chemical vapor deposition layers; and
a thickness of the first silicon nitride layer is greater than a thickness of the second silicon nitride layer.
37. The semiconductor device of claim 36 wherein the silicon carbide drift layer provides an active region and an edge termination region about the active region.
38. The semiconductor device of claim 37 wherein the passivation structure covers the edge termination region.
39. The semiconductor device of claim 38 further comprising an oxide layer between the passivation structure and the silicon carbide drift layer, the oxide layer extending outward from the sides of the contact over the edge termination region.
40. The semiconductor device of claim 39 wherein the oxide layer does not cover the top of the contact and portions of the sides of the contact that extend above the oxide layer.
41. The semiconductor device of claim 40 wherein the oxide layer is a thermally grown silicon dioxide layer.
42. The semiconductor device of claim 39 wherein the oxide layer is a thermally grown silicon dioxide layer.
43. The semiconductor device of claim 36 further comprising an additional contact on the silicon carbide substrate opposite the drift layer.
44. The semiconductor device of claim 36 further comprising an encapsulation layer over the passivation structure.
45. The semiconductor device of claim 44 wherein the encapsulation layer is a polyimide layer.
46. The semiconductor device of claim 36 wherein the thickness of the second silicon nitride layer is greater than a thickness of the silicon dioxide layer.
47. The semiconductor device of claim 46 wherein:
the thickness of the first silicon nitride layer is between about 6400 and 9600 Angstroms;
the thickness of the silicon dioxide layer is between about 900 and 1100 Angstroms; and
the thickness of the second silicon nitride layer is between about 2400 and 3600 Angstroms.
48. The semiconductor device of claim 47 wherein:
an index of refraction for the first silicon nitride layer is between about 1.95 and 2.15;
an index of refraction for the silicon dioxide layer is between about 1.45 and 1.5; and
an index of refraction for the second silicon nitride layer is between about 1.95 and 2.15.
49. The semiconductor device of claim 36 wherein:
an index of refraction for the first silicon nitride layer is between about 1.95 and 2.15;
an index of refraction for the silicon dioxide layer is between about 1.45 and 1.5; and
an index of refraction for the second silicon nitride layer is between about 1.95 and 2.15.
50. The semiconductor device of claim 38 further comprising an oxide layer that extends outward from the sides of the contact over the edge termination region, wherein the first silicon nitride layer is directly on the oxide layer, the silicon dioxide layer is directly on the first silicon nitride layer, and the second silicon nitride layer is directly on the silicon dioxide layer.
51. The semiconductor device of claim 50 wherein the oxide layer is a thermally grown silicon dioxide layer that does not cover the top of the contact and portions of the sides of the contact that extend above the silicon dioxide layer.
US16/681,044 2012-10-04 2019-11-12 Passivation structure for semiconductor devices Active USRE49167E1 (en)

Priority Applications (1)

Application Number Priority Date Filing Date Title
US16/681,044 USRE49167E1 (en) 2012-10-04 2019-11-12 Passivation structure for semiconductor devices

Applications Claiming Priority (4)

Application Number Priority Date Filing Date Title
US13/644,506 US8994073B2 (en) 2012-10-04 2012-10-04 Hydrogen mitigation schemes in the passivation of advanced devices
US13/804,126 US9812338B2 (en) 2013-03-14 2013-03-14 Encapsulation of advanced devices using novel PECVD and ALD schemes
US14/497,568 US9991399B2 (en) 2012-10-04 2014-09-26 Passivation structure for semiconductor devices
US16/681,044 USRE49167E1 (en) 2012-10-04 2019-11-12 Passivation structure for semiconductor devices

Related Parent Applications (1)

Application Number Title Priority Date Filing Date
US14/497,568 Reissue US9991399B2 (en) 2012-10-04 2014-09-26 Passivation structure for semiconductor devices

Publications (1)

Publication Number Publication Date
USRE49167E1 true USRE49167E1 (en) 2022-08-09

Family

ID=55585360

Family Applications (2)

Application Number Title Priority Date Filing Date
US14/497,568 Ceased US9991399B2 (en) 2012-10-04 2014-09-26 Passivation structure for semiconductor devices
US16/681,044 Active USRE49167E1 (en) 2012-10-04 2019-11-12 Passivation structure for semiconductor devices

Family Applications Before (1)

Application Number Title Priority Date Filing Date
US14/497,568 Ceased US9991399B2 (en) 2012-10-04 2014-09-26 Passivation structure for semiconductor devices

Country Status (1)

Country Link
US (2) US9991399B2 (en)

Families Citing this family (35)

* Cited by examiner, † Cited by third party
Publication number Priority date Publication date Assignee Title
US9991399B2 (en) 2012-10-04 2018-06-05 Cree, Inc. Passivation structure for semiconductor devices
JP2016081981A (en) * 2014-10-14 2016-05-16 株式会社日立製作所 Semiconductor device and manufacturing method of the same
JP6256659B2 (en) * 2015-04-20 2018-01-10 富士電機株式会社 Semiconductor device
JP6380666B2 (en) 2015-04-20 2018-08-29 富士電機株式会社 Semiconductor device
DE112015006098T5 (en) * 2015-05-15 2017-11-30 Hitachi, Ltd. Power semiconductor element and power semiconductor module using this
CN106206678A (en) * 2016-08-30 2016-12-07 张家港意发功率半导体有限公司 A kind of gallium nitride Schottky diode and preparation method thereof
JP6528793B2 (en) * 2017-02-22 2019-06-12 サンケン電気株式会社 Semiconductor device
JP2018148012A (en) 2017-03-06 2018-09-20 サンケン電気株式会社 Semiconductor device
SE541291C2 (en) * 2017-09-15 2019-06-11 Ascatron Ab Feeder design with high current capability
US10332817B1 (en) 2017-12-01 2019-06-25 Cree, Inc. Semiconductor die with improved ruggedness
US10608122B2 (en) 2018-03-13 2020-03-31 Semicondutor Components Industries, Llc Schottky device and method of manufacture
US10991215B2 (en) 2018-03-20 2021-04-27 Ideal Industries Lighting Llc Intelligent signage
US10811370B2 (en) 2018-04-24 2020-10-20 Cree, Inc. Packaged electronic circuits having moisture protection encapsulation and methods of forming same
US10957664B2 (en) * 2019-05-29 2021-03-23 Taiwan Semiconductor Manufacturing Company Ltd. Semiconductor structure and manufacturing method thereof
JP7142606B2 (en) * 2019-06-04 2022-09-27 三菱電機株式会社 semiconductor equipment
DE102019122888B4 (en) * 2019-08-27 2024-09-26 Infineon Technologies Ag Power semiconductor device and method
CN112531008A (en) * 2019-09-19 2021-03-19 上海先进半导体制造股份有限公司 Manufacturing method of Schottky diode and Schottky diode
EP3800660B1 (en) 2019-10-02 2025-02-19 STMicroelectronics S.r.l. Silicon carbide power device with improved robustness and corresponding manufacturing process
US20210175138A1 (en) * 2019-12-05 2021-06-10 Cree, Inc. Semiconductors Having Die Pads with Environmental Protection and Process of Making Semiconductors Having Die Pads with Environmental Protection
JP7305591B2 (en) * 2020-03-24 2023-07-10 株式会社東芝 semiconductor equipment
CN216413051U (en) 2020-09-04 2022-04-29 意法半导体股份有限公司 semiconductor equipment
JP7758501B2 (en) 2020-09-04 2025-10-22 エスティーマイクロエレクトロニクス エス.アール.エル. Method for manufacturing elements of electronic devices with improved reliability, and related elements, electronic devices, and electronic equipment
US11600724B2 (en) 2020-09-24 2023-03-07 Wolfspeed, Inc. Edge termination structures for semiconductor devices
EP3975265A1 (en) * 2020-09-28 2022-03-30 Nexperia B.V. A semiconductor device and a method of manufacturing of a semiconductor device
CN113451417B (en) * 2021-06-29 2023-08-04 厦门市三安集成电路有限公司 Power device and preparation method thereof
CN113451416B (en) * 2021-06-29 2023-03-24 厦门市三安集成电路有限公司 Power device and preparation method thereof
US20220384366A1 (en) * 2021-06-01 2022-12-01 Cree, Inc. Multilayer encapsulation for humidity robustness and related fabrication methods
CN113964209A (en) * 2021-08-30 2022-01-21 瑶芯微电子科技(上海)有限公司 SiC Schottky power diode and preparation method thereof
US12300564B2 (en) 2021-10-18 2025-05-13 Wolfspeed, Inc. Transistor device structure with angled wire bonds
IT202100029939A1 (en) * 2021-11-26 2023-05-26 St Microelectronics Srl METHOD OF MANUFACTURING AN ANCHOR ELEMENT OF AN ELECTRONIC DEVICE BASED ON SIC, ANCHOR ELEMENT, AND ELECTRONIC DEVICE
CN114724933A (en) * 2022-03-07 2022-07-08 乐山无线电股份有限公司 Preparation method of passivation structure in silicon carbide power component
US20230317634A1 (en) * 2022-04-05 2023-10-05 Applied Materials, Inc. Coatings with diffusion barriers for corrosion and contamination protection
CN115295632B (en) * 2022-07-20 2025-11-04 北京大学深圳研究生院 A Schottky diode and its manufacturing method
EP4340033A1 (en) * 2022-09-15 2024-03-20 Nexperia B.V. Mps diode having a doped region and method for manufacturing the same
EP4340035A1 (en) * 2022-09-15 2024-03-20 Nexperia B.V. Mps diode having non-uniformly spaced wells and method for manufacturing the same

Citations (113)

* Cited by examiner, † Cited by third party
Publication number Priority date Publication date Assignee Title
US3895127A (en) 1974-04-19 1975-07-15 Rca Corp Method of selectively depositing glass on semiconductor devices
US3982267A (en) 1974-04-16 1976-09-21 Thomson-Csf Pin diode with a thick intrinsic zone and a device comprising such a diode
US4551353A (en) 1981-12-30 1985-11-05 Unitrode Corporation Method for reducing leakage currents in semiconductor devices
US4593302A (en) 1980-08-18 1986-06-03 International Rectifier Corporation Process for manufacture of high power MOSFET with laterally distributed high carrier density beneath the gate oxide
US4717641A (en) 1986-01-16 1988-01-05 Motorola Inc. Method for passivating a semiconductor junction
US4799100A (en) 1987-02-17 1989-01-17 Siliconix Incorporated Method and apparatus for increasing breakdown of a planar junction
JPH056886A (en) 1991-06-27 1993-01-14 Kawasaki Steel Corp Method for forming passivation film of semiconductor device
JPH05218015A (en) 1992-01-30 1993-08-27 Sumitomo Electric Ind Ltd Semiconductor device
JPH05234991A (en) 1992-02-26 1993-09-10 Sumitomo Electric Ind Ltd Semiconductor device
US5332697A (en) 1989-05-31 1994-07-26 Smith Rosemary L Formation of silicon nitride by nitridation of porous silicon
US5430324A (en) 1992-07-23 1995-07-04 Siliconix, Incorporated High voltage transistor having edge termination utilizing trench technology
US5466617A (en) 1992-03-20 1995-11-14 U.S. Philips Corporation Manufacturing electronic devices comprising TFTs and MIMs
US5650638A (en) 1995-01-03 1997-07-22 Abb Research Ltd. Semiconductor device having a passivation layer
US5686360A (en) 1995-11-30 1997-11-11 Motorola Passivation of organic devices
US5776837A (en) 1992-06-05 1998-07-07 Cree Research, Inc. Method of obtaining high quality silicon dioxide passivation on silicon carbide and resulting passivated structures
US5972801A (en) 1995-11-08 1999-10-26 Cree Research, Inc. Process for reducing defects in oxide layers on silicon carbide
US6001716A (en) 1998-05-22 1999-12-14 United Silicon Incorporated Fabricating method of a metal gate
WO2001013436A1 (en) 1999-08-16 2001-02-22 Cornell Research Foundation, Inc. Passivation of gan based fets
US6246076B1 (en) 1998-08-28 2001-06-12 Cree, Inc. Layered dielectric on silicon carbide semiconductor structures
US20010019168A1 (en) 1998-07-09 2001-09-06 Josef Willer Semiconductor component with passivation
US20010023964A1 (en) 2000-02-04 2001-09-27 Yifeng Wu Group III nitride based FETs and hemts with reduced trapping and method for producing the same
US20010028100A1 (en) 1997-07-25 2001-10-11 Hughes Electronics Corporation. Passivation layer and process for semiconductor devices
EP1149934A2 (en) 2000-04-28 2001-10-31 Asm Japan K.K. CVD synthesis of silicon nitride materials
US20010050369A1 (en) 1999-06-28 2001-12-13 Intersil Corporation Edge termination for silicon power devices
US6333255B1 (en) 1997-08-21 2001-12-25 Matsushita Electronics Corporation Method for making semiconductor device containing low carbon film for interconnect structures
US20020011656A1 (en) 2000-06-22 2002-01-31 Swanson Leland S. Semiconductor device protective overcoat with enhanced adhesion to polymeric materials and method of fabrication
US6373076B1 (en) * 1999-12-07 2002-04-16 Philips Electronics North America Corporation Passivated silicon carbide devices with low leakage current and method of fabricating
US20020052076A1 (en) 2000-09-27 2002-05-02 Khan Muhammad Asif Metal oxide semiconductor heterostructure field effect transistor
US6396090B1 (en) 2000-09-22 2002-05-28 Industrial Technology Research Institute Trench MOS device and termination structure
WO2002049114A2 (en) 2000-12-12 2002-06-20 The Kansai Electric Power Co., Inc. High withstand voltage semiconductor device
US6426542B1 (en) 1998-05-01 2002-07-30 Allen Tan Schottky diode with dielectric trench
US6429518B1 (en) 1998-10-05 2002-08-06 Tokyo Electron Ltd. Semiconductor device having a fluorine-added carbon film as an inter-layer insulating film
US20030020092A1 (en) 2001-07-24 2003-01-30 Primit Parikh Insulating gate AlGaN/GaN HEMT
US20030025121A1 (en) 1997-08-29 2003-02-06 Edmond John Adam Robust Group III light emitting diode for high reliability in standard packaging applications
US6528373B2 (en) 2001-02-12 2003-03-04 Cree, Inc. Layered dielectric on silicon carbide semiconductor structures
US20030098497A1 (en) 2001-11-29 2003-05-29 Symetrix Corporation Barrier layers for protecting metal oxides from hydrogen degradation
US20030117066A1 (en) 2001-03-28 2003-06-26 Silvernail Jeffrey Alan Multilayer barrier region containing moisture- and oxygen-absorbing material for optoelectronic devices
US6610366B2 (en) 2000-10-03 2003-08-26 Cree, Inc. Method of N2O annealing an oxide layer on a silicon carbide layer
US6611014B1 (en) 1999-05-14 2003-08-26 Kabushiki Kaisha Toshiba Semiconductor device having ferroelectric capacitor and hydrogen barrier film and manufacturing method thereof
US20030160274A1 (en) 1998-08-28 2003-08-28 Das Mrinal Kanti Methods of fabricating high voltage, high temperature capacitor and interconnection structures
US20030209708A1 (en) 2002-03-25 2003-11-13 Pioneer Corporation Organic electroluminescenst display panel and manufacturing method therefor
US6673662B2 (en) 2000-11-28 2004-01-06 Cree, Inc. Epitaxial edge termination for silicon carbide Schottky devices and methods of fabricating silicon carbide devices incorporating same
TW579600B (en) 2001-05-11 2004-03-11 Cree Inc Group-III nitride based high electron mobility transistor (HEMT) with barrier/spacer layer
US20040099928A1 (en) 2002-11-27 2004-05-27 Nunan Thomas K. Composite dielectric with improved etch selectivity for high voltage mems structures
US20040099888A1 (en) 2002-11-26 2004-05-27 Saptharishi Sriram Transistors having buried p-type layers beneath the source region
US20040118202A1 (en) 2002-12-13 2004-06-24 Denso Corporation Flow sensor having thin film portion and method for manufacturing the same
US6767843B2 (en) 2000-10-03 2004-07-27 Cree, Inc. Method of N2O growth of an oxide layer on a silicon carbide layer
US6774015B1 (en) 2002-12-19 2004-08-10 International Business Machines Corporation Strained silicon-on-insulator (SSOI) and method to form the same
US20040160118A1 (en) 2002-11-08 2004-08-19 Knollenberg Clifford F. Actuator apparatus and method for improved deflection characteristics
US20040159865A1 (en) 2000-05-10 2004-08-19 Allen Scott T. Methods of fabricating silicon carbide metal-semiconductor field effect transistors
US6797586B2 (en) 2001-06-28 2004-09-28 Koninklijke Philips Electronics N.V. Silicon carbide schottky barrier diode and method of making
US20040202097A1 (en) 2003-04-08 2004-10-14 Tdk Corporation Optical recording disk
US20050019971A1 (en) 2001-07-23 2005-01-27 Slater David B. Methods of fabricating light emitting devices using mesa regions and passivation layers
US20050097941A1 (en) 2003-11-12 2005-05-12 General Electric Company Gas sensor device
US20050110042A1 (en) 2003-01-29 2005-05-26 Wataru Saito Power semiconductor device
US20050133835A1 (en) 2003-12-17 2005-06-23 Haowen Bu Reduced hydrogen sidewall spacer oxide
US20050156284A1 (en) 2003-12-16 2005-07-21 Infineon Technologies Ag Semiconductor component having a pn junction and a passivation layer applied on a surface
US20050170574A1 (en) 2004-01-16 2005-08-04 Sheppard Scott T. Nitride-based transistors with a protective layer and a low-damage recess and methods of fabrication thereof
US6939756B1 (en) 2000-03-24 2005-09-06 Vanderbilt University Inclusion of nitrogen at the silicon dioxide-silicon carbide interace for passivation of interface defects
US20050193800A1 (en) 2001-03-29 2005-09-08 Deboer John Porous gas sensors and method of preparation thereof
US20050212075A1 (en) 2004-03-16 2005-09-29 Ixys Semiconductor Gmbh Power semiconductor component in the planar technique
US20050221628A1 (en) 2004-03-30 2005-10-06 Eudyna Devices Inc. Semiconductor device and method of fabricating the same
US20050258431A1 (en) 2004-05-22 2005-11-24 Smith Richard P Dielectric passivation for semiconductor devices
WO2005114743A2 (en) 2004-05-11 2005-12-01 Cree, Inc. Wide bandgap transistors with multiple field plates
US20050274980A1 (en) 2004-06-15 2005-12-15 Ngk Insulators, Ltd. Semiconductor multilayer structure, semiconductor device and HEMT device
US20050285233A1 (en) 2004-06-24 2005-12-29 Taiwan Semiconductor Manufacturing Co., Ltd. Thin film transistor (TFT) device structure employing silicon rich silicon oxide passivation layer
US20060006415A1 (en) 2004-05-11 2006-01-12 Cree, Inc. Wide bandgap HEMTs with source connected field plates
US20060006414A1 (en) 2004-06-30 2006-01-12 Marianne Germain AlGaN/GaN high electron mobility transistor devices
US20060043437A1 (en) 2004-08-24 2006-03-02 Chandra Mouli Transparent metal shielded isolation for image sensors
US20060043379A1 (en) * 2004-08-31 2006-03-02 An-Ping Zhang SIC metal semiconductor field-effect transistors and methods for producing same
US20060118892A1 (en) 2004-12-02 2006-06-08 Taiwan Semiconductor Manufacturing Company, Ltd. Methods and Structures to Produce a Strain-Inducing Layer in a Semiconductor Device
US20060145283A1 (en) * 2005-01-06 2006-07-06 Zhu Tinggang Gallium nitride semiconductor device
US20060145190A1 (en) 2004-12-31 2006-07-06 Salzman David B Surface passivation for III-V compound semiconductors
US20060157733A1 (en) 2003-06-13 2006-07-20 Gerald Lucovsky Complex oxides for use in semiconductor devices and related methods
US20060191474A1 (en) 2005-02-02 2006-08-31 Agency For Science, Technology And Research Method and structure for fabricating III-V nitride layers on silicon substrates
US20060202272A1 (en) 2005-03-11 2006-09-14 Cree, Inc. Wide bandgap transistors with gate-source field plates
US20070001176A1 (en) 2005-06-29 2007-01-04 Ward Allan Iii Environmentally robust passivation structures for high-voltage silicon carbide semiconductor devices
WO2007002860A1 (en) 2005-06-29 2007-01-04 Cree, Inc. Passivation of wide band-gap based semiconductor devices with hydrogen-free sputtered nitrides
US20070018198A1 (en) 2005-07-20 2007-01-25 Brandes George R High electron mobility electronic device structures comprising native substrates and methods for making the same
US20070018199A1 (en) 2005-07-20 2007-01-25 Cree, Inc. Nitride-based transistors and fabrication methods with an etch stop layer
WO2007064689A1 (en) 2005-12-02 2007-06-07 Nitronex Corporation Gallium nitride material devices and associated methods
EP1798762A2 (en) 2005-12-13 2007-06-20 Cree Inc. Semiconductor devices including implanted regions and protective layers and methods of forming the same
US20070164322A1 (en) 2006-01-17 2007-07-19 Cree, Inc. Methods of fabricating transistors including dielectrically-supported gate electrodes and related devices
US20070164321A1 (en) 2006-01-17 2007-07-19 Cree, Inc. Methods of fabricating transistors including supported gate electrodes and related devices
US20080035934A1 (en) * 2005-06-29 2008-02-14 Sheppard Scott T Passivation of Wide Band-Gap Based Semiconductor Devices with Hydrogen-Free Sputtered Nitrides
US20080286968A1 (en) * 2004-10-21 2008-11-20 Siliconix Technology C.V. Solderable top metal for silicon carbide semiconductor devices
JP2009094311A (en) 2007-10-10 2009-04-30 Fujitsu Microelectronics Ltd Method of manufacturing semiconductor device
JP2010109276A (en) 2008-10-31 2010-05-13 Sumitomo Electric Ind Ltd Method of manufacturing semiconductor element, and semiconductor element
US20100193839A1 (en) 2009-02-03 2010-08-05 Sharp Kabushiki Kaisha III-V-Group compound semiconductor device
US20100193772A1 (en) 2009-02-04 2010-08-05 Sony Corporation Thin film transistor and display device
US20100279092A1 (en) 2007-06-01 2010-11-04 Lg Chem, Ltd. Multiple-layer film and method for manufacturnig the same
US20100304047A1 (en) 2008-06-02 2010-12-02 Air Products And Chemicals, Inc. Low Temperature Deposition of Silicon-Containing Films
US20110151173A1 (en) 2008-04-29 2011-06-23 Agency For Science, Technology And Research Inorganic graded barrier film and methods for their manufacture
WO2011125928A1 (en) 2010-04-01 2011-10-13 ローム株式会社 Semiconductor device and method for manufacturing same
US8247811B2 (en) 2009-02-04 2012-08-21 Sony Corporation Thin-film transistor and display device
US20120281452A1 (en) 2011-01-25 2012-11-08 Huo Zongliang Resistive random memory cell and memory
US20120319572A1 (en) 2011-06-14 2012-12-20 Lg Display Co., Ltd. Plastic Organic Electroluminescent Display Device and Method of Fabricating the Same
US20130037804A1 (en) 2011-08-10 2013-02-14 Jae-Seob LEE Display device
US20130062619A1 (en) * 2011-09-11 2013-03-14 Cree, Inc. Edge termination structure employing recesses for edge termination elements
US20130062723A1 (en) * 2011-09-11 2013-03-14 Cree, Inc. Schottky diode
US20130226268A1 (en) * 2010-07-26 2013-08-29 Merck Patent Gmbh Nanocrystals in devices
US8633585B2 (en) 2008-01-30 2014-01-21 Osram Opto Semiconductors Gmbh Device comprising an encapsulation unit
US20140048781A1 (en) * 2012-08-17 2014-02-20 Samsung Display Co., Ltd. Organic light-emitting display apparatus and method of manufacturing the same
US20140097469A1 (en) 2012-10-04 2014-04-10 Cree, Inc. Hydrogen mitigation schemes in the passivation of advanced devices
US20140145289A1 (en) * 2012-11-27 2014-05-29 Cree, Inc. Schottky structure employing central implants between junction barrier elements
US20140264960A1 (en) 2013-03-14 2014-09-18 Cree, Inc. Encapsulation of advanced devices using novel pecvd and ald schemes
US20140291697A1 (en) * 2013-03-26 2014-10-02 Infineon Technologies Ag Silicon carbide device and a method for forming a silicon carbide device
US20150008447A1 (en) * 2013-07-02 2015-01-08 Infineon Technologies Ag Silicon Carbide Device and a Method for Manufacturing A Silicon Carbide Device
US20150115285A1 (en) * 2012-04-27 2015-04-30 Fuji Electric Co., Ltd. Semiconductor device and fabrication method of semiconductor device
US20150115284A1 (en) * 2012-05-17 2015-04-30 General Electric Company Semiconductor device with junction termination extension
US20150115287A1 (en) * 2012-05-31 2015-04-30 National Institute Of Advanced Industrial Science And Technology Silicon carbide semiconductor device and fabrication method of silicon carbide semiconductor device
US20150372094A1 (en) * 2013-03-08 2015-12-24 Sumitomo Electric Industries, Ltd. Silicon carbide semiconductor device and method for manufacturing silicon carbide semiconductor device
US20160093748A1 (en) 2012-10-04 2016-03-31 Cree, Inc. Passivation for semiconductor devices

Patent Citations (146)

* Cited by examiner, † Cited by third party
Publication number Priority date Publication date Assignee Title
US3982267A (en) 1974-04-16 1976-09-21 Thomson-Csf Pin diode with a thick intrinsic zone and a device comprising such a diode
US3895127A (en) 1974-04-19 1975-07-15 Rca Corp Method of selectively depositing glass on semiconductor devices
US4593302B1 (en) 1980-08-18 1998-02-03 Int Rectifier Corp Process for manufacture of high power mosfet laterally distributed high carrier density beneath the gate oxide
US4593302A (en) 1980-08-18 1986-06-03 International Rectifier Corporation Process for manufacture of high power MOSFET with laterally distributed high carrier density beneath the gate oxide
US4551353A (en) 1981-12-30 1985-11-05 Unitrode Corporation Method for reducing leakage currents in semiconductor devices
US4717641A (en) 1986-01-16 1988-01-05 Motorola Inc. Method for passivating a semiconductor junction
US4799100A (en) 1987-02-17 1989-01-17 Siliconix Incorporated Method and apparatus for increasing breakdown of a planar junction
US5332697A (en) 1989-05-31 1994-07-26 Smith Rosemary L Formation of silicon nitride by nitridation of porous silicon
JPH056886A (en) 1991-06-27 1993-01-14 Kawasaki Steel Corp Method for forming passivation film of semiconductor device
JPH05218015A (en) 1992-01-30 1993-08-27 Sumitomo Electric Ind Ltd Semiconductor device
JPH05234991A (en) 1992-02-26 1993-09-10 Sumitomo Electric Ind Ltd Semiconductor device
US5466617A (en) 1992-03-20 1995-11-14 U.S. Philips Corporation Manufacturing electronic devices comprising TFTs and MIMs
US5776837A (en) 1992-06-05 1998-07-07 Cree Research, Inc. Method of obtaining high quality silicon dioxide passivation on silicon carbide and resulting passivated structures
US5430324A (en) 1992-07-23 1995-07-04 Siliconix, Incorporated High voltage transistor having edge termination utilizing trench technology
US5605852A (en) 1992-07-23 1997-02-25 Siliconix Incorporated Method for fabricating high voltage transistor having trenched termination
US5650638A (en) 1995-01-03 1997-07-22 Abb Research Ltd. Semiconductor device having a passivation layer
US5972801A (en) 1995-11-08 1999-10-26 Cree Research, Inc. Process for reducing defects in oxide layers on silicon carbide
US5686360A (en) 1995-11-30 1997-11-11 Motorola Passivation of organic devices
US20010028100A1 (en) 1997-07-25 2001-10-11 Hughes Electronics Corporation. Passivation layer and process for semiconductor devices
US6333255B1 (en) 1997-08-21 2001-12-25 Matsushita Electronics Corporation Method for making semiconductor device containing low carbon film for interconnect structures
US20030025121A1 (en) 1997-08-29 2003-02-06 Edmond John Adam Robust Group III light emitting diode for high reliability in standard packaging applications
US20030201453A2 (en) 1997-08-29 2003-10-30 Cree, Inc. Robust Group III Light Emitting Diode for High Reliability in Standard Packaging Applications
US6825501B2 (en) 1997-08-29 2004-11-30 Cree, Inc. Robust Group III light emitting diode for high reliability in standard packaging applications
US6426542B1 (en) 1998-05-01 2002-07-30 Allen Tan Schottky diode with dielectric trench
TW471049B (en) 1998-05-22 2002-01-01 United Microelectronics Corp Metal gate structure and manufacturing method for metal oxide semiconductor
US6001716A (en) 1998-05-22 1999-12-14 United Silicon Incorporated Fabricating method of a metal gate
US20010019168A1 (en) 1998-07-09 2001-09-06 Josef Willer Semiconductor component with passivation
US6246076B1 (en) 1998-08-28 2001-06-12 Cree, Inc. Layered dielectric on silicon carbide semiconductor structures
US20010009788A1 (en) 1998-08-28 2001-07-26 Lipkin Lori A. Layered dielectric on silicon carbide semiconductor structures
US20030160274A1 (en) 1998-08-28 2003-08-28 Das Mrinal Kanti Methods of fabricating high voltage, high temperature capacitor and interconnection structures
US6437371B2 (en) 1998-08-28 2002-08-20 Cree, Inc. Layered dielectric on silicon carbide semiconductor structures
US6429518B1 (en) 1998-10-05 2002-08-06 Tokyo Electron Ltd. Semiconductor device having a fluorine-added carbon film as an inter-layer insulating film
US6611014B1 (en) 1999-05-14 2003-08-26 Kabushiki Kaisha Toshiba Semiconductor device having ferroelectric capacitor and hydrogen barrier film and manufacturing method thereof
US20040084701A1 (en) 1999-05-14 2004-05-06 Kabushiki Kaisha Toshiba Semiconductor device having ferroelectric capacitor and hydrogen barrier film and manufacturing method thereof
US20010050369A1 (en) 1999-06-28 2001-12-13 Intersil Corporation Edge termination for silicon power devices
TW474024B (en) 1999-08-16 2002-01-21 Cornell Res Foundation Inc Passivation of GaN based FETs
WO2001013436A1 (en) 1999-08-16 2001-02-22 Cornell Research Foundation, Inc. Passivation of gan based fets
US20020121641A1 (en) 1999-12-07 2002-09-05 Philips Electronics North America Corporation Passivated silicon carbide devices with low leakage current and method of fabricating
US6373076B1 (en) * 1999-12-07 2002-04-16 Philips Electronics North America Corporation Passivated silicon carbide devices with low leakage current and method of fabricating
US20010023964A1 (en) 2000-02-04 2001-09-27 Yifeng Wu Group III nitride based FETs and hemts with reduced trapping and method for producing the same
US6586781B2 (en) 2000-02-04 2003-07-01 Cree Lighting Company Group III nitride based FETs and HEMTs with reduced trapping and method for producing the same
US6939756B1 (en) 2000-03-24 2005-09-06 Vanderbilt University Inclusion of nitrogen at the silicon dioxide-silicon carbide interace for passivation of interface defects
EP1149934A2 (en) 2000-04-28 2001-10-31 Asm Japan K.K. CVD synthesis of silicon nitride materials
US20040159865A1 (en) 2000-05-10 2004-08-19 Allen Scott T. Methods of fabricating silicon carbide metal-semiconductor field effect transistors
US20020011656A1 (en) 2000-06-22 2002-01-31 Swanson Leland S. Semiconductor device protective overcoat with enhanced adhesion to polymeric materials and method of fabrication
US6396090B1 (en) 2000-09-22 2002-05-28 Industrial Technology Research Institute Trench MOS device and termination structure
US20020052076A1 (en) 2000-09-27 2002-05-02 Khan Muhammad Asif Metal oxide semiconductor heterostructure field effect transistor
US6610366B2 (en) 2000-10-03 2003-08-26 Cree, Inc. Method of N2O annealing an oxide layer on a silicon carbide layer
US6767843B2 (en) 2000-10-03 2004-07-27 Cree, Inc. Method of N2O growth of an oxide layer on a silicon carbide layer
US6673662B2 (en) 2000-11-28 2004-01-06 Cree, Inc. Epitaxial edge termination for silicon carbide Schottky devices and methods of fabricating silicon carbide devices incorporating same
WO2002049114A2 (en) 2000-12-12 2002-06-20 The Kansai Electric Power Co., Inc. High withstand voltage semiconductor device
US6528373B2 (en) 2001-02-12 2003-03-04 Cree, Inc. Layered dielectric on silicon carbide semiconductor structures
US20030117066A1 (en) 2001-03-28 2003-06-26 Silvernail Jeffrey Alan Multilayer barrier region containing moisture- and oxygen-absorbing material for optoelectronic devices
US20050193800A1 (en) 2001-03-29 2005-09-08 Deboer John Porous gas sensors and method of preparation thereof
US6849882B2 (en) 2001-05-11 2005-02-01 Cree Inc. Group-III nitride based high electron mobility transistor (HEMT) with barrier/spacer layer
TW579600B (en) 2001-05-11 2004-03-11 Cree Inc Group-III nitride based high electron mobility transistor (HEMT) with barrier/spacer layer
US6797586B2 (en) 2001-06-28 2004-09-28 Koninklijke Philips Electronics N.V. Silicon carbide schottky barrier diode and method of making
US20050019971A1 (en) 2001-07-23 2005-01-27 Slater David B. Methods of fabricating light emitting devices using mesa regions and passivation layers
US20030020092A1 (en) 2001-07-24 2003-01-30 Primit Parikh Insulating gate AlGaN/GaN HEMT
WO2003032397A2 (en) 2001-07-24 2003-04-17 Cree, Inc. INSULTING GATE AlGaN/GaN HEMT
US20030098497A1 (en) 2001-11-29 2003-05-29 Symetrix Corporation Barrier layers for protecting metal oxides from hydrogen degradation
US20030209708A1 (en) 2002-03-25 2003-11-13 Pioneer Corporation Organic electroluminescenst display panel and manufacturing method therefor
US20040160118A1 (en) 2002-11-08 2004-08-19 Knollenberg Clifford F. Actuator apparatus and method for improved deflection characteristics
US20040099888A1 (en) 2002-11-26 2004-05-27 Saptharishi Sriram Transistors having buried p-type layers beneath the source region
US20040099928A1 (en) 2002-11-27 2004-05-27 Nunan Thomas K. Composite dielectric with improved etch selectivity for high voltage mems structures
US20040118202A1 (en) 2002-12-13 2004-06-24 Denso Corporation Flow sensor having thin film portion and method for manufacturing the same
US6774015B1 (en) 2002-12-19 2004-08-10 International Business Machines Corporation Strained silicon-on-insulator (SSOI) and method to form the same
US20050110042A1 (en) 2003-01-29 2005-05-26 Wataru Saito Power semiconductor device
US20040202097A1 (en) 2003-04-08 2004-10-14 Tdk Corporation Optical recording disk
US20060157733A1 (en) 2003-06-13 2006-07-20 Gerald Lucovsky Complex oxides for use in semiconductor devices and related methods
US20050097941A1 (en) 2003-11-12 2005-05-12 General Electric Company Gas sensor device
US20050156284A1 (en) 2003-12-16 2005-07-21 Infineon Technologies Ag Semiconductor component having a pn junction and a passivation layer applied on a surface
US20050133835A1 (en) 2003-12-17 2005-06-23 Haowen Bu Reduced hydrogen sidewall spacer oxide
WO2005076365A1 (en) 2004-01-16 2005-08-18 Cree, Inc. Nitride-based transistors with a protective layer and a low-damage recess and methods of fabrication thereof
US20050170574A1 (en) 2004-01-16 2005-08-04 Sheppard Scott T. Nitride-based transistors with a protective layer and a low-damage recess and methods of fabrication thereof
US20050212075A1 (en) 2004-03-16 2005-09-29 Ixys Semiconductor Gmbh Power semiconductor component in the planar technique
US20050221628A1 (en) 2004-03-30 2005-10-06 Eudyna Devices Inc. Semiconductor device and method of fabricating the same
WO2005114743A2 (en) 2004-05-11 2005-12-01 Cree, Inc. Wide bandgap transistors with multiple field plates
US20060006415A1 (en) 2004-05-11 2006-01-12 Cree, Inc. Wide bandgap HEMTs with source connected field plates
US20050258431A1 (en) 2004-05-22 2005-11-24 Smith Richard P Dielectric passivation for semiconductor devices
WO2005117129A1 (en) 2004-05-22 2005-12-08 Cree, Inc. Improved dielectric passivation for semiconductor devices
US7332795B2 (en) 2004-05-22 2008-02-19 Cree, Inc. Dielectric passivation for semiconductor devices
US20050274980A1 (en) 2004-06-15 2005-12-15 Ngk Insulators, Ltd. Semiconductor multilayer structure, semiconductor device and HEMT device
US20050285233A1 (en) 2004-06-24 2005-12-29 Taiwan Semiconductor Manufacturing Co., Ltd. Thin film transistor (TFT) device structure employing silicon rich silicon oxide passivation layer
US20060006414A1 (en) 2004-06-30 2006-01-12 Marianne Germain AlGaN/GaN high electron mobility transistor devices
US20060043437A1 (en) 2004-08-24 2006-03-02 Chandra Mouli Transparent metal shielded isolation for image sensors
US20060043379A1 (en) * 2004-08-31 2006-03-02 An-Ping Zhang SIC metal semiconductor field-effect transistors and methods for producing same
US20080286968A1 (en) * 2004-10-21 2008-11-20 Siliconix Technology C.V. Solderable top metal for silicon carbide semiconductor devices
US20060118892A1 (en) 2004-12-02 2006-06-08 Taiwan Semiconductor Manufacturing Company, Ltd. Methods and Structures to Produce a Strain-Inducing Layer in a Semiconductor Device
US20060145190A1 (en) 2004-12-31 2006-07-06 Salzman David B Surface passivation for III-V compound semiconductors
US20060145283A1 (en) * 2005-01-06 2006-07-06 Zhu Tinggang Gallium nitride semiconductor device
US20060191474A1 (en) 2005-02-02 2006-08-31 Agency For Science, Technology And Research Method and structure for fabricating III-V nitride layers on silicon substrates
US20060202272A1 (en) 2005-03-11 2006-09-14 Cree, Inc. Wide bandgap transistors with gate-source field plates
WO2006098801A1 (en) 2005-03-11 2006-09-21 Cree, Inc. Wide bandgap transistors with gate-source field plates
US7858460B2 (en) 2005-06-29 2010-12-28 Cree, Inc. Passivation of wide band-gap based semiconductor devices with hydrogen-free sputtered nitrides
US7598576B2 (en) 2005-06-29 2009-10-06 Cree, Inc. Environmentally robust passivation structures for high-voltage silicon carbide semiconductor devices
US20070018272A1 (en) 2005-06-29 2007-01-25 Henning Jason P Reduced Leakage Power Devices By Inversion Layer Surface Passivation
US20070001176A1 (en) 2005-06-29 2007-01-04 Ward Allan Iii Environmentally robust passivation structures for high-voltage silicon carbide semiconductor devices
US20090215280A1 (en) 2005-06-29 2009-08-27 Cree, Inc. Passivation of Wide Band-Gap Based Semiconductor Devices with Hydrogen-Free Sputtered Nitrides
US7525122B2 (en) 2005-06-29 2009-04-28 Cree, Inc. Passivation of wide band-gap based semiconductor devices with hydrogen-free sputtered nitrides
US20070001174A1 (en) 2005-06-29 2007-01-04 Zoltan Ring Passivation of wide band-gap based semiconductor devices with hydrogen-free sputtered nitrides
WO2007002860A1 (en) 2005-06-29 2007-01-04 Cree, Inc. Passivation of wide band-gap based semiconductor devices with hydrogen-free sputtered nitrides
US7855401B2 (en) 2005-06-29 2010-12-21 Cree, Inc. Passivation of wide band-gap based semiconductor devices with hydrogen-free sputtered nitrides
US7696584B2 (en) 2005-06-29 2010-04-13 Cree, Inc. Reduced leakage power devices by inversion layer surface passivation
US20080035934A1 (en) * 2005-06-29 2008-02-14 Sheppard Scott T Passivation of Wide Band-Gap Based Semiconductor Devices with Hydrogen-Free Sputtered Nitrides
US20070018198A1 (en) 2005-07-20 2007-01-25 Brandes George R High electron mobility electronic device structures comprising native substrates and methods for making the same
WO2007018918A2 (en) 2005-07-20 2007-02-15 Cree, Inc. Nitride-based transistors and fabrication methods with an etch stop layer
WO2007018653A2 (en) 2005-07-20 2007-02-15 Cree, Inc. High electron mobility electronic device structures comprising native substrates and methods for making the same
US20070018199A1 (en) 2005-07-20 2007-01-25 Cree, Inc. Nitride-based transistors and fabrication methods with an etch stop layer
WO2007064689A1 (en) 2005-12-02 2007-06-07 Nitronex Corporation Gallium nitride material devices and associated methods
EP1798762A2 (en) 2005-12-13 2007-06-20 Cree Inc. Semiconductor devices including implanted regions and protective layers and methods of forming the same
EP1972013A2 (en) 2006-01-10 2008-09-24 Cree, Inc. Environmentally robust passivation structures for high-voltage silicon carbide semiconductor devices
WO2007081528A2 (en) 2006-01-10 2007-07-19 Cree, Inc. Environmentally robust passivation structures for high-voltage silicon carbide semiconductor devices
US20070164321A1 (en) 2006-01-17 2007-07-19 Cree, Inc. Methods of fabricating transistors including supported gate electrodes and related devices
US20070164322A1 (en) 2006-01-17 2007-07-19 Cree, Inc. Methods of fabricating transistors including dielectrically-supported gate electrodes and related devices
US20100279092A1 (en) 2007-06-01 2010-11-04 Lg Chem, Ltd. Multiple-layer film and method for manufacturnig the same
EP2031648A2 (en) 2007-08-28 2009-03-04 Cree, Inc. Passivation of wide band-gap based semiconductor devices with hydrogen-free sputtered nitrides
JP2009094311A (en) 2007-10-10 2009-04-30 Fujitsu Microelectronics Ltd Method of manufacturing semiconductor device
US8633585B2 (en) 2008-01-30 2014-01-21 Osram Opto Semiconductors Gmbh Device comprising an encapsulation unit
US20110151173A1 (en) 2008-04-29 2011-06-23 Agency For Science, Technology And Research Inorganic graded barrier film and methods for their manufacture
US20100304047A1 (en) 2008-06-02 2010-12-02 Air Products And Chemicals, Inc. Low Temperature Deposition of Silicon-Containing Films
JP2010109276A (en) 2008-10-31 2010-05-13 Sumitomo Electric Ind Ltd Method of manufacturing semiconductor element, and semiconductor element
US20100193839A1 (en) 2009-02-03 2010-08-05 Sharp Kabushiki Kaisha III-V-Group compound semiconductor device
US20100193772A1 (en) 2009-02-04 2010-08-05 Sony Corporation Thin film transistor and display device
US8247811B2 (en) 2009-02-04 2012-08-21 Sony Corporation Thin-film transistor and display device
WO2011125928A1 (en) 2010-04-01 2011-10-13 ローム株式会社 Semiconductor device and method for manufacturing same
US20130001785A1 (en) * 2010-04-01 2013-01-03 Yuichi Nakao Semiconductor device and method for manufacturing same
US20130226268A1 (en) * 2010-07-26 2013-08-29 Merck Patent Gmbh Nanocrystals in devices
US20120281452A1 (en) 2011-01-25 2012-11-08 Huo Zongliang Resistive random memory cell and memory
US20120319572A1 (en) 2011-06-14 2012-12-20 Lg Display Co., Ltd. Plastic Organic Electroluminescent Display Device and Method of Fabricating the Same
US20130037804A1 (en) 2011-08-10 2013-02-14 Jae-Seob LEE Display device
US20130062723A1 (en) * 2011-09-11 2013-03-14 Cree, Inc. Schottky diode
US20130062619A1 (en) * 2011-09-11 2013-03-14 Cree, Inc. Edge termination structure employing recesses for edge termination elements
US8680587B2 (en) 2011-09-11 2014-03-25 Cree, Inc. Schottky diode
US20150115285A1 (en) * 2012-04-27 2015-04-30 Fuji Electric Co., Ltd. Semiconductor device and fabrication method of semiconductor device
US20150115284A1 (en) * 2012-05-17 2015-04-30 General Electric Company Semiconductor device with junction termination extension
US20150115287A1 (en) * 2012-05-31 2015-04-30 National Institute Of Advanced Industrial Science And Technology Silicon carbide semiconductor device and fabrication method of silicon carbide semiconductor device
US20140048781A1 (en) * 2012-08-17 2014-02-20 Samsung Display Co., Ltd. Organic light-emitting display apparatus and method of manufacturing the same
US8994073B2 (en) 2012-10-04 2015-03-31 Cree, Inc. Hydrogen mitigation schemes in the passivation of advanced devices
US20140097469A1 (en) 2012-10-04 2014-04-10 Cree, Inc. Hydrogen mitigation schemes in the passivation of advanced devices
US20160093748A1 (en) 2012-10-04 2016-03-31 Cree, Inc. Passivation for semiconductor devices
US20140145289A1 (en) * 2012-11-27 2014-05-29 Cree, Inc. Schottky structure employing central implants between junction barrier elements
US20150372094A1 (en) * 2013-03-08 2015-12-24 Sumitomo Electric Industries, Ltd. Silicon carbide semiconductor device and method for manufacturing silicon carbide semiconductor device
US20140264960A1 (en) 2013-03-14 2014-09-18 Cree, Inc. Encapsulation of advanced devices using novel pecvd and ald schemes
US20140291697A1 (en) * 2013-03-26 2014-10-02 Infineon Technologies Ag Silicon carbide device and a method for forming a silicon carbide device
US20150008447A1 (en) * 2013-07-02 2015-01-08 Infineon Technologies Ag Silicon Carbide Device and a Method for Manufacturing A Silicon Carbide Device

Non-Patent Citations (64)

* Cited by examiner, † Cited by third party
Title
Advisory Action and AFCP 2.0 Decision for U.S. Appl. No. 13/804,126, dated Dec. 22, 2015, 4 pages.
Appeal Decision of Refusal for Japanese Patent Application No. 2013-077659, dated Sep. 27, 2016, 21 pages.
Chung, G.Y. et al. "Effect of Nitric Oxide Annealing on the Interface Trap Densities Near the Band Edges in the 4H Polytype of Silicon Carbide," Applied Physics Letters, vol. 76, No. 13, Mar. 27, 2000, pp. 1713-1715.
Corrected Notice of Allowability for U.S. Appl. No. 13/804,126, dated Aug. 14, 2017, 4 pages.
Corrected Notice of Allowability for U.S. Appl. No. 13/804,126, dated Sep. 12, 2017, 5 pages.
Decision of Rejection for Japanese Patent Application No. 2013-077659, dated Mar. 3, 2015, 8 pages.
Decision to Grant a Patent for Japanese Patent Application No. 2015-535697, dated Feb. 6, 2018, 4 pages.
Decision to Refuse for European Patent Application No. 06 785 888.6, dated Jul. 16, 2015, 13 pages.
Examination Report for European Patent Application No. 08163116.0, dated Aug. 30, 2013, 4 pages.
Examination Report for European Patent Application No. 08163116.0, dated Oct. 14, 2015, 4 pages.
Examination Report for European Patent Application No. 13774322.5, dated May 31, 2017, 6 pages.
Extended European Search Report for European Patent Application No. 08163116.0, dated Jan. 15, 2010, 2 pages.
Final Office Action for U.S. Appl. No. 13/804,126, dated Aug. 28, 2015, 9 pages.
Final Office Action for U.S. Appl. No. 13/804,126, dated Feb. 9, 2017, 9 pages.
Final Office Action for U.S. Appl. No. 14/497,568, dated Apr. 3, 2017, 22 pages.
Ganem, J.J. et al., "NRA and XPS Characterizations of Layers Formed by Rapid Thermal Nitridation of Thin SIO2 Films," Nuclear Instruments & Methods in Physics Research, Section B: Beam Interactions with Materials and Atoms, vol. 1364, No. 1-4, 1992, pp. 744-749.
International Preliminary Report on Patentability for International Patent Application No. PCT/US2006/025447, dated Jan. 9, 2008, 7 pages.
International Preliminary Report on Patentability for PCT/US2013/061798, dated Apr. 16, 2015, 7 pages.
International Preliminary Report on Patentability for PCT/US2014/011286, dated Sep. 24, 2015, 11 pages.
International Search Report and Written Opinion for International Patent Application No. PCT/US2006/025447, dated Oct. 5, 2006, 9 pages.
International Search Report and Written Opinion for PCT/US2013/061798, dated Dec. 20, 2013, 10 pages.
International Search Report and Written Opinion for PCT/US2014/011286, dated Jun. 17, 2014, 16 pages.
International Search Report for PCT/US2006/048817, dated Jun. 25, 2007, 3 pages.
Invitation to Pay Additional Fees and Partial Search for PCT/US2014/011286, dated Apr. 23, 2014, 6 pages.
Japanese Office Action for Japanese Patent Application No. 2008-218759 dated May 17, 2012, 9 pages.
Japanese Office Action for Japanese Patent Application No. 2013-077659, dated Jun. 24, 2014, 6 pages.
Li, H.F. et al., "Improving SiO2 Grown on P-type 4H-SiC by NO Annealing," Materials Science Forum, vol. 264-268, 1998, pp. 869-872.
Lipkin et al., "Improved Oxidation Procedures for Reduced SiO2/SiC defects," Journal of Electronic Materials, vol. 25, No. 5, 1996, pp. 909-915.
Non-Final Office Action for U.S. Appl. No. 11/169,378, dated Dec. 10, 2007, 7 pages.
Non-Final Office Action for U.S. Appl. No. 11/328,550, dated Jun. 27, 2008, 7 pages.
Non-Final Office Action for U.S. Appl. No. 11/462,016, dated May 11, 2009, 14 pages.
Non-Final Office Action for U.S. Appl. No. 11/845,805, dated Apr. 2, 2010, 13 pages.
Non-Final Office Action for U.S. Appl. No. 13/644,506, dated Dec. 24, 2013, 12 pages.
Non-Final Office Action for U.S. Appl. No. 13/804,126, dated Jan. 29, 2015, 10 pages.
Non-Final Office Action for U.S. Appl. No. 13/804,126, dated Jun. 16, 2016, 10 pages.
Non-Final Office Action for U.S. Appl. No. 14/497,568, dated May 5, 2016, 19 pages.
Non-Final Office Action for U.S. Appl. No. 14/497,568, dated Nov. 6, 2015, 20 pages.
Non-Final Office Action for U.S. Appl. No. 14/497,568, dated Oct. 18, 2016, 19 pages.
Notice of Allowance for Korean Patent Application No. 10-2015-7011180, dated Jan. 26, 2017, 4 pages.
Notice of Allowance for U.S. Appl. No. 11/169,378, dated Jan. 26, 2009, 7 pages.
Notice of Allowance for U.S. Appl. No. 11/169,378, dated Jul. 29, 2008, 7 pages.
Notice of Allowance for U.S. Appl. No. 11/328,550, dated Mar. 30, 2009, 6 pages.
Notice of Allowance for U.S. Appl. No. 11/328,550, dated Oct. 7, 2008, 7 pages.
Notice of Allowance for U.S. Appl. No. 11/462,016, dated Dec. 4, 2009, 8 pages.
Notice of Allowance for U.S. Appl. No. 11/845,805, dated Aug. 12, 2010, 6, pages.
Notice of Allowance for U.S. Appl. No. 12/404,557, dated Apr. 12, 2010, 6 pages.
Notice of Allowance for U.S. Appl. No. 12/404,557, dated Aug. 19, 2010, 6 pages.
Notice of Allowance for U.S. Appl. No. 13/644,506, dated Apr. 15, 2014, 7 pages.
Notice of Allowance for U.S. Appl. No. 13/644,506, dated Jul. 18, 2014, 7 pages.
Notice of Allowance for U.S. Appl. No. 13/644,506, dated Nov. 7, 2014, 5 pages.
Notice of Allowance for U.S. Appl. No. 13/804,126, dated Jun. 15, 2017, 9 pages.
Notice of Allowance for U.S. Appl. No. 14/497,568, dated Feb. 9, 2018, 9 pages.
Notice of Allowance for U.S. Appl. No. 14/497,568, dated Sep. 25, 2017, 8 pages.
Notice of Preliminary Rejection for Korean Patent Application No. 10-2015-7011180, dated Jul. 28, 2016, 10 pages.
Notice of Reasons for Rejection for Japanese Patent Application No. 2015-535697, dated Aug. 1, 2017, 5 pages.
Notice of Reasons for Rejection for Japanese Patent Application No. 2015-535697, dated Nov. 15, 2016, 12 pages.
Ohno, Y. et al., "Effects of Surface Passivation on Breakdown of AlGaN/GaN High-Electron-Mobility Transistors," Applied Physics Letters, vol. 84, No. 12, Mar. 22, 2004, pp. 2184-2186.
Pre-appeal Reexamination Report for Japanese Patent Application No. 2013-077659, dated Sep. 28, 2015, 4 pages.
Restriction Requirement for U.S. Appl. No. 11/169,378, dated Aug. 29, 2007, 5 pages.
Restriction Requirement for U.S. Appl. No. 11/328,550, dated May 2, 2008, 7 pages.
Restriction Requirement for U.S. Appl. No. 11/462,016, dated Dec. 29, 2008, 7 pages.
Restriction Requirement for U.S. Appl. No. 13/644,506, dated Oct. 9, 2013, 6 pages.
Summons to Attend Oral Proceedings for European Patent Application 06785888.6, dated Apr. 15, 2014, 7 pages.
Taiwanese Search Report for Taiwanese Patent Application No. 095123557 dated Jan. 15, 2009 1 page.

Also Published As

Publication number Publication date
US9991399B2 (en) 2018-06-05
US20160093748A1 (en) 2016-03-31

Similar Documents

Publication Publication Date Title
USRE49167E1 (en) Passivation structure for semiconductor devices
US9865750B2 (en) Schottky diode
US8664665B2 (en) Schottky diode employing recesses for elements of junction barrier array
US8618582B2 (en) Edge termination structure employing recesses for edge termination elements
US9831355B2 (en) Schottky structure employing central implants between junction barrier elements

Legal Events

Date Code Title Description
FEPP Fee payment procedure

Free format text: ENTITY STATUS SET TO UNDISCOUNTED (ORIGINAL EVENT CODE: BIG.); ENTITY STATUS OF PATENT OWNER: LARGE ENTITY

AS Assignment

Owner name: WOLFSPEED, INC., NORTH CAROLINA

Free format text: CHANGE OF NAME;ASSIGNOR:CREE, INC.;REEL/FRAME:057891/0880

Effective date: 20211001

AS Assignment

Owner name: U.S. BANK TRUST COMPANY, NATIONAL ASSOCIATION, NORTH CAROLINA

Free format text: SECURITY INTEREST;ASSIGNOR:WOLFSPEED, INC.;REEL/FRAME:064185/0755

Effective date: 20230623

AS Assignment

Owner name: U.S. BANK TRUST COMPANY, NATIONAL ASSOCIATION, AS COLLATERAL AGENT, TENNESSEE

Free format text: NOTICE OF GRANT OF SECURITY INTEREST IN INTELLECTUAL PROPERTY;ASSIGNOR:WOLFSPEED, INC.;REEL/FRAME:072992/0113

Effective date: 20250929

Owner name: U.S. BANK TRUST COMPANY, NATIONAL ASSOCIATION, AS COLLATERAL AGENT, TENNESSEE

Free format text: NOTICE OF GRANT OF SECURITY INTEREST IN INTELLECTUAL PROPERTY;ASSIGNOR:WOLFSPEED, INC.;REEL/FRAME:072992/0467

Effective date: 20250929

Owner name: WOLFSPEED, INC., NORTH CAROLINA

Free format text: RELEASE OF SECURITY INTEREST IN INTELLECTUAL PROPERTY COLLATERAL AT REEL/FRAME NO. 64185/0755;ASSIGNOR:U.S. BANK TRUST COMPANY, NATIONAL ASSOCIATION, AS COLLATERAL AGENT;REEL/FRAME:072989/0001

Effective date: 20250929

Owner name: U.S. BANK TRUST COMPANY, NATIONAL ASSOCIATION, AS COLLATERAL AGENT, TENNESSEE

Free format text: NOTICE OF GRANT OF SECURITY INTEREST IN INTELLECTUAL PROPERTY;ASSIGNOR:WOLFSPEED, INC.;REEL/FRAME:072992/0381

Effective date: 20250929

Owner name: U.S. BANK TRUST COMPANY, NATIONAL ASSOCIATION, AS COLLATERAL AGENT, TENNESSEE

Free format text: NOTICE OF GRANT OF SECURITY INTEREST IN INTELLECTUAL PROPERTY;ASSIGNOR:WOLFSPEED, INC.;REEL/FRAME:072992/0588

Effective date: 20250929

MAFP Maintenance fee payment

Free format text: PAYMENT OF MAINTENANCE FEE, 8TH YEAR, LARGE ENTITY (ORIGINAL EVENT CODE: M1552); ENTITY STATUS OF PATENT OWNER: LARGE ENTITY

Year of fee payment: 8