USRE48025E1 - Obstructive sleep apnea treatment devices, systems and methods - Google Patents

Obstructive sleep apnea treatment devices, systems and methods Download PDF

Info

Publication number
USRE48025E1
USRE48025E1 US14/693,836 US201514693836A USRE48025E US RE48025 E1 USRE48025 E1 US RE48025E1 US 201514693836 A US201514693836 A US 201514693836A US RE48025 E USRE48025 E US RE48025E
Authority
US
United States
Prior art keywords
nerve
stimulation
electrode
cuff
signal
Prior art date
Legal status (The legal status is an assumption and is not a legal conclusion. Google has not performed a legal analysis and makes no representation as to the accuracy of the status listed.)
Active
Application number
US14/693,836
Inventor
Stephen L. Bolea
Thomas B. Hoegh
Bruce J. Persson
Robert E. Atkinson
Sidney F. Hauschild
Paula M. Kaplan
Brian D. Kuhnley
Keith E. Jasperson
Wondimeneh Tesfayesus
Christopher K. Thorp
Current Assignee (The listed assignees may be inaccurate. Google has not performed a legal analysis and makes no representation or warranty as to the accuracy of the list.)
Livanova USA Inc
Original Assignee
Livanova USA Inc
Priority date (The priority date is an assumption and is not a legal conclusion. Google has not performed a legal analysis and makes no representation as to the accuracy of the date listed.)
Filing date
Publication date
Family has litigation
First worldwide family litigation filed litigation Critical https://patents.darts-ip.com/?family=39185965&utm_source=google_patent&utm_medium=platform_link&utm_campaign=public_patent_search&patent=USRE48025(E1) "Global patent litigation dataset” by Darts-ip is licensed under a Creative Commons Attribution 4.0 International License.
Priority to US14/693,836 priority Critical patent/USRE48025E1/en
Application filed by Livanova USA Inc filed Critical Livanova USA Inc
Assigned to Livanova Usa, Inc. reassignment Livanova Usa, Inc. CHANGE OF NAME (SEE DOCUMENT FOR DETAILS). Assignors: CYBERONICS, INC.
Publication of USRE48025E1 publication Critical patent/USRE48025E1/en
Application granted granted Critical
Assigned to ARES CAPITAL CORPORATION, AS COLLATERAL AGENT reassignment ARES CAPITAL CORPORATION, AS COLLATERAL AGENT PATENT SECURITY AGREEMENT Assignors: Livanova Usa, Inc.
Assigned to ACF FINCO I LP, AS COLLATERAL AGENT reassignment ACF FINCO I LP, AS COLLATERAL AGENT PATENT SECURITY AGREEMENT Assignors: Livanova Usa, Inc.
Assigned to Livanova Usa, Inc. reassignment Livanova Usa, Inc. RELEASE BY SECURED PARTY (SEE DOCUMENT FOR DETAILS). Assignors: ARES CAPITAL CORPORATION, AS AGENT FOR THE LENDERS
Assigned to GOLDMAN SACHS BANK USA, AS COLLATERAL AGENT reassignment GOLDMAN SACHS BANK USA, AS COLLATERAL AGENT SECURITY INTEREST (SEE DOCUMENT FOR DETAILS). Assignors: Livanova Usa, Inc.
Assigned to Livanova Usa, Inc. reassignment Livanova Usa, Inc. RELEASE BY SECURED PARTY (SEE DOCUMENT FOR DETAILS). Assignors: ACF FINCO I LP
Active legal-status Critical Current
Anticipated expiration legal-status Critical

Links

Images

Classifications

    • AHUMAN NECESSITIES
    • A61MEDICAL OR VETERINARY SCIENCE; HYGIENE
    • A61NELECTROTHERAPY; MAGNETOTHERAPY; RADIATION THERAPY; ULTRASOUND THERAPY
    • A61N1/00Electrotherapy; Circuits therefor
    • A61N1/18Applying electric currents by contact electrodes
    • A61N1/32Applying electric currents by contact electrodes alternating or intermittent currents
    • A61N1/36Applying electric currents by contact electrodes alternating or intermittent currents for stimulation
    • A61N1/3605Implantable neurostimulators for stimulating central or peripheral nerve system
    • A61N1/3606Implantable neurostimulators for stimulating central or peripheral nerve system adapted for a particular treatment
    • AHUMAN NECESSITIES
    • A61MEDICAL OR VETERINARY SCIENCE; HYGIENE
    • A61NELECTROTHERAPY; MAGNETOTHERAPY; RADIATION THERAPY; ULTRASOUND THERAPY
    • A61N1/00Electrotherapy; Circuits therefor
    • A61N1/02Details
    • A61N1/04Electrodes
    • A61N1/05Electrodes for implantation or insertion into the body, e.g. heart electrode
    • A61N1/0551Spinal or peripheral nerve electrodes
    • A61N1/0556Cuff electrodes
    • AHUMAN NECESSITIES
    • A61MEDICAL OR VETERINARY SCIENCE; HYGIENE
    • A61NELECTROTHERAPY; MAGNETOTHERAPY; RADIATION THERAPY; ULTRASOUND THERAPY
    • A61N1/00Electrotherapy; Circuits therefor
    • A61N1/02Details
    • A61N1/04Electrodes
    • A61N1/05Electrodes for implantation or insertion into the body, e.g. heart electrode
    • A61N1/0551Spinal or peripheral nerve electrodes
    • A61N1/0558Anchoring or fixation means therefor
    • AHUMAN NECESSITIES
    • A61MEDICAL OR VETERINARY SCIENCE; HYGIENE
    • A61NELECTROTHERAPY; MAGNETOTHERAPY; RADIATION THERAPY; ULTRASOUND THERAPY
    • A61N1/00Electrotherapy; Circuits therefor
    • A61N1/18Applying electric currents by contact electrodes
    • A61N1/32Applying electric currents by contact electrodes alternating or intermittent currents
    • A61N1/36Applying electric currents by contact electrodes alternating or intermittent currents for stimulation
    • A61N1/3601Applying electric currents by contact electrodes alternating or intermittent currents for stimulation of respiratory organs
    • AHUMAN NECESSITIES
    • A61MEDICAL OR VETERINARY SCIENCE; HYGIENE
    • A61NELECTROTHERAPY; MAGNETOTHERAPY; RADIATION THERAPY; ULTRASOUND THERAPY
    • A61N1/00Electrotherapy; Circuits therefor
    • A61N1/18Applying electric currents by contact electrodes
    • A61N1/32Applying electric currents by contact electrodes alternating or intermittent currents
    • A61N1/36Applying electric currents by contact electrodes alternating or intermittent currents for stimulation
    • A61N1/372Arrangements in connection with the implantation of stimulators
    • A61N1/37211Means for communicating with stimulators
    • A61N1/37217Means for communicating with stimulators characterised by the communication link, e.g. acoustic or tactile
    • A61N1/37223Circuits for electromagnetic coupling
    • A61N1/37229Shape or location of the implanted or external antenna
    • A61B5/0809
    • AHUMAN NECESSITIES
    • A61MEDICAL OR VETERINARY SCIENCE; HYGIENE
    • A61BDIAGNOSIS; SURGERY; IDENTIFICATION
    • A61B5/00Measuring for diagnostic purposes; Identification of persons
    • A61B5/08Measuring devices for evaluating the respiratory organs
    • A61B5/085Measuring impedance of respiratory organs or lung elasticity
    • A61B5/086Measuring impedance of respiratory organs or lung elasticity by impedance pneumography
    • AHUMAN NECESSITIES
    • A61MEDICAL OR VETERINARY SCIENCE; HYGIENE
    • A61BDIAGNOSIS; SURGERY; IDENTIFICATION
    • A61B5/00Measuring for diagnostic purposes; Identification of persons
    • A61B5/48Other medical applications
    • A61B5/4806Sleep evaluation
    • A61B5/4818Sleep apnoea
    • AHUMAN NECESSITIES
    • A61MEDICAL OR VETERINARY SCIENCE; HYGIENE
    • A61BDIAGNOSIS; SURGERY; IDENTIFICATION
    • A61B5/00Measuring for diagnostic purposes; Identification of persons
    • A61B5/72Signal processing specially adapted for physiological signals or for diagnostic purposes
    • A61B5/7235Details of waveform analysis
    • A61B5/7239Details of waveform analysis using differentiation including higher order derivatives

Definitions

  • the inventions described herein relate to devices, systems and associated methods for treating sleeping disorders. More particularly, the inventions described herein relate to devices, systems and methods for treating obstructive sleep apnea.
  • OSA Obstructive sleep apnea
  • CPAP Continuous positive airway pressure
  • Surgical treatment options for OSA are available too. However, they tend to be highly invasive (result in structural changes), irreversible, and have poor and/or inconsistent efficacy. Even the more effective surgical procedures are undesirable because they usually require multiple invasive and irreversible operations, they may alter a patient's appearance (e.g., maxillo-mandibulary advancement), and/or they may be socially stigmatic (e.g., tracheostomy).
  • U.S. Pat. No. 4,830,008 to Meer proposes hypoglossal nerve stimulation as an alternative treatment for OSA.
  • An example of an implanted hypoglossal nerve stimulator for OSA treatment is the InspireTM technology developed by Medtronic, Inc. (Fridely, Minn.).
  • the Inspire device is not FDA approved and is not for commercial sale.
  • the Inspire device includes an implanted neurostimulator, an implanted nerve cuff electrode connected to the neurostimulator by a lead, and an implanted intra-thoracic pressure sensor for respiratory feedback and stimulus trigger.
  • the Inspire device was shown to be efficacious (approximately 75% response rate as defined by a 50% or more reduction in RDI and a post RDI of ⁇ 20) in an eight patient human clinical study, the results of which were published by Schwartz et al. and Eisele et al. However, both authors reported that only three of eight patients remained free from device malfunction, thus demonstrating the need for improvements.
  • the present invention provides, in exemplary non-limiting embodiments, devices, systems and methods for nerve stimulation for OSA therapy as described in the following detailed description.
  • FIG. 1 is a schematic diagram showing a fully implanted neurostimulator system with associated physician programmer and patient controller for treating obstructive sleep apnea;
  • FIG. 2 is a schematic diagram showing the implantable components of FIG. 1 implanted in a patient
  • FIG. 3 is a perspective view of the implantable components shown in FIG. 1 ;
  • FIG. 4 is a detailed perspective view of the implantable neurostimulator (INS) shown in FIG. 3 ;
  • FIG. 5 is a detailed perspective view of the nerve cuff electrode and lead body shown in FIG. 3 ;
  • FIG. 5a is an illustration of exemplary movements a lead body may be configured to withstand
  • FIG. 6 is a close-up detailed perspective view of the nerve cuff electrode shown in FIG. 3 ;
  • FIG. 7 is a detailed perspective view of the internal components of the nerve cuff electrode shown in FIG. 6 ;
  • FIG. 8 shows side and end views of an electrode contact of the nerve cuff electrode shown in FIG. 7 ;
  • FIGS. 9A and 9B are perspective views of the respiration sensing lead shown in FIG. 3 ;
  • FIG. 10 schematically illustrates surgical access and tunneling sites for implanting the system illustrated in FIG. 2 ;
  • FIGS. 11A and 11B schematically illustrate dissection to a hypoglossal nerve
  • FIGS. 12 and 12A-12D schematically illustrate various possible nerve stimulation sites for activating muscles controlling the upper airway
  • FIGS. 13-22 and 22A-22D are schematic illustrations of various stimulation lead body and electrode designs for use in a neurostimulator system
  • FIGS. 23-24 schematically illustrate alternative implant procedures and associated tools for the stimulation lead
  • FIG. 25 schematically illustrates an alternative bifurcated lead body design
  • FIGS. 26A-26B schematically illustrate alternative fixation techniques for the stimulation lead and electrode cuff
  • FIG. 26C schematically illustrates an alternative embodiment of a stimulation lead having a fixation mechanism
  • FIGS. 27A-27H schematically illustrate field steering embodiments
  • FIGS. 27I-27Q schematically illustrate alternative embodiments of nerve cuff electrodes with selective fiber stimulation mechanisms
  • FIGS. 28-33B schematically illustrate alternative fixation techniques for the respiration sensing lead
  • FIG. 34 schematically illustrates the distal portion of an exemplary respiration sensing lead
  • FIGS. 35A-35E and 36 schematically illustrate alternative electrode arrangements on the respiration sensing lead
  • FIGS. 37 and 37A-37C schematically illustrate various anatomical positions or bio-Z vectors for the electrodes on the respiration sensing lead
  • FIG. 38A illustrates an exemplary method of sampling a plurality of vector signals
  • FIGS. 38B-46 schematically illustrate alternative respiration signal processing techniques
  • FIG. 47 schematically illustrates an alternative respiration detection technique
  • FIGS. 47A-47D illustrate an exemplary stimulation trigger algorithm
  • FIGS. 48-50 schematically illustrate alternative stimulation trigger algorithms
  • FIG. 50A illustrates an exemplary waveform of a patient's respiratory cycle
  • FIG. 50B illustrates an exemplary stimulation waveform
  • FIGS. 51A-51M are schematic illustrations of various external (partially implanted) neurostimulation systems for treating obstructive sleep apnea;
  • FIGS. 52A-52G are schematic illustrations of a specific embodiment of an external (partially implanted) neurostimulation system
  • FIGS. 53-56 schematically illustrate alternative screening tools
  • FIGS. 57A-58B schematically illustrate alternative intra-operative tools.
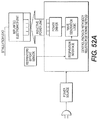
  • a neurostimulator system 10 including implanted components 20 , physician programmer 30 and patient controller 40 is shown schematically.
  • the implanted components of the system 10 may generally include an implanted neurostimulator (INS) 50 (a.k.a., implanted pulse generator (IPG)), an implanted stimulation lead (or leads) 60 , and an implanted respiration sensing lead (or leads) 70 .
  • the INS 50 generally includes a header 52 for connection of the leads 60 / 70 , and a hermetically sealed housing 54 for the associated electronics and long-life or rechargeable battery (not visible).
  • the stimulation lead 60 generally includes a lead body 62 with a proximal connector and a distal nerve electrode cuff 64 .
  • the respiration sensing lead 70 generally includes a lead body 72 with a proximal connector and one or more sensors 74 disposed on or along a distal portion thereof. Suitable designs of the INS 50 , stimulation lead 60 and respiration sensing lead 70 are described in more detail hereinafter.
  • the implanted components 20 (shown faded) of the neurostimulator system 10 are implanted in a patient P with the INS 50 disposed in a subcutaneous pocket, the stimulation lead body 62 disposed in a subcutaneous tunnel, the nerve cuff electrode 64 disposed on a nerve (e.g., hypoglossal nerve (HGN)) innervating a muscle (e.g., genioglossus muscle, not shown) controlling the upper airway, the respiration sensing lead body 72 disposed in a subcutaneous tunnel, and the respiration sensors 74 disposed adjacent lung tissue and/or intercostal muscles outside the pleural space.
  • a nerve e.g., hypoglossal nerve (HGN)
  • HGN hypoglossal nerve
  • a muscle e.g., genioglossus muscle, not shown
  • respiration sensing lead body 72 disposed in a subcutaneous tunnel
  • the respiration sensors 74 disposed adjacent lung tissue and/or intercostal muscles outside
  • electrical stimulus is delivered by the INS 50 via the stimulation lead 60 to a nerve innervating a muscle controlling upper airway patency to mitigate obstruction thereof.
  • the stimulus may be delivered for only a portion of the respiratory cycle, such as during inspiration which corresponds to negative pressure in the upper airway.
  • Stimulation may be thus triggered as a function of respiration as detected by respiration sensing lead 70 in a closed-loop feedback system.
  • the stimulus may be triggered to turn on at the end of expiration (or at the beginning of inspiration), and triggered to turn off at the beginning of expiration (or at the end of inspiration).
  • Triggering the stimulus as a function of expiration improves capture of the entire inspiratory phase, including a brief pre-inspiratory phase of about 300 milliseconds, thus more closely mimicking normal activation of upper airway dilator muscles. Over-stimulation may cause nerve and/or muscle fatigue, but a 40% to 50% duty cycle may be safely tolerated, thus enabling limited over-stimulation.
  • stimulus may be delivered independent of actual respiration wherein the stimulus duty cycle is set for an average inspiratory duration at a frequency approximately equal to an average respiratory cycle.
  • Stimulus may be delivered to one or more of a variety of nerve sites to activate one muscle or muscle groups controlling patency of the upper airway. For example, stimulation of the genioglossus muscle via the hypoglossal nerve moves or otherwise stiffens the anterior portion of the upper airway, thereby decreasing the critical pressure at which the upper airway collapses during inspiration and reducing the likelihood of an apnea or hypopnea event occurring during sleep. Because the systems described herein work at the level of the tongue, it may be desirable to combine this therapy with a therapy (e.g., UPPP or palatal implant) that work at the level of the soft palate, thus increasing efficacy for a broader range of patients.
  • a therapy e.g., UPPP or palatal implant
  • the physician programmer 30 may comprise a computer 32 configured to control and program the INS 50 via a wireless link to a programming wand 34 .
  • the physician programmer 30 may be resident in a sleep lab where the patient undergoes a polysomnographic (PSG) study during which the patient sleeps while the INS 50 is programmed to optimize therapy.
  • PSG polysomnographic
  • the patient controller 40 may comprise control circuitry and associated user interface to allow the patient to control the system via a wireless telemetry link while at home, for example.
  • the patient controller 40 may include a power switch 42 to turn the system on and slowly ramp up when the patient goes to sleep at night, and turn it off when the patient wakes in the morning.
  • a snooze switch 44 may be used to temporarily put the INS 50 in standby mode during which electrical stimulus is paused for a preprogrammed period of time to allow the patient to temporarily wake, after which the INS 50 turns back on and ramps up to the desired stimulus level.
  • a display 46 may be provided to indicate the status of the INS 50 (e.g., on, off or standby), to indicate satisfactory wireless telemetry link to the INS 50 , to indicate remaining battery life of the INS 50 , to indicate normal operation of the INS 50 , and/or to indicate the need for patient action etc.
  • Display 46 may be configured to be a dash-board-like display, and may be any suitable display available to those of ordinary skill in the art, such as, for example, an LED or LCD display.
  • information may be communicated to the patient controller 40 for display purposes by any suitable means known to those of ordinary skill in the art. For example, communication of information may be achieved through inductively coupled or radio frequency telemetry.
  • the patient controller 40 may also have programmability to adjust stimulus parameters (e.g., amplitude) within a pre-set range determined by the physician in order to improve efficacy and/or to reduce sensory perception, for example.
  • the patient controller 40 may be configured to function as the programming wand 34 of the physician programmer 30 .
  • the patient controller 40 may be provided with one or more mechanisms for improving patient compliance.
  • patient controller 40 may be provided with a time-keeping mechanism having the capabilities of a conventional alarm clock.
  • controller 40 may be programmed by the user and/or the physician to alert the user when action, such as, for example, turning the system 10 on or off, is required by the user.
  • Controller 40 may be configured to alert the user by any suitable means known in the art.
  • controller 40 may emit an audible alarm at programmed time intervals.
  • the patient controller 40 may be used to monitor a patient.
  • the patient controller 40 may be programmed to periodically send reports of patient actions, patient compliance, system status, etc., to a clinician or caregiver via a telephone or computer network.
  • the implanted components 20 are shown schematically with more detail.
  • the implanted components include INS 50 , stimulation lead 60 , and respiration sensing lead 70 .
  • the INS 50 includes header 52 and housing 54 .
  • the stimulation lead 60 includes lead body 62 and nerve cuff electrode 64 .
  • the respiration sensing lead 70 includes lead body 72 and respiration sensors 74 (e.g., impedance sensing electrodes).
  • the INS 50 is shown schematically in more detail.
  • the INS 50 includes header 52 that may be formed using conventional molding or casting techniques and may comprise conventional materials such as epoxy or polyurethane (e.g., Tecothane brand polyurethane).
  • the housing 54 may be formed using conventional stamping or forming techniques and may comprise conventional materials such as titanium or ceramic.
  • the housing 54 may include one or more isolated electrodes, and/or if a conductive material is used for the housing 54 , the housing 54 may comprise an electrode, which may be used for respiratory sensing, for example.
  • the housing 54 may be hermetically sealed to the header 52 using conventional techniques.
  • the header 52 may include two or more receptacles for receiving the proximal connectors 66 / 76 of the stimulation lead body 62 and respiration sensing lead body 72 .
  • the connectors 66 / 76 may comprise a conventional design such as IS 1 or other in-line designs.
  • the header 52 may also include set screw seals and blocks 56 for receiving set screws (not shown) that establish electrical contact between the INS 50 and the conductors of the leads 60 / 70 via connectors 66 / 76 , and that establish mechanical fixation thereto. Some electrical contact may be achieved through spring type or cam-locked mechanisms.
  • a hole 58 may be provided in the header 52 for securing the INS 50 to subcutaneous tissue using a suture at the time of implantation.
  • the INS 50 may comprise a conventional implanted neurostimulator design used in neurostimulation applications, such as those available from Texcel (US), CCC (Uruguay) and NeuroTECH (Belgium), but modified for the present clinical application in terms of stimulation signal parameters, respiratory signal processing, trigger algorithm, patient control, physician programming, etc.
  • the INS may contain a microprocessor and memory for storing and processing data and algorithms. Algorithms may be in the form of software and/or firmware, for example. One of several different embodiments of the neurostimulator may be implemented.
  • the neurostimulator may be an internal/implanted neurostimulator (INS) powered by a long-life primary battery or rechargeable battery, or an external neurostimulator (ENS) wirelessly linked (e.g., inductive) to an implanted receiver unit connected to the leads.
  • INS internal/implanted neurostimulator
  • ENS external neurostimulator
  • the INS or the receiver unit of the ENS
  • the INS 50 may include any suitable circuitry and programming in accordance with the principles of the present disclosure.
  • INS 50 may include an activity sensor (not shown) for sensing the activity of a patient, including the amount of activity of the patient.
  • the activity sensor may detect motion of a patient by any suitable means available to those of ordinary skill in the art.
  • a patient's motion may be detected by, for example, using an internal accelerometer and/or measuring the impedance of the patient's torso with, for example, the built-in respiration sensor discussed below, and/or measuring a tissue pressure on the surface of the implanted INS 50 .
  • the data corresponding to a patient's detected motion may be stored, evaluated, and utilized in any of a number of various ways.
  • data corresponding to a patient's motion may be used to determine whether a patient is sleeping or awake. For example, when a patient's activity level falls below a predetermined threshold, it may be assumed that the patient is sleeping. Conversely, when the patient's activity level rises above the pre-determined threshold, it may be assumed that the patient is awake.
  • the activity sensor therefore may be used to facilitate selectively applying treatment when the patient is detected to be sleeping and/or inhibiting treatment when the patient is detected to be awake.
  • data corresponding to a patient's motion may be evaluated over a long period of time, such as, for example, the first few months of treatment, for indications of improvement in a patient's quality of life. It is contemplated that increases in a patient's average level of daily activity will correspond to successful treatment of OSA. This, in turn, may correspond to improvements in the patient's quality of life.
  • the INS 50 may include a long-life battery (not shown) which requires periodic replacement after years of service.
  • the INS may include a rechargeable power source such as a rechargeable battery or super capacitor that is used instead of the long-life battery.
  • the INS may include a receiver coil inductively linked to a transmitter coil that is connected to a recharging unit powered by a larger battery or line power. Because the patient is stationary while sleeping, recharging may be scheduled to occur sometime during sleep to eliminate the need to carry the recharging unit during daily activities.
  • the transmitter coil and the receiver coil may be arranged coaxially in parallel planes to maximize energy transfer efficiency, and may be held in proximity to each other by a patch, garment, or other means as described with reference to the external neurostimulator embodiments.
  • Other examples of neurostimulator designs will be described in more detail hereinafter.
  • the stimulation lead 60 may comprise a variety of different design embodiments and may be positioned at different anatomical sites.
  • a nerve cuff electrode(s) 64 may be attached to a nerve(s) innervating musculature affecting patency of the upper airway.
  • the nerve cuff electrode 64 may be replaced with an intramuscular electrode and placed directly in the musculature affecting patency of the upper airway.
  • the nerve electrode 64 may be attached to a specific branch of a nerve innervating the desired muscle(s), or may be attached to a proximal trunk of the nerve in which a specific fascicle innervating the desired muscle(s) is targeted by steering the stimulus with multiple electrodes.
  • One or more electrodes may be used for attachment to one or more portions of nerves on one side (unilateral) of the body, or one or more electrodes may be used for attachment to one or more portions of nerves on both sides (bilateral) of the body.
  • Variations in lead body 62 and electrode 64 design as well as variations in the target stimulation site or sites will be described in more detail hereinafter.
  • the lead body 62 may be sigmoid shaped, for example, to reduce strain applied to the cuff electrode 64 when the lead body 62 is subject to movement.
  • the sigmoid shape which may alternatively comprise a variety of other waveform shapes, may have a wavelength of approximately 1.0 to 1.5 cm, and an amplitude of approximately 0.75 to 1.5 cm, for example.
  • the lead body 62 may comprise a tubular jacket with electrical conductors 68 extending therein.
  • the tubular jacket may comprise extruded silicone having an outside diameter of approximately 0.047 inches and an inside diameter of approximately 0.023 inches, for example.
  • the tubular jacket may optionally have a covering of co-extruded polyurethane, for example, to improve durability.
  • the conductors 68 may comprise a bifilar coil of insulated (e.g., ETFE) braided stranded wire (BSW) of MP35NLT material.
  • the number of conductors 68 is shown as two, but may be adjusted depending on the desired number of independent electrodes used.
  • stimulation leads for example, stimulation lead 60 , disclosed herein may be fabricated by any suitable means known to those having ordinary skill in the art, and may be made from any suitable material.
  • the discussed sigmoid shape of the tubular jacket of lead body 62 may be formed by first extruding silicone in a semi-cured or semi cross-linked state. Next, the semi cross-linked extruded tubular jacket may be placed in a sigmoid mold and then allowed to become fully cross-linked. In particular, the semi cross-linked extruded tubular jacket may be placed in an oven and heated to convert the semi cross-linked silicone of the extruded tubular jacket to fully cross-linked silicone. Additionally, a lumen within the tubular jacket may be created along a longitudinal axis of the tubular jacket by any suitable means.
  • one or more of the various embodiments of stimulation leads disclosed herein may be implanted in or near highly mobile portions of the body.
  • embodiments of the disclosed stimulation leads may be implanted in the ventral neck, for example, along a path between the clavicle and mandible of a patient.
  • mastication, deglutition, and speech may result in mechanical loading on an implanted stimulation lead, it has been found that gross movement of the head and neck may create high mechanical stresses in the conductors of the lead body, lead jacket, and the junction between the conductor wires and the anchor points, such as, for example, the electrodes.
  • a lead body that is capable of withstanding, among other things, the stresses imparted by, the above-noted head and neck movements for an extended amount of time, such as, for example, ten years.
  • implanted lead bodies are likely to be elongated by at least 38.5%, it may be desirable to design lead bodies to withstand being elongated by a predetermined distance Y, such as, for example, approximately 40% (+/ ⁇ 2%) from an initial unstressed state, for a minimum of 3.0 million cycles without failure, as depicted in FIG. 5A .
  • a predetermined distance Y such as, for example, approximately 40% (+/ ⁇ 2%) from an initial unstressed state, for a minimum of 3.0 million cycles without failure, as depicted in FIG. 5A .
  • an implanted lead body may experience an angular range of motion of at least 12 degrees, with a bend radius of approximately 1.0 centimeter, it may be desirable to configure the lead bodies to withstand being flexed around a predetermined radius X, such as, for example, 1.0 centimeter (+/ ⁇ 0.05 centimeters), for a predetermined amount of rotation W, such as, for example, from approximately 0 degrees to approximately 15 degrees (+/ ⁇ 3 degrees), such that the 15 degree maximum deflection occurs coincidentally with the maximum elongation of the lead body.
  • a predetermined radius X such as, for example, 1.0 centimeter (+/ ⁇ 0.05 centimeters
  • W a predetermined amount of rotation W, such as, for example, from approximately 0 degrees to approximately 15 degrees (+/ ⁇ 3 degrees
  • the nerve cuff electrode 64 may comprise a cuff body 80 having a lateral (or superficial) side 82 and a medial (or contralateral, or deep) side 84 .
  • the medial side 84 is narrower or shorter in length than the lateral side 82 to facilitate insertion of the medial side 84 around a nerve such that the medial side is on the deep side of the nerve and the lateral side is on the superficial side of the nerve. This configuration reduces the dissection of nerve branches and vascular supply required to get the cuff around a nerve.
  • the medial side 84 may have a length of less than 6 mm, and preferably in the range of approximately 3 to 5 mm, for example.
  • the lateral side 82 may have a length of more than 6 mm, and preferably in the range of approximately 7 to 8 mm, for example.
  • the cuff body 80 may be compliant and may be available in different sizes with an inside diameter of approximately 2.5 to 3.0 mm or 3.0 to 3.5 mm, for example. The cuff size may also be adjusted depending on the nominal diameter of the nerve at the site of implantation.
  • the cuff body 80 may have a wall thickness of approximately 1.0 mm and may be formed of molded silicone, for example, and may be reinforced with imbedded fibers or fabrics.
  • An integral tow strap 86 may be used to facilitate wrapping the cuff around a nerve by first inserting the strap 86 under and around the deep side of the nerve and subsequently pulling the strap to bring the medial side 84 in position on the deep side of the nerve and the lateral side 82 on the superficial side of the nerve.
  • the nerve cuff electrode 64 includes electrode contacts 90 A, 90 B, and 90 C imbedded in the body 80 of the cuff, with their inside surface facing exposed to establish electrical contact with a nerve disposed therein.
  • a transverse guarded tri-polar electrode arrangement is shown by way of example, not limitation, wherein electrode contacts 90 A and 90 B comprise anodes transversely guarding electrode contact 90 C which comprises a cathode.
  • the anode electrodes 90 A and 90 B are connected to a common conductor 68 A imbedded in the body 80
  • the cathode electrode 90 C is connected to an independent conductor 68 B extending from the lateral side 82 to the medial side 84 and imbedded in the body 80 .
  • the electrode contacts 90 A, 90 B and 90 C may thus be semi-circular shaped having an arc length of less than 180 degrees, and preferably an arc length of approximately 120 degrees, for example.
  • Each electrode 90 may have two reverse bends (e.g., hooked or curled) portions 92 to provide mechanical fixation to the body 80 when imbedded therein.
  • Each electrode 90 may also have two crimp tabs 94 defining grooves thereunder for crimping to the conductors 68 or for providing a passthrough. As shown in FIG.
  • conductor 68 A passes through the grooves under the lower crimp tabs 94 of electrodes 90 B and 90 A, loops 98 around through the grooves under the upper crimp tabs 94 of electrodes 90 A and 90 B, is crimped 96 by the upper tabs 94 of electrodes 90 A and 90 B to provide mechanical and electrical connection, is looped again back between the crimp tabs 94 on the outside of the electrode contact 90 , and is resistance spot welded 95 to provide redundancy in mechanical and electrical connection. Also as shown in FIG.
  • conductor 68 B passes through the groove under the lower crimp tab 94 of electrode 90 C, loops around through the groove under the upper crimp tab 94 of electrode 90 C, and is crimped by the upper tab 94 of electrode 90 C to provide mechanical and electrical connection.
  • This arrangement avoids off-axis tensile loading at the crimp sites 96 which may otherwise fail due to stress concentration, and the looped portion 98 provides additional strain relief.
  • FIG. 8 provides example dimensions (inches) of an electrode contact 90 for a 2.5 mm inside diameter cuff, wherein the electrode is formed of 90/10 or 80/20 platinum iridium alloy formed by wire EDM, for example.
  • electrode contact 90 may include a surface A having a full radius, a dimension B of 0.079 inches from tangent to tangent, a dimension C of 0.020 inches (3 ⁇ ), a radius of curvature D of 0.049R with a 16 micro-inch RMS, a dimension E of 0.008 inches (2 ⁇ ), a dimension F of 0.0065 inches (+/ ⁇ 0.001 inches) (2 ⁇ ), a dimension G of 0.006 inches (+0.002 inches, ⁇ 0.001 inches) (2 ⁇ ), a dimension H of 0.014 inches (2 ⁇ ), a dimension I of 0.010 inches (2 ⁇ ), a dimension J of 0.010 inches (2 ⁇ ), and a dimension K of 0.006 inches (+/ ⁇ 0.001 inches).
  • respiration sensing lead 70 and associated sensors 74 are implanted as shown in FIG. 2 .
  • the respiration sensor(s) may comprise a variety of different design embodiments, both implanted and external, and may be positioned at different anatomical sites.
  • the respiratory sensor(s) may be internal/implanted or external, and may be connected to the neurostimulator via a wired or wireless link. The respiratory sensor(s) may detect respiration directly or a surrogate thereof.
  • the respiratory sensor(s) may measure, for example, respiratory airflow, respiratory effort (e.g., diaphragmatic or thoracic movement), intra-pleural pressure, lung impedance, respiratory drive, upper airway EMG, changes in tissue impedance in and around the lung(s) including the lungs, diaphragm and/or liver, acoustic airflow or any of a number other parameters indicative of respiration.
  • respiratory effort e.g., diaphragmatic or thoracic movement
  • intra-pleural pressure e.g., intra-pleural pressure
  • lung impedance e.g., respiratory drive
  • upper airway EMG e.g., changes in tissue impedance in and around the lung(s) including the lungs, diaphragm and/or liver
  • acoustic airflow e.g., acoustic airflow or any of a number other parameters indicative of respiration.
  • the respiration sensing lead 70 includes a lead body 72 and a plurality of respiration sensors 74 A- 74 D comprising ring electrodes for sensing bio-impedance.
  • the lead body 72 of the respiration sensing lead 70 may include a jacket cover comprising an extruded silicone tube optionally including a polyurethane cover ( 80 A durometer), or may comprise an extruded polyurethane tube ( 55 D durometer).
  • the ring electrodes 74 A- 74 D may comprise 90/10 or 80/20 platinum iridium alloy tubes having an outside diameter of 0.050 inches and a length of 5 mm, and secured to the jacket cover by laser welding and/or adhesive bonding, for example.
  • the lead body 72 may include a plurality of conductors 78 as seen in the transparent window in the jacket cover, which is shown for purposes of illustration only.
  • the conductors 78 may comprise insulated and coiled BSW or solid wire (optionally DFT silver core wire) disposed in the tubular jacket, with one conductor provided for each ring electrode 74 A- 74 D requiring independent control.
  • the impedance electrodes 74 A- 74 D may comprise current emitting electrodes and voltage sensing electrodes for detecting respiration by changes in bio-impedance. The number, spacing, anatomical location and function of the impedance electrodes will be described in more detail hereinafter.
  • System 10 may also include a plurality of diagnostic mechanisms (e.g., circuitry and/or programming) for monitoring and/or determining the functionality of certain components, such as, for example, stimulation lead 60 .
  • system 10 may include one or more switching circuits (not shown) that facilitate connection of the respiratory/trans-thoracic impedance sensing circuits of the present disclosure (discussed in greater detail below) to stimulation lead 60 for measuring the impedance of lead 60 .
  • the impedance sensing circuit may be connected to each electrode pair. In other embodiments, the impedance sensing circuit may be connected between the case of the implanted INS 50 and each conductor 68 within the lead 60 .
  • the respiratory/trans-thoracic impedance sensing circuit of the present disclosure may be preferred, since this circuit may be capable of identifying small changes in impedance rather than the large changes detectable by standard methods.
  • sensing the impedance of lead 60 may provide for monitoring and/or determining the functionality of lead 60 .
  • sensing the impedance of lead 60 may facilitate diagnosing and distinguishing between differing types of failures of lead 60 .
  • changes in the impedance of lead 60 may be indicative of certain types of failures, including, but not limited to, corrosion, high contact resistance, breakage, and/or shorting.
  • a broken wire inside the lead could be identified by an excessively high lead impedance value.
  • Corrosion of an electrode with its resultant decrease in effective electrode surface area could be identified by a smaller increase in impedance of that electrode.
  • an abnormally low value could correspond with a short between conductors in the lead, or an abrasion of the lead body that exposed a conductor to the tissue.
  • Measuring from the case of the INS to each electrode allows independent identification of the integrity of each wire/electrode in the lead.
  • sensing the impedance of lead 60 may facilitate periodic, automated adjustment of stimulation pulse amplitude so as to maintain constant current, energy, and/or charge delivery using a simpler voltage mode delivery circuit. Such automated adjustment may facilitate ensuring safety and effectiveness by consistently delivering the prescribed current, energy, or charge in the presence of tissue/electrode impedance variations.
  • the stimulation amplitude may be programmed closer to the actual stimulation threshold rather than programming a wide margin to ensure continued effectiveness. This enhances safety and reduces power consumption.
  • sensing the impedance of lead 60 may allow monitoring of certain system dynamics, such as, for example, doses actually delivered to a patient.
  • the internal neurostimulator components 20 may be surgically implanted in a patient on the right or left side.
  • the right side may be preferred because it leaves the left side available for implantation of a pacemaker, defibrillator, etc., which are traditionally implanted on the left side.
  • the right side may also be preferred because it lends itself to a clean respiratory signal less susceptible to cardiac artifact and also offers placement of respiratory sensors across the interface between the lung, diaphragm and liver for better detection of impedance changes during respiration.
  • the INS may be implanted in a subcutaneous pocket 102 in the pectoral region, for example.
  • the stimulation lead (not shown) may be implanted in a subcutaneous tunnel 104 along (e.g., over or under) the platysma muscle in the neck region.
  • the respiration sensing lead (not shown) may be implanted in a subcutaneous tunnel 106 extending adjacent the ribcage to an area adjacent lung tissue and/or intercostal muscles outside the pleural space.
  • the nerve cuff electrode (not shown) may be attached to a nerve by surgical dissection at a surgical access site 110 proximate the targeted stimulation site.
  • the target nerve is the right hypoglossal nerve and the surgical access site is in the submandibular region.
  • a surgical dissection 110 to the hypoglossal nerve is shown schematically.
  • a unilateral dissection is shown, but a bilateral approach for bilateral stimulation may also be employed.
  • Conventional surgical dissection techniques may be employed.
  • the branch of the hypoglossal nerve (usually a medial or distal branch) leading to the genioglossus muscle may be identified by stimulating the hypoglossal nerve at different locations and observing the tongue for protrusion.
  • a flexible fiber optic scope e.g., nasopharyngoscope
  • nasopharyngoscope a flexible fiber optic scope inserted into the patient's nose, through the nasal passages, past the nasopharynx and velopharynx to view of the oropharynx and hypopharynx and visually confirm an increase in airway caliber by anterior displacement (protrusion) of the tongue base when the nerve branch is stimulated.
  • the implant procedure may be performed with the patient under general anesthesia in a hospital setting on an out-patient basis.
  • local anesthesia at the surgical access sites and along the subcutaneous tunnels
  • a facial nerve block may be employed.
  • the patient may return for a polysomnographic (PSG) test or sleep study at a sleep center for programming the system and titrating the therapy.
  • PSG polysomnographic
  • a trialing period may be employed prior to full implantation wherein the hypoglossal nerve or the genioglossus muscle is stimulated with fine wire electrodes in a sleep study and the efficacy of delivering stimulus to the hypoglossal nerve or directly to the genioglossus muscle is observed and measured by reduction in apnea hypopnea index, for example.
  • nerve target sites are described elsewhere herein and may be accessed by similar surgical access techniques.
  • less invasive approaches such as percutaneous or laparoscopic access techniques may be utilized, making use of associated tools such as tubular sheaths, trocars, etc.
  • various possible nerve and/or direct muscle stimulation sites are shown for stimulating muscles controlling patency of the upper airway.
  • the upper airway which generally includes the pharyngeal space
  • other nerves and dilator muscles of the nasal passage and nasopharyngeal space may be selectively targeted for stimulation.
  • a general description of the muscles and nerves suitable for stimulation follows, of which the pharyngeal nerves and muscles are shown in detail in FIG. 12 .
  • Airway dilator muscles and associated nerves suitable for activation include are described in the following text and associated drawings.
  • the dilator naris muscle functions to widen the anterior nasal aperture (i.e., flares nostrils) and is innervated by the buccal branch of the facial nerve (cranial nerve VII).
  • the tensor veli palatine muscle functions to stiffen the soft palate and is innervated by the medial (or internal) pterygoid branch of the mandibular nerve MN.
  • the genioglossus muscle is an extrinsic pharyngeal muscle connecting the base of the tongue to the chin and functions to protrude the tongue.
  • the genioglossus muscle is typically innervated by a distal or medial branch (or branches) of the right and left hypoglossal nerve.
  • the geniohyoid muscle connects the hyoid bone to the chin and the sternohyoid muscle attaches the hyoid bone to the sternum.
  • the geniohyoid muscle functions to pull the hyoid bone anterosuperiorly, the sternohyoid muscle functions to pull hyoid bone inferiorly, and collectively (i.e., co-activation) they function to pull the hyoid bone anteriorly.
  • the geniohyoid muscle is innervated by the hypoglossal nerve, and the sternohyoid muscle is innervated by the ansa cervicalis nerve.
  • a nerve electrode may be attached to a specific branch of the hypoglossal nerve innervating the genioglossus muscle (tongue protruder), or may be attached to a more proximal portion (e.g., trunk) of the hypoglossal nerve in which a specific fascicle innervating the genioglossus muscle is targeted by steering the stimulus using an electrode array.
  • Activating the genioglossus muscle causes the tongue to protrude thus increasing the size of anterior aspect of the upper airway or otherwise resisting collapse during inspiration.
  • a nerve electrode may be attached to specific branches of the hypoglossal nerve innervating the genioglossus muscle (tongue protruder), in addition to the hyoglossus and styloglossus muscles (tongue retruders), or may be attached to a more proximal portion (e.g., trunk) of the hypoglossal nerve in which specific fascicles innervating the genioglossus, hyoglossus and styloglossus muscles are targeted by steering the stimulus using an electrode array.
  • Activating the hyoglossus and styloglossus muscles causes the tongue to retract, and when co-activated with the genioglossus, causes the tongue to stiffen thus supporting the anterior aspect of the upper airway and resisting collapse during inspiration. Because the tongue retruder muscles may overbear the tongue protruder muscle under equal co-activation, unbalanced co-activation may be desired.
  • a greater stimulus e.g., longer stimulation period, larger stimulation amplitude, higher stimulation frequency, etc.
  • an earlier initiated stimulus may be delivered to the portion(s) of the hypoglossal nerve innervating the genioglossus muscle than to the portion(s) of the hypoglossal nerve innervating the hyoglossus and styloglossus muscles.
  • Suitable nerve stimulation sites include B; A+C; A+C+D; B+D; C+D; and E.
  • Sites B and E may benefit from selective activation by field steering using an electrode array.
  • nerve electrodes may be placed at these target nerve(s) and/or intramuscular electrodes may be placed directly in the muscle(s) innervated by the target nerve(s).
  • Site A is a distal or medial branch of the hypoglossal nerve proximal of a branch innervating the genioglossus muscle and distal of a branch innervating the geniohyoid muscle.
  • Site B is a more proximal portion of the hypoglossal nerve proximal of the branches innervating the genioglossus muscle and the geniohyoid muscle, and distal of the branches innervating the hyoglossus muscle and the styloglossus muscle.
  • Site C is a medial branch of the hypoglossal nerve proximal of a branch innervating the geniohyoid muscle and distal of branches innervating the hyoglossus muscle and the styloglossus muscle.
  • Site D is a branch of the ansa cervicalis nerve distal of the nerve root and innervating the sternohyoid.
  • Site E is a very proximal portion (trunk) of the hypoglossal nerve proximal of the branches innervating the genioglossus, hyoglossus and styloglossus muscles.
  • Activating site B involves implanting an electrode on a hypoglossal nerve proximal of the branches innervating the genioglossus muscle and the geniohyoid muscle, and distal of the branches innervating the hyoglossus muscle and the styloglossus muscle.
  • Co-activating sites A+C involves implanting a first electrode on a hypoglossal nerve proximal of a branch innervating the genioglossus muscle and distal of a branch innervating the geniohyoid muscle, and implanting a second electrode on the hypoglossal nerve proximal of a branch innervating the geniohyoid muscle and distal of branches innervating the hyoglossus muscle and the styloglossus muscle.
  • Co-activating sites A+C+D involves implanting a first electrode on a hypoglossal nerve proximal of a branch innervating the genioglossus muscle and distal of a branch innervating the geniohyoid muscle; implanting a second electrode on the hypoglossal nerve proximal of a branch innervating the geniohyoid muscle and distal of branches innervating the hyoglossus muscle and the styloglossus muscle; and implanting a third electrode on a branch of an ansa cervicalis nerve distal of the nerve root and innervating the stemohyoid.
  • Co-activating sites B+D involves implanting a first electrode on a hypoglossal nerve proximal of branches innervating the genioglossus muscle and the geniohyoid muscle, and distal of branches innervating the hyoglossus muscle and the styloglossus muscle; and implanting a second electrode on a branch of an ansa cervicalis nerve distal of the nerve root and innervating the sternohyoid.
  • Co-activating sites C+D involves implanting a first electrode on a hypoglossal nerve proximal of a branch innervating the geniohyoid muscle, and distal of branches innervating the hyoglossus muscle and the styloglossus muscle and implanting a second electrode on a branch of an ansa cervicalis nerve distal of the nerve root and innervating the sternohyoid.
  • Activating site E involves implanting an electrode on a hypoglossal nerve proximal of the branches innervating the genioglossus, hyoglossus and styloglossus muscles; and selectively activating (e.g., by field steering) the genioglossus muscle before or more than the hyoglossus and styloglossus muscles.
  • the cranial root of the accessory nerve AN (cranial nerve XI) innervates the levator veli palatini muscle of the soft palate, which elevates the soft palate.
  • the cranial root of the accessory nerve AN also innervates the palatoglossal muscle, which functions to pull the soft palate inferiorly when the genioglossus is co-activated via the hypoglossal nerve (HGN).
  • HGN hypoglossal nerve
  • the cranial root of the accessory nerve AN also innervates various other muscles including, but not limited to, the palatopharyngeus
  • specific fibers in the accessory nerve AN may be selectively stimulated with one or more of the fiber selective stimulation means described in greater detail below, in order to only activate desired fibers of the nerve.
  • the glossopharyngeal nerve GN (cranial nerve IX) innervates the stylopharyngeus, which functions to dilate the lateral walls of the pharynx.
  • the glossopharyngeal nerve GN is a multi-function nerve with both afferent and efferent fibers
  • one or more of the fiber selective stimulation means described in greater detail below may be used to facilitate targeting the fibers that innervate only the stylopharyngeus.
  • the cranial root of the accessory nerve AN and the glossopharyngeal nerve GN may be singularly activated, or these nerves may be co-activated with other nerve sites, such as, for example, the hypoglossal nerve, for increased efficacy.
  • Another possible nerve stimulation site may include the superior laryngeal nerve SLN.
  • the superior laryngeal nerve SLN descends posterior and medial from the internal carotid artery and divides into the internal laryngeal nerve ILN and external laryngeal nerve ELN. While the external laryngeal nerve ELN descends behind the sternohyoid with the superior thyroid artery, the internal laryngeal nerve ILN descends near the superior laryngeal artery.
  • the internal laryngeal nerve ILN contains sensory (afferent) fibers that are connected to receptors in the larynx.
  • Some of these receptors include, but are not limited to, mechanoreceptors which detect pressure changes in a patient's upper airway associated with its collapse and institute a physiological response to re-open the patient's upper airway. Therefore, stimulation of specific afferent fibers inside the ILN nerve may result in triggering a reflex response that causes upper airway dilation by activating several muscles groups.
  • the superior laryngeal nerve SLN in addition to being a sensory nerve, is also a motor nerve. Therefore, it is contemplated that one or more of the fiber selective stimulation means described in greater detail below may be utilized to facilitate only stimulating the sensory or afferent fibers of the nerve.
  • any of the alternative nerve electrode designs described hereinafter may be employed in the systems described herein, with modifications to position, orientation, arrangement, integration, etc. made as dictated by the particular embodiment employed.
  • Examples of other nerve electrode designs are described in U.S. Pat. No. 5,531,778, to Maschino et al., U.S. Pat. No. 4,979,511 to Terry, Jr., and U.S. Pat. No. 4,573,481 to Bullara, the entire disclosures of which are incorporated herein by reference.
  • the lead body and electrode cuff may comprise the same or similar materials formed in the same or similar manner as described previously.
  • the lead body may comprise a polymeric jacket formed of silicone, polyurethane, or a co-extrusion thereof.
  • the jacket may contain insulated wire conductors made from BSW or solid wire comprising MP35N, MP35N with Ag core, stainless steel or Tantalum, among others.
  • the lead body may be sigmoid shaped to accommodate neck and mandibular movement.
  • guarded cathode tri-polar electrode arrangement e.g., anode-cathode-anode
  • the electrodes made of 90/10 or 80/20 PtIr alloy with silicone or polyurethane backing.
  • FIG. 13A shows a perspective view of a nerve electrode cuff 130 on a nerve such as a hypoglossal nerve
  • FIG. 13B shows a cross-sectional view of the nerve cuff electrode 130 on the nerve.
  • the implantable nerve cuff electrode 130 comprises a compliant sheet wrap 132 configured to be wrapped about a nerve and secured thereto by connecting opposite portions of the sheet by sutures 138 , for example.
  • the sheet 132 includes a plurality of radially and longitudinally distributed fenestrations 134 to allow expansion of the sheet 132 to accommodate nerve swelling and/or over tightening.
  • Electrode contacts 136 comprising a coil, foil strip, conductive elastomer or individual solid conductors may be carried by the sheet 132 with an exposed inside surface to establish electrical contact with the nerve.
  • FIG. 14A shows a perspective view of a nerve electrode cuff 140 on a nerve such as a hypoglossal nerve
  • FIG. 14B shows a cross-sectional view of the nerve cuff electrode 140 on the nerve.
  • the implantable nerve cuff electrode 140 comprises a compliant sheet wrap 142 configured to be wrapped about a nerve and secured thereto by connecting opposite portions of the sheet by sutures 148 A, or by a buckle 148 B as shown in FIG. 14C , for example.
  • Electrode contacts 146 comprising a coil, foil strip, conductive elastomer or individual solid conductors may be carried by the sheet 142 with an exposed inside surface to establish electrical contact with the nerve.
  • FIG. 15A shows a perspective view of a nerve electrode cuff 150 on a nerve such as a hypoglossal nerve
  • FIG. 15B shows a cross-sectional view of the nerve cuff electrode 150 on the nerve.
  • the implantable nerve cuff electrode 150 comprises a compliant sheet wrap 152 configured to be wrapped about a nerve and secured thereto by connecting opposite portions of the sheet 152 by sutures 158 , for example.
  • the opposite portions of the sheet 152 are offset from the nerve and a thickened portion of the sheet 152 fills the offset space.
  • the sheet 152 includes a plurality of radially distributed slits 154 extending partly through the thickness of the sheet 152 to allow expansion and to accommodate nerve swelling and/or over tightening.
  • FIG. 16A shows a perspective view of a nerve electrode cuff 160 on a nerve such as a hypoglossal nerve
  • FIG. 16B shows a cross-sectional view of the nerve cuff electrode 160 on the nerve.
  • the implantable nerve cuff electrode 160 comprises a compliant sheet wrap 162 configured to be wrapped about a nerve and secured thereto by connecting opposite portions of the sheet 162 by sutures 168 , for example.
  • the sheet 162 includes a plurality of radially distributed and longitudinally extending convolutions 164 that may comprise alternative thick 164 A and thin 164 B portions in the sheet 162 and/or overlapping portions 164 C of the sheet 162 to allow expansion and to accommodate nerve swelling and/or over tightening.
  • Electrode contacts 166 comprising a coil, foil strip, conductive elastomer or individual solid conductors may be carried by the sheet 162 with an exposed inside surface to establish electrical contact with the nerve.
  • Nerve cuff electrode 160 may accommodate one or two lead bodies 62 A, 62 B for connection to the electrode contacts 166 on the same or opposite sides of the nerve.
  • FIGS. 16C-16D additional self-sizing and expandable designs are shown to accommodate nerve swelling and/or over-tightening.
  • a nerve cuff electrode 1600 having a cuff body with a relatively wide semi-cylindrical lateral side 1601 and a plurality of opposing arms 1602 extending thereform for placement on the deep (contralateral) side of the nerve.
  • nerve cuff electrode 1600 may include any suitable number of opposing arms 1602 .
  • Lateral side 1601 may include an array of electrode contacts 1603 .
  • lateral side may include three electrode contacts 1603 .
  • the three electrode contacts 1603 may include one cathode electrode contact 1603 disposed between two anode electrode contacts 1603 , as shown.
  • Arms 1602 may be secured around a nerve (not shown) by any suitable means.
  • arms 1602 may be elastic in nature, so as to gently grasp the nerve on its deep (contralateral) side.
  • arms 1602 may be actively secured about a nerve by, for example, suturing an end portion of arms 1602 to, e.g., a portion of lateral side 1601 .
  • arms 1602 may be provided with a safety mechanism (not shown) that permits nerve cuff electrode 1600 to become disengaged from a nerve it is secured about upon the application of a predetermined amount of force. This predetermined force will be established at a level that is below that which can cause damage to the nerve.
  • opposing arms 1602 may be configured to expand and/or deform as necessary, in order to accommodate nerve swelling caused by, for example, localized trauma inflicted upon the nerve during cuff implantation.
  • each of opposing arms 1602 may have an unattached terminal end 1602 a.
  • opposing arms 1602 may be also made from any suitable material known to those having ordinary skill in the art.
  • arms 1602 may be made from an elastomer, such as, for example, silicone or polyurethane.
  • one or both of arms 1602 may be provided with one or more limiting mechanisms (not shown) to limit the amount of expansion arms 1602 may undergo as a result of, for example, nerve swelling.
  • limiting mechanisms may include any suitable mechanism, including, but not limited to, flanges, barbs, and/or sutures.
  • nerve cuff electrode 1610 may be substantially similar to nerve cuff electrode 1600 depicted in FIGS. 16C-16D .
  • Nerve cuff electrode 1610 may differ from nerve cuff electrode 1600 in at least two significant ways.
  • lateral side 1611 of nerve cuff electrode 1610 may carry two anode electrode contacts 1613 and the medial side 1612 may carry one cathode electrode contact 1613 in an arrangement that may be referred to as transverse guarded tri-polar.
  • nerve cuff electrode 1610 may include three arms 1614 - 1616 extending from lateral side 1611 .
  • arms 1614 and 1616 may be configured to extend substantially in the same direction from the same edge 1611 a of lateral side 1611
  • arm 1615 may be configured to extend in substantially the opposing direction from an opposing edge 1611 b of lateral side 1611 .
  • arm 1615 may be disposed between arms 1614 and 1616 , and may be configured to carry the cathode electrode contact 1613 , as mentioned above.
  • any suitable arrangement of arms 1614 - 1616 and/or electrode contacts 1613 may be utilized within the principles of this disclosure.
  • certain embodiments of nerve curve electrode 1600 and/or nerve cuff electrode 1610 may include one or more elongated arms 1617 .
  • Arms 1617 may include any suitable length, so as to allow arms 1617 to wrap around a body portion of the cuff electrode one or more times in a spiral-like fashion, when the cuff electrode is mounted about an un-swollen nerve.
  • arms 1617 may allow the cuff electrode to remain mounted on the nerve as it accommodates large amounts of nerve swelling by unraveling and/or unwrapping as the nerve swells.
  • each of the arms 1617 may overlap lateral side 1601 or 1611 to accommodate larger amounts of nerve swelling without allowing the cuff to become detached from the nerve.
  • the elongated arms 1617 may extend around the body of the cuff electrode to form a spiral when the nerve is in a substantially unswollen state, as shown.
  • a modular nerve electrode cuff 170 that includes a semi-cylindrical body portion 172 with an array of electrode contacts 176 with separate insulative strips 174 for placement on the deep (contralateral side) of the nerve, which typically has more nerve branches and connecting blood vessels.
  • independent placement of the electrode body 172 on the superficial (lateral) side of the nerve and placement of the insulative strips 174 on the deep (contralateral) side of the nerve minimizes dissection.
  • the strips 174 may be connected to the electrode body 172 by sutures or buckles as described previously. This embodiment is also self-sizing to accommodate nerve swelling and/or over-tightening.
  • a nerve cuff electrode 180 is shown that has a cuff body with a relatively wide semi-cylindrical lateral side 182 and a relatively narrow semi-cylindrical medial side 184 that may extend through a small fenestration around the deep (contralateral) side of a nerve to securely and gently grasp the nerve while minimizing dissection.
  • the lateral side 182 carries two anode electrode contacts 186 and the medial side 184 carries one cathode electrode contact 186 in an arrangement that may be referred to as transverse guarded tri-polar.
  • a tow strap 188 is provided for inserting the medial side 184 around the deep side of the nerve.
  • the tow strap 188 may be integrally formed with the medial side 184 of the cuff body, and may include a reinforced tip 188 A with a serrated or marked cut line 188 B.
  • a nerve cuff electrode 190 is shown that has a cuff body with a relatively wide semi-cylindrical lateral side 192 and a relatively narrow semi-cylindrical medial side 194 that may extend through a small fenestration around the deep (contralateral) side of a nerve to securely and gently grasp the nerve while minimizing dissection.
  • the lateral side 192 carries one cathode electrode contact 196 C and two guarding anode electrode contacts 196 B and 196 D
  • the medial side 194 carries one anode electrode contact 196 A in an arrangement that may be referred to as transverse and longitudinal guarded quad-polar.
  • guarding electrode contacts 196 B and 196 C reduces extrinsic stimulation due to the lack of insulative material on the medial side 194 .
  • FIGS. 18, 19A and 19B illustrate two different electrode contact arrangements, but the number and arrangement may be modified to suit the particular application.
  • a nerve cuff electrode array 200 is shown that utilizes a series of relatively narrow independent cuffs 200 A, 200 B and 200 C with corresponding independent lead bodies 62 .
  • Providing a series of relatively narrow independent cuffs 200 A, 200 B and 200 C minimizes the required dissection around the nerve for implantation thereof.
  • the series of independent cuffs 200 A, 200 B and 200 C allows more selectivity in electrode placement to adjust for anatomical variation or multiple target stimulation sites, for example.
  • Each of the cuffs 200 A, 200 B and 200 C may include a cuff body 202 with one or more imbedded electrode contacts (not shown) and a tow strap 204 as described before. Also, each of the cuffs 200 A, 200 B and 200 C may include suture 208 or a buckle 206 to lock onto the tow strap 204 for connecting opposite ends of the body 202 around the nerve.
  • a nerve cuff electrode 210 is shown with multiple electrode contacts 216 radially spaced around the inside surface of a compliant split cuff body 212 to establish multiple electrical contact points around the circumference of the nerve.
  • Each of the electrode contacts 216 may be connected to independent conductors in the lead body 62 via axially extending wires 217 .
  • the compliant split cuff body 212 together with axially extending wires 217 allows for self-sizing to accommodate nerve swelling and/or over-tightening.
  • One or more pairs of tabs 214 extending from opposite end portions of the cuff body 212 may be connected by a suture (not shown) as described herein.
  • the proximal and distal ends of the cuff body 212 may have tapered thickness extensions 218 to provide strain relief and reduce mechanical irritation of the nerve due to contact with the edge of the cuff.
  • a nerve cuff electrode 220 is shown with a separable lead 62 in what may be referred to as a modular design.
  • the nerve cuff electrode 220 includes a semi-circular flexible cuff body (or housing) 222 with a receptacle 224 configured to accommodate a distal end of a lead body 62 therein.
  • the receptacle 224 may provide a releasable mechanical lock to the lead body 52 as by a press fit, mating detents, etc.
  • the distal end of the lead body 62 carries an array of ring electrodes 65 , with windows 226 provided in the cuff body 222 configured to align with the ring electrodes 65 and permit exposure of the ring electrodes 65 to the nerve to establish electrical connection therebetween.
  • the cuff body 222 may be attached to the nerve or simply placed adjacent the nerve. Any of the cuff designs described herein may be provided with a receptacle to accommodate a removable lead body. This embodiment allows postoperative removal of the lead body 62 without removal of the cuff 220 , which may be beneficial in revision operations, for example.
  • Electrodes 2001 may include ring electrodes that extend completely around the circumference of lead body 62 , or, alternatively, may include generally semi-circular electrodes that extend partially around the circumference of lead body 62 .
  • the electrode may be selectively insulated on any portion of its surface to allow directional stimulation.
  • Nerve cuff electrode 2000 may further include a nerve securing mechanism for securing lead body 62 to a nerve, such as, for example, a hypoglossal nerve.
  • the nerve securing mechanism may include, for example, a compliant sheet wrap 2002 that is attached on one end to a distal portion of lead body 62 , and unattached on the other opposing end.
  • Compliant sheet wrap 2002 may be attached to lead body 62 by any suitable means.
  • compliant sheet wrap 2002 may be configured to be wrapped around a nerve and secured thereto by, for example, connecting opposite portions of the sheet wrap 2002 together.
  • Sheet wrap 2002 may be provided with one or more features to facilitate such connections.
  • a portion 2002 b of sheet wrap 2002 that is closest to lead body 62 may be provided with a projection 2002 c that is configured for insertion into a corresponding opening 2002 e provided on a portion 2002 d of sheet wrap 2002 that is opposite portion 2002 b.
  • Opening 2002 e may be configured to retain projection 2002 c despite the forces exerted on sheet wrap 2002 during normal nerve swelling.
  • opening 2002 e may be configured to release projection 2002 c when forces greater than a predetermined threshold are exerted on sheet wrap 2002 , so as to prevent injury to the nerve.
  • opening 2002 e may be provided as a slot, which, in addition to securing projection 2002 c, may allow projection 2002 c to slide within the opening 2002 e, thereby allowing expansion of the sheet wrap 2002 to accommodate nerve swelling and/or over tightening of the sheet wrap 2002 .
  • both portions 2002 b and 2002 d may be provided with suitable openings to facilitate the insertion of sutures (not shown) or other suitable fastening mechanisms.
  • Sheet wrap 2002 may have any desired width.
  • sheet wrap 2002 may have a substantially tapered width, in order to securely wrap the nerve while minimizing dissection.
  • Compliant sheet wrap 2002 may be provided with any of a number of means that allow sheet wrap 2002 to expand, in order to accommodate nerve swelling and/or over tightening.
  • sheet wrap 2002 may be provided with a plurality of radially and/or longitudinally distributed fenestrations (not shown).
  • sheet wrap 2002 may be provided with a plurality of undulations 2002 a, such as, for example, sigmoid undulations, which may allow for expansion of sheet wrap 2002 .
  • nerve cuff electrode 2200 may include substantially the same features as nerve cuff electrode 2000 depicted in FIGS. 22A-22C .
  • Nerve cuff electrode 2200 may differ from nerve cuff electrode 2000 in that distal portion 62 ′′ may be substantially flat or paddle-shaped.
  • electrode contacts 2201 rather than being circular or semi-circular in configuration, may be substantially flat in configuration. In certain procedures, it is contemplated that the paddle-shaped distal portion 62 ′′, along with the substantially flat electrode contacts 2201 , may promote greater contact between electrode contacts 2201 and the nerve they are mounted upon.
  • the insertable lead 230 may have a paddle-shape (rectangular) cross-section with a tubular jacket 232 and one or more conductors 234 extending therethrough to one or more distally placed electrode contact(s) 236 .
  • the electrode contact(s) 236 may be imbedded in a molded distal end of the jacket 232 such that the electrode contact 236 has an exposed surface to face the nerve when implanted as shown in FIG. 23B .
  • the space between the nerve and electrode is shown for purposes of illustration only, as the electrodes may be placed in direct contact with the nerve.
  • Soft tines 238 may be integrally formed at the distal end of the tubular jacket 232 for purposes of mild fixation to tissue when implanted.
  • the insertable lead 230 is configured to be placed adjacent to the nerve (thereby negating the need for a cuff) by inserting the lead 230 at the surgical access site 110 and following the nerve distally until the electrode contacts 236 are placed adjacent the target stimulation site.
  • the insertable lead 232 may be used alone or in conjunction with another lead as shown in FIGS. 23B and 23C . In the illustrated example, a first lead 230 A is inserted along a superficial side of the nerve and a second lead 230 B is inserted along a deep side of the nerve.
  • a method of implanting lead 230 may generally comprise accessing a proximal extent of the nerve by minimal surgical dissection and retraction of the mylohyoid muscle as shown in FIG. 23C .
  • Special tools may alternatively be employed for percutaneous or laparoscopic access as shown and described with reference to FIGS. 24A-24C .
  • two paddle-shaped leads 230 with distal electrode contacts 236 may be inserted into the surgical access site and advanced beyond the access site along a distal aspect of the nerve to the desired stimulation site on either side of the nerve. These techniques minimize trauma and facilitate rapid recovery.
  • FIGS. 24A-24C A less invasive method of implanting a paddle-shaped lead 230 is shown in FIGS. 24A-24C .
  • a rectangular tubular trocar 240 with a sharpened curved tip is placed through a percutaneous access site 111 until a distal end thereof is adjacent the superficial side of the nerve.
  • a paddle-shaped lead 230 is inserted through the lumen of the trocar 240 and advanced distally beyond the distal end of the trocar 240 along the nerve, until the electrode contacts 236 are positioned at the target stimulation site.
  • FIG. 24B which is a view taken along line A-A in FIG.
  • the insertable lead 230 includes multiple electrode contacts 236 in an anode-cathode-anode arrangement, for example, on one side thereof to face the nerve when implanted.
  • tines are omitted to facilitate smooth passage of the lead 230 through the trocar.
  • a backer strap 242 of insulative material may be placed around the deep side of the nerve.
  • a curved tip needle 244 may be inserted through a percutaneous access site until the tip is adjacent the nerve near the target stimulation site.
  • a guide wire 246 with a J-shaped tip may then be inserted through the needle 244 and around the nerve.
  • the backer 242 may then be towed around using the guide wire 246 as a leader, and secured in place by a buckle (not shown), for example.
  • a bifurcated lead 250 is shown to facilitate separate attachment of electrode cuffs 64 to different branches of the same nerve or different nerves for purposes described previously. Any of the nerve cuff electrode or intramuscular electrode designs described herein may be used with the bifurcated lead 250 as shown.
  • a first lead furcation 252 and a second lead furcation 254 are shown merging into a common lead body 62 .
  • Each furcation 252 and 254 may be the same or similar construction as the lead body 62 , with modification in the number of conductors. More than two electrode cuffs 64 may be utilized with corresponding number of lead furcations.
  • FIGS. 26A and 26B are detailed views of the area around the dissection to the hypoglossal nerve, showing alternative embodiments of attachment of the tether 264 .
  • the proximal end of the tether 264 may be attached to the lead body 62 as shown in FIG. 26A or attached to the electrode cuff 64 as shown in FIG. 26B .
  • the distal end of the tether 264 may be attached to the fibrous loop carrying the digastrics tendon as shown in FIG. 26A or attached to adjacent musculature as shown in FIG. 26B .
  • a tubular collar 262 is disposed on the lead body 62 to provide connection of the tether 264 to the lead body 62 such that the lead body 62 is effectively attached via suture 266 and tether 264 to the fibrous loop surrounding the digastrics tendon.
  • the tether 264 allows movement of the attachment point to the lead body 62 (i.e., at collar 262 ) until the tether 264 is straight. At this point, any significant tensile load in the caudal direction will be borne on the fibrous loop and not on the electrode cuff 64 or nerve.
  • the length of the tether 262 may be less than the length of the lead body 62 between the attachment point (i.e., at collar 262 ) and the cuff 64 when the tensile load builds significantly due to elongation of this section of lead body 62 .
  • the tether 264 may be formed from a sigmoid length of braided permanent suture coated with an elastomer (such as silicone or polyurethane) to maintain the sigmoid shape when in the unloaded state.
  • the tether 264 may also be made from a monofilament suture thermoformed or molded into a sigmoid shape.
  • the distal end of the tether 264 may be attached to the fibrous loop using a suture 266 or staple or other secure means. Note that the tether 264 may be made from a biodegradable suture that will remain in place only during healing.
  • FIG. 26B an alternative is shown in FIG. 26B wherein the tether 264 is attached to the electrode cuff 64 .
  • the distal end of the tether 264 may be attached to the adjacent musculature by suture 266 such the musculature innervated by branches of the hypoglossal nerve or other musculature in the area where the electrode cuff 64 is attached to the nerve.
  • the tether 264 ensures that the electrode cuff 64 and the hypoglossal nerve are free to move relative to the adjacent musculature (e.g., hyoglossal). As significant tensile load is applied to the lead body 62 due to gross head movement, the tether 264 will straighten, transmitting load to the muscle rather then to the nerve or electrode cuff 64 .
  • stimulation lead 60 may comprise a number of differing design embodiments. One such embodiment has been discussed above with respect to FIG. 5 . Another such embodiment is depicted in FIG. 26C , which illustrates a stimulation lead 2600 .
  • Stimulation lead 2600 may be substantially similar to and/or may include one or more of the features described in connection with stimulation lead 60 .
  • stimulation lead 2600 may include a lead body 2662 having a first, proximal lead body portion 2663 .
  • First lead body portion 2663 may be substantially similar to lead body 62 .
  • first lead body portion 2663 may include a similar flexibility as lead body 62 .
  • Lead body 2662 may further include a second, distal lead body portion 2664 leading to the distal end of lead body 2662 at the nerve cuff electrode.
  • Second lead body portion 2664 may include a material property that is different than lead body portion 2663 , such as, for example, a greater flexibility, in order to accommodate stresses imparted upon lead body 2662 by a nerve cuff electrode and movement of the patient's head, neck, and other neighboring body portions.
  • the highly flexible distal portion 2664 reduces the stress (torque and tension) imparted by lead body 2662 on the electrode cuff, thereby reducing the likelihood that the cuff will be detached from the nerve or damage the nerve.
  • Lead body portion 2664 may be made more flexible than lead body portion 2663 by any of a variety of ways.
  • lead body portion 2664 may be made from a material having differing flexibility.
  • the diameters of the braided stranded wires (BSW) and/or wire insulation that make up the lead body portion 2664 may be reduced when possible.
  • BSW braided stranded wires
  • stimulation lead 2600 may further include an anchor 2665 operably connected to lead body 2662 .
  • anchor 2665 in the illustrated embodiment is depicted as being disposed in between lead body portions 2663 and 2664 , anchor 2665 may be disposed at any suitable location along the length of lead body 2662 .
  • anchor 2665 may be fixedly or movably connected to lead body 2662 .
  • Anchor 2665 may include any suitable configuration known in the art.
  • anchor 2665 may include a substantially flat body portion 2666 .
  • Body portion 2666 may be configured to be secured to tissue, such as, for example, tissue proximate a treatment site, by any suitable means available in the art.
  • body portion 2666 may be provided with openings 2667 to facilitate, for example, suturing anchor 2665 to nearby tissue.
  • Anchor 2665 can thereby isolate stress (tension) to one portion of lead body 2662 , and particularly portion 2663 , caused by gross head and neck movement.
  • a field steering nerve cuff electrode 64 is shown schematically.
  • the nerve cuff electrode 64 may include four electrode contacts 90 A- 90 D to enable field steering, and various arrangements of the electrode contacts 90 A- 90 D are shown in FIGS. 27B-27G .
  • FIGS. 27B-27G includes a top view of the cuff 64 to schematically illustrate the electrical field (activating function) and an end view of the cuff 64 to schematically illustrate the area of the nerve effectively stimulated.
  • electrical field steering may be used to stimulate a select area or fascicle(s) within a nerve or nerve bundle to activate select muscle groups as described herein.
  • the nerve cuff electrode 64 may comprise a cuff body having a lateral (or superficial) side 82 and a medial (or contralateral, or deep) side 84 .
  • the medial side 84 is narrower or shorter in length than the lateral side 82 to facilitate insertion of the medial side 84 around a nerve such that the medial side is on the deep side of the nerve and the lateral side is on the superficial side of the nerve.
  • An integral tow strap 86 may be used to facilitate wrapping the cuff around a nerve.
  • the nerve cuff electrode 64 includes electrode contacts 90 A, 90 B, 90 C and 90 D imbedded in the body of the cuff, with their inside surface facing exposed to establish electrical contact with a nerve disposed therein.
  • Electrode contacts 90 A and 90 B are longitudinally and radially spaced from each other. Electrode contacts 90 C and 90 D are radially spaced from each other and positioned longitudinally between electrode contacts 90 A and 90 B. Each of the four electrode contacts may be operated independently via four separate conductors (four filar) in the lead body 62 .
  • each includes a top view (left side) to schematically illustrate the electrical field or activating function (labeled E), and an end view (right side) to schematically illustrate the area of the nerve effectively stimulated (labeled S) and the area of the nerve effectively not stimulated (labeled NS).
  • Electrodes 90 A- 90 D are labeled A-D for sake of simplicity only. The polarity of the electrodes is also indicated, with each of the cathodes designated with a negative sign ( ⁇ ) and each of the anodes designated with a positive sign (+).
  • a tripolar transverse guarded cathode arrangement is shown with electrodes C and D comprising cathodes and electrodes A and B comprising anodes, thus stimulating the entire cross-section of the nerve.
  • a bipolar diagonal arrangement is shown with electrode C comprising a cathode and electrode A comprising an anode, wherein the fascicles that are stimulated may comprise superior fascicles of the hypoglossal nerve, and the fascicles that are not stimulated may comprise inferior fascicles of the hypoglossal nerve (e.g., fascicles that innervate the intrinsic muscles of the tongue).
  • FIG. 27D another bipolar diagonal arrangement is shown with electrode D comprising a cathode and electrode B comprising an anode, wherein the fascicles that are stimulated may comprise inferior fascicles of the hypoglossal nerve.
  • a bipolar axial arrangement is shown with electrode A comprising a cathode and electrode B comprising an anode, wherein the fascicles that are stimulated may comprise lateral fascicles of the hypoglossal nerve.
  • a bipolar transverse arrangement is shown with electrode C comprising a cathode and electrode D comprising an anode, wherein the fascicles that are stimulated may comprise medial fascicles of the hypoglossal nerve.
  • a modified tripolar transverse guarded cathode arrangement is shown with electrode C comprising a cathode and electrodes A and B comprising anodes, thus stimulating the entire cross-section of the nerve with the exception of the inferior medial fascicles.
  • Nerves like the hypoglossal nerve or superior laryngeal nerve typically include a plurality of fibers having relatively larger diameters and a plurality of fibers having relatively smaller diameters.
  • all of the nerve fibers may either be sensory or motor in function.
  • the fibers having relatively larger diameters are typically motor (efferent) fibers, and the fibers having relatively smaller diameters are typically sensory (afferent) fibers. Accordingly, there may be a need to selectively stimulate the differing diameter fibers in a nerve.
  • Electrode 2700 may include a substantially cylindrical nerve cuff 2701 in accordance with the principles of the present disclosure. As illustrated, nerve cuff 2701 may include an outer surface 2701 a and an inner surface 2701 b. Electrode 2700 may further include a plurality of electrode contacts 2702 - 2704 . Electrode contacts 2702 - 2704 may be used as any suitable electrode contact known to those of ordinary skill in the art.
  • electrode contact 2702 may be used as an anode
  • electrode contact 2703 may be used as a cathode
  • electrode contact 2704 may be used as a second anode.
  • Electrode contacts 2702 - 2704 may also include any suitable shape and/or configuration known in the art.
  • electrode contacts 2702 - 2704 may include a substantially semi-circular configuration.
  • Electrode contacts 2702 - 2704 may be disposed on nerve cuff 2701 in any suitable configuration to achieve the desired effect.
  • electrode contacts 2702 - 2704 may be disposed on inner surface 2701 b.
  • cathode electrode contact 2703 may be disposed approximately equidistant from distal end 2700 a and proximal end 2700 b, and anode electrode contacts 2702 may be differentially spaced around cathode electrode contact 2703 , so as to control the direction of stimulation of electrode 2700 .
  • anode electrode contact 2702 may be spaced from cathode electrode contact 2703 by any suitable distance ⁇ while second anode electrode contact 2704 may be spaced from cathode electrode contact 2703 by a distance that is approximately two or three times greater than distance ⁇ .
  • the direction of stimulation may be in the direction of arrow 2705 .
  • electrode 2700 may be implanted upon a nerve in accordance with the principles of this disclosure. Electrode 2700 may be oriented on the nerve it is implanted on in any suitable manner, such as, for example, according to the direction of intended stimulation. Thus, in circumstances where it may be desired to stimulate efferent (motor) fibers of a nerve, such as, for example, the superior laryngeal nerve SLN, while avoiding stimulation to afferent (sensory) fibers of the nerve, the electrode 2700 may be oriented on the nerve in a manner such that anode electrode contact 2702 is located distally of cathode electrode contact 2703 , with distal and proximal designations based on the relative location of the electrode contact on the nerve.
  • efferent motor
  • afferent (sensory) fibers of the nerve the electrode 2700 may be oriented on the nerve in a manner such that anode electrode contact 2702 is located distally of cathode electrode contact 2703 , with distal and proximal
  • the electrode 2700 may be oriented on the nerve in a manner such that anode electrode contact 2702 is located proximally of cathode electrode contact 2703 .
  • Electrode 2750 for, among other things, selectively stimulating differing diameter fibers of a nerve, such as, for example, the hypoglossal nerve or superior laryngeal nerve.
  • Electrode 2750 may include a body 2751 , and may include any suitable configuration in accordance with the principles of the present disclosure. Additionally, electrode 2750 may include an array 2752 of suitable electrode contacts known to those skilled in the art. Although the depicted embodiment of electrode 2750 includes five electrode contacts 2753 a- 2753 e, array 2752 may include a greater or lesser number of electrode contacts. Electrode contacts 2753 a- 2753 e may be disposed on body 2751 in any suitable configuration to produce the desired effect.
  • electrode contacts 2753 a- 2753 e may be disposed serially, with approximately a one (1) millimeter spacing in between each electrode contact 2753 a- 2753 e. Electrode contacts 2753 a- 2753 e may be configured to function as either anode electrode contacts or cathode electrode contacts, as desired.
  • Electrode contacts 2753 may be connected to an implanted neurostimulator (INS), such as, for example, INS 50 , in accordance with the present disclosure.
  • INS implanted neurostimulator
  • the INS may be programmed to select any of electrode contacts 2753 a- 2753 e for nerve stimulation.
  • all electrode contacts 2753 a- 2753 e may be selected for nerve stimulation, since closely spaced electrode contacts typically affect smaller diameter fibers (e.g., afferent or sensory fibers).
  • electrode contacts 2753 a, 2753 c, and 2753 e may function as anode electrode contacts and electrode contacts 2753 b and 2753 d may function as cathode electrode contacts.
  • electrode contacts 2753 a, 2753 c, and 2753 e may be selected for nerve stimulation, since loosely spaced electrode contacts typically affect larger diameter fibers (e.g., efferent or motor fibers).
  • electrode contacts 2753 a and 2753 e may function as anode electrode contacts
  • 2753 c may function as a cathode electrode contact.
  • electrode 2750 may be utilized to reduce muscle fatigue when implanted on single function nerves, such as, for example, the hypoglossal nerve. In such circumstances, muscle fatigue may be reduced by alternatively switching between using loosely spaced electrode contacts 2753 a, 2753 c, and 2753 e, to stimulate large diameter fibers, and closely spaced electrode contacts 2753 a- 2753 e, to stimulate small diameter fibers.
  • Nerve cuff electrode 2760 may include a body 2761 having a plurality of electrode contacts 2762 , 2763 , and 2764 . Electrode contacts 2762 - 2764 may include any suitable electrode contacts in accordance with the present disclosure. Although the depicted embodiment of nerve cuff electrode 2760 includes three electrode contacts 2762 - 2764 , nerve cuff electrode 2760 may include a greater or lesser number of electrode contacts. Furthermore, electrode contacts may be disposed on body 2761 in any suitable configuration to achieve the desired effect, such as, for example, serially, as depicted.
  • electrode contacts 2762 and 2764 may function as anode electrode contacts, while electrode contact 2763 may function as a cathode electrode contact.
  • Electrode contact 2763 may include two distinct, substantially triangularly shaped portions 2763 a and 2763 b. However, portions 2763 a and 2763 b may include any suitable shape.
  • portions 2763 a and 2763 b may be configured to be of differing conductive properties, so that, for the same stimulation pulse (e.g., a slow rising, small amplitude pulse having a relatively long duration of approximately 0.2 to 0.35 milliseconds) applied to each of the portions 2763 a and 2763 b, the resultant charge densities at the surface of each of the portions 2763 a and 2763 b may be different.
  • portions 2763 a and 2763 b may be made of electrically differing materials. For discussion purposes only, it is assumed that portion 2763 a is configured to deliver a charge density lower than that of portion 2763 b. However, portion 2763 a may be configured to deliver a charge density that is higher than the charge density of portion 2763 b.
  • portions 2763 a and 2763 b may be sequentially utilized to alternate between stimulating the small and large diameter fibers of a nerve.
  • a stimulation pulse may be first delivered to portion 2763 a to stimulate the small diameter fibers of a nerve.
  • a subsequent stimulation pulse may be then delivered to portion 2763 b to stimulate the large diameter fibers of a nerve. It is contemplated that alternating between stimulating the small and large diameter fibers of a nerve may facilitate reducing muscle fatigue while also ensuring sufficient muscle mass is stimulated to maintain the necessary contraction and force generation to successfully treat OSA.
  • nerve cuff electrode 2780 for facilitating reduction in muscle fatigue.
  • nerve cuff electrode 2780 may be substantially similar to nerve cuff electrode 2760 .
  • Nerve cuff electrode 2780 may differ from nerve cuff electrode 2760 in at least one significant way.
  • cathode electrode contact 2783 may comprise two substantially different portions 2783 a and 2783 b.
  • Portions 2783 a and 27836 may be spaced apart from one another and may include differing surface areas.
  • portion 2783 a may include a smaller surface area than portion 2783 b.
  • portions 2783 a and 2783 b may include any suitable shape known in the art. Although portions 2783 a and 2783 b in the illustrated embodiment together define a substantially triangular shaped electrode contact 2783 , portions 2783 a and 2783 b together may or may not define any suitable shape known in the art.
  • portions 2783 a and 2783 b may be configured to be substantially similar in conductance despite their differing surface areas.
  • portion 2783 a may be made of a first material having a relatively lower conductance
  • portion 2783 b may be made of a second material having a relatively higher conductance.
  • portion 2783 a when subjected to the same stimulation pulse (e.g., a slow rising, small amplitude pulse having a relatively long duration of approximately 0.2 to 0.35 milliseconds), portion 2783 a may have a higher charge density than portion 2783 b because of its relatively smaller surface area than portion 2783 b.
  • portion 2783 b when subjected to the same stimulation pulse, portion 2783 b may have a lower charge density than portion 2783 a because of its relatively larger surface area than portion 2783 a. Accordingly, because of the differing charge densities, portion 2783 a may be adapted to stimulate large diameter fibers of a nerve, and portion 2783 b may be adapted to stimulate small diameter fibers of the nerve.
  • a stimulation pulse may be first delivered to portion 2783 a to stimulate the large diameter fibers of a nerve.
  • a subsequent stimulation pulse may be then delivered to portion 2783 b to stimulate the small diameter fibers of the nerve. It is contemplated that alternating between stimulating the small and large diameter fibers of a nerve may facilitate muscle fatigue while also ensuring that sufficient muscle mass is stimulated to maintain the necessary contraction and force generation to successfully treat OSA.
  • portions 2763 a/ 2763 b and portions 2783 a/ 2783 b may be utilized to selectively stimulate either the afferent or efferent fibers of the nerve.
  • Nerve cuff electrode 2790 may include a cuff body 2791 for mounting about a nerve 2792 in accordance with the present disclosure.
  • Cuff body 2791 may include a plurality of electrode contacts 2793 - 2796 also in accordance with the present disclosure.
  • nerve cuff electrode 2790 may include a greater or lesser number of electrode contacts.
  • Nerve cuff electrode 2790 may be configured to selectively stimulate both small diameter fibers contained in fascicle 2777 a and large diameter fibers contained in fascicle 2777 b of nerve 2792 .
  • FIG. 27P by applying an exemplary slow rising, long pulse width waveform to electrode contacts 2796 and 2793 , nerve cuff electrode 2790 may stimulate the small diameter fibers contained in fascicle 2777 a of nerve 2792 .
  • FIG. 27Q by applying an exemplary fast rising, short pulse width waveform to electrode contacts 2794 and 2795 , nerve cuff electrode 2790 may stimulate the large diameter fibers contained in fascicle 2777 b of nerve 2792 .
  • Fascicles 2777 a and 2777 b may be stimulated simultaneously or separately.
  • the pulse generator e.g., INS 50
  • the pulse generator may be provided with dual output ports.
  • Anchoring the respiration sensing lead 70 reduces motion artifact in the respiration signal and stabilizes the bio-impedance vector relative to the anatomy.
  • the respiration sensing lead 70 includes a lead body 70 with a proximal connector and a plurality of distal respiration sensors 74 comprising ring electrodes for sensing bio-impedance.
  • the lead body 72 of the respiration sensing lead 70 may include a jacket cover containing a plurality of conductors 78 , one for each ring electrode 74 requiring independent control.
  • the impedance electrodes 74 may comprise current emitting electrodes and voltage sensing electrodes for detecting respiration by changes in bio-impedance.
  • FIGS. 28-33 various fixation devices and methods are shown to acutely and/or chronically stabilize the respiratory sensing lead 70 .
  • the INS 50 is shown in a subcutaneous pocket and the stimulation lead 60 is shown in a subcutaneous tunnel extending superiorly from the pocket.
  • the respiration sensing lead 70 is shown in a subcutaneous tunnel superficial to muscle fascia around the rib cage.
  • a suture tab or ring 270 may be formed with or otherwise connected to the distal end of the lead body 72 . Near the distal end of the lead 70 , a small surgical incision may be formed to provide access to the suture tab 270 and the muscle fascia under the lead 70 .
  • the suture tab 270 allows the distal end of the lead 70 to be secured to the underlying muscle fascia by suture or staple 272 , for example, which may be dissolvable or permanent. Both dissolvable and permanent sutures/staples provide for acute stability and fixation until the lead body 72 is encapsulated. Permanent sutures/staples provide for chronic stability and fixation beyond what tissue encapsulation otherwise provides.
  • a fabric tab 280 may be used in place of or in addition to suture tab 270 .
  • the fabric tab 280 may be placed over a distal portion of the lead body 72 , such as between two distal electrodes 74 .
  • a small surgical incision may be formed proximate the distal end of the lead 70 and the fabric tab 280 may be placed over the over the lead body 72 and secured to the underlying muscle fascia by suture or staple 282 , for example, which may be dissolvable or permanent, to provide acute and/or chronic stability and fixation.
  • the fabric tab 280 may comprise a fabric layer (e.g., polyester) 284 to promote chronic tissue in-growth to the muscle fascia and a smooth flexible outer layer (silicone or polyurethane) 286 for acute connection by suture or staple 282 .
  • a fabric layer e.g., polyester
  • a smooth flexible outer layer silicone or polyurethane
  • lead 70 includes a split ring 290 that may be formed with or otherwise connected to the distal end of the lead body 72 .
  • the split ring 290 allows the distal end of the lead 70 to be secured to the underlying muscle fascia by suture or staple 292 , for example, which may be dissolvable or permanent.
  • the ring 290 may be formed of compliant material (e.g., silicone or polyurethane) and may include a slit 294 (normally closed) that allows the lead 70 to be explanted by pulling the lead 70 and allowing the suture 292 to slip through the slit 294 , or if used without a suture, to allow the ring to deform and slide through the tissue encapsulation.
  • a dissolvable fabric tab 282 may be used to acutely stabilize the lead 70 but allow chronic removal.
  • deployable anchor tines 300 may be used to facilitate fixation of the lead 70 .
  • the self-expanding tines 300 may be molded integrally with the lead body 72 or connected thereto by over-molding, for example.
  • the tines 300 may comprise relatively resilient soft material such as silicone or polyurethane.
  • the resilient tines 300 allow the lead 70 to be delivered via a tubular sheath or trocar 304 tunneled to the target sensing site, wherein the tines 300 assume a first collapsed delivery configuration and a second expanded deployed configuration. As seen in FIGS.
  • the tubular sheath or trocar 301 may be initially tunneled to the target site using an obturator 306 with a blunt dissection tip 308 .
  • the obtruator 306 may be removed proximally from the sheath 304 and the lead 70 with collapsible tines 300 may be inserted therein.
  • the sheath 304 may be proximally retracted to deploy the tines 300 to engage the muscle fascia and adjacent subcutaneous tissue, thus anchoring the lead 70 in place.
  • FIGS. 32A and 32B an alternative deployable fixation embodiment is shown schematically.
  • self-expanding tines 310 are held in a collapsed configuration by retention wire 312 disposed in the lumen of the lead body 72 as shown in FIG. 32A .
  • Each of the tines 310 includes a hole 314 through which the retention wire 312 passes to hold the tines 310 in a first collapsed delivery configuration as shown In FIG. 32A , and proximal withdrawal of the retention wire 314 releases the resilient tines 310 to a second expanded deployed configuration as shown in FIG. 32B .
  • the lead 70 may be tunneled to the desired target site with the tines 310 in the collapsed configuration. Once in position, the wire 312 may be pulled proximally to release the tines 310 and secure the lead 70 to the underlying muscle fascia and adjacent subcutaneous tissue to establish fixation thereof.
  • FIGS. 33A and 33B another alternative deployable fixation embodiment is shown schematically.
  • self-expanding structures such as one or more resilient protrusions 320 and/or a resilient mesh 325 may be incorporated (either alone or in combination) into the distal end of the lead 70 .
  • resilient protrusions 320 may comprise silicone or polyurethane loops and resilient mesh 325 may comprise a polyester fabric connected to or formed integrally with the lead body 72 . Both the resilient protrusions 320 and the resilient mesh 325 may be delivered in a collapsed delivery configuration inside tubular sheath 304 as shown in FIG.
  • both the resilient protrusions 320 and the resilient mesh 325 engage the underlying muscle fascia through tissue encapsulation and adjacent subcutaneous tissues to provide fixation of the lead 70 thereto.
  • fixation element may engage the muscle fascia and adjacent subcutaneous tissues or may be embedded therein.
  • the electrodes may alternatively comprise intramuscular electrodes such as barbs or helical screws.
  • the respiration sensing lead includes a lead body and a plurality of respiration sensors comprising ring electrodes for sensing bio-impedance.
  • the lead body may include a plurality of insulated conductors disposed therein, with one conductor provided for each ring electrode requiring independent connection and/or control.
  • the impedance electrodes may comprise current emitting electrodes and voltage sensing electrodes for detecting respiration by changes in bio-impedance.
  • the respiration sensing lead 70 includes a lead body 72 with a proximal connector and a plurality of distal impedance electrodes 74 .
  • the lead body 72 and electrodes 74 are cylindrical with a diameter of 0.050 inches.
  • the distal current-carrying electrode 74 A may be 5 mm long and may be separated from the voltage-sensing electrode 74 B by 15 mm.
  • the distal voltage sensing electrode may be 5 mm long and may be separated from the proximal combination current-carrying voltage-sensing electrode 74 C by 100 mm.
  • the proximal electrode 74 C may be 10 mm long.
  • the proximal portion of the lead 70 is not shown, but would be connected to the INS (not shown) as described previously.
  • the lead body incorporates a plurality of insulated electrical conductors (not shown), each of which correspond to an electrode 74 A- 74 C.
  • the electrodes and conductors may be made of an alloy of platinum-iridium.
  • the lead body 72 may comprise a tubular extrusion of polyurethane, silicone, or a coextrusion of polyurethane over silicone.
  • the conductors may be formed of multi-filar wire coiled to provide extensibility for comfort and durability under high-cycle fatigue.
  • the position of the electrodes 74 may be characterized in terms of bio-impedance or bio-Z vectors.
  • the bio-Z vector may be defined by the locations of the voltage-sensing electrodes (labeled V 1 & V 2 ).
  • the voltage-sensing electrodes may be located on either side of the current-carrying electrodes (labeled I 1 & I 2 ). For example, it is possible to locate either one or both of the voltage-sensing electrodes between the current-carrying electrodes as shown in FIG.
  • FIG. 35A (4-wire configuration (I 1 -V 1 -V 2 -I 2 )), and it is possible to locate either one or both of the current-carrying electrodes between the voltage-sensing electrodes as shown in FIG. 35B (inverted 4-wire configuration (V 1 -I 1 -I 2 -V 2 )). While at least two separate electrodes (I 1 & I 2 ) are required to carry current and at least two separate electrodes (V 1 & V 2 ) are required to measure voltage, it is possible to combine the current carrying and voltage sensing functions in a common electrode. Examples of combining voltage sensing and current carrying electrodes are shown in FIGS. 35C-35E . FIG.
  • 35C (2-wire configuration (I 1 V 1 -I 2 V 2 )) shows combination electrode I 1 V 1 and I 2 V 2 where each of these electrodes is used to carry current and sense voltage.
  • FIG. 35D (3-wire configuration (I 1 -V 1 -I 2 V 2 )) and 35 E (inverted 3-wire configuration (V 1 -I 1 -I 2 V 2 )) show combination electrode I 2 V 2 which is used to carry current and sense voltage.
  • insulative material such as strips 73 may cover one side of one or more electrodes 74 A- 74 D to provide directional current-carrying and/or voltage-sensing.
  • the insulative strips may comprise a polymeric coating (e.g., adhesive) and may be arranged to face outward (toward the dermis) such that the exposed conductive side of each electrode 74 faces inward (toward the muscle fascia and thoracic cavity).
  • Other examples of directional electrodes would be substantially two-dimensional electrodes such as discs or paddles which are conductive on only one side.
  • Another example of a directional electrode would be a substantially cylindrical electrode which is held in a particular orientation by sutures or sutured wings.
  • Another example of a directional electrode would be an electrode on the face or header of the implanted pulse generator. It would likely be desirable for the pulse generator to have a non-conductive surface surrounding the location of the electrode.
  • each electrode may comprise a center primary electrode with two secondary side electrodes separated by resistive elements and arranged in series.
  • the conductive housing of the INS 50 may serve as an current-carrying electrode or voltage-sensing electrode.
  • an electrode may be mounted to the housing of the INS 50 .
  • bio-impedance has both a real and imaginary component, it is possible to measure the bio-Z phase as well as magnitude. It may be preferable to extract both magnitude and phase information from the bio-Z measurement because the movement of the lung-diaphragm-liver interface causes a significant change in the phase angle of the measured impedance. This may be valuable because motion artifacts of other tissue have less impact on the bio-Z phase angle than they do on the bio-Z magnitude. This means the bio-Z phase angle is a relatively robust measure of diaphragm movement even during motion artifacts.
  • a bio-Z signal source is a modulated constant-current pulse train.
  • the modulation may be such that it does not interfere with the stimulation signal.
  • the bio-Z signal source signal may be modulated at 30 Hz or a sub-multiple of 30 Hz such that bio-Z and stimulation do not occur simultaneously.
  • the pulses in the pulse train may have a pulse width between 1 uS to 1 mS, such as 100 uS.
  • the pulses may be separated by a period of time roughly equal to the pulse width (i.e., on-time of the pulses).
  • the number of pulses in a train may be determined by a trade-off between signal-to-noise and power consumption. For example, no more than 10 pulses may be necessary in any given pulse train.
  • the magnitude of current delivered during the pulse on-time may be between 10 uA and 500 uA, such as 50 uA.
  • bio-Z source signal may be constant current or non-constant current, such as a voltage source, for example. If a non-constant current source is used, the delivered current may be monitored to calculate the impedance value.
  • the current-carrying electrodes may have a single current source, a split-current source (one current source split between two or more current-carrying electrodes), or a current mirror source (one current source that maintains set current levels to two or more current-carrying electrodes).
  • Different characteristics of the sensed signal may be measured including, without limitation, magnitude, phase shift of sensed voltage relative to the current source signal, and multi-frequency magnitude and/or phase shift of the sensed signal.
  • Multi-frequency information may be obtained by applying multiple signal sources at different frequencies or a single signal source which contains two or more frequency components.
  • a single multifrequency source signal is a square wave current pulse.
  • the resultant voltage waveform would contain the same frequency components as the square wave current pulse which would allow extraction of Bio-Z data for more than a single frequency.
  • the bio-Z vector may be oriented with regard to the anatomy in a number of different ways.
  • the bio-Z vector may be arranged such that the proximal combination electrode is located just to the right of and above the xiphoid below the pectoral muscle between the 5 th and 6 th ribs and the distal current-carrying electrode is located mid-lateral between the 7 th and 8 th ribs, with the distal voltage-sensing electrode positioned between the 6 th and 7 th ribs 10 mm proximal of the distal current-carrying electrode.
  • This arrangement places the electrodes along the interface between the right lung, diaphragm and liver on the right side of the thoracic cavity.
  • the lung-diaphragm-liver interface moves relative to the bio-Z vector with every respiratory cycle. Because the lung has relatively high impedance when inflated and the liver has relatively low impedance due to the conductivity of blood therein, this bio-Z vector arrangement across the lung-diaphragm-liver interface provides for a strong respiratory signal that is indicative of changes between inspiration and expiration.
  • the heart is situated more on the left side, positioning the bio-Z vector on the right side reduces cardiac artifact. The net result is a bio-Z vector that provides an excellent signal-to-noise ratio.
  • bio-Z vector orientations relative to the anatomy may be employed.
  • bio-Z vectors for monitoring respiration may be located on the thorax.
  • bio-Z electrodes located in the head and neck may also be used to define respiratory bio-Z vectors.
  • the bio-Z vector may be arranged transthoracically (e.g., bilaterally across the thorax), anteriorly on the thorax (e.g., bilaterally across the thoracic midline), across the lung-diaphragm-liver interface, perpendicular to intercostal muscles, between adjacent ribs, etc.
  • a single bio-Z vector may be used, or multiple independent vectors may be used, potentially necessitating multiple sensing leads.
  • One or more bio-Z sub-vectors within a given bio-Z vector may be used as well.
  • FIG. 37A is a frontal view of the thorax
  • FIG. 37B is a right-side view of the thorax
  • FIG. 37C is a left-side view of the thorax.
  • the outline of the lungs and upper profile of the diaphragm are shown.
  • a bio-Z vector may be defined by the locations of the voltage-sensing electrodes.
  • FIGS. 37A-37C show locations for voltage sensing electrodes which would define the bio-Z vector.
  • FIG. 37A shows a variety of locations which are representative of the locations which define such vectors. Locations shown just below the ribcage on the person's right side are designated as A, B, C, and D. Locations shown just below the ribcage on the person's left side are E, F, G, and H.
  • Short diaphragmatic monitoring vectors would be comprised of location pairs which are relatively closely spaced. For example, vectors D-E, D-C, D-L, and D-K all provide good diaphragmatic signal. The possible vectors fall into three groups.
  • Exemplary vectors which measure primarily diaphragmatic muscle contraction are A-B, B-C, C-D, D-E, E-F, F-G, and G-H.
  • Exemplary vectors which measure a combination of diaphragmatic muscle contraction combined with movement of the lung into the pleural pocket as the diaphragm contracts are I-J, P-R, A-I, A-J, B-I, B-J, G-P, H-R, H-P, and G-R.
  • Exemplary vectors which measure diaphragmatic muscle contraction combined with movement of the diaphragm away from the thoracic wall as that portion of the lung expands are J-K, K-L, M-N, and N-P.
  • the signal from any given location may be affected by body position and free vs. obstructed respiration.
  • the respiratory signal from short vectors at or near the lower edge of the ribcage may be more robust (e.g., may be not be substantially affected) to body position and obstructed respiration.
  • a further means of obtaining a signal which may be also more robust to body position would be to measure the respiratory impedance from complimentary vectors and sum the resulting bio-Z measurements.
  • Complimentary vectors would be mirror-images or nearly mirror images of one another. Examples of vectors and their mirror images may be C-D and E-F, B-C and G-F, C-K and F-N.
  • the following bio-Z vectors may be effective for monitoring respiration and/or for measuring artifacts for subsequent removal of the artifact from the respiration signal.
  • Vector C-G is across the upper left and upper right lobes of the lungs, and provides a good signal of ribcage expansion with moderate cardiac artifact.
  • Vector D-F is a short-path version of C-G that provides a good respiratory signature largely correlated with ribcage expansion, with less cardiac artifact than C-G, but may be sensitive to movement of arms due to location on pectoral muscles.
  • Vector C-D is a short-path ipsilateral vector of the upper right lung that may be sensitive to arm movement but has less cardiac artifact.
  • Vector B-H is a transverse vector of the thoracic cavity that captures the bulk of the lungs and diaphragm movement.
  • Vector B-H may be relatively less susceptible to changes in body position, and may still provide a generally good signal when the patient changes positions.
  • the signal produced by vector B-H may have a less than desired signal to noise ratio.
  • generally available methods of signal processing in accordance with the present disclosure may be utilized the improve signal to noise ratio of the signal produced by Vector B-H.
  • Vector A-E is an ipsilateral vector across the lung-diaphragm-liver interface.
  • Vector B-K is an ipsilateral vector across the lung-diaphragm-liver interface that is substantially between a common set of ribs with a current path that is mostly perpendicular to the intercostal muscles. Because resistivity of muscle is much higher perpendicular to the muscle direction than parallel, vector B-K reduces current-shunting through the muscle which otherwise detracts from the signal of the lung-diaphragm-liver interface.
  • Vector A-K is an ipsilateral vector across the lung-diaphragm-liver interface similar to vector A-E 1 but is more sensitive to movement of the lung-diaphragm-liver interface than to changes in resistivity of the lung-diaphragm-liver interface due to inspired air volume and is thus a good indicator of diaphragm movement.
  • Vector B-E 1 is a vector across the middle and lower right lung and is good for detecting diaphragm movement with little cardiac artifact.
  • Vector C-E 1 is a vector across the upper and middle right lung and is also good for detecting diaphragm movement with little cardiac artifact.
  • Vector D-E 1 is a vector across the upper right lung with little cardiac artifact.
  • Vector A-D is an ipsilateral across a substantial portion of the right lung and diaphragm with little cardiac artifact, but may be susceptible to motion artifact due to arm movement.
  • Vector E 1 -E 2 is a vector across the heart and provides a good cardiac signal that may be used for removing cardiac artifact from a respiratory signal.
  • Vector E 2 -J is a vector across the lung-diaphragm-stomach interface that provides a good measure of diaphragm movement using bio-Z phase vs. magnitude because the stomach has almost no capacitive component and generally low conductivity.
  • Vector L-M is a trans-diaphragm vector that is generally across the lung-diaphragm-liver interface with little cardiac artifact.
  • Vector L-M may be relatively less susceptible to body position and movement and may yield a good signal even if the patient is laying on the side of the sensing lead.
  • the signal produced by vector L-M has a less than desired signal to noise ratio, it is contemplated that generally available methods of signal processing may be utilized to improve the signal to noise ratio of the signal produced by vector L-M.
  • Electrodes placed at any of the above-noted locations may include, but are not limited to, combination electrodes, such as, for example, electrodes capable of both providing a current charge and sensing a voltage.
  • an exemplary vector selection method 3800 for detecting and utilizing a signal from the vector that produces the most desirable signal of all vectors is discussed.
  • the disclosed vector selection method 3800 may be performed continuously, periodically, singularly, and/or may be repeated as desired. For example, method 3800 may be performed once in a 24 hour period.
  • one or more steps associated with method 3800 may be selectively omitted and/or the steps associated with method 3800 may be performed in any order.
  • the steps associated with method 3800 are described in a particular sequence for exemplary purposes only.
  • method 3800 may include a plurality of steps 3801 - 3803 for detecting and utilizing the signal with the best characteristics of all signals produced by a plurality of vectors.
  • method 3800 may include sampling short distance vectors first to determine if any of these vectors are producing a desirable signal, step 3801 .
  • Method 3800 may also include sampling intermediate distance vectors if the short distance vectors are not producing a desirable signal, step 3802 .
  • Method 3800 may further include sampling long distance vectors if the intermediate distance vectors are not producing a desirable signal, is step 3803 .
  • the exemplary neurostimulator may include an implanted INS 50 and implanted electrode contacts AA-DD. While the depicted embodiment includes electrode contacts AA-DD disposed between a patient's 5 th and lowest ribs, electrode contacts AA-DD may be disposed at any suitable location. Furthermore, electrode contacts AA-DD may include, but are not limited to, the combination electrodes discussed above.
  • exemplary short distance vectors may include the vectors between, for example, adjacent electrode contacts AA, BB, CC, and DD; exemplary intermediate distance vectors may include the vectors AA-CC, AA-DD, and BB-DD, and exemplary long distance vectors may include the vectors between the INS 50 and each of electrode contacts AA-DD.
  • step 3801 may include, for example, sampling short distance vectors AA-BB, BB-CC, and CC-DD first to determine whether any of these vectors may be producing a sufficient signal in accordance with the principles of this disclosure, since these vectors generally produce signals with desirable signal to noise ratios.
  • step 3802 of method 3800 may include sampling the intermediate distance vectors AA-CC, AA-DD, and BB-DD if the short distance vectors are producing a less than desirable signal.
  • step 3803 of method 3800 may include sampling the long distance vectors INS-AA, INS-BB, INS-CC, and INS-DD if the intermediate distance vectors are producing a less than desirable signal.
  • the present disclosure it is contemplated that several short, intermediate, and long distance vectors may be continually sampled, even if a desirable signal is being received from a short distance vector, in order to identify secondary vector signals that may be utilized if the currently utilized vector signal fails for any reason.
  • fully processing the data from signals generated by all of the vectors may require complex sensing circuitry and processing of detection algorithms that may utilize undesirable amounts of battery power. Therefore, it may be desirable to only monitor selected characteristics of the secondary vector signals.
  • FIG. 38B there is depicted an embodiment of a method 3850 for utilizing multiple sensing channels to optimize respiratory sensing with minimal additional hardware and power consumption.
  • method 3850 uses a single sensing circuit which is time multiplexed (interleaved) to sample each of the vectors. Since, as noted above, fully processing the data from all vector signals may require higher computational power, method 3850 may be used to identify the best vector signal for respiration detection, while simultaneously monitoring the remaining vectors signals for only relevant fiducial points. These fiducial points may include, but are not limited to, significant “landmarks” within a signal, such as, for example, peak amplitude and time, point of highest slew rate, and zero crossing.
  • the detected fiducial points for the secondary vector signals may be then stored in a circular buffer memory 3854 for analysis if the primary signal fails for any reason, thereby, allowing immediate switching to an alternate vector signal and eliminating the need for a long signal acquisition period after a need to switch vector signals has been determined.
  • method 3850 may include feeding the signals from all available vectors into a plurality of channel selection switches 3851 .
  • the signals may be then analyzed for relevant fiducials by the respiratory impedance sensing circuit 3853 . Once relevant fiducials have been discriminated, it may be possible to identify the best vector signal for respiration signal analysis.
  • the fiducials of the remaining vectors may be then stored in circular buffer memory 3854 (as noted above) to facilitate switching to a secondary vector signal if the primary signal is no longer suitable for respiration detection.
  • the periodic monitoring (or interleaving) of secondary vector signals may facilitate faster switching to those vector signals when necessary.
  • the saved data e.g., relevant fiducials
  • the saved data may be used to “seed” a signal analysis algorithm with recently collected data, so as to promote faster vector switching by eliminating the need to wait for collection of sufficient data for the secondary vector signal.
  • respiration detection may begin slightly faster than it would have if no data was available.
  • additional impedance sensors may be used as backup sensors to the sensor generating the primary vector signal.
  • data from the secondary sensors may be also analyzed to identify and save relevant fiducials in the memory. This stored information may be used to provide supplemental or alternate information to facilitate identifying appropriate respiratory timing, when switching vector signals becomes necessary as a result of primary signal degradation.
  • the respiratory bio-Z signal is partly due to the resistivity change which occurs when air infuses lung tissue, partly due to the relative movement of electrodes as the rib cage expands, and partly due to the displacement of other body fluids, tissue and organs as the lungs move along with the ribcage and diaphragm.
  • each vector measures certain of these changes to different extents. It may be desirable, therefore, to combine vectors which have complementary information or even redundant information to improve the respiratory information of the bio-Z signal. To this end, multiple vectors may be used. For example, one vector may be used to sense changes in the lung-diaphragm-liver interface and a second vector may be used to detect changes (e.g., expansion, contraction) of the lung(s).
  • Examples of the former include A-K, B-K, A-E 1 , B-E 1 , and A-B.
  • Examples of the later include D-F, B-D, C-G, D-E 1 , and C-E 1 . Note that some vector combinations which share a common vector endpoint such as A-E 1 , D-E 1 and B-E 1 , B-D may use a common electrode which would simplify the respiratory sensing lead or leads.
  • An advantage of using the lung-diaphragm-liver interface vector is that it provides a robust signal indicative of the movement of the diaphragm throughout the respiratory cycle.
  • the liver is almost two times more electrically conductive than lung tissue so a relatively large bio-Z signal can be obtained by monitoring the movement of the lung-diaphragm-liver interface. Because the liver functions to filter all the blood in the body, the liver is nearly completely infused with blood. This helps to dampen out the cardiac artifact associated with the pulsatile flow of the circulatory system.
  • Another advantage of this location is that vectors can be selected which avoid significant current path through the heart or major arteries which will help reduce cardiac artifact.
  • diaphragm movement is not necessarily synchronous with inspiration or expiration. Diaphragm movement typically causes and therefore precedes inspiration and expiration. Respiratory mechanics do allow for paradoxical motion of the ribcage and diaphragm, so diaphragm movement is not necessarily coincident with inspiration.
  • the diaphragm is the dominant respiratory driver and paradoxical motion of the ribs and diaphragm can be problematic, especially if movement of the ribcage is being relied upon as an inspiratory indicator. Monitoring the diaphragm for pre-inspiratory movement becomes especially valuable under these circumstances. Bio-Z monitoring of the diaphragm can be used as a more sophisticated indicator of impending inspiration rather than the antiquated approach of strategically trying to identify and respond to inspiration in pseudo-real time based on sensors which are responding to characteristics of inspiration.
  • shunting For purposes of monitoring respiration, it is desirable to minimize shunting of the electrical current through tissues which are not of interest. Shunting may result in at least two problems: reduced signal from the lungs; and increased chance of artifacts from the shunted current path.
  • Skeletal muscle has non-isotropic conductivity. The muscle's transverse resistivity (1600 ohm-cm) is more than 5 times its longitudinal resistivity (300 ohm-cm).
  • bio-Z sensing vectors which are perpendicular to muscle structure if possible.
  • One such example is to locate two or more electrodes of a bio-Z sensing array substantially aligned with the ribs because the intercostal muscles are substantially perpendicular to the ribs.
  • the neurostimulation system described herein may operate in a closed-loop process 400 wherein stimulation of the targeted nerve may be delivered as a function of a sensed feedback parameter (e.g., respiration). For example, stimulation of the hypoglossal nerve may be triggered to occur during the inspiratory phase of respiration.
  • the neurostimulation system described herein may operate in an open-loop process wherein stimulation is delivered as a function of preset conditions (e.g., historical average of sleeping respiratory rate).
  • the closed-loop process 400 may involve a number of generalized steps to condition the sensed feedback parameter (e.g., bio-Z) into a useable trigger signal for stimulation.
  • the closed-loop process 400 may include the initial step of sensing respiration 350 using bio-Z, for example, and optionally sensing other parameters 360 indicative of respiration or other physiologic process.
  • the sensed signal indicative of respiration (or other parameter) may be signal processed 370 to derive a usable signal and desired fiducials.
  • a trigger algorithm 380 which will be discussed in greater detail below, may then be applied to the processed signal to control delivery of the stimulation signal 390 .
  • a sensed bio-impedance signal may be obtained by applying a suitable, known current through one portion of a tissue of interest and measuring the voltage potential across the same tissue. This measurement technique is illustrated in FIG. 38C and may be referred to herein as the “direct measurement” technique. The applied current and measured voltage potentials may be used to calculate the impedance of the tissue. It is this measured impedance that may constitute the sensed bio-impedance signal.
  • sense bio-impedance signals of the present disclosure have been found to typically include two components, a relatively large nominal body impedance component and a relatively small respiratory impedance component.
  • the body's impedance constitutes a large portion of the sensed signal, it may be difficult to detect that relatively small impedance changes associated with respiration on top of a body's nominal impedance. Therefore, in accordance with the principles of the present disclosure, it may be desirable to “filter” the sensed impedance signal in a manner so as to remove most or all of the body's nominal impedance, in order to improve resolution of the respiratory signal. In some embodiments, this may be achieved with the aid of a conventional Wheatstone bridge at or near the front-end of an impedance measuring circuit. In particular, the Wheatstone bridge may facilitate precise measurements of the relatively small impedance changes associated with respiration by removing most, if not all, of the body's nominal impedance.
  • the Wheatstone bridge 3900 may include an electrical current source 3901 .
  • Wheatstone bridge 3900 may also include a first resistor R 1 having an impedance Z 1 connected in series to a second resistor R 2 having an impedance Z 2 .
  • Resistors R 1 and R 2 may be connected in parallel to resistor R 3 having an impedance Z 3 , which may be connected serially to the patient's body having an impedance Z body .
  • impedances Z 2 and Z 3 may be substantially similar to each other.
  • Wheatstone bridge 3900 may further include any suitable voltage measuring device, such as, for example, those used in conjunction the direct measurement technique described above.
  • the impedance Z 1 of exemplary bridge 3900 may be closely matched to the expected impedance of a patient's body Z body , the impedance Z 2 matched to impedance Z 3 , and the voltage potential across voltage measuring device 3902 may be measured. It is contemplated that if impedances Z 1 -Z 3 are closely matched to Z body , the measured voltage potential across voltage measuring device 3902 will be predominantly due to respiratory impedance changes and the voltage signal due to the body's nominal impedance will be largely removed.
  • the voltage changes measured at 3902 due to respiratory impedance changes will have an amplitude that is approximately 1 ⁇ 2 of the amplitude of the voltage changes, measured with the above-noted direct-measurement technique, assuming the same currently flow through the body.
  • the removal of the voltage signal due to the body's nominal impedance while retaining 1 ⁇ 2 of the voltage signal amplitude due to changes in respiratory impedance may facilitate detecting the small impedance changes associated with respiration by improving the resolution of those changes.
  • the body's nominal impedance may be extracted and identified (e.g., type, time, and value). be removed or reduced from a sensed signal by, for example, introducing a nominal offset removal module 3921 into an impedance measuring circuit 3920 of the present disclosure, as depicted in FIG. 39B .
  • An exemplary impedance-measuring circuit may generally include feeding a sensed respiratory signal into a demodulator. The signal exiting the demodulator may be then fed into an integrator, and the integrated signal exiting the integrator may then be digitized for analysis. It is therefore contemplated that introducing nominal offset removal module 3921 to act upon the upon the signal exiting the demodulator may achieve the desired effect of removing or reducing the body's nominal impedance from a sensed impedance signal.
  • module 3921 may include a switch S, a resistor R, a capacitor C, and a non-inverting amplifier A.
  • the switch S, resistor R, and capacitor C create a sample and hold reference voltage to the difference amplifier A.
  • the amplifier subtracts this reference voltage from the input signal. The result is to remove or reduce the nominal body impedance component of the signal leaving mainly the respiratory component of the measured impedance.
  • the Resistor-Capacitor (R-C) combination is selected such that it will track with changes in nominal impedance levels but does not significantly distort the respiratory signal. Respiratory signal frequency components of interest are typically between 0.05 Hz and 3 Hz. There are several options for how the Nominal Offset Removal may be operated.
  • An implanted bio-impedance circuit would typically use a modulated excitation signal for measuring impedance.
  • the switch, S may be open when there is no signal present and may be closed whenever a signal is present. For example, if a Demodulator Signal is present for 1 ms every 100 ms, switch S would be closed during all or a part of the time that Signal In is present. Switch S may also be operated such that it does not close on every instance when Demodulator Signal is present. The switch S, may be closed on every 10 th or 100 th instance when Demodulator Signal is present.
  • a third possibility is to close switch S only when Signal Out causes the Integrator to reach an unacceptable threshold. The integrator reaching an unacceptable threshold may be indicative that the reference voltage provided by the RC combination is no longer providing a sufficiently good estimate of the nominal signal component and so needs to be updated with new information.
  • FIG. 39D there is depicted an alternative embodiment of nominal offset removal module.
  • a further improvement on the Nominal Offset Removal module is shown in FIG. 39D .
  • S 0 and S 1 may be closed and S 2 may be open to provide an offset reference for a first signal with the appropriate combination of R-C 1 .
  • S 0 and S 2 may be closed and S 1 may be open to provide an offset reference for a second signal with the appropriate combination of R-C 2 . This strategy allows rapid sequential measurement of two or more impedance signals.
  • the signal processing step 370 may include general signal amplification and noise filtering 372 .
  • the step of amplification and filtering 372 may include band pass filtering to remove DC offset, for example.
  • the respiratory waveform may then be processed to remove specific noise artifacts 374 such as cardiac noise, motion noise, etc.
  • a clean respiratory waveform may then be extracted 376 along with other waveforms indicative of specific events such as obstructive sleep apnea (OSA), central sleep apnea (CSA), hypopnea, sleep stage, etc.
  • Specific fiducial points may then be extracted and identified (e.g., type, time, and value).
  • the step of removing specific noise artifacts 374 may be performed in a number of different ways. However, before signal processing 374 , both cardiac and motion noise artifact may be mitigated. For example, both cardiac and motion noise artifact may be mitigated prior to signal processing 374 by selection of bio-Z vectors that are less susceptible to noise (motion and/or cardiac) as described previously. In addition, motion artifact may be mitigated before signal processing 374 by minimizing movement of the sensing lead and electrodes relative to the body using anchoring techniques described elsewhere herein. Furthermore, motion artifact may be mitigated prior to signal processing 374 by minimizing relative movement between the current-carrying electrodes and the voltage-sensing electrodes, such as by using combined current-carrying and voltage-sensing electrodes.
  • both cardiac and motion artifact may be removed by signal processing 374 .
  • the signal processing step 374 may involve the use of a low pass filter (e.g., less than 1 Hz) to remove cardiac frequency noise components which typically occur at 0.5 to 2.0 Hz, whereas resting respiration frequency typically occurs below 1.0 Hz.
  • a low pass filter e.g., less than 1 Hz
  • the signal processing step 374 may involve the use of a band pass or high pass filter (e.g., greater than 1 Hz) to obtain a cardiac sync signal to enable removal of the cardiac noise from the bio-Z signal in real time using an adaptive filter, for example.
  • Adaptive filters enable removal of noise from a signal in real time, and an example of an adaptive filter is illustrated in FIG. 41 .
  • a signal n′(k) that represents cardiac noise is input to the adaptive filter and the adaptive filter adjusts its coefficients to reduce the value of the difference between y(k) and d(k), removing the noise and resulting in a clean signal in e(k). Notice that in this application, the error signal actually converges to the input data signal, rather than converging to zero.
  • Another signal processing technique to remove cardiac noise is to combine signals from two or more bio-Z vectors wherein respiration is the predominate signal with some cardiac noise. This may also be used to reduce motion artifact and other asynchronous noise. Each of the two or more signals from different bio-Z vectors may be weighted prior to combining them into a resultant signal Vw(i).
  • V W (i) (i.e., weighted average of A & B for data point (i))
  • Yet another signal processing technique for removing cardiac noise is to subtract a first signal that is predominantly respiration from a second signal that is predominantly cardiac.
  • the first signal may be from a predominantly respiratory bio-Z vector (e.g., vector B-H) with some cardiac noise
  • the second signal may be from a predominantly cardiac bio-Z vector (e.g., vector E 1 -E 2 ) with some respiration signal.
  • Each of the two signals from the different bio-Z vectors may be weighted prior to subtracting them.
  • the appropriate weighting may be determined, for example, by calculating the power density spectra in the range of 2-4 Hz for a range of weighted differences across at least several respiratory cycles. A minimum will occur in the power density spectra for the weighted averages which are sufficiently optimal.
  • Motion artifact may be removed by signal processing 374 as well. Motion artifact may be identified and rejected using signal processing techniques such as monitoring voltage magnitude, testing the correlation of magnitude and phase, and/or testing correlation at two or more frequencies. Motion artifacts may cause a large change in measured bio-impedance. A typical feature of motion artifacts is that the voltage swings are much larger than respiration. Another feature is that the voltage changes are highly erratic. Using these characteristics, which will be described in more detail below, motion artifact may be removed from the respiration signal.
  • FIGS. 42-46 schematically illustrate various representative unfiltered bio-Z signals.
  • FIG. 42 schematically illustrates a bio-Z signal 420 with representative signatures indicative normal respiration (i.e., event free) during an awake period 422 and a sleeping period 424 .
  • FIG. 43 schematically illustrates a bio-Z signal 430 with representative signatures indicative of normal respiration during sleeping periods 424 interrupted by a period of motion 432 (i.e., motion artifact).
  • FIG. 44 schematically illustrates a bio-Z signal 440 with representative signatures indicative of normal respiration during a sleeping period 424 followed by periods of hypopnea (HYP) 442 and recovery 444 .
  • HEP hypopnea
  • FIG. 45 schematically illustrates a bio-Z signal 450 with representative signatures indicative of normal respiration during a sleeping period 424 followed by periods of obstructive sleep apnea (OSA) 452 and recovery 454 (which typically includes an initial gasp 456 ).
  • FIG. 46 schematically illustrates a bio-Z signal 460 with representative signatures indicative of normal respiration during a sleeping period 424 followed by periods of central sleep apnea (CSA) 462 (which typically includes a cessation in breathing 468 ) and recovery 464 .
  • CSA central sleep apnea
  • the step of extracting 374 waveform data indicative of an awake period 422 vs. a sleep period 424 from a bio-Z signal 420 may be explained in more detail with reference to FIG. 42 .
  • the step of filtering 372 waveform data indicative of motion 432 from a bio-Z signal 430 may be explained in more detail with reference to FIG. 43 .
  • One way to determine if a person is awake or moving is to monitor the coefficient of variation (CV) of sequential peak-to-peak (PP) magnitudes over a given period of time. CV is calculated by taking the standard deviation (or a similar measure of variation) of the difference between sequential PP magnitudes and dividing it by the average (or a similar statistic) of the PP magnitudes. N is the number of respiratory cycles which occur in the selected period of time.
  • the CV may be calculated as follows:
  • CV is greater than 0.20 over a one minute period then person is awake. Also generally, if the CV is less than 0.20 over a one-minute period then person is asleep. These events may be flagged for the step of fiducial extraction 378 wherein data (e.g., event duration, CV, PP range, PPmin, PPmax, etc.) may be time stamped and stored with an event identifier. If CV is greater than 1.00 over a 20 second period then body movement is affecting the bio-Z signal.
  • data e.g., event duration, CV, PP range, PPmin, PPmax, etc.
  • stimulation may be delivered in an open loop fashion (e.g., based on historical respiratory data); (b) stimulation may be delivered constantly the same or lower level; or (c) stimulation may be turned off during the period of movement.
  • the selected stimulation response to detected movement may be preset by the physician programmer or by the patient control device. Other stimulation responses may be employed as will be described hereinafter.
  • maximum and minimum peak-to-peak magnitudes may be compared to distinguish hypopnea (HYP), obstructive sleep apnea (OSA), and central sleep apnea (CSA) events.
  • PP values may be compared within a window defined by the event (HYP, OSA, CSA) and the recovery period thereafter.
  • the window in which PP values are taken excludes transitional events (e.g., gasp 456 , 466 ).
  • peak-to-peak phases may be used instead of peak-to-peak magnitude.
  • hypopnea and apnea events may be flagged for the step of fiducial extraction 378 wherein data (e.g., event duration, CV, PP range, PPmin, PPmax, etc.) may be time stamped and stored with an event identifier.
  • data e.g., event duration, CV, PP range, PPmin, PPmax, etc.
  • a typical indication of hypopnea (HYP) and apnea (OSA, CSA) events is a recurrent event followed by a recovery.
  • the period (T) of each event (where PP oscillates between PPmax and PPmin and back to PPmax) may be about 15 to 120 seconds, depending on the individual.
  • the largest PP values observed during hypopneas and apneas are usually between 2 and 5 times larger than those observed during regular breathing 424 during sleep.
  • the ratio of the PPmax to PPmin during recurrent hypopnea and apnea events is about 2 or more.
  • PP values of adjacent respiratory cycles do not typically change abruptly and it is rare for the change in PP amplitude to be more than 50% of PPmax.
  • transitional event some people gasp 456 , 466 (i.e., transitional event) as they recover from a CSA or OSA event.
  • the ratio of successive PP magnitudes during normal (non-event) sleep 424 is mostly random.
  • the ratio of successive PP magnitudes during apnea and hypopnea events will tend to be a non-random sequence due to the oscillatory pattern of the PP values.
  • Recurrent apneas and hypopneas may be diagnosed by applying a statistical test to the sequence of successive PP ratios.
  • the step of extracting 374 waveform data indicative of an hypopnea event 442 from a bio-Z signal 440 may be explained in more detail with reference to FIG. 44 .
  • the ratio of PPmax to PPmin during recurrent hypopneas is typically between 2 and 5. This is in contrast to CSA's which have very small PPmin due to the complete cessation of breathing. This results in CSA's having PPmax to PPmin ratios larger than 5. Accordingly, hypopnea events may be detected, identified and flagged for the step of fiducial extraction 378 wherein data (e.g., event duration, CV, PP range, PPmin, PPmax, etc.) may be time stamped and stored with an event identifier.
  • data e.g., event duration, CV, PP range, PPmin, PPmax, etc.
  • the step of extracting 374 waveform data indicative of an OSA event 452 from a bio-Z signal 450 may be explained in more detail with reference to FIG. 45 .
  • the sharp change 456 in the bio-Z respiratory magnitude due to OSA is typically in the range of 1 to 4 times the magnitude of the peak-to-peak respiratory cycle magnitude.
  • the sharp change 456 typically takes less than 5 seconds to occur.
  • OSA tends to occur in a recurring sequence where the period (T) between sequential events is between 15 and 120 seconds. A one-minute period is commonly observed.
  • OSA events may be detected, identified and flagged for the step of fiducial extraction 378 wherein data (e.g., event duration, CV, PP range, PPmin, PPmax, etc.) may be time stamped and stored with an event identifier.
  • data e.g., event duration, CV, PP range, PPmin, PPmax, etc.
  • the step of extracting 374 waveform data indicative of a CSA event 462 from a bio-Z signal 460 may be explained in more detail with reference to FIG. 46 .
  • the behavior of the Bio-Z signal throughout recurrent CSA events differ from other hypopnea and OSA in three ways.
  • the duration of the estimated respiratory cycle may also be used to distinguish between CSA from OSA and hypopnea.
  • the lack of respiratory activity during CSA results in an inflated estimate for the respiratory cycle period.
  • the PP typically does not vary by more than 50% for successive cycles.
  • the respiratory cycle duration during a CSA event is more than twice as long as the duration of the respiratory cycles preceding the CSA event.
  • the Bio-Z magnitude will drift outside the PP magnitude range observed during respiration. It has been observed that with the onset of central sleep apnea (CSA) the magnitude and phase of the Bio-Z signal settle to a steady-state value outside the peak-to-peak range observed during the normal respiratory cycle during sleep.
  • CSA central sleep apnea
  • CSA central sleep apnea
  • a person upon arousal from CSA a person will typically gasp. This gasp results in a large PP.
  • the PP of the first respiratory cycle following the CSA event and the PP observed during the CSA (which is essentially noise) will exceed 50% of PPmax.
  • the flat portions 468 of the data traces are periods of respiratory cessation.
  • the subject gasps 466 and the raw bio-Z signal resumes cyclic oscillation above the static impedance level observed during CSA.
  • CSA events may be detected, identified and flagged for the step of fiducial extraction 378 wherein data (e.g., event duration, CV, PP range, PPmin, PPmax, etc.) may be time stamped and stored with an event identifier.
  • the step of extracting 374 waveform data indicative of sleep stage may be performed by comparing the phase difference between a first vector and a second vector wherein the first bio-Z vector is along the lung-diaphragm-liver interface (e.g., vector A-K or vector B-K) and the second bio-Z vector is about the lung(s).
  • the first bio-Z vector include A-K, B-K, A-E 1 , B-E 1 , and A-B.
  • Examples of the second bio-Z vector include D-F, B-D, C-G, D-E 1 , and C-E 1 .
  • some vector combinations which share a common vector endpoint such as A-E 1 , D-E 1 and B-E 1 , B-D may use a common electrode and to simplify the respiratory sensing lead or leads.
  • the two vectors are substantially in phase.
  • the diaphragm is the primary respiratory driver and a common consequence is paradoxical motion of the ribcage and diaphragm (i.e., the two vectors are substantially out of phase).
  • This characteristic would allow for an effective monitor of a person's ability to reach REM sleep.
  • REM and NREM sleep stages may be detected, identified, and flagged for the step of fiducial extraction 378 wherein characteristic data (e.g., event duration, phase, etc.) may be time stamped and stored with an event identifier.
  • Electrode A may be above the zyphoid
  • electrode B may be just above the belly button
  • electrode C may be on the back a couple of inches below electrode A.
  • Electrodes A and B are connected to a common constant current source through resistors R 1 and R 2 .
  • the voltage measured across the current source is a measure of the bio-impedance during normal respiration.
  • the voltage across R 1 is an indicator of the paradoxical motion associated with apnea.
  • An unbalanced current split between R 1 and R 2 resulting in large bio-Z voltage swings is indicative of OSA.
  • OSA events may be detected, identified, and flagged for the step of fiducial extraction 378 wherein characteristic data (e.g., event duration, voltage swing magnitude, etc.) may be time stamped and stored with an event identifier.
  • characteristic data e.g., event duration, voltage swing magnitude, etc.
  • the extracted 378 waveform and event data may be used for therapy tracking, for stimulus titration, and/or for closed loop therapy control.
  • data indicative of apneas and hypopneas (or other events) may be stored by the INS 50 and/or telemetered to the patient controlled 40 .
  • the data may be subsequently transmitted or downloaded to the physician programmer 30 .
  • the data may be used to determine therapeutic efficacy (e.g., apnea hypopnea index, amount of REM sleep, etc.) and/or to titrate stimulus parameters using the physician programmer 30 .
  • the data may also be used to control stimulus in a closed loop fashion by, for example, increasing stimulus intensity during periods of increased apnea and hypopnea occurrence or decreasing stimulus intensity during periods of decreased apnea and hypopnea occurrence (which may be observed if a muscle conditioning effect is seen with chronic use). Further, the data may be used to turn stimulus on (e.g., when apnea or hypopnea events start occurring or when motion artifact is absent) or to turn stimulus off (e.g., when no apnea or hypopnea events are occurring over a present time period or when motion artifact is predominant).
  • the neurostimulation system described herein may operate in a closed-loop process wherein the step of delivering stimulation 390 to the targeted nerve may be a function of a sensed feedback parameter (e.g., respiration).
  • a sensed feedback parameter e.g., respiration
  • stimulation of the hypoglossal nerve may be triggered to occur during the inspiratory phase of respiration.
  • the hypoglossal nerve is triggered about 300 mS before inspiration.
  • a predictive algorithm may be used to predict the inspiratory phase and deliver stimulation accordingly.
  • FIG. 48 schematically illustrates a system 480 including devices, data and processes for implementing a self-adjusting predictive trigger algorithm.
  • the system components 482 involved in implementing the algorithm may include the physician programmer (or patient controller), INS and associated device memory, and the respiratory sensor(s).
  • the sensors and device memory are the sources of real-time data and historical fiducial data which the current algorithm uses to generate a stimulation trigger signal.
  • the data 484 utilized in implementing the algorithm may include patient specific data derived from a sleep study (i.e., PSG data), data from titrating the system post implantation, and historic and real-time respiratory data including respiratory and event fiducials.
  • the processes 486 utilized in implementing the algorithm may include providing a default algorithm pre-programmed in the INS, patient controller or physician programmer, modifying the default algorithm, and deriving a current algorithm used to generate a trigger signal 488 .
  • a default algorithm may be provided to predict onset of inspiration from fiducial data. Selecting an appropriate default algorithm may depend on identifying the simplest and most robust fiducial data subsets which allow effective prediction of onset. It also may depend on a reliable means of modifying the algorithm for optimal performance.
  • modification of the default algorithm may require a reference datum. The reference datum may be the estimated onset for past respiratory cycles. It is therefore useful to precisely estimate inspiratory onset for previous respiratory cycles from historical fiducial data. This estimation of inspiratory onset for previous respiratory cycles may be specific to person, sensor location, sleep stage, sleep position, or a variety of other factors.
  • the current algorithm may be derived from real-time and historical data to yield a stimulation trigger signal 488 .
  • a trigger algorithm such as, for example, trigger algorithm 4700 depicted in FIG. 47A
  • trigger algorithm 4700 may be applied to a detected respiratory signal to begin and/or control delivery of the stimulation signal.
  • trigger algorithm 4700 may include a plurality of sub-routines 4701 - 4703 for performing various analyses on a sensed respiratory signal. These sub-routines may include, but are not limited to, performing peak detection 4701 , error checking 4702 , and prediction 4703 , on a detected respiratory signal.
  • Respiratory signal 4750 may be displayed as a substantially sinusoidal waveform having a component that varies with time.
  • respiratory signal 4750 may include a plurality of peaks, such as, for example, the peak located at v 4 t 4 , and a plurality of valleys, such as, for example, the valley located v ⁇ 4 t ⁇ 4 . Therefore, as will be discussed in greater detail below, peak detection sub-routine 4701 may be applied to sensed respiratory signal 4750 to detect the peaks of signal 4750 .
  • Error checking sub-routine 4702 may be applied to signal 4750 to, among other things, ensure signal 4750 is an accurate representation of a patient's respiration and free from undesirable artifacts caused by, for example, a patient's movement or cardiac activity. Prediction sub-routine 4703 may then be applied to signal 4750 to predict when future peaks will occur in accordance with the sensed signal 4750 .
  • peak detection 4701 may include a plurality of steps 4701 a-g.
  • Step 4701 a may include first detecting the peaks, such as, for example, the peak located at v 4 t 4 , of signal 4750 .
  • the detected peaks may be an indication of when onset of expiration occurs during the monitored respiratory cycles.
  • step 4701 b may include acquiring and/or considering a new voltage V k , where V k may be the most recently acquired data point time T k under consideration, where a number of recently acquired data points may be under consideration.
  • Step 4701 c may determine whether the data points under consideration meet the criteria to indicate that a minimum (min) peak has been detected.
  • V k+m is less than more recent data points under consideration, (V k+m ⁇ 1 . . . V k ), which can be expressed mathematically as V k+m ⁇ min (V k+m ⁇ 1 . . . V k ).
  • V k+m ⁇ min V k+m ⁇ 1 . . . V k .
  • V k+m ⁇ min V k+m ⁇ 1 . . . V k
  • V k+m . . . V k+1 is greater than all other less-recently acquired data points under consideration.
  • step 4701 b may be repeated to acquire and/or consider a new voltage V k . If the criteria has been met, step 4701 d may declare a minimum peak reference. Next, step 4701 e may again acquire and/or consider a new voltage V k . Subsequently, step 4701 f may determine whether the data points under consideration meet the criteria to indicate a maximum peak has been detected.
  • a criteria to indicate a maximum peak has been detected is if the oldest data point under consideration, V k+m , is greater than more recent data points under consideration (V k+m ⁇ 1 . . .
  • V k which can be expressed mathematically as V k+m ⁇ max (V k+m ⁇ 1 . . . V k ).
  • Another example of such a criteria to indicate a maximum peak has been detected is if the most recent data point under consideration, V k , is less than all other less-recently acquired data points under consideration, (V k+m . . . V k+1 ), which can be expressed mathematically as V k ⁇ max (V k+m . . . V k+1 ). If the criteria for detecting a maximum peak is not met, step 4701 e may be repeated to acquire and/or consider a new voltage V k .
  • step 4701 g may declare a maximum peak, and trigger algorithm 4700 may proceed to error-checking sub-routine 4702 .
  • the declared peak will depend on the criteria used for peak detection. For example, if the criteria for detecting a peak was based on comparing V k to less recently acquired data points, (V k+m . . . V k+1 ), then the peak magnitude and time would be declared to be V k+m/2 , t k+m/2 . As another example, if the criteria for detecting a peak was based on comparing the oldest considered data point, V k+m , to more recently acquired data points (V k+m ⁇ 1 . . . V k ), then the peak magnitude and time would be declared to be V k+m , t k+m .
  • error-checking sub-routine 4702 may include a plurality of steps 4702 a-e to determine whether a sensed respiratory signal may be adequate for respiration detection.
  • step 4702 a peak correction
  • steps 4702 b-e may include analyzing the sensed respiratory signal to determine whether the signal includes “noise” caused by a patient's movement ( 4702 b), whether the signal is sub-threshold (e.g., has a relatively low amplitude) ( 4702 c), whether the signal is sufficiently stable ( 4702 d), and whether the inversion detection is possible with the sensed signal ( 4702 e).
  • trigger algorithm 4700 may proceed to prediction sub-routine 4703 . However, if the sensed signal fails any of steps 4702 b-e, the trigger algorithm may terminate and the pulse generator (e.g., INS 50 ) may either cease stimulation, continue stimulation with continuous pulses of predetermined duration, and/or continue to stimulate at the same or a fraction (e.g., one quarter) of the stimulation rate for the most recently measured respiratory cycle, as discussed in greater detail below.
  • the pulse generator e.g., INS 50
  • the pulse generator may either cease stimulation, continue stimulation with continuous pulses of predetermined duration, and/or continue to stimulate at the same or a fraction (e.g., one quarter) of the stimulation rate for the most recently measured respiratory cycle, as discussed in greater detail below.
  • a peak is declared for a given set of data points under consideration when a peak detection criteria is met.
  • the declared peak itself may be used in further algorithm calculations or a more precise estimate of peak time and voltage may be calculated.
  • the more precise estimates of peak time and voltage are referred to as the peak correction.
  • the difference in voltage between successive data points is calculated for a given number of data points, n, to either side of the declared peak.
  • the peak in signal ideally occurs when the rate of change of the signal is zero. Taking successive differences in measured voltage is an approximation to the rate of change of the signal. Linear regression is used on a range of successive differences to estimate the point in time when the rate of change is zero. Due to the fact that the data points are collected at equal increments of time, calculating the statistics ⁇ V pk,0th , ⁇ V pk,1st and DEN allows a simple calculation based on linear regression to estimate the point in time at which the rate of change of the signal is zero.
  • a peak curvature estimate for inversion detection can be obtained from one of the statistics, ⁇ V pk,1st , calculated for peak correction.
  • Maximum peaks are sharper than minimum peaks and so typically have higher values of ⁇ V pk,1st .
  • One means of determining if a signal is inverted would be to compare the values of ⁇ V pk,1st for a series of maximum peaks to a series of minimum peaks.
  • prediction sub-routine 4703 may include predicting the time between sequentially identified peaks with either a parametric option or a non-parametric option.
  • the parametric option makes a prediction of the duration of the next respiratory period based on the average duration of recent respiratory cycles and the rate of change of the duration of recent respiratory cycles.
  • the parametric option also takes advantage of the fact that data points are collected at equal increments of time which simplifies the linear regression calculation.
  • n is the number of past respiration cycles used
  • t therapy t 1 +(1 ⁇ DC)* ⁇ t 0,pred , where DC may be the allowable duty cycle for therapy delivery.
  • the non-parametric option is very similar to the parametric option in that it also estimates the duration of the next respiratory period based on the nominal duration of recent respiratory cycles and the rate of change of the duration of recent respiratory periods.
  • the method is explained in more detail in “Nonparametric Statistic Method” by Hollander and Wolfe in sections related to the Theil statistic and the Hodges-Lehman, there disclose of which is incorporated herein by reference.
  • Zeroth Order Estimate ⁇ t 0,oth 1 ⁇ 2 median ⁇ t i + ⁇ t j , i+ ⁇ 0 ⁇ j ⁇ 1, . . . , n ⁇
  • ⁇ 0 is optimally 0, 1, 2 or 3
  • Stimulation may then commence at the calculated t therapy .
  • a self adjusting predictive algorithm may be implemented in the following manner.
  • the Programmer block illustrates means by which PSG-derived data may be uploaded into the device.
  • the Sensors and Device Memory block includes the sources of real-time data and historical fiducial variables which the current algorithm uses to generate a stimulation trigger signal.
  • the Patient PSG Titration Data block includes conventional polysomnographic (PSG) data obtained in a sleep study.
  • PSG polysomnographic
  • a self-adjusting predictive algorithm utilizes a reference datum to which the algorithm can be adjusted: Onset may be defined as onset of inspiration as measured by airflow or pressure sensor used in a sleep study, for example.
  • Estimated Onset may be defined as an estimate of Onset calculated solely from information available from the device sensors and memory.
  • Onset or Estimated Onset data is used.
  • the implanted device will typically not have access to Onset as that would require output from an airflow sensor. The device then may rely on an estimate of Onset or Estimated Onset.
  • the calibration of Estimated Onset to Onset may be based on PSG data collected during a sleep study. The calibration may be unique to a person and/or sleep stage and/or sleep position and/or respiratory pattern.
  • the Historical Fiducial Variables block represents the Historical Fiducial Variables (or data) which have been extracted from the bio-Z waveform and stored in the device memory. This block assumes that the raw sensor data has been processed and is either clean or has been flagged for cardiac, movement, apnea or other artifacts.
  • fiducial data includes fiducials, mathematical combinations of fiducials or a function of one or more fiducials such as a fuzzy logic decision matrix.
  • the Real-Time Data and Historical Fiducial Variables block incorporates all the information content of the Historical Fiducial Variables block and also includes real-time bio-Z data.
  • the Default Algorithm block represents one or more preset trigger algorithms pre-programmed into the INS or physician programmer.
  • the default algorithm used at a specific point in time while delivering therapy may be selected from a library of pre-set algorithms.
  • the selection of the algorithm can be made automatically by the INS based on: patient sleep position (position sensor), heart rate (detectable through the impedance measuring system) or respiration rate.
  • Clinical evidence supports that the algorithm used to predict the onset of inspiration may be dependant on sleep position, sleep state or other detectable conditions of the patient.
  • the Modify Algorithm block represents the process of modifying the Default Algorithm based on historical data to yield the Current Algorithm.
  • the calibration of Estimated Onset to Onset is resident in the device memory it can be used to calculate Estimated Onset for past respiratory cycles from Fiducial Variables.
  • the variable used to represent the Estimated Onset will be TEST or TEST(i) where the “i” indicates the cycle number. Note that Estimated Onset is calculated for past respiratory cycles. This means that sensor fiducial variables which either proceed or follow each Onset event may be used to calculate the Estimated Onset.
  • the Current Algorithm block represents the process of using the Modified Default Algorithm to predict the next inspiratory onset (Predicted Onset).
  • the Predicted Onset for the next respiratory cycle may be calculated from real-time data and historical fiducial variables. The calculation may be based on the Modified Default Algorithm. Modification of the Modified Default Algorithm to derive the Current Algorithm may be dependent on the calibration of Estimated Onset to Onset which was input from the physician programmer and may be based on comparison of real-time bio-Z data to data collected during a PSG titration study.
  • the Current Algorithm may use historic and/or real-time sensor fiducial variables to predict the next onset of inspiration. This predicted onset of inspiration may be referred to as Predicted Onset.
  • the variable used to represent Predicted Onset may be TPRED or TPRED(i) where the “i” indicates the respiratory cycle.
  • the Stimulation Trigger Signal block represents the Current Algorithm generating a trigger signal which the device uses to trigger stimulation to the hypoglossal nerve.
  • FIG. 49 is a table of some (not all) examples of waveform fiducials which can be extracted from each respiratory cycle waveform. For each fiducial there is a magnitude value and a time of occurrence. Each waveform has a set of fiducials associated with it. As a result, fiducials may be stored in the device memory for any reasonable number of past respiratory cycles. The values from past respiratory cycles which are stored in device memory are referred to as Historical Fiducial Variables.
  • the graphs illustrated in FIG. 50 are examples of fiducials marked on bio-Z waveforms.
  • the first of the three graphs illustrate the bio-impedance signal after it has been filtered and cleared of cardiac and motion artifacts.
  • the first graph will be referred to as the primary signal.
  • the second graph is the first derivative of the primary signal and the third graph is the second derivative of the primary signal.
  • Each graph also displays a square wave signal which is derived from airflow pressure. The square wave is low during inspiration. The falling edge of the square wave is onset of inspiration.
  • a goal is to construct an algorithm which can reliably predict onset of inspiration “T” for the next respiratory cycle from information available from the current and/or previous cycles.
  • a reliable, distinct and known reference point occurring prior to onset of inspiration, “T”, is “A”, the peak of the primary signal in the current cycle.
  • the upper peak of the bio-Z waveform “A” approximately corresponds to the onset of expiration “O.”
  • a dependent variable t T ⁇ PK is created to represent the period of time between the positive peak of the primary signal for the current cycle, t ⁇ Vmax(n), indicated by “A n ” on the graph, and onset of inspiration for the next cycle, t ⁇ onset(n+1), indicated by “T” on the graph.
  • t ⁇ Vmax could be replaced by any other suitable fiducial in defining a dependent variable for predicting onset.
  • a general model for a predictive algorithm may be of the following form:
  • t ⁇ Vmax(n) the time where positive peak occurs for the current cycle
  • t ⁇ Vmax(n ⁇ 1) the time of positive peak for the previous cycle.
  • T pred t ⁇ Vmax(n)+k0+k1* ⁇ t ⁇ pk(n)
  • the predictive equation we are proposing is based on the fact that the very most recent cycle times should be negatively weighted. Regression analysis supports this approach and indicates a negative weighting is appropriate for accurate prediction of onset. Thus, predicting onset is more effective if the most recent historical cycle time is incorporated into an algorithm with a negative coefficient.
  • stimulation may be delivered for only a portion of the respiratory cycle, such as, for example, during inspiration. Additionally, it may be desirable to begin stimulation approximately 300 milliseconds before the onset of inspiration to more closely mimic normal activation of upper airway dilator muscles.
  • predicting and/or measuring inspiration in particular, the onset of inspiration, may be relatively challenging.
  • the onset of expiration may be relatively easy to measure and/or predict (as discussed in greater detail below) when an adequate measure of respiration is available, it is contemplated that stimulation may be triggered as a function of expiration onset.
  • FIG. 50A there is depicted an exemplary respiratory waveform 5500 for two complete respiratory cycles A and B.
  • peaks M of the waveform 5500 may indicate onset of the expiratory phases of respiration cycles A and B.
  • peaks M occur at regular intervals of approximately 3-4 seconds.
  • the start of stimulation may be calculated by first predicting the time intervals between the start of expiration for subsequently occurring respiratory cycles. Next, in order to capture the entire inspiratory phase, including the brief pre-inspiratory phase of approximately 300 milliseconds, stimulation may be started at the time N that is prior to the next onset of expiration by approximately 30% to 50% of the time between subsequently occurring expiratory phases. Stimulating less than 30% or more than 50% prior to the next expiratory phase may result in an inadequate stimulation period and muscle fatigue, respectively.
  • the implanted neurostimulator system may be configured to respond in one or more of the following three ways.
  • the implanted neurostimulator may completely cease stimulation until an adequate signal is acquired.
  • the neurostimulator may deliver continuous simulation pulses of predetermined durations (e.g., up to 60 seconds) until an adequate signal is acquired; or if an adequate signal is not acquired in this time, the stimulation will be turned off.
  • the neurostimulator may continue to stimulate at the same or a fraction (e.g., one quarter) of the stimulation rate for the most recently measured respiratory cycle.
  • the neurostimulator may deliver stimulation pulses of relatively long durations at a frequency that is less than the frequency of stimulation utilized with an adequate measure of respiration.
  • the neurostimulator may deliver stimulation pulses of relatively short durations at a frequency that is greater than the frequency used with an adequate measure of respiration.
  • exemplary stimulation pulse waveform 5000 may include a square wave pulse train having one or more square wave pulses 5001 of approximately 1 to 3 volts in amplitude, a duration of approximately 100 ms, and a frequency of approximately 30 Hz, assuming a 1000 ohm impedance at the electrodes and a constant current or voltage.
  • exemplary stimulation pulse waveform 5000 may include a bi-phasic charge balanced waveform square pulses 5001 and 5002 , as depicted in FIG. 50B .
  • Square pulse 5002 may be included in waveform 5000 to, among other things, promote efficient stimulation and/or mitigate electrode corrosion. However, square pulse 5002 may be excluded from waveform 5000 as desired.
  • the depicted exemplary waveform 5000 includes square pulse 5002 that exactly balances the stimulation wave pulse 5001 , in certain circumstances, square pulse 5002 may not exactly balance the stimulation wave pulse 5001 , and may not be a square pulse.
  • exemplary stimulation pulse waveform 5000 may include the delivery of a low amplitude (e.g., below the stimulation threshold), long duration, pre-stimulation pulse 5004 .
  • the pre-stimulation pulse 5004 may include any suitable low amplitude, long duration pulse, and may be provided approximately 0.5 ms before the delivery of a first stimulation pulse 5001 .
  • Pre-stimulation pulse 5004 may facilitate selectively stimulating certain fibers of a nerve, such as, for example, the hypoglossal nerve or the superior laryngeal nerve.
  • a pre-stimulation pulse such as, for example, pulse 5004
  • a stimulation pulse e.g., the bi-phasic stimulation pulse 5001 depicted in FIG. 50B
  • a stimulation pulse may serve to saturate the large diameter fibers of the nerve so as to allow the stimulation pulse 5001 to only affect (e.g., stimulate) the smaller diameter fibers of the nerve.
  • a pre-stimulation pulse 5004 may be selectively introduced to waveform 5000 , so as to permit selective switching between stimulating the large and small diameter fibers of the nerve, in order to reduce muscle fatigue.
  • OSA may be treated by stimulating the superior laryngeal nerve to open the upper airway through a reflex mechanism
  • pre-stimulation pulse 5004 may serve to saturate the larger diameter efferent fibers so as to allow the stimulation pulse 5001 to only affect the smaller diameter afferent fibers of the nerve.
  • the system includes internal/implanted components comprising a receiver coil 910 , a stimulator lead 60 (including lead body 62 , proximal connector and distal nerve electrode 64 ). Any of the stimulation lead designs and external sensor designs described in more detail herein may be employed in this generically illustrated system, with modifications to position, orientation, arrangement, integration, etc. made as dictated by the particular embodiment employed.
  • the system also includes external components comprising a transmit coil 912 (inductively linked to receiver coil 910 when in use), an external neurostimulator or external pulse generator 920 (ENS or EPG), and one or more external respiratory sensors 916 / 918 .
  • the receiver coil 910 is implanted in a subcutaneous pocket in the pectoral region and the stimulation lead body 62 is tunneled subcutaneously along the platysma in the neck region.
  • the nerve electrode 64 is attached to the hypoglossal nerve in the submandibular region.
  • the transmitter coil 912 may be held in close proximity to the receiver coil 910 by any suitable means such as an adhesive patch, a belt or strap, or an article of clothing (e.g., shirt, vest, brazier, etc.) donned by the patient.
  • the transmitter coil 912 is shown carried by a t-shirt 915 , which also serves to carry the ENS 920 and respiratory sensor(s) 916 , 918 .
  • the ENS 920 may be positioned adjacent the waist or abdomen away from the ribs to avoid discomfort while sleeping.
  • the respiratory sensor(s) 916 , 918 may be positioned as a function of the parameter being measured, and in this embodiment, the sensors are positioned to measure abdominal and thoracic/chest expansion which are indicative of respiratory effort, a surrogate measure for respiration.
  • the external components may be interconnected by cables 914 carried by the shirt or by wireless means.
  • the shirt may incorporate recloseable pockets for the external components and the components may be disconnected from the cables such that the reusable components may be removed from the garment which may be disposed or washed.
  • the transmitting coil antenna 912 and the receiving coil antenna 910 may comprise air core wire coils with matched wind diameters, number of wire turns and wire gauge.
  • the wire coils may be disposed in a disc-shaped hermetic enclosure comprising a material that does not attenuate the inductive link, such as a polymeric or ceramic material.
  • the transmitting coil 912 and the receiving coil 910 may be arranged in a co-axial and parallel fashion for coupling efficiency, but are shown side-by-side for sake of illustration only.
  • the internal components may be chronically implanted without the need for replacement of an implanted battery, which would otherwise require re-operation.
  • inductively powered implantable stimulators are described in U.S. Pat. No. 6,609,031 to Law et al., U.S. Pat. No. 4,612,934 to Borkan, and U.S. Pat. No. 3,893,463 to Williams, the entire disclosures of which are incorporated herein by reference.
  • FIGS. 51C-51G alternative embodiments of an external neurostimulator system inductively coupled to an internal/implanted receiver are schematically shown. These embodiments are similar to the external embodiment described above, with a few exceptions.
  • the receiver coil 910 is implanted in a positioned proximate the implanted stimulation lead body 62 and nerve electrode 64 .
  • the receiver coil 910 may be positioned in a subcutaneous pocket on the platysma muscle under the mandible, with the lead body 62 tunneling a short distance to the nerve electrode 64 attached to the hypoglossal nerve.
  • the respiratory sensor(s) 916 / 918 may be integrated into the ENS 920 and attached to a conventional respiratory belt 922 to measure respiratory effort about the abdomen and/or chest.
  • An external cable 914 connects the ENS 920 to the transmitter coil 912 .
  • the transmitter coil 912 is carried by an adhesive patch 924 that may be placed on the skin adjacent the receiver coil 910 under the mandible.
  • the transmitter coil 912 is carried by an under-chin strap 926 worn by the patient to maintain the position of the transmitter coil 912 adjacent the receiver coil 910 under the mandible.
  • the receiver coil 910 may be positioned in a subcutaneous pocket on the platysma muscle in the neck, with the lead body 122 tunneling a slightly greater distance.
  • the transmitter coil 912 may be carried by a neck strap 928 worn by the patient to maintain the position of the transmitter coil 912 adjacent the receiver coil 910 in the neck.
  • FIGS. 51G-51K additional alternative embodiments of an external neurostimulator system inductively coupled to an internal/implanted receiver are schematically shown. These embodiments are similar to the external embodiment described above, with a few exceptions.
  • the receiver coil 910 may be positioned in a subcutaneous pocket on the platysma muscle under the mandible, with the lead body 62 tunneling a short distance to the nerve electrode 64 attached to the hypoglossal nerve.
  • the ENS 920 (not shown) may be located remote from the patient such as on the night stand or headboard adjacent the bed.
  • the ENS 920 may be connected via a cable 930 to a large transmitter coil 912 that is inductively coupled to the receiver coil 910 .
  • the respiratory sensor 916 may comprise a conventional respiratory belt 922 sensor to measure respiratory effort about the abdomen and/or chest, and sensor signals may be wirelessly transmitted to the remote ENS 920 .
  • the transmitter coil 912 is not carried by the patient, but rather resides in a proximate carrier such as a bed pillow, under a mattress, on a headboard, or in a neck pillow, for example. Because the transmitter coil 912 is not as proximate the receiver coil as in the embodiments described above, the transmitter coil may be driven by a high powered oscillator capable of generating large electromagnetic fields.
  • the transmitter coil 912 may be disposed in a bed pillow 934 .
  • the transmitter coil 912 may comprise a series of overlapping coils disposed in a bed pillow 934 that are simultaneously driven or selectively driven to maximize energy transfer efficiency as a function of changes in body position of the patient corresponding to changes in position of the receiver coil 910 .
  • This overlapping transmitter coil arrangement may also be applied to other embodiments such as those described previously wherein the transmitter coil is carried by an article donned by the patient.
  • FIG. 51I the transmitter coil 912 may be disposed in a bed pillow 934 .
  • the transmitter coil 912 may comprise a series of overlapping coils disposed in a bed pillow 934 that are simultaneously driven or selectively driven to maximize energy transfer efficiency as a function of changes in body position of the patient corresponding to changes in position of the receiver coil 910 .
  • This overlapping transmitter coil arrangement may also be applied to other embodiments such as those described previously wherein the transmitter coil is carried by an article donned by the patient.
  • FIG. 51J also illustrates a non-contact respiratory sensor 916 arrangement as utilized for detecting sudden infant death syndrome (SIDS).
  • SIDS sudden infant death syndrome
  • FIG. 51K two orthogonal transmitter coils 912 are located on each side of a neck pillow 938 , which is particularly beneficial for bilateral stimulation wherein a receiver coil 910 may be located on either side of the neck.
  • external respiratory effort sensors 916 / 918 are schematically shown incorporated into a stretchable garment 945 donned by the patient.
  • the sensors 916 / 918 generally include one or more inductive transducers and an electronics module 942 .
  • the inductive transducers may comprise one or more shaped (e.g., zig-zag or sinusoidal) stranded wires to accommodate stretching and may be carried by (e.g., sewn into) the garment 945 to extend around the patient's abdomen and chest, for example.
  • the electronics module may include an oscillator (LC) circuit with the inductive transducer (L) comprising a part of the circuit. Changes in frequency of the oscillator correspond to changes in inductance of the shaped wires which correlate to respiratory effort.
  • the electronics module may be integrated with an ENS (not shown) or connected to an ENS via a wired or wireless link for triggering stimulus as described previously.
  • the garment 945 may include features to minimize movement artifact and accommodate various body shapes.
  • the garment 945 may be form-fitting and may be sleeveless (e.g., vest) to reduce sensor artifacts due to arm movement.
  • the garment 945 may be tailored to fit over the patient's hips with a bottom elastic band which helps pull the garment down and keep the sensors 916 / 918 in the proper location.
  • the illustrated hypoglossal nerve stimulator includes several major components, namely: an implantable electronics unit that derives power from an external power source; a stimulation delivery lead that is anchored to the nerve or adjacent to the nerve and provides electrical connection between the electronics unit and the nerve, an external (non-implanted) power transmitting device that is inductively coupled with the implant to convey a powering signal and control signals; a power source for the external device that is either small and integrated into the body-worn coil and transmitter or is wired to the transmitter and transmit induction coil and can be powered by primary or secondary batteries or can be line powered; and a respiratory sensor such as those described previously.
  • These components may be configured to provide immediate or delayed activation of respiration controlled stimulation.
  • Initiation of the stimulation regimen may be by means of activation of an input switch.
  • Visual confirmation can be by an LED that shows adequate signal coupling and that the system is operating and is or will be applying stimulation.
  • pulse width ramping of a constant amplitude stimulation signal can be commanded or amplitude of a constant pulse width stimulation signal or a combination thereof can be performed.
  • the electrical stimulation signal is delivered by the stimulation lead that is connected to the implanted nerve stimulator and attached to or in proximity of a nerve.
  • the implanted electronics unit receives power through a magnetically coupled inductive link.
  • the operating carrier frequency may be high enough to ensure that several cycles (at least 10) of the carrier, comprise the output pulse.
  • the operating frequency may be in a band of frequencies approved by governmental agencies for use with medical instruments operating at high transmitted radio frequency (RF) power (at least 100 milliwatts).
  • RF transmitted radio frequency
  • the operating frequency may be 1.8 MHz, but 13.56 MHz is also a good candidate since it is in the ISM (Industrial/Scientific/Medical) band.
  • the non-implanted (external) transmitter device integrates respiration interface, waveform generation logic and transmit power driver to drive an induction coil.
  • the power driver generates an oscillating signal that drives the transmitter induction coil and is designed to directly drive a coil of coil reactance that is high enough or can be resonated in combination with a capacitor.
  • Power can come from a high internal voltage that is used to directly drive the transmit induction coil or power can come from a low voltage source applied to a tap point on the induction coil.
  • the waveform generation logic may be used to modulate the carrier in such a way that narrow gaps in the carrier correspond to narrow stimulation pulses.
  • interruptions to the carrier are stopped but the carrier is maintained to ensure that power is immediately available within the stimulator upon demand. Presence or absence of electrical nerve stimulation is based on respiration or surrogates thereof.
  • the transmitted signal may comprise a carrier of about 1.8 MHz.
  • the carrier signal is interrupted. The duration of the interruption is about equal to the duration of the output stimulation pulse.
  • the stimulation pulses may be about 110 microseconds in duration and are repeated at a rate of approximately 33 per second.
  • multiple pulses can be transmitted to logic within the implant to control stimulation pulse amplitude, pulse width, polarity, frequency and structure if needed. Further, onset and removal of stimulation can be graded to manage patient discomfort from abruptness. Grading may comprise pulse width control, signal amplitude control or a combination thereof.
  • An indicator may be used to show when the transmitter is properly positioned over the implant.
  • the indicator may be a part of the transmitter or by way of communication with the transmitter, or a part of related patient viewable equipment. Determination of proper position may be accomplished by monitoring the transmitter power output loading relative to the unloaded power level. Alternatively, the implant receive signal level transmitted back by a transmitter within the implant may be monitored to determine proper positioning. Or, the implant receive signal level that is communicated back to the transmitter by momentarily changing the loading properties presented to the transmitter, such a shorting out the receive coil may be monitored to determine proper positioning. Such communication may be by means of modulation such as pulse presence, pulse width, pulse-to-pulse interval, multi-pulse coding.
  • the transmitter may be powered by an internal primary power source that is used until it is exhausted, a rechargeable power source or a power source wired to a base unit.
  • a rechargeable power source or a power source wired to a base unit.
  • power can be supplied by any combination of battery or line power.
  • the respiration interface may transduce sensed respiratory activity to an on-off control signal for the transmitter.
  • Onset of stimulation may be approximately correlated slightly in advance of inspiration and lasts through the end of inspiration, or onset may be based on anticipation of the next respiration cycle from the prior respiration cycle or cycles.
  • the respiration sensor may comprise any one or combination of devices capable of detecting inspiration. The following are examples: one or more chest straps; an impedance sensor; an electromyographical measurement of the muscles involved with respiration; a microphone that is worn or is in proximity to the patients' face; a flow sensor; a pressure sensor in combination with a mask to measure flow; and a temperature sensor to detect the difference between cool inspired air versus warmed expired air.
  • the circuit illustrated in FIG. 52F may be used for the implanted electronics unit.
  • the signal from the inductive link is received by L 1 which is resonated in combination with C 1 and is delivered to both the power and signal rectifiers.
  • Good coupling consistent with low transmitter coil drive occurs when the transmit coil diameter is equal to the receive coil diameter.
  • coupling degrades quickly when the coil separation is about one coil diameter.
  • a large transmit coil diameter will reduce the criticality of small coil spacing and coil-to-coil coaxial alignment for maximum signal transfer at the cost of requiring more input drive power.
  • the power rectifier may comprise a voltage doubler design to take maximum advantage of lower signal levels when the transmit to receive coil spacing is large.
  • the voltage doubler operates with an input AC voltage that swing negative (below ground potential) causes D 1 to conduct and forces C 2 to the maximum negative peak potential (minus a diode drop).
  • the node of C 2 , D 1 , D 2 moves from a diode drop below ground to a diode drop above ground, forward biasing diode D 2 .
  • Further upswing of the input AC voltage causes charge accumulated on C 2 to be transferred through D 2 to C 3 and to “pump up” the voltage on C 3 on successive AC voltage cycles.
  • D 3 shunts C 3 .
  • Voltage limiting imposed by D 3 also limits the output of the signal rectifier section.
  • the power rectifier has a long time constant, compared to the signal rectifier section, of about 10 milliseconds.
  • the signal rectifier section may be similar in topology to the power rectifier except that time constants are much shorter—on the order of 10 microseconds—to respond with good fidelity to drop-outs in the transmitted signal.
  • the output switching section compares the potential of C 3 to that across C 5 by means of the Q 1 , Q 2 combination.
  • the voltage across C 5 falls very rapidly in comparison with C 3 .
  • Q 1 and Q 2 turn on.
  • Q 1 and Q 2 in combination form a high gain amplifier stage that provides for rapid output switching time.
  • R 3 is intended to limit the drive current supplied to Q 2 , and R 2 aids in discharging the base of Q 2 to improve the turn-off time.
  • the available power rectifier voltage is usually limited by Zener diode D 3 .
  • Zener diode D 3 When the coil separation becomes suboptimal or too large the power rectifier output voltage will be come variable as will the switched voltage available at the collector of Q 2 .
  • An acceptable level is about 3 volts peak.
  • a switched voltage is applied to Zener diode D 6 through emitter follower Q 3 and bias resistor R 5 . When the switched voltage rises to a level where D 6 conducts and develops about 0.6 volts across R 4 and the base-emitter junction of Q 4 , Q 4 conducts. o Increased conduction of Q 4 is used to remove bias from Q 3 through negative feedback.
  • Q 4 Since the level of conduction of Q 4 is a very sensitive function of base to emitter voltage, Q 4 provides substantial amplification of small variations in D 6 current flow and therefore bias voltage level. The overall result is to regulate the bias voltage applied to Zener diode D 6 . Output is taken from the junction of the emitter of Q 3 and D 6 since that point is well regulated by the combination of Zener diode breakdown voltage combined with the amplification provided by Q 4 . In addition to good voltage regulation a the junction of the emitter of Q 3 and D 6 , the output is very tolerant of load current demand since the conductivity of Q 3 will be changed by shifts in the operating point of Q 4 . Due to amplification by Q 3 and Q 4 , the circuit can drive a range of load resistances.
  • the regulator has the advantage of delivering only the current needed to operate the load while consuming only moderate bias current. Further, bias current is only drawn during delivery of the stimulation pulse which drops to zero when no stimulation is delivered.
  • a simple series resistance biased Zener diode requires enough excess current to deliver a stimulation pulse and still maintain adequate Zener bias.
  • conventional integrated circuit regulators such as three terminal regulators are not designed to well regulate and respond quickly to short input pulses. Experiment shows that three-terminal regulators exhibit significant output overshoot and ramp-up time upon application of an input pulse. This can be addressed by applying a constant bias to a regulator circuit or even moving the regulator before the output switching stage but this will be at the cost of constant current drain and subsequently reduced range.
  • the implanted electronics unit may be used to manage the loss of control and power signals. With this design, more than enough stimulation power is stored in C 3 to supply multiple delivered stimulation pulses. This design is intended to ensure that the voltage drop is minimal on any individual pulse. One of the consequences is that when signal is lost, the circuit treats the condition as a commanded delivery of stimulation and will apply a single, extended duration, energy pulse until the full stored capacity of C 3 is empty.
  • An alternative method may be to use an indirect control modulation to command delivery of a nerve stimulation pulse through logic and provide for a time-out that limits pulse duration.
  • a modified output stage may be used to mitigate electrode corrosion and establish balanced charging.
  • the output stage is illustrated in FIG. 52G and includes a capacitive coupling between the ground side of the stimulator and tissue interface in addition to a shunt from the active electrode to circuit ground for re-zeroing the output coupling capacitor when an output pulse is not being actively delivered.
  • Screening generally refers to selecting patients that will be responsive to the therapy, namely neurostimulation of the upper airway dilator nerves and/or muscles such as the hypoglossal nerve that innervates the genioglossus. Screening may be based on a number of different factors including level of obstruction and critical collapse pressure (Pcrit) of the upper airway, for example. Because stimulation of the hypoglossal nerve affects the genioglossus (base of tongue) as well as other muscles, OSA patients with obstruction at the level of the tongue base and OSA patients with obstruction at the level of the palate and tongue base (collectively patients with tongue base involvement) may be selected.
  • Pcrit critical collapse pressure
  • OSA patients with airways that have a low critical collapse pressure may be selected.
  • Pcrit may be measured using pressure transducers in the upper airway and measuring the pressure just prior to an apnea event (airway collapse).
  • a surrogate for Pcrit such as CPAP pressure may be used.
  • the lowest CPAP pressure at which apnea events are mitigated may correlate to Pcrit.
  • the critical collapse pressure may be defined as the pressure at which the upper airway collapses and limits flow to a maximal level.
  • Pcrit is a measure of airway collapsibility and depends on the stability of the walls defining the upper airway as well as the surrounding pressure.
  • Pcrit may be more accurately defined as the pressure inside the upper airway at the onset of flow limitation when the upper airway collapses.
  • Pout pressure outside the upper airway (e.g., atmospheric pressure).
  • screening may be accomplished through acute testing of tongue protruder muscle contraction using percutaneous fine wire electrodes inserted into the genioglossus muscle, delivering stimulus and measuring one or more of several variables including the amount of change in critical opening pressure, the amount of change in airway caliber, the displacement of the tongue base, and/or the retraction force of the tongue (as measured with a displacement and/or force gauge).
  • a device similar to a CPAP machine can be used to seal against the face (mask) and control inlet pressure down to where the tongue and upper airway collapse and occlude during inspiration.
  • This measurement can be repeated while the patient is receiving stimulation of the geneoglossus muscle (or other muscles involved with the patency of the upper airway). Patients may be indicated for the stimulation therapy if the difference in critical pressure (stimulated vs. non-stimulated) is above a threshold level.
  • a flexible optical scope may be used to observe the upper airway, having been inserted through the mask and nasal passage.
  • the difference in upper airway caliber between stimulation and non-stimulation may be used as an inclusion criterion for the therapy.
  • the measurement may be taken with the inlet air pressure to the patient established at a pre-determined level below atmospheric pressure to better assess the effectiveness of the stimulation therapy.
  • Another screening technique involves assessing the protrusion force of the tongue upon anterior displacement or movement of the tongue with and without stimulation while the patient is supine and (possibly) sedated or asleep.
  • a minimum increase in protrusion force while under stimulation may be a basis for patient selection.
  • a non-invasive oral appliance 530 may be worn by the patient during a sleep study that can directly measure the protrusion force of the tongue as a basis for patient selection.
  • the oral appliance 530 may include a displacement probe 532 for measuring tongue movement protrusion force by deflection (D).
  • the oral appliance 530 may also include a force sensor 534 for measuring the force (F) applied by protrusion of the tongue.
  • the sensors in the displacement probe 532 and the force sensor 534 may be connected to measurement apparatus by wires 536 .
  • FIG. 54 illustrates another example of a non-invasive oral appliance 540 that may be worn by the patient during a sleep study to directly measure the protrusion force of the tongue as a basis for patient selection.
  • the oral appliance 540 includes a displacement sensor 542 for measuring tongue movement and a force sensor for measuring tongue protrusion force.
  • the displacement sensor and the force sensor may be connected to measurement apparatus by wires 546 .
  • Oral appliances 530 and 540 could be worn during a sleep study and would measure the tongue protrusion force during (and just prior to) an apnea event when the protruder muscle tone is presumed to be inadequate to maintain upper airway patency.
  • the protrusion force measured as the apnea is resolved by the patient will increase as the patient changes sleep state and the airway again becomes patent.
  • the force difference may be used as a basis for patient selection.
  • Another screening technique involves the use of an oral appliance with sub-lingual surface electrodes contacting the base of the tongue or fine wire electrodes inserted into the genioglossus muscle to stimulate the tongue protruder muscle(s) synchronous with respiration during a sleep study.
  • the oral appliance may be fitted with a drug delivery system (e.g., drug eluting coating, elastomeric pump, electronically controlled pump) for topical anesthesia to relieve the discomfort of the electrodes.
  • an oral appliance 550 includes a pair of small needle intramuscular electrodes 552 that extend into the genioglossus.
  • the electrodes 552 are carried by flexible wires 554 and may be coupled to an external pulse generator (not shown) by wires 556 .
  • the electrodes 552 may be supported by a drug (e.g., anesthetic) eluting polymeric member 558 .
  • an oral appliance 560 includes a cathode electrode 562 guarded by two anode electrodes 564 carried by a soft extension 565 that extends under the tongue.
  • the surface electrodes 562 and 564 contact the floor of the mouth under the tongue to indirectly stimulate the genioglossus.
  • the electrodes 562 and 564 may be coupled to an external pulse generator (not shown) by wires 566 .
  • the extension 565 may incorporate holes 568 through which a drug (e.g., anesthetic) may be eluted.
  • Oral appliances 550 and 560 may be used during a sleep study and stimulation of the target tissue can be performed synchronous with respiration and while inlet airflow pressure can be modulated. The ability to prevent apneas/hypopneas can be directly determined. Also the critical opening pressure with and without stimulation can be determined. Alternatively or in addition, the intramuscular or surface electrodes may be used to measure genioglossus EMG activity, either with or without stimulation. On any of theses bases, patient selection may be made.
  • Patient selection may also be applied to the respiratory sensors to determine if the respiratory sensors will adequately detect respiration for triggering stimulation.
  • bio-Z is used to detect respiration using an implanted lead 70
  • skin surface or shallow needle electrodes may be used prior to implantation to determine if the signal will be adequate.
  • This method may also be sued to determine the preferred position of the electrodes (i.e., optimal bio-Z vector). This may be done while the patient is sleeping (i.e., during a sleep study) or while the patient is awake.
  • the correct portion of the nerve may stimulate in order to activate the correct muscle(s) and implant the nerve cuff electrode accordingly. Determining the correct position may involve stimulating at different locations along the length or circumference of the nerve and observing the effect (e.g., tongue protrusion). In addition or in the alternative, and particularly in the case of field steering where multiple combinations of electrode contacts are possible, it may be desirable to determine optimal electrode or filed shape combinations.
  • FIGS. 57A and 57B An example of an intra-operative stimulating tool 570 is shown in FIGS. 57A and 57B .
  • the tool 570 includes a first shaft 571 with a distal half-cuff 573 .
  • Tool 570 further includes a second shaft 575 with a proximal movable collar 574 and a distal half-cuff 575 .
  • Stimulating tool 570 includes multiple electrodes 572 on half-cuff 573 and/or half-cuff 575 that may be arranged in an array or matrix as shown in FIG. 57C , which is a view taken along line A-A in FIG. 57B .
  • the half-cuffs 573 and 575 may be longitudinally separated for placement about a nerve and subsequently closed such that the half-cuffs 573 and 575 gently grasp the nerve.
  • the electrodes 575 may be sequenced through a series of electrode/field shape combinations to optimize (lower) the critical opening pressure, airway caliber, tongue protrusion force or other acute indicia of therapeutic efficacy.
  • the tool 570 may be part of an intra-operative system including: (1) tool 570 or other tool with one or more stimulating electrodes that are designed to be easily handled by the surgeon during implant surgery; (2) an external pulse generator which triggers off of a respiration signal; (3) a feedback diagnostic device that can measure critical closing pressure intra-operatively; and (4) an algorithm (e.g., firmware or software in the programmer) that is design to automatically or manually sequence through a series of electrode configurations that will identify the best placement of electrode cuffs on the nerves and configuration of electrode polarity and amplitude settings.
  • Information from the intra-operative system may greatly speed the process of identifying where to place the electrode cuff(s) on the hypoglossal nerve and what field steering may be optimal or necessary to provide efficacy.
  • FIGS. 58A-58B there is depicted a tool 5800 for temporarily expanding a nerve cuff electrode in accordance with the principles of the present disclosure.
  • Tool 5800 may include a substantially scissor-like configuration having a first element 5801 and a second element 5802 pivotably secured together by a suitable fastener, such as, for example, pivot pin 5803 , acting as a fulcrum.
  • Elements 5801 and 5802 may be substantially similar to each other or may differ as necessary.
  • elements 5801 and 5802 may include levers having distal effecting portions 5804 , 5805 and proximal actuating portions 5806 , 5807 .
  • Proximal actuating portions 5806 , 5807 may be of any suitable length and may be connected to respective handles (not shown), which may be used to operate tool 5800 .
  • proximal actuating portions 5806 , 5807 themselves may be used to operate tool 5800 .
  • Distal effecting portions 5804 , 5805 may include any suitable configuration to achieve the desired effect.
  • each portion 5804 , 5805 may include a substantially curved configuration.
  • a distal end of each portion 5804 , 5805 may be provided with a fastening mechanism, such as, for example, hook-like projection 5804 a, 5805 a, for facilitating connection of tool 5800 to a nerve cuff electrode.
  • hook-like projections 5804 a, 5805 a may be configured to be disposed in differing parallel planes, such that projections 5804 a, 5805 a may be spaced (offset) horizontally from one another.
  • distal effecting portions 5804 , 5805 may be opened and closed as proximal actuating portions 5806 , 5807 may be rotated about pivot pin 5803 .
  • the nerve cuff electrode e.g., nerve cuff electrode 5810
  • the nerve cuff electrode may be provided with one more geometric configurations for facilitation connection with tool 5800 .
  • nerve cuff electrode 5810 may be provided with extensions 5811 , 5812 for facilitating connection with tool 5800 .
  • Each extension 5811 , 5812 may be provided with openings 5811 a, 5812 a, respectively, for receiving hook-like projections 5804 a, 5805 a, so as to operably couple nerve cuff electrode 5811 with tool 5800 .
  • the implanted neurostimulation system may be configured so that stimulation of the nerve is set at a relatively low level (i.e., low voltage amplitude, narrow pulse width, lower frequency) so as to maximize battery life of the INS and to minimize the chances that the electrical stimulation will cause arousal from sleep. If apneas/hypopneas are detected, then the electrical stimulation can be increased progressively until the apneas/hypopneas are no longer detected, up to a maximum pre-set stimulation level. This auto titration may automatically be reset to the low level after the patient is awakened and sits up (position detector) or manually reset using the patient controller. The stimulation level may be automatically reduced after a period of time has elapsed with no (or few) apneas/hypopneas detected.
  • a relatively low level i.e., low voltage amplitude, narrow pulse width, lower frequency
  • the stimulation level (i.e., voltage amplitude, pulse width, frequency) may be adjusted based on changes in respiration rate. Respiration rate or patterns of rate change may be indicative of sleep state. A different power level based on sleep state may be used for minimal power consumption, minimal unwanted stimulation (sensory response), etc., while providing adequate efficacy.
  • the electrical field shape used to stimulate the target nerve can be changed while the system is proving therapy based on feedback indicating the presence (or lack) of apneas/hypopneas.
  • the electrical field shape for an implanted system can be changed by adjusting the polarity, amplitude and other stimulation intensity parameters for each of the electrodes within the nerve stimulating cuff.
  • An algorithm within the INS may change the currently operating electrical field shape if the presence of apneas/hypopneas is detected, and then wait a set period of time to determine if the new configuration was successful in mitigating the apneas/hypopneas before adjusting the field shape again.
  • the system may be designed to keep a log of the most successful stimulation patterns and when they were most likely to be effective. This may allow the system to “learn” which settings to be used during what part of the night, for example, or with specific breathing patterns or cardiac signal patterns or combinations thereof.
  • the proportion of stimulation intensity of two electrode cuffs used to stimulate a nerve can be modulated while the system is providing therapy based on feedback indicating the presence (or lack) of apneas/hypopneas.
  • one nerve stimulating electrode cuff may be place on the more proximal section of the hypoglossal nerve, while a second is placed more distally.
  • the proximal cuff will be more likely to stimulate branches of the hypoglossal nerve going to muscles in the upper airway involved with tongue or hyoid retrusion while the more distal electrode cuff will more likely stimulate only the muscles involved with tongue/hyoid protrusion.
  • the system described above may modulate electrical stimulation intensity proportion based on electromyogram (EMG) feedback from the muscles in the upper airway being stimulated or others in the area.
  • EMG electromyogram
  • This feedback may be used to determine the correct proportion of stimulation between protruders and retruders.
  • the correct ratio of EMG activity between retruders and protruders may be determined during a sleep study for an individual, may be determined to be a constant for a class of patients or may be “learned” my the implanted system by using the detection of apneas/hypopneas as feedback.
  • a library of electrical stimulation parameter settings can be programmed into the INS. These settings listed in the library may be selected by the patient manually using the patient programmer based on, for example: (1) direct patient perception of comfort during stimulation; (2) a log of the most successful settings compiled by the software in the INS (assumes apnea/hypopnea detection capability); (3) a sleep physician's or technician's assessment of the most effective stimulation as determined during a sleep study; and/or (4) a list of the most effective parameters produced for a particular class of patient or other.
  • the electrical stimulation parameters described above may be adjusted based on patient position as detected by a position sensor within the INS.
  • the best setting for a given position may be determined by, for example: (1) a log of the most successful settings compiled or learned by the software in the INS (assumes apnea/hypopnea detection capability); (2) a sleep physician's or technician's assessment of the most effective stimulation as determined during a sleep study; and/or (3) a list of the most effective parameters produced for a particular class of patient or other.
  • different parts of the genioglossus muscle and/or different muscles involved with establishing patency of the upper airway can be alternately stimulated.
  • the left and right side genioglossus muscles can be alternately stimulated, cutting the effective duty cycle on each muscle in half.
  • different protruder muscles on the ipsilateral side such as the geniohyoid and the genioglossus muscle can be alternately stimulated to the same effect.
  • This may also be accomplished through one electrode cuff using field steering methods that selectively stimulated the fascicles of the hypoglossal nerve going to one group of protruders alternating with stimulating the fascicles leading to a different protruder muscle group.
  • This method may also be used to alternately stimulate one group of muscle fibers within the genioglossus muscle with the compliment of muscle fibers in the same muscle group.
  • different parts of the genioglossus muscle and/or different muscles involved with establishing patency of the upper airway can be simultaneously stimulated.
  • the left and right side genioglossus muscles can be simultaneously stimulated, greatly increasing the protrusion forces.
  • different protruder muscles on the ipsilateral side such as the geneohyoid and the genioglossus muscle can be simultaneously stimulated to the same effect.
  • This may also be accomplished through one electrode cuff using field steering methods that selectively stimulated the fascicles of the hypoglossal nerve going to one group of protruders simultaneously with stimulating the fascicles leading to a different protruder muscle group. This may be achieved with one electrode cuff using field steering on a more proximal location on the hypoglossal nerve or two or more electrode cuffs, one on each branch going to a muscle involved with maintaining muscle patency.
  • a sensor inside the INS may detect body position and automatically shut off stimulation when patient sits up or stands up. This will prevent unwanted stimulation when patient is no longer sleeping.
  • the device may automatically restart the stimulation after the sensor indicates the patient is again horizontal, with or without a delay.
  • the system may also be configured so that the stimulation can only be restarted using the patient controller, with, or without a delay.
  • the respiration signal using impedance and/or EMG/ENG are easily capable of determining heart rate.
  • the stimulation may be interrupted or turned off when the heart rate falls outside out a pre-determined acceptable range. This may be an effective safety measure that will decrease the chance that hypoglossal nerve stimulation will interfere with mitigating physiological processes or interventional emergent medical procedures.
  • Respiration waveforms indicating apneas/hypopneas or of other clinical interest may be recorded and automatically telemetered to a bed-side receiver unit or patient programmer.
  • Respiration waveforms indicating frequent apneas/hypopneas, abnormal breathing patterns, irregular heart rate/rhythm may be recorded and automatically telemetered to a bed-side deceiver unit or patient programmer causing an alarm to be issued (audible/visible).
  • the INS status such as low battery or system malfunction may also trigger an alarm.
  • Electrical stimulation intensity could be ramped up for each respiration cycle by increasing amplitude or pulse width from 0 to a set point to prevent sudden tongue protrusion or sudden airway opening causing the patient to wake up.
  • the system may deliver approximately 30 pulses per second for a length of time of one to one and one half seconds, totaling between about 30 and 45 pulses per respiration cycle.
  • amplitude of each individual therapy pulse in an added group of pulses could be ramped up from 0 to a set point at a rate of ⁇ 10% of the amplitude intended for the active duty cycle or 200 mS, whichever is less.
  • each individual therapy pulse could be ramped up from 0 to a set point at a rate of ⁇ 10% of the active duty cycle or 200 mS, whichever is less.
  • Each of these ramp methods would require a predictive algorithm that would stimulate based on the previous inspiration cycle.
  • Nerves innervating muscles that are involved with inspiration have been shown to have greater electrical activity during apnea or hypopnea. This signal cannot be easily measured while simultaneously stimulating the same nerve.
  • One method of stimulating and sensing using the same lead is to interleave a sensing period within the stimulation pulse bursts during the duty cycle. In other words, the sensing period may occur between pulses within the stimulation pulse train.
  • This approach may be used with electrodes/leads that directly stimulate and alternately sense on a nerve involved with inspiration or on a muscle involved with inspiration or a combination of the two. The approach may allow sensing of apnea/hypopnea, as well as therapeutic stimulation.

Landscapes

  • Health & Medical Sciences (AREA)
  • General Health & Medical Sciences (AREA)
  • Veterinary Medicine (AREA)
  • Public Health (AREA)
  • Engineering & Computer Science (AREA)
  • Biomedical Technology (AREA)
  • Nuclear Medicine, Radiotherapy & Molecular Imaging (AREA)
  • Radiology & Medical Imaging (AREA)
  • Life Sciences & Earth Sciences (AREA)
  • Animal Behavior & Ethology (AREA)
  • Neurology (AREA)
  • Neurosurgery (AREA)
  • Heart & Thoracic Surgery (AREA)
  • Cardiology (AREA)
  • Orthopedic Medicine & Surgery (AREA)
  • Physics & Mathematics (AREA)
  • Electromagnetism (AREA)
  • Acoustics & Sound (AREA)
  • Physiology (AREA)
  • Pulmonology (AREA)
  • Electrotherapy Devices (AREA)
  • Pharmaceuticals Containing Other Organic And Inorganic Compounds (AREA)

Abstract

In one embodiment, a method for maintaining patency of an upper airway of a patient to treat obstructive sleep apnea may include delivering an electrical stimulation to a portion of a superior laryngeal nerve via a nerve cuff when the nerve cuff is adjacent an external surface of the superior laryngeal nerve, the nerve cuff having a plurality of electrodes, wherein the nerve cuff is configured to be connected to an electrical stimulator via a stimulation lead.

Description

CROSS-REFERENCE TO RELATED APPLICATIONS
This patent application is a reissue application of U.S. Pat. No. 8,428,727 B2, which issued on Apr. 23, 2013, from U.S. patent application Ser. No. 13/093,534, filed on Apr. 25, 2011, which is a continuation of application Ser. U.S. patent application Ser. No. 11/907,533, filed on Oct. 12, 2007, of Stephen L. Bolea et al., entitled OBSTRUCTIVE SLEEP APNEA TREATMENT DEVICES, SYSTEMS AND METHODS, currently pending, now U.S. Pat. No. 8,417,343 B2, issued on Apr. 9, 2013, which claims the benefits of priority under 35 U.S.C. §§119 and 120 to U.S. Provisional Patent Application Nos. 60/851,386 and 60/918,257, filed on Oct. 13, 2006, and Mar. 14, 2007, respectively, the disclosures of all of which are expressly incorporated by reference herein. The entire contents of these applications are incorporated herein by reference. This reissue application is related to reissue application Ser. No. 14/681,764, filed on Apr. 8, 2015.
FIELD OF THE INVENTION
The inventions described herein relate to devices, systems and associated methods for treating sleeping disorders. More particularly, the inventions described herein relate to devices, systems and methods for treating obstructive sleep apnea.
BACKGROUND OF THE INVENTION
Obstructive sleep apnea (OSA) is highly prevalent, affecting one in five adults in the United States. One in fifteen adults has moderate to severe OSA requiring treatment. Untreated OSA results in reduced quality of life measures and increased risk of disease including hypertension, stroke, heart disease, etc.
Continuous positive airway pressure (CPAP) is a standard treatment for OSA. While CPAP is non-invasive and highly effective, it is not well tolerated by patients. Patient compliance for CPAP is often reported to be between 40% and 60%.
Surgical treatment options for OSA are available too. However, they tend to be highly invasive (result in structural changes), irreversible, and have poor and/or inconsistent efficacy. Even the more effective surgical procedures are undesirable because they usually require multiple invasive and irreversible operations, they may alter a patient's appearance (e.g., maxillo-mandibulary advancement), and/or they may be socially stigmatic (e.g., tracheostomy).
U.S. Pat. No. 4,830,008 to Meer proposes hypoglossal nerve stimulation as an alternative treatment for OSA. An example of an implanted hypoglossal nerve stimulator for OSA treatment is the Inspire™ technology developed by Medtronic, Inc. (Fridely, Minn.). The Inspire device is not FDA approved and is not for commercial sale. The Inspire device includes an implanted neurostimulator, an implanted nerve cuff electrode connected to the neurostimulator by a lead, and an implanted intra-thoracic pressure sensor for respiratory feedback and stimulus trigger. The Inspire device was shown to be efficacious (approximately 75% response rate as defined by a 50% or more reduction in RDI and a post RDI of ≤20) in an eight patient human clinical study, the results of which were published by Schwartz et al. and Eisele et al. However, both authors reported that only three of eight patients remained free from device malfunction, thus demonstrating the need for improvements.
SUMMARY OF THE INVENTION
To address this and other unmet needs, the present invention provides, in exemplary non-limiting embodiments, devices, systems and methods for nerve stimulation for OSA therapy as described in the following detailed description.
BRIEF DESCRIPTION OF THE DRAWINGS
It is to be understood that both the foregoing summary and the following detailed description are exemplary. Together with the following detailed description, the drawings illustrate exemplary embodiments and serve to explain certain principles. In the drawings:
FIG. 1 is a schematic diagram showing a fully implanted neurostimulator system with associated physician programmer and patient controller for treating obstructive sleep apnea;
FIG. 2 is a schematic diagram showing the implantable components of FIG. 1 implanted in a patient;
FIG. 3 is a perspective view of the implantable components shown in FIG. 1;
FIG. 4 is a detailed perspective view of the implantable neurostimulator (INS) shown in FIG. 3;
FIG. 5 is a detailed perspective view of the nerve cuff electrode and lead body shown in FIG. 3;
FIG. 5a is an illustration of exemplary movements a lead body may be configured to withstand;
FIG. 6 is a close-up detailed perspective view of the nerve cuff electrode shown in FIG. 3;
FIG. 7 is a detailed perspective view of the internal components of the nerve cuff electrode shown in FIG. 6;
FIG. 8 shows side and end views of an electrode contact of the nerve cuff electrode shown in FIG. 7;
FIGS. 9A and 9B are perspective views of the respiration sensing lead shown in FIG. 3;
FIG. 10 schematically illustrates surgical access and tunneling sites for implanting the system illustrated in FIG. 2;
FIGS. 11A and 11B schematically illustrate dissection to a hypoglossal nerve;
FIGS. 12 and 12A-12D schematically illustrate various possible nerve stimulation sites for activating muscles controlling the upper airway;
FIGS. 13-22 and 22A-22D are schematic illustrations of various stimulation lead body and electrode designs for use in a neurostimulator system;
FIGS. 23-24 schematically illustrate alternative implant procedures and associated tools for the stimulation lead;
FIG. 25 schematically illustrates an alternative bifurcated lead body design;
FIGS. 26A-26B schematically illustrate alternative fixation techniques for the stimulation lead and electrode cuff;
FIG. 26C schematically illustrates an alternative embodiment of a stimulation lead having a fixation mechanism;
FIGS. 27A-27H schematically illustrate field steering embodiments;
FIGS. 27I-27Q schematically illustrate alternative embodiments of nerve cuff electrodes with selective fiber stimulation mechanisms;
FIGS. 28-33B schematically illustrate alternative fixation techniques for the respiration sensing lead;
FIG. 34 schematically illustrates the distal portion of an exemplary respiration sensing lead
FIGS. 35A-35E and 36 schematically illustrate alternative electrode arrangements on the respiration sensing lead;
FIGS. 37 and 37A-37C schematically illustrate various anatomical positions or bio-Z vectors for the electrodes on the respiration sensing lead;
FIG. 38A illustrates an exemplary method of sampling a plurality of vector signals;
FIGS. 38B-46 schematically illustrate alternative respiration signal processing techniques;
FIG. 47 schematically illustrates an alternative respiration detection technique;
FIGS. 47A-47D illustrate an exemplary stimulation trigger algorithm;
FIGS. 48-50 schematically illustrate alternative stimulation trigger algorithms;
FIG. 50A illustrates an exemplary waveform of a patient's respiratory cycle;
FIG. 50B illustrates an exemplary stimulation waveform;
FIGS. 51A-51M are schematic illustrations of various external (partially implanted) neurostimulation systems for treating obstructive sleep apnea;
FIGS. 52A-52G are schematic illustrations of a specific embodiment of an external (partially implanted) neurostimulation system;
FIGS. 53-56 schematically illustrate alternative screening tools; and
FIGS. 57A-58B schematically illustrate alternative intra-operative tools.
DETAILED DESCRIPTION OF EXEMPLARY EMBODIMENTS
The following detailed description should be read with reference to the drawings in which similar elements in different drawings are numbered the same. The drawings, which are not necessarily to scale, depict illustrative embodiments and are not intended to limit the scope of the invention.
Description of Fully Implanted Neurostimulator System
With reference to FIG. 1, a neurostimulator system 10 including implanted components 20, physician programmer 30 and patient controller 40 is shown schematically. The implanted components of the system 10 may generally include an implanted neurostimulator (INS) 50 (a.k.a., implanted pulse generator (IPG)), an implanted stimulation lead (or leads) 60, and an implanted respiration sensing lead (or leads) 70. The INS 50 generally includes a header 52 for connection of the leads 60/70, and a hermetically sealed housing 54 for the associated electronics and long-life or rechargeable battery (not visible). The stimulation lead 60 generally includes a lead body 62 with a proximal connector and a distal nerve electrode cuff 64. The respiration sensing lead 70 generally includes a lead body 72 with a proximal connector and one or more sensors 74 disposed on or along a distal portion thereof. Suitable designs of the INS 50, stimulation lead 60 and respiration sensing lead 70 are described in more detail hereinafter.
As shown in FIG. 2, and by way of example, not limitation, the implanted components 20 (shown faded) of the neurostimulator system 10 are implanted in a patient P with the INS 50 disposed in a subcutaneous pocket, the stimulation lead body 62 disposed in a subcutaneous tunnel, the nerve cuff electrode 64 disposed on a nerve (e.g., hypoglossal nerve (HGN)) innervating a muscle (e.g., genioglossus muscle, not shown) controlling the upper airway, the respiration sensing lead body 72 disposed in a subcutaneous tunnel, and the respiration sensors 74 disposed adjacent lung tissue and/or intercostal muscles outside the pleural space.
Generally, electrical stimulus is delivered by the INS 50 via the stimulation lead 60 to a nerve innervating a muscle controlling upper airway patency to mitigate obstruction thereof. To reduce nerve and muscle fatigue, the stimulus may be delivered for only a portion of the respiratory cycle, such as during inspiration which corresponds to negative pressure in the upper airway. Stimulation may be thus triggered as a function of respiration as detected by respiration sensing lead 70 in a closed-loop feedback system. By way of example, the stimulus may be triggered to turn on at the end of expiration (or at the beginning of inspiration), and triggered to turn off at the beginning of expiration (or at the end of inspiration). Triggering the stimulus as a function of expiration improves capture of the entire inspiratory phase, including a brief pre-inspiratory phase of about 300 milliseconds, thus more closely mimicking normal activation of upper airway dilator muscles. Over-stimulation may cause nerve and/or muscle fatigue, but a 40% to 50% duty cycle may be safely tolerated, thus enabling limited over-stimulation. As an alternative, stimulus may be delivered independent of actual respiration wherein the stimulus duty cycle is set for an average inspiratory duration at a frequency approximately equal to an average respiratory cycle.
Stimulus may be delivered to one or more of a variety of nerve sites to activate one muscle or muscle groups controlling patency of the upper airway. For example, stimulation of the genioglossus muscle via the hypoglossal nerve moves or otherwise stiffens the anterior portion of the upper airway, thereby decreasing the critical pressure at which the upper airway collapses during inspiration and reducing the likelihood of an apnea or hypopnea event occurring during sleep. Because the systems described herein work at the level of the tongue, it may be desirable to combine this therapy with a therapy (e.g., UPPP or palatal implant) that work at the level of the soft palate, thus increasing efficacy for a broader range of patients.
With reference back to FIG. 1, the physician programmer 30 may comprise a computer 32 configured to control and program the INS 50 via a wireless link to a programming wand 34. The physician programmer 30 may be resident in a sleep lab where the patient undergoes a polysomnographic (PSG) study during which the patient sleeps while the INS 50 is programmed to optimize therapy.
The patient controller 40 may comprise control circuitry and associated user interface to allow the patient to control the system via a wireless telemetry link while at home, for example. The patient controller 40 may include a power switch 42 to turn the system on and slowly ramp up when the patient goes to sleep at night, and turn it off when the patient wakes in the morning. A snooze switch 44 may be used to temporarily put the INS 50 in standby mode during which electrical stimulus is paused for a preprogrammed period of time to allow the patient to temporarily wake, after which the INS 50 turns back on and ramps up to the desired stimulus level. A display 46 may be provided to indicate the status of the INS 50 (e.g., on, off or standby), to indicate satisfactory wireless telemetry link to the INS 50, to indicate remaining battery life of the INS 50, to indicate normal operation of the INS 50, and/or to indicate the need for patient action etc. Display 46 may be configured to be a dash-board-like display, and may be any suitable display available to those of ordinary skill in the art, such as, for example, an LED or LCD display. Furthermore, information may be communicated to the patient controller 40 for display purposes by any suitable means known to those of ordinary skill in the art. For example, communication of information may be achieved through inductively coupled or radio frequency telemetry. The patient controller 40 may also have programmability to adjust stimulus parameters (e.g., amplitude) within a pre-set range determined by the physician in order to improve efficacy and/or to reduce sensory perception, for example. Optionally, the patient controller 40 may be configured to function as the programming wand 34 of the physician programmer 30.
Furthermore, the patient controller 40 may be provided with one or more mechanisms for improving patient compliance. For example, patient controller 40 may be provided with a time-keeping mechanism having the capabilities of a conventional alarm clock. In certain embodiments, controller 40 may be programmed by the user and/or the physician to alert the user when action, such as, for example, turning the system 10 on or off, is required by the user. Controller 40 may be configured to alert the user by any suitable means known in the art. For example, controller 40 may emit an audible alarm at programmed time intervals. In other embodiments, the patient controller 40 may be used to monitor a patient. For example, the patient controller 40 may be programmed to periodically send reports of patient actions, patient compliance, system status, etc., to a clinician or caregiver via a telephone or computer network.
With reference to FIG. 3, the implanted components 20 are shown schematically with more detail. The implanted components include INS 50, stimulation lead 60, and respiration sensing lead 70. The INS 50 includes header 52 and housing 54. The stimulation lead 60 includes lead body 62 and nerve cuff electrode 64. The respiration sensing lead 70 includes lead body 72 and respiration sensors 74 (e.g., impedance sensing electrodes).
With reference to FIG. 4, the INS 50 is shown schematically in more detail. The INS 50 includes header 52 that may be formed using conventional molding or casting techniques and may comprise conventional materials such as epoxy or polyurethane (e.g., Tecothane brand polyurethane). The housing 54 may be formed using conventional stamping or forming techniques and may comprise conventional materials such as titanium or ceramic. The housing 54 may include one or more isolated electrodes, and/or if a conductive material is used for the housing 54, the housing 54 may comprise an electrode, which may be used for respiratory sensing, for example. The housing 54 may be hermetically sealed to the header 52 using conventional techniques. The header 52 may include two or more receptacles for receiving the proximal connectors 66/76 of the stimulation lead body 62 and respiration sensing lead body 72. The connectors 66/76 may comprise a conventional design such as IS1 or other in-line designs. The header 52 may also include set screw seals and blocks 56 for receiving set screws (not shown) that establish electrical contact between the INS 50 and the conductors of the leads 60/70 via connectors 66/76, and that establish mechanical fixation thereto. Some electrical contact may be achieved through spring type or cam-locked mechanisms. As shown, two set screw arrangements 56 are shown for the stimulation lead 60 and four set screw arrangements 56 are shown for the respiration sensing lead 70, but the number may be adjusted for the number of conductors in each lead. A hole 58 may be provided in the header 52 for securing the INS 50 to subcutaneous tissue using a suture at the time of implantation.
The INS 50 may comprise a conventional implanted neurostimulator design used in neurostimulation applications, such as those available from Texcel (US), CCC (Uruguay) and NeuroTECH (Belgium), but modified for the present clinical application in terms of stimulation signal parameters, respiratory signal processing, trigger algorithm, patient control, physician programming, etc. The INS may contain a microprocessor and memory for storing and processing data and algorithms. Algorithms may be in the form of software and/or firmware, for example. One of several different embodiments of the neurostimulator may be implemented. For example, the neurostimulator may be an internal/implanted neurostimulator (INS) powered by a long-life primary battery or rechargeable battery, or an external neurostimulator (ENS) wirelessly linked (e.g., inductive) to an implanted receiver unit connected to the leads. The INS (or the receiver unit of the ENS) may be implanted and optionally anchored in a number of different locations including a subcutaneous pocket in the pectoral region, the dorsal neck region, or cranial region behind the ear, for example.
The INS 50 may include any suitable circuitry and programming in accordance with the principles of the present disclosure. In one embodiment, INS 50 may include an activity sensor (not shown) for sensing the activity of a patient, including the amount of activity of the patient. The activity sensor may detect motion of a patient by any suitable means available to those of ordinary skill in the art. For example, a patient's motion may be detected by, for example, using an internal accelerometer and/or measuring the impedance of the patient's torso with, for example, the built-in respiration sensor discussed below, and/or measuring a tissue pressure on the surface of the implanted INS 50.
The data corresponding to a patient's detected motion may be stored, evaluated, and utilized in any of a number of various ways. In one embodiment, data corresponding to a patient's motion may be used to determine whether a patient is sleeping or awake. For example, when a patient's activity level falls below a predetermined threshold, it may be assumed that the patient is sleeping. Conversely, when the patient's activity level rises above the pre-determined threshold, it may be assumed that the patient is awake. The activity sensor therefore may be used to facilitate selectively applying treatment when the patient is detected to be sleeping and/or inhibiting treatment when the patient is detected to be awake. Alternatively, data corresponding to a patient's motion may be evaluated over a long period of time, such as, for example, the first few months of treatment, for indications of improvement in a patient's quality of life. It is contemplated that increases in a patient's average level of daily activity will correspond to successful treatment of OSA. This, in turn, may correspond to improvements in the patient's quality of life.
Moreover, the INS 50 may include a long-life battery (not shown) which requires periodic replacement after years of service. Alternatively, the INS may include a rechargeable power source such as a rechargeable battery or super capacitor that is used instead of the long-life battery. To facilitate recharging, the INS may include a receiver coil inductively linked to a transmitter coil that is connected to a recharging unit powered by a larger battery or line power. Because the patient is stationary while sleeping, recharging may be scheduled to occur sometime during sleep to eliminate the need to carry the recharging unit during daily activities. The transmitter coil and the receiver coil may be arranged coaxially in parallel planes to maximize energy transfer efficiency, and may be held in proximity to each other by a patch, garment, or other means as described with reference to the external neurostimulator embodiments. Other examples of neurostimulator designs will be described in more detail hereinafter.
With reference to FIG. 5, the stimulation lead 60 may comprise a variety of different design embodiments and may be positioned at different anatomical sites. For example, a nerve cuff electrode(s) 64 may be attached to a nerve(s) innervating musculature affecting patency of the upper airway. As an alternative or in addition, the nerve cuff electrode 64 may be replaced with an intramuscular electrode and placed directly in the musculature affecting patency of the upper airway. The nerve electrode 64 may be attached to a specific branch of a nerve innervating the desired muscle(s), or may be attached to a proximal trunk of the nerve in which a specific fascicle innervating the desired muscle(s) is targeted by steering the stimulus with multiple electrodes. One or more electrodes may be used for attachment to one or more portions of nerves on one side (unilateral) of the body, or one or more electrodes may be used for attachment to one or more portions of nerves on both sides (bilateral) of the body. Variations in lead body 62 and electrode 64 design as well as variations in the target stimulation site or sites will be described in more detail hereinafter.
With continued reference to FIG. 5, the lead body 62 may be sigmoid shaped, for example, to reduce strain applied to the cuff electrode 64 when the lead body 62 is subject to movement. The sigmoid shape, which may alternatively comprise a variety of other waveform shapes, may have a wavelength of approximately 1.0 to 1.5 cm, and an amplitude of approximately 0.75 to 1.5 cm, for example. The lead body 62 may comprise a tubular jacket with electrical conductors 68 extending therein. The tubular jacket may comprise extruded silicone having an outside diameter of approximately 0.047 inches and an inside diameter of approximately 0.023 inches, for example. The tubular jacket may optionally have a covering of co-extruded polyurethane, for example, to improve durability. The conductors 68, shown in a transparent window in the jacket for purposes of illustration only, may comprise a bifilar coil of insulated (e.g., ETFE) braided stranded wire (BSW) of MP35NLT material. The number of conductors 68 is shown as two, but may be adjusted depending on the desired number of independent electrodes used.
The various embodiments of stimulation leads, for example, stimulation lead 60, disclosed herein may be fabricated by any suitable means known to those having ordinary skill in the art, and may be made from any suitable material. For example, the discussed sigmoid shape of the tubular jacket of lead body 62 may be formed by first extruding silicone in a semi-cured or semi cross-linked state. Next, the semi cross-linked extruded tubular jacket may be placed in a sigmoid mold and then allowed to become fully cross-linked. In particular, the semi cross-linked extruded tubular jacket may be placed in an oven and heated to convert the semi cross-linked silicone of the extruded tubular jacket to fully cross-linked silicone. Additionally, a lumen within the tubular jacket may be created along a longitudinal axis of the tubular jacket by any suitable means.
Furthermore, in accordance with the principles of the present disclosure, it is contemplated that one or more of the various embodiments of stimulation leads disclosed herein may be implanted in or near highly mobile portions of the body. For example, embodiments of the disclosed stimulation leads may be implanted in the ventral neck, for example, along a path between the clavicle and mandible of a patient. Additionally, although mastication, deglutition, and speech may result in mechanical loading on an implanted stimulation lead, it has been found that gross movement of the head and neck may create high mechanical stresses in the conductors of the lead body, lead jacket, and the junction between the conductor wires and the anchor points, such as, for example, the electrodes. Accordingly, it may be desirable to configure the various embodiments of stimulation leads to withstand certain predetermined amounts of fatigue and/or stresses, which may result from mechanical loading on a lead body due to gross movements of a patient's neck and head.
In particular, research has revealed that approximately 98% of the population may experience a 38.5% elongation or less in the distance between the clavicle and angle of the mandible (e.g., adjacent a contemplated area of implantation for a stimulation lead in accordance with the principles of this disclosure). It has also been found that the angular range of motion of the cervical spine between adjacent vertebrae may be approximately 12 degrees, thereby flexing the lead through this angle with a bend radius assumed to be approximately 1.0 centimeter. See Augustus A. White III et al., Clinical Biomechanics of the Spine, pp. 84, 356, and 373 (1978). Furthermore, the frequency of gross head movement through the range of motion in the contemplated area of implantation has been estimated to be approximately 300,000 cycles per year, or on the average approximately 50 times per waking hour.
Thus, it may be desirable to design a lead body that is capable of withstanding, among other things, the stresses imparted by, the above-noted head and neck movements for an extended amount of time, such as, for example, ten years. In particular, in order to design a lead body that may remain functional for the exemplary ten year implanted life, it may be desirable to configure the lead bodies disclosed herein to withstand at least the above noted elongation and ranges of motion. For example, since implanted lead bodies are likely to be elongated by at least 38.5%, it may be desirable to design lead bodies to withstand being elongated by a predetermined distance Y, such as, for example, approximately 40% (+/−2%) from an initial unstressed state, for a minimum of 3.0 million cycles without failure, as depicted in FIG. 5A. In addition, since it is likely that an implanted lead body may experience an angular range of motion of at least 12 degrees, with a bend radius of approximately 1.0 centimeter, it may be desirable to configure the lead bodies to withstand being flexed around a predetermined radius X, such as, for example, 1.0 centimeter (+/−0.05 centimeters), for a predetermined amount of rotation W, such as, for example, from approximately 0 degrees to approximately 15 degrees (+/−3 degrees), such that the 15 degree maximum deflection occurs coincidentally with the maximum elongation of the lead body.
With reference to FIG. 6, the nerve cuff electrode 64 may comprise a cuff body 80 having a lateral (or superficial) side 82 and a medial (or contralateral, or deep) side 84. The medial side 84 is narrower or shorter in length than the lateral side 82 to facilitate insertion of the medial side 84 around a nerve such that the medial side is on the deep side of the nerve and the lateral side is on the superficial side of the nerve. This configuration reduces the dissection of nerve branches and vascular supply required to get the cuff around a nerve. For the nerve cuff implant sites discussed herein, the medial side 84 may have a length of less than 6 mm, and preferably in the range of approximately 3 to 5 mm, for example. The lateral side 82 may have a length of more than 6 mm, and preferably in the range of approximately 7 to 8 mm, for example. The cuff body 80 may be compliant and may be available in different sizes with an inside diameter of approximately 2.5 to 3.0 mm or 3.0 to 3.5 mm, for example. The cuff size may also be adjusted depending on the nominal diameter of the nerve at the site of implantation. The cuff body 80 may have a wall thickness of approximately 1.0 mm and may be formed of molded silicone, for example, and may be reinforced with imbedded fibers or fabrics. An integral tow strap 86 may be used to facilitate wrapping the cuff around a nerve by first inserting the strap 86 under and around the deep side of the nerve and subsequently pulling the strap to bring the medial side 84 in position on the deep side of the nerve and the lateral side 82 on the superficial side of the nerve.
With continued reference to FIG. 6, the nerve cuff electrode 64 includes electrode contacts 90A, 90B, and 90C imbedded in the body 80 of the cuff, with their inside surface facing exposed to establish electrical contact with a nerve disposed therein. A transverse guarded tri-polar electrode arrangement is shown by way of example, not limitation, wherein electrode contacts 90A and 90B comprise anodes transversely guarding electrode contact 90C which comprises a cathode.
With this arrangement, the anode electrodes 90A and 90B are connected to a common conductor 68A imbedded in the body 80, and the cathode electrode 90C is connected to an independent conductor 68B extending from the lateral side 82 to the medial side 84 and imbedded in the body 80. By using the conductors 68 to make connections within the body 80 of the cuff 64, fatigue stresses are imposed on the conductors rather than the electrode contacts 90A, 90B and 90C.
With additional reference to FIGS. 7 and 8, the electrode contacts 90A, 90B and 90C may thus be semi-circular shaped having an arc length of less than 180 degrees, and preferably an arc length of approximately 120 degrees, for example. Each electrode 90 may have two reverse bends (e.g., hooked or curled) portions 92 to provide mechanical fixation to the body 80 when imbedded therein. Each electrode 90 may also have two crimp tabs 94 defining grooves thereunder for crimping to the conductors 68 or for providing a passthrough. As shown in FIG. 7, conductor 68A passes through the grooves under the lower crimp tabs 94 of electrodes 90B and 90A, loops 98 around through the grooves under the upper crimp tabs 94 of electrodes 90A and 90B, is crimped 96 by the upper tabs 94 of electrodes 90A and 90B to provide mechanical and electrical connection, is looped again back between the crimp tabs 94 on the outside of the electrode contact 90, and is resistance spot welded 95 to provide redundancy in mechanical and electrical connection. Also as shown in FIG. 7, conductor 68B passes through the groove under the lower crimp tab 94 of electrode 90C, loops around through the groove under the upper crimp tab 94 of electrode 90C, and is crimped by the upper tab 94 of electrode 90C to provide mechanical and electrical connection. This arrangement avoids off-axis tensile loading at the crimp sites 96 which may otherwise fail due to stress concentration, and the looped portion 98 provides additional strain relief.
FIG. 8 provides example dimensions (inches) of an electrode contact 90 for a 2.5 mm inside diameter cuff, wherein the electrode is formed of 90/10 or 80/20 platinum iridium alloy formed by wire EDM, for example. As illustrated, and as exemplary and approximate dimensions, electrode contact 90 may include a surface A having a full radius, a dimension B of 0.079 inches from tangent to tangent, a dimension C of 0.020 inches (3×), a radius of curvature D of 0.049R with a 16 micro-inch RMS, a dimension E of 0.008 inches (2×), a dimension F of 0.0065 inches (+/−0.001 inches) (2×), a dimension G of 0.006 inches (+0.002 inches, −0.001 inches) (2×), a dimension H of 0.014 inches (2×), a dimension I of 0.010 inches (2×), a dimension J of 0.010 inches (2×), and a dimension K of 0.006 inches (+/−0.001 inches).
With reference to FIGS. 9A and 9B, a distal portion of the respiration sensing lead 70 and a distal detail of the sensing lead 70, respectively, are shown schematically. In the illustrated embodiment, the respiration sensing lead 70 and associated sensors 74 are implanted as shown in FIG. 2. However, the respiration sensor(s) may comprise a variety of different design embodiments, both implanted and external, and may be positioned at different anatomical sites. Generally, the respiratory sensor(s) may be internal/implanted or external, and may be connected to the neurostimulator via a wired or wireless link. The respiratory sensor(s) may detect respiration directly or a surrogate thereof. The respiratory sensor(s) may measure, for example, respiratory airflow, respiratory effort (e.g., diaphragmatic or thoracic movement), intra-pleural pressure, lung impedance, respiratory drive, upper airway EMG, changes in tissue impedance in and around the lung(s) including the lungs, diaphragm and/or liver, acoustic airflow or any of a number other parameters indicative of respiration. Detailed examples of suitable respiration sensing leads and sensors will be described in more detail hereinafter.
With continued reference to FIGS. 9A and 9B, the respiration sensing lead 70 includes a lead body 72 and a plurality of respiration sensors 74A-74D comprising ring electrodes for sensing bio-impedance. The lead body 72 of the respiration sensing lead 70 may include a jacket cover comprising an extruded silicone tube optionally including a polyurethane cover (80A durometer), or may comprise an extruded polyurethane tube (55D durometer). The ring electrodes 74A-74D may comprise 90/10 or 80/20 platinum iridium alloy tubes having an outside diameter of 0.050 inches and a length of 5 mm, and secured to the jacket cover by laser welding and/or adhesive bonding, for example. The lead body 72 may include a plurality of conductors 78 as seen in the transparent window in the jacket cover, which is shown for purposes of illustration only. The conductors 78 may comprise insulated and coiled BSW or solid wire (optionally DFT silver core wire) disposed in the tubular jacket, with one conductor provided for each ring electrode 74A-74D requiring independent control. Generally, the impedance electrodes 74A-74D may comprise current emitting electrodes and voltage sensing electrodes for detecting respiration by changes in bio-impedance. The number, spacing, anatomical location and function of the impedance electrodes will be described in more detail hereinafter.
System 10 may also include a plurality of diagnostic mechanisms (e.g., circuitry and/or programming) for monitoring and/or determining the functionality of certain components, such as, for example, stimulation lead 60. In particular, system 10 may include one or more switching circuits (not shown) that facilitate connection of the respiratory/trans-thoracic impedance sensing circuits of the present disclosure (discussed in greater detail below) to stimulation lead 60 for measuring the impedance of lead 60. In some embodiments, the impedance sensing circuit may be connected to each electrode pair. In other embodiments, the impedance sensing circuit may be connected between the case of the implanted INS 50 and each conductor 68 within the lead 60. While those having ordinary skill in the art will readily recognize that any suitable impedance sensing method may be utilized to monitor and/or determine the functionality of lead 60, the respiratory/trans-thoracic impedance sensing circuit of the present disclosure may be preferred, since this circuit may be capable of identifying small changes in impedance rather than the large changes detectable by standard methods.
As alluded to above, sensing the impedance of lead 60 may provide for monitoring and/or determining the functionality of lead 60. Specifically, sensing the impedance of lead 60 may facilitate diagnosing and distinguishing between differing types of failures of lead 60. In particular, research has revealed that changes in the impedance of lead 60 may be indicative of certain types of failures, including, but not limited to, corrosion, high contact resistance, breakage, and/or shorting. For example, a broken wire inside the lead could be identified by an excessively high lead impedance value. Corrosion of an electrode with its resultant decrease in effective electrode surface area could be identified by a smaller increase in impedance of that electrode. Similarly, an abnormally low value could correspond with a short between conductors in the lead, or an abrasion of the lead body that exposed a conductor to the tissue. Measuring from the case of the INS to each electrode allows independent identification of the integrity of each wire/electrode in the lead. In addition, sensing the impedance of lead 60 may facilitate periodic, automated adjustment of stimulation pulse amplitude so as to maintain constant current, energy, and/or charge delivery using a simpler voltage mode delivery circuit. Such automated adjustment may facilitate ensuring safety and effectiveness by consistently delivering the prescribed current, energy, or charge in the presence of tissue/electrode impedance variations. By consistently controlling the delivery of only the minimally required energy necessary for stimulation of the nerve, the stimulation amplitude may be programmed closer to the actual stimulation threshold rather than programming a wide margin to ensure continued effectiveness. This enhances safety and reduces power consumption. Moreover, sensing the impedance of lead 60 may allow monitoring of certain system dynamics, such as, for example, doses actually delivered to a patient.
Description of Implant Procedure
With reference to FIG. 10, surgical access sites are schematically shown for implanting the internal neurostimulator components 20 shown in FIG. 1. The internal neurostimulator components 20 may be surgically implanted in a patient on the right or left side. The right side may be preferred because it leaves the left side available for implantation of a pacemaker, defibrillator, etc., which are traditionally implanted on the left side. The right side may also be preferred because it lends itself to a clean respiratory signal less susceptible to cardiac artifact and also offers placement of respiratory sensors across the interface between the lung, diaphragm and liver for better detection of impedance changes during respiration.
With continued reference to FIG. 10, the INS (not shown) may be implanted in a subcutaneous pocket 102 in the pectoral region, for example. The stimulation lead (not shown) may be implanted in a subcutaneous tunnel 104 along (e.g., over or under) the platysma muscle in the neck region. The respiration sensing lead (not shown) may be implanted in a subcutaneous tunnel 106 extending adjacent the ribcage to an area adjacent lung tissue and/or intercostal muscles outside the pleural space. The nerve cuff electrode (not shown) may be attached to a nerve by surgical dissection at a surgical access site 110 proximate the targeted stimulation site. In the illustrated example, the target nerve is the right hypoglossal nerve and the surgical access site is in the submandibular region.
With reference to FIGS. 11A and 11B, a surgical dissection 110 to the hypoglossal nerve is shown schematically. A unilateral dissection is shown, but a bilateral approach for bilateral stimulation may also be employed. Conventional surgical dissection techniques may be employed. The branch of the hypoglossal nerve (usually a medial or distal branch) leading to the genioglossus muscle may be identified by stimulating the hypoglossal nerve at different locations and observing the tongue for protrusion. Because elongation and/or flexion may be mistaken for protrusion, it may be desirable to observe the upper airway using a flexible fiber optic scope (e.g., nasopharyngoscope) inserted into the patient's nose, through the nasal passages, past the nasopharynx and velopharynx to view of the oropharynx and hypopharynx and visually confirm an increase in airway caliber by anterior displacement (protrusion) of the tongue base when the nerve branch is stimulated.
The implant procedure may be performed with the patient under general anesthesia in a hospital setting on an out-patient basis. Alternatively, local anesthesia (at the surgical access sites and along the subcutaneous tunnels) may be used together with a sedative in a surgical center or physician office setting. As a further alternative, a facial nerve block may be employed. After a post-surgical healing period of about several weeks, the patient may return for a polysomnographic (PSG) test or sleep study at a sleep center for programming the system and titrating the therapy. A trialing period may be employed prior to full implantation wherein the hypoglossal nerve or the genioglossus muscle is stimulated with fine wire electrodes in a sleep study and the efficacy of delivering stimulus to the hypoglossal nerve or directly to the genioglossus muscle is observed and measured by reduction in apnea hypopnea index, for example.
Other nerve target sites are described elsewhere herein and may be accessed by similar surgical access techniques. As an alternative to surgical dissection, less invasive approaches such as percutaneous or laparoscopic access techniques may be utilized, making use of associated tools such as tubular sheaths, trocars, etc.
Description of Alternative Stimulation Target Sites
With reference to FIG. 12, various possible nerve and/or direct muscle stimulation sites are shown for stimulating muscles controlling patency of the upper airway. In addition to the upper airway which generally includes the pharyngeal space, other nerves and dilator muscles of the nasal passage and nasopharyngeal space may be selectively targeted for stimulation. A general description of the muscles and nerves suitable for stimulation follows, of which the pharyngeal nerves and muscles are shown in detail in FIG. 12.
Airway dilator muscles and associated nerves suitable for activation include are described in the following text and associated drawings. The dilator naris muscle functions to widen the anterior nasal aperture (i.e., flares nostrils) and is innervated by the buccal branch of the facial nerve (cranial nerve VII). The tensor veli palatine muscle functions to stiffen the soft palate and is innervated by the medial (or internal) pterygoid branch of the mandibular nerve MN. The genioglossus muscle is an extrinsic pharyngeal muscle connecting the base of the tongue to the chin and functions to protrude the tongue. The genioglossus muscle is typically innervated by a distal or medial branch (or branches) of the right and left hypoglossal nerve. The geniohyoid muscle connects the hyoid bone to the chin and the sternohyoid muscle attaches the hyoid bone to the sternum. The geniohyoid muscle functions to pull the hyoid bone anterosuperiorly, the sternohyoid muscle functions to pull hyoid bone inferiorly, and collectively (i.e., co-activation) they function to pull the hyoid bone anteriorly. The geniohyoid muscle is innervated by the hypoglossal nerve, and the sternohyoid muscle is innervated by the ansa cervicalis nerve.
By way of example, a nerve electrode may be attached to a specific branch of the hypoglossal nerve innervating the genioglossus muscle (tongue protruder), or may be attached to a more proximal portion (e.g., trunk) of the hypoglossal nerve in which a specific fascicle innervating the genioglossus muscle is targeted by steering the stimulus using an electrode array. Activating the genioglossus muscle causes the tongue to protrude thus increasing the size of anterior aspect of the upper airway or otherwise resisting collapse during inspiration.
As an alternative to activation of any or a combination of the airway dilator muscles, co-activation of airway dilator and airway restrictor or retruder muscles may be used to stiffen the airway and maintain patency. By way of example, a nerve electrode may be attached to specific branches of the hypoglossal nerve innervating the genioglossus muscle (tongue protruder), in addition to the hyoglossus and styloglossus muscles (tongue retruders), or may be attached to a more proximal portion (e.g., trunk) of the hypoglossal nerve in which specific fascicles innervating the genioglossus, hyoglossus and styloglossus muscles are targeted by steering the stimulus using an electrode array. Activating the hyoglossus and styloglossus muscles causes the tongue to retract, and when co-activated with the genioglossus, causes the tongue to stiffen thus supporting the anterior aspect of the upper airway and resisting collapse during inspiration. Because the tongue retruder muscles may overbear the tongue protruder muscle under equal co-activation, unbalanced co-activation may be desired. Thus, a greater stimulus (e.g., longer stimulation period, larger stimulation amplitude, higher stimulation frequency, etc.) or an earlier initiated stimulus may be delivered to the portion(s) of the hypoglossal nerve innervating the genioglossus muscle than to the portion(s) of the hypoglossal nerve innervating the hyoglossus and styloglossus muscles.
With continued reference to FIG. 12, examples of suitable nerve stimulation sites include B; A+C; A+C+D; B+D; C+D; and E. Sites B and E may benefit from selective activation by field steering using an electrode array. As mentioned before, nerve electrodes may be placed at these target nerve(s) and/or intramuscular electrodes may be placed directly in the muscle(s) innervated by the target nerve(s).
Site A is a distal or medial branch of the hypoglossal nerve proximal of a branch innervating the genioglossus muscle and distal of a branch innervating the geniohyoid muscle. Site B is a more proximal portion of the hypoglossal nerve proximal of the branches innervating the genioglossus muscle and the geniohyoid muscle, and distal of the branches innervating the hyoglossus muscle and the styloglossus muscle. Site C is a medial branch of the hypoglossal nerve proximal of a branch innervating the geniohyoid muscle and distal of branches innervating the hyoglossus muscle and the styloglossus muscle. Site D is a branch of the ansa cervicalis nerve distal of the nerve root and innervating the sternohyoid. Site E is a very proximal portion (trunk) of the hypoglossal nerve proximal of the branches innervating the genioglossus, hyoglossus and styloglossus muscles.
Activating site B involves implanting an electrode on a hypoglossal nerve proximal of the branches innervating the genioglossus muscle and the geniohyoid muscle, and distal of the branches innervating the hyoglossus muscle and the styloglossus muscle.
Co-activating sites A+C involves implanting a first electrode on a hypoglossal nerve proximal of a branch innervating the genioglossus muscle and distal of a branch innervating the geniohyoid muscle, and implanting a second electrode on the hypoglossal nerve proximal of a branch innervating the geniohyoid muscle and distal of branches innervating the hyoglossus muscle and the styloglossus muscle.
Co-activating sites A+C+D involves implanting a first electrode on a hypoglossal nerve proximal of a branch innervating the genioglossus muscle and distal of a branch innervating the geniohyoid muscle; implanting a second electrode on the hypoglossal nerve proximal of a branch innervating the geniohyoid muscle and distal of branches innervating the hyoglossus muscle and the styloglossus muscle; and implanting a third electrode on a branch of an ansa cervicalis nerve distal of the nerve root and innervating the stemohyoid.
Co-activating sites B+D involves implanting a first electrode on a hypoglossal nerve proximal of branches innervating the genioglossus muscle and the geniohyoid muscle, and distal of branches innervating the hyoglossus muscle and the styloglossus muscle; and implanting a second electrode on a branch of an ansa cervicalis nerve distal of the nerve root and innervating the sternohyoid.
Co-activating sites C+D involves implanting a first electrode on a hypoglossal nerve proximal of a branch innervating the geniohyoid muscle, and distal of branches innervating the hyoglossus muscle and the styloglossus muscle and implanting a second electrode on a branch of an ansa cervicalis nerve distal of the nerve root and innervating the sternohyoid.
Activating site E involves implanting an electrode on a hypoglossal nerve proximal of the branches innervating the genioglossus, hyoglossus and styloglossus muscles; and selectively activating (e.g., by field steering) the genioglossus muscle before or more than the hyoglossus and styloglossus muscles.
With reference now to FIGS. 12A-12D, additional possible nerve stimulation sites are shown for effecting muscles controlling patency of the upper airway. For example, the cranial root of the accessory nerve AN (cranial nerve XI) innervates the levator veli palatini muscle of the soft palate, which elevates the soft palate. The cranial root of the accessory nerve AN also innervates the palatoglossal muscle, which functions to pull the soft palate inferiorly when the genioglossus is co-activated via the hypoglossal nerve (HGN). Moreover, because the cranial root of the accessory nerve AN also innervates various other muscles including, but not limited to, the palatopharyngeus, specific fibers in the accessory nerve AN may be selectively stimulated with one or more of the fiber selective stimulation means described in greater detail below, in order to only activate desired fibers of the nerve. The glossopharyngeal nerve GN (cranial nerve IX) innervates the stylopharyngeus, which functions to dilate the lateral walls of the pharynx. However, since the glossopharyngeal nerve GN is a multi-function nerve with both afferent and efferent fibers, one or more of the fiber selective stimulation means described in greater detail below may be used to facilitate targeting the fibers that innervate only the stylopharyngeus. The cranial root of the accessory nerve AN and the glossopharyngeal nerve GN may be singularly activated, or these nerves may be co-activated with other nerve sites, such as, for example, the hypoglossal nerve, for increased efficacy.
Another possible nerve stimulation site may include the superior laryngeal nerve SLN. The superior laryngeal nerve SLN descends posterior and medial from the internal carotid artery and divides into the internal laryngeal nerve ILN and external laryngeal nerve ELN. While the external laryngeal nerve ELN descends behind the sternohyoid with the superior thyroid artery, the internal laryngeal nerve ILN descends near the superior laryngeal artery. The internal laryngeal nerve ILN contains sensory (afferent) fibers that are connected to receptors in the larynx. Some of these receptors include, but are not limited to, mechanoreceptors which detect pressure changes in a patient's upper airway associated with its collapse and institute a physiological response to re-open the patient's upper airway. Therefore, stimulation of specific afferent fibers inside the ILN nerve may result in triggering a reflex response that causes upper airway dilation by activating several muscles groups.
As discussed below, the superior laryngeal nerve SLN, in addition to being a sensory nerve, is also a motor nerve. Therefore, it is contemplated that one or more of the fiber selective stimulation means described in greater detail below may be utilized to facilitate only stimulating the sensory or afferent fibers of the nerve.
Description of Alternative Nerve Electrodes
Any of the alternative nerve electrode designs described hereinafter may be employed in the systems described herein, with modifications to position, orientation, arrangement, integration, etc. made as dictated by the particular embodiment employed. Examples of other nerve electrode designs are described in U.S. Pat. No. 5,531,778, to Maschino et al., U.S. Pat. No. 4,979,511 to Terry, Jr., and U.S. Pat. No. 4,573,481 to Bullara, the entire disclosures of which are incorporated herein by reference.
With reference to the following figures, various alternative electrode designs for use in the systems described above are schematically illustrated. In each of the embodiments, by way of example, not limitation, the lead body and electrode cuff may comprise the same or similar materials formed in the same or similar manner as described previously. For example, the lead body may comprise a polymeric jacket formed of silicone, polyurethane, or a co-extrusion thereof. The jacket may contain insulated wire conductors made from BSW or solid wire comprising MP35N, MP35N with Ag core, stainless steel or Tantalum, among others. The lead body may be sigmoid shaped to accommodate neck and mandibular movement. Also, a guarded cathode tri-polar electrode arrangement (e.g., anode-cathode-anode) may be used, with the electrodes made of 90/10 or 80/20 PtIr alloy with silicone or polyurethane backing.
With specific reference to FIGS. 13A and 13B, a self-sizing and expandable design is shown to accommodate nerve swelling and/or over-tightening. FIG. 13A shows a perspective view of a nerve electrode cuff 130 on a nerve such as a hypoglossal nerve, and FIG. 13B shows a cross-sectional view of the nerve cuff electrode 130 on the nerve. In this embodiment, the implantable nerve cuff electrode 130 comprises a compliant sheet wrap 132 configured to be wrapped about a nerve and secured thereto by connecting opposite portions of the sheet by sutures 138, for example. The sheet 132 includes a plurality of radially and longitudinally distributed fenestrations 134 to allow expansion of the sheet 132 to accommodate nerve swelling and/or over tightening. Electrode contacts 136 comprising a coil, foil strip, conductive elastomer or individual solid conductors may be carried by the sheet 132 with an exposed inside surface to establish electrical contact with the nerve.
With specific reference to FIGS. 14A-14C, another self-sizing and expandable design is shown to accommodate nerve swelling and/or over-tightening. FIG. 14A shows a perspective view of a nerve electrode cuff 140 on a nerve such as a hypoglossal nerve, and FIG. 14B shows a cross-sectional view of the nerve cuff electrode 140 on the nerve. In this embodiment, the implantable nerve cuff electrode 140 comprises a compliant sheet wrap 142 configured to be wrapped about a nerve and secured thereto by connecting opposite portions of the sheet by sutures 148A, or by a buckle 148B as shown in FIG. 14C, for example. The opposite portions of the sheet 142 comprise one or more narrow strips 144 integral with the sheet 142 to allow expansion and to accommodate nerve swelling and/or over tightening. Electrode contacts 146 comprising a coil, foil strip, conductive elastomer or individual solid conductors may be carried by the sheet 142 with an exposed inside surface to establish electrical contact with the nerve.
With specific reference to FIGS. 15A-15C, another self-sizing and expandable design is shown to accommodate nerve swelling and/or over-tightening. FIG. 15A shows a perspective view of a nerve electrode cuff 150 on a nerve such as a hypoglossal nerve, and FIG. 15B shows a cross-sectional view of the nerve cuff electrode 150 on the nerve. In this embodiment, the implantable nerve cuff electrode 150 comprises a compliant sheet wrap 152 configured to be wrapped about a nerve and secured thereto by connecting opposite portions of the sheet 152 by sutures 158, for example. The opposite portions of the sheet 152 are offset from the nerve and a thickened portion of the sheet 152 fills the offset space. The offset distance reduces the amount of compressive force that the electrode cuff can exert on the nerve. To further reduce the pressure on the nerve, the sheet 152 includes a plurality of radially distributed slits 154 extending partly through the thickness of the sheet 152 to allow expansion and to accommodate nerve swelling and/or over tightening.
With specific reference to FIGS. 16A and 16B, another self-sizing and expandable design is shown to accommodate nerve swelling and/or over-tightening. FIG. 16A shows a perspective view of a nerve electrode cuff 160 on a nerve such as a hypoglossal nerve, and FIG. 16B shows a cross-sectional view of the nerve cuff electrode 160 on the nerve. In this embodiment, the implantable nerve cuff electrode 160 comprises a compliant sheet wrap 162 configured to be wrapped about a nerve and secured thereto by connecting opposite portions of the sheet 162 by sutures 168, for example. The sheet 162 includes a plurality of radially distributed and longitudinally extending convolutions 164 that may comprise alternative thick 164A and thin 164B portions in the sheet 162 and/or overlapping portions 164C of the sheet 162 to allow expansion and to accommodate nerve swelling and/or over tightening. Electrode contacts 166 comprising a coil, foil strip, conductive elastomer or individual solid conductors may be carried by the sheet 162 with an exposed inside surface to establish electrical contact with the nerve. Nerve cuff electrode 160 may accommodate one or two lead bodies 62A, 62B for connection to the electrode contacts 166 on the same or opposite sides of the nerve.
Turning now to FIGS. 16C-16D, additional self-sizing and expandable designs are shown to accommodate nerve swelling and/or over-tightening. With specific reference to FIG. 16C, there is depicted a nerve cuff electrode 1600 having a cuff body with a relatively wide semi-cylindrical lateral side 1601 and a plurality of opposing arms 1602 extending thereform for placement on the deep (contralateral) side of the nerve. Although the embodiment depicted in FIG. 16C includes two such opposing arms 1602, nerve cuff electrode 1600 may include any suitable number of opposing arms 1602. Lateral side 1601 may include an array of electrode contacts 1603. For example, in the depicted embodiment, lateral side may include three electrode contacts 1603. The three electrode contacts 1603 may include one cathode electrode contact 1603 disposed between two anode electrode contacts 1603, as shown.
Arms 1602 may be secured around a nerve (not shown) by any suitable means. For example, it is contemplated that arms 1602 may be elastic in nature, so as to gently grasp the nerve on its deep (contralateral) side. Alternatively, arms 1602 may be actively secured about a nerve by, for example, suturing an end portion of arms 1602 to, e.g., a portion of lateral side 1601. In embodiments where arms 1602 may be actively secured about a nerve, arms 1602 may be provided with a safety mechanism (not shown) that permits nerve cuff electrode 1600 to become disengaged from a nerve it is secured about upon the application of a predetermined amount of force. This predetermined force will be established at a level that is below that which can cause damage to the nerve.
As shown in FIG. 16D, opposing arms 1602 may be configured to expand and/or deform as necessary, in order to accommodate nerve swelling caused by, for example, localized trauma inflicted upon the nerve during cuff implantation. For example, each of opposing arms 1602 may have an unattached terminal end 1602a. In order to facilitate expansion, opposing arms 1602 may be also made from any suitable material known to those having ordinary skill in the art. For example, arms 1602 may be made from an elastomer, such as, for example, silicone or polyurethane. Additionally, one or both of arms 1602 may be provided with one or more limiting mechanisms (not shown) to limit the amount of expansion arms 1602 may undergo as a result of, for example, nerve swelling. Such limiting mechanisms may include any suitable mechanism, including, but not limited to, flanges, barbs, and/or sutures.
With reference to FIG. 16E, there is depicted another design of a self-sizing and expandable nerve cuff electrode 1610. For the purposes of this disclosure, nerve cuff electrode 1610 may be substantially similar to nerve cuff electrode 1600 depicted in FIGS. 16C-16D. Nerve cuff electrode 1610, however, may differ from nerve cuff electrode 1600 in at least two significant ways. First, for example, lateral side 1611 of nerve cuff electrode 1610 may carry two anode electrode contacts 1613 and the medial side 1612 may carry one cathode electrode contact 1613 in an arrangement that may be referred to as transverse guarded tri-polar. Second, for example, nerve cuff electrode 1610 may include three arms 1614-1616 extending from lateral side 1611. In the depicted embodiment, arms 1614 and 1616 may be configured to extend substantially in the same direction from the same edge 1611a of lateral side 1611, while arm 1615 may be configured to extend in substantially the opposing direction from an opposing edge 1611b of lateral side 1611. In the depicted embodiment, arm 1615 may be disposed between arms 1614 and 1616, and may be configured to carry the cathode electrode contact 1613, as mentioned above. However, any suitable arrangement of arms 1614-1616 and/or electrode contacts 1613 may be utilized within the principles of this disclosure.
As shown in FIG. 16F, certain embodiments of nerve curve electrode 1600 and/or nerve cuff electrode 1610 may include one or more elongated arms 1617. Arms 1617 may include any suitable length, so as to allow arms 1617 to wrap around a body portion of the cuff electrode one or more times in a spiral-like fashion, when the cuff electrode is mounted about an un-swollen nerve. However, arms 1617 may allow the cuff electrode to remain mounted on the nerve as it accommodates large amounts of nerve swelling by unraveling and/or unwrapping as the nerve swells. For example, each of the arms 1617 may overlap lateral side 1601 or 1611 to accommodate larger amounts of nerve swelling without allowing the cuff to become detached from the nerve. The elongated arms 1617 may extend around the body of the cuff electrode to form a spiral when the nerve is in a substantially unswollen state, as shown.
With reference to FIG. 17, a modular nerve electrode cuff 170 is shown that includes a semi-cylindrical body portion 172 with an array of electrode contacts 176 with separate insulative strips 174 for placement on the deep (contralateral side) of the nerve, which typically has more nerve branches and connecting blood vessels. In this embodiment, independent placement of the electrode body 172 on the superficial (lateral) side of the nerve and placement of the insulative strips 174 on the deep (contralateral) side of the nerve minimizes dissection. The strips 174 may be connected to the electrode body 172 by sutures or buckles as described previously. This embodiment is also self-sizing to accommodate nerve swelling and/or over-tightening.
With reference to FIG. 18, a nerve cuff electrode 180 is shown that has a cuff body with a relatively wide semi-cylindrical lateral side 182 and a relatively narrow semi-cylindrical medial side 184 that may extend through a small fenestration around the deep (contralateral) side of a nerve to securely and gently grasp the nerve while minimizing dissection. In the illustrated example, the lateral side 182 carries two anode electrode contacts 186 and the medial side 184 carries one cathode electrode contact 186 in an arrangement that may be referred to as transverse guarded tri-polar. A tow strap 188 is provided for inserting the medial side 184 around the deep side of the nerve. The tow strap 188 may be integrally formed with the medial side 184 of the cuff body, and may include a reinforced tip 188A with a serrated or marked cut line 188B.
With reference to FIGS. 19A and 19B, a nerve cuff electrode 190 is shown that has a cuff body with a relatively wide semi-cylindrical lateral side 192 and a relatively narrow semi-cylindrical medial side 194 that may extend through a small fenestration around the deep (contralateral) side of a nerve to securely and gently grasp the nerve while minimizing dissection. In the illustrated example, the lateral side 192 carries one cathode electrode contact 196C and two guarding anode electrode contacts 196B and 196D, and the medial side 194 carries one anode electrode contact 196A in an arrangement that may be referred to as transverse and longitudinal guarded quad-polar. The provision of guarding electrode contacts 196B and 196C reduces extrinsic stimulation due to the lack of insulative material on the medial side 194. The embodiments of FIGS. 18, 19A and 19B illustrate two different electrode contact arrangements, but the number and arrangement may be modified to suit the particular application.
With reference to FIG. 20, a nerve cuff electrode array 200 is shown that utilizes a series of relatively narrow independent cuffs 200A, 200B and 200C with corresponding independent lead bodies 62. Providing a series of relatively narrow independent cuffs 200A, 200B and 200C minimizes the required dissection around the nerve for implantation thereof. Also, the series of independent cuffs 200A, 200B and 200C allows more selectivity in electrode placement to adjust for anatomical variation or multiple target stimulation sites, for example. Providing multiple independent lead bodies 62 allows for more options in routing and placement of the individual lead bodies 62 (e.g., alternate placement of lead body 62A) and also prevents tissue encapsulation around the lead bodies 62 from collectively affecting encapsulation of the nerve cuffs 200. Each of the cuffs 200A, 200B and 200C may include a cuff body 202 with one or more imbedded electrode contacts (not shown) and a tow strap 204 as described before. Also, each of the cuffs 200A, 200B and 200C may include suture 208 or a buckle 206 to lock onto the tow strap 204 for connecting opposite ends of the body 202 around the nerve.
With reference to FIGS. 21A and 21B, a nerve cuff electrode 210 is shown with multiple electrode contacts 216 radially spaced around the inside surface of a compliant split cuff body 212 to establish multiple electrical contact points around the circumference of the nerve. Each of the electrode contacts 216 may be connected to independent conductors in the lead body 62 via axially extending wires 217. This arrangement allows for field steering as discussed herein. The compliant split cuff body 212 together with axially extending wires 217 allows for self-sizing to accommodate nerve swelling and/or over-tightening. One or more pairs of tabs 214 extending from opposite end portions of the cuff body 212 may be connected by a suture (not shown) as described herein. As shown in FIG. 21B, the proximal and distal ends of the cuff body 212 may have tapered thickness extensions 218 to provide strain relief and reduce mechanical irritation of the nerve due to contact with the edge of the cuff.
With reference to FIG. 22, a nerve cuff electrode 220 is shown with a separable lead 62 in what may be referred to as a modular design. In this embodiment, the nerve cuff electrode 220 includes a semi-circular flexible cuff body (or housing) 222 with a receptacle 224 configured to accommodate a distal end of a lead body 62 therein. The receptacle 224 may provide a releasable mechanical lock to the lead body 52 as by a press fit, mating detents, etc. The distal end of the lead body 62 carries an array of ring electrodes 65, with windows 226 provided in the cuff body 222 configured to align with the ring electrodes 65 and permit exposure of the ring electrodes 65 to the nerve to establish electrical connection therebetween. The cuff body 222 may be attached to the nerve or simply placed adjacent the nerve. Any of the cuff designs described herein may be provided with a receptacle to accommodate a removable lead body. This embodiment allows postoperative removal of the lead body 62 without removal of the cuff 220, which may be beneficial in revision operations, for example.
Turning now to FIG. 22A, there is depicted another design for a nerve cuff electrode 2000 where a substantially cylindrical distal portion 62′ of lead body 62 carries an array of electrodes 2001. Electrodes 2001 may include ring electrodes that extend completely around the circumference of lead body 62, or, alternatively, may include generally semi-circular electrodes that extend partially around the circumference of lead body 62. The electrode may be selectively insulated on any portion of its surface to allow directional stimulation. Nerve cuff electrode 2000 may further include a nerve securing mechanism for securing lead body 62 to a nerve, such as, for example, a hypoglossal nerve. The nerve securing mechanism may include, for example, a compliant sheet wrap 2002 that is attached on one end to a distal portion of lead body 62, and unattached on the other opposing end. Compliant sheet wrap 2002 may be attached to lead body 62 by any suitable means.
As shown in FIG. 22B, compliant sheet wrap 2002 may be configured to be wrapped around a nerve and secured thereto by, for example, connecting opposite portions of the sheet wrap 2002 together. Sheet wrap 2002 may be provided with one or more features to facilitate such connections. For example, it is contemplated that a portion 2002b of sheet wrap 2002 that is closest to lead body 62 may be provided with a projection 2002c that is configured for insertion into a corresponding opening 2002e provided on a portion 2002d of sheet wrap 2002 that is opposite portion 2002b. Opening 2002e may be configured to retain projection 2002c despite the forces exerted on sheet wrap 2002 during normal nerve swelling. However, opening 2002e may be configured to release projection 2002c when forces greater than a predetermined threshold are exerted on sheet wrap 2002, so as to prevent injury to the nerve. As shown in FIG. 22C, in some embodiments, opening 2002e may be provided as a slot, which, in addition to securing projection 2002c, may allow projection 2002c to slide within the opening 2002e, thereby allowing expansion of the sheet wrap 2002 to accommodate nerve swelling and/or over tightening of the sheet wrap 2002. Additionally, both portions 2002b and 2002d may be provided with suitable openings to facilitate the insertion of sutures (not shown) or other suitable fastening mechanisms. Sheet wrap 2002 may have any desired width. For example, sheet wrap 2002 may have a substantially tapered width, in order to securely wrap the nerve while minimizing dissection.
Compliant sheet wrap 2002 may be provided with any of a number of means that allow sheet wrap 2002 to expand, in order to accommodate nerve swelling and/or over tightening. For example, in one embodiment, sheet wrap 2002 may be provided with a plurality of radially and/or longitudinally distributed fenestrations (not shown). In other embodiments, sheet wrap 2002 may be provided with a plurality of undulations 2002a, such as, for example, sigmoid undulations, which may allow for expansion of sheet wrap 2002.
With reference now to FIG. 22D, there is depicted another design for a nerve cuff electrode 2200 where a distal portion 62″ of lead body 62 carries an array of electrodes 2201. For the purposes of this disclosure, nerve cuff electrode 2200 may include substantially the same features as nerve cuff electrode 2000 depicted in FIGS. 22A-22C. Nerve cuff electrode 2200, however, may differ from nerve cuff electrode 2000 in that distal portion 62″ may be substantially flat or paddle-shaped. Furthermore, electrode contacts 2201, rather than being circular or semi-circular in configuration, may be substantially flat in configuration. In certain procedures, it is contemplated that the paddle-shaped distal portion 62″, along with the substantially flat electrode contacts 2201, may promote greater contact between electrode contacts 2201 and the nerve they are mounted upon.
Description of Alternative Implant Procedure for the Stimulation Lead
With reference to FIGS. 23A-23C, an insertable paddle-shaped lead 230 design is shown. The insertable lead 230 may have a paddle-shape (rectangular) cross-section with a tubular jacket 232 and one or more conductors 234 extending therethrough to one or more distally placed electrode contact(s) 236. The electrode contact(s) 236 may be imbedded in a molded distal end of the jacket 232 such that the electrode contact 236 has an exposed surface to face the nerve when implanted as shown in FIG. 23B. The space between the nerve and electrode is shown for purposes of illustration only, as the electrodes may be placed in direct contact with the nerve. Soft tines 238 may be integrally formed at the distal end of the tubular jacket 232 for purposes of mild fixation to tissue when implanted. The insertable lead 230 is configured to be placed adjacent to the nerve (thereby negating the need for a cuff) by inserting the lead 230 at the surgical access site 110 and following the nerve distally until the electrode contacts 236 are placed adjacent the target stimulation site. The insertable lead 232 may be used alone or in conjunction with another lead as shown in FIGS. 23B and 23C. In the illustrated example, a first lead 230A is inserted along a superficial side of the nerve and a second lead 230B is inserted along a deep side of the nerve.
A method of implanting lead 230 may generally comprise accessing a proximal extent of the nerve by minimal surgical dissection and retraction of the mylohyoid muscle as shown in FIG. 23C. Special tools may alternatively be employed for percutaneous or laparoscopic access as shown and described with reference to FIGS. 24A-24C. Subsequently, two paddle-shaped leads 230 with distal electrode contacts 236 may be inserted into the surgical access site and advanced beyond the access site along a distal aspect of the nerve to the desired stimulation site on either side of the nerve. These techniques minimize trauma and facilitate rapid recovery.
A less invasive method of implanting a paddle-shaped lead 230 is shown in FIGS. 24A-24C. In this embodiment, a rectangular tubular trocar 240 with a sharpened curved tip is placed through a percutaneous access site 111 until a distal end thereof is adjacent the superficial side of the nerve. A paddle-shaped lead 230 is inserted through the lumen of the trocar 240 and advanced distally beyond the distal end of the trocar 240 along the nerve, until the electrode contacts 236 are positioned at the target stimulation site. As shown in FIG. 24B, which is a view taken along line A-A in FIG. 24A, the insertable lead 230 includes multiple electrode contacts 236 in an anode-cathode-anode arrangement, for example, on one side thereof to face the nerve when implanted. In this embodiment, tines are omitted to facilitate smooth passage of the lead 230 through the trocar. To establish fixation around the nerve and to provide electrical insulation, a backer strap 242 of insulative material may be placed around the deep side of the nerve. To facilitate percutaneous insertion of the backer 242, a curved tip needle 244 may be inserted through a percutaneous access site until the tip is adjacent the nerve near the target stimulation site. A guide wire 246 with a J-shaped tip may then be inserted through the needle 244 and around the nerve. The backer 242 may then be towed around using the guide wire 246 as a leader, and secured in place by a buckle (not shown), for example.
With reference to FIG. 25, a bifurcated lead 250 is shown to facilitate separate attachment of electrode cuffs 64 to different branches of the same nerve or different nerves for purposes described previously. Any of the nerve cuff electrode or intramuscular electrode designs described herein may be used with the bifurcated lead 250 as shown. In the illustrated example, a first lead furcation 252 and a second lead furcation 254 are shown merging into a common lead body 62. Each furcation 252 and 254 may be the same or similar construction as the lead body 62, with modification in the number of conductors. More than two electrode cuffs 64 may be utilized with corresponding number of lead furcations.
Description of Stimulation Lead Anchoring Alternatives
With reference to FIGS. 26A and 26B, an elastic tether 264 with a limited length is utilized to prevent high levels of traction on the electrode cuff 64 around the hypoglossal nerve (or other nerve in the area) resulting from gross head movement. In other words, tether 264 relieves stress applied to the electrode cuff 64 by the lead body 62. FIGS. 26A and 26B are detailed views of the area around the dissection to the hypoglossal nerve, showing alternative embodiments of attachment of the tether 264. The proximal end of the tether 264 may be attached to the lead body 62 as shown in FIG. 26A or attached to the electrode cuff 64 as shown in FIG. 26B. The distal end of the tether 264 may be attached to the fibrous loop carrying the digastrics tendon as shown in FIG. 26A or attached to adjacent musculature as shown in FIG. 26B.
By way of example, not limitation, and as shown in FIG. 26A, a tubular collar 262 is disposed on the lead body 62 to provide connection of the tether 264 to the lead body 62 such that the lead body 62 is effectively attached via suture 266 and tether 264 to the fibrous loop surrounding the digastrics tendon. The tether 264 allows movement of the attachment point to the lead body 62 (i.e., at collar 262) until the tether 264 is straight. At this point, any significant tensile load in the caudal direction will be borne on the fibrous loop and not on the electrode cuff 64 or nerve. This is especially advantageous during healing before a fibrous sheath has formed around the lead body 62 and electrode cuff 64, thus ensuring that the cuff 64 will not be pulled off of the nerve. It should be noted that the length of the tether 262 may be less than the length of the lead body 62 between the attachment point (i.e., at collar 262) and the cuff 64 when the tensile load builds significantly due to elongation of this section of lead body 62.
The tether 264 may be formed from a sigmoid length of braided permanent suture coated with an elastomer (such as silicone or polyurethane) to maintain the sigmoid shape when in the unloaded state. The tether 264 may also be made from a monofilament suture thermoformed or molded into a sigmoid shape. The distal end of the tether 264 may be attached to the fibrous loop using a suture 266 or staple or other secure means. Note that the tether 264 may be made from a biodegradable suture that will remain in place only during healing.
Also by way of example, not limitation, an alternative is shown in FIG. 26B wherein the tether 264 is attached to the electrode cuff 64. The distal end of the tether 264 may be attached to the adjacent musculature by suture 266 such the musculature innervated by branches of the hypoglossal nerve or other musculature in the area where the electrode cuff 64 is attached to the nerve. The tether 264 ensures that the electrode cuff 64 and the hypoglossal nerve are free to move relative to the adjacent musculature (e.g., hyoglossal). As significant tensile load is applied to the lead body 62 due to gross head movement, the tether 264 will straighten, transmitting load to the muscle rather then to the nerve or electrode cuff 64.
As alluded to above, stimulation lead 60 may comprise a number of differing design embodiments. One such embodiment has been discussed above with respect to FIG. 5. Another such embodiment is depicted in FIG. 26C, which illustrates a stimulation lead 2600. Stimulation lead 2600 may be substantially similar to and/or may include one or more of the features described in connection with stimulation lead 60. As shown in FIG. 26C, stimulation lead 2600 may include a lead body 2662 having a first, proximal lead body portion 2663. First lead body portion 2663 may be substantially similar to lead body 62. For example, first lead body portion 2663 may include a similar flexibility as lead body 62. Lead body 2662 may further include a second, distal lead body portion 2664 leading to the distal end of lead body 2662 at the nerve cuff electrode. Second lead body portion 2664 may include a material property that is different than lead body portion 2663, such as, for example, a greater flexibility, in order to accommodate stresses imparted upon lead body 2662 by a nerve cuff electrode and movement of the patient's head, neck, and other neighboring body portions. The highly flexible distal portion 2664 reduces the stress (torque and tension) imparted by lead body 2662 on the electrode cuff, thereby reducing the likelihood that the cuff will be detached from the nerve or damage the nerve.
Lead body portion 2664 may be made more flexible than lead body portion 2663 by any of a variety of ways. For example, lead body portion 2664 may be made from a material having differing flexibility. Alternatively, the diameters of the braided stranded wires (BSW) and/or wire insulation that make up the lead body portion 2664 may be reduced when possible.
With continuing reference to FIG. 26C, stimulation lead 2600 may further include an anchor 2665 operably connected to lead body 2662. Although anchor 2665 in the illustrated embodiment is depicted as being disposed in between lead body portions 2663 and 2664, anchor 2665 may be disposed at any suitable location along the length of lead body 2662. Furthermore, anchor 2665 may be fixedly or movably connected to lead body 2662.
Anchor 2665 may include any suitable configuration known in the art. For example, anchor 2665 may include a substantially flat body portion 2666. Body portion 2666 may be configured to be secured to tissue, such as, for example, tissue proximate a treatment site, by any suitable means available in the art. For example, body portion 2666 may be provided with openings 2667 to facilitate, for example, suturing anchor 2665 to nearby tissue. Anchor 2665 can thereby isolate stress (tension) to one portion of lead body 2662, and particularly portion 2663, caused by gross head and neck movement.
Description of Field Steering Alternatives
With reference to FIGS. 27A-27G, a field steering nerve cuff electrode 64 is shown schematically. As seen in FIG. 27A, the nerve cuff electrode 64 may include four electrode contacts 90A-90D to enable field steering, and various arrangements of the electrode contacts 90A-90D are shown in FIGS. 27B-27G. Each of FIGS. 27B-27G includes a top view of the cuff 64 to schematically illustrate the electrical field (activating function) and an end view of the cuff 64 to schematically illustrate the area of the nerve effectively stimulated. With this approach, electrical field steering may be used to stimulate a select area or fascicle(s) within a nerve or nerve bundle to activate select muscle groups as described herein.
With specific reference to FIG. 27A, the nerve cuff electrode 64 may comprise a cuff body having a lateral (or superficial) side 82 and a medial (or contralateral, or deep) side 84. The medial side 84 is narrower or shorter in length than the lateral side 82 to facilitate insertion of the medial side 84 around a nerve such that the medial side is on the deep side of the nerve and the lateral side is on the superficial side of the nerve. An integral tow strap 86 may be used to facilitate wrapping the cuff around a nerve. The nerve cuff electrode 64 includes electrode contacts 90A, 90B, 90C and 90D imbedded in the body of the cuff, with their inside surface facing exposed to establish electrical contact with a nerve disposed therein. Electrode contacts 90A and 90B are longitudinally and radially spaced from each other. Electrode contacts 90C and 90D are radially spaced from each other and positioned longitudinally between electrode contacts 90A and 90B. Each of the four electrode contacts may be operated independently via four separate conductors (four filar) in the lead body 62.
With specific reference to FIGS. 27B-27G, each includes a top view (left side) to schematically illustrate the electrical field or activating function (labeled E), and an end view (right side) to schematically illustrate the area of the nerve effectively stimulated (labeled S) and the area of the nerve effectively not stimulated (labeled NS). Electrodes 90A-90D are labeled A-D for sake of simplicity only. The polarity of the electrodes is also indicated, with each of the cathodes designated with a negative sign (−) and each of the anodes designated with a positive sign (+).
With reference to FIG. 27B, a tripolar transverse guarded cathode arrangement is shown with electrodes C and D comprising cathodes and electrodes A and B comprising anodes, thus stimulating the entire cross-section of the nerve.
With reference to FIG. 27C, a bipolar diagonal arrangement is shown with electrode C comprising a cathode and electrode A comprising an anode, wherein the fascicles that are stimulated may comprise superior fascicles of the hypoglossal nerve, and the fascicles that are not stimulated may comprise inferior fascicles of the hypoglossal nerve (e.g., fascicles that innervate the intrinsic muscles of the tongue).
With reference to FIG. 27D, another bipolar diagonal arrangement is shown with electrode D comprising a cathode and electrode B comprising an anode, wherein the fascicles that are stimulated may comprise inferior fascicles of the hypoglossal nerve.
With reference to FIG. 27E, a bipolar axial arrangement is shown with electrode A comprising a cathode and electrode B comprising an anode, wherein the fascicles that are stimulated may comprise lateral fascicles of the hypoglossal nerve.
With reference to FIG. 27F, a bipolar transverse arrangement is shown with electrode C comprising a cathode and electrode D comprising an anode, wherein the fascicles that are stimulated may comprise medial fascicles of the hypoglossal nerve.
With reference to FIG. 27G, a modified tripolar transverse guarded cathode arrangement is shown with electrode C comprising a cathode and electrodes A and B comprising anodes, thus stimulating the entire cross-section of the nerve with the exception of the inferior medial fascicles.
Nerves like the hypoglossal nerve or superior laryngeal nerve typically include a plurality of fibers having relatively larger diameters and a plurality of fibers having relatively smaller diameters. In the case of single function nerves, such as, for example, the hypoglossal nerve HGN, all of the nerve fibers may either be sensory or motor in function. However, in the case of multi-function nerves, such as, for example, the superior laryngeal nerve SLN, the fibers having relatively larger diameters are typically motor (efferent) fibers, and the fibers having relatively smaller diameters are typically sensory (afferent) fibers. Accordingly, there may be a need to selectively stimulate the differing diameter fibers in a nerve.
Turning now to FIG. 27H, there is depicted an embodiment of a uni-directional stimulation electrode 2700 having a distal end 2700a and a proximal end 2700b. Electrode 2700 may include a substantially cylindrical nerve cuff 2701 in accordance with the principles of the present disclosure. As illustrated, nerve cuff 2701 may include an outer surface 2701a and an inner surface 2701b. Electrode 2700 may further include a plurality of electrode contacts 2702-2704. Electrode contacts 2702-2704 may be used as any suitable electrode contact known to those of ordinary skill in the art. For example, electrode contact 2702 may be used as an anode, electrode contact 2703 may be used as a cathode, and electrode contact 2704 may be used as a second anode. Electrode contacts 2702-2704 may also include any suitable shape and/or configuration known in the art. For example, electrode contacts 2702-2704 may include a substantially semi-circular configuration.
Electrode contacts 2702-2704 may be disposed on nerve cuff 2701 in any suitable configuration to achieve the desired effect. For example, electrode contacts 2702-2704 may be disposed on inner surface 2701b. As depicted in FIG. 27H, cathode electrode contact 2703 may be disposed approximately equidistant from distal end 2700a and proximal end 2700b, and anode electrode contacts 2702 may be differentially spaced around cathode electrode contact 2703, so as to control the direction of stimulation of electrode 2700. For example, anode electrode contact 2702 may be spaced from cathode electrode contact 2703 by any suitable distance χ while second anode electrode contact 2704 may be spaced from cathode electrode contact 2703 by a distance that is approximately two or three times greater than distance χ. In this exemplary configuration, the direction of stimulation may be in the direction of arrow 2705.
In use, electrode 2700 may be implanted upon a nerve in accordance with the principles of this disclosure. Electrode 2700 may be oriented on the nerve it is implanted on in any suitable manner, such as, for example, according to the direction of intended stimulation. Thus, in circumstances where it may be desired to stimulate efferent (motor) fibers of a nerve, such as, for example, the superior laryngeal nerve SLN, while avoiding stimulation to afferent (sensory) fibers of the nerve, the electrode 2700 may be oriented on the nerve in a manner such that anode electrode contact 2702 is located distally of cathode electrode contact 2703, with distal and proximal designations based on the relative location of the electrode contact on the nerve. Alternatively, in circumstances where it may be desired to stimulate afferent fibers of a nerve while avoiding stimulation of efferent fibers of the nerve, the electrode 2700 may be oriented on the nerve in a manner such that anode electrode contact 2702 is located proximally of cathode electrode contact 2703.
With reference now to FIG. 27I, there is depicted an embodiment of a stimulation electrode 2750 for, among other things, selectively stimulating differing diameter fibers of a nerve, such as, for example, the hypoglossal nerve or superior laryngeal nerve. Electrode 2750 may include a body 2751, and may include any suitable configuration in accordance with the principles of the present disclosure. Additionally, electrode 2750 may include an array 2752 of suitable electrode contacts known to those skilled in the art. Although the depicted embodiment of electrode 2750 includes five electrode contacts 2753a-2753e, array 2752 may include a greater or lesser number of electrode contacts. Electrode contacts 2753a-2753e may be disposed on body 2751 in any suitable configuration to produce the desired effect. For example, as depicted in FIG. 27I, electrode contacts 2753a-2753e may be disposed serially, with approximately a one (1) millimeter spacing in between each electrode contact 2753a-2753e. Electrode contacts 2753a-2753e may be configured to function as either anode electrode contacts or cathode electrode contacts, as desired.
Electrode contacts 2753 may be connected to an implanted neurostimulator (INS), such as, for example, INS 50, in accordance with the present disclosure. The INS may be programmed to select any of electrode contacts 2753a-2753e for nerve stimulation. For example, in circumstances where it may be desired to stimulate the smaller diameter fibers of a nerve, it is contemplated that all electrode contacts 2753a-2753e may be selected for nerve stimulation, since closely spaced electrode contacts typically affect smaller diameter fibers (e.g., afferent or sensory fibers). In these circumstances, electrode contacts 2753a, 2753c, and 2753e may function as anode electrode contacts and electrode contacts 2753b and 2753d may function as cathode electrode contacts. In circumstances where it may be desired to stimulate the larger diameter fibers of a nerve, it is contemplated that only electrode contacts 2753a, 2753c, and 2753e may be selected for nerve stimulation, since loosely spaced electrode contacts typically affect larger diameter fibers (e.g., efferent or motor fibers). In these circumstances, electrode contacts 2753a and 2753e may function as anode electrode contacts, and 2753c may function as a cathode electrode contact.
Alternatively, electrode 2750 may be utilized to reduce muscle fatigue when implanted on single function nerves, such as, for example, the hypoglossal nerve. In such circumstances, muscle fatigue may be reduced by alternatively switching between using loosely spaced electrode contacts 2753a, 2753c, and 2753e, to stimulate large diameter fibers, and closely spaced electrode contacts 2753a-2753e, to stimulate small diameter fibers.
Turning to FIGS. 27J-27K, in accordance with the present disclosure, there is depicted another embodiment of a nerve cuff electrode 2760 for facilitating reduction in muscle fatigue. Nerve cuff electrode 2760 may include a body 2761 having a plurality of electrode contacts 2762, 2763, and 2764. Electrode contacts 2762-2764 may include any suitable electrode contacts in accordance with the present disclosure. Although the depicted embodiment of nerve cuff electrode 2760 includes three electrode contacts 2762-2764, nerve cuff electrode 2760 may include a greater or lesser number of electrode contacts. Furthermore, electrode contacts may be disposed on body 2761 in any suitable configuration to achieve the desired effect, such as, for example, serially, as depicted. In the depicted embodiment, electrode contacts 2762 and 2764 may function as anode electrode contacts, while electrode contact 2763 may function as a cathode electrode contact. Electrode contact 2763 may include two distinct, substantially triangularly shaped portions 2763a and 2763b. However, portions 2763a and 2763b may include any suitable shape. In addition, portions 2763a and 2763b may be configured to be of differing conductive properties, so that, for the same stimulation pulse (e.g., a slow rising, small amplitude pulse having a relatively long duration of approximately 0.2 to 0.35 milliseconds) applied to each of the portions 2763a and 2763b, the resultant charge densities at the surface of each of the portions 2763a and 2763b may be different. For example, portions 2763a and 2763b may be made of electrically differing materials. For discussion purposes only, it is assumed that portion 2763a is configured to deliver a charge density lower than that of portion 2763b. However, portion 2763a may be configured to deliver a charge density that is higher than the charge density of portion 2763b.
Since the small diameter fibers of a nerve are typically stimulated by low charge densities and large diameter fibers of the nerve are typically stimulated by high charge densities, portions 2763a and 2763b may be sequentially utilized to alternate between stimulating the small and large diameter fibers of a nerve. In other words, in use, a stimulation pulse may be first delivered to portion 2763a to stimulate the small diameter fibers of a nerve. A subsequent stimulation pulse may be then delivered to portion 2763b to stimulate the large diameter fibers of a nerve. It is contemplated that alternating between stimulating the small and large diameter fibers of a nerve may facilitate reducing muscle fatigue while also ensuring sufficient muscle mass is stimulated to maintain the necessary contraction and force generation to successfully treat OSA.
Turning now to FIG. 27L, there is illustrated yet another embodiment of a nerve cuff electrode 2780 for facilitating reduction in muscle fatigue. For the purposes of this disclosure, nerve cuff electrode 2780 may be substantially similar to nerve cuff electrode 2760. Nerve cuff electrode 2780, however, may differ from nerve cuff electrode 2760 in at least one significant way. For example, rather than having two substantially triangular portions, cathode electrode contact 2783 may comprise two substantially different portions 2783a and 2783b. Portions 2783a and 27836 may be spaced apart from one another and may include differing surface areas. For example, as illustrated, portion 2783a may include a smaller surface area than portion 2783b. Furthermore, portions 2783a and 2783b may include any suitable shape known in the art. Although portions 2783a and 2783b in the illustrated embodiment together define a substantially triangular shaped electrode contact 2783, portions 2783a and 2783b together may or may not define any suitable shape known in the art.
Each of portions 2783a and 2783b may be configured to be substantially similar in conductance despite their differing surface areas. For example, portion 2783a may be made of a first material having a relatively lower conductance, while portion 2783b may be made of a second material having a relatively higher conductance. Thus, when subjected to the same stimulation pulse (e.g., a slow rising, small amplitude pulse having a relatively long duration of approximately 0.2 to 0.35 milliseconds), portion 2783a may have a higher charge density than portion 2783b because of its relatively smaller surface area than portion 2783b. Similarly, when subjected to the same stimulation pulse, portion 2783b may have a lower charge density than portion 2783a because of its relatively larger surface area than portion 2783a. Accordingly, because of the differing charge densities, portion 2783a may be adapted to stimulate large diameter fibers of a nerve, and portion 2783b may be adapted to stimulate small diameter fibers of the nerve.
In use, a stimulation pulse may be first delivered to portion 2783a to stimulate the large diameter fibers of a nerve. A subsequent stimulation pulse may be then delivered to portion 2783b to stimulate the small diameter fibers of the nerve. It is contemplated that alternating between stimulating the small and large diameter fibers of a nerve may facilitate muscle fatigue while also ensuring that sufficient muscle mass is stimulated to maintain the necessary contraction and force generation to successfully treat OSA.
In certain embodiments, such as when nerve cuff electrodes 2760 and 2780 are implanted on a multi-function nerve (e.g., the superior laryngeal nerve SLN), it is contemplated that portions 2763a/2763b and portions 2783a/2783b may be utilized to selectively stimulate either the afferent or efferent fibers of the nerve.
With reference now to FIGS. 27M-27Q, there is depicted yet another embodiment of a nerve cuff electrode 2790 for minimizing muscle fatigue. Nerve cuff electrode 2790 may include a cuff body 2791 for mounting about a nerve 2792 in accordance with the present disclosure. Cuff body 2791 may include a plurality of electrode contacts 2793-2796 also in accordance with the present disclosure. Although the depicted embodiment of nerve cuff electrode 2790 includes four electrode contacts 2793-2796, nerve cuff electrode 2790 may include a greater or lesser number of electrode contacts.
Nerve cuff electrode 2790 may be configured to selectively stimulate both small diameter fibers contained in fascicle 2777a and large diameter fibers contained in fascicle 2777b of nerve 2792. For example, as shown in FIG. 27P, by applying an exemplary slow rising, long pulse width waveform to electrode contacts 2796 and 2793, nerve cuff electrode 2790 may stimulate the small diameter fibers contained in fascicle 2777a of nerve 2792. Similarly, as shown in FIG. 27Q, by applying an exemplary fast rising, short pulse width waveform to electrode contacts 2794 and 2795, nerve cuff electrode 2790 may stimulate the large diameter fibers contained in fascicle 2777b of nerve 2792. Fascicles 2777a and 2777b may be stimulated simultaneously or separately. In embodiments, where it is desirable to stimulate fibers contained in fascicles 2777a and 2777b, the pulse generator (e.g., INS 50) may be provided with dual output ports.
Description of Respiration Sensing Lead Anchoring Alternatives
With reference to the following figures, various additional or alternative anchoring features for the respiration sensing lead 70 are schematically illustrated. Anchoring the respiration sensing lead 70 reduces motion artifact in the respiration signal and stabilizes the bio-impedance vector relative to the anatomy.
In each of the embodiments, by way of example, not limitation, the respiration sensing lead 70 includes a lead body 70 with a proximal connector and a plurality of distal respiration sensors 74 comprising ring electrodes for sensing bio-impedance. The lead body 72 of the respiration sensing lead 70 may include a jacket cover containing a plurality of conductors 78, one for each ring electrode 74 requiring independent control. Generally, the impedance electrodes 74 may comprise current emitting electrodes and voltage sensing electrodes for detecting respiration by changes in bio-impedance.
With reference to FIGS. 28-33, various fixation devices and methods are shown to acutely and/or chronically stabilize the respiratory sensing lead 70. With specific reference to FIG. 28, the INS 50 is shown in a subcutaneous pocket and the stimulation lead 60 is shown in a subcutaneous tunnel extending superiorly from the pocket. The respiration sensing lead 70 is shown in a subcutaneous tunnel superficial to muscle fascia around the rib cage. A suture tab or ring 270 may be formed with or otherwise connected to the distal end of the lead body 72. Near the distal end of the lead 70, a small surgical incision may be formed to provide access to the suture tab 270 and the muscle fascia under the lead 70. The suture tab 270 allows the distal end of the lead 70 to be secured to the underlying muscle fascia by suture or staple 272, for example, which may be dissolvable or permanent. Both dissolvable and permanent sutures/staples provide for acute stability and fixation until the lead body 72 is encapsulated. Permanent sutures/staples provide for chronic stability and fixation beyond what tissue encapsulation otherwise provides.
With reference to FIGS. 29A-29C, a fabric tab 280 may be used in place of or in addition to suture tab 270. As seen in FIG. 29A, the fabric tab 280 may be placed over a distal portion of the lead body 72, such as between two distal electrodes 74. A small surgical incision may be formed proximate the distal end of the lead 70 and the fabric tab 280 may be placed over the over the lead body 72 and secured to the underlying muscle fascia by suture or staple 282, for example, which may be dissolvable or permanent, to provide acute and/or chronic stability and fixation. With reference to FIGS. 29B and 29C (cross-sectional view taken along line A-A), the fabric tab 280 may comprise a fabric layer (e.g., polyester) 284 to promote chronic tissue in-growth to the muscle fascia and a smooth flexible outer layer (silicone or polyurethane) 286 for acute connection by suture or staple 282.
With reference to FIG. 30, lead 70 includes a split ring 290 that may be formed with or otherwise connected to the distal end of the lead body 72. The split ring 290 allows the distal end of the lead 70 to be secured to the underlying muscle fascia by suture or staple 292, for example, which may be dissolvable or permanent. The ring 290 may be formed of compliant material (e.g., silicone or polyurethane) and may include a slit 294 (normally closed) that allows the lead 70 to be explanted by pulling the lead 70 and allowing the suture 292 to slip through the slit 294, or if used without a suture, to allow the ring to deform and slide through the tissue encapsulation. To further facilitate explanation, a dissolvable fabric tab 282 may be used to acutely stabilize the lead 70 but allow chronic removal.
With reference to FIGS. 31A-31C, deployable anchor tines 300 may be used to facilitate fixation of the lead 70. As seen in FIG. 31A, the self-expanding tines 300 may be molded integrally with the lead body 72 or connected thereto by over-molding, for example. The tines 300 may comprise relatively resilient soft material such as silicone or polyurethane. The resilient tines 300 allow the lead 70 to be delivered via a tubular sheath or trocar 304 tunneled to the target sensing site, wherein the tines 300 assume a first collapsed delivery configuration and a second expanded deployed configuration. As seen in FIGS. 31B and 31B′, the tubular sheath or trocar 301 may be initially tunneled to the target site using an obturator 306 with a blunt dissection tip 308. After the distal end of the tubular sheath 304 has been tunneled into position by blunt dissection using the obtruator 306, the obtruator 306 may be removed proximally from the sheath 304 and the lead 70 with collapsible tines 300 may be inserted therein. As seen in FIG. 31C, when the distal end of the lead 70 is in the desired position, the sheath 304 may be proximally retracted to deploy the tines 300 to engage the muscle fascia and adjacent subcutaneous tissue, thus anchoring the lead 70 in place.
With reference to FIGS. 32A and 32B, an alternative deployable fixation embodiment is shown schematically. In this embodiment, self-expanding tines 310 are held in a collapsed configuration by retention wire 312 disposed in the lumen of the lead body 72 as shown in FIG. 32A. Each of the tines 310 includes a hole 314 through which the retention wire 312 passes to hold the tines 310 in a first collapsed delivery configuration as shown In FIG. 32A, and proximal withdrawal of the retention wire 314 releases the resilient tines 310 to a second expanded deployed configuration as shown in FIG. 32B. The lead 70 may be tunneled to the desired target site with the tines 310 in the collapsed configuration. Once in position, the wire 312 may be pulled proximally to release the tines 310 and secure the lead 70 to the underlying muscle fascia and adjacent subcutaneous tissue to establish fixation thereof.
With reference to FIGS. 33A and 33B, another alternative deployable fixation embodiment is shown schematically. In this embodiment, self-expanding structures such as one or more resilient protrusions 320 and/or a resilient mesh 325 may be incorporated (either alone or in combination) into the distal end of the lead 70. By way of example, not limitation, resilient protrusions 320 may comprise silicone or polyurethane loops and resilient mesh 325 may comprise a polyester fabric connected to or formed integrally with the lead body 72. Both the resilient protrusions 320 and the resilient mesh 325 may be delivered in a collapsed delivery configuration inside tubular sheath 304 as shown in FIG. 33A, and deployed at the desired target site by proximal retraction of the sheath 304 to release the self-expanding structures 320/325 to an expanded deployed configuration as shown in FIG. 33B. Both the resilient protrusions 320 and the resilient mesh 325 engage the underlying muscle fascia through tissue encapsulation and adjacent subcutaneous tissues to provide fixation of the lead 70 thereto.
Other fixation embodiments may be used as well. For example, the fixation element may engage the muscle fascia and adjacent subcutaneous tissues or may be embedded therein. To this end, the electrodes may alternatively comprise intramuscular electrodes such as barbs or helical screws.
Description of Respiration Sensing Electrode Alternatives
A description of the various alternatives in number, spacing, anatomical location and function of the impedance electrodes follows. Generally, in each of the following embodiments, the respiration sensing lead includes a lead body and a plurality of respiration sensors comprising ring electrodes for sensing bio-impedance. The lead body may include a plurality of insulated conductors disposed therein, with one conductor provided for each ring electrode requiring independent connection and/or control. The impedance electrodes may comprise current emitting electrodes and voltage sensing electrodes for detecting respiration by changes in bio-impedance.
With reference to FIG. 34, the distal portion of a respiration sensing lead 70 is shown by way of example, not limitation. The respiration sensing lead 70 includes a lead body 72 with a proximal connector and a plurality of distal impedance electrodes 74. In this example, the lead body 72 and electrodes 74 are cylindrical with a diameter of 0.050 inches. The distal current-carrying electrode 74A may be 5 mm long and may be separated from the voltage-sensing electrode 74B by 15 mm. The distal voltage sensing electrode may be 5 mm long and may be separated from the proximal combination current-carrying voltage-sensing electrode 74C by 100 mm. The proximal electrode 74C may be 10 mm long. The proximal portion of the lead 70 is not shown, but would be connected to the INS (not shown) as described previously. The lead body incorporates a plurality of insulated electrical conductors (not shown), each of which correspond to an electrode 74A-74C. The electrodes and conductors may be made of an alloy of platinum-iridium. The lead body 72 may comprise a tubular extrusion of polyurethane, silicone, or a coextrusion of polyurethane over silicone. The conductors may be formed of multi-filar wire coiled to provide extensibility for comfort and durability under high-cycle fatigue.
With reference to FIGS. 35A-35E, the position of the electrodes 74 may be characterized in terms of bio-impedance or bio-Z vectors. The bio-Z vector may be defined by the locations of the voltage-sensing electrodes (labeled V1 & V2). The voltage-sensing electrodes may be located on either side of the current-carrying electrodes (labeled I1 & I2). For example, it is possible to locate either one or both of the voltage-sensing electrodes between the current-carrying electrodes as shown in FIG. 35A (4-wire configuration (I1-V1-V2-I2)), and it is possible to locate either one or both of the current-carrying electrodes between the voltage-sensing electrodes as shown in FIG. 35B (inverted 4-wire configuration (V1-I1-I2-V2)). While at least two separate electrodes (I1 & I2) are required to carry current and at least two separate electrodes (V1 & V2) are required to measure voltage, it is possible to combine the current carrying and voltage sensing functions in a common electrode. Examples of combining voltage sensing and current carrying electrodes are shown in FIGS. 35C-35E. FIG. 35C (2-wire configuration (I1 V1-I2V2)) shows combination electrode I1 V1 and I2 V2 where each of these electrodes is used to carry current and sense voltage. FIG. 35D (3-wire configuration (I1-V1-I2V2)) and 35E (inverted 3-wire configuration (V1-I1-I2V2)) show combination electrode I2V2 which is used to carry current and sense voltage.
With reference to FIG. 36, insulative material such as strips 73 may cover one side of one or more electrodes 74A-74D to provide directional current-carrying and/or voltage-sensing. The insulative strips may comprise a polymeric coating (e.g., adhesive) and may be arranged to face outward (toward the dermis) such that the exposed conductive side of each electrode 74 faces inward (toward the muscle fascia and thoracic cavity). Other examples of directional electrodes would be substantially two-dimensional electrodes such as discs or paddles which are conductive on only one side. Another example of a directional electrode would be a substantially cylindrical electrode which is held in a particular orientation by sutures or sutured wings. Another example of a directional electrode would be an electrode on the face or header of the implanted pulse generator. It would likely be desirable for the pulse generator to have a non-conductive surface surrounding the location of the electrode.
In addition to the cylindrical electrodes shown, other electrode configurations are possible as well. For example, the electrodes may be bi-directional with one planar electrode surface separated from another planar electrode surface by insulative material. Alternatively or in combination, circular hoop electrodes may be placed concentrically on a planar insulative surface. To mitigate edge effects, each electrode may comprise a center primary electrode with two secondary side electrodes separated by resistive elements and arranged in series. An alternative is to have each primary current-carrying electrode connected by a resistive element to a single secondary side electrode. The conductive housing of the INS 50 may serve as an current-carrying electrode or voltage-sensing electrode. Alternatively or in addition, an electrode may be mounted to the housing of the INS 50.
Because bio-impedance has both a real and imaginary component, it is possible to measure the bio-Z phase as well as magnitude. It may be preferable to extract both magnitude and phase information from the bio-Z measurement because the movement of the lung-diaphragm-liver interface causes a significant change in the phase angle of the measured impedance. This may be valuable because motion artifacts of other tissue have less impact on the bio-Z phase angle than they do on the bio-Z magnitude. This means the bio-Z phase angle is a relatively robust measure of diaphragm movement even during motion artifacts.
An example of a bio-Z signal source is a modulated constant-current pulse train. The modulation may be such that it does not interfere with the stimulation signal. For example, if the stimulation signal is 30 Hz, the bio-Z signal source signal may be modulated at 30 Hz or a sub-multiple of 30 Hz such that bio-Z and stimulation do not occur simultaneously. The pulses in the pulse train may have a pulse width between 1 uS to 1 mS, such as 100 uS. The pulses may be separated by a period of time roughly equal to the pulse width (i.e., on-time of the pulses). The number of pulses in a train may be determined by a trade-off between signal-to-noise and power consumption. For example, no more than 10 pulses may be necessary in any given pulse train. The magnitude of current delivered during the pulse on-time may be between 10 uA and 500 uA, such as 50 uA.
Other wave forms of bio-Z source signal may be used, including, without limitation, pulse, pulse train, bi-phasic pulse, bi-phasic pulse train, sinusoidal, sinusoidal w/ramping, square wave, and square w/ ramping. The bio-Z source signal may be constant current or non-constant current, such as a voltage source, for example. If a non-constant current source is used, the delivered current may be monitored to calculate the impedance value. The current-carrying electrodes may have a single current source, a split-current source (one current source split between two or more current-carrying electrodes), or a current mirror source (one current source that maintains set current levels to two or more current-carrying electrodes). Different characteristics of the sensed signal may be measured including, without limitation, magnitude, phase shift of sensed voltage relative to the current source signal, and multi-frequency magnitude and/or phase shift of the sensed signal. Multi-frequency information may be obtained by applying multiple signal sources at different frequencies or a single signal source which contains two or more frequency components. One example of a single multifrequency source signal is a square wave current pulse. The resultant voltage waveform would contain the same frequency components as the square wave current pulse which would allow extraction of Bio-Z data for more than a single frequency.
With reference to FIG. 37, the bio-Z vector may be oriented with regard to the anatomy in a number of different ways. For example, using the electrode arrangement illustrated in FIG. 34 and the anatomical illustration in FIG. 37, the bio-Z vector may be arranged such that the proximal combination electrode is located just to the right of and above the xiphoid below the pectoral muscle between the 5th and 6th ribs and the distal current-carrying electrode is located mid-lateral between the 7th and 8th ribs, with the distal voltage-sensing electrode positioned between the 6th and 7th ribs 10 mm proximal of the distal current-carrying electrode. This arrangement places the electrodes along the interface between the right lung, diaphragm and liver on the right side of the thoracic cavity. The lung-diaphragm-liver interface moves relative to the bio-Z vector with every respiratory cycle. Because the lung has relatively high impedance when inflated and the liver has relatively low impedance due to the conductivity of blood therein, this bio-Z vector arrangement across the lung-diaphragm-liver interface provides for a strong respiratory signal that is indicative of changes between inspiration and expiration. In addition, because the heart is situated more on the left side, positioning the bio-Z vector on the right side reduces cardiac artifact. The net result is a bio-Z vector that provides an excellent signal-to-noise ratio.
A variety of different bio-Z vector orientations relative to the anatomy may be employed. Generally, bio-Z vectors for monitoring respiration may be located on the thorax. However, bio-Z electrodes located in the head and neck may also be used to define respiratory bio-Z vectors. By way of example, not limitation, the bio-Z vector may be arranged transthoracically (e.g., bilaterally across the thorax), anteriorly on the thorax (e.g., bilaterally across the thoracic midline), across the lung-diaphragm-liver interface, perpendicular to intercostal muscles, between adjacent ribs, etc. A single bio-Z vector may be used, or multiple independent vectors may be used, potentially necessitating multiple sensing leads. One or more bio-Z sub-vectors within a given bio-Z vector may be used as well.
With reference to FIGS. 37A-37C, thoracic locations defining examples of bio-Z vectors are shown schematically. FIG. 37A is a frontal view of the thorax, FIG. 37B is a right-side view of the thorax, and FIG. 37C is a left-side view of the thorax. In each of FIGS. 37A-37C, the outline of the lungs and upper profile of the diaphragm are shown. As mentioned previously, a bio-Z vector may be defined by the locations of the voltage-sensing electrodes. Thus, FIGS. 37A-37C show locations for voltage sensing electrodes which would define the bio-Z vector.
There are several short bio-Z vectors which provide excellent signals correlated to diaphragmatic movement. In general, these vectors have at least one end at or near the lower edge of the ribcage. The short diaphragmatic bio-Z vectors have been successfully used in canines in vector lengths ranging from approximately less than ½ inch to a few inches in length. FIG. 37A shows a variety of locations which are representative of the locations which define such vectors. Locations shown just below the ribcage on the person's right side are designated as A, B, C, and D. Locations shown just below the ribcage on the person's left side are E, F, G, and H. Locations shown just above the lower edge of the ribcage on the person's right side are I, J, K, and L. Locations shown just above the lower edge of the ribcage on the person's left side are M, N, P, and Q. The locations just above the lower edge of the ribcage would fall within a few inches of the lower edge. Short diaphragmatic monitoring vectors would be comprised of location pairs which are relatively closely spaced. For example, vectors D-E, D-C, D-L, and D-K all provide good diaphragmatic signal. The possible vectors fall into three groups. Exemplary vectors which measure primarily diaphragmatic muscle contraction are A-B, B-C, C-D, D-E, E-F, F-G, and G-H. Exemplary vectors which measure a combination of diaphragmatic muscle contraction combined with movement of the lung into the pleural pocket as the diaphragm contracts are I-J, P-R, A-I, A-J, B-I, B-J, G-P, H-R, H-P, and G-R. Exemplary vectors which measure diaphragmatic muscle contraction combined with movement of the diaphragm away from the thoracic wall as that portion of the lung expands are J-K, K-L, M-N, and N-P. It is known that the signal from any given location may be affected by body position and free vs. obstructed respiration. The respiratory signal from short vectors at or near the lower edge of the ribcage may be more robust (e.g., may be not be substantially affected) to body position and obstructed respiration. A further means of obtaining a signal which may be also more robust to body position would be to measure the respiratory impedance from complimentary vectors and sum the resulting bio-Z measurements. Complimentary vectors would be mirror-images or nearly mirror images of one another. Examples of vectors and their mirror images may be C-D and E-F, B-C and G-F, C-K and F-N.
By way of example, not limitation, the following bio-Z vectors may be effective for monitoring respiration and/or for measuring artifacts for subsequent removal of the artifact from the respiration signal. Vector C-G is across the upper left and upper right lobes of the lungs, and provides a good signal of ribcage expansion with moderate cardiac artifact. Vector D-F is a short-path version of C-G that provides a good respiratory signature largely correlated with ribcage expansion, with less cardiac artifact than C-G, but may be sensitive to movement of arms due to location on pectoral muscles. Vector C-D is a short-path ipsilateral vector of the upper right lung that may be sensitive to arm movement but has less cardiac artifact. Vector B-H is a transverse vector of the thoracic cavity that captures the bulk of the lungs and diaphragm movement. Vector B-H, however, may be relatively less susceptible to changes in body position, and may still provide a generally good signal when the patient changes positions. In certain circumstances, the signal produced by vector B-H may have a less than desired signal to noise ratio. However, it is contemplated that generally available methods of signal processing in accordance with the present disclosure may be utilized the improve signal to noise ratio of the signal produced by Vector B-H. Vector A-E is an ipsilateral vector across the lung-diaphragm-liver interface. Because the liver is higher in conductivity and has a different impedance phase angle than the lung, vector A-E1 yields a good signal on both bio-Z magnitude and phase with limited cardiac artifact. Vector B-K is an ipsilateral vector across the lung-diaphragm-liver interface that is substantially between a common set of ribs with a current path that is mostly perpendicular to the intercostal muscles. Because resistivity of muscle is much higher perpendicular to the muscle direction than parallel, vector B-K reduces current-shunting through the muscle which otherwise detracts from the signal of the lung-diaphragm-liver interface. Vector A-K is an ipsilateral vector across the lung-diaphragm-liver interface similar to vector A-E 1 but is more sensitive to movement of the lung-diaphragm-liver interface than to changes in resistivity of the lung-diaphragm-liver interface due to inspired air volume and is thus a good indicator of diaphragm movement. Vector B-E 1 is a vector across the middle and lower right lung and is good for detecting diaphragm movement with little cardiac artifact. Vector C-E 1 is a vector across the upper and middle right lung and is also good for detecting diaphragm movement with little cardiac artifact. Vector D-E 1 is a vector across the upper right lung with little cardiac artifact. Vector A-D is an ipsilateral across a substantial portion of the right lung and diaphragm with little cardiac artifact, but may be susceptible to motion artifact due to arm movement. Vector E1-E2 is a vector across the heart and provides a good cardiac signal that may be used for removing cardiac artifact from a respiratory signal. Vector E2-J is a vector across the lung-diaphragm-stomach interface that provides a good measure of diaphragm movement using bio-Z phase vs. magnitude because the stomach has almost no capacitive component and generally low conductivity. Vector L-M is a trans-diaphragm vector that is generally across the lung-diaphragm-liver interface with little cardiac artifact. Vector L-M may be relatively less susceptible to body position and movement and may yield a good signal even if the patient is laying on the side of the sensing lead. In embodiments where the signal produced by vector L-M has a less than desired signal to noise ratio, it is contemplated that generally available methods of signal processing may be utilized to improve the signal to noise ratio of the signal produced by vector L-M.
Electrodes placed at any of the above-noted locations may include, but are not limited to, combination electrodes, such as, for example, electrodes capable of both providing a current charge and sensing a voltage.
With reference to FIGS. 37A and 38D, an exemplary vector selection method 3800 for detecting and utilizing a signal from the vector that produces the most desirable signal of all vectors is discussed. The disclosed vector selection method 3800 may be performed continuously, periodically, singularly, and/or may be repeated as desired. For example, method 3800 may be performed once in a 24 hour period. In addition, one or more steps associated with method 3800 may be selectively omitted and/or the steps associated with method 3800 may be performed in any order. The steps associated with method 3800 are described in a particular sequence for exemplary purposes only.
With specific reference to FIG. 38D, method 3800 may include a plurality of steps 3801-3803 for detecting and utilizing the signal with the best characteristics of all signals produced by a plurality of vectors. Specifically, method 3800 may include sampling short distance vectors first to determine if any of these vectors are producing a desirable signal, step 3801. Method 3800 may also include sampling intermediate distance vectors if the short distance vectors are not producing a desirable signal, step 3802. Method 3800 may further include sampling long distance vectors if the intermediate distance vectors are not producing a desirable signal, is step 3803.
Turning to FIG. 37A, there is depicted an exemplary embodiment of a neurostimulator in accordance with the principles of the present disclosure. The exemplary neurostimulator may include an implanted INS 50 and implanted electrode contacts AA-DD. While the depicted embodiment includes electrode contacts AA-DD disposed between a patient's 5th and lowest ribs, electrode contacts AA-DD may be disposed at any suitable location. Furthermore, electrode contacts AA-DD may include, but are not limited to, the combination electrodes discussed above. In the depicted embodiment, exemplary short distance vectors may include the vectors between, for example, adjacent electrode contacts AA, BB, CC, and DD; exemplary intermediate distance vectors may include the vectors AA-CC, AA-DD, and BB-DD, and exemplary long distance vectors may include the vectors between the INS 50 and each of electrode contacts AA-DD.
With reference to FIG. 37A and FIG. 38A, step 3801 may include, for example, sampling short distance vectors AA-BB, BB-CC, and CC-DD first to determine whether any of these vectors may be producing a sufficient signal in accordance with the principles of this disclosure, since these vectors generally produce signals with desirable signal to noise ratios. Next, step 3802 of method 3800 may include sampling the intermediate distance vectors AA-CC, AA-DD, and BB-DD if the short distance vectors are producing a less than desirable signal. Lastly, step 3803 of method 3800 may include sampling the long distance vectors INS-AA, INS-BB, INS-CC, and INS-DD if the intermediate distance vectors are producing a less than desirable signal.
In some embodiments, it is contemplated that several short, intermediate, and long distance vectors may be continually sampled, even if a desirable signal is being received from a short distance vector, in order to identify secondary vector signals that may be utilized if the currently utilized vector signal fails for any reason. However, fully processing the data from signals generated by all of the vectors may require complex sensing circuitry and processing of detection algorithms that may utilize undesirable amounts of battery power. Therefore, it may be desirable to only monitor selected characteristics of the secondary vector signals. With specific reference to FIG. 38B, there is depicted an embodiment of a method 3850 for utilizing multiple sensing channels to optimize respiratory sensing with minimal additional hardware and power consumption. It uses a single sensing circuit which is time multiplexed (interleaved) to sample each of the vectors. Since, as noted above, fully processing the data from all vector signals may require higher computational power, method 3850 may be used to identify the best vector signal for respiration detection, while simultaneously monitoring the remaining vectors signals for only relevant fiducial points. These fiducial points may include, but are not limited to, significant “landmarks” within a signal, such as, for example, peak amplitude and time, point of highest slew rate, and zero crossing. The detected fiducial points for the secondary vector signals may be then stored in a circular buffer memory 3854 for analysis if the primary signal fails for any reason, thereby, allowing immediate switching to an alternate vector signal and eliminating the need for a long signal acquisition period after a need to switch vector signals has been determined.
In particular, method 3850 may include feeding the signals from all available vectors into a plurality of channel selection switches 3851. The signals may be then analyzed for relevant fiducials by the respiratory impedance sensing circuit 3853. Once relevant fiducials have been discriminated, it may be possible to identify the best vector signal for respiration signal analysis. The fiducials of the remaining vectors may be then stored in circular buffer memory 3854 (as noted above) to facilitate switching to a secondary vector signal if the primary signal is no longer suitable for respiration detection.
The periodic monitoring (or interleaving) of secondary vector signals may facilitate faster switching to those vector signals when necessary. In particular, it is contemplated that when a decision to switch to a secondary vector signal is made (i.e., when the primary signals degrades to a point where it is no loner desirable for detecting respiration), the saved data (e.g., relevant fiducials) may be used to “seed” a signal analysis algorithm with recently collected data, so as to promote faster vector switching by eliminating the need to wait for collection of sufficient data for the secondary vector signal. In other words, because select information of a secondary signal is available before the signal is actually used for respiration detection, analysis of the secondary signal for, among other things, respiration detection may begin slightly faster than it would have if no data was available.
Furthermore, in certain embodiments, additional impedance sensors may be used as backup sensors to the sensor generating the primary vector signal. In these embodiments, data from the secondary sensors may be also analyzed to identify and save relevant fiducials in the memory. This stored information may be used to provide supplemental or alternate information to facilitate identifying appropriate respiratory timing, when switching vector signals becomes necessary as a result of primary signal degradation.
The respiratory bio-Z signal is partly due to the resistivity change which occurs when air infuses lung tissue, partly due to the relative movement of electrodes as the rib cage expands, and partly due to the displacement of other body fluids, tissue and organs as the lungs move along with the ribcage and diaphragm. As described above, each vector measures certain of these changes to different extents. It may be desirable, therefore, to combine vectors which have complementary information or even redundant information to improve the respiratory information of the bio-Z signal. To this end, multiple vectors may be used. For example, one vector may be used to sense changes in the lung-diaphragm-liver interface and a second vector may be used to detect changes (e.g., expansion, contraction) of the lung(s). Examples of the former include A-K, B-K, A-E 1, B-E 1, and A-B. Examples of the later include D-F, B-D, C-G, D-E 1, and C-E 1. Note that some vector combinations which share a common vector endpoint such as A-E 1, D-E 1 and B-E 1, B-D may use a common electrode which would simplify the respiratory sensing lead or leads.
An advantage of using the lung-diaphragm-liver interface vector is that it provides a robust signal indicative of the movement of the diaphragm throughout the respiratory cycle. The liver is almost two times more electrically conductive than lung tissue so a relatively large bio-Z signal can be obtained by monitoring the movement of the lung-diaphragm-liver interface. Because the liver functions to filter all the blood in the body, the liver is nearly completely infused with blood. This helps to dampen out the cardiac artifact associated with the pulsatile flow of the circulatory system. Another advantage of this location is that vectors can be selected which avoid significant current path through the heart or major arteries which will help reduce cardiac artifact.
It is worth noting that diaphragm movement is not necessarily synchronous with inspiration or expiration. Diaphragm movement typically causes and therefore precedes inspiration and expiration. Respiratory mechanics do allow for paradoxical motion of the ribcage and diaphragm, so diaphragm movement is not necessarily coincident with inspiration. During REM sleep, the diaphragm is the dominant respiratory driver and paradoxical motion of the ribs and diaphragm can be problematic, especially if movement of the ribcage is being relied upon as an inspiratory indicator. Monitoring the diaphragm for pre-inspiratory movement becomes especially valuable under these circumstances. Bio-Z monitoring of the diaphragm can be used as a more sophisticated indicator of impending inspiration rather than the antiquated approach of desperately trying to identify and respond to inspiration in pseudo-real time based on sensors which are responding to characteristics of inspiration.
For purposes of monitoring respiration, it is desirable to minimize shunting of the electrical current through tissues which are not of interest. Shunting may result in at least two problems: reduced signal from the lungs; and increased chance of artifacts from the shunted current path. Skeletal muscle has non-isotropic conductivity. The muscle's transverse resistivity (1600 ohm-cm) is more than 5 times its longitudinal resistivity (300 ohm-cm). In order to minimize the adverse effect of shunting current, it is desirable to select bio-Z sensing vectors which are perpendicular to muscle structure if possible. One such example is to locate two or more electrodes of a bio-Z sensing array substantially aligned with the ribs because the intercostal muscles are substantially perpendicular to the ribs.
Description of Respiration Signal Processing
With reference to FIG. 39, the neurostimulation system described herein may operate in a closed-loop process 400 wherein stimulation of the targeted nerve may be delivered as a function of a sensed feedback parameter (e.g., respiration). For example, stimulation of the hypoglossal nerve may be triggered to occur during the inspiratory phase of respiration. Alternatively, the neurostimulation system described herein may operate in an open-loop process wherein stimulation is delivered as a function of preset conditions (e.g., historical average of sleeping respiratory rate).
With continued reference to FIG. 39, the closed-loop process 400 may involve a number of generalized steps to condition the sensed feedback parameter (e.g., bio-Z) into a useable trigger signal for stimulation. For example, the closed-loop process 400 may include the initial step of sensing respiration 350 using bio-Z, for example, and optionally sensing other parameters 360 indicative of respiration or other physiologic process. The sensed signal indicative of respiration (or other parameter) may be signal processed 370 to derive a usable signal and desired fiducials. A trigger algorithm 380, which will be discussed in greater detail below, may then be applied to the processed signal to control delivery of the stimulation signal 390.
As noted above, the present disclosure contemplates conditioning sensed bio-impedance into a useable trigger signal for stimulation. However, one exemplary limitation to using sensed bio-impedance may be the body's nominal impedance. In practice, a sensed bio-impedance signal may be obtained by applying a suitable, known current through one portion of a tissue of interest and measuring the voltage potential across the same tissue. This measurement technique is illustrated in FIG. 38C and may be referred to herein as the “direct measurement” technique. The applied current and measured voltage potentials may be used to calculate the impedance of the tissue. It is this measured impedance that may constitute the sensed bio-impedance signal. However, sense bio-impedance signals of the present disclosure have been found to typically include two components, a relatively large nominal body impedance component and a relatively small respiratory impedance component. Thus, since the body's impedance constitutes a large portion of the sensed signal, it may be difficult to detect that relatively small impedance changes associated with respiration on top of a body's nominal impedance. Therefore, in accordance with the principles of the present disclosure, it may be desirable to “filter” the sensed impedance signal in a manner so as to remove most or all of the body's nominal impedance, in order to improve resolution of the respiratory signal. In some embodiments, this may be achieved with the aid of a conventional Wheatstone bridge at or near the front-end of an impedance measuring circuit. In particular, the Wheatstone bridge may facilitate precise measurements of the relatively small impedance changes associated with respiration by removing most, if not all, of the body's nominal impedance.
Turning now to FIG. 39A, there is depicted an exemplary Wheatstone bridge 3900. The Wheatstone bridge 3900 may include an electrical current source 3901. Wheatstone bridge 3900 may also include a first resistor R1 having an impedance Z1 connected in series to a second resistor R2 having an impedance Z2. Resistors R1 and R2 may be connected in parallel to resistor R3 having an impedance Z3, which may be connected serially to the patient's body having an impedance Zbody. As discussed below, impedances Z2 and Z3 may be substantially similar to each other. Wheatstone bridge 3900 may further include any suitable voltage measuring device, such as, for example, those used in conjunction the direct measurement technique described above.
In use, the impedance Z1 of exemplary bridge 3900 may be closely matched to the expected impedance of a patient's body Zbody, the impedance Z2 matched to impedance Z3, and the voltage potential across voltage measuring device 3902 may be measured. It is contemplated that if impedances Z1-Z3 are closely matched to Zbody, the measured voltage potential across voltage measuring device 3902 will be predominantly due to respiratory impedance changes and the voltage signal due to the body's nominal impedance will be largely removed. Further, it is contemplated that the voltage changes measured at 3902 due to respiratory impedance changes will have an amplitude that is approximately ½ of the amplitude of the voltage changes, measured with the above-noted direct-measurement technique, assuming the same currently flow through the body. The removal of the voltage signal due to the body's nominal impedance while retaining ½ of the voltage signal amplitude due to changes in respiratory impedance, may facilitate detecting the small impedance changes associated with respiration by improving the resolution of those changes.
In other embodiments, the body's nominal impedance may be extracted and identified (e.g., type, time, and value). be removed or reduced from a sensed signal by, for example, introducing a nominal offset removal module 3921 into an impedance measuring circuit 3920 of the present disclosure, as depicted in FIG. 39B. An exemplary impedance-measuring circuit may generally include feeding a sensed respiratory signal into a demodulator. The signal exiting the demodulator may be then fed into an integrator, and the integrated signal exiting the integrator may then be digitized for analysis. It is therefore contemplated that introducing nominal offset removal module 3921 to act upon the upon the signal exiting the demodulator may achieve the desired effect of removing or reducing the body's nominal impedance from a sensed impedance signal.
Turning now to FIG. 39C, module 3921 may include a switch S, a resistor R, a capacitor C, and a non-inverting amplifier A. The switch S, resistor R, and capacitor C create a sample and hold reference voltage to the difference amplifier A. The amplifier subtracts this reference voltage from the input signal. The result is to remove or reduce the nominal body impedance component of the signal leaving mainly the respiratory component of the measured impedance. The Resistor-Capacitor (R-C) combination is selected such that it will track with changes in nominal impedance levels but does not significantly distort the respiratory signal. Respiratory signal frequency components of interest are typically between 0.05 Hz and 3 Hz. There are several options for how the Nominal Offset Removal may be operated. An implanted bio-impedance circuit would typically use a modulated excitation signal for measuring impedance. In that case, the switch, S may be open when there is no signal present and may be closed whenever a signal is present. For example, if a Demodulator Signal is present for 1 ms every 100 ms, switch S would be closed during all or a part of the time that Signal In is present. Switch S may also be operated such that it does not close on every instance when Demodulator Signal is present. The switch S, may be closed on every 10th or 100th instance when Demodulator Signal is present. A third possibility is to close switch S only when Signal Out causes the Integrator to reach an unacceptable threshold. The integrator reaching an unacceptable threshold may be indicative that the reference voltage provided by the RC combination is no longer providing a sufficiently good estimate of the nominal signal component and so needs to be updated with new information.
Turning now to FIG. 39D, there is depicted an alternative embodiment of nominal offset removal module. A further improvement on the Nominal Offset Removal module is shown in FIG. 39D. If it is desired to measure two or more different impedance signals it will be necessary to have a different nominal offset reference voltage provided to amplifier A for each signal. It is also desirable to keep the component count as low as possible. In the diagram below, S0 and S1 may be closed and S2 may be open to provide an offset reference for a first signal with the appropriate combination of R-C 1. S0 and S2 may be closed and S1 may be open to provide an offset reference for a second signal with the appropriate combination of R-C 2. This strategy allows rapid sequential measurement of two or more impedance signals.
With reference to FIG. 40, the signal processing step 370 may include general signal amplification and noise filtering 372. The step of amplification and filtering 372 may include band pass filtering to remove DC offset, for example. The respiratory waveform may then be processed to remove specific noise artifacts 374 such as cardiac noise, motion noise, etc. A clean respiratory waveform may then be extracted 376 along with other waveforms indicative of specific events such as obstructive sleep apnea (OSA), central sleep apnea (CSA), hypopnea, sleep stage, etc. Specific fiducial points may then be extracted and identified (e.g., type, time, and value).
The step of removing specific noise artifacts 374 may be performed in a number of different ways. However, before signal processing 374, both cardiac and motion noise artifact may be mitigated. For example, both cardiac and motion noise artifact may be mitigated prior to signal processing 374 by selection of bio-Z vectors that are less susceptible to noise (motion and/or cardiac) as described previously. In addition, motion artifact may be mitigated before signal processing 374 by minimizing movement of the sensing lead and electrodes relative to the body using anchoring techniques described elsewhere herein. Furthermore, motion artifact may be mitigated prior to signal processing 374 by minimizing relative movement between the current-carrying electrodes and the voltage-sensing electrodes, such as by using combined current-carrying and voltage-sensing electrodes.
After cardiac and motion artifact has been mitigated using the pre-signal processing techniques described above, both cardiac and motion artifact may be removed by signal processing 374.
For example, the signal processing step 374 may involve the use of a low pass filter (e.g., less than 1 Hz) to remove cardiac frequency noise components which typically occur at 0.5 to 2.0 Hz, whereas resting respiration frequency typically occurs below 1.0 Hz.
Alternatively, the signal processing step 374 may involve the use of a band pass or high pass filter (e.g., greater than 1 Hz) to obtain a cardiac sync signal to enable removal of the cardiac noise from the bio-Z signal in real time using an adaptive filter, for example. Adaptive filters enable removal of noise from a signal in real time, and an example of an adaptive filter is illustrated in FIG. 41. To remove cardiac artifact from the bio-Z signal which contains both cardiac noise n(k) and respiratory information s(k), a signal n′(k) that represents cardiac noise is input to the adaptive filter and the adaptive filter adjusts its coefficients to reduce the value of the difference between y(k) and d(k), removing the noise and resulting in a clean signal in e(k). Notice that in this application, the error signal actually converges to the input data signal, rather than converging to zero.
Another signal processing technique to remove cardiac noise is to combine signals from two or more bio-Z vectors wherein respiration is the predominate signal with some cardiac noise. This may also be used to reduce motion artifact and other asynchronous noise. Each of the two or more signals from different bio-Z vectors may be weighted prior to combining them into a resultant signal Vw(i). If it is assumed that (a) the respiratory bio-impedance is the largest component in each measured vector, (b) the non-respiratory signal components in one vector are substantially independent of the non-respiratory components in the other vector, and (c) the ratio of the non-respiratory component to the respiratory components in one vector is substantially equal to the same ratio in the other vector, then a simple weighting scheme may be used wherein each signal is divided by it's historic peak-to-peak magnitude and the results are added. For example, if MA=historical average peak-to-peak magnitude of signal from vector A, MB=historical average peak-to-peak magnitude of signal from vector B, VA(i)=data point (i) from vector A, VB(i)=data point (i) from vector B, then the resultant signal VW(i) (i.e., weighted average of A & B for data point (i)) may be expressed as VW(i)=VA(i)/MA+VB(i)/MB.
Yet another signal processing technique for removing cardiac noise is to subtract a first signal that is predominantly respiration from a second signal that is predominantly cardiac. For example, the first signal may be from a predominantly respiratory bio-Z vector (e.g., vector B-H) with some cardiac noise, and the second signal may be from a predominantly cardiac bio-Z vector (e.g., vector E1-E2) with some respiration signal. Each of the two signals from the different bio-Z vectors may be weighted prior to subtracting them. The appropriate weighting may be determined, for example, by calculating the power density spectra in the range of 2-4 Hz for a range of weighted differences across at least several respiratory cycles. A minimum will occur in the power density spectra for the weighted averages which are sufficiently optimal.
Motion artifact may be removed by signal processing 374 as well. Motion artifact may be identified and rejected using signal processing techniques such as monitoring voltage magnitude, testing the correlation of magnitude and phase, and/or testing correlation at two or more frequencies. Motion artifacts may cause a large change in measured bio-impedance. A typical feature of motion artifacts is that the voltage swings are much larger than respiration. Another feature is that the voltage changes are highly erratic. Using these characteristics, which will be described in more detail below, motion artifact may be removed from the respiration signal.
The step of extracting waveforms indicative of respiration and other events 374 may be better explained with reference to FIGS. 42-46 which schematically illustrate various representative unfiltered bio-Z signals. FIG. 42 schematically illustrates a bio-Z signal 420 with representative signatures indicative normal respiration (i.e., event free) during an awake period 422 and a sleeping period 424. FIG. 43 schematically illustrates a bio-Z signal 430 with representative signatures indicative of normal respiration during sleeping periods 424 interrupted by a period of motion 432 (i.e., motion artifact). FIG. 44 schematically illustrates a bio-Z signal 440 with representative signatures indicative of normal respiration during a sleeping period 424 followed by periods of hypopnea (HYP) 442 and recovery 444. FIG. 45 schematically illustrates a bio-Z signal 450 with representative signatures indicative of normal respiration during a sleeping period 424 followed by periods of obstructive sleep apnea (OSA) 452 and recovery 454 (which typically includes an initial gasp 456). FIG. 46 schematically illustrates a bio-Z signal 460 with representative signatures indicative of normal respiration during a sleeping period 424 followed by periods of central sleep apnea (CSA) 462 (which typically includes a cessation in breathing 468) and recovery 464.
The step of extracting 374 waveform data indicative of an awake period 422 vs. a sleep period 424 from a bio-Z signal 420 may be explained in more detail with reference to FIG. 42. In addition, the step of filtering 372 waveform data indicative of motion 432 from a bio-Z signal 430 may be explained in more detail with reference to FIG. 43. One way to determine if a person is awake or moving is to monitor the coefficient of variation (CV) of sequential peak-to-peak (PP) magnitudes over a given period of time. CV is calculated by taking the standard deviation (or a similar measure of variation) of the difference between sequential PP magnitudes and dividing it by the average (or a similar statistic) of the PP magnitudes. N is the number of respiratory cycles which occur in the selected period of time.
The CV may be calculated as follows:
CV = sd ( dPP ) PP _
Where:
sd ( dPP ) = i = 1 N ( dPP i - dPP _ ) ( N - 1 ) dPP _ = i = 1 N ( dPP i ) ( N ) dPP i = PP i + 1 - PP i PP _ = i = 1 N ( PP i ) ( N )
Generally, if the CV is greater than 0.20 over a one minute period then person is awake. Also generally, if the CV is less than 0.20 over a one-minute period then person is asleep. These events may be flagged for the step of fiducial extraction 378 wherein data (e.g., event duration, CV, PP range, PPmin, PPmax, etc.) may be time stamped and stored with an event identifier. If CV is greater than 1.00 over a 20 second period then body movement is affecting the bio-Z signal. By way of example, not limitation, if body movement is detected, then (a) stimulation may be delivered in an open loop fashion (e.g., based on historical respiratory data); (b) stimulation may be delivered constantly the same or lower level; or (c) stimulation may be turned off during the period of movement. The selected stimulation response to detected movement may be preset by the physician programmer or by the patient control device. Other stimulation responses may be employed as will be described hereinafter.
In each of FIGS. 44-46, maximum and minimum peak-to-peak magnitudes (PPmax and PPmin) may be compared to distinguish hypopnea (HYP), obstructive sleep apnea (OSA), and central sleep apnea (CSA) events. Generally, PP values may be compared within a window defined by the event (HYP, OSA, CSA) and the recovery period thereafter. Also generally, the window in which PP values are taken excludes transitional events (e.g., gasp 456, 466). As a general alternative, peak-to-peak phases may be used instead of peak-to-peak magnitude. The hypopnea and apnea events may be flagged for the step of fiducial extraction 378 wherein data (e.g., event duration, CV, PP range, PPmin, PPmax, etc.) may be time stamped and stored with an event identifier.
A typical indication of hypopnea (HYP) and apnea (OSA, CSA) events is a recurrent event followed by a recovery. The period (T) of each event (where PP oscillates between PPmax and PPmin and back to PPmax) may be about 15 to 120 seconds, depending on the individual. The largest PP values observed during hypopneas and apneas are usually between 2 and 5 times larger than those observed during regular breathing 424 during sleep. The ratio of the PPmax to PPmin during recurrent hypopnea and apnea events is about 2 or more. During the event and recovery periods (excluding transitional events), PP values of adjacent respiratory cycles do not typically change abruptly and it is rare for the change in PP amplitude to be more than 50% of PPmax. One exception to this observation is that some people gasp 456, 466 (i.e., transitional event) as they recover from a CSA or OSA event.
The ratio of successive PP magnitudes during normal (non-event) sleep 424 is mostly random. The ratio of successive PP magnitudes during apnea and hypopnea events will tend to be a non-random sequence due to the oscillatory pattern of the PP values. Recurrent apneas and hypopneas may be diagnosed by applying a statistical test to the sequence of successive PP ratios.
The step of extracting 374 waveform data indicative of an hypopnea event 442 from a bio-Z signal 440 may be explained in more detail with reference to FIG. 44. The ratio of PPmax to PPmin during recurrent hypopneas is typically between 2 and 5. This is in contrast to CSA's which have very small PPmin due to the complete cessation of breathing. This results in CSA's having PPmax to PPmin ratios larger than 5. Accordingly, hypopnea events may be detected, identified and flagged for the step of fiducial extraction 378 wherein data (e.g., event duration, CV, PP range, PPmin, PPmax, etc.) may be time stamped and stored with an event identifier.
The step of extracting 374 waveform data indicative of an OSA event 452 from a bio-Z signal 450 may be explained in more detail with reference to FIG. 45. The sharp change 456 in the bio-Z respiratory magnitude due to OSA is typically in the range of 1 to 4 times the magnitude of the peak-to-peak respiratory cycle magnitude. The sharp change 456 typically takes less than 5 seconds to occur. OSA tends to occur in a recurring sequence where the period (T) between sequential events is between 15 and 120 seconds. A one-minute period is commonly observed. According to these characteristics, OSA events may be detected, identified and flagged for the step of fiducial extraction 378 wherein data (e.g., event duration, CV, PP range, PPmin, PPmax, etc.) may be time stamped and stored with an event identifier.
The step of extracting 374 waveform data indicative of a CSA event 462 from a bio-Z signal 460 may be explained in more detail with reference to FIG. 46. The behavior of the Bio-Z signal throughout recurrent CSA events differ from other hypopnea and OSA in three ways. First, during CSA there is complete cessation of respiratory activity which results in a flat Bio-Z signal. This means the ratio of PPmax to PPmin is typically greater than 5 during recurrent CSA events. The duration of the estimated respiratory cycle may also be used to distinguish between CSA from OSA and hypopnea. The lack of respiratory activity during CSA results in an inflated estimate for the respiratory cycle period. The PP typically does not vary by more than 50% for successive cycles. The respiratory cycle duration during a CSA event is more than twice as long as the duration of the respiratory cycles preceding the CSA event. Second, during CSA the Bio-Z magnitude will drift outside the PP magnitude range observed during respiration. It has been observed that with the onset of central sleep apnea (CSA) the magnitude and phase of the Bio-Z signal settle to a steady-state value outside the peak-to-peak range observed during the normal respiratory cycle during sleep. Third, upon arousal from CSA a person will typically gasp. This gasp results in a large PP. The PP of the first respiratory cycle following the CSA event and the PP observed during the CSA (which is essentially noise) will exceed 50% of PPmax.
With continued reference to FIG. 6, the flat portions 468 of the data traces are periods of respiratory cessation. Upon arousal the subject gasps 466 and the raw bio-Z signal resumes cyclic oscillation above the static impedance level observed during CSA. According to these characteristics, CSA events may be detected, identified and flagged for the step of fiducial extraction 378 wherein data (e.g., event duration, CV, PP range, PPmin, PPmax, etc.) may be time stamped and stored with an event identifier.
The step of extracting 374 waveform data indicative of sleep stage (e.g., rapid eye movement (REM) sleep vs. no-rapid eye movement (NREM) sleep) may be performed by comparing the phase difference between a first vector and a second vector wherein the first bio-Z vector is along the lung-diaphragm-liver interface (e.g., vector A-K or vector B-K) and the second bio-Z vector is about the lung(s). Examples of the first bio-Z vector include A-K, B-K, A-E 1, B-E 1, and A-B. Examples of the second bio-Z vector include D-F, B-D, C-G, D-E 1, and C-E 1. Note that some vector combinations which share a common vector endpoint such as A-E 1, D-E 1 and B-E 1, B-D may use a common electrode and to simplify the respiratory sensing lead or leads. Typically, during NREM sleep, the two vectors are substantially in phase. During REM sleep, the diaphragm is the primary respiratory driver and a common consequence is paradoxical motion of the ribcage and diaphragm (i.e., the two vectors are substantially out of phase). This characteristic would allow for an effective monitor of a person's ability to reach REM sleep. Accordingly, REM and NREM sleep stages may be detected, identified, and flagged for the step of fiducial extraction 378 wherein characteristic data (e.g., event duration, phase, etc.) may be time stamped and stored with an event identifier.
An alternative method of detecting an OSA event is to make use of a split current electrode arrangement as shown in FIG. 47 which shows the positions of three electrodes on the subject. Electrode A may be above the zyphoid, electrode B may be just above the belly button, and electrode C may be on the back a couple of inches below electrode A. Electrodes A and B are connected to a common constant current source through resistors R1 and R2. The voltage measured across the current source is a measure of the bio-impedance during normal respiration. The voltage across R1 is an indicator of the paradoxical motion associated with apnea. An unbalanced current split between R1 and R2 resulting in large bio-Z voltage swings is indicative of OSA. During normal respiration or even very deep breaths there is almost no effect on the apnea detection channel. Accordingly, OSA events may be detected, identified, and flagged for the step of fiducial extraction 378 wherein characteristic data (e.g., event duration, voltage swing magnitude, etc.) may be time stamped and stored with an event identifier.
Generally, the extracted 378 waveform and event data may be used for therapy tracking, for stimulus titration, and/or for closed loop therapy control. For example, data indicative of apneas and hypopneas (or other events) may be stored by the INS 50 and/or telemetered to the patient controlled 40. The data may be subsequently transmitted or downloaded to the physician programmer 30. The data may be used to determine therapeutic efficacy (e.g., apnea hypopnea index, amount of REM sleep, etc.) and/or to titrate stimulus parameters using the physician programmer 30. The data may also be used to control stimulus in a closed loop fashion by, for example, increasing stimulus intensity during periods of increased apnea and hypopnea occurrence or decreasing stimulus intensity during periods of decreased apnea and hypopnea occurrence (which may be observed if a muscle conditioning effect is seen with chronic use). Further, the data may be used to turn stimulus on (e.g., when apnea or hypopnea events start occurring or when motion artifact is absent) or to turn stimulus off (e.g., when no apnea or hypopnea events are occurring over a present time period or when motion artifact is predominant).
Description of Stimulus Trigger Algorithms
As mentioned previously with reference to FIG. 39, the neurostimulation system described herein may operate in a closed-loop process wherein the step of delivering stimulation 390 to the targeted nerve may be a function of a sensed feedback parameter (e.g., respiration). For example, stimulation of the hypoglossal nerve may be triggered to occur during the inspiratory phase of respiration. In a health human subject, the hypoglossal nerve is triggered about 300 mS before inspiration. Accordingly, a predictive algorithm may be used to predict the inspiratory phase and deliver stimulation accordingly. FIG. 48 schematically illustrates a system 480 including devices, data and processes for implementing a self-adjusting predictive trigger algorithm.
The system components 482 involved in implementing the algorithm may include the physician programmer (or patient controller), INS and associated device memory, and the respiratory sensor(s). The sensors and device memory are the sources of real-time data and historical fiducial data which the current algorithm uses to generate a stimulation trigger signal. The data 484 utilized in implementing the algorithm may include patient specific data derived from a sleep study (i.e., PSG data), data from titrating the system post implantation, and historic and real-time respiratory data including respiratory and event fiducials. The processes 486 utilized in implementing the algorithm may include providing a default algorithm pre-programmed in the INS, patient controller or physician programmer, modifying the default algorithm, and deriving a current algorithm used to generate a trigger signal 488.
More specifically, the processes 486 utilized in implementing a predictive trigger algorithm may involve several substeps. First, a default algorithm may be provided to predict onset of inspiration from fiducial data. Selecting an appropriate default algorithm may depend on identifying the simplest and most robust fiducial data subsets which allow effective prediction of onset. It also may depend on a reliable means of modifying the algorithm for optimal performance. Second, modification of the default algorithm may require a reference datum. The reference datum may be the estimated onset for past respiratory cycles. It is therefore useful to precisely estimate inspiratory onset for previous respiratory cycles from historical fiducial data. This estimation of inspiratory onset for previous respiratory cycles may be specific to person, sensor location, sleep stage, sleep position, or a variety of other factors. Third, the current algorithm may be derived from real-time and historical data to yield a stimulation trigger signal 488.
As alluded to above, a trigger algorithm, such as, for example, trigger algorithm 4700 depicted in FIG. 47A, may be applied to a detected respiratory signal to begin and/or control delivery of the stimulation signal. As illustrated, trigger algorithm 4700 may include a plurality of sub-routines 4701-4703 for performing various analyses on a sensed respiratory signal. These sub-routines may include, but are not limited to, performing peak detection 4701, error checking 4702, and prediction 4703, on a detected respiratory signal.
With reference now to FIG. 47D, there is depicted an exemplary sensed respiratory signal 4750. Respiratory signal 4750 may be displayed as a substantially sinusoidal waveform having a component that varies with time. As shown in FIG. 47D, respiratory signal 4750 may include a plurality of peaks, such as, for example, the peak located at v4t4, and a plurality of valleys, such as, for example, the valley located v−4t−4. Therefore, as will be discussed in greater detail below, peak detection sub-routine 4701 may be applied to sensed respiratory signal 4750 to detect the peaks of signal 4750. Error checking sub-routine 4702 may be applied to signal 4750 to, among other things, ensure signal 4750 is an accurate representation of a patient's respiration and free from undesirable artifacts caused by, for example, a patient's movement or cardiac activity. Prediction sub-routine 4703 may then be applied to signal 4750 to predict when future peaks will occur in accordance with the sensed signal 4750.
With reference to FIG. 47B, peak detection 4701 may include a plurality of steps 4701a-g. Step 4701a may include first detecting the peaks, such as, for example, the peak located at v4t4, of signal 4750. The detected peaks may be an indication of when onset of expiration occurs during the monitored respiratory cycles. Next, step 4701b may include acquiring and/or considering a new voltage Vk, where Vk may be the most recently acquired data point time Tk under consideration, where a number of recently acquired data points may be under consideration. Step 4701c may determine whether the data points under consideration meet the criteria to indicate that a minimum (min) peak has been detected. One example of such a criteria to indicate a minimum peak has been detected is if the oldest data point under consideration, Vk+m is less than more recent data points under consideration, (Vk+m−1 . . . Vk), which can be expressed mathematically as Vk+m≤min (Vk+m−1 . . . Vk). Another example of such a criteria to indicate a minimum peak has been detected is if the most recent data point under consideration, Vk, is greater than all other less-recently acquired data points under consideration, (Vk+m . . . Vk+1), which can be expressed mathematically as Vk≥max (Vk+m . . . Vk+1). If the criteria for detecting a minimum peak is not met, step 4701b may be repeated to acquire and/or consider a new voltage Vk. If the criteria has been met, step 4701d may declare a minimum peak reference. Next, step 4701e may again acquire and/or consider a new voltage Vk. Subsequently, step 4701f may determine whether the data points under consideration meet the criteria to indicate a maximum peak has been detected. One example of such a criteria to indicate a maximum peak has been detected is if the oldest data point under consideration, Vk+m, is greater than more recent data points under consideration (Vk+m−1 . . . Vk), which can be expressed mathematically as Vk+m≥max (Vk+m−1 . . . Vk). Another example of such a criteria to indicate a maximum peak has been detected is if the most recent data point under consideration, Vk, is less than all other less-recently acquired data points under consideration, (Vk+m . . . Vk+1), which can be expressed mathematically as Vk≥max (Vk+m . . . Vk+1). If the criteria for detecting a maximum peak is not met, step 4701e may be repeated to acquire and/or consider a new voltage Vk. If the criteria has been met, step 4701g may declare a maximum peak, and trigger algorithm 4700 may proceed to error-checking sub-routine 4702. The declared peak will depend on the criteria used for peak detection. For example, if the criteria for detecting a peak was based on comparing Vk to less recently acquired data points, (Vk+m . . . Vk+1), then the peak magnitude and time would be declared to be Vk+m/2, tk+m/2. As another example, if the criteria for detecting a peak was based on comparing the oldest considered data point, Vk+m, to more recently acquired data points (Vk+m−1 . . . Vk), then the peak magnitude and time would be declared to be Vk+m, tk+m.
With reference now to FIG. 47C, error-checking sub-routine 4702 may include a plurality of steps 4702a-e to determine whether a sensed respiratory signal may be adequate for respiration detection. For example, step 4702a, peak correction, may include receiving information relating to the peaks detected in step 4701 and corrections, as necessary. Next, steps 4702b-e may include analyzing the sensed respiratory signal to determine whether the signal includes “noise” caused by a patient's movement (4702b), whether the signal is sub-threshold (e.g., has a relatively low amplitude) (4702c), whether the signal is sufficiently stable (4702d), and whether the inversion detection is possible with the sensed signal (4702e). If the sensed signal passes all of error-checking steps 4702b-e, trigger algorithm 4700 may proceed to prediction sub-routine 4703. However, if the sensed signal fails any of steps 4702b-e, the trigger algorithm may terminate and the pulse generator (e.g., INS 50) may either cease stimulation, continue stimulation with continuous pulses of predetermined duration, and/or continue to stimulate at the same or a fraction (e.g., one quarter) of the stimulation rate for the most recently measured respiratory cycle, as discussed in greater detail below.
As described above, a peak is declared for a given set of data points under consideration when a peak detection criteria is met. The declared peak itself may be used in further algorithm calculations or a more precise estimate of peak time and voltage may be calculated. The more precise estimates of peak time and voltage are referred to as the peak correction. With regard to step 4702a, peak correction may be calculated as follows:
ΔVpk,i=Vpk,j−Vpk,i−1 for −n≤i≤n
Vpk,0 is defined to be the declared peak for which a correction is being calculated. The difference in voltage between successive data points is calculated for a given number of data points, n, to either side of the declared peak.
Δ V pk , 0 th = 1 2 n Σ ( Δ V pk , i )
The peak in signal ideally occurs when the rate of change of the signal is zero. Taking successive differences in measured voltage is an approximation to the rate of change of the signal. Linear regression is used on a range of successive differences to estimate the point in time when the rate of change is zero. Due to the fact that the data points are collected at equal increments of time, calculating the statistics ΔVpk,0th, ΔVpk,1st and DEN allows a simple calculation based on linear regression to estimate the point in time at which the rate of change of the signal is zero.
Δ V pk , 1 st = Σ ( i * Δ V pk , i ) for - n i < n DEN = Σ ( i 2 ) for - n i n Correction = Δ V pk , 0 th ( DEN Δ V pk , 1 st )
Additionally, an estimated peak time after correction may be determined as follows:
t′pk,0=tpk,0+Correction
With regards to step 4702e, a peak curvature estimate for inversion detection can be obtained from one of the statistics, ΔVpk,1st, calculated for peak correction. Maximum peaks are sharper than minimum peaks and so typically have higher values of ΔVpk,1st. One means of determining if a signal is inverted would be to compare the values of ΔVpk,1st for a series of maximum peaks to a series of minimum peaks.
With renewed reference to FIG. 47A, prediction sub-routine 4703 may include predicting the time between sequentially identified peaks with either a parametric option or a non-parametric option. The parametric option makes a prediction of the duration of the next respiratory period based on the average duration of recent respiratory cycles and the rate of change of the duration of recent respiratory cycles. The parametric option also takes advantage of the fact that data points are collected at equal increments of time which simplifies the linear regression calculation. The parametric option may be defined as follows:
Δti=ti−ti−1
Zeroth order estimate of next peak.
Δ t 0 , 0 th = 1 / h · Σ ( Δ t i ) , for 1 i n
where n is the number of past respiration cycles used
First Order Estimate
Δ t 0 , 1 st = Σ ( i - ( n + 1 2 ) * Δ t i ) , for 1 i n DEN 1 = Σ ( ( i - ( n + 1 2 ) ) 2 ) , for 1 i n
Predicted Interval Length for Current Respiration Cycle
Δ t 0 , pred = Δ t 0 , 0 th + ( Δ t 0 , 1 st DEN 1 ) · ( n + 1 2 )
Next Predicted Offset at
t0,pred=ti+Δt0,pred
Begin therapy delivery at:
ttherapy=t1+(1−DC)*Δt0,pred, where DC may be the allowable duty cycle for therapy delivery.
The non-parametric option is very similar to the parametric option in that it also estimates the duration of the next respiratory period based on the nominal duration of recent respiratory cycles and the rate of change of the duration of recent respiratory periods. The method is explained in more detail in “Nonparametric Statistic Method” by Hollander and Wolfe in sections related to the Theil statistic and the Hodges-Lehman, there disclose of which is incorporated herein by reference. The non-parametric prediction method may be defined as follows:
Δti=ti−ti−1
Zeroth Order Estimate
Δt0,oth=½ median{Δti+Δtj, i+∈0≤j≤1, . . . , n}
Where ∈0 is optimally 0, 1, 2 or 3
First Order Estimate
S ij = Δ t j - Δ t i j - i 1 i + 1 < j n
where ∈1 is optimally 0, 1, 2, or 3
Δt0,1st=median{Sij, 1≤i≤∈1<j≤n}
Predicted Interval Length for Current Respiration cycle
Δ t 0 , pred = Δ t 0 , 0 th + Δ t 0 , 1 st · ( n + 1 2 )
Next Predicted Offset
t0,pred=t1+Δt0,pred
Begin Therapy Delivery at
ttherapy=t1+(1−DC))*Δt0,pred, where DC may be the allowable duty cycle for therapy delivery.
Stimulation may then commence at the calculated ttherapy.
With reference to FIG. 48, a self adjusting predictive algorithm may be implemented in the following manner.
The Programmer block illustrates means by which PSG-derived data may be uploaded into the device.
The Sensors and Device Memory block includes the sources of real-time data and historical fiducial variables which the current algorithm uses to generate a stimulation trigger signal.
The Patient PSG Titration Data block includes conventional polysomnographic (PSG) data obtained in a sleep study. A self-adjusting predictive algorithm utilizes a reference datum to which the algorithm can be adjusted: Onset may be defined as onset of inspiration as measured by airflow or pressure sensor used in a sleep study, for example. Estimated Onset may be defined as an estimate of Onset calculated solely from information available from the device sensors and memory. To enable the predictive algorithm to be self-adjusting, either Onset or Estimated Onset data is used. During actual use, the implanted device will typically not have access to Onset as that would require output from an airflow sensor. The device then may rely on an estimate of Onset or Estimated Onset. The calibration of Estimated Onset to Onset may be based on PSG data collected during a sleep study. The calibration may be unique to a person and/or sleep stage and/or sleep position and/or respiratory pattern.
The Historical Fiducial Variables block represents the Historical Fiducial Variables (or data) which have been extracted from the bio-Z waveform and stored in the device memory. This block assumes that the raw sensor data has been processed and is either clean or has been flagged for cardiac, movement, apnea or other artifacts. Note that fiducial data includes fiducials, mathematical combinations of fiducials or a function of one or more fiducials such as a fuzzy logic decision matrix.
The Real-Time Data and Historical Fiducial Variables block incorporates all the information content of the Historical Fiducial Variables block and also includes real-time bio-Z data.
The Default Algorithm block represents one or more preset trigger algorithms pre-programmed into the INS or physician programmer. The default algorithm used at a specific point in time while delivering therapy may be selected from a library of pre-set algorithms. The selection of the algorithm can be made automatically by the INS based on: patient sleep position (position sensor), heart rate (detectable through the impedance measuring system) or respiration rate. Clinical evidence supports that the algorithm used to predict the onset of inspiration may be dependant on sleep position, sleep state or other detectable conditions of the patient.
The Modify Algorithm block represents the process of modifying the Default Algorithm based on historical data to yield the Current Algorithm. Once the calibration of Estimated Onset to Onset is resident in the device memory it can be used to calculate Estimated Onset for past respiratory cycles from Fiducial Variables. The variable used to represent the Estimated Onset will be TEST or TEST(i) where the “i” indicates the cycle number. Note that Estimated Onset is calculated for past respiratory cycles. This means that sensor fiducial variables which either proceed or follow each Onset event may be used to calculate the Estimated Onset.
The Current Algorithm block represents the process of using the Modified Default Algorithm to predict the next inspiratory onset (Predicted Onset). The Predicted Onset for the next respiratory cycle may be calculated from real-time data and historical fiducial variables. The calculation may be based on the Modified Default Algorithm. Modification of the Modified Default Algorithm to derive the Current Algorithm may be dependent on the calibration of Estimated Onset to Onset which was input from the physician programmer and may be based on comparison of real-time bio-Z data to data collected during a PSG titration study. The Current Algorithm may use historic and/or real-time sensor fiducial variables to predict the next onset of inspiration. This predicted onset of inspiration may be referred to as Predicted Onset. The variable used to represent Predicted Onset may be TPRED or TPRED(i) where the “i” indicates the respiratory cycle.
The Stimulation Trigger Signal block represents the Current Algorithm generating a trigger signal which the device uses to trigger stimulation to the hypoglossal nerve.
FIG. 49 is a table of some (not all) examples of waveform fiducials which can be extracted from each respiratory cycle waveform. For each fiducial there is a magnitude value and a time of occurrence. Each waveform has a set of fiducials associated with it. As a result, fiducials may be stored in the device memory for any reasonable number of past respiratory cycles. The values from past respiratory cycles which are stored in device memory are referred to as Historical Fiducial Variables.
The graphs illustrated in FIG. 50 are examples of fiducials marked on bio-Z waveforms. The first of the three graphs illustrate the bio-impedance signal after it has been filtered and cleared of cardiac and motion artifacts. The first graph will be referred to as the primary signal. The second graph is the first derivative of the primary signal and the third graph is the second derivative of the primary signal. Each graph also displays a square wave signal which is derived from airflow pressure. The square wave is low during inspiration. The falling edge of the square wave is onset of inspiration.
Due to the fact that it may be difficult to identify onset of inspiration in real-time from respiratory bio-impedance, a goal is to construct an algorithm which can reliably predict onset of inspiration “T” for the next respiratory cycle from information available from the current and/or previous cycles. A reliable, distinct and known reference point occurring prior to onset of inspiration, “T”, is “A”, the peak of the primary signal in the current cycle. As can be seen in FIG. 50, the upper peak of the bio-Z waveform “A” approximately corresponds to the onset of expiration “O.” A dependent variable tT−PK is created to represent the period of time between the positive peak of the primary signal for the current cycle, t·Vmax(n), indicated by “An” on the graph, and onset of inspiration for the next cycle, t·onset(n+1), indicated by “T” on the graph. The variable tT−PK may be defined as:
tT−PK=t·onset(n+1)−t·Vmax(n)
Note that t·Vmax could be replaced by any other suitable fiducial in defining a dependent variable for predicting onset.
A general model for a predictive algorithm may be of the following form:
tT−PK=f(fiducials extracted from current and/or previous cycles)
A less general model would be to use a function which is a linear combination of Fiducial Variables and Real-Time Data.
The following fiducials may be both highly statistically significant and practically significant in estimating T:
t·Vmax(n)=the time where positive peak occurs for the current cycle;
t·dV·in(n)≈the time of most positive 1st derivative during inspiration for the current cycle; and
t·Vmax(n−1)=the time of positive peak for the previous cycle.
This model can be further simplified by combining the variables as follows:
Δt·pk(n)=t·Vmax(n)−t·Vmax(n−1)
Δt·in(n)=t·Vmax(n)−t·dV·in(n)
Either Δt·pk(n) or Δt·in(n) is a good predictor of Onset.
The following example uses Δt·pk(n). The time from a positive peak until the next inspiration onset can be estimated by:
Tpred=t·Vmax(n)+k0+k1*Δt·pk(n)
The coefficients k0 and k1 would be constantly modified by optimizing the following equation for recent historical respiratory cycles against Test:
Test≈t·Vmax(n)+k0+k1*Δt·pk(n)
Thus, the predictive trigger time Tpred may be determined by adding tT−PK to the time of the most recent peak (PK) of the bio-Z signal, where:
tT−PK=k0+k1*Δt·pk(n)
The predictive equation we are proposing is based on the fact that the very most recent cycle times should be negatively weighted. Regression analysis supports this approach and indicates a negative weighting is appropriate for accurate prediction of onset. Thus, predicting onset is more effective if the most recent historical cycle time is incorporated into an algorithm with a negative coefficient.
As noted above, stimulation may be delivered for only a portion of the respiratory cycle, such as, for example, during inspiration. Additionally, it may be desirable to begin stimulation approximately 300 milliseconds before the onset of inspiration to more closely mimic normal activation of upper airway dilator muscles. However, predicting and/or measuring inspiration, in particular, the onset of inspiration, may be relatively challenging. Thus, since the onset of expiration may be relatively easy to measure and/or predict (as discussed in greater detail below) when an adequate measure of respiration is available, it is contemplated that stimulation may be triggered as a function of expiration onset.
Turning now to FIG. 50A, there is depicted an exemplary respiratory waveform 5500 for two complete respiratory cycles A and B. In analyzing exemplary waveform 5500, it may be determined that peaks M of the waveform 5500 may indicate onset of the expiratory phases of respiration cycles A and B. Furthermore, it may be discovered that peaks M occur at regular intervals of approximately 3-4 seconds. Thus, it may be relatively easy to predict the occurrence of subsequent peaks M, and consequently, the onset of expiration for future respiratory cycles.
Therefore, in order to deliver a stimulus to a patient in accordance with the principles of the present disclosure, the start of stimulation may be calculated by first predicting the time intervals between the start of expiration for subsequently occurring respiratory cycles. Next, in order to capture the entire inspiratory phase, including the brief pre-inspiratory phase of approximately 300 milliseconds, stimulation may be started at the time N that is prior to the next onset of expiration by approximately 30% to 50% of the time between subsequently occurring expiratory phases. Stimulating less than 30% or more than 50% prior to the next expiratory phase may result in an inadequate stimulation period and muscle fatigue, respectively.
In some embodiments, however, it is contemplated that an adequate measure of respiration may not be available, such as, for example, when a relied upon signal has failed. In these embodiments, it is contemplated that the implanted neurostimulator system may be configured to respond in one or more of the following three ways. First, the implanted neurostimulator may completely cease stimulation until an adequate signal is acquired. Second, the neurostimulator may deliver continuous simulation pulses of predetermined durations (e.g., up to 60 seconds) until an adequate signal is acquired; or if an adequate signal is not acquired in this time, the stimulation will be turned off. Third, the neurostimulator may continue to stimulate at the same or a fraction (e.g., one quarter) of the stimulation rate for the most recently measured respiratory cycle. That is to say, the neurostimulator may deliver stimulation pulses of relatively long durations at a frequency that is less than the frequency of stimulation utilized with an adequate measure of respiration. Alternatively, the neurostimulator may deliver stimulation pulses of relatively short durations at a frequency that is greater than the frequency used with an adequate measure of respiration.
Description of an Exemplary Stimulation Pulse
Turning now to FIG. 50B, there is depicted an exemplary stimulation pulse waveform 5000 that may be emitted from an INS in accordance with the principles of the present disclosure. Typically, exemplary stimulation pulse waveform 5000 may include a square wave pulse train having one or more square wave pulses 5001 of approximately 1 to 3 volts in amplitude, a duration of approximately 100 ms, and a frequency of approximately 30 Hz, assuming a 1000 ohm impedance at the electrodes and a constant current or voltage.
In some embodiments, exemplary stimulation pulse waveform 5000 may include a bi-phasic charge balanced waveform square pulses 5001 and 5002, as depicted in FIG. 50B. Square pulse 5002 may be included in waveform 5000 to, among other things, promote efficient stimulation and/or mitigate electrode corrosion. However, square pulse 5002 may be excluded from waveform 5000 as desired. Furthermore, although the depicted exemplary waveform 5000 includes square pulse 5002 that exactly balances the stimulation wave pulse 5001, in certain circumstances, square pulse 5002 may not exactly balance the stimulation wave pulse 5001, and may not be a square pulse.
In some embodiments, exemplary stimulation pulse waveform 5000 may include the delivery of a low amplitude (e.g., below the stimulation threshold), long duration, pre-stimulation pulse 5004. The pre-stimulation pulse 5004 may include any suitable low amplitude, long duration pulse, and may be provided approximately 0.5 ms before the delivery of a first stimulation pulse 5001.
Pre-stimulation pulse 5004 may facilitate selectively stimulating certain fibers of a nerve, such as, for example, the hypoglossal nerve or the superior laryngeal nerve. In particular, when stimulating the hypoglossal nerve, the presence of a pre-stimulation pulse, such as, for example, pulse 5004, before a stimulation pulse (e.g., the bi-phasic stimulation pulse 5001 depicted in FIG. 50B) may serve to saturate the large diameter fibers of the nerve so as to allow the stimulation pulse 5001 to only affect (e.g., stimulate) the smaller diameter fibers of the nerve. In circumstances where a nerve (e.g., the hypoglossal nerve) may be stimulated for extended periods of time, a pre-stimulation pulse 5004 may be selectively introduced to waveform 5000, so as to permit selective switching between stimulating the large and small diameter fibers of the nerve, in order to reduce muscle fatigue. Similarly, in situations where OSA may be treated by stimulating the superior laryngeal nerve to open the upper airway through a reflex mechanism, the presence of pre-stimulation pulse 5004 may serve to saturate the larger diameter efferent fibers so as to allow the stimulation pulse 5001 to only affect the smaller diameter afferent fibers of the nerve.
Description of External (Partially Implanted) System
With reference to FIGS. 51A and 51B, an example of an external neurostimulator system inductively coupled to an internal/implanted receiver is shown schematically. The system includes internal/implanted components comprising a receiver coil 910, a stimulator lead 60 (including lead body 62, proximal connector and distal nerve electrode 64). Any of the stimulation lead designs and external sensor designs described in more detail herein may be employed in this generically illustrated system, with modifications to position, orientation, arrangement, integration, etc. made as dictated by the particular embodiment employed. The system also includes external components comprising a transmit coil 912 (inductively linked to receiver coil 910 when in use), an external neurostimulator or external pulse generator 920 (ENS or EPG), and one or more external respiratory sensors 916/918.
As illustrated, the receiver coil 910 is implanted in a subcutaneous pocket in the pectoral region and the stimulation lead body 62 is tunneled subcutaneously along the platysma in the neck region. The nerve electrode 64 is attached to the hypoglossal nerve in the submandibular region.
The transmitter coil 912 may be held in close proximity to the receiver coil 910 by any suitable means such as an adhesive patch, a belt or strap, or an article of clothing (e.g., shirt, vest, brazier, etc.) donned by the patient. For purposes of illustration, the transmitter coil 912 is shown carried by a t-shirt 915, which also serves to carry the ENS 920 and respiratory sensor(s) 916, 918. The ENS 920 may be positioned adjacent the waist or abdomen away from the ribs to avoid discomfort while sleeping. The respiratory sensor(s) 916, 918 may be positioned as a function of the parameter being measured, and in this embodiment, the sensors are positioned to measure abdominal and thoracic/chest expansion which are indicative of respiratory effort, a surrogate measure for respiration. The external components may be interconnected by cables 914 carried by the shirt or by wireless means. The shirt may incorporate recloseable pockets for the external components and the components may be disconnected from the cables such that the reusable components may be removed from the garment which may be disposed or washed.
The transmitting coil antenna 912 and the receiving coil antenna 910 may comprise air core wire coils with matched wind diameters, number of wire turns and wire gauge. The wire coils may be disposed in a disc-shaped hermetic enclosure comprising a material that does not attenuate the inductive link, such as a polymeric or ceramic material. The transmitting coil 912 and the receiving coil 910 may be arranged in a co-axial and parallel fashion for coupling efficiency, but are shown side-by-side for sake of illustration only.
Because power is supplied to the internal components via an inductive link, the internal components may be chronically implanted without the need for replacement of an implanted battery, which would otherwise require re-operation. Examples of inductively powered implantable stimulators are described in U.S. Pat. No. 6,609,031 to Law et al., U.S. Pat. No. 4,612,934 to Borkan, and U.S. Pat. No. 3,893,463 to Williams, the entire disclosures of which are incorporated herein by reference.
With reference to FIGS. 51C-51G, alternative embodiments of an external neurostimulator system inductively coupled to an internal/implanted receiver are schematically shown. These embodiments are similar to the external embodiment described above, with a few exceptions. In these embodiments, the receiver coil 910 is implanted in a positioned proximate the implanted stimulation lead body 62 and nerve electrode 64. The receiver coil 910 may be positioned in a subcutaneous pocket on the platysma muscle under the mandible, with the lead body 62 tunneling a short distance to the nerve electrode 64 attached to the hypoglossal nerve. Also in these embodiments, the respiratory sensor(s) 916/918 may be integrated into the ENS 920 and attached to a conventional respiratory belt 922 to measure respiratory effort about the abdomen and/or chest. An external cable 914 connects the ENS 920 to the transmitter coil 912.
In the embodiment of FIG. 51D, the transmitter coil 912 is carried by an adhesive patch 924 that may be placed on the skin adjacent the receiver coil 910 under the mandible. In the embodiment of FIG. 51E, the transmitter coil 912 is carried by an under-chin strap 926 worn by the patient to maintain the position of the transmitter coil 912 adjacent the receiver coil 910 under the mandible. In the embodiment of FIG. 51F, the receiver coil 910 may be positioned in a subcutaneous pocket on the platysma muscle in the neck, with the lead body 122 tunneling a slightly greater distance. The transmitter coil 912 may be carried by a neck strap 928 worn by the patient to maintain the position of the transmitter coil 912 adjacent the receiver coil 910 in the neck.
With reference to FIGS. 51G-51K, additional alternative embodiments of an external neurostimulator system inductively coupled to an internal/implanted receiver are schematically shown. These embodiments are similar to the external embodiment described above, with a few exceptions. As above, the receiver coil 910 may be positioned in a subcutaneous pocket on the platysma muscle under the mandible, with the lead body 62 tunneling a short distance to the nerve electrode 64 attached to the hypoglossal nerve. However, in these embodiments, the ENS 920 (not shown) may be located remote from the patient such as on the night stand or headboard adjacent the bed. The ENS 920 may be connected via a cable 930 to a large transmitter coil 912 that is inductively coupled to the receiver coil 910. The respiratory sensor 916 may comprise a conventional respiratory belt 922 sensor to measure respiratory effort about the abdomen and/or chest, and sensor signals may be wirelessly transmitted to the remote ENS 920. As compared to other embodiments described above, the transmitter coil 912 is not carried by the patient, but rather resides in a proximate carrier such as a bed pillow, under a mattress, on a headboard, or in a neck pillow, for example. Because the transmitter coil 912 is not as proximate the receiver coil as in the embodiments described above, the transmitter coil may be driven by a high powered oscillator capable of generating large electromagnetic fields.
As shown in FIG. 51H, the transmitter coil 912 may be disposed in a bed pillow 934. As shown in FIG. 51I, the transmitter coil 912 may comprise a series of overlapping coils disposed in a bed pillow 934 that are simultaneously driven or selectively driven to maximize energy transfer efficiency as a function of changes in body position of the patient corresponding to changes in position of the receiver coil 910. This overlapping transmitter coil arrangement may also be applied to other embodiments such as those described previously wherein the transmitter coil is carried by an article donned by the patient. In FIG. 51J, two or more transmitter coils 912 are carried by orthogonal plates 936 arranged as shown to create orthogonal electromagnetic fields, thereby increasing energy transfer efficiency to compensate for movement of the patient corresponding to changes in position of the receiver coil 910. FIG. 51J also illustrates a non-contact respiratory sensor 916 arrangement as utilized for detecting sudden infant death syndrome (SIDS). As shown in FIG. 51K, two orthogonal transmitter coils 912 are located on each side of a neck pillow 938, which is particularly beneficial for bilateral stimulation wherein a receiver coil 910 may be located on either side of the neck.
With reference to FIGS. 51L (front view) and 51M (rear view), external respiratory effort sensors 916/918 are schematically shown incorporated into a stretchable garment 945 donned by the patient. The sensors 916/918 generally include one or more inductive transducers and an electronics module 942. The inductive transducers may comprise one or more shaped (e.g., zig-zag or sinusoidal) stranded wires to accommodate stretching and may be carried by (e.g., sewn into) the garment 945 to extend around the patient's abdomen and chest, for example. As the patient breathes, the patient's chest and/or abdomen expands and contracts, thus changing the cross-sectional area of the shape (i.e., hoop) formed by the wire resulting in changes in inductance. The electronics module may include an oscillator (LC) circuit with the inductive transducer (L) comprising a part of the circuit. Changes in frequency of the oscillator correspond to changes in inductance of the shaped wires which correlate to respiratory effort. The electronics module may be integrated with an ENS (not shown) or connected to an ENS via a wired or wireless link for triggering stimulus as described previously.
The garment 945 may include features to minimize movement artifact and accommodate various body shapes. For example, the garment 945 may be form-fitting and may be sleeveless (e.g., vest) to reduce sensor artifacts due to arm movement. Further, the garment 945 may be tailored to fit over the patient's hips with a bottom elastic band which helps pull the garment down and keep the sensors 916/918 in the proper location.
Description of a Specific External (Partially Implanted) Embodiment
With reference to FIGS. 52A-52G a specific embodiment utilizing an external neurostimulator system inductively coupled to an internal/implanted receiver is schematically shown. With initial reference to FIG. 52A, the illustrated hypoglossal nerve stimulator includes several major components, namely: an implantable electronics unit that derives power from an external power source; a stimulation delivery lead that is anchored to the nerve or adjacent to the nerve and provides electrical connection between the electronics unit and the nerve, an external (non-implanted) power transmitting device that is inductively coupled with the implant to convey a powering signal and control signals; a power source for the external device that is either small and integrated into the body-worn coil and transmitter or is wired to the transmitter and transmit induction coil and can be powered by primary or secondary batteries or can be line powered; and a respiratory sensor such as those described previously.
These components may be configured to provide immediate or delayed activation of respiration controlled stimulation. Initiation of the stimulation regimen may be by means of activation of an input switch. Visual confirmation can be by an LED that shows adequate signal coupling and that the system is operating and is or will be applying stimulation. As a means of controlling gentleness of stimulation onset and removal, either pulse width ramping of a constant amplitude stimulation signal can be commanded or amplitude of a constant pulse width stimulation signal or a combination thereof can be performed.
The electrical stimulation signal is delivered by the stimulation lead that is connected to the implanted nerve stimulator and attached to or in proximity of a nerve. The implanted electronics unit receives power through a magnetically coupled inductive link. The operating carrier frequency may be high enough to ensure that several cycles (at least 10) of the carrier, comprise the output pulse. The operating frequency may be in a band of frequencies approved by governmental agencies for use with medical instruments operating at high transmitted radio frequency (RF) power (at least 100 milliwatts). For example, the operating frequency may be 1.8 MHz, but 13.56 MHz is also a good candidate since it is in the ISM (Industrial/Scientific/Medical) band. The non-implanted (external) transmitter device integrates respiration interface, waveform generation logic and transmit power driver to drive an induction coil. The power driver generates an oscillating signal that drives the transmitter induction coil and is designed to directly drive a coil of coil reactance that is high enough or can be resonated in combination with a capacitor. Power can come from a high internal voltage that is used to directly drive the transmit induction coil or power can come from a low voltage source applied to a tap point on the induction coil.
With reference to FIGS. 52B-52E, the waveform generation logic may be used to modulate the carrier in such a way that narrow gaps in the carrier correspond to narrow stimulation pulses. When stimulator pulses are not needed, interruptions to the carrier are stopped but the carrier is maintained to ensure that power is immediately available within the stimulator upon demand. Presence or absence of electrical nerve stimulation is based on respiration or surrogates thereof. The transmitted signal may comprise a carrier of about 1.8 MHz. To control the implanted electronics unit to generate individual nerve stimulation pulses, the carrier signal is interrupted. The duration of the interruption is about equal to the duration of the output stimulation pulse. The stimulation pulses may be about 110 microseconds in duration and are repeated at a rate of approximately 33 per second. In addition, multiple pulses can be transmitted to logic within the implant to control stimulation pulse amplitude, pulse width, polarity, frequency and structure if needed. Further, onset and removal of stimulation can be graded to manage patient discomfort from abruptness. Grading may comprise pulse width control, signal amplitude control or a combination thereof.
An indicator (not shown) may be used to show when the transmitter is properly positioned over the implant. The indicator may be a part of the transmitter or by way of communication with the transmitter, or a part of related patient viewable equipment. Determination of proper position may be accomplished by monitoring the transmitter power output loading relative to the unloaded power level. Alternatively, the implant receive signal level transmitted back by a transmitter within the implant may be monitored to determine proper positioning. Or, the implant receive signal level that is communicated back to the transmitter by momentarily changing the loading properties presented to the transmitter, such a shorting out the receive coil may be monitored to determine proper positioning. Such communication may be by means of modulation such as pulse presence, pulse width, pulse-to-pulse interval, multi-pulse coding.
The transmitter may be powered by an internal primary power source that is used until it is exhausted, a rechargeable power source or a power source wired to a base unit. In the case of the wired base unit, power can be supplied by any combination of battery or line power.
The respiration interface may transduce sensed respiratory activity to an on-off control signal for the transmitter. Onset of stimulation may be approximately correlated slightly in advance of inspiration and lasts through the end of inspiration, or onset may be based on anticipation of the next respiration cycle from the prior respiration cycle or cycles. The respiration sensor may comprise any one or combination of devices capable of detecting inspiration. The following are examples: one or more chest straps; an impedance sensor; an electromyographical measurement of the muscles involved with respiration; a microphone that is worn or is in proximity to the patients' face; a flow sensor; a pressure sensor in combination with a mask to measure flow; and a temperature sensor to detect the difference between cool inspired air versus warmed expired air.
The circuit illustrated in FIG. 52F may be used for the implanted electronics unit. There are five main subsystems within the design: a receive coil, a power rectifier, a signal rectifier, an output switch and an output regulator. The signal from the inductive link is received by L1 which is resonated in combination with C1 and is delivered to both the power and signal rectifiers. Good coupling consistent with low transmitter coil drive occurs when the transmit coil diameter is equal to the receive coil diameter. When coil sizes are matched, coupling degrades quickly when the coil separation is about one coil diameter. A large transmit coil diameter will reduce the criticality of small coil spacing and coil-to-coil coaxial alignment for maximum signal transfer at the cost of requiring more input drive power.
The power rectifier may comprise a voltage doubler design to take maximum advantage of lower signal levels when the transmit to receive coil spacing is large. The voltage doubler operates with an input AC voltage that swing negative (below ground potential) causes D1 to conduct and forces C2 to the maximum negative peak potential (minus a diode drop). As the input AC voltage swings away from maximum negative, the node of C2, D1, D2 moves from a diode drop below ground to a diode drop above ground, forward biasing diode D2. Further upswing of the input AC voltage causes charge accumulated on C2 to be transferred through D2 to C3 and to “pump up” the voltage on C3 on successive AC voltage cycles. To limit the voltage developed across C3 so that an over-voltage condition will not cause damage, and Zener diode, D3 shunts C3. Voltage limiting imposed by D3 also limits the output of the signal rectifier section. The power rectifier has a long time constant, compared to the signal rectifier section, of about 10 milliseconds.
The signal rectifier section may be similar in topology to the power rectifier except that time constants are much shorter—on the order of 10 microseconds—to respond with good fidelity to drop-outs in the transmitted signal. There is an output load of 100K (R1) that imposes a controlled discharge time constant. Output of the signal rectifier is used to switch Q1, in the output switching section, on and off.
The output switching section compares the potential of C3 to that across C5 by means of the Q1, Q2 combination. When there is a gap in the transmitted signal, the voltage across C5 falls very rapidly in comparison with C3. When the voltage difference between C5 and C3 is about 1.4 volts, Q1 and Q2 turn on. Q1 and Q2 in combination form a high gain amplifier stage that provides for rapid output switching time. R3 is intended to limit the drive current supplied to Q2, and R2 aids in discharging the base of Q2 to improve the turn-off time.
In the output regulator section, the available power rectifier voltage is usually limited by Zener diode D3. When the coil separation becomes suboptimal or too large the power rectifier output voltage will be come variable as will the switched voltage available at the collector of Q2. For proper nerve stimulation, it may be necessary to regulate the (either) high or variable available voltage to an appropriate level. An acceptable level is about 3 volts peak. A switched voltage is applied to Zener diode D6 through emitter follower Q3 and bias resistor R5. When the switched voltage rises to a level where D6 conducts and develops about 0.6 volts across R4 and the base-emitter junction of Q4, Q4 conducts. o Increased conduction of Q4 is used to remove bias from Q3 through negative feedback. Since the level of conduction of Q4 is a very sensitive function of base to emitter voltage, Q4 provides substantial amplification of small variations in D6 current flow and therefore bias voltage level. The overall result is to regulate the bias voltage applied to Zener diode D6. Output is taken from the junction of the emitter of Q3 and D6 since that point is well regulated by the combination of Zener diode breakdown voltage combined with the amplification provided by Q4. In addition to good voltage regulation a the junction of the emitter of Q3 and D6, the output is very tolerant of load current demand since the conductivity of Q3 will be changed by shifts in the operating point of Q4. Due to amplification by Q3 and Q4, the circuit can drive a range of load resistances. Tolerable load resistances above 1000 ohms and less than 200 ohms. The regulator has the advantage of delivering only the current needed to operate the load while consuming only moderate bias current. Further, bias current is only drawn during delivery of the stimulation pulse which drops to zero when no stimulation is delivered. As a comparison, a simple series resistance biased Zener diode requires enough excess current to deliver a stimulation pulse and still maintain adequate Zener bias. As a further comparison, conventional integrated circuit regulators, such as three terminal regulators are not designed to well regulate and respond quickly to short input pulses. Experiment shows that three-terminal regulators exhibit significant output overshoot and ramp-up time upon application of an input pulse. This can be addressed by applying a constant bias to a regulator circuit or even moving the regulator before the output switching stage but this will be at the cost of constant current drain and subsequently reduced range.
The implanted electronics unit may be used to manage the loss of control and power signals. With this design, more than enough stimulation power is stored in C3 to supply multiple delivered stimulation pulses. This design is intended to ensure that the voltage drop is minimal on any individual pulse. One of the consequences is that when signal is lost, the circuit treats the condition as a commanded delivery of stimulation and will apply a single, extended duration, energy pulse until the full stored capacity of C3 is empty. An alternative method may be to use an indirect control modulation to command delivery of a nerve stimulation pulse through logic and provide for a time-out that limits pulse duration.
To stimulate tissue, a modified output stage may be used to mitigate electrode corrosion and establish balanced charging. The output stage is illustrated in FIG. 52G and includes a capacitive coupling between the ground side of the stimulator and tissue interface in addition to a shunt from the active electrode to circuit ground for re-zeroing the output coupling capacitor when an output pulse is not being actively delivered.
Description of Alternative Screening Methods
Screening generally refers to selecting patients that will be responsive to the therapy, namely neurostimulation of the upper airway dilator nerves and/or muscles such as the hypoglossal nerve that innervates the genioglossus. Screening may be based on a number of different factors including level of obstruction and critical collapse pressure (Pcrit) of the upper airway, for example. Because stimulation of the hypoglossal nerve affects the genioglossus (base of tongue) as well as other muscles, OSA patients with obstruction at the level of the tongue base and OSA patients with obstruction at the level of the palate and tongue base (collectively patients with tongue base involvement) may be selected. Because stimulation of the hypoglossal nerve affects upper airway collapsibility, OSA patients with airways that have a low critical collapse pressure (e.g., Pcrit of less than about 5 cm water) may be selected. Pcrit may be measured using pressure transducers in the upper airway and measuring the pressure just prior to an apnea event (airway collapse). Alternatively, a surrogate for Pcrit such as CPAP pressure may be used. In this alternative, the lowest CPAP pressure at which apnea events are mitigated may correlate to Pcrit.
The critical collapse pressure (Pcrit) may be defined as the pressure at which the upper airway collapses and limits flow to a maximal level. Thus, Pcrit is a measure of airway collapsibility and depends on the stability of the walls defining the upper airway as well as the surrounding pressure. Pcrit may be more accurately defined as the pressure inside the upper airway at the onset of flow limitation when the upper airway collapses. Pcrit may be expressed as:
Pcrit=Pin−Pout
where
Pin=pressure inside the upper airway at the moment of airway collapse; and
Pout=pressure outside the upper airway (e.g., atmospheric pressure).
Other screening methods and tools may be employed as well. For example, screening may be accomplished through acute testing of tongue protruder muscle contraction using percutaneous fine wire electrodes inserted into the genioglossus muscle, delivering stimulus and measuring one or more of several variables including the amount of change in critical opening pressure, the amount of change in airway caliber, the displacement of the tongue base, and/or the retraction force of the tongue (as measured with a displacement and/or force gauge). For example, a device similar to a CPAP machine can be used to seal against the face (mask) and control inlet pressure down to where the tongue and upper airway collapse and occlude during inspiration. This measurement can be repeated while the patient is receiving stimulation of the geneoglossus muscle (or other muscles involved with the patency of the upper airway). Patients may be indicated for the stimulation therapy if the difference in critical pressure (stimulated vs. non-stimulated) is above a threshold level.
Similarly, a flexible optical scope may be used to observe the upper airway, having been inserted through the mask and nasal passage. The difference in upper airway caliber between stimulation and non-stimulation may be used as an inclusion criterion for the therapy. The measurement may be taken with the inlet air pressure to the patient established at a pre-determined level below atmospheric pressure to better assess the effectiveness of the stimulation therapy.
Another screening technique involves assessing the protrusion force of the tongue upon anterior displacement or movement of the tongue with and without stimulation while the patient is supine and (possibly) sedated or asleep. A minimum increase in protrusion force while under stimulation may be a basis for patient selection.
For example, with reference to FIG. 53, a non-invasive oral appliance 530 may be worn by the patient during a sleep study that can directly measure the protrusion force of the tongue as a basis for patient selection. The oral appliance 530 may include a displacement probe 532 for measuring tongue movement protrusion force by deflection (D). The oral appliance 530 may also include a force sensor 534 for measuring the force (F) applied by protrusion of the tongue. The sensors in the displacement probe 532 and the force sensor 534 may be connected to measurement apparatus by wires 536.
FIG. 54 illustrates another example of a non-invasive oral appliance 540 that may be worn by the patient during a sleep study to directly measure the protrusion force of the tongue as a basis for patient selection. The oral appliance 540 includes a displacement sensor 542 for measuring tongue movement and a force sensor for measuring tongue protrusion force. The displacement sensor and the force sensor may be connected to measurement apparatus by wires 546.
Oral appliances 530 and 540 could be worn during a sleep study and would measure the tongue protrusion force during (and just prior to) an apnea event when the protruder muscle tone is presumed to be inadequate to maintain upper airway patency. The protrusion force measured as the apnea is resolved by the patient will increase as the patient changes sleep state and the airway again becomes patent. The force difference may be used as a basis for patient selection.
Another screening technique involves the use of an oral appliance with sub-lingual surface electrodes contacting the base of the tongue or fine wire electrodes inserted into the genioglossus muscle to stimulate the tongue protruder muscle(s) synchronous with respiration during a sleep study. The oral appliance may be fitted with a drug delivery system (e.g., drug eluting coating, elastomeric pump, electronically controlled pump) for topical anesthesia to relieve the discomfort of the electrodes.
For example, with reference to FIG. 55, an oral appliance 550 includes a pair of small needle intramuscular electrodes 552 that extend into the genioglossus. The electrodes 552 are carried by flexible wires 554 and may be coupled to an external pulse generator (not shown) by wires 556. The electrodes 552 may be supported by a drug (e.g., anesthetic) eluting polymeric member 558.
Alternatively, with reference to FIG. 56, an oral appliance 560 includes a cathode electrode 562 guarded by two anode electrodes 564 carried by a soft extension 565 that extends under the tongue. The surface electrodes 562 and 564 contact the floor of the mouth under the tongue to indirectly stimulate the genioglossus. The electrodes 562 and 564 may be coupled to an external pulse generator (not shown) by wires 566. The extension 565 may incorporate holes 568 through which a drug (e.g., anesthetic) may be eluted.
Oral appliances 550 and 560 may be used during a sleep study and stimulation of the target tissue can be performed synchronous with respiration and while inlet airflow pressure can be modulated. The ability to prevent apneas/hypopneas can be directly determined. Also the critical opening pressure with and without stimulation can be determined. Alternatively or in addition, the intramuscular or surface electrodes may be used to measure genioglossus EMG activity, either with or without stimulation. On any of theses bases, patient selection may be made.
Patient selection may also be applied to the respiratory sensors to determine if the respiratory sensors will adequately detect respiration for triggering stimulation. For example, in the embodiment wherein bio-Z is used to detect respiration using an implanted lead 70, skin surface or shallow needle electrodes may be used prior to implantation to determine if the signal will be adequate. This method may also be sued to determine the preferred position of the electrodes (i.e., optimal bio-Z vector). This may be done while the patient is sleeping (i.e., during a sleep study) or while the patient is awake.
Description of Alternative Intra-Operative Tools
Intra-operatively, it may be desirable to determine the correct portion of the nerve to stimulate in order to activate the correct muscle(s) and implant the nerve cuff electrode accordingly. Determining the correct position may involve stimulating at different locations along the length or circumference of the nerve and observing the effect (e.g., tongue protrusion). In addition or in the alternative, and particularly in the case of field steering where multiple combinations of electrode contacts are possible, it may be desirable to determine optimal electrode or filed shape combinations.
An example of an intra-operative stimulating tool 570 is shown in FIGS. 57A and 57B. In this embodiment, the tool 570 includes a first shaft 571 with a distal half-cuff 573. Tool 570 further includes a second shaft 575 with a proximal movable collar 574 and a distal half-cuff 575. Stimulating tool 570 includes multiple electrodes 572 on half-cuff 573 and/or half-cuff 575 that may be arranged in an array or matrix as shown in FIG. 57C, which is a view taken along line A-A in FIG. 57B. The half- cuffs 573 and 575 may be longitudinally separated for placement about a nerve and subsequently closed such that the half- cuffs 573 and 575 gently grasp the nerve. The electrodes 575 may be sequenced through a series of electrode/field shape combinations to optimize (lower) the critical opening pressure, airway caliber, tongue protrusion force or other acute indicia of therapeutic efficacy.
The tool 570 may be part of an intra-operative system including: (1) tool 570 or other tool with one or more stimulating electrodes that are designed to be easily handled by the surgeon during implant surgery; (2) an external pulse generator which triggers off of a respiration signal; (3) a feedback diagnostic device that can measure critical closing pressure intra-operatively; and (4) an algorithm (e.g., firmware or software in the programmer) that is design to automatically or manually sequence through a series of electrode configurations that will identify the best placement of electrode cuffs on the nerves and configuration of electrode polarity and amplitude settings. Information from the intra-operative system may greatly speed the process of identifying where to place the electrode cuff(s) on the hypoglossal nerve and what field steering may be optimal or necessary to provide efficacy.
In certain circumstances, such as, when treating a child or a small adult, it may be difficult to implant a nerve cuff electrode of the present disclosure about a nerve in a patient's body. Accordingly, it may be desirable to provide a tool capable of facilitating temporary expansion of a nerve cuff electrode of the present disclosure, so as to slip the nerve cuff electrode around a patient's nerve. Turning now to FIGS. 58A-58B, there is depicted a tool 5800 for temporarily expanding a nerve cuff electrode in accordance with the principles of the present disclosure. Tool 5800 may include a substantially scissor-like configuration having a first element 5801 and a second element 5802 pivotably secured together by a suitable fastener, such as, for example, pivot pin 5803, acting as a fulcrum. Elements 5801 and 5802 may be substantially similar to each other or may differ as necessary. In the depicted embodiment, elements 5801 and 5802 may include levers having distal effecting portions 5804, 5805 and proximal actuating portions 5806, 5807.
Proximal actuating portions 5806, 5807 may be of any suitable length and may be connected to respective handles (not shown), which may be used to operate tool 5800. Alternatively, proximal actuating portions 5806, 5807 themselves may be used to operate tool 5800. Distal effecting portions 5804, 5805 may include any suitable configuration to achieve the desired effect. For example, each portion 5804, 5805 may include a substantially curved configuration. Additionally, a distal end of each portion 5804, 5805 may be provided with a fastening mechanism, such as, for example, hook-like projection 5804a, 5805a, for facilitating connection of tool 5800 to a nerve cuff electrode. As shown in FIGS. 58A-58B, hook-like projections 5804a, 5805a may be configured to be disposed in differing parallel planes, such that projections 5804a, 5805a may be spaced (offset) horizontally from one another. In use, distal effecting portions 5804, 5805 may be opened and closed as proximal actuating portions 5806, 5807 may be rotated about pivot pin 5803.
In embodiments where tool 5800 may be used to temporarily expand a nerve cuff electrode for implantation purposes, the nerve cuff electrode, e.g., nerve cuff electrode 5810, may be provided with one more geometric configurations for facilitation connection with tool 5800. In the depicted embodiment, nerve cuff electrode 5810 may be provided with extensions 5811, 5812 for facilitating connection with tool 5800. Each extension 5811, 5812 may be provided with openings 5811a, 5812a, respectively, for receiving hook-like projections 5804a, 5805a, so as to operably couple nerve cuff electrode 5811 with tool 5800.
Description of Miscellaneous Alternatives
The implanted neurostimulation system may be configured so that stimulation of the nerve is set at a relatively low level (i.e., low voltage amplitude, narrow pulse width, lower frequency) so as to maximize battery life of the INS and to minimize the chances that the electrical stimulation will cause arousal from sleep. If apneas/hypopneas are detected, then the electrical stimulation can be increased progressively until the apneas/hypopneas are no longer detected, up to a maximum pre-set stimulation level. This auto titration may automatically be reset to the low level after the patient is awakened and sits up (position detector) or manually reset using the patient controller. The stimulation level may be automatically reduced after a period of time has elapsed with no (or few) apneas/hypopneas detected.
The stimulation level (i.e., voltage amplitude, pulse width, frequency) may be adjusted based on changes in respiration rate. Respiration rate or patterns of rate change may be indicative of sleep state. A different power level based on sleep state may be used for minimal power consumption, minimal unwanted stimulation (sensory response), etc., while providing adequate efficacy.
The electrical field shape used to stimulate the target nerve can be changed while the system is proving therapy based on feedback indicating the presence (or lack) of apneas/hypopneas. The electrical field shape for an implanted system can be changed by adjusting the polarity, amplitude and other stimulation intensity parameters for each of the electrodes within the nerve stimulating cuff. An algorithm within the INS may change the currently operating electrical field shape if the presence of apneas/hypopneas is detected, and then wait a set period of time to determine if the new configuration was successful in mitigating the apneas/hypopneas before adjusting the field shape again. Additionally, the system may be designed to keep a log of the most successful stimulation patterns and when they were most likely to be effective. This may allow the system to “learn” which settings to be used during what part of the night, for example, or with specific breathing patterns or cardiac signal patterns or combinations thereof.
The proportion of stimulation intensity of two electrode cuffs used to stimulate a nerve can be modulated while the system is providing therapy based on feedback indicating the presence (or lack) of apneas/hypopneas. For example, one nerve stimulating electrode cuff may be place on the more proximal section of the hypoglossal nerve, while a second is placed more distally. The proximal cuff will be more likely to stimulate branches of the hypoglossal nerve going to muscles in the upper airway involved with tongue or hyoid retrusion while the more distal electrode cuff will more likely stimulate only the muscles involved with tongue/hyoid protrusion. Research suggests that to best maintain upper airway patency, stimulating both protrudes and retruders (in the right proportion) may be more effective that stimulating protruders alone. Software within the INS may change the currently operating proportion of electrical stimulation going to the distal electrode cuff in proportion to that going to the proximal cuff based on the presence of apneas/hypopneas detected. The system may then wait a set period of time to determine if the new configuration was successful in mitigating the apneas/hypopneas before adjusting the system again. Additionally, the system software may be designed to keep a log of the most successful stimulation proportion and when they were most likely to be effective. This may allow the system to “learn” which settings to be used during what part of the night, for example, or with specific breathing patterns or cardiac signal patterns or combinations thereof.
The system described above may modulate electrical stimulation intensity proportion based on electromyogram (EMG) feedback from the muscles in the upper airway being stimulated or others in the area. This feedback may be used to determine the correct proportion of stimulation between protruders and retruders. The correct ratio of EMG activity between retruders and protruders may be determined during a sleep study for an individual, may be determined to be a constant for a class of patients or may be “learned” my the implanted system by using the detection of apneas/hypopneas as feedback.
A library of electrical stimulation parameter settings can be programmed into the INS. These settings listed in the library may be selected by the patient manually using the patient programmer based on, for example: (1) direct patient perception of comfort during stimulation; (2) a log of the most successful settings compiled by the software in the INS (assumes apnea/hypopnea detection capability); (3) a sleep physician's or technician's assessment of the most effective stimulation as determined during a sleep study; and/or (4) a list of the most effective parameters produced for a particular class of patient or other.
The electrical stimulation parameters described above may be adjusted based on patient position as detected by a position sensor within the INS. The best setting for a given position may be determined by, for example: (1) a log of the most successful settings compiled or learned by the software in the INS (assumes apnea/hypopnea detection capability); (2) a sleep physician's or technician's assessment of the most effective stimulation as determined during a sleep study; and/or (3) a list of the most effective parameters produced for a particular class of patient or other.
To avoid fatigue using a normal duty cycle or to extend the time that the upper airway is opened through neurostimulation, different parts of the genioglossus muscle and/or different muscles involved with establishing patency of the upper airway can be alternately stimulated. For example, using two or more nerve or muscle electrode cuffs, the left and right side genioglossus muscles can be alternately stimulated, cutting the effective duty cycle on each muscle in half. In addition, different protruder muscles on the ipsilateral side such as the geniohyoid and the genioglossus muscle can be alternately stimulated to the same effect. This may also be accomplished through one electrode cuff using field steering methods that selectively stimulated the fascicles of the hypoglossal nerve going to one group of protruders alternating with stimulating the fascicles leading to a different protruder muscle group. This method may also be used to alternately stimulate one group of muscle fibers within the genioglossus muscle with the compliment of muscle fibers in the same muscle group.
To increase the ability of the upper airway to open during a (sensed) apnea/hypopnea through neurostimulation, different parts of the genioglossus muscle and/or different muscles involved with establishing patency of the upper airway can be simultaneously stimulated. For example, using two or more nerve or muscle electrode cuffs, the left and right side genioglossus muscles can be simultaneously stimulated, greatly increasing the protrusion forces. In addition, different protruder muscles on the ipsilateral side such as the geneohyoid and the genioglossus muscle can be simultaneously stimulated to the same effect. This may also be accomplished through one electrode cuff using field steering methods that selectively stimulated the fascicles of the hypoglossal nerve going to one group of protruders simultaneously with stimulating the fascicles leading to a different protruder muscle group. This may be achieved with one electrode cuff using field steering on a more proximal location on the hypoglossal nerve or two or more electrode cuffs, one on each branch going to a muscle involved with maintaining muscle patency.
A sensor inside the INS (or elsewhere in system implanted) may detect body position and automatically shut off stimulation when patient sits up or stands up. This will prevent unwanted stimulation when patient is no longer sleeping. The device may automatically restart the stimulation after the sensor indicates the patient is again horizontal, with or without a delay. The system may also be configured so that the stimulation can only be restarted using the patient controller, with, or without a delay.
The respiration signal using impedance and/or EMG/ENG are easily capable of determining heart rate. The stimulation may be interrupted or turned off when the heart rate falls outside out a pre-determined acceptable range. This may be an effective safety measure that will decrease the chance that hypoglossal nerve stimulation will interfere with mitigating physiological processes or interventional emergent medical procedures.
Respiration waveforms indicating apneas/hypopneas or of other clinical interest may be recorded and automatically telemetered to a bed-side receiver unit or patient programmer. Respiration waveforms indicating frequent apneas/hypopneas, abnormal breathing patterns, irregular heart rate/rhythm may be recorded and automatically telemetered to a bed-side deceiver unit or patient programmer causing an alarm to be issued (audible/visible). The INS status such as low battery or system malfunction may also trigger an alarm.
Electrical stimulation intensity could be ramped up for each respiration cycle by increasing amplitude or pulse width from 0 to a set point to prevent sudden tongue protrusion or sudden airway opening causing the patient to wake up. During inspiration, the system may deliver approximately 30 pulses per second for a length of time of one to one and one half seconds, totaling between about 30 and 45 pulses per respiration cycle. Prior to delivery of these 30 to 45 pulses, amplitude of each individual therapy pulse (in an added group of pulses) could be ramped up from 0 to a set point at a rate of <10% of the amplitude intended for the active duty cycle or 200 mS, whichever is less. The pulse width of each individual therapy pulse could be ramped up from 0 to a set point at a rate of <10% of the active duty cycle or 200 mS, whichever is less. Each of these ramp methods would require a predictive algorithm that would stimulate based on the previous inspiration cycle.
Nerves innervating muscles that are involved with inspiration, such as the hypoglossal nerve, have been shown to have greater electrical activity during apnea or hypopnea. This signal cannot be easily measured while simultaneously stimulating the same nerve. One method of stimulating and sensing using the same lead is to interleave a sensing period within the stimulation pulse bursts during the duty cycle. In other words, the sensing period may occur between pulses within the stimulation pulse train. This approach may be used with electrodes/leads that directly stimulate and alternately sense on a nerve involved with inspiration or on a muscle involved with inspiration or a combination of the two. The approach may allow sensing of apnea/hypopnea, as well as therapeutic stimulation.
From the foregoing, it will be apparent to those skilled in the art that the present invention provides, in exemplary non-limiting embodiments, devices and methods for nerve stimulation for OSA therapy. Further, those skilled in the art will recognize that the present invention may be manifested in a variety of forms other than the specific embodiments described and contemplated herein. Accordingly, departures in form and detail may be made without departing from the scope and spirit of the present invention as described in the appended claims.

Claims (25)

What is claimed is:
1. A method of maintaining patency of an upper airway of a patient to treat obstructive sleep apnea, the method comprising:
sensing a biological parameter indicative of respiration, wherein the biological parameter includes impedance;
analyzing the biological parameter to identify onsets of expiration;
calculating a respiratory period from the onsets of expiration;
predicting an onset of a future expiratory phase; and
beginning stimulation of a nerve a fraction of the calculated respiratory period before the onset of the future expiratory phase, and continuing stimulation of the nerve during an entire inspiratory phase, wherein the method is performed without identifying an onset of the inspiratory phase.
2. The method of claim 1, wherein the nerve is an internal branch of a superior laryngeal nerve.
3. The method of claim 1, further comprising:
implanting an impedance sensor within the patient, wherein the impedance sensor is coupled to an electrical stimulator by a sensing lead.
4. The method of claim 1, wherein beginning stimulation of the nerve includes delivering electrical stimulation to one of a hypoglossal nerve and a glossopharyngeal nerve.
5. The method of claim 4, further comprising delivering stimulation to a portion of a superior laryngeal nerve concurrently with the stimulation delivered to the one of a hypoglossal nerve and a glossopharyngeal nerve.
6. The method of claim 1, further comprising: steering an electrical field of a nerve cuff to stimulate only afferent fibers of the nerve.
7. The method of claim 1, wherein the step of beginning stimulation of a nerve includes delivering stimulation to only afferent fibers of an internal branch of a superior laryngeal nerve.
8. The method of claim 1, wherein the stimulation is delivered via a nerve cuff connected to an electrical stimulator via a stimulation lead including a portion having a serpentine configuration.
9. The method of claim 8, wherein the stimulation lead includes a portion configured to be secured to a body structure other than a nerve.
10. The method of claim 8, wherein the nerve cuff includes a plurality of electrodes in direct contact with the nerve.
11. The method of claim 1, further comprising:
an electrode sensor for wherein the step of sensing the biological parameter, wherein the electrode sensor is performed via an electrode sensor coupled to sensing circuitry of an electrical stimulator,
wherein stimulation of the nerve includes delivering an electrical stimulation to a glossopharyngeal nerve via a nerve cuff having a plurality of electrodes, wherein the nerve cuff is connected to-the to the electrical stimulator by a stimulation lead, and wherein a portion of the stimulation lead is configured to elongate in response to movement by the patient.
12. The method of claim 11, wherein the stimulation lead further includes a portion configured to be secured to a body structure other than a nerve.
13. The method of claim 1, wherein the stimulation is delivered to the nerve via a nerve cuff connected to an electrical stimulator, the nerve cuff comprising:
a base member extending from a first side wall to a second side wall and having a top wall and a bottom wall;
a first member extending from the first side wall;
a second member extending from the second side wall; and
a third member having a first end fixedly engaged to the first side wall adjacent the first member, wherein the third member extends over the top wall of the base member, the second member extends over the top wall of the base member, and the first member, the second member, and the third member define a lumen.
14. The method of claim 13, wherein the third member is capable of transitioning between a first position, prior to positioning of the electrode cuff about a nerve, and a second position subsequent to the positioning of the electrode cuff about the nerve, wherein the third member is positioned a first distance above the top wall of the base member in the first position, and the third member is positioned a second distance smaller than the first distance above the top wall of the base member in the second position.
15. The method of claim 13, wherein the second member is capable of transitioning between a first position, prior to positioning of the electrode cuff about a nerve, and a second position subsequent to the positioning of the electrode cuff about the nerve, wherein the second member is positioned a first distance above the top wall of the base member in the first position, and the second member is positioned a second distance, greater than the first distance, above the top wall of the base member in the second position.
16. The method of claim 13, wherein the second member has a first thickness at a first end of the second member and a second thickness, less than the first thickness, at a second end.
17. A method of treating obstructive sleep apnea by innervating a mechanoreceptor within a patient's upper airway via stimulating a superior laryngeal nerve including both afferent and efferent fibers, the method comprising:
chronically implanting a nerve cuff adjacent a portion of a superior laryngeal nerve:;
sensing a biological parameter indicative of respiration, wherein the biological parameter includes impedance;
analyzing the sensed biological parameter to identify onsets of expiration;
calculating a respiratory period from the onsets of expiration;
predicting the onset of a future expiratory phase; and
beginning stimulation of the superior laryngeal nerve a fraction of the calculated respiratory period before the onset of the future expiratory phase, and continuing stimulation of the superior laryngeal nerve during an entire inspiratory phase, wherein the method is performed without identifying an onset of the inspiratory phase.
18. The method of claim 17, further comprising:
delivering an electrical stimulation to one of a hypoglossal nerve and a glossopharyngeal nerve simultaneously with the stimulation to the superior laryngeal nerve.
19. The method of claim 17, further comprising:
steering an electrical field of the nerve cuff to stimulate only the afferent fibers of an internal branch of the superior laryngeal nerve.
20. The method of claim 17, wherein the nerve cuff includes a plurality of electrodes in direct contact with a surface of the superior laryngeal nerve.
21. A method of treating obstructive sleep apnea, the method comprising:
chronically implanting a nerve cuff adjacent a portion of a superior laryngeal nerve;
sensing a biological parameter indicative of respiration, wherein the biological parameter includes impedance;
analyzing the biological parameter to identify onsets of expiration;
calculating a respiratory period from the onsets of expiration;
predicting an onset of a future expiratory phase; and
beginning stimulation of the superior laryngeal nerve a fraction of the calculated respiratory period before the onset of the future expiratory phase, and continuing stimulation of the superior laryngeal nerve during an entire inspiratory phase, wherein the method is performed without identifying an onset of the inspiratory phase.
22. A method of treating obstructive sleep apnea, the method comprising:
sensing a biological parameter indicative of respiration, wherein the biological parameter includes impedance;
analyzing the biological parameter to identify onsets of expiration;
calculating a respiratory period from the onsets of expiration;
predicting an onset of a future expiratory phase; and
beginning stimulation of a nerve a fraction of the calculated respiratory period before the onset of the future expiratory phase, and continuing stimulation of the nerve during an entire inspiratory phase, wherein the method is performed without identifying an onset of the inspiratory phase.
23. The method of claim 1, further comprising steering an electrical field of a nerve cuff to stimulate fibers of the nerve, wherein a majority of the stimulated fibers of the nerve comprises afferent fibers.
24. The method of claim 1, wherein beginning stimulation of the nerve includes delivering stimulation to fibers of an internal branch of a superior laryngeal nerve, and wherein a majority of the fibers to which stimulation is delivered comprises afferent fibers.
25. The method of claim 17, further comprising steering an electrical field of the nerve cuff to stimulate fibers of an internal branch of the superior laryngeal nerve, wherein a majority of the stimulated fibers of the nerve comprises afferent fibers.
US14/693,836 2006-10-13 2015-04-22 Obstructive sleep apnea treatment devices, systems and methods Active USRE48025E1 (en)

Priority Applications (1)

Application Number Priority Date Filing Date Title
US14/693,836 USRE48025E1 (en) 2006-10-13 2015-04-22 Obstructive sleep apnea treatment devices, systems and methods

Applications Claiming Priority (5)

Application Number Priority Date Filing Date Title
US85138606P 2006-10-13 2006-10-13
US91825707P 2007-03-14 2007-03-14
US11/907,533 US8417343B2 (en) 2006-10-13 2007-10-12 Obstructive sleep apnea treatment devices, systems and methods
US13/093,534 US8428727B2 (en) 2006-10-13 2011-04-25 Obstructive sleep apnea treatment devices, systems and methods
US14/693,836 USRE48025E1 (en) 2006-10-13 2015-04-22 Obstructive sleep apnea treatment devices, systems and methods

Related Parent Applications (1)

Application Number Title Priority Date Filing Date
US13/093,534 Reissue US8428727B2 (en) 2006-10-13 2011-04-25 Obstructive sleep apnea treatment devices, systems and methods

Publications (1)

Publication Number Publication Date
USRE48025E1 true USRE48025E1 (en) 2020-06-02

Family

ID=39185965

Family Applications (15)

Application Number Title Priority Date Filing Date
US11/907,533 Ceased US8417343B2 (en) 2006-10-13 2007-10-12 Obstructive sleep apnea treatment devices, systems and methods
US11/907,532 Active 2028-01-25 US7809442B2 (en) 2006-10-13 2007-10-12 Obstructive sleep apnea treatment devices, systems and methods
US12/835,984 Abandoned US20110071591A1 (en) 2006-10-13 2010-07-14 Obstructive Sleep Apnea Treatment Devices, Systems and Methods
US12/980,743 Active US8626304B2 (en) 2006-10-13 2010-12-29 Obstructive sleep apnea treatment devices, systems and methods
US12/980,774 Active US8498712B2 (en) 2006-10-13 2010-12-29 Obstructive sleep apnea treatment devices, systems and methods
US12/980,807 Active 2028-12-08 US8744589B2 (en) 2006-10-13 2010-12-29 Obstructive sleep apnea treatment devices, systems and methods
US13/093,534 Ceased US8428727B2 (en) 2006-10-13 2011-04-25 Obstructive sleep apnea treatment devices, systems and methods
US13/094,371 Active US8311645B2 (en) 2006-10-13 2011-04-26 Obstructive sleep apnea treatment devices, systems and methods
US13/252,028 Active US8639354B2 (en) 2006-10-13 2011-10-03 Obstructive sleep apnea treatment devices, systems and methods
US13/251,748 Abandoned US20120022609A1 (en) 2006-10-13 2011-10-03 Obstructive Sleep Apnea Treatment Devices, Systems and Methods
US13/327,351 Active US8718783B2 (en) 2006-10-13 2011-12-15 Obstructive sleep apnea treatment devices, systems and methods
US14/681,764 Active 2031-06-11 USRE48024E1 (en) 2006-10-13 2015-04-08 Obstructive sleep apnea treatment devices, systems and methods
US14/693,836 Active USRE48025E1 (en) 2006-10-13 2015-04-22 Obstructive sleep apnea treatment devices, systems and methods
US15/665,319 Active 2028-07-07 US10632308B2 (en) 2006-10-13 2017-07-31 Obstructive sleep apnea treatment devices, systems and methods
US16/850,926 Active 2028-06-09 US11517746B2 (en) 2006-10-13 2020-04-16 Obstructive sleep apnea treatment devices, systems and methods

Family Applications Before (12)

Application Number Title Priority Date Filing Date
US11/907,533 Ceased US8417343B2 (en) 2006-10-13 2007-10-12 Obstructive sleep apnea treatment devices, systems and methods
US11/907,532 Active 2028-01-25 US7809442B2 (en) 2006-10-13 2007-10-12 Obstructive sleep apnea treatment devices, systems and methods
US12/835,984 Abandoned US20110071591A1 (en) 2006-10-13 2010-07-14 Obstructive Sleep Apnea Treatment Devices, Systems and Methods
US12/980,743 Active US8626304B2 (en) 2006-10-13 2010-12-29 Obstructive sleep apnea treatment devices, systems and methods
US12/980,774 Active US8498712B2 (en) 2006-10-13 2010-12-29 Obstructive sleep apnea treatment devices, systems and methods
US12/980,807 Active 2028-12-08 US8744589B2 (en) 2006-10-13 2010-12-29 Obstructive sleep apnea treatment devices, systems and methods
US13/093,534 Ceased US8428727B2 (en) 2006-10-13 2011-04-25 Obstructive sleep apnea treatment devices, systems and methods
US13/094,371 Active US8311645B2 (en) 2006-10-13 2011-04-26 Obstructive sleep apnea treatment devices, systems and methods
US13/252,028 Active US8639354B2 (en) 2006-10-13 2011-10-03 Obstructive sleep apnea treatment devices, systems and methods
US13/251,748 Abandoned US20120022609A1 (en) 2006-10-13 2011-10-03 Obstructive Sleep Apnea Treatment Devices, Systems and Methods
US13/327,351 Active US8718783B2 (en) 2006-10-13 2011-12-15 Obstructive sleep apnea treatment devices, systems and methods
US14/681,764 Active 2031-06-11 USRE48024E1 (en) 2006-10-13 2015-04-08 Obstructive sleep apnea treatment devices, systems and methods

Family Applications After (2)

Application Number Title Priority Date Filing Date
US15/665,319 Active 2028-07-07 US10632308B2 (en) 2006-10-13 2017-07-31 Obstructive sleep apnea treatment devices, systems and methods
US16/850,926 Active 2028-06-09 US11517746B2 (en) 2006-10-13 2020-04-16 Obstructive sleep apnea treatment devices, systems and methods

Country Status (7)

Country Link
US (15) US8417343B2 (en)
EP (4) EP3002035B1 (en)
AU (1) AU2007313319B2 (en)
CA (1) CA2666529A1 (en)
DE (1) DE202007019439U1 (en)
ES (1) ES2722849T3 (en)
WO (1) WO2008048471A2 (en)

Cited By (1)

* Cited by examiner, † Cited by third party
Publication number Priority date Publication date Assignee Title
US12226223B2 (en) 2011-09-06 2025-02-18 Resmed Sensor Technologies Limited Multi-modal sleep system

Families Citing this family (420)

* Cited by examiner, † Cited by third party
Publication number Priority date Publication date Assignee Title
US6907295B2 (en) 2001-08-31 2005-06-14 Biocontrol Medical Ltd. Electrode assembly for nerve control
US8615294B2 (en) 2008-08-13 2013-12-24 Bio Control Medical (B.C.M.) Ltd. Electrode devices for nerve stimulation and cardiac sensing
US7778711B2 (en) * 2001-08-31 2010-08-17 Bio Control Medical (B.C.M.) Ltd. Reduction of heart rate variability by parasympathetic stimulation
US20090005845A1 (en) * 2007-06-26 2009-01-01 Tamir Ben David Intra-Atrial parasympathetic stimulation
US8565896B2 (en) * 2010-11-22 2013-10-22 Bio Control Medical (B.C.M.) Ltd. Electrode cuff with recesses
US7904176B2 (en) * 2006-09-07 2011-03-08 Bio Control Medical (B.C.M.) Ltd. Techniques for reducing pain associated with nerve stimulation
US7035690B2 (en) 2002-11-15 2006-04-25 Medtronic, Inc. Human-implantable-neurostimulator user interface having multiple levels of abstraction
US8880192B2 (en) 2012-04-02 2014-11-04 Bio Control Medical (B.C.M.) Ltd. Electrode cuffs
US8718791B2 (en) * 2003-05-23 2014-05-06 Bio Control Medical (B.C.M.) Ltd. Electrode cuffs
US20050149132A1 (en) 2003-12-24 2005-07-07 Imad Libbus Automatic baroreflex modulation based on cardiac activity
US10912712B2 (en) 2004-03-25 2021-02-09 The Feinstein Institutes For Medical Research Treatment of bleeding by non-invasive stimulation
US11207518B2 (en) * 2004-12-27 2021-12-28 The Feinstein Institutes For Medical Research Treating inflammatory disorders by stimulation of the cholinergic anti-inflammatory pathway
US20070233204A1 (en) * 2006-02-16 2007-10-04 Lima Marcelo G RFID-based apparatus, system, and method for therapeutic treatment of a patient
US8612024B2 (en) 2006-02-24 2013-12-17 Medtronic, Inc. User interface with 3D environment for configuring stimulation therapy
US8380321B2 (en) 2006-02-24 2013-02-19 Medtronic, Inc. Programming interface with a cross-sectional view of a stimulation lead with complex electrode array geometry
US12343530B2 (en) 2006-05-18 2025-07-01 Paras Holdings, Llc Device and implantation system for electrical stimulation of biological systems
US8712529B2 (en) 2010-03-05 2014-04-29 Endostim, Inc. Device and implantation system for electrical stimulation of biological systems
US9020597B2 (en) 2008-11-12 2015-04-28 Endostim, Inc. Device and implantation system for electrical stimulation of biological systems
US8437843B1 (en) 2006-06-16 2013-05-07 Cleveland Medical Devices Inc. EEG data acquisition system with novel features
US11577077B2 (en) 2006-10-09 2023-02-14 Endostim, Inc. Systems and methods for electrical stimulation of biological systems
US9724510B2 (en) 2006-10-09 2017-08-08 Endostim, Inc. System and methods for electrical stimulation of biological systems
US9345879B2 (en) 2006-10-09 2016-05-24 Endostim, Inc. Device and implantation system for electrical stimulation of biological systems
US20150224310A1 (en) 2006-10-09 2015-08-13 Endostim, Inc. Device and Implantation System for Electrical Stimulation of Biological Systems
US8855771B2 (en) 2011-01-28 2014-10-07 Cyberonics, Inc. Screening devices and methods for obstructive sleep apnea therapy
US9205262B2 (en) 2011-05-12 2015-12-08 Cyberonics, Inc. Devices and methods for sleep apnea treatment
US9913982B2 (en) * 2011-01-28 2018-03-13 Cyberonics, Inc. Obstructive sleep apnea treatment devices, systems and methods
US9186511B2 (en) 2006-10-13 2015-11-17 Cyberonics, Inc. Obstructive sleep apnea treatment devices, systems and methods
ES2722849T3 (en) 2006-10-13 2019-08-19 Cyberonics Inc Devices and systems for the treatment of obstructive sleep apnea
US9744354B2 (en) 2008-12-31 2017-08-29 Cyberonics, Inc. Obstructive sleep apnea treatment devices, systems and methods
US20110009925A1 (en) * 2006-10-17 2011-01-13 Cochlear Limited Transcutaneous receiving antenna device for implant
US8255060B2 (en) 2006-12-06 2012-08-28 Medtronic, Inc. User interface with toolbar for programming electrical stimulation therapy
US7890178B2 (en) * 2006-12-15 2011-02-15 Medtronic Xomed, Inc. Method and apparatus for assisting deglutition
CN101657230B (en) * 2006-12-15 2014-01-29 纳索菲力克斯有限公司 Resuscitation device and method for resuscitation
US8082034B2 (en) 2007-01-26 2011-12-20 Medtronic, Inc. Graphical configuration of electrodes for electrical stimulation
US9072897B2 (en) 2007-03-09 2015-07-07 Mainstay Medical Limited Systems and methods for restoring muscle function to the lumbar spine
US11679261B2 (en) 2007-03-09 2023-06-20 Mainstay Medical Limited Systems and methods for enhancing function of spine stabilization muscles associated with a spine surgery intervention
US11679262B2 (en) 2007-03-09 2023-06-20 Mainstay Medical Limited Systems and methods for restoring muscle function to the lumbar spine
DE202008018467U1 (en) 2007-03-09 2014-02-27 Mainstay Medical Limited Muscle
US11331488B2 (en) 2007-03-09 2022-05-17 Mainstay Medical Limited Systems and methods for enhancing function of spine stabilization muscles associated with a spine surgery intervention
US10925637B2 (en) 2010-03-11 2021-02-23 Mainstay Medical Limited Methods of implanting electrode leads for use with implantable neuromuscular electrical stimulator
US10426399B1 (en) * 2007-06-08 2019-10-01 Cleveland Medial Devices Inc. Method and device for in-home sleep and signal analysis
US9202008B1 (en) * 2007-06-08 2015-12-01 Cleveland Medical Devices Inc. Method and device for sleep analysis
JP5436423B2 (en) 2007-07-24 2014-03-05 アスマティックス,インコーポレイテッド System and method for power control based on impedance detection such as power control for tissue treatment device
US8391970B2 (en) * 2007-08-27 2013-03-05 The Feinstein Institute For Medical Research Devices and methods for inhibiting granulocyte activation by neural stimulation
CA2697822A1 (en) 2007-10-09 2009-04-16 Imthera Medical, Inc. Apparatus, system, and method for selective stimulation
US20170188940A9 (en) 2007-11-26 2017-07-06 Whispersom Corporation Device to detect and treat Apneas and Hypopnea
US7954494B1 (en) 2008-03-26 2011-06-07 Connor Robert A Device with actively-moving members that hold or move the tongue
US9662490B2 (en) 2008-03-31 2017-05-30 The Feinstein Institute For Medical Research Methods and systems for reducing inflammation by neuromodulation and administration of an anti-inflammatory drug
US9211409B2 (en) * 2008-03-31 2015-12-15 The Feinstein Institute For Medical Research Methods and systems for reducing inflammation by neuromodulation of T-cell activity
US9227053B2 (en) * 2008-05-02 2016-01-05 Medtronic, Inc. Self expanding electrode cuff
US8579794B2 (en) 2008-05-02 2013-11-12 Dymedix Corporation Agitator to stimulate the central nervous system
US8340785B2 (en) * 2008-05-02 2012-12-25 Medtronic, Inc. Self expanding electrode cuff
AU2009246179A1 (en) * 2008-05-15 2009-11-19 Inspire Medical Systems, Inc. Method and apparatus for sensing respiratory pressure in an implantable stimulation system
US8485183B2 (en) 2008-06-06 2013-07-16 Covidien Lp Systems and methods for triggering and cycling a ventilator based on reconstructed patient effort signal
NL2001694C2 (en) * 2008-06-18 2009-12-22 Nasophlex B V Ear stimulator for producing a stimulation signal to an ear.
WO2009154456A1 (en) * 2008-06-18 2009-12-23 Kerphos B.V. A flexible electronic system for producing a stimulation signal to the human body.
NL2001698C2 (en) 2008-06-18 2009-12-22 Nasophlex B V Cardioverter / defibrillator.
NL2001697C2 (en) 2008-06-18 2009-12-22 Nasophlex B V Nose stimulator for producing a stimulation signal to a nose.
WO2010006218A2 (en) * 2008-07-11 2010-01-14 Don Headley Sleep apnea device and method
US7803021B1 (en) 2008-07-21 2010-09-28 Boston Scientific Neuromodulation Corporation Implantable electrical stimulation systems with leaf spring connective contacts and methods of making and using
US20100049264A1 (en) 2008-08-22 2010-02-25 Dymedix Corporation Diagnostic indicator and PSG interface for a closed loop neuromodulator
CN102159132B (en) * 2008-09-22 2015-11-25 奇塔医疗公司 Systems and methods for determining blood flow
JP5547200B2 (en) 2008-10-01 2014-07-09 インスパイア・メディカル・システムズ・インコーポレイテッド Transvenous treatment to treat sleep apnea
AU2014253460B2 (en) * 2008-10-09 2017-02-02 Imthera Medical, Inc. Method of stimulating a hypoglossal nerve for controlling the position of a patient's tongue
WO2010042404A1 (en) 2008-10-09 2010-04-15 Imthera Medical, Inc. Method of stimulating a hypoglossal nerve for controlling the position of a patient's tongue
US8616208B2 (en) 2008-10-29 2013-12-31 Industrial Technology Research Institute Oral appliance with auto negative pressure control and method thereof
WO2010054116A1 (en) * 2008-11-10 2010-05-14 Cardiac Pacemakers, Inc. Distal end converter for a medical device lead
ES2452484T3 (en) 2008-11-18 2014-04-01 Setpoint Medical Corporation Devices to optimize electrode placement for anti-inflammatory stimulation
EP2358268B1 (en) * 2008-11-18 2019-03-27 MED-EL Elektromedizinische Geräte GmbH Device for detecting sleep apnea events by monitoring the internal branch of the superior laryngeal nerve
WO2010059839A2 (en) * 2008-11-19 2010-05-27 Inspire Medical Systems, Inc. Method of treating sleep disordered breathing
US8515520B2 (en) * 2008-12-08 2013-08-20 Medtronic Xomed, Inc. Nerve electrode
US9486628B2 (en) 2009-03-31 2016-11-08 Inspire Medical Systems, Inc. Percutaneous access for systems and methods of treating sleep apnea
US20100256696A1 (en) * 2009-04-07 2010-10-07 Boston Scientific Neuromodulation Corporation Anchoring Units For Implantable Electrical Stimulation Systems And Methods Of Making And Using
WO2010121170A1 (en) 2009-04-16 2010-10-21 Boston Scientific Neuromodulation Corporation Deep brain stimulation current steering with split electrodes
US20110054569A1 (en) * 2009-09-01 2011-03-03 Zitnik Ralph J Prescription pad for treatment of inflammatory disorders
US8996116B2 (en) 2009-10-30 2015-03-31 Setpoint Medical Corporation Modulation of the cholinergic anti-inflammatory pathway to treat pain or addiction
US9211410B2 (en) 2009-05-01 2015-12-15 Setpoint Medical Corporation Extremely low duty-cycle activation of the cholinergic anti-inflammatory pathway to treat chronic inflammation
EP2435129B1 (en) 2009-05-26 2015-07-01 Cardiac Pacemakers, Inc. Helically formed coil for a neural cuff electrode
CN102573986B (en) 2009-06-09 2016-01-20 赛博恩特医疗器械公司 For the nerve cuff with bag portion without wire stimulator
US8545231B2 (en) * 2009-06-25 2013-10-01 Charles Richard Lloyd Obstructive sleep apnea demonstration model device
EP2459274B1 (en) * 2009-07-30 2015-11-11 Richard North Modular electrode and insertion tool
CA2770151A1 (en) * 2009-08-05 2011-02-10 Ndi Medical, Llc Systems and methods for maintaining airway patency
US8160712B1 (en) * 2009-09-23 2012-04-17 Marcy Freed Apparatus and method for treating sleep apnea
US9415215B2 (en) * 2009-10-20 2016-08-16 Nyxoah SA Methods for treatment of sleep apnea
US10716940B2 (en) * 2009-10-20 2020-07-21 Nyxoah SA Implant unit for modulation of small diameter nerves
US8585617B2 (en) 2009-12-21 2013-11-19 Nyxoah SA Diagnosis and prediction of obstructive sleep apnea
US10751537B2 (en) 2009-10-20 2020-08-25 Nyxoah SA Arced implant unit for modulation of nerves
US9409013B2 (en) 2009-10-20 2016-08-09 Nyxoah SA Method for controlling energy delivery as a function of degree of coupling
US10806926B2 (en) * 2009-10-20 2020-10-20 Man & Science Sa Implantable electrical stimulator
JP2013509943A (en) 2009-11-10 2013-03-21 イムセラ・メディカル・インコーポレーテッド A system that adjusts the position of the patient's tongue by stimulating the hypoglossal nerve
US9833621B2 (en) 2011-09-23 2017-12-05 Setpoint Medical Corporation Modulation of sirtuins by vagus nerve stimulation
WO2014169145A1 (en) 2013-04-10 2014-10-16 Setpoint Medical Corporation Closed-loop vagus nerve stimulation
CN102821814B (en) 2009-12-23 2015-07-15 赛博恩特医疗器械公司 Neurostimulation devices and systems for treating chronic inflammation
US8801728B2 (en) 2010-01-29 2014-08-12 Medtronic, Inc. Introduction of medical lead into patient
US8554339B2 (en) 2010-01-29 2013-10-08 Medtronic, Inc. Anchor assembly for use in occipital nerve stimulation
US9724126B2 (en) 2010-01-29 2017-08-08 Medtronic, Inc. Introduction of medical lead into patient
US8744098B2 (en) * 2010-02-04 2014-06-03 Apple Inc. Using an audio cable as an inductive charging coil
US8831729B2 (en) 2011-03-04 2014-09-09 Endostim, Inc. Systems and methods for treating gastroesophageal reflux disease
US11717681B2 (en) 2010-03-05 2023-08-08 Endostim, Inc. Systems and methods for treating gastroesophageal reflux disease
US9999763B2 (en) 2012-06-13 2018-06-19 Mainstay Medical Limited Apparatus and methods for anchoring electrode leads adjacent to nervous tissue
AU2011224323B2 (en) 2010-03-11 2016-06-23 Mainstay Medical Limited Modular stimulator for treatment of back pain, implantable RF ablation system and methods of use
US9950159B2 (en) 2013-10-23 2018-04-24 Mainstay Medical Limited Systems and methods for restoring muscle function to the lumbar spine and kits for implanting the same
US12097365B2 (en) 2010-03-11 2024-09-24 Mainstay Medical Limited Electrical stimulator for the treatment of back pain and methods of use
US11786725B2 (en) 2012-06-13 2023-10-17 Mainstay Medical Limited Systems and methods for restoring muscle function to the lumbar spine and kits for implanting the same
US11684774B2 (en) 2010-03-11 2023-06-27 Mainstay Medical Limited Electrical stimulator for treatment of back pain and methods of use
WO2011112843A1 (en) 2010-03-12 2011-09-15 Inspire Medical Systems, Inc. Method and system for identifying a location for nerve stimulation
US8918187B2 (en) * 2010-03-31 2014-12-23 Medtronic, Inc Medical leads and related systems that include coiled filars with longitudinally straight ends
US8478425B2 (en) 2010-03-31 2013-07-02 Medtronic, Inc. Medical leads and related systems that include a lumen body that is joined to a lead body and that has multiple filar lumens
US9272157B2 (en) 2010-05-02 2016-03-01 Nervive, Inc. Modulating function of neural structures near the ear
CN103002946B (en) * 2010-05-02 2014-11-19 内瓦孚有限公司 Modulating function of the facial nerve system or related neural structures via the ear
US20140194793A1 (en) * 2010-05-14 2014-07-10 Kai Medical, Inc. Systems and methods for non-contact multiparameter vital signs monitoring, apnea therapy, apnea diagnosis, and snore therapy
EP2616141B1 (en) 2010-09-15 2016-01-13 Cardiac Pacemakers, Inc. Automatic selection of lead configuration for a neural stimulation lead
US8983572B2 (en) 2010-10-29 2015-03-17 Inspire Medical Systems, Inc. System and method for patient selection in treating sleep disordered breathing
US9186504B2 (en) 2010-11-15 2015-11-17 Rainbow Medical Ltd Sleep apnea treatment
US20120123498A1 (en) * 2010-11-15 2012-05-17 Rainbow Medical Ltd. Sleep apnea treatment system
US9457186B2 (en) 2010-11-15 2016-10-04 Bluewind Medical Ltd. Bilateral feedback
ES2739490T3 (en) 2010-11-16 2020-01-31 Univ Leland Stanford Junior Systems for the treatment of dry eye
US9821159B2 (en) 2010-11-16 2017-11-21 The Board Of Trustees Of The Leland Stanford Junior University Stimulation devices and methods
BR112013013448A2 (en) * 2010-11-30 2016-10-18 Fabian Hermann Urban Füglister helical inserter
WO2012078875A1 (en) * 2010-12-09 2012-06-14 Medtronic, Inc. Method and apparatus for replacing lead extension without tunneling
US8783250B2 (en) 2011-02-27 2014-07-22 Covidien Lp Methods and systems for transitory ventilation support
US9084859B2 (en) 2011-03-14 2015-07-21 Sleepnea Llc Energy-harvesting respiratory method and device
US8714154B2 (en) 2011-03-30 2014-05-06 Covidien Lp Systems and methods for automatic adjustment of ventilator settings
US8965499B2 (en) 2011-04-29 2015-02-24 Cyberonics, Inc. Overwrap for nerve stimulation system
US8986382B2 (en) * 2011-05-03 2015-03-24 Boston Scientific Neuromodulation Corporation Tissue fixation and repair systems and methods
WO2012154865A2 (en) 2011-05-09 2012-11-15 Setpoint Medical Corporation Single-pulse activation of the cholinergic anti-inflammatory pathway to treat chronic inflammation
US12172017B2 (en) 2011-05-09 2024-12-24 Setpoint Medical Corporation Vagus nerve stimulation to treat neurodegenerative disorders
US10758723B2 (en) 2011-05-19 2020-09-01 Neuros Medical, Inc. Nerve cuff electrode for neuromodulation in large human nerve trunks
US11413458B2 (en) 2011-05-19 2022-08-16 Neuros Medical, Inc. Nerve cuff electrode for neuromodulation in large human nerve trunks
JP2014516640A (en) * 2011-06-28 2014-07-17 カーディアック ペースメイカーズ, インコーポレイテッド Strain relief mechanism for lead of implantable medical device
EP2729213B1 (en) 2011-07-07 2019-05-01 Cardiac Pacemakers, Inc. Insulation and stability features for an implantable medical device lead
US9079019B2 (en) 2011-08-02 2015-07-14 Mainstay Medical Limited Apparatus and methods for anchoring electrode leads for use with implantable neuromuscular electrical stimulator
EP2741813B1 (en) 2011-08-11 2022-03-09 Inspire Medical Systems, Inc. System for selecting a stimulation protocol based on sensed respiratory effort
WO2013029619A1 (en) * 2011-08-29 2013-03-07 Neurodan A/S A system for recording electroneurographic activity
US8934992B2 (en) 2011-09-01 2015-01-13 Inspire Medical Systems, Inc. Nerve cuff
US9925367B2 (en) 2011-09-02 2018-03-27 Endostim, Inc. Laparoscopic lead implantation method
EP2564895B1 (en) * 2011-09-05 2015-11-18 Venus Concept Ltd An improved esthetic device for beautifying skin
US8983611B2 (en) 2011-09-27 2015-03-17 Cardiac Pacemakers, Inc. Neural control of central sleep apnea
CA2850444A1 (en) 2011-09-30 2013-04-25 Adi Mashiach Apparatus and method to control an implant
WO2013089988A1 (en) 2011-12-12 2013-06-20 Neurostream Technologies G.P. Compliant, reinforced electrode assembly and method of manufacture
JP5694139B2 (en) * 2011-12-28 2015-04-01 日本光電工業株式会社 Device for detecting apnea / hypopnea during sleep
DE102012201073B4 (en) * 2012-01-25 2014-05-08 Dualis Medtech Gmbh Carrying device for carrying a transmitting coil on the body of a patient
WO2013111137A2 (en) 2012-01-26 2013-08-01 Rainbow Medical Ltd. Wireless neurqstimulatqrs
US8903509B2 (en) 2012-03-21 2014-12-02 Cardiac Pacemakers Inc. Systems and methods for stimulation of vagus nerve
US9572983B2 (en) 2012-03-26 2017-02-21 Setpoint Medical Corporation Devices and methods for modulation of bone erosion
EP2833961A4 (en) * 2012-04-02 2015-11-25 Bio Control Medical B C M Ltd Electrode cuffs
WO2013154758A1 (en) * 2012-04-10 2013-10-17 NeuroAccess Technologies Electrical lead positioning systems and methods
JP5875926B2 (en) * 2012-04-11 2016-03-02 オリンパス株式会社 Medical lead
US8849421B2 (en) * 2012-04-19 2014-09-30 Medtronic, Inc. Medical leads having forced strain relief loops
US9681836B2 (en) 2012-04-23 2017-06-20 Cyberonics, Inc. Methods, systems and apparatuses for detecting seizure and non-seizure states
AT512534B1 (en) * 2012-04-26 2013-09-15 Univ Wien Med Nerve cuff electrode assembly
WO2013173214A1 (en) 2012-05-15 2013-11-21 Imthera Medical, Inc. Stimulation of a hypoglossal nerve for controlling the position of a patient's tongue
US10327810B2 (en) 2016-07-05 2019-06-25 Mainstay Medical Limited Systems and methods for enhanced implantation of electrode leads between tissue layers
US9186501B2 (en) 2012-06-13 2015-11-17 Mainstay Medical Limited Systems and methods for implanting electrode leads for use with implantable neuromuscular electrical stimulator
US10195419B2 (en) 2012-06-13 2019-02-05 Mainstay Medical Limited Electrode leads for use with implantable neuromuscular electrical stimulator
EP4233953A3 (en) * 2012-06-21 2023-11-01 Lungpacer Medical Inc. Transvascular diaphragm pacing systems
US10362967B2 (en) 2012-07-09 2019-07-30 Covidien Lp Systems and methods for missed breath detection and indication
US9907967B2 (en) 2012-07-26 2018-03-06 Adi Mashiach Transcutaneous power conveyance device
US10052097B2 (en) 2012-07-26 2018-08-21 Nyxoah SA Implant unit delivery tool
US11253712B2 (en) 2012-07-26 2022-02-22 Nyxoah SA Sleep disordered breathing treatment apparatus
WO2014016694A2 (en) 2012-07-26 2014-01-30 Adi Mashiach Internal resonance matching between an implanted device and an external device
US9504828B2 (en) * 2012-07-26 2016-11-29 Nyxoah SA Electrical contacts on a medical device patch
WO2014020552A1 (en) * 2012-08-03 2014-02-06 Koninklijke Philips N.V. An apparatus and a method for supporting an airway of a subject
CA2881462C (en) 2012-08-09 2020-07-14 University Of Iowa Research Foundation Catheters, catheter systems, and methods for puncturing through a tissue structure
US9623238B2 (en) 2012-08-23 2017-04-18 Endostim, Inc. Device and implantation system for electrical stimulation of biological systems
US9615788B2 (en) 2012-08-31 2017-04-11 Nuvectra Corporation Method and system of producing 2D representations of 3D pain and stimulation maps and implant models on a clinician programmer
US8903496B2 (en) 2012-08-31 2014-12-02 Greatbatch Ltd. Clinician programming system and method
US8868199B2 (en) 2012-08-31 2014-10-21 Greatbatch Ltd. System and method of compressing medical maps for pulse generator or database storage
AU2013308517A1 (en) 2012-08-31 2015-04-02 The United States Of America, As Represented By The Department Of Veterans Affairs Controlling coughing and swallowing
US9180302B2 (en) 2012-08-31 2015-11-10 Greatbatch Ltd. Touch screen finger position indicator for a spinal cord stimulation programming device
US9375582B2 (en) 2012-08-31 2016-06-28 Nuvectra Corporation Touch screen safety controls for clinician programmer
US9594877B2 (en) 2012-08-31 2017-03-14 Nuvectra Corporation Virtual reality representation of medical devices
US9507912B2 (en) 2012-08-31 2016-11-29 Nuvectra Corporation Method and system of simulating a pulse generator on a clinician programmer
US9471753B2 (en) 2012-08-31 2016-10-18 Nuvectra Corporation Programming and virtual reality representation of stimulation parameter Groups
US9042992B2 (en) 2012-08-31 2015-05-26 University Of Florida Research Foundation, Inc. Protecting airways
US9259577B2 (en) 2012-08-31 2016-02-16 Greatbatch Ltd. Method and system of quick neurostimulation electrode configuration and positioning
US8983616B2 (en) 2012-09-05 2015-03-17 Greatbatch Ltd. Method and system for associating patient records with pulse generators
US8812125B2 (en) 2012-08-31 2014-08-19 Greatbatch Ltd. Systems and methods for the identification and association of medical devices
US10668276B2 (en) 2012-08-31 2020-06-02 Cirtec Medical Corp. Method and system of bracketing stimulation parameters on clinician programmers
US8761897B2 (en) 2012-08-31 2014-06-24 Greatbatch Ltd. Method and system of graphical representation of lead connector block and implantable pulse generators on a clinician programmer
US9767255B2 (en) 2012-09-05 2017-09-19 Nuvectra Corporation Predefined input for clinician programmer data entry
US8757485B2 (en) 2012-09-05 2014-06-24 Greatbatch Ltd. System and method for using clinician programmer and clinician programming data for inventory and manufacturing prediction and control
JP6096300B2 (en) 2012-10-02 2017-03-15 カーディアック ペースメイカーズ, インコーポレイテッド Cuff electrode assembly and lead assembly
JP6162245B2 (en) 2012-10-02 2017-07-12 カーディアック ペースメイカーズ, インコーポレイテッド Lead assembly with cuff electrode assembly
US9265458B2 (en) 2012-12-04 2016-02-23 Sync-Think, Inc. Application of smooth pursuit cognitive testing paradigms to clinical drug development
WO2014087337A1 (en) 2012-12-06 2014-06-12 Bluewind Medical Ltd. Delivery of implantable neurostimulators
EP2931341A1 (en) * 2012-12-17 2015-10-21 Koninklijke Philips N.V. Multi function docking module for a pressure support therapy system
JP6026674B2 (en) 2012-12-28 2016-11-16 カーディアック ペースメイカーズ, インコーポレイテッド Stimulation cuff and implantable device
EP2956208B1 (en) 2013-02-13 2021-01-13 Cardiac Pacemakers, Inc. Cuff electrode with integrated tendril
US20150297885A1 (en) * 2013-02-26 2015-10-22 Endostim, Inc. Implantable Electrical Stimulation Leads
WO2014137861A1 (en) 2013-03-07 2014-09-12 Imthera Medical, Inc. Lead splitter for neurostimulation systems
WO2014138709A1 (en) 2013-03-08 2014-09-12 Oculeve, Inc. Devices and methods for treating dry eye in animals
US9380976B2 (en) 2013-03-11 2016-07-05 Sync-Think, Inc. Optical neuroinformatics
EP2967817B1 (en) 2013-03-12 2021-03-10 Oculeve, Inc. Implant delivery devices and systems
US8870798B2 (en) * 2013-03-14 2014-10-28 CyMedica, Inc. Systems and methods for treating human joints
US9072898B2 (en) 2013-03-14 2015-07-07 CyMedica, Inc. System and methods for treating or supporting human joints or a portion of the human body
NZ704579A (en) 2013-04-19 2018-10-26 Oculeve Inc Nasal stimulation devices and methods
US10065047B2 (en) 2013-05-20 2018-09-04 Nervive, Inc. Coordinating emergency treatment of cardiac dysfunction and non-cardiac neural dysfunction
US9155899B2 (en) 2013-06-17 2015-10-13 Nyxoah SA Antenna buffer layer for an electromagnetic control unit
US9539422B2 (en) 2013-07-02 2017-01-10 Greatbatch Ltd. Neurostimulator interconnection apparatus, system, and method
TWI615168B (en) * 2013-08-06 2018-02-21 Univ Chang Gung Electric stimulation system and method for strengthening squat muscle group
TWI617330B (en) * 2013-08-06 2018-03-11 Univ Chang Gung Negative pressure breathing muscle training system and method
US9782585B2 (en) 2013-08-27 2017-10-10 Halo Neuro, Inc. Method and system for providing electrical stimulation to a user
WO2015031517A1 (en) 2013-08-27 2015-03-05 Halo Neuro Inc. Method and system for providing electrical stimulation to a user
EP3038699B1 (en) 2013-08-27 2024-08-14 Flow Neuroscience, Inc. Electrode system for electrical stimulation
US9486618B2 (en) 2013-08-27 2016-11-08 Halo Neuro, Inc. Electrode system for electrical stimulation
EP3041564A4 (en) 2013-09-03 2017-03-29 Endostim, Inc. Methods and systems of electrode polarity switching in electrical stimulation therapy
EP3062733A1 (en) 2013-10-28 2016-09-07 3Shape A/S Method for applying design guides
ES2702906T3 (en) 2013-11-19 2019-03-06 Cleveland Clinic Found System for treating obstructive sleep apnea using a neuromuscular stimulator
WO2015103574A1 (en) 2014-01-06 2015-07-09 Iowa Approach Inc. Apparatus and methods for renal denervation ablation
EP2904969B1 (en) * 2014-02-11 2022-01-05 Sorin CRM SAS Device for treating the sleep apnea syndrome in a patient by kinaesthetic stimulation
US11383083B2 (en) 2014-02-11 2022-07-12 Livanova Usa, Inc. Systems and methods of detecting and treating obstructive sleep apnea
EP2905006B8 (en) * 2014-02-11 2017-06-07 Sorin CRM SAS Device for discriminating the stages of sleep of a patient
US10569037B2 (en) 2014-02-14 2020-02-25 John M. O'Day Nasopharyngeal device for obstructive sleep apnea syndrome
US10307086B2 (en) * 2014-02-17 2019-06-04 Hong Kong Baptist University Gait measurement with 3-axes accelerometer/gyro in mobile devices
ES2812752T3 (en) 2014-02-25 2021-03-18 Oculeve Inc Polymer formulations for nasolacrimal stimulation
WO2015153837A1 (en) 2014-04-04 2015-10-08 Med-El Elektromedizinische Geraete Gmbh Acceleration sensors for recording of triggered respiratory signals in neurostmulators
US20150283382A1 (en) * 2014-04-04 2015-10-08 Med-El Elektromedizinische Geraete Gmbh Respiration Sensors For Recording Of Triggered Respiratory Signals In Neurostimulators
CN106456973B (en) * 2014-04-28 2019-05-03 Med-El电气医疗器械有限公司 Respiration sensor for recording respiration signals triggered in neurostimulators
EP3139997B1 (en) 2014-05-07 2018-09-19 Farapulse, Inc. Apparatus for selective tissue ablation
EP3142584A1 (en) 2014-05-16 2017-03-22 Iowa Approach Inc. Methods and apparatus for multi-catheter tissue ablation
WO2015187949A1 (en) * 2014-06-04 2015-12-10 Giridharagopalan Subhalakshmi System and method for sensor driven intelligent oral appliance
EP3154464B1 (en) 2014-06-12 2025-03-12 Boston Scientific Scimed, Inc. Apparatus for rapid and selective tissue ablation with cooling
EP3154463B1 (en) 2014-06-12 2019-03-27 Farapulse, Inc. Apparatus for rapid and selective transurethral tissue ablation
EP4406589A3 (en) * 2014-07-22 2024-08-07 Imthera Medical, Inc. Method for adjusting a system for stimulating a hypoglossal nerve
US9687652B2 (en) 2014-07-25 2017-06-27 Oculeve, Inc. Stimulation patterns for treating dry eye
US9808591B2 (en) 2014-08-15 2017-11-07 Covidien Lp Methods and systems for breath delivery synchronization
EP3180069B1 (en) * 2014-08-17 2020-05-13 Nine Continents Medical, Inc. Miniature implatable neurostimulator system for sciatic nerves and their branches
EP3191172B1 (en) * 2014-09-12 2021-10-20 Neuros Medical, Inc. Nerve cuff electrode for neuromodulation in large human nerve trunks
DE102014014927A1 (en) * 2014-10-07 2016-04-07 Neuroloop GmbH Implantable electrode arrangement
WO2016060983A1 (en) 2014-10-14 2016-04-21 Iowa Approach Inc. Method and apparatus for rapid and safe pulmonary vein cardiac ablation
US10471268B2 (en) 2014-10-16 2019-11-12 Mainstay Medical Limited Systems and methods for monitoring muscle rehabilitation
EP3209371A4 (en) 2014-10-22 2018-10-24 Oculeve, Inc. Implantable nasal stimulator systems and methods
EP3209370A4 (en) 2014-10-22 2018-05-30 Oculeve, Inc. Contact lens for increasing tear production
WO2016065215A1 (en) 2014-10-22 2016-04-28 Oculeve, Inc. Stimulation devices and methods for treating dry eye
US11311725B2 (en) 2014-10-24 2022-04-26 Setpoint Medical Corporation Systems and methods for stimulating and/or monitoring loci in the brain to treat inflammation and to enhance vagus nerve stimulation
US9950129B2 (en) 2014-10-27 2018-04-24 Covidien Lp Ventilation triggering using change-point detection
WO2016081468A2 (en) 2014-11-17 2016-05-26 Endostim, Inc. Implantable electro-medical device programmable for improved operational life
CN106999722B (en) * 2014-11-19 2019-03-22 夏普株式会社 Photodynamic therapy device
FR3028745B1 (en) * 2014-11-24 2021-07-23 Inst Nat Sante Rech Med VIBROTACTILE STIMULATION DEVICE
CN108367150B (en) * 2014-11-26 2021-11-30 Spr治疗股份有限公司 Electrical stimulator for peripheral stimulation
GB201421448D0 (en) 2014-12-03 2015-01-14 Armighorn Medical Ltd Oral muscle training
EP3031437B1 (en) * 2014-12-08 2017-09-13 Sorin CRM SAS Device for optimising treatment of sleep apnoea syndrome by kinesthetic stimulation
EP3031492B1 (en) * 2014-12-08 2017-10-25 Sorin CRM SAS System for treating a respiratory condition by kinesthetic stimulation, with stabilisation control of the stimulation
EP3031491B1 (en) * 2014-12-08 2019-01-30 Sorin CRM SAS System for treating a respiratory condition by kinesthetic stimulation, with selection of stimulation strategies
US10004896B2 (en) 2015-01-21 2018-06-26 Bluewind Medical Ltd. Anchors and implant devices
US9597521B2 (en) 2015-01-21 2017-03-21 Bluewind Medical Ltd. Transmitting coils for neurostimulation
US9764146B2 (en) 2015-01-21 2017-09-19 Bluewind Medical Ltd. Extracorporeal implant controllers
WO2016126807A1 (en) 2015-02-03 2016-08-11 Setpoint Medical Corporation Apparatus and method for reminding, prompting, or alerting a patient with an implanted stimulator
US10946195B2 (en) * 2015-03-13 2021-03-16 Case Western Reserve University System and method for ensuring airway patency when asleep
CN113908438A (en) 2015-03-19 2022-01-11 启迪医疗仪器公司 Stimulation for treating sleep disordered breathing
US9935501B2 (en) * 2015-04-10 2018-04-03 Samsung Electro-Mechanics Co., Ltd. Wireless power transmitting and receiving device, apparatus including the same, and method
WO2016195809A1 (en) * 2015-06-05 2016-12-08 The Alfred E. Mann Foundation For Scientific Research Upper airway stimulator systems for obstructive sleep apnea
US9782589B2 (en) 2015-06-10 2017-10-10 Bluewind Medical Ltd. Implantable electrostimulator for improving blood flow
US20180001107A1 (en) 2016-07-01 2018-01-04 Btl Holdings Limited Aesthetic method of biological structure treatment by magnetic field
CN108290037B (en) 2015-10-26 2021-10-08 福禄神经学公司 Electrode positioning system and method
US10105540B2 (en) 2015-11-09 2018-10-23 Bluewind Medical Ltd. Optimization of application of current
US9713707B2 (en) 2015-11-12 2017-07-25 Bluewind Medical Ltd. Inhibition of implant migration
EP4252833B1 (en) * 2015-11-17 2026-02-11 Inspire Medical Systems, Inc. Microstimulation sleep disordered breathing (sdb) therapy device
CN109069297A (en) * 2015-11-23 2018-12-21 通用医疗公司 System and method for the percutaneous vagal stimulation of auricle formula
WO2017091695A1 (en) * 2015-11-24 2017-06-01 The Charles Stark Draper Laboratory, Inc. Laser-assisted drug delivery system
US10426958B2 (en) 2015-12-04 2019-10-01 Oculeve, Inc. Intranasal stimulation for enhanced release of ocular mucins and other tear proteins
US10493224B2 (en) 2015-12-31 2019-12-03 At&T Intellectual Property I, L.P. Apparatus and method for improving an artificial respirator
US10172673B2 (en) 2016-01-05 2019-01-08 Farapulse, Inc. Systems devices, and methods for delivery of pulsed electric field ablative energy to endocardial tissue
US12144541B2 (en) 2016-01-05 2024-11-19 Boston Scientific Scimed, Inc. Systems, apparatuses and methods for delivery of ablative energy to tissue
US10130423B1 (en) 2017-07-06 2018-11-20 Farapulse, Inc. Systems, devices, and methods for focal ablation
US10660702B2 (en) 2016-01-05 2020-05-26 Farapulse, Inc. Systems, devices, and methods for focal ablation
US20170189097A1 (en) 2016-01-05 2017-07-06 Iowa Approach Inc. Systems, apparatuses and methods for delivery of ablative energy to tissue
US10596367B2 (en) 2016-01-13 2020-03-24 Setpoint Medical Corporation Systems and methods for establishing a nerve block
CN108882885A (en) 2016-01-20 2018-11-23 赛博恩特医疗器械公司 Control of vagus nerve stimulation
US11471681B2 (en) 2016-01-20 2022-10-18 Setpoint Medical Corporation Batteryless implantable microstimulators
WO2017127758A1 (en) 2016-01-20 2017-07-27 Setpoint Medical Corporation Implantable microstimulators and inductive charging systems
US10583304B2 (en) 2016-01-25 2020-03-10 Setpoint Medical Corporation Implantable neurostimulator having power control and thermal regulation and methods of use
US10814127B2 (en) 2016-02-05 2020-10-27 Boston Scientific Neuromodulation Corporation Slotted sleeve neurostimulation device
CN108778409B (en) * 2016-02-08 2022-04-08 哈洛纽罗公司 Methods and systems for improving the delivery of electrical stimulation
AU2017220115B2 (en) * 2016-02-19 2019-11-21 Boston Scientific Neuromodulation Corporation Electrical stimulation cuff devices and systems
US10252048B2 (en) 2016-02-19 2019-04-09 Oculeve, Inc. Nasal stimulation for rhinitis, nasal congestion, and ocular allergies
DE102016103597A1 (en) * 2016-02-29 2017-08-31 Albert-Ludwigs-Universität Freiburg Implantable cuff electrode
AU2017252643B2 (en) 2016-04-19 2022-04-14 Inspire Medical Systems, Inc. Accelerometer-based sensing for sleep disordered breathing (SDB) care
AU2017260237A1 (en) 2016-05-02 2018-11-22 Oculeve, Inc. Intranasal stimulation for treatment of meibomian gland disease and blepharitis
US11464993B2 (en) 2016-05-03 2022-10-11 Btl Healthcare Technologies A.S. Device including RF source of energy and vacuum system
US10493269B2 (en) 2016-06-02 2019-12-03 Boston Scientific Neuromodulation Corporation Leads for electrostimulation of peripheral nerves and other targets
EP3471631A4 (en) 2016-06-16 2020-03-04 Farapulse, Inc. GUIDE WIRE DISTRIBUTION SYSTEMS, APPARATUSES AND METHODS
US10485443B2 (en) 2016-06-20 2019-11-26 Halo Neuro, Inc. Electrical interface system
US10709888B2 (en) 2016-07-29 2020-07-14 Boston Scientific Neuromodulation Corporation Systems and methods for making and using an electrical stimulation system for peripheral nerve stimulation
WO2018057745A1 (en) * 2016-09-23 2018-03-29 Kosmo Technologies, Inc. Methods and devices for positioning of a mandible of a subject for determining and manipulating an airway opening
WO2018063183A1 (en) * 2016-09-28 2018-04-05 Oday John M Nasopharyngeal device for obstructive sleep apnea syndrome
US12465761B2 (en) 2016-11-17 2025-11-11 Endostim, Inc. Electrical stimulation system for the treatment of gastrointestinal disorders
WO2018094207A1 (en) 2016-11-17 2018-05-24 Endostim, Inc. Modular stimulation system for the treatment of gastrointestinal disorders
US10124178B2 (en) 2016-11-23 2018-11-13 Bluewind Medical Ltd. Implant and delivery tool therefor
JP2020500609A (en) 2016-12-02 2020-01-16 オキュリーブ, インコーポレイテッド Apparatus and method for dry eye prediction and treatment recommendations
EP3548140B1 (en) 2016-12-02 2022-04-20 Boston Scientific Neuromodulation Corporation Systems for selecting stimulation parameters for electrical stimulation devices
WO2018144631A1 (en) * 2017-02-01 2018-08-09 The Alfred E. Mann Foundation For Scientific Research Stimulator systems and methods for obstructive sleep apnea
KR102069613B1 (en) 2017-02-21 2020-02-11 에이피시스템 주식회사 Apparatus for irradiating light
US10525255B2 (en) 2017-03-08 2020-01-07 Halo Neuro, Inc. System for electrical stimulation
EP3606603A1 (en) 2017-04-06 2020-02-12 Endostim, Inc. Implantable surface electrodes and method of implantation
US10617867B2 (en) 2017-04-28 2020-04-14 Farapulse, Inc. Systems, devices, and methods for delivery of pulsed electric field ablative energy to esophageal tissue
US10981000B2 (en) 2017-05-02 2021-04-20 The Alfred E. Mann Foundation For Scientific Research Self-expanding nerve cuff electrode
US20180353764A1 (en) 2017-06-13 2018-12-13 Bluewind Medical Ltd. Antenna configuration
GB2563440B (en) * 2017-06-16 2019-06-05 Cardiaccs As Securing a sensor at the heart
US11395915B2 (en) 2017-07-28 2022-07-26 Galvani Bioelectronics Limited Electrode devices and methods of manufacturing
EP3658221B1 (en) * 2017-07-28 2021-08-25 Galvani Bioelectronics Limited Electrode devices for neurostimulation
WO2019020986A1 (en) 2017-07-28 2019-01-31 Galvani Bioelectronics Limited Electrode devices for neurostimulation
WO2019020985A1 (en) * 2017-07-28 2019-01-31 Galvani Bioelectronics Limited Electrode devices for neurostimulation
AU2018316277B2 (en) * 2017-08-11 2023-12-07 Inspire Medical Systems, Inc. Cuff electrode
WO2019036470A1 (en) 2017-08-14 2019-02-21 Setpoint Medical Corporation Vagus nerve stimulation pre-screening test
WO2019046547A1 (en) * 2017-08-31 2019-03-07 Mayo Foundation For Medical Education And Research Systems and methods for controlling breathing
CN111065327B (en) 2017-09-12 2023-01-06 波士顿科学医学有限公司 Systems, devices, and methods for ventricular focal ablation
US10507324B2 (en) 2017-11-17 2019-12-17 Halo Neuro, Inc. System and method for individualizing modulation
US11980720B2 (en) * 2017-12-08 2024-05-14 The Texas A&M University System Wearable therapeutic intervention device for sleep disorders and methods of use thereof
BR112020011807A2 (en) 2017-12-13 2020-11-17 Neuros Medical, Inc. nerve sheath implantation devices
WO2019140404A1 (en) 2018-01-14 2019-07-18 Stimaire, Inc. Wireless neural stimulator with injectable
EP4275738B1 (en) 2018-02-08 2025-12-17 Boston Scientific Scimed, Inc. Apparatus for controlled delivery of pulsed electric field ablative energy to tissue
DE102018204036B4 (en) * 2018-03-16 2025-05-08 Neuroloop GmbH Implant in the form of a wound cuff electrode arrangement
CN112188915A (en) 2018-04-09 2021-01-05 纽若斯医疗公司 Device and method for setting an electric dose
US20190336198A1 (en) 2018-05-03 2019-11-07 Farapulse, Inc. Systems, devices, and methods for ablation using surgical clamps
CN116327352A (en) 2018-05-07 2023-06-27 波士顿科学医学有限公司 epicardial ablation catheter
WO2019217317A1 (en) 2018-05-07 2019-11-14 Farapulse, Inc. Systems, apparatuses, and methods for filtering high voltage noise induced by pulsed electric field ablation
WO2019217433A1 (en) 2018-05-07 2019-11-14 Farapulse, Inc. Systems, apparatuses and methods for delivery of ablative energy to tissue
CA3099804A1 (en) 2018-05-14 2019-11-21 Covidien Lp Systems and methods for respiratory effort detection utilizing signal distortion
DE102018207709A1 (en) * 2018-05-17 2019-11-21 Neuroloop GmbH Device for extravascular or extraneuronal attachment of a medical implant in the form of a winding cuff
JP2021524772A (en) 2018-06-01 2021-09-16 ゼネア テクノロジーズ インコーポレイテツドZennea Technologies Inc. Methods and Devices for Treating Sleep-Related Brain Disorders
TWI672118B (en) * 2018-06-08 2019-09-21 溫義輝 Probe for nerve detection system
EP3603737B1 (en) 2018-07-31 2020-08-26 Flow Neuroscience AB Positioning of electrodes for transcranial brain stimulation
WO2020037145A1 (en) * 2018-08-15 2020-02-20 Cvrx, Inc. Devices and methods for percutaneous electrode implant
US10687892B2 (en) 2018-09-20 2020-06-23 Farapulse, Inc. Systems, apparatuses, and methods for delivery of pulsed electric field ablative energy to endocardial tissue
US20210402191A1 (en) * 2018-09-24 2021-12-30 Galvani Bioelectronics Limited Implantable pulse generator with suture holes, methods for implanting the same, and encapsulation of external components in active implantable medical devices
US11097115B2 (en) * 2018-09-24 2021-08-24 Galvani Bioelectronics Limited Implantable pulse generator with suture holes and methods for implanting the same
US11260229B2 (en) 2018-09-25 2022-03-01 The Feinstein Institutes For Medical Research Methods and apparatuses for reducing bleeding via coordinated trigeminal and vagal nerve stimulation
AU2018444554A1 (en) * 2018-10-03 2021-04-08 Breas Medical Ab Devices and methods for treating a breathing-related sleep disorder, methods of use and control processes for such a device
US11752287B2 (en) 2018-10-03 2023-09-12 Covidien Lp Systems and methods for automatic cycling or cycling detection
US12390638B2 (en) 2018-10-17 2025-08-19 Signifier Medical Technologies Limited Oral muscle training
GB2573028B (en) 2018-10-17 2020-04-29 Signifier Medical Tech Limited Oral muscle training
EP3866910A1 (en) 2018-10-17 2021-08-25 Signifier Medical Technologies Limited Oral muscle training
US12551701B2 (en) 2018-10-23 2026-02-17 Saluda Medical Pty Limited Charge monitor
US11642175B2 (en) * 2018-11-15 2023-05-09 Centerline Biomedical, Inc. Systems and methods for registration using an anatomical measurement wire
FR3088554A1 (en) * 2018-11-21 2020-05-22 Sorin Crm Sas Implantable medical probe with strain relief device
FR3088553A1 (en) 2018-11-21 2020-05-22 Sorin Crm Sas Implantable lead
WO2020142613A1 (en) 2019-01-04 2020-07-09 Shifamed Holdings, Llc Internal recharging systems and methods of use
US11564829B2 (en) 2019-01-25 2023-01-31 Virender K. Sharma Devices for treating obstructive sleep apnea
WO2020179941A1 (en) * 2019-03-05 2020-09-10 서울대학교산학협력단 Palatal implant and electrical stimulation system using same
US11266837B2 (en) * 2019-03-06 2022-03-08 Medtronic Xomed, Inc. Position sensitive lingual muscle simulation system for obstructive sleep apnea
JP7482590B2 (en) * 2019-03-08 2024-05-14 バンダービルト・ユニバーシティ Systems and methods for treating sleep disordered breathing - Patents.com
US11478638B2 (en) * 2019-03-22 2022-10-25 Neurostim Technologies Llc Detection and treatment of obstructive sleep apnea
US12558146B2 (en) 2019-04-11 2026-02-24 Btl Medical Solutions A.S. Methods and devices for aesthetic treatment of biological structures by radiofrequency and magnetic energy
US12343535B2 (en) 2019-04-12 2025-07-01 Setpoint Medical Corporation Vagus nerve stimulation to treat neurodegenerative disorders
US11446485B2 (en) * 2019-04-26 2022-09-20 Nextern Innovation, Llc Lead for the temporary stimulation of a peripheral nerve
EP4241690A3 (en) 2019-05-02 2023-10-25 XII Medical, Inc. Systems for improving sleep disordered breathing
JP7550461B2 (en) 2019-06-12 2024-09-13 ラングペーサー メディカル インコーポレイテッド Circuit for medical stimulation system
US12214192B2 (en) 2019-06-28 2025-02-04 ResMed Pty Ltd Band with built-in stimulator
WO2021016562A1 (en) 2019-07-25 2021-01-28 Inspire Medical Systems, Inc. Respiration detection
AU2020315918B2 (en) 2019-07-25 2025-09-18 Inspire Medical Systems, Inc. Systems and methods for operating an implantable medical device based upon sensed posture information
IL268936A (en) * 2019-08-26 2021-03-01 Nyxoah SA Method and process for placement and fixation of a surgical implant
AU2020345951B2 (en) * 2019-09-13 2024-01-04 Vanderbilt University Neuromodulation of the glossopharyngeal nerve to improve sleep disordered breathing
US10625080B1 (en) 2019-09-17 2020-04-21 Farapulse, Inc. Systems, apparatuses, and methods for detecting ectopic electrocardiogram signals during pulsed electric field ablation
WO2021076188A1 (en) 2019-10-15 2021-04-22 Enhale Medical, Inc. Biased neuromodulation lead and method of using same
EP3821940B1 (en) * 2019-11-13 2025-01-01 BIOTRONIK SE & Co. KG Electrode contact, electrode lead comprising an electrode contact and method for connecting an electrode contact to an electrical lead
US11065047B2 (en) 2019-11-20 2021-07-20 Farapulse, Inc. Systems, apparatuses, and methods for protecting electronic components from high power noise induced by high voltage pulses
US11497541B2 (en) 2019-11-20 2022-11-15 Boston Scientific Scimed, Inc. Systems, apparatuses, and methods for protecting electronic components from high power noise induced by high voltage pulses
US10842572B1 (en) 2019-11-25 2020-11-24 Farapulse, Inc. Methods, systems, and apparatuses for tracking ablation devices and generating lesion lines
EP4087475B1 (en) * 2020-01-10 2025-04-23 Nuxcel2, Llc Systems for stimulation of cranial nerves
JP2023512447A (en) 2020-01-13 2023-03-27 ザ ファインスタイン インスティチューツ フォー メディカル リサーチ Treatment of bleeding and bleeding disorders with high-intensity focused ultrasound stimulation to the spleen
US11819233B2 (en) 2020-01-24 2023-11-21 Medtronic Xomed, Inc. Devices and techniques for separating tissue
US11426201B2 (en) 2020-01-24 2022-08-30 Medtronic Xomed, Inc. Treatment of obstructive sleep apnea (OSA)
US11666751B2 (en) 2020-01-24 2023-06-06 Medtronic Xomed, Inc. Combination obstructive sleep apnea trialing lead and chronic lead
US11198002B2 (en) 2020-01-24 2021-12-14 Medtronic Xomed, Inc. Needle and introducer used in lead placement for obstructive sleep apnea treatment
US11273305B2 (en) 2020-01-24 2022-03-15 Medtronic Xomed, Inc. Medical lead for treating obstructive sleep apnea (OSA) with electrical stimulation
EP4103267B1 (en) 2020-02-11 2025-06-04 Neuros Medical, Inc. System for quantifying qualitative patient-reported data sets
CA3166004A1 (en) * 2020-02-11 2021-08-19 Tarek Makansi Less invasive and improved peripheral nerve stimulators for obstructive sleep apnea and other applications
JP2023514940A (en) * 2020-02-28 2023-04-12 レズメド ピーティーワイ リミテッド Systems and methods for assisting breathing in a user using an implantable device
WO2021217059A1 (en) 2020-04-23 2021-10-28 Shifamed Holdings, Llc Power management for interatrial shunts and associated systems and methods
EP4146335B1 (en) 2020-05-04 2024-11-13 BTL Healthcare Technologies a.s. Device for unattended treatment of a patient
US11878167B2 (en) 2020-05-04 2024-01-23 Btl Healthcare Technologies A.S. Device and method for unattended treatment of a patient
US11938324B2 (en) 2020-05-21 2024-03-26 The Feinstein Institutes For Medical Research Systems and methods for vagus nerve stimulation
AU2021281465A1 (en) * 2020-05-23 2022-12-15 Inspire Medical Systems, Inc. Single or multiple nerve stimulation to treat sleep disordered breathing
US11464985B2 (en) 2020-05-26 2022-10-11 Medtronic, Inc. Implantable medical device using internal sensors to determine when to switch operational modes
US12263336B2 (en) * 2020-07-22 2025-04-01 Nexalin Technology, Inc. Alternating current dynamic frequency stimulation system and method for opioid use disorder (OUD) and substance use disorder (SUD)
JP7536995B2 (en) 2020-07-24 2024-08-20 ボストン サイエンティフィック サイムド,インコーポレイテッド Electric field application for single-shot cardiac ablation by irreversible electroporation
US12310652B2 (en) 2020-07-24 2025-05-27 Boston Scientific Scimed, Inc. Hybrid electroporation ablation catheter
EP4208248A1 (en) 2020-09-02 2023-07-12 The Alfred E. Mann Foundation for Scientific Research Electrode leads having multi-application nerve cuffs and associated systems and methods
WO2022055961A2 (en) 2020-09-08 2022-03-17 Farapulse, Inc. Contoured electrodes for pulsed electric field ablation, and systems, devices, and methods thereof
WO2022072385A2 (en) 2020-09-30 2022-04-07 Boston Scientific Scimed Inc Pretreatment waveform for irreversible electroporation
US20220134101A1 (en) * 2020-10-30 2022-05-05 Medtronic Xomed, Inc. Sleep apnea therapy
US11986658B2 (en) 2020-11-04 2024-05-21 Invicta Medical, Inc. Implantable electrodes with remote power delivery for treating sleep apnea, and associated systems and methods
WO2022125571A1 (en) 2020-12-08 2022-06-16 The Regents Of The University Of California Bioelectric neuromodulation for hematopoiesis regulation during chemotherapy
US11691010B2 (en) 2021-01-13 2023-07-04 Xii Medical, Inc. Systems and methods for improving sleep disordered breathing
JP7764483B2 (en) 2021-01-27 2025-11-05 ボストン サイエンティフィック サイムド,インコーポレイテッド Voltage-controlled pulse sequences for irreversible electroporation ablation
TWI820560B (en) 2021-03-08 2023-11-01 臺北醫學大學 Manufacture method of dental appliance for treating obstructive sleep apnea-hypopnea syndrome
AU2022249112A1 (en) 2021-03-30 2023-10-12 The Alfred E. Mann Foundation For Scientific Research Electrode leads having nerve cuffs and associated systems
US12444497B2 (en) 2021-05-17 2025-10-14 Setpoint Medical Corporation Neurostimulation parameter authentication and expiration system for neurostimulation
EP4313262B1 (en) 2021-05-21 2025-04-02 Boston Scientific Neuromodulation Corporation Electrical stimulation devices
US12343544B2 (en) * 2021-06-17 2025-07-01 Bmseed Llc Peripheral nerve interface device
CA3224431A1 (en) * 2021-06-29 2023-01-05 Richard W. O'connor Wearable devices for treating sleep apnea, and associated systems and methods
AU2021455531B2 (en) 2021-07-09 2024-08-08 The Alfred E. Mann Foundation For Scientific Research Electrode leads having multi-application helical nerve cuffs and associated systems and methods
US20250082927A1 (en) * 2021-08-24 2025-03-13 Cochlear Limited Wirelessly powered medical implant for treatment of sleep-disordered breathing
AU2022334585B2 (en) * 2021-08-25 2025-06-05 Vanderbilt University Systems and methods of improving sleep disordered breathing
US11400299B1 (en) 2021-09-14 2022-08-02 Rainbow Medical Ltd. Flexible antenna for stimulator
CA3250990A1 (en) 2022-02-01 2023-08-10 The Alfred E. Mann Foundation For Scientific Research Electrode leads having nerve contact elements with coil contacts and associated systems and methods
US20230240715A1 (en) * 2022-02-02 2023-08-03 Invicta Medical, Inc. Delivery systems for injected neurostimulation devices, and associated systems and methods
AU2023276444A1 (en) * 2022-05-24 2024-12-19 Inspire Medical Systems, Inc. Sensing and applying stimulation in timed relationship
CN114949602A (en) * 2022-06-02 2022-08-30 重庆大学 Closed-loop control method and system for monitoring neuromuscular electrical stimulation response on line
US20230414945A1 (en) * 2022-06-22 2023-12-28 Capri Medical Limited Sleep apnea treatment system and method
EP4551287A1 (en) 2022-07-05 2025-05-14 The Alfred E. Mann Foundation for Scientific Research Tissue stimulation apparatus and methods of making the same
US12558549B2 (en) 2022-10-28 2026-02-24 Medtronic, Inc. Lead based measurements for tongue movement determination
WO2024136949A1 (en) * 2022-12-20 2024-06-27 Boston Scientific Neuromodulation Corporation Optical modulation cuff devices, systems, and methods of making and using
US11964154B1 (en) 2022-12-22 2024-04-23 Invicta Medical, Inc. Signal delivery devices to treat sleep apnea, and associated methods and systems
US20240216692A1 (en) * 2022-12-29 2024-07-04 Inspire Medical Systems, Inc. Stimulating a glossopharyngeal-related tissue for upper airway patency
US20240252030A1 (en) * 2023-01-31 2024-08-01 Covidien Lp Locking cartridge for connecting an endoscope to a video laryngoscope
EP4673209A1 (en) * 2023-03-02 2026-01-07 XII Medical, Inc. Devices for treating sleep disordered breathing
EP4680102A2 (en) * 2023-03-17 2026-01-21 Invicta Medical, Inc. Methods for positioning signal delivery devices to treat sleep apnea, and associated devices and treatments
CN116473562A (en) * 2023-06-21 2023-07-25 博睿康科技(常州)股份有限公司 Smart electrode and manufacturing method thereof
AU2024300974A1 (en) * 2023-07-24 2026-01-22 The Alfred E. Mann Foundation For Scientific Research Stimulation device and methods of stimulation
DE102023126302A1 (en) * 2023-09-27 2025-03-27 Neuroloop GmbH Medical implantable device
DE102023126630A1 (en) * 2023-09-29 2025-04-03 Neuroloop GmbH Medical implant
DE102023126781A1 (en) * 2023-10-02 2025-04-03 Neuroloop GmbH Cuff-shaped medical implant
WO2025207899A1 (en) * 2024-03-28 2025-10-02 Zoll Medical Corporation Nerve cuff for disordered breathing therapy
USD1104275S1 (en) 2024-05-30 2025-12-02 Inspire Medical Systems, Inc. Medical neck support
US12478786B1 (en) 2024-08-21 2025-11-25 Restora Medical, Inc. Electrode devices and methods for neurostimulation treatment
US12564726B1 (en) 2024-10-08 2026-03-03 Btl Medical Solutions A.S. Devices and methods for application of a magnetic field to the nervous system
CN120837843B (en) * 2025-09-19 2026-01-02 杭州神络医疗科技有限公司 Electrical stimulation device and control method for electrical stimulation device

Citations (353)

* Cited by examiner, † Cited by third party
Publication number Priority date Publication date Assignee Title
US758030A (en) 1903-06-30 1904-04-19 Thomas Carence Nasal shield.
US1520930A (en) 1923-09-01 1924-12-30 Harry L Calhoun Filter
US1701277A (en) 1927-02-18 1929-02-05 Willson Products Inc Valve device for respirators or the like
US1914418A (en) 1930-02-15 1933-06-20 Goyena Manuel Garcia Nose protector
US2046664A (en) 1935-11-07 1936-07-07 Nasal Filter Co Nasal filter
US2151227A (en) 1937-02-12 1939-03-21 Pawelek Anthony Nasal insert
US2237954A (en) 1939-06-30 1941-04-08 William R Wilson Nasal filter and inhaler
US2243360A (en) 1938-12-30 1941-05-27 Slatis Abraham Filter or medicament casing
US2274886A (en) 1940-08-10 1942-03-03 Harold D Carroll Nasal respirator
US2526586A (en) 1949-09-20 1950-10-17 Leonard M Shuff Nasal filter
US2693799A (en) 1950-03-16 1954-11-09 Jr Harry H Herman Breathing attachment for swimmers
US2777442A (en) 1955-04-11 1957-01-15 Zelano Joseph Nasal filter
US2928388A (en) 1957-04-24 1960-03-15 Alfred P Jaroslaw Disposable respirators
US3457917A (en) 1966-02-17 1969-07-29 John A Mercurio Nasal filtering device
US3513839A (en) 1968-01-02 1970-05-26 Matthew Vacante Valved nose filter
US3680555A (en) 1969-03-20 1972-08-01 Draegerwerk Ag Protective mask with annular flushing chamber
US3722509A (en) 1971-01-05 1973-03-27 J Nebel Nasal filters
US3774618A (en) 1972-07-03 1973-11-27 Avery Labor Inc Implantable nerve stimulation electrode
US3865106A (en) 1974-03-18 1975-02-11 Bernard P Palush Positive pressure breathing circuit
US3884223A (en) 1974-06-26 1975-05-20 Lawrence Peska Ass Inc Nasal filter
US3893463A (en) 1973-12-07 1975-07-08 Medtronic Inc Dual channel stimulator
US3906936A (en) 1974-02-15 1975-09-23 Mutaz B Habal Nasal air flow detection method for speech evaluation
JPS53118893A (en) 1977-03-28 1978-10-17 Univ Case Western Reserve Continuous proper air path pressure feeder
US4160255A (en) 1976-10-04 1979-07-03 Mitogiken, Ltd. Recording apparatus with intermittent power usage
US4160252A (en) 1977-03-25 1979-07-03 U.S. Philips Corporation Method of determining the direction of a radio source and radio interferometer system
US4178524A (en) 1976-09-01 1979-12-11 Ritter James C Radioisotope photoelectric generator
US4200440A (en) 1979-02-21 1980-04-29 The Air Preheater Company, Inc. Filter construction
US4220150A (en) 1978-09-13 1980-09-02 King John R Nasal dust filter
US4221217A (en) 1978-05-01 1980-09-09 Amezcua Saul O Nasal device
US4225034A (en) 1978-07-03 1980-09-30 The Sardee Corporation Container conveying and elevating apparatus
US4239918A (en) 1978-12-06 1980-12-16 General Electric Company Meta, para-substituted isopropylidene bisphenols and methods for making
US4242987A (en) 1977-07-12 1981-01-06 Hans Viessmann Connecting arrangement for a heating boiler
US4267831A (en) 1979-09-24 1981-05-19 Aguilar Rogelio M Nasal air filter and medicament dispenser device
US4283867A (en) 1979-12-05 1981-08-18 Roscoe Brown Corporation Backfilling apparatus with adjustable filling augers
US4302951A (en) 1979-12-26 1981-12-01 Borg-Warner Corporation Torsional vibration damper
US4313442A (en) 1980-07-21 1982-02-02 Cardiac Pacemakers, Inc. Atrial rate sensitive cardiac pacer apparatus
US4346398A (en) 1980-10-27 1982-08-24 Zenith Radio Corporation Automatic clock phase selector
US4374527A (en) 1978-07-19 1983-02-22 Medtronic, Inc. Body stimulation lead
US4414986A (en) 1982-01-29 1983-11-15 Medtronic, Inc. Biomedical stimulation lead
US4506666A (en) 1982-12-03 1985-03-26 Kircaldie, Randall And Mcnab Method and apparatus for rectifying obstructive apnea
US4567892A (en) 1982-03-16 1986-02-04 Gianni Plicchi Implantable cardiac pacemaker
US4573481A (en) 1984-06-25 1986-03-04 Huntington Institute Of Applied Research Implantable electrode array
US4602624A (en) 1984-10-11 1986-07-29 Case Western Reserve University Implantable cuff, method of manufacture, and method of installation
US4612934A (en) 1981-06-30 1986-09-23 Borkan William N Non-invasive multiprogrammable tissue stimulator
US4777963A (en) 1987-06-18 1988-10-18 Mckenna Kevin Respiration monitor
US4830008A (en) 1987-04-24 1989-05-16 Meer Jeffrey A Method and system for treatment of sleep apnea
US4899750A (en) 1988-04-19 1990-02-13 Siemens-Pacesetter, Inc. Lead impedance scanning system for pacemakers
US4915105A (en) 1988-10-28 1990-04-10 Lee Tien Chu Miniature respiratory apparatus
US4919136A (en) 1987-09-28 1990-04-24 Eckhard Alt Ventilation controlled rate responsive cardiac pacemaker
US4934368A (en) 1988-01-21 1990-06-19 Myo/Kinetics Systems, Inc. Multi-electrode neurological stimulation apparatus
US4940065A (en) 1989-01-23 1990-07-10 Regents Of The University Of California Surgically implantable peripheral nerve electrode
US4960133A (en) 1988-11-21 1990-10-02 Brunswick Manufacturing Co., Inc. Esophageal electrode
US4979511A (en) 1989-11-03 1990-12-25 Cyberonics, Inc. Strain relief tether for implantable electrode
US4996983A (en) 1989-01-31 1991-03-05 Amrhein Floyd E Inhaler filtration device with housing supportable by spectacle temple
US5016808A (en) 1989-09-14 1991-05-21 Cardiac Pacemakers, Inc. Implantable tapered spiral endocardial lead for use in internal defibrillation
US5036862A (en) 1987-04-06 1991-08-06 Cordis Corporation Implantable, self-retaining lead
US5095905A (en) 1990-06-07 1992-03-17 Medtronic, Inc. Implantable neural electrode
US5105826A (en) 1990-10-26 1992-04-21 Medtronic, Inc. Implantable defibrillation electrode and method of manufacture
US5121754A (en) 1990-08-21 1992-06-16 Medtronic, Inc. Lateral displacement percutaneously inserted epidural lead
US5133354A (en) 1990-11-08 1992-07-28 Medtronic, Inc. Method and apparatus for improving muscle tone
US5146918A (en) 1991-03-19 1992-09-15 Medtronic, Inc. Demand apnea control of central and obstructive sleep apnea
US5158080A (en) 1990-11-08 1992-10-27 Medtronic, Inc. Muscle tone
US5174287A (en) 1991-05-28 1992-12-29 Medtronic, Inc. Airway feedback measurement system responsive to detected inspiration and obstructive apnea event
US5178156A (en) 1989-06-20 1993-01-12 Chest Corporation Apnea preventive stimulating device
US5190053A (en) 1991-02-28 1993-03-02 Jeffrey A. Meer, Revocable Living Trust Method and apparatus for electrical sublingual stimulation
US5211173A (en) 1991-01-09 1993-05-18 Medtronic, Inc. Servo muscle control
US5215082A (en) 1991-04-02 1993-06-01 Medtronic, Inc. Implantable apnea generator with ramp on generator
US5281219A (en) 1990-11-23 1994-01-25 Medtronic, Inc. Multiple stimulation electrodes
US5300094A (en) 1991-01-09 1994-04-05 Medtronic, Inc. Servo muscle control
US5324321A (en) 1992-12-22 1994-06-28 Medtronic, Inc. Medical electrical lead having sigmoidal conductors and non-circular lumens
US5335657A (en) 1991-05-03 1994-08-09 Cyberonics, Inc. Therapeutic treatment of sleep disorder by nerve stimulation
US5344438A (en) 1993-04-16 1994-09-06 Medtronic, Inc. Cuff electrode
US5388578A (en) 1992-01-14 1995-02-14 Incontrol, Inc. Electrode system for use with an implantable cardiac patient monitor
US5392773A (en) 1994-04-13 1995-02-28 Bertrand; Archie A. Respiratory particulate filter
US5417205A (en) 1994-06-07 1995-05-23 Wang; Jen-Yi Air filter for the nose
US5425359A (en) 1994-08-29 1995-06-20 Liou; Nan-Tien Nose plug structure with filter
US5458629A (en) 1994-02-18 1995-10-17 Medtronic, Inc. Implantable lead ring electrode and method of making
US5483969A (en) 1994-09-21 1996-01-16 Medtronic, Inc. Method and apparatus for providing a respiratory effort waveform for the treatment of obstructive sleep apnea
US5485836A (en) 1987-03-20 1996-01-23 Lincoln; Robert A. Nose worn air filter
US5485851A (en) 1994-09-21 1996-01-23 Medtronic, Inc. Method and apparatus for arousal detection
US5487756A (en) 1994-12-23 1996-01-30 Simon Fraser University Implantable cuff having improved closure
US5511543A (en) 1992-08-18 1996-04-30 Shirley; Terry L. Disposable resuscitation device having unidirectional valve
US5522862A (en) 1994-09-21 1996-06-04 Medtronic, Inc. Method and apparatus for treating obstructive sleep apnea
US5522382A (en) 1987-06-26 1996-06-04 Rescare Limited Device and method for treating obstructed breathing having a delay/ramp feature
US5531778A (en) 1994-09-20 1996-07-02 Cyberonics, Inc. Circumneural electrode assembly
US5540733A (en) 1994-09-21 1996-07-30 Medtronic, Inc. Method and apparatus for detecting and treating obstructive sleep apnea
US5540732A (en) 1994-09-21 1996-07-30 Medtronic, Inc. Method and apparatus for impedance detecting and treating obstructive airway disorders
US5540734A (en) 1994-09-28 1996-07-30 Zabara; Jacob Cranial nerve stimulation treatments using neurocybernetic prosthesis
US5540731A (en) * 1994-09-21 1996-07-30 Medtronic, Inc. Method and apparatus for pressure detecting and treating obstructive airway disorders
US5546938A (en) 1995-08-24 1996-08-20 Mckenzie; Shirley T. ICU patients ventilator tube holding device
US5549655A (en) 1994-09-21 1996-08-27 Medtronic, Inc. Method and apparatus for synchronized treatment of obstructive sleep apnea
US5568808A (en) 1995-08-08 1996-10-29 Amtec Products, Incorporated Nose filters
US5591216A (en) 1995-05-19 1997-01-07 Medtronic, Inc. Method for treatment of sleep apnea by electrical stimulation
US5630411A (en) 1993-01-12 1997-05-20 Nellcor Puritan Bennett Incorporated Valve for use with inhalation/exhalation respiratory phase detection circuit
US5682881A (en) 1996-10-21 1997-11-04 Winthrop; Neil Nasal CPAP/Cannula and securement apparatus
JPH09294819A (en) 1996-05-02 1997-11-18 孝明 ▲崎▼ Nose mask
US5697363A (en) 1996-04-12 1997-12-16 Albert Einstein Healthcare Network Inhalation and monitoring mask with headset
US5697105A (en) 1996-09-04 1997-12-16 White; Mark Hunting mask
US5730122A (en) 1996-11-12 1998-03-24 Cprx, Inc. Heart failure mask and methods for increasing negative intrathoracic pressures
US5740798A (en) 1994-04-22 1998-04-21 Mckinney; Stella H. Disposable nasal band filter
US5752511A (en) 1996-11-22 1998-05-19 Simmons; Carl J. Universal medical tube retainer and nasal wall tissue dilator
US5787884A (en) 1994-08-26 1998-08-04 The University Of Sydney Nasal and oral filters
US5848589A (en) 1997-09-18 1998-12-15 Welnetz; Robert J. Altitude mask simulator
US5855552A (en) 1994-09-21 1999-01-05 Ep Technologies, Inc. Catheter having ring electrodes secured thereon
US5871531A (en) 1997-09-25 1999-02-16 Medtronic, Inc. Medical electrical lead having tapered spiral fixation
US5890491A (en) 1997-09-03 1999-04-06 Amtec Products, Inc. Nose filter
US5895360A (en) 1996-06-26 1999-04-20 Medtronic, Inc. Gain control for a periodic signal and method regarding same
US5919220A (en) 1994-09-16 1999-07-06 Fraunhofer Gesellschaft Zur Foerderung Der Angewandten Forschung E.V. Cuff electrode
US5922014A (en) 1997-09-02 1999-07-13 Medtronic, Inc. Single pass lead and method of use
US5938596A (en) 1997-03-17 1999-08-17 Medtronic, Inc. Medical electrical lead
US5944680A (en) 1996-06-26 1999-08-31 Medtronic, Inc. Respiratory effort detection method and apparatus
US5947119A (en) 1997-10-31 1999-09-07 Reznick; Jerald M. Therapeutic process and apparatus for nasal passages
US6010459A (en) 1996-04-09 2000-01-04 Silkoff; Philip E. Method and apparatus for the measurement of components of exhaled breath in humans
US6015389A (en) 1995-12-06 2000-01-18 Btg International Limited Impedance pneumography
US6021352A (en) 1996-06-26 2000-02-01 Medtronic, Inc, Diagnostic testing methods and apparatus for implantable therapy devices
US6041780A (en) 1995-06-07 2000-03-28 Richard; Ron F. Pressure control for constant minute volume
US6066165A (en) 1998-04-30 2000-05-23 Racz; Gabor B Medical lead with sigma feature
US6098624A (en) 1996-12-16 2000-08-08 Utamaru; Masanobu Simple mask for protection of respiratory system
US6119690A (en) 1998-12-04 2000-09-19 Pantaleo; Joseph M. Nostril filter system
US6126611A (en) 1998-02-04 2000-10-03 Medtronic, Inc. Apparatus for management of sleep apnea
US6132384A (en) 1996-06-26 2000-10-17 Medtronic, Inc. Sensor, method of sensor implant and system for treatment of respiratory disorders
US6198970B1 (en) 1995-10-27 2001-03-06 Esd Limited Liability Company Method and apparatus for treating oropharyngeal respiratory and oral motor neuromuscular disorders with electrical stimulation
US6205360B1 (en) 1995-09-07 2001-03-20 Cochlear Limited Apparatus and method for automatically determining stimulation parameters
US6217527B1 (en) 1998-09-30 2001-04-17 Lumend, Inc. Methods and apparatus for crossing vascular occlusions
US6231546B1 (en) 1998-01-13 2001-05-15 Lumend, Inc. Methods and apparatus for crossing total occlusions in blood vessels
US6240316B1 (en) 1998-08-14 2001-05-29 Advanced Bionics Corporation Implantable microstimulation system for treatment of sleep apnea
US6244267B1 (en) 1999-07-08 2001-06-12 DRäGER MEDIZINTECHNICK GMBH Respirator with a pressure relief valve
US6251126B1 (en) 1998-04-23 2001-06-26 Medtronic Inc Method and apparatus for synchronized treatment of obstructive sleep apnea
US6269269B1 (en) 1998-04-23 2001-07-31 Medtronic Inc. Method and apparatus for synchronized treatment of obstructive sleep apnea
US6292703B1 (en) 1998-10-08 2001-09-18 Biotronik Mess-Und Therapiegerate Gmbh & Co. Neural electrode arrangement
US20010031929A1 (en) 1999-12-28 2001-10-18 O'toole James End tidal carbon dioxide sampling device
WO2002024279A1 (en) 2000-09-21 2002-03-28 3M Innovative Properties Company Respirator that includes an integral filter element, an exhalation valve, and impactor element
US6366815B1 (en) 1997-01-13 2002-04-02 Neurodan A /S Implantable nerve stimulator electrode
US20020049479A1 (en) 2000-10-20 2002-04-25 Pitts Walter C. Method and apparatus for creating afferents to prevent obstructive sleep apnea
US20020092527A1 (en) 2000-03-13 2002-07-18 Wood Thomas J. Ventilation interface for sleep apnea therapy
US20020128700A1 (en) 2001-03-08 2002-09-12 Cross Thomas E. Lead with adjustable angular and spatial relationships between electrodes
US20020156507A1 (en) * 2001-04-05 2002-10-24 Werner Lindenthaler Pacemaker for bilateral vocal cord autoparalysis
US20020165462A1 (en) 2000-12-29 2002-11-07 Westbrook Philip R. Sleep apnea risk evaluation
US20020166556A1 (en) 2001-05-09 2002-11-14 Joseph Jacob Nose airflow enhancer and filter for airborne solids and pathogens
US6484725B1 (en) 2001-06-25 2002-11-26 Min Hung Chi Nose plug device having air breathing structure
US20020195109A1 (en) 2001-06-25 2002-12-26 3M Innovative Properties Company Respirator valve
US20020195108A1 (en) 2001-06-25 2002-12-26 3M Innovative Properties Company Respirator valve
WO2003000133A1 (en) 2001-06-26 2003-01-03 C-Lect Medical Ltd Respiration monitoring equipment
US20030034031A1 (en) 2000-05-22 2003-02-20 Sleep Up Ltd. Pacifier and method of use thereof
US20030040785A1 (en) 2001-08-21 2003-02-27 Maschino Steve E. Circumneural electrode assembly
US6542776B1 (en) 1999-04-14 2003-04-01 Transneuronix Inc. Gastric stimulator apparatus and method for installing
US20030078643A1 (en) 2001-10-19 2003-04-24 Schulman Joseph H. Electrically sensing and stimulating system for placement of a nerve stimulator or sensor
US20030083696A1 (en) 1997-09-03 2003-05-01 Hadasit Medical Research Service & Development Company Pacifier
US6561188B1 (en) 2000-08-21 2003-05-13 Ellis Alan D Nasal breathing apparatus and methods
US20030106555A1 (en) 2000-02-24 2003-06-12 Euan Tovey Nasal filter and sampler
US20030106556A1 (en) 1999-12-10 2003-06-12 Vladimir Alperovich Respiratory nasal filter
US20030114905A1 (en) 1999-10-01 2003-06-19 Kuzma Janusz A. Implantable microdevice with extended lead and remote electrode
US6587725B1 (en) 1998-07-27 2003-07-01 Dominique Durand Method and apparatus for closed-loop stimulation of the hypoglossal nerve in human patients to treat obstructive sleep apnea
US6606521B2 (en) 2001-07-09 2003-08-12 Neuropace, Inc. Implantable medical lead
US20030153953A1 (en) * 2002-02-14 2003-08-14 Euljoon Park Stimulation device for sleep apnea prevention, detection and treatment
US6609031B1 (en) 1996-06-07 2003-08-19 Advanced Neuromodulation Systems, Inc. Multiprogrammable tissue stimulator and method
US20030167018A1 (en) 2002-03-04 2003-09-04 Robert Wyckoff Sleep apnea device and method thereof
US6626179B1 (en) 2000-09-29 2003-09-30 Philip Pedley Breathing valve for improving oxygen absorption
WO2003082393A1 (en) 2002-03-28 2003-10-09 Optinose As Nasal devices
US20030195571A1 (en) 2002-04-12 2003-10-16 Burnes John E. Method and apparatus for the treatment of central sleep apnea using biventricular pacing
US6636767B1 (en) 1999-09-29 2003-10-21 Restore Medical, Inc. Implanatable stimulation device for snoring treatment
JP2003305135A (en) 2002-04-17 2003-10-28 Takao Akeura Bandage type nose mask
US6641542B2 (en) 2001-04-30 2003-11-04 Medtronic, Inc. Method and apparatus to detect and treat sleep respiratory events
US6647289B2 (en) 1998-02-06 2003-11-11 Intermedics Inc. Non-invasive cardiorespiratory monitor with synchronized bioimpedance sensing
US20030209145A1 (en) 2002-02-14 2003-11-13 Soper Adrian John Filtration device
US20030216789A1 (en) 2002-05-14 2003-11-20 The Foundry, Inc. Method and system for treating sleep apnea
US6651652B1 (en) 1998-06-30 2003-11-25 Siemens-Elema Ab Method for identifying respiration attempts by analyzing neuroelectrical signals, and respiration detector and respiratory aid system operating according to the method
US20040015204A1 (en) 2002-06-20 2004-01-22 Whitehurst Todd K. Implantable microstimulators and methods for unidirectional propagation of action potentials
US20040020489A1 (en) 2002-07-25 2004-02-05 Gail Alston Nasal mask with replaceable filter
US20040049241A1 (en) 2002-09-10 2004-03-11 Therapeutic Innovations, Inc. Distributed muscle stimulator
US20040055603A1 (en) 2002-09-23 2004-03-25 Bruce Carol Jean Emery Intra-nasal filter device
US6721603B2 (en) 2002-01-25 2004-04-13 Cyberonics, Inc. Nerve stimulation as a treatment for pain
US6718982B2 (en) 2001-05-07 2004-04-13 Mark A. Smith Face mask incorporating respiratory flow sensor
US20040089303A1 (en) 2002-11-11 2004-05-13 Dennis Chien Nose filter device
US20040111139A1 (en) 2002-12-10 2004-06-10 Mccreery Douglas B. Apparatus and methods for differential stimulation of nerve fibers
US20040116819A1 (en) 2001-10-01 2004-06-17 Eckhard Alt Congestive heart failure monitor and ventilation measuring implant
US20040116978A1 (en) 2002-12-06 2004-06-17 Kerry Bradley Method for determining stimulation parameters
US20040122497A1 (en) 2002-12-19 2004-06-24 Yongxing Zhang Implantable lead for septal placement of electrode with fixation mechanism in the pulmonary artery
US20040138581A1 (en) 2002-10-15 2004-07-15 Medtronic, Inc. Signal quality monitoring and control for a medical device system
US6772015B2 (en) 2000-12-29 2004-08-03 Medtronic, Inc Bifurcated lead system for a cardiac vein
US20040153127A1 (en) 2003-01-15 2004-08-05 Alfred E. Mann Institute For Biomedical Engineering At The University Of Southern Californ Treatments for snoring using injectable neuromuscular stimulators
US20040162499A1 (en) 2002-10-04 2004-08-19 Fumiya Nagai Abnormal respiration detecting system and method for detecting the same
US6799575B1 (en) 2001-04-21 2004-10-05 Aaron Carter Cannula for the separation of inhaled and exhaled gases
US20040194784A1 (en) 2003-04-01 2004-10-07 Archie Bertrand Respiratory particulate filter
US20040215288A1 (en) 2003-04-25 2004-10-28 Lee Michael T. Identifying combinations of electrodes for neurostimulation therapy
US20040215290A1 (en) * 2001-06-21 2004-10-28 Zealear David L Method for promoting reinnervation of denervated tissue
US6819958B2 (en) 2001-02-20 2004-11-16 Biophan Technologies, Inc. Electromagnetic interference immune tissue invasive system
US6829503B2 (en) 2001-10-01 2004-12-07 Scicotec Gmbh Congestive heart failure monitor
US20040260310A1 (en) 2002-10-23 2004-12-23 Medtronic, Inc. Medical lead and method
US20040261791A1 (en) 2003-06-24 2004-12-30 Horian Richard C. Nasal dilator and method of nasal dilation
US20050004610A1 (en) 2003-07-02 2005-01-06 Jaeho Kim Cardiac cycle synchronized sampling of impedance signal
US20050010265A1 (en) 2003-04-02 2005-01-13 Neurostream Technologies Inc. Fully implantable nerve signal sensing and stimulation device and method for treating foot drop and other neurological disorders
WO2005004993A1 (en) 2003-07-12 2005-01-20 Lixin Zhou A nasal filter
US20050038490A1 (en) 2001-08-31 2005-02-17 Biocontrol Medical Ltd. Electrode assembly for nerve control
USRE38705E1 (en) 1996-04-30 2005-02-22 Medtronic, Inc. Method and device for electronically controlling the beating of a heart using venous electrical stimulation of nerve fibers
US20050043644A1 (en) 2003-08-18 2005-02-24 Stahmann Jeffrey E. Prediction of disordered breathing
US20050043772A1 (en) 2003-08-18 2005-02-24 Stahmann Jeffrey E. Therapy triggered by prediction of disordered breathing
US6876885B2 (en) 2001-01-31 2005-04-05 Medtronic, Inc. Implantable bifurcated gastrointestinal lead with active fixation
US20050076908A1 (en) 2003-09-18 2005-04-14 Kent Lee Autonomic arousal detection system and method
US6881192B1 (en) 2002-06-12 2005-04-19 Pacesetter, Inc. Measurement of sleep apnea duration and evaluation of response therapies using duration metrics
US20050085874A1 (en) 2003-10-17 2005-04-21 Ross Davis Method and system for treating sleep apnea
US20050085865A1 (en) 2003-10-15 2005-04-21 Tehrani Amir J. Breathing disorder detection and therapy delivery device and method
US6890306B2 (en) 2001-12-14 2005-05-10 Ela Medical S.A. Active medical device for the diagnosis of the sleep apnea syndrome
US20050098176A1 (en) 2001-07-12 2005-05-12 Helmut Hoffrichter Respiratory therapy device for keeping free the natural respiratory tract of a human body and the use thereof in order to prevent the sound of snoring
US20050101833A1 (en) 2003-09-02 2005-05-12 Biotronik Gmbh & Co. Kg Apparatus for the treatment of sleep apnea
US20050119711A1 (en) 2003-01-10 2005-06-02 Cho Yong K. Apparatus and method for monitoring for disordered breathing
US6904320B2 (en) 2002-02-14 2005-06-07 Pacesetter, Inc. Sleep apnea therapy device using dynamic overdrive pacing
US20050165457A1 (en) 2004-01-26 2005-07-28 Michael Benser Tiered therapy for respiratory oscillations characteristic of Cheyne-Stokes respiration
US20050209513A1 (en) 2004-03-16 2005-09-22 Heruth Kenneth T Collecting sleep quality information via a medical device
US20050209643A1 (en) 2004-03-16 2005-09-22 Heruth Kenneth T Controlling therapy based on sleep quality
US20050234523A1 (en) 2002-04-08 2005-10-20 Levin Howard R Renal nerve stimulation method and apparatus for treatment of patients
US20050240241A1 (en) 2003-06-09 2005-10-27 Yun Anthony J Treatment of conditions through modulation of the autonomic nervous system
US20050251216A1 (en) 1996-04-30 2005-11-10 Medtronic, Inc. Method and device for electronically controlling the beating of a heart
US20050261747A1 (en) 2003-05-16 2005-11-24 Schuler Eleanor L Method and system to control respiration by means of neuro-electrical coded signals
US20050267380A1 (en) 2004-04-04 2005-12-01 Ela Medical S.A. Active implantable medical device equipped with means for the diagnosis of respiratory disorders, with sophisticated detection of respiratory cycles with artifacts
US20050277844A1 (en) 2004-06-10 2005-12-15 Ndi Medical, Inc. Implantable system and methods for acquisition and processing of electrical signals from muscles and/or nerves and/or central nervous system tissue
US6978171B2 (en) 2002-03-15 2005-12-20 Medtronic, Inc. Automated impedance measurement of an implantable medical device
US20060004429A1 (en) 2004-02-12 2006-01-05 Ndi Medical, Inc. Lead and electrode structures sized and configured for implantation in adipose tissue and associated methods of implantation
US20060005842A1 (en) 2004-07-09 2006-01-12 Rashad M A Nasal pressure sensor oxygen therapy device
US20060025828A1 (en) 2004-07-28 2006-02-02 Armstrong Randolph K Impedance measurement for an implantable device
US20060030919A1 (en) 2004-08-04 2006-02-09 Ndi Medical, Llc Devices, systems, and methods employing a molded nerve cuff electrode
US20060032497A1 (en) 2000-06-16 2006-02-16 Rajiv Doshi Methods and devices for improving breathing in patients with pulmonary disease
US20060041295A1 (en) 2004-08-17 2006-02-23 Osypka Thomas P Positive fixation percutaneous epidural neurostimulation lead
US20060052836A1 (en) 2004-09-08 2006-03-09 Kim Daniel H Neurostimulation system
US20060058852A1 (en) 2004-09-10 2006-03-16 Steve Koh Multi-variable feedback control of stimulation for inspiratory facilitation
US20060058588A1 (en) 2004-09-02 2006-03-16 Proteus Biomedical, Inc. Methods and apparatus for tissue activation and monitoring
US20060064138A1 (en) 2004-04-30 2006-03-23 Francisco Velasco Method of treating mood disorders and/or anxiety disorders by brain stimulation
US20060064029A1 (en) 2002-07-03 2006-03-23 Tel-Aviv University Future Technology Development L.P. Bio-impedance apparatus and method
US7027869B2 (en) 1998-01-07 2006-04-11 Asthmatx, Inc. Method for treating an asthma attack
US20060079802A1 (en) 2002-04-30 2006-04-13 Medtronic, Inc. Method and apparatus to detect and monitor the frequency of obstructive sleep apnea
US20060095088A1 (en) 2004-10-21 2006-05-04 Dirk De Ridder New stimulation design for neuromodulation
WO2006045251A1 (en) 2004-10-29 2006-05-04 Lam Philip Y T Nose mask
US20060111755A1 (en) 2003-05-16 2006-05-25 Stone Robert T Method and system to control respiration by means of neuro-electrical coded signals
US7054692B1 (en) 2001-06-22 2006-05-30 Advanced Bionics Corporation Fixation device for implantable microdevices
US20060116739A1 (en) 2002-05-23 2006-06-01 Nir Betser Electrode assembly for nerve control
WO2006063339A2 (en) 2004-12-08 2006-06-15 Ventus Medical, Inc. Respiratory devices and methods of use
US20060129189A1 (en) 1998-01-15 2006-06-15 Regenesis Biomedical, Inc. Pulsed electromagnetic energy treatment apparatus and method
US7065410B2 (en) 2000-09-18 2006-06-20 Cameron Health, Inc. Subcutaneous electrode with improved contact shape for transthorasic conduction
US20060136024A1 (en) 2004-12-22 2006-06-22 Biocontrol Medical Ltd. Construction of electrode assembly for nerve control
US20060135886A1 (en) 2004-12-02 2006-06-22 Biotronik Crm Patent Ag Device for determining thoracic impedance
US20060142815A1 (en) 2003-10-15 2006-06-29 Tehrani Amir J Device and method for treating obstructive sleep apnea
US20060149345A1 (en) 2003-09-12 2006-07-06 Ndi Medical, Llc Neuromodulation stimulation for the restoration of sexual function
US20060149334A1 (en) * 2003-10-15 2006-07-06 Tehrani Amir J Device and method for controlling breathing
US20060150980A1 (en) 2003-07-02 2006-07-13 Yung Ho Kim Anion emission and anti-dust nose mask
US20060155341A1 (en) 2003-10-15 2006-07-13 Tehrani Amir J Device and method for biasing lung volume
US7082331B1 (en) 2004-04-21 2006-07-25 Pacesetter, Inc. System and method for applying therapy during hyperpnea phase of periodic breathing using an implantable medical device
US20060167497A1 (en) 2005-01-27 2006-07-27 Cyberonics, Inc. Implantable medical device having multiple electrode/sensor capability and stimulation based on sensed intrinsic activity
US7087053B2 (en) 2004-05-27 2006-08-08 St. Jude Medical, Atrial Fibrillation Division, Inc. Catheter with bifurcated, collapsible tip for sensing and ablating
US20060184204A1 (en) 2005-02-11 2006-08-17 Advanced Bionics Corporation Implantable microstimulator having a separate battery unit and methods of use thereof
US7094206B2 (en) 1999-04-23 2006-08-22 The Trustees Of Tufts College System for measuring respiratory function
US20060195170A1 (en) 2002-05-23 2006-08-31 Ehud Cohen Electrode assembly for nerve control
US20060211951A1 (en) 2002-05-29 2006-09-21 Zoran Milijasevic Implantable bladder sensor
US7117036B2 (en) 2002-06-27 2006-10-03 Pacesetter, Inc. Using activity-based rest disturbance as a metric of sleep apnea
US20060224211A1 (en) 2005-03-31 2006-10-05 Durand Dominique M Method of treating obstructive sleep apnea using electrical nerve stimulation
US20060241506A1 (en) 2005-04-25 2006-10-26 Melker Richard J Method and apparatus for diagnosing respiratory disorders and determining the degree of exacerbations
US20060241708A1 (en) 2005-04-22 2006-10-26 Willem Boute Multiple sensors for sleep apnea with probability indication for sleep diagnosis and means for automatic activation of alert or therapy
US7128717B1 (en) 2005-09-29 2006-10-31 Washington University Method for determining airway obstruction
US20060247729A1 (en) 2003-10-15 2006-11-02 Tehrani Amir J Multimode device and method for controlling breathing
US20060259079A1 (en) 2005-04-30 2006-11-16 Medtronic, Inc. Impedance-based stimulation adjustment
US20060264777A1 (en) 2005-04-29 2006-11-23 Medtronic, Inc. Event-based lead impedance monitoring
US7142919B2 (en) 2003-10-24 2006-11-28 Medtronic, Inc. Reconfigurable, fault tolerant multiple-electrode cardiac lead systems
US20060266369A1 (en) 2005-05-27 2006-11-30 Prospex Medical Ii, Inc. Devices and methods for treating sleep disorders
US20060271118A1 (en) 2005-05-25 2006-11-30 Cardiac Pacemakers, Inc. Implantable neural stimulator with mode switching
US20060271137A1 (en) 2005-05-25 2006-11-30 The Cleveland Clinic Foundation Apparatus and system to stimulate a nerve
US7149573B2 (en) 2003-04-25 2006-12-12 Medtronic, Inc. Method and apparatus for impedance signal localizations from implanted devices
US20060282127A1 (en) 2005-03-24 2006-12-14 Vanderbilt University Respiratory triggered, bilateral laryngeal stimulator to restore normal ventilation in vocal fold paralysis
US7155278B2 (en) 2003-04-21 2006-12-26 Medtronic, Inc. Neurostimulation to treat effects of sleep apnea
US7152604B2 (en) 2000-06-13 2006-12-26 Scott Laboratories, Inc. Apparatus and method for mask free delivery of an inspired gas mixture and gas sampling
US20060293720A1 (en) 1998-08-05 2006-12-28 Dilorenzo Daniel J Closed-loop feedback-driven neuromodulation
US20060293723A1 (en) 2003-12-19 2006-12-28 Whitehurst Todd K Skull-mounted electrical stimulation system and method for treating patients
US7156098B2 (en) 2004-03-19 2007-01-02 Dolezal Creative Innovations, Llc Breathing air filtration system
US7160255B2 (en) 2001-07-12 2007-01-09 Vahid Saadat Method and device for sensing and mapping temperature profile of a hollow body organ
US7160252B2 (en) 2003-01-10 2007-01-09 Medtronic, Inc. Method and apparatus for detecting respiratory disturbances
US20070021785A1 (en) 2005-07-21 2007-01-25 Cyberonics, Inc. Safe-mode implantable medical devices
US20070027482A1 (en) 2005-07-27 2007-02-01 Cyberonics, Inc. Cranial nerve stimulation to treat a vocal cord disorder
JP2007021156A (en) 2005-07-19 2007-02-01 Isao Miyagawa Tool for preventing invasion of pollen in nose
US20070038265A1 (en) 2002-02-05 2007-02-15 Neuropace, Inc. Responsive electrical stimulation for movement disorders
US7178524B2 (en) 1998-10-30 2007-02-20 Linda Noble Nasal gas delivery system and method for use thereof
US20070043411A1 (en) 2005-08-17 2007-02-22 Enteromedics Inc. Neural electrode
US7225034B2 (en) 2003-06-19 2007-05-29 Medtronic, Inc. Medical lead adaptor
US20070125379A1 (en) 2005-12-02 2007-06-07 Brian Pierro Nasal continuous positive airway pressure device and system
US20070150006A1 (en) * 2005-12-28 2007-06-28 Imad Libbus Neural stimulator to treat sleep disordered breathing
US7239920B1 (en) 2002-02-12 2007-07-03 Advanced Bionics Corporation Neural stimulation system providing auto adjustment of stimulus output as a function of sensed pressure changes
US20070175478A1 (en) 2006-02-01 2007-08-02 Brunst Robert F Nasal air purifier
US20070227542A1 (en) 2005-05-17 2007-10-04 Boris Kashmakov Nose Filter
US20070239243A1 (en) 2006-03-30 2007-10-11 Advanced Bionics Corporation Electrode contact configurations for cuff leads
EP1854494A1 (en) 2006-05-12 2007-11-14 Intersurgical AG Improvements Relating to Respiratory Masks
WO2007134458A1 (en) 2006-05-23 2007-11-29 Jean-Pierre Robitaille Valved nasal cannula
US20070277832A1 (en) 2006-05-23 2007-12-06 Ventus Medical, Inc. Nasal respiratory devices
US20070282410A1 (en) 2006-04-28 2007-12-06 Cross Thomas E Jr Implantable medical lead assemblies with improved flexibility and extensibility and having a substantially two-dimensional nature
US20070283962A1 (en) 2006-06-07 2007-12-13 Ventus Medical, Inc. Layered nasal devices
US20070283692A1 (en) 2006-06-09 2007-12-13 Shimano Inc. Bicycle hydraulic brake accentuate device
US20070295338A1 (en) 2004-12-08 2007-12-27 Ventus Medical, Inc. Nasal respiratory devices for positive end-expiratory pressure
US20080027480A1 (en) 2006-06-29 2008-01-31 Aspire Medical, Inc. Methods and devices for rhinoplasty and treating internal valve stenosis
US20080027502A1 (en) 2006-07-28 2008-01-31 Ransom Scott A Dynamic Sampling
US20080023007A1 (en) 2004-03-19 2008-01-31 Dolezal David M Breathing air filtration devices
WO2008046190A1 (en) 2006-09-19 2008-04-24 Victhom Human Bionics Inc. Method and system for the monitoring of respiratory activity and for the treatment of breathing disorders such as sleep apnea
US20080103407A1 (en) 2006-10-13 2008-05-01 Apnex Medical, Inc. Obstructive sleep apnea treatment devices, systems and methods
US20080099029A1 (en) 2005-10-07 2008-05-01 Lamberg Steven B Intraoral mandibular advancement device for treatment of sleep disorders
US20080147142A1 (en) * 2006-12-15 2008-06-19 Testerman Roy L Method and apparatus for assisting deglutition
US20080163875A1 (en) 2006-12-15 2008-07-10 5I Sciences, Inc. Device and method for opening an airway
US20080183254A1 (en) 2007-01-30 2008-07-31 Cardiac Pacemakers, Inc. Dual spiral lead configurations
US20090044814A1 (en) 2007-06-18 2009-02-19 Koninklijke Philips Electronics N.V. Implantable devices, systems, and methods for maintaining desired orientations in targeted tissue regions
US7515968B2 (en) 2006-04-28 2009-04-07 Medtronic, Inc. Assembly method for spinal cord stimulation lead
US7524292B2 (en) 2003-04-21 2009-04-28 Medtronic, Inc. Method and apparatus for detecting respiratory disturbances
US7591265B2 (en) 2003-09-18 2009-09-22 Cardiac Pacemakers, Inc. Coordinated use of respiratory and cardiac therapies for sleep disordered breathing
US7596414B2 (en) 2005-12-05 2009-09-29 Boston Scientific Neuromodulation Corporation Cuff electrode arrangement for nerve stimulation and methods of treating disorders
US7596413B2 (en) 2004-06-08 2009-09-29 Cardiac Pacemakers, Inc. Coordinated therapy for disordered breathing including baroreflex modulation
US20090270707A1 (en) 2008-04-23 2009-10-29 Medtronic, Inc. Sensor Assemblies for Implantable Medical Electrical Leads
US20090276024A1 (en) 2008-05-02 2009-11-05 Bonde Eric H Self expanding electrode cuff
US7627375B2 (en) 2000-09-18 2009-12-01 Cameron Health, Inc. Implantable cardiac stimulus methods
US7630771B2 (en) 2007-06-25 2009-12-08 Microtransponder, Inc. Grooved electrode and wireless microtransponder system
US7634315B2 (en) 2007-05-31 2009-12-15 Pacesetter, Inc. Techniques to monitor and trend nerve damage and recovery
US20090318986A1 (en) 2008-06-20 2009-12-24 Alo Kenneth M Systems, Methods and Apparatus for Treating Cardiac Dysfunction with Neurostimulation
US20090326408A1 (en) 2008-06-30 2009-12-31 Loell Boyce Moon Providing Impedance Plethysmography Electrodes
US7657311B2 (en) 2000-09-18 2010-02-02 Cameron Health, Inc. Subcutaneous only implantable cardioverter-defibrillator and optional pacer
US7660632B2 (en) 2006-06-30 2010-02-09 Ric Investments, Llc Method and apparatus for hypoglossal nerve stimulation
US20100036285A1 (en) 2008-08-06 2010-02-11 Assaf Govari Single-axis sensors on flexible backbone
US7662105B2 (en) 2005-12-14 2010-02-16 Cardiac Pacemakers, Inc. Systems and methods for determining respiration metrics
US20100047376A1 (en) 2006-08-29 2010-02-25 Marc-Olivier Imbeau Nerve cuff injection mold and method of making a nerve cuff
US7684869B2 (en) 2001-12-04 2010-03-23 Boston Scientific Neuromodulation Corporation Apparatus and method for determining the relative position and orientation of neurostimulation leads
US20100076536A1 (en) 2006-09-22 2010-03-25 Koninklijke Philips Electronics N.V. Implantable multi-electrode device
US7697968B2 (en) 2006-03-28 2010-04-13 Kent Moore System and method of predicting efficacy of tongue-base therapies
US7697990B2 (en) 2004-02-20 2010-04-13 Resmed Limited Method and apparatus for detection and treatment of respiratory disorder by implantable device
US20100094379A1 (en) 2008-10-09 2010-04-15 Imthera Medical, Inc. Method of Stimulating a Hypoglossal Nerve for Controlling the Position of a Patient's Tongue
US20100125310A1 (en) 2008-11-18 2010-05-20 Willard Wilson Method and Device For the Detection, Identification and Treatment of Sleep Apnea/Hypopnea
US7725198B2 (en) 2007-04-30 2010-05-25 Medtronic, Inc. Implantable medical lead assemblies with delivery tether
US7725195B2 (en) 2006-02-16 2010-05-25 Imthera Medical, Inc. RFID-based apparatus, system, and method for therapeutic treatment of obstructive sleep apnea
US20100137931A1 (en) 2005-02-28 2010-06-03 Hopper Donald L Implantable Cardiac Device With Dyspnea Measurement
US20100137956A1 (en) 2001-10-22 2010-06-03 Oscor Inc. Lead adaptor having low resistance conductors and/or encapsulated housing
US20100137949A1 (en) 2008-05-27 2010-06-03 The Cleveland Clinic Foundation Bifurcated electrical lead and method of use
US7734348B2 (en) 2005-05-10 2010-06-08 Cardiac Pacemakers, Inc. System with left/right pulmonary artery electrodes
US7747323B2 (en) 2004-06-08 2010-06-29 Cardiac Pacemakers, Inc. Adaptive baroreflex stimulation therapy for disordered breathing
US7751885B2 (en) 2000-09-18 2010-07-06 Cameron Health, Inc. Bradycardia pacing in a subcutaneous device
US7751880B1 (en) 2007-02-12 2010-07-06 Pacesetter, Inc. Shielded electrode assembly for effective nerve sensing and stimulation
US20100174341A1 (en) 2008-12-31 2010-07-08 Bolea Stephen L Obstructive Sleep Apnea Treatment Devices, Systems and Methods
US7758384B2 (en) 2007-02-26 2010-07-20 Medtronic, Inc. Implantable bifurcated neurostimulator adapters
US7765000B2 (en) 2005-05-10 2010-07-27 Cardiac Pacemakers, Inc. Neural stimulation system with pulmonary artery lead
US7783353B2 (en) 2003-12-24 2010-08-24 Cardiac Pacemakers, Inc. Automatic neural stimulation modulation based on activity and circadian rhythm
US7787959B1 (en) 2006-12-22 2010-08-31 Pacesetter, Inc. Mechanism and method of attaching a stimulation and/or sensing electrode to a nerve
US7792590B1 (en) 2000-12-29 2010-09-07 Boston Scientific Neuromodulation Corporation Implantable lead systems for brain stimulation
US20100228133A1 (en) 2005-09-16 2010-09-09 Averina Viktoria A System and Method for Generating a Trend Parameter Based on Respiration Rate Distribution
US20100241207A1 (en) 2006-08-14 2010-09-23 Henry Bluger Implantable Medical Cuff with Electrode Array
US7813797B2 (en) 2000-09-18 2010-10-12 Cameron Health, Inc. Cardioverter-defibrillator having a focused shocking area and orientation thereof
US20100262209A1 (en) 2002-02-12 2010-10-14 Boston Scientific Neuromodulation Corporation Neural stimulation system providing auto adjustment of stimulus output as a function of sensed impedance
US7818063B2 (en) 2003-12-22 2010-10-19 Boston Scientific Scimed, Inc. Method of intravascularly delivering stimulation leads into brain to stimulate the SPG
US20110093032A1 (en) 2009-08-05 2011-04-21 Ndi Medical, Llc Systems and methods for maintaining airway patency
US20120017920A1 (en) 2004-02-26 2012-01-26 Linguaflex, Inc. Method and Device for the Treatment of Obstructive Sleep Apnea and Snoring
US20120192874A1 (en) 2011-01-28 2012-08-02 Apnex Medical, Inc. Obstructive sleep apnea treatment devices, systems and methods
US8249723B2 (en) 2006-09-27 2012-08-21 Huntington Medical Research Institutes Apparatus and method for treating obstructive sleep apnea
US20130085546A1 (en) 2011-05-12 2013-04-04 Stephen Bolea Devices and methods for sleep apnea treatment
US8855771B2 (en) 2011-01-28 2014-10-07 Cyberonics, Inc. Screening devices and methods for obstructive sleep apnea therapy
US9186511B2 (en) 2006-10-13 2015-11-17 Cyberonics, Inc. Obstructive sleep apnea treatment devices, systems and methods

Family Cites Families (13)

* Cited by examiner, † Cited by third party
Publication number Priority date Publication date Assignee Title
DE3278481D1 (en) * 1982-03-19 1988-06-16 Mettler Instrumente Ag Measuring instrument display, particularly for a balance
US5826579A (en) 1995-11-01 1998-10-27 University Technologies International, Inc. Remote-controlled mandibular positioning device and method of using the device
US5927653A (en) 1996-04-17 1999-07-27 Kistler Aerospace Corporation Two-stage reusable earth-to-orbit aerospace vehicle and transport system
US5988171A (en) * 1997-06-26 1999-11-23 Influence Medical Technologies, Ltd. Methods and devices for the treatment of airway obstruction, sleep apnea and snoring
US6269703B1 (en) 1998-09-11 2001-08-07 Femtometrics, Inc. Pulsed air sampler
US7203548B2 (en) 2002-06-20 2007-04-10 Advanced Bionics Corporation Cavernous nerve stimulation via unidirectional propagation of action potentials
US7292890B2 (en) 2002-06-20 2007-11-06 Advanced Bionics Corporation Vagus nerve stimulation via unidirectional propagation of action potentials
US7499755B2 (en) 2002-10-23 2009-03-03 Medtronic, Inc. Paddle-style medical lead and method
US20040215283A1 (en) 2003-04-23 2004-10-28 Antoine Camps Electrical stimulation of the colon to treat chronic constipation
JP4414800B2 (en) * 2004-03-25 2010-02-10 株式会社日立コミュニケーションテクノロジー Optical transmission apparatus and control method thereof
WO2006012050A2 (en) 2004-06-30 2006-02-02 Cvrx, Inc. Connection structures for extra-vascular electrode lead body
US7953498B1 (en) 2006-03-15 2011-05-31 Boston Scientific Neuromodulation Corporation Resorbable anchor arrangements for implantable devices and methods of making and using
US9227053B2 (en) * 2008-05-02 2016-01-05 Medtronic, Inc. Self expanding electrode cuff

Patent Citations (465)

* Cited by examiner, † Cited by third party
Publication number Priority date Publication date Assignee Title
US758030A (en) 1903-06-30 1904-04-19 Thomas Carence Nasal shield.
US1520930A (en) 1923-09-01 1924-12-30 Harry L Calhoun Filter
US1701277A (en) 1927-02-18 1929-02-05 Willson Products Inc Valve device for respirators or the like
US1914418A (en) 1930-02-15 1933-06-20 Goyena Manuel Garcia Nose protector
US2046664A (en) 1935-11-07 1936-07-07 Nasal Filter Co Nasal filter
US2151227A (en) 1937-02-12 1939-03-21 Pawelek Anthony Nasal insert
US2243360A (en) 1938-12-30 1941-05-27 Slatis Abraham Filter or medicament casing
US2237954A (en) 1939-06-30 1941-04-08 William R Wilson Nasal filter and inhaler
US2274886A (en) 1940-08-10 1942-03-03 Harold D Carroll Nasal respirator
US2526586A (en) 1949-09-20 1950-10-17 Leonard M Shuff Nasal filter
US2693799A (en) 1950-03-16 1954-11-09 Jr Harry H Herman Breathing attachment for swimmers
US2777442A (en) 1955-04-11 1957-01-15 Zelano Joseph Nasal filter
US2928388A (en) 1957-04-24 1960-03-15 Alfred P Jaroslaw Disposable respirators
US3457917A (en) 1966-02-17 1969-07-29 John A Mercurio Nasal filtering device
US3513839A (en) 1968-01-02 1970-05-26 Matthew Vacante Valved nose filter
US3680555A (en) 1969-03-20 1972-08-01 Draegerwerk Ag Protective mask with annular flushing chamber
US3722509A (en) 1971-01-05 1973-03-27 J Nebel Nasal filters
US3774618A (en) 1972-07-03 1973-11-27 Avery Labor Inc Implantable nerve stimulation electrode
US3893463A (en) 1973-12-07 1975-07-08 Medtronic Inc Dual channel stimulator
US3906936A (en) 1974-02-15 1975-09-23 Mutaz B Habal Nasal air flow detection method for speech evaluation
US3865106A (en) 1974-03-18 1975-02-11 Bernard P Palush Positive pressure breathing circuit
US3884223A (en) 1974-06-26 1975-05-20 Lawrence Peska Ass Inc Nasal filter
US4178524A (en) 1976-09-01 1979-12-11 Ritter James C Radioisotope photoelectric generator
US4160255A (en) 1976-10-04 1979-07-03 Mitogiken, Ltd. Recording apparatus with intermittent power usage
US4160252A (en) 1977-03-25 1979-07-03 U.S. Philips Corporation Method of determining the direction of a radio source and radio interferometer system
JPS53118893A (en) 1977-03-28 1978-10-17 Univ Case Western Reserve Continuous proper air path pressure feeder
US4242987A (en) 1977-07-12 1981-01-06 Hans Viessmann Connecting arrangement for a heating boiler
US4221217A (en) 1978-05-01 1980-09-09 Amezcua Saul O Nasal device
US4225034A (en) 1978-07-03 1980-09-30 The Sardee Corporation Container conveying and elevating apparatus
US4374527A (en) 1978-07-19 1983-02-22 Medtronic, Inc. Body stimulation lead
US4220150A (en) 1978-09-13 1980-09-02 King John R Nasal dust filter
US4239918A (en) 1978-12-06 1980-12-16 General Electric Company Meta, para-substituted isopropylidene bisphenols and methods for making
US4200440A (en) 1979-02-21 1980-04-29 The Air Preheater Company, Inc. Filter construction
US4267831A (en) 1979-09-24 1981-05-19 Aguilar Rogelio M Nasal air filter and medicament dispenser device
US4283867A (en) 1979-12-05 1981-08-18 Roscoe Brown Corporation Backfilling apparatus with adjustable filling augers
US4302951A (en) 1979-12-26 1981-12-01 Borg-Warner Corporation Torsional vibration damper
US4313442A (en) 1980-07-21 1982-02-02 Cardiac Pacemakers, Inc. Atrial rate sensitive cardiac pacer apparatus
US4346398A (en) 1980-10-27 1982-08-24 Zenith Radio Corporation Automatic clock phase selector
US4612934A (en) 1981-06-30 1986-09-23 Borkan William N Non-invasive multiprogrammable tissue stimulator
US4414986A (en) 1982-01-29 1983-11-15 Medtronic, Inc. Biomedical stimulation lead
US4567892A (en) 1982-03-16 1986-02-04 Gianni Plicchi Implantable cardiac pacemaker
US4506666A (en) 1982-12-03 1985-03-26 Kircaldie, Randall And Mcnab Method and apparatus for rectifying obstructive apnea
US4573481A (en) 1984-06-25 1986-03-04 Huntington Institute Of Applied Research Implantable electrode array
US4602624A (en) 1984-10-11 1986-07-29 Case Western Reserve University Implantable cuff, method of manufacture, and method of installation
US5485836A (en) 1987-03-20 1996-01-23 Lincoln; Robert A. Nose worn air filter
US5036862A (en) 1987-04-06 1991-08-06 Cordis Corporation Implantable, self-retaining lead
US4830008A (en) 1987-04-24 1989-05-16 Meer Jeffrey A Method and system for treatment of sleep apnea
US4777963A (en) 1987-06-18 1988-10-18 Mckenna Kevin Respiration monitor
US5522382A (en) 1987-06-26 1996-06-04 Rescare Limited Device and method for treating obstructed breathing having a delay/ramp feature
US4919136A (en) 1987-09-28 1990-04-24 Eckhard Alt Ventilation controlled rate responsive cardiac pacemaker
US4934368A (en) 1988-01-21 1990-06-19 Myo/Kinetics Systems, Inc. Multi-electrode neurological stimulation apparatus
US4899750A (en) 1988-04-19 1990-02-13 Siemens-Pacesetter, Inc. Lead impedance scanning system for pacemakers
US4915105A (en) 1988-10-28 1990-04-10 Lee Tien Chu Miniature respiratory apparatus
US4960133A (en) 1988-11-21 1990-10-02 Brunswick Manufacturing Co., Inc. Esophageal electrode
US4940065A (en) 1989-01-23 1990-07-10 Regents Of The University Of California Surgically implantable peripheral nerve electrode
US4996983A (en) 1989-01-31 1991-03-05 Amrhein Floyd E Inhaler filtration device with housing supportable by spectacle temple
US5277193A (en) 1989-06-20 1994-01-11 Chest Corporation APNEA preventive stimulating device
US5178156A (en) 1989-06-20 1993-01-12 Chest Corporation Apnea preventive stimulating device
US5016808A (en) 1989-09-14 1991-05-21 Cardiac Pacemakers, Inc. Implantable tapered spiral endocardial lead for use in internal defibrillation
US4979511A (en) 1989-11-03 1990-12-25 Cyberonics, Inc. Strain relief tether for implantable electrode
US5095905A (en) 1990-06-07 1992-03-17 Medtronic, Inc. Implantable neural electrode
US5282468A (en) 1990-06-07 1994-02-01 Medtronic, Inc. Implantable neural electrode
US5121754A (en) 1990-08-21 1992-06-16 Medtronic, Inc. Lateral displacement percutaneously inserted epidural lead
US5105826A (en) 1990-10-26 1992-04-21 Medtronic, Inc. Implantable defibrillation electrode and method of manufacture
US5158080A (en) 1990-11-08 1992-10-27 Medtronic, Inc. Muscle tone
US5133354A (en) 1990-11-08 1992-07-28 Medtronic, Inc. Method and apparatus for improving muscle tone
US5281219A (en) 1990-11-23 1994-01-25 Medtronic, Inc. Multiple stimulation electrodes
US5211173A (en) 1991-01-09 1993-05-18 Medtronic, Inc. Servo muscle control
US5300094A (en) 1991-01-09 1994-04-05 Medtronic, Inc. Servo muscle control
US5190053A (en) 1991-02-28 1993-03-02 Jeffrey A. Meer, Revocable Living Trust Method and apparatus for electrical sublingual stimulation
US5146918A (en) 1991-03-19 1992-09-15 Medtronic, Inc. Demand apnea control of central and obstructive sleep apnea
US5215082A (en) 1991-04-02 1993-06-01 Medtronic, Inc. Implantable apnea generator with ramp on generator
US5335657A (en) 1991-05-03 1994-08-09 Cyberonics, Inc. Therapeutic treatment of sleep disorder by nerve stimulation
US5174287A (en) 1991-05-28 1992-12-29 Medtronic, Inc. Airway feedback measurement system responsive to detected inspiration and obstructive apnea event
US5388578A (en) 1992-01-14 1995-02-14 Incontrol, Inc. Electrode system for use with an implantable cardiac patient monitor
US5511543A (en) 1992-08-18 1996-04-30 Shirley; Terry L. Disposable resuscitation device having unidirectional valve
US5324321A (en) 1992-12-22 1994-06-28 Medtronic, Inc. Medical electrical lead having sigmoidal conductors and non-circular lumens
US5630411A (en) 1993-01-12 1997-05-20 Nellcor Puritan Bennett Incorporated Valve for use with inhalation/exhalation respiratory phase detection circuit
US5344438A (en) 1993-04-16 1994-09-06 Medtronic, Inc. Cuff electrode
US5458629A (en) 1994-02-18 1995-10-17 Medtronic, Inc. Implantable lead ring electrode and method of making
US5392773A (en) 1994-04-13 1995-02-28 Bertrand; Archie A. Respiratory particulate filter
US5740798A (en) 1994-04-22 1998-04-21 Mckinney; Stella H. Disposable nasal band filter
US5417205A (en) 1994-06-07 1995-05-23 Wang; Jen-Yi Air filter for the nose
US5787884A (en) 1994-08-26 1998-08-04 The University Of Sydney Nasal and oral filters
US6109262A (en) 1994-08-26 2000-08-29 University Of Sydney Nasal and oral filters
US5425359A (en) 1994-08-29 1995-06-20 Liou; Nan-Tien Nose plug structure with filter
US5919220A (en) 1994-09-16 1999-07-06 Fraunhofer Gesellschaft Zur Foerderung Der Angewandten Forschung E.V. Cuff electrode
US5531778A (en) 1994-09-20 1996-07-02 Cyberonics, Inc. Circumneural electrode assembly
US5485851A (en) 1994-09-21 1996-01-23 Medtronic, Inc. Method and apparatus for arousal detection
US5540731A (en) * 1994-09-21 1996-07-30 Medtronic, Inc. Method and apparatus for pressure detecting and treating obstructive airway disorders
US5540732A (en) 1994-09-21 1996-07-30 Medtronic, Inc. Method and apparatus for impedance detecting and treating obstructive airway disorders
US5549655A (en) 1994-09-21 1996-08-27 Medtronic, Inc. Method and apparatus for synchronized treatment of obstructive sleep apnea
US5855552A (en) 1994-09-21 1999-01-05 Ep Technologies, Inc. Catheter having ring electrodes secured thereon
US5540733A (en) 1994-09-21 1996-07-30 Medtronic, Inc. Method and apparatus for detecting and treating obstructive sleep apnea
US5522862A (en) 1994-09-21 1996-06-04 Medtronic, Inc. Method and apparatus for treating obstructive sleep apnea
US5483969A (en) 1994-09-21 1996-01-16 Medtronic, Inc. Method and apparatus for providing a respiratory effort waveform for the treatment of obstructive sleep apnea
US5540734A (en) 1994-09-28 1996-07-30 Zabara; Jacob Cranial nerve stimulation treatments using neurocybernetic prosthesis
US5487756A (en) 1994-12-23 1996-01-30 Simon Fraser University Implantable cuff having improved closure
US5591216A (en) 1995-05-19 1997-01-07 Medtronic, Inc. Method for treatment of sleep apnea by electrical stimulation
US6041780A (en) 1995-06-07 2000-03-28 Richard; Ron F. Pressure control for constant minute volume
US5568808A (en) 1995-08-08 1996-10-29 Amtec Products, Incorporated Nose filters
US5546938A (en) 1995-08-24 1996-08-20 Mckenzie; Shirley T. ICU patients ventilator tube holding device
US6205360B1 (en) 1995-09-07 2001-03-20 Cochlear Limited Apparatus and method for automatically determining stimulation parameters
US6198970B1 (en) 1995-10-27 2001-03-06 Esd Limited Liability Company Method and apparatus for treating oropharyngeal respiratory and oral motor neuromuscular disorders with electrical stimulation
US20020010495A1 (en) 1995-10-27 2002-01-24 Freed Marcy L. Method and apparatus for treating oropharyngeal, respiratory and oral motor neuromuscular disorders with electrical stimulation
US20030093128A1 (en) 1995-10-27 2003-05-15 Freed Marcy L. Method and apparatus for treating oropharyngeal, respiratory and oral motor neuromuscular disorders with electrical stimulation
US6015389A (en) 1995-12-06 2000-01-18 Btg International Limited Impedance pneumography
JP2000506601A (en) 1996-04-09 2000-05-30 シーヴァース インストルメンツ,インコーポレーテッド Method and apparatus for measurement of human breath constituents
US6010459A (en) 1996-04-09 2000-01-04 Silkoff; Philip E. Method and apparatus for the measurement of components of exhaled breath in humans
EP0892926B1 (en) 1996-04-09 2002-06-26 Sievers Instruments, Inc. Method and apparatus for the measurement of components of exhaled breath in humans
JP3688301B2 (en) 1996-04-12 2005-08-24 アルバート アインスタイン ヘルスケア ネットワーク Inhalation and monitoring device
US5697363A (en) 1996-04-12 1997-12-16 Albert Einstein Healthcare Network Inhalation and monitoring mask with headset
JP2000508562A (en) 1996-04-12 2000-07-11 アルバート アインスタイン ヘルスケア ネットワーク Inhalation and monitoring device
EP0900102B1 (en) 1996-04-12 2004-07-07 Albert Einstein Healthcare Network Inhalation and monitoring device
USRE38705E1 (en) 1996-04-30 2005-02-22 Medtronic, Inc. Method and device for electronically controlling the beating of a heart using venous electrical stimulation of nerve fibers
US20050251216A1 (en) 1996-04-30 2005-11-10 Medtronic, Inc. Method and device for electronically controlling the beating of a heart
US7697984B2 (en) 1996-04-30 2010-04-13 Medtronic, Inc. Method and device for electronically controlling the beating of a heart
JPH09294819A (en) 1996-05-02 1997-11-18 孝明 ▲崎▼ Nose mask
US6609031B1 (en) 1996-06-07 2003-08-19 Advanced Neuromodulation Systems, Inc. Multiprogrammable tissue stimulator and method
US6021352A (en) 1996-06-26 2000-02-01 Medtronic, Inc, Diagnostic testing methods and apparatus for implantable therapy devices
US5944680A (en) 1996-06-26 1999-08-31 Medtronic, Inc. Respiratory effort detection method and apparatus
US5895360A (en) 1996-06-26 1999-04-20 Medtronic, Inc. Gain control for a periodic signal and method regarding same
US6132384A (en) 1996-06-26 2000-10-17 Medtronic, Inc. Sensor, method of sensor implant and system for treatment of respiratory disorders
US5697105A (en) 1996-09-04 1997-12-16 White; Mark Hunting mask
US5682881A (en) 1996-10-21 1997-11-04 Winthrop; Neil Nasal CPAP/Cannula and securement apparatus
WO1998020938A1 (en) 1996-11-12 1998-05-22 Cprx, Inc. Heart failure treatment method requiring set negative intrathoracic pressure
US5730122A (en) 1996-11-12 1998-03-24 Cprx, Inc. Heart failure mask and methods for increasing negative intrathoracic pressures
US6029667A (en) 1996-11-12 2000-02-29 Cprx Llc Heart failure mask and methods for increasing negative intrathoracic pressures
US5752511A (en) 1996-11-22 1998-05-19 Simmons; Carl J. Universal medical tube retainer and nasal wall tissue dilator
US6098624A (en) 1996-12-16 2000-08-08 Utamaru; Masanobu Simple mask for protection of respiratory system
US6366815B1 (en) 1997-01-13 2002-04-02 Neurodan A /S Implantable nerve stimulator electrode
US5938596A (en) 1997-03-17 1999-08-17 Medtronic, Inc. Medical electrical lead
US5922014A (en) 1997-09-02 1999-07-13 Medtronic, Inc. Single pass lead and method of use
US6021354A (en) 1997-09-02 2000-02-01 Medtronic, Inc. Single pass lead and method of use
US6201994B1 (en) 1997-09-02 2001-03-13 Medtronic, Inc. Single pass lead and method of use
US5890491A (en) 1997-09-03 1999-04-06 Amtec Products, Inc. Nose filter
US20030083696A1 (en) 1997-09-03 2003-05-01 Hadasit Medical Research Service & Development Company Pacifier
US5848589A (en) 1997-09-18 1998-12-15 Welnetz; Robert J. Altitude mask simulator
US5871531A (en) 1997-09-25 1999-02-16 Medtronic, Inc. Medical electrical lead having tapered spiral fixation
US5947119A (en) 1997-10-31 1999-09-07 Reznick; Jerald M. Therapeutic process and apparatus for nasal passages
US7027869B2 (en) 1998-01-07 2006-04-11 Asthmatx, Inc. Method for treating an asthma attack
US6511458B2 (en) 1998-01-13 2003-01-28 Lumend, Inc. Vascular re-entry catheter
US6231546B1 (en) 1998-01-13 2001-05-15 Lumend, Inc. Methods and apparatus for crossing total occlusions in blood vessels
US6221049B1 (en) 1998-01-13 2001-04-24 Lumend, Inc. Methods and apparatus for crossing vascular occlusions
US6514217B1 (en) 1998-01-13 2003-02-04 Lumend, Inc. Methods and apparatus for treating vascular occlusions
US6719725B2 (en) 1998-01-13 2004-04-13 Lumend, Inc. Re-entry catheter
US20060129189A1 (en) 1998-01-15 2006-06-15 Regenesis Biomedical, Inc. Pulsed electromagnetic energy treatment apparatus and method
US6126611A (en) 1998-02-04 2000-10-03 Medtronic, Inc. Apparatus for management of sleep apnea
US6647289B2 (en) 1998-02-06 2003-11-11 Intermedics Inc. Non-invasive cardiorespiratory monitor with synchronized bioimpedance sensing
US6251126B1 (en) 1998-04-23 2001-06-26 Medtronic Inc Method and apparatus for synchronized treatment of obstructive sleep apnea
US6269269B1 (en) 1998-04-23 2001-07-31 Medtronic Inc. Method and apparatus for synchronized treatment of obstructive sleep apnea
US6066165A (en) 1998-04-30 2000-05-23 Racz; Gabor B Medical lead with sigma feature
US6651652B1 (en) 1998-06-30 2003-11-25 Siemens-Elema Ab Method for identifying respiration attempts by analyzing neuroelectrical signals, and respiration detector and respiratory aid system operating according to the method
US6587725B1 (en) 1998-07-27 2003-07-01 Dominique Durand Method and apparatus for closed-loop stimulation of the hypoglossal nerve in human patients to treat obstructive sleep apnea
US20060293720A1 (en) 1998-08-05 2006-12-28 Dilorenzo Daniel J Closed-loop feedback-driven neuromodulation
US6240316B1 (en) 1998-08-14 2001-05-29 Advanced Bionics Corporation Implantable microstimulation system for treatment of sleep apnea
US20010010010A1 (en) 1998-08-14 2001-07-26 Richmond Francis J.R. Method of treating obstructive sleep apnea using implantable electrodes
US6345202B2 (en) 1998-08-14 2002-02-05 Advanced Bionics Corporation Method of treating obstructive sleep apnea using implantable electrodes
US6217527B1 (en) 1998-09-30 2001-04-17 Lumend, Inc. Methods and apparatus for crossing vascular occlusions
US6292703B1 (en) 1998-10-08 2001-09-18 Biotronik Mess-Und Therapiegerate Gmbh & Co. Neural electrode arrangement
US7178524B2 (en) 1998-10-30 2007-02-20 Linda Noble Nasal gas delivery system and method for use thereof
US6119690A (en) 1998-12-04 2000-09-19 Pantaleo; Joseph M. Nostril filter system
US6997177B2 (en) 1999-03-13 2006-02-14 Inno Med Technologies, Inc. Ventilation interface for sleep apnea therapy
US20050039757A1 (en) 1999-03-13 2005-02-24 Wood Thomas J. Ventilation interface for sleep apnea therapy
US20030114895A1 (en) 1999-04-14 2003-06-19 Transneuronix, Inc. Gastric stimulator apparatus and method for installing
US6542776B1 (en) 1999-04-14 2003-04-01 Transneuronix Inc. Gastric stimulator apparatus and method for installing
US7094206B2 (en) 1999-04-23 2006-08-22 The Trustees Of Tufts College System for measuring respiratory function
US6244267B1 (en) 1999-07-08 2001-06-12 DRäGER MEDIZINTECHNICK GMBH Respirator with a pressure relief valve
US20050267547A1 (en) 1999-09-29 2005-12-01 Restore Medical, Inc. Microstimulator treatment for sleep apnea or snoring
US6636767B1 (en) 1999-09-29 2003-10-21 Restore Medical, Inc. Implanatable stimulation device for snoring treatment
US20040073272A1 (en) 1999-09-29 2004-04-15 Restore Medical, Inc. Implantable stimulation device for snoring treatment
US20030114905A1 (en) 1999-10-01 2003-06-19 Kuzma Janusz A. Implantable microdevice with extended lead and remote electrode
US20030106556A1 (en) 1999-12-10 2003-06-12 Vladimir Alperovich Respiratory nasal filter
US20010031929A1 (en) 1999-12-28 2001-10-18 O'toole James End tidal carbon dioxide sampling device
US20030106555A1 (en) 2000-02-24 2003-06-12 Euan Tovey Nasal filter and sampler
US6776162B2 (en) 2000-03-13 2004-08-17 Innomed Technologies, Inc. Ventilation interface for sleep apnea therapy
US20020092527A1 (en) 2000-03-13 2002-07-18 Wood Thomas J. Ventilation interface for sleep apnea therapy
US20030034031A1 (en) 2000-05-22 2003-02-20 Sleep Up Ltd. Pacifier and method of use thereof
US20070095347A1 (en) 2000-06-13 2007-05-03 Scott Laboratories, Inc. Apparatus and method for mask free delivery of an inspired gas mixture and gas sampling
US7152604B2 (en) 2000-06-13 2006-12-26 Scott Laboratories, Inc. Apparatus and method for mask free delivery of an inspired gas mixture and gas sampling
US20060032497A1 (en) 2000-06-16 2006-02-16 Rajiv Doshi Methods and devices for improving breathing in patients with pulmonary disease
US6561188B1 (en) 2000-08-21 2003-05-13 Ellis Alan D Nasal breathing apparatus and methods
US7627375B2 (en) 2000-09-18 2009-12-01 Cameron Health, Inc. Implantable cardiac stimulus methods
US7657311B2 (en) 2000-09-18 2010-02-02 Cameron Health, Inc. Subcutaneous only implantable cardioverter-defibrillator and optional pacer
US7065410B2 (en) 2000-09-18 2006-06-20 Cameron Health, Inc. Subcutaneous electrode with improved contact shape for transthorasic conduction
US7813797B2 (en) 2000-09-18 2010-10-12 Cameron Health, Inc. Cardioverter-defibrillator having a focused shocking area and orientation thereof
US7720534B2 (en) 2000-09-18 2010-05-18 Cameron Health, Inc. Transthoracic impedance measurement in a subcutaneous device
US7751885B2 (en) 2000-09-18 2010-07-06 Cameron Health, Inc. Bradycardia pacing in a subcutaneous device
WO2002024279A1 (en) 2000-09-21 2002-03-28 3M Innovative Properties Company Respirator that includes an integral filter element, an exhalation valve, and impactor element
US6460539B1 (en) 2000-09-21 2002-10-08 3M Innovative Properties Company Respirator that includes an integral filter element, an exhalation valve, and impactor element
JP2004508908A (en) 2000-09-21 2004-03-25 スリーエム イノベイティブ プロパティズ カンパニー Ventilator with integrated filter element, exhalation valve and impactor element
EP1322384B1 (en) 2000-09-21 2007-12-19 3M Innovative Properties Company Respirator that includes an integral filter element, an exhalation valve, and impactor element
US6626179B1 (en) 2000-09-29 2003-09-30 Philip Pedley Breathing valve for improving oxygen absorption
US20020049479A1 (en) 2000-10-20 2002-04-25 Pitts Walter C. Method and apparatus for creating afferents to prevent obstructive sleep apnea
US7792590B1 (en) 2000-12-29 2010-09-07 Boston Scientific Neuromodulation Corporation Implantable lead systems for brain stimulation
US20020165462A1 (en) 2000-12-29 2002-11-07 Westbrook Philip R. Sleep apnea risk evaluation
US6772015B2 (en) 2000-12-29 2004-08-03 Medtronic, Inc Bifurcated lead system for a cardiac vein
US20040230278A1 (en) 2000-12-29 2004-11-18 Medtronic, Inc. Bifurcated lead system for a cardiac vein
US6876885B2 (en) 2001-01-31 2005-04-05 Medtronic, Inc. Implantable bifurcated gastrointestinal lead with active fixation
US6819958B2 (en) 2001-02-20 2004-11-16 Biophan Technologies, Inc. Electromagnetic interference immune tissue invasive system
US20020128700A1 (en) 2001-03-08 2002-09-12 Cross Thomas E. Lead with adjustable angular and spatial relationships between electrodes
US20020156507A1 (en) * 2001-04-05 2002-10-24 Werner Lindenthaler Pacemaker for bilateral vocal cord autoparalysis
US6799575B1 (en) 2001-04-21 2004-10-05 Aaron Carter Cannula for the separation of inhaled and exhaled gases
US6641542B2 (en) 2001-04-30 2003-11-04 Medtronic, Inc. Method and apparatus to detect and treat sleep respiratory events
US6718982B2 (en) 2001-05-07 2004-04-13 Mark A. Smith Face mask incorporating respiratory flow sensor
US20020166556A1 (en) 2001-05-09 2002-11-14 Joseph Jacob Nose airflow enhancer and filter for airborne solids and pathogens
US20040215290A1 (en) * 2001-06-21 2004-10-28 Zealear David L Method for promoting reinnervation of denervated tissue
US7054692B1 (en) 2001-06-22 2006-05-30 Advanced Bionics Corporation Fixation device for implantable microdevices
US6484725B1 (en) 2001-06-25 2002-11-26 Min Hung Chi Nose plug device having air breathing structure
US20050139216A1 (en) 2001-06-25 2005-06-30 3M Innovative Properties Company Unidirectional respirator valve
US20020195109A1 (en) 2001-06-25 2002-12-26 3M Innovative Properties Company Respirator valve
US7302951B2 (en) 2001-06-25 2007-12-04 3M Innovative Properties Company Unidirectional respirator valve
WO2003000347A1 (en) 2001-06-25 2003-01-03 3M Innovative Properties Company Respirator valve
JP2004532707A (en) 2001-06-25 2004-10-28 スリーエム イノベイティブ プロパティズ カンパニー Breathing device valve
US20020195108A1 (en) 2001-06-25 2002-12-26 3M Innovative Properties Company Respirator valve
US6883518B2 (en) 2001-06-25 2005-04-26 3M Innovative Properties Company Unidirectional respirator valve
EP1404221B1 (en) 2001-06-26 2007-02-07 c-Lect medical ltd Respiration monitoring equipment
US20040233058A1 (en) 2001-06-26 2004-11-25 Dennis Dodds Respiration monitoring equipment
EP1404221A1 (en) 2001-06-26 2004-04-07 C-Lect Medical Ltd. Respiration monitoring equipment
US7089932B2 (en) 2001-06-26 2006-08-15 Dennis Dodds Respiration monitoring equipment
WO2003000133A1 (en) 2001-06-26 2003-01-03 C-Lect Medical Ltd Respiration monitoring equipment
US6606521B2 (en) 2001-07-09 2003-08-12 Neuropace, Inc. Implantable medical lead
US7160255B2 (en) 2001-07-12 2007-01-09 Vahid Saadat Method and device for sensing and mapping temperature profile of a hollow body organ
US20050098176A1 (en) 2001-07-12 2005-05-12 Helmut Hoffrichter Respiratory therapy device for keeping free the natural respiratory tract of a human body and the use thereof in order to prevent the sound of snoring
US20030040785A1 (en) 2001-08-21 2003-02-27 Maschino Steve E. Circumneural electrode assembly
US6600956B2 (en) 2001-08-21 2003-07-29 Cyberonics, Inc. Circumneural electrode assembly
US6907295B2 (en) 2001-08-31 2005-06-14 Biocontrol Medical Ltd. Electrode assembly for nerve control
US20050038490A1 (en) 2001-08-31 2005-02-17 Biocontrol Medical Ltd. Electrode assembly for nerve control
US7346398B2 (en) 2001-08-31 2008-03-18 Bio Control Medical (B.C.M.) Ltd. Electrode assembly for nerve control
US20040116819A1 (en) 2001-10-01 2004-06-17 Eckhard Alt Congestive heart failure monitor and ventilation measuring implant
US6829503B2 (en) 2001-10-01 2004-12-07 Scicotec Gmbh Congestive heart failure monitor
US20030078643A1 (en) 2001-10-19 2003-04-24 Schulman Joseph H. Electrically sensing and stimulating system for placement of a nerve stimulator or sensor
US6829508B2 (en) 2001-10-19 2004-12-07 Alfred E. Mann Foundation For Scientific Research Electrically sensing and stimulating system for placement of a nerve stimulator or sensor
US20100137956A1 (en) 2001-10-22 2010-06-03 Oscor Inc. Lead adaptor having low resistance conductors and/or encapsulated housing
US7684869B2 (en) 2001-12-04 2010-03-23 Boston Scientific Neuromodulation Corporation Apparatus and method for determining the relative position and orientation of neurostimulation leads
US6890306B2 (en) 2001-12-14 2005-05-10 Ela Medical S.A. Active medical device for the diagnosis of the sleep apnea syndrome
US6721603B2 (en) 2002-01-25 2004-04-13 Cyberonics, Inc. Nerve stimulation as a treatment for pain
US7813802B2 (en) 2002-02-05 2010-10-12 Neuropace, Inc. Responsive electrical stimulation for movement disorders
US20070038265A1 (en) 2002-02-05 2007-02-15 Neuropace, Inc. Responsive electrical stimulation for movement disorders
US20100262209A1 (en) 2002-02-12 2010-10-14 Boston Scientific Neuromodulation Corporation Neural stimulation system providing auto adjustment of stimulus output as a function of sensed impedance
US7239920B1 (en) 2002-02-12 2007-07-03 Advanced Bionics Corporation Neural stimulation system providing auto adjustment of stimulus output as a function of sensed pressure changes
US6928324B2 (en) 2002-02-14 2005-08-09 Pacesetter, Inc. Stimulation device for sleep apnea prevention, detection and treatment
US20030209145A1 (en) 2002-02-14 2003-11-13 Soper Adrian John Filtration device
US6904320B2 (en) 2002-02-14 2005-06-07 Pacesetter, Inc. Sleep apnea therapy device using dynamic overdrive pacing
US20030153953A1 (en) * 2002-02-14 2003-08-14 Euljoon Park Stimulation device for sleep apnea prevention, detection and treatment
US20030167018A1 (en) 2002-03-04 2003-09-04 Robert Wyckoff Sleep apnea device and method thereof
US6978171B2 (en) 2002-03-15 2005-12-20 Medtronic, Inc. Automated impedance measurement of an implantable medical device
US20050235992A1 (en) 2002-03-28 2005-10-27 Djupesland Per G Nasal devices
JP2005521485A (en) 2002-03-28 2005-07-21 オプティノーズ アズ Nasal device
WO2003082393A1 (en) 2002-03-28 2003-10-09 Optinose As Nasal devices
US20050234523A1 (en) 2002-04-08 2005-10-20 Levin Howard R Renal nerve stimulation method and apparatus for treatment of patients
US20030195571A1 (en) 2002-04-12 2003-10-16 Burnes John E. Method and apparatus for the treatment of central sleep apnea using biventricular pacing
JP2003305135A (en) 2002-04-17 2003-10-28 Takao Akeura Bandage type nose mask
US20060079802A1 (en) 2002-04-30 2006-04-13 Medtronic, Inc. Method and apparatus to detect and monitor the frequency of obstructive sleep apnea
US20030216789A1 (en) 2002-05-14 2003-11-20 The Foundry, Inc. Method and system for treating sleep apnea
US20060116739A1 (en) 2002-05-23 2006-06-01 Nir Betser Electrode assembly for nerve control
US20060195170A1 (en) 2002-05-23 2006-08-31 Ehud Cohen Electrode assembly for nerve control
US20060211951A1 (en) 2002-05-29 2006-09-21 Zoran Milijasevic Implantable bladder sensor
US6881192B1 (en) 2002-06-12 2005-04-19 Pacesetter, Inc. Measurement of sleep apnea duration and evaluation of response therapies using duration metrics
US20040015204A1 (en) 2002-06-20 2004-01-22 Whitehurst Todd K. Implantable microstimulators and methods for unidirectional propagation of action potentials
US7860570B2 (en) 2002-06-20 2010-12-28 Boston Scientific Neuromodulation Corporation Implantable microstimulators and methods for unidirectional propagation of action potentials
US7117036B2 (en) 2002-06-27 2006-10-03 Pacesetter, Inc. Using activity-based rest disturbance as a metric of sleep apnea
US20060064029A1 (en) 2002-07-03 2006-03-23 Tel-Aviv University Future Technology Development L.P. Bio-impedance apparatus and method
US20040020489A1 (en) 2002-07-25 2004-02-05 Gail Alston Nasal mask with replaceable filter
US20040049241A1 (en) 2002-09-10 2004-03-11 Therapeutic Innovations, Inc. Distributed muscle stimulator
US20040055603A1 (en) 2002-09-23 2004-03-25 Bruce Carol Jean Emery Intra-nasal filter device
US20040162499A1 (en) 2002-10-04 2004-08-19 Fumiya Nagai Abnormal respiration detecting system and method for detecting the same
US20040138581A1 (en) 2002-10-15 2004-07-15 Medtronic, Inc. Signal quality monitoring and control for a medical device system
US7797057B2 (en) 2002-10-23 2010-09-14 Medtronic, Inc. Medical paddle lead and method for spinal cord stimulation
US20040260310A1 (en) 2002-10-23 2004-12-23 Medtronic, Inc. Medical lead and method
US20040089303A1 (en) 2002-11-11 2004-05-13 Dennis Chien Nose filter device
US20040116978A1 (en) 2002-12-06 2004-06-17 Kerry Bradley Method for determining stimulation parameters
US20040111139A1 (en) 2002-12-10 2004-06-10 Mccreery Douglas B. Apparatus and methods for differential stimulation of nerve fibers
US20040122497A1 (en) 2002-12-19 2004-06-24 Yongxing Zhang Implantable lead for septal placement of electrode with fixation mechanism in the pulmonary artery
US7160252B2 (en) 2003-01-10 2007-01-09 Medtronic, Inc. Method and apparatus for detecting respiratory disturbances
US7438686B2 (en) 2003-01-10 2008-10-21 Medtronic, Inc. Apparatus and method for monitoring for disordered breathing
US20050119711A1 (en) 2003-01-10 2005-06-02 Cho Yong K. Apparatus and method for monitoring for disordered breathing
US7277749B2 (en) 2003-01-15 2007-10-02 Alfred E. Mann Institute For Biomedical Engineering At The University Of Southern California Treatments for snoring using injectable neuromuscular stimulators
US20040153127A1 (en) 2003-01-15 2004-08-05 Alfred E. Mann Institute For Biomedical Engineering At The University Of Southern Californ Treatments for snoring using injectable neuromuscular stimulators
US20040194784A1 (en) 2003-04-01 2004-10-07 Archie Bertrand Respiratory particulate filter
US20050010265A1 (en) 2003-04-02 2005-01-13 Neurostream Technologies Inc. Fully implantable nerve signal sensing and stimulation device and method for treating foot drop and other neurological disorders
US7636602B2 (en) 2003-04-02 2009-12-22 Neurostream Technologies General Partnership Fully implantable nerve signal sensing and stimulation device and method for treating foot drop and other neurological disorders
US7524292B2 (en) 2003-04-21 2009-04-28 Medtronic, Inc. Method and apparatus for detecting respiratory disturbances
US7155278B2 (en) 2003-04-21 2006-12-26 Medtronic, Inc. Neurostimulation to treat effects of sleep apnea
US20040215288A1 (en) 2003-04-25 2004-10-28 Lee Michael T. Identifying combinations of electrodes for neurostimulation therapy
US7463928B2 (en) 2003-04-25 2008-12-09 Medtronic, Inc. Identifying combinations of electrodes for neurostimulation therapy
US7149573B2 (en) 2003-04-25 2006-12-12 Medtronic, Inc. Method and apparatus for impedance signal localizations from implanted devices
US20060111755A1 (en) 2003-05-16 2006-05-25 Stone Robert T Method and system to control respiration by means of neuro-electrical coded signals
US20060224209A1 (en) 2003-05-16 2006-10-05 Dennis Meyer Method and system to control respiration by means of simulated neuro-electrical coded signals
US20050261747A1 (en) 2003-05-16 2005-11-24 Schuler Eleanor L Method and system to control respiration by means of neuro-electrical coded signals
US7738952B2 (en) 2003-06-09 2010-06-15 Palo Alto Investors Treatment of conditions through modulation of the autonomic nervous system
US20050240241A1 (en) 2003-06-09 2005-10-27 Yun Anthony J Treatment of conditions through modulation of the autonomic nervous system
US7242987B2 (en) 2003-06-19 2007-07-10 Medtronic, Inc. Medical lead adaptor
US7225034B2 (en) 2003-06-19 2007-05-29 Medtronic, Inc. Medical lead adaptor
US20040261791A1 (en) 2003-06-24 2004-12-30 Horian Richard C. Nasal dilator and method of nasal dilation
US20050004610A1 (en) 2003-07-02 2005-01-06 Jaeho Kim Cardiac cycle synchronized sampling of impedance signal
US20060150980A1 (en) 2003-07-02 2006-07-13 Yung Ho Kim Anion emission and anti-dust nose mask
US7263996B2 (en) 2003-07-02 2007-09-04 Kim Yung Ho Anion emission and anti-dust nose mask
US7200440B2 (en) 2003-07-02 2007-04-03 Cardiac Pacemakers, Inc. Cardiac cycle synchronized sampling of impedance signal
WO2005004993A1 (en) 2003-07-12 2005-01-20 Lixin Zhou A nasal filter
US20050043644A1 (en) 2003-08-18 2005-02-24 Stahmann Jeffrey E. Prediction of disordered breathing
US20050043772A1 (en) 2003-08-18 2005-02-24 Stahmann Jeffrey E. Therapy triggered by prediction of disordered breathing
US7396333B2 (en) 2003-08-18 2008-07-08 Cardiac Pacemakers, Inc. Prediction of disordered breathing
US7680537B2 (en) 2003-08-18 2010-03-16 Cardiac Pacemakers, Inc. Therapy triggered by prediction of disordered breathing
US7473227B2 (en) 2003-09-02 2009-01-06 Biotronik Gmbh & Co.Kg Apparatus for the treatment of sleep apnea
US20050101833A1 (en) 2003-09-02 2005-05-12 Biotronik Gmbh & Co. Kg Apparatus for the treatment of sleep apnea
US20060149345A1 (en) 2003-09-12 2006-07-06 Ndi Medical, Llc Neuromodulation stimulation for the restoration of sexual function
US7591265B2 (en) 2003-09-18 2009-09-22 Cardiac Pacemakers, Inc. Coordinated use of respiratory and cardiac therapies for sleep disordered breathing
US20090308395A1 (en) 2003-09-18 2009-12-17 Kent Lee Coordinated Use of Respiratory and Cardiac Therapies for Sleep Disordered Breathing
US20050076908A1 (en) 2003-09-18 2005-04-14 Kent Lee Autonomic arousal detection system and method
US20050085865A1 (en) 2003-10-15 2005-04-21 Tehrani Amir J. Breathing disorder detection and therapy delivery device and method
US20050085866A1 (en) 2003-10-15 2005-04-21 Tehrani Amir J. Breathing disorder and precursor predictor and therapy delivery device and method
US20060155341A1 (en) 2003-10-15 2006-07-13 Tehrani Amir J Device and method for biasing lung volume
US20050085868A1 (en) 2003-10-15 2005-04-21 Tehrani Amir J. Breathing therapy device and method
US20060142815A1 (en) 2003-10-15 2006-06-29 Tehrani Amir J Device and method for treating obstructive sleep apnea
US8255056B2 (en) 2003-10-15 2012-08-28 Rmx, Llc Breathing disorder and precursor predictor and therapy delivery device and method
US7979128B2 (en) 2003-10-15 2011-07-12 Rmx, Llc Device and method for gradually controlling breathing
US20050085869A1 (en) 2003-10-15 2005-04-21 Tehrani Amir J. System and method for mapping diaphragm electrode sites
US20060247729A1 (en) 2003-10-15 2006-11-02 Tehrani Amir J Multimode device and method for controlling breathing
US20060149334A1 (en) * 2003-10-15 2006-07-06 Tehrani Amir J Device and method for controlling breathing
US20050085874A1 (en) 2003-10-17 2005-04-21 Ross Davis Method and system for treating sleep apnea
US7142919B2 (en) 2003-10-24 2006-11-28 Medtronic, Inc. Reconfigurable, fault tolerant multiple-electrode cardiac lead systems
US20060293723A1 (en) 2003-12-19 2006-12-28 Whitehurst Todd K Skull-mounted electrical stimulation system and method for treating patients
US7769461B2 (en) 2003-12-19 2010-08-03 Boston Scientific Neuromodulation Corporation Skull-mounted electrical stimulation system and method for treating patients
US7818063B2 (en) 2003-12-22 2010-10-19 Boston Scientific Scimed, Inc. Method of intravascularly delivering stimulation leads into brain to stimulate the SPG
US7783353B2 (en) 2003-12-24 2010-08-24 Cardiac Pacemakers, Inc. Automatic neural stimulation modulation based on activity and circadian rhythm
US20050165457A1 (en) 2004-01-26 2005-07-28 Michael Benser Tiered therapy for respiratory oscillations characteristic of Cheyne-Stokes respiration
US20060004429A1 (en) 2004-02-12 2006-01-05 Ndi Medical, Inc. Lead and electrode structures sized and configured for implantation in adipose tissue and associated methods of implantation
US7343202B2 (en) 2004-02-12 2008-03-11 Ndi Medical, Llc. Method for affecting urinary function with electrode implantation in adipose tissue
US20100152553A1 (en) 2004-02-20 2010-06-17 Anthony John Ujhazy Method and apparatus for detection and treatment of respiratory disorder by implantable device
US7697990B2 (en) 2004-02-20 2010-04-13 Resmed Limited Method and apparatus for detection and treatment of respiratory disorder by implantable device
US20120017920A1 (en) 2004-02-26 2012-01-26 Linguaflex, Inc. Method and Device for the Treatment of Obstructive Sleep Apnea and Snoring
US20120022389A1 (en) 2004-02-26 2012-01-26 Linguaflex, Inc. Method and Device for the Treatment of Obstructive Sleep Apnea and Snoring
US20050209513A1 (en) 2004-03-16 2005-09-22 Heruth Kenneth T Collecting sleep quality information via a medical device
US7717848B2 (en) 2004-03-16 2010-05-18 Medtronic, Inc. Collecting sleep quality information via a medical device
US20050209643A1 (en) 2004-03-16 2005-09-22 Heruth Kenneth T Controlling therapy based on sleep quality
US7366572B2 (en) 2004-03-16 2008-04-29 Medtronic, Inc. Controlling therapy based on sleep quality
US7156098B2 (en) 2004-03-19 2007-01-02 Dolezal Creative Innovations, Llc Breathing air filtration system
US20080023007A1 (en) 2004-03-19 2008-01-31 Dolezal David M Breathing air filtration devices
US20050267380A1 (en) 2004-04-04 2005-12-01 Ela Medical S.A. Active implantable medical device equipped with means for the diagnosis of respiratory disorders, with sophisticated detection of respiratory cycles with artifacts
US7082331B1 (en) 2004-04-21 2006-07-25 Pacesetter, Inc. System and method for applying therapy during hyperpnea phase of periodic breathing using an implantable medical device
US7313442B2 (en) 2004-04-30 2007-12-25 Advanced Neuromodulation Systems, Inc. Method of treating mood disorders and/or anxiety disorders by brain stimulation
US20060064138A1 (en) 2004-04-30 2006-03-23 Francisco Velasco Method of treating mood disorders and/or anxiety disorders by brain stimulation
US7087053B2 (en) 2004-05-27 2006-08-08 St. Jude Medical, Atrial Fibrillation Division, Inc. Catheter with bifurcated, collapsible tip for sensing and ablating
US7747323B2 (en) 2004-06-08 2010-06-29 Cardiac Pacemakers, Inc. Adaptive baroreflex stimulation therapy for disordered breathing
US20100228317A1 (en) 2004-06-08 2010-09-09 Imad Libbus Adaptive baroreflex stimulation therapy for disordered breathing
US7596413B2 (en) 2004-06-08 2009-09-29 Cardiac Pacemakers, Inc. Coordinated therapy for disordered breathing including baroreflex modulation
US20050277844A1 (en) 2004-06-10 2005-12-15 Ndi Medical, Inc. Implantable system and methods for acquisition and processing of electrical signals from muscles and/or nerves and/or central nervous system tissue
US7283867B2 (en) 2004-06-10 2007-10-16 Ndi Medical, Llc Implantable system and methods for acquisition and processing of electrical signals from muscles and/or nerves and/or central nervous system tissue
US7813809B2 (en) 2004-06-10 2010-10-12 Medtronic, Inc. Implantable pulse generator for providing functional and/or therapeutic stimulation of muscles and/or nerves and/or central nervous system tissue
US7239918B2 (en) 2004-06-10 2007-07-03 Ndi Medical Inc. Implantable pulse generator for providing functional and/or therapeutic stimulation of muscles and/or nerves and/or central nervous system tissue
US20050278000A1 (en) 2004-06-10 2005-12-15 Strother Robert B Implantable pulse generator for providing functional and/or therapeutic stimulation of muscles and/or nerves and/or central nervous system tissue
US20050277999A1 (en) 2004-06-10 2005-12-15 Ndi Medical, Llc Implantable pulse generator for providing functional and/or therapeutic stimulation of muscles and /or nerves and/or central nervous system tissue
US20060005842A1 (en) 2004-07-09 2006-01-12 Rashad M A Nasal pressure sensor oxygen therapy device
US20060025828A1 (en) 2004-07-28 2006-02-02 Armstrong Randolph K Impedance measurement for an implantable device
US20060030919A1 (en) 2004-08-04 2006-02-09 Ndi Medical, Llc Devices, systems, and methods employing a molded nerve cuff electrode
US7797058B2 (en) 2004-08-04 2010-09-14 Ndi Medical, Llc Devices, systems, and methods employing a molded nerve cuff electrode
US20060041295A1 (en) 2004-08-17 2006-02-23 Osypka Thomas P Positive fixation percutaneous epidural neurostimulation lead
US20060058588A1 (en) 2004-09-02 2006-03-16 Proteus Biomedical, Inc. Methods and apparatus for tissue activation and monitoring
US20060052836A1 (en) 2004-09-08 2006-03-09 Kim Daniel H Neurostimulation system
US20060058852A1 (en) 2004-09-10 2006-03-16 Steve Koh Multi-variable feedback control of stimulation for inspiratory facilitation
US7672729B2 (en) 2004-09-10 2010-03-02 Pacesetter, Inc. Multi-variable feedback control of stimulation for inspiratory facilitation
US7734340B2 (en) 2004-10-21 2010-06-08 Advanced Neuromodulation Systems, Inc. Stimulation design for neuromodulation
US20060095088A1 (en) 2004-10-21 2006-05-04 Dirk De Ridder New stimulation design for neuromodulation
WO2006045251A1 (en) 2004-10-29 2006-05-04 Lam Philip Y T Nose mask
US20060135886A1 (en) 2004-12-02 2006-06-22 Biotronik Crm Patent Ag Device for determining thoracic impedance
US20060150979A1 (en) 2004-12-08 2006-07-13 Ventus Medical, Inc. Nasal respiratory devices
WO2006063339A2 (en) 2004-12-08 2006-06-15 Ventus Medical, Inc. Respiratory devices and methods of use
US20060144398A1 (en) 2004-12-08 2006-07-06 Rajiv Doshi Respiratory devices
US20070295338A1 (en) 2004-12-08 2007-12-27 Ventus Medical, Inc. Nasal respiratory devices for positive end-expiratory pressure
US20060150978A1 (en) 2004-12-08 2006-07-13 Ventus Medical, Inc. Methods of treating respiratory disorders
US7561922B2 (en) 2004-12-22 2009-07-14 Biocontrol Medical Ltd. Construction of electrode assembly for nerve control
US20060136024A1 (en) 2004-12-22 2006-06-22 Biocontrol Medical Ltd. Construction of electrode assembly for nerve control
US20060167497A1 (en) 2005-01-27 2006-07-27 Cyberonics, Inc. Implantable medical device having multiple electrode/sensor capability and stimulation based on sensed intrinsic activity
US20060184204A1 (en) 2005-02-11 2006-08-17 Advanced Bionics Corporation Implantable microstimulator having a separate battery unit and methods of use thereof
US20100137931A1 (en) 2005-02-28 2010-06-03 Hopper Donald L Implantable Cardiac Device With Dyspnea Measurement
US20060282127A1 (en) 2005-03-24 2006-12-14 Vanderbilt University Respiratory triggered, bilateral laryngeal stimulator to restore normal ventilation in vocal fold paralysis
US7805195B2 (en) 2005-03-24 2010-09-28 Vanderbilt University Respiratory triggered, bilateral laryngeal stimulator to restore normal ventilation in vocal fold paralysis
US7680538B2 (en) 2005-03-31 2010-03-16 Case Western Reserve University Method of treating obstructive sleep apnea using electrical nerve stimulation
US20100131029A1 (en) 2005-03-31 2010-05-27 Case Western Reserve University Method of treating obstructive sleep apnea using electrical nerve stimulation
US20060224211A1 (en) 2005-03-31 2006-10-05 Durand Dominique M Method of treating obstructive sleep apnea using electrical nerve stimulation
US20060241708A1 (en) 2005-04-22 2006-10-26 Willem Boute Multiple sensors for sleep apnea with probability indication for sleep diagnosis and means for automatic activation of alert or therapy
US7785262B2 (en) 2005-04-25 2010-08-31 University Of Florida Research Foundation, Inc. Method and apparatus for diagnosing respiratory disorders and determining the degree of exacerbations
US20060241506A1 (en) 2005-04-25 2006-10-26 Melker Richard J Method and apparatus for diagnosing respiratory disorders and determining the degree of exacerbations
US20060264777A1 (en) 2005-04-29 2006-11-23 Medtronic, Inc. Event-based lead impedance monitoring
US20060259079A1 (en) 2005-04-30 2006-11-16 Medtronic, Inc. Impedance-based stimulation adjustment
US7734348B2 (en) 2005-05-10 2010-06-08 Cardiac Pacemakers, Inc. System with left/right pulmonary artery electrodes
US7765000B2 (en) 2005-05-10 2010-07-27 Cardiac Pacemakers, Inc. Neural stimulation system with pulmonary artery lead
US20070227542A1 (en) 2005-05-17 2007-10-04 Boris Kashmakov Nose Filter
US20060271137A1 (en) 2005-05-25 2006-11-30 The Cleveland Clinic Foundation Apparatus and system to stimulate a nerve
US20060271118A1 (en) 2005-05-25 2006-11-30 Cardiac Pacemakers, Inc. Implantable neural stimulator with mode switching
US20060266369A1 (en) 2005-05-27 2006-11-30 Prospex Medical Ii, Inc. Devices and methods for treating sleep disorders
JP2007021156A (en) 2005-07-19 2007-02-01 Isao Miyagawa Tool for preventing invasion of pollen in nose
US20070021785A1 (en) 2005-07-21 2007-01-25 Cyberonics, Inc. Safe-mode implantable medical devices
US20070027482A1 (en) 2005-07-27 2007-02-01 Cyberonics, Inc. Cranial nerve stimulation to treat a vocal cord disorder
US7822486B2 (en) 2005-08-17 2010-10-26 Enteromedics Inc. Custom sized neural electrodes
US20070043411A1 (en) 2005-08-17 2007-02-22 Enteromedics Inc. Neural electrode
US20100228133A1 (en) 2005-09-16 2010-09-09 Averina Viktoria A System and Method for Generating a Trend Parameter Based on Respiration Rate Distribution
US7128717B1 (en) 2005-09-29 2006-10-31 Washington University Method for determining airway obstruction
US20080099029A1 (en) 2005-10-07 2008-05-01 Lamberg Steven B Intraoral mandibular advancement device for treatment of sleep disorders
US20070125379A1 (en) 2005-12-02 2007-06-07 Brian Pierro Nasal continuous positive airway pressure device and system
US7596414B2 (en) 2005-12-05 2009-09-29 Boston Scientific Neuromodulation Corporation Cuff electrode arrangement for nerve stimulation and methods of treating disorders
US7662105B2 (en) 2005-12-14 2010-02-16 Cardiac Pacemakers, Inc. Systems and methods for determining respiration metrics
US20070150006A1 (en) * 2005-12-28 2007-06-28 Imad Libbus Neural stimulator to treat sleep disordered breathing
US7797050B2 (en) 2005-12-28 2010-09-14 Cardiac Pacemakers, Inc. Neural stimulator to treat sleep disordered breathing
US7672728B2 (en) 2005-12-28 2010-03-02 Cardiac Pacemakers, Inc. Neural stimulator to treat sleep disordered breathing
US20070175478A1 (en) 2006-02-01 2007-08-02 Brunst Robert F Nasal air purifier
US7725195B2 (en) 2006-02-16 2010-05-25 Imthera Medical, Inc. RFID-based apparatus, system, and method for therapeutic treatment of obstructive sleep apnea
US7697968B2 (en) 2006-03-28 2010-04-13 Kent Moore System and method of predicting efficacy of tongue-base therapies
US20070239243A1 (en) 2006-03-30 2007-10-11 Advanced Bionics Corporation Electrode contact configurations for cuff leads
US7515968B2 (en) 2006-04-28 2009-04-07 Medtronic, Inc. Assembly method for spinal cord stimulation lead
US20070282410A1 (en) 2006-04-28 2007-12-06 Cross Thomas E Jr Implantable medical lead assemblies with improved flexibility and extensibility and having a substantially two-dimensional nature
EP1854494A1 (en) 2006-05-12 2007-11-14 Intersurgical AG Improvements Relating to Respiratory Masks
US20070277832A1 (en) 2006-05-23 2007-12-06 Ventus Medical, Inc. Nasal respiratory devices
WO2007134458A1 (en) 2006-05-23 2007-11-29 Jean-Pierre Robitaille Valved nasal cannula
US20070283962A1 (en) 2006-06-07 2007-12-13 Ventus Medical, Inc. Layered nasal devices
US20080041373A1 (en) 2006-06-07 2008-02-21 Ventus Medical, Inc. Nasal devices
US20070283692A1 (en) 2006-06-09 2007-12-13 Shimano Inc. Bicycle hydraulic brake accentuate device
US20080027480A1 (en) 2006-06-29 2008-01-31 Aspire Medical, Inc. Methods and devices for rhinoplasty and treating internal valve stenosis
US7660632B2 (en) 2006-06-30 2010-02-09 Ric Investments, Llc Method and apparatus for hypoglossal nerve stimulation
US20100100150A1 (en) 2006-06-30 2010-04-22 Ric Investments, Llc Method and apparatus for hypoglossal nerve stimulation
US20080027502A1 (en) 2006-07-28 2008-01-31 Ransom Scott A Dynamic Sampling
US20100241207A1 (en) 2006-08-14 2010-09-23 Henry Bluger Implantable Medical Cuff with Electrode Array
US20100047376A1 (en) 2006-08-29 2010-02-25 Marc-Olivier Imbeau Nerve cuff injection mold and method of making a nerve cuff
US20100016749A1 (en) 2006-09-19 2010-01-21 Victhom Human Bionics, Inc. Method and System for the Monitoring of Respiratory Acitivity and for the Treatment of Breathing Disorders Such as Sleep Apnea
WO2008046190A1 (en) 2006-09-19 2008-04-24 Victhom Human Bionics Inc. Method and system for the monitoring of respiratory activity and for the treatment of breathing disorders such as sleep apnea
US20100076536A1 (en) 2006-09-22 2010-03-25 Koninklijke Philips Electronics N.V. Implantable multi-electrode device
US8249723B2 (en) 2006-09-27 2012-08-21 Huntington Medical Research Institutes Apparatus and method for treating obstructive sleep apnea
US8639354B2 (en) 2006-10-13 2014-01-28 Cyberonics, Inc. Obstructive sleep apnea treatment devices, systems and methods
US7809442B2 (en) 2006-10-13 2010-10-05 Apnex Medical, Inc. Obstructive sleep apnea treatment devices, systems and methods
US20110071591A1 (en) 2006-10-13 2011-03-24 Apnex Medical, Inc. Obstructive Sleep Apnea Treatment Devices, Systems and Methods
US8626304B2 (en) 2006-10-13 2014-01-07 Cyberonics, Inc. Obstructive sleep apnea treatment devices, systems and methods
US8498712B2 (en) 2006-10-13 2013-07-30 Apnex Medical, Inc. Obstructive sleep apnea treatment devices, systems and methods
US8428727B2 (en) 2006-10-13 2013-04-23 Apnex Medical, Inc. Obstructive sleep apnea treatment devices, systems and methods
US8311645B2 (en) 2006-10-13 2012-11-13 Apnex Medical, Inc. Obstructive sleep apnea treatment devices, systems and methods
US9186511B2 (en) 2006-10-13 2015-11-17 Cyberonics, Inc. Obstructive sleep apnea treatment devices, systems and methods
US8744589B2 (en) 2006-10-13 2014-06-03 Cyberonics, Inc. Obstructive sleep apnea treatment devices, systems and methods
US8718783B2 (en) 2006-10-13 2014-05-06 Cyberonics, Inc. Obstructive sleep apnea treatment devices, systems and methods
US20080103407A1 (en) 2006-10-13 2008-05-01 Apnex Medical, Inc. Obstructive sleep apnea treatment devices, systems and methods
US20080103545A1 (en) 2006-10-13 2008-05-01 Apnex Medical, Inc. Obstructive sleep apnea treatment devices, systems and methods
US20080147142A1 (en) * 2006-12-15 2008-06-19 Testerman Roy L Method and apparatus for assisting deglutition
US20080163875A1 (en) 2006-12-15 2008-07-10 5I Sciences, Inc. Device and method for opening an airway
US7787959B1 (en) 2006-12-22 2010-08-31 Pacesetter, Inc. Mechanism and method of attaching a stimulation and/or sensing electrode to a nerve
US20080183254A1 (en) 2007-01-30 2008-07-31 Cardiac Pacemakers, Inc. Dual spiral lead configurations
US7751880B1 (en) 2007-02-12 2010-07-06 Pacesetter, Inc. Shielded electrode assembly for effective nerve sensing and stimulation
US7758384B2 (en) 2007-02-26 2010-07-20 Medtronic, Inc. Implantable bifurcated neurostimulator adapters
US20100257729A1 (en) 2007-02-26 2010-10-14 Medtronic, Inc Implantable bifurcated neurostimulator adapters
US7725198B2 (en) 2007-04-30 2010-05-25 Medtronic, Inc. Implantable medical lead assemblies with delivery tether
US7634315B2 (en) 2007-05-31 2009-12-15 Pacesetter, Inc. Techniques to monitor and trend nerve damage and recovery
US20090044814A1 (en) 2007-06-18 2009-02-19 Koninklijke Philips Electronics N.V. Implantable devices, systems, and methods for maintaining desired orientations in targeted tissue regions
US7630771B2 (en) 2007-06-25 2009-12-08 Microtransponder, Inc. Grooved electrode and wireless microtransponder system
US20090270707A1 (en) 2008-04-23 2009-10-29 Medtronic, Inc. Sensor Assemblies for Implantable Medical Electrical Leads
US20090276024A1 (en) 2008-05-02 2009-11-05 Bonde Eric H Self expanding electrode cuff
US20100137949A1 (en) 2008-05-27 2010-06-03 The Cleveland Clinic Foundation Bifurcated electrical lead and method of use
US20090318986A1 (en) 2008-06-20 2009-12-24 Alo Kenneth M Systems, Methods and Apparatus for Treating Cardiac Dysfunction with Neurostimulation
US20090326408A1 (en) 2008-06-30 2009-12-31 Loell Boyce Moon Providing Impedance Plethysmography Electrodes
US20100036285A1 (en) 2008-08-06 2010-02-11 Assaf Govari Single-axis sensors on flexible backbone
US20100094379A1 (en) 2008-10-09 2010-04-15 Imthera Medical, Inc. Method of Stimulating a Hypoglossal Nerve for Controlling the Position of a Patient's Tongue
US20100125310A1 (en) 2008-11-18 2010-05-20 Willard Wilson Method and Device For the Detection, Identification and Treatment of Sleep Apnea/Hypopnea
US20100174341A1 (en) 2008-12-31 2010-07-08 Bolea Stephen L Obstructive Sleep Apnea Treatment Devices, Systems and Methods
US20110093032A1 (en) 2009-08-05 2011-04-21 Ndi Medical, Llc Systems and methods for maintaining airway patency
US20120192874A1 (en) 2011-01-28 2012-08-02 Apnex Medical, Inc. Obstructive sleep apnea treatment devices, systems and methods
US8386046B2 (en) 2011-01-28 2013-02-26 Apnex Medical, Inc. Screening devices and methods for obstructive sleep apnea therapy
US8855771B2 (en) 2011-01-28 2014-10-07 Cyberonics, Inc. Screening devices and methods for obstructive sleep apnea therapy
US20130085546A1 (en) 2011-05-12 2013-04-04 Stephen Bolea Devices and methods for sleep apnea treatment

Non-Patent Citations (27)

* Cited by examiner, † Cited by third party
Title
Aziz, L.and Ejnell, H. "Obstructive Sleep Apnea Caused by Bilateral Vocal Fold Paralysis." Ear Nose Throat J. Apr. 2003; 82(4): 326-7. Abstract. *
Campbell et al., "Nasal Continuous positive airway pressure from high flow cannula versus Infant Flow for preterm infants," Journal of Perinatology, Jul. 2006, pp. 546-549, vol. 26 (9), Nature Publishing Group.
De Almeida et al., "Nasal pressure recordings to detect obstructive sleep apnea," Sleep and Breathing, Feb. 25, 2006, pp. 62-69, vol. 10 (2), Springer Heidelberg.
European Search Report for Patent Application No. 16162666, dated Jul. 8, 2016, 7 pages.
European Search Report issued in corresponding European Application No. 121 637 91 on Jun. 25, 2012, 3 pages.
Extended European Search Report for EP Application No. 15192695.3 dated Mar. 2, 2016, 7 pages.
Extended Search Report on European application No. 19151866 dated May 22, 2019. 7 pages.
Ferguson et al., "Effect of Mandibular and Tongue Protrusion on Upper Airway Size During Wakefulness," American Journal of Respiratory and Critical Care Medicine, 1997, pp. 1748-1754, vol. 155.
Goding Jr. et al., "Relief of Upper Airway Obstruction With Hypoglossal Nerve Stimulation in the Canine," The Laryngoscope, Feb. 1998, pp. 162-169, vol. 108, Lippincott-Raven Publishers, U.S.A.
Huang et al. "Dilation of the oropharynx via selective stimulation of the hypoglossal nerve." J. Neural Eng. 2005; 2:73-80.
Isono et al., "Interaction of cross-sectional area, driving pressure, and airflow of passive velopharynx," American Physiological Society, 1997, pp. 851-859, vol. 83.
Kirkness et al., "Nasal airflow dynamics: mechanisms and responses associated with an external nasal dilator strip," University of Western Sydney, T.C. Amis School of Science, Department of Respiratory Medicine, Westmead Hospital and University of Sydney, Westmead, Australia, 2000.
Mahadevia et al., "Effects of expiratory positive airway pressure on sleep-induced respiratory abnormalities in patients with hypersomnia-sleep apnea syndrome," Am. Rev. Respir. Dis., Feb. 1983, vol. 128, pp. 708-711.
Noseda et al., "Compliance with nasal continuous positive airway pressure assessed with a pressure monitor: pattern of use and influence of sleep habits," Chest Clinics and Sleep Laboratories, Hôpitaux Erasme et Brugmann, Université Libre de Bruxelles, Brussels, Belgium, 2000, vol. 94, pp. 76-81.
Oliven et al., "Effect of genioglossus contraction on pharyngeal lumen and airflow in sleep apnoea patients," European Respiratory Journal, 2007, pp. 748-758, vol. 30, No. 4.
Paquereau et al., "Positive pressure titration in the treatment of obstructive sleep apnea syndrome using continuous airway positive pressure," Revue Des Maladies Respiratoires, Apr. 2000, pp. 459-465, vol. 17 (2), Masson Editeur, Abstract.
Partial European Search Report dated Aug. 19, 2009, issued in corresponding European Patent Application No. 09161958.5 (4 pages).
Response to the Notice of Opposition for Opposition against patent EP 2 116 274 (Application No. 09 161 958.5) dated Dec. 2, 2013 (30 pages).
Sahin et al., "Chronic recordings of hypoglossal nerve activity in a dog model of upper airway obstruction," Journal of Applied Physiology 87(6), 1999, The American Physiological Society, pp. 2197-2206.
Saslow et al., "Work of breathing using high-flow nasal cannula in preterm infants," Journal of Perinatology, May 11, 2006, pp. 476-480, vol. 26 (8), Nature Publishing Group.
Schwartz et al. "Therapeutic Electrical Stimulation of the Hypoglossal Nerve in Obstructive Sleep Apnea." Arch Otolaryngol Head Neck Surg/vol. 127, Oct. 2001 (8 pages).
Spence et al., "High-flow nasal cannula as a device to provide continuous positive airway pressure in infants," Journal of Perinatology, Dec. 2007, pp. 772-775, vol. 27 (12), Nature Publishing Group.
Statement of Grounds filed in Opposition of EP Patent No. 2116274 dated Jul. 25, 2012 (32 pages).
Stern et al. "Obstructive sleep apnea following treatment of head and neck cancer", Ear, Nose, and Throat Journal, Feb. 2007, vol. 86, No. 2, pp. 101-103.
Tiran et al., "An Improved Device for Posterior Rhinomanometry to Measure Nasal Resistance," Journal of Biomechnical Engineering, Nov. 2005, vol. 127, pp. 994-997.
Trevisanuto et al., "A new device for administration of continuous positive airway pressure in preterm infants: comparison with a standard nasal CPAP continuous positive airway pressure system," Intensive Care Medicine, Apr. 2005, pp. 859-864, vol. 31 (6), Springer-Verlag.
Verse et al., "New developments in the therapy of obstructive sleep apnea," European Archives of Oto-Rhino-Laryngology, Jan. 2001, pp. 31-37, vol. 258 (1), Springer-Verlag.

Cited By (1)

* Cited by examiner, † Cited by third party
Publication number Priority date Publication date Assignee Title
US12226223B2 (en) 2011-09-06 2025-02-18 Resmed Sensor Technologies Limited Multi-modal sleep system

Also Published As

Publication number Publication date
DE202007019439U1 (en) 2012-09-12
US8626304B2 (en) 2014-01-07
WO2008048471A3 (en) 2008-12-04
US8639354B2 (en) 2014-01-28
US8428727B2 (en) 2013-04-23
US20120089199A1 (en) 2012-04-12
US20200316373A1 (en) 2020-10-08
US8718783B2 (en) 2014-05-06
USRE48024E1 (en) 2020-06-02
US20110152966A1 (en) 2011-06-23
EP2116274A3 (en) 2010-01-06
US20120022626A1 (en) 2012-01-26
AU2007313319B2 (en) 2012-03-22
US8311645B2 (en) 2012-11-13
US20120010681A1 (en) 2012-01-12
US20180078761A1 (en) 2018-03-22
EP2478931A1 (en) 2012-07-25
EP2478931B1 (en) 2015-12-30
CA2666529A1 (en) 2008-04-24
US8744589B2 (en) 2014-06-03
EP2116274B1 (en) 2012-07-11
EP3002035A1 (en) 2016-04-06
EP2116274A2 (en) 2009-11-11
US8417343B2 (en) 2013-04-09
US11517746B2 (en) 2022-12-06
AU2007313319A1 (en) 2008-04-24
US20110202106A1 (en) 2011-08-18
EP3002035B1 (en) 2019-01-16
US20080103407A1 (en) 2008-05-01
US20110071591A1 (en) 2011-03-24
WO2008048471A2 (en) 2008-04-24
US7809442B2 (en) 2010-10-05
US8498712B2 (en) 2013-07-30
US20120022609A1 (en) 2012-01-26
US20080103545A1 (en) 2008-05-01
US20120010532A1 (en) 2012-01-12
EP3527255B1 (en) 2020-08-05
US20110196445A1 (en) 2011-08-11
US10632308B2 (en) 2020-04-28
ES2722849T3 (en) 2019-08-19
EP3527255A1 (en) 2019-08-21

Similar Documents

Publication Publication Date Title
US11517746B2 (en) Obstructive sleep apnea treatment devices, systems and methods
US11471685B2 (en) Obstructive sleep apnea treatment devices, systems and methods
US20230001192A1 (en) Systems And Methods Of Detecting And Treating Obstructive Sleep Apnea
AU2012203591A1 (en) Obstructive sleep apnea treatment devices, systems and methods

Legal Events

Date Code Title Description
AS Assignment

Owner name: LIVANOVA USA, INC., TEXAS

Free format text: CHANGE OF NAME;ASSIGNOR:CYBERONICS, INC.;REEL/FRAME:050106/0370

Effective date: 20170630

AS Assignment

Owner name: ARES CAPITAL CORPORATION, AS COLLATERAL AGENT, NEW YORK

Free format text: PATENT SECURITY AGREEMENT;ASSIGNOR:LIVANOVA USA, INC.;REEL/FRAME:053673/0675

Effective date: 20200617

MAFP Maintenance fee payment

Free format text: PAYMENT OF MAINTENANCE FEE, 8TH YEAR, LARGE ENTITY (ORIGINAL EVENT CODE: M1552); ENTITY STATUS OF PATENT OWNER: LARGE ENTITY

Year of fee payment: 8

AS Assignment

Owner name: ACF FINCO I LP, AS COLLATERAL AGENT, NEW YORK

Free format text: PATENT SECURITY AGREEMENT;ASSIGNOR:LIVANOVA USA, INC.;REEL/FRAME:054881/0784

Effective date: 20201230

AS Assignment

Owner name: LIVANOVA USA, INC., TEXAS

Free format text: RELEASE BY SECURED PARTY;ASSIGNOR:ARES CAPITAL CORPORATION, AS AGENT FOR THE LENDERS;REEL/FRAME:057189/0001

Effective date: 20210812

Owner name: GOLDMAN SACHS BANK USA, AS COLLATERAL AGENT, NEW YORK

Free format text: SECURITY INTEREST;ASSIGNOR:LIVANOVA USA, INC.;REEL/FRAME:057188/0001

Effective date: 20210813

Owner name: LIVANOVA USA, INC., TEXAS

Free format text: RELEASE OF SECURITY INTEREST;ASSIGNOR:ARES CAPITAL CORPORATION, AS AGENT FOR THE LENDERS;REEL/FRAME:057189/0001

Effective date: 20210812

AS Assignment

Owner name: LIVANOVA USA, INC., TEXAS

Free format text: RELEASE BY SECURED PARTY;ASSIGNOR:ACF FINCO I LP;REEL/FRAME:057552/0378

Effective date: 20210812

Owner name: LIVANOVA USA, INC., TEXAS

Free format text: RELEASE OF SECURITY INTEREST;ASSIGNOR:ACF FINCO I LP;REEL/FRAME:057552/0378

Effective date: 20210812

MAFP Maintenance fee payment

Free format text: PAYMENT OF MAINTENANCE FEE, 12TH YEAR, LARGE ENTITY (ORIGINAL EVENT CODE: M1553); ENTITY STATUS OF PATENT OWNER: LARGE ENTITY

Year of fee payment: 12